Главная // Актуальные документы // ГОСТ (Государственный стандарт)
СПРАВКА
Источник публикации
М.: Стандартинформ, 2015
Примечание к документу
Документ утратил силу на территории Российской Федерации с 01.07.2023 в связи с изданием Приказа Росстандарта от 21.09.2022 N 967-ст. Взамен введен в действие ГОСТ 33076-2022.

Текст данного документа приведен с учетом поправки, опубликованной в "ИУС", N 7, 2022.

Документ введен в действие с 01.07.2016.
Название документа
"ГОСТ EN 455-1-2014. Межгосударственный стандарт. Перчатки медицинские одноразовые. Часть 1. Метод определения герметичности"
(введен в действие Приказом Росстандарта от 19.05.2015 N 374-ст)

"ГОСТ EN 455-1-2014. Межгосударственный стандарт. Перчатки медицинские одноразовые. Часть 1. Метод определения герметичности"
(введен в действие Приказом Росстандарта от 19.05.2015 N 374-ст)


Содержание


Введен в действие
Приказом Федерального
агентства по техническому
регулированию и метрологии
от 19 мая 2015 г. N 374-ст
МЕЖГОСУДАРСТВЕННЫЙ СТАНДАРТ
ПЕРЧАТКИ МЕДИЦИНСКИЕ ОДНОРАЗОВЫЕ
ЧАСТЬ 1
МЕТОД ОПРЕДЕЛЕНИЯ ГЕРМЕТИЧНОСТИ
Medical gloves for single use.
Part 1. Method for determination of tightness
(EN 455-1:2000, IDT)
ГОСТ EN 455-1-2014
МКС 11.140
Дата введения
1 июля 2016 года
Предисловие
Цели, основные принципы и основной порядок проведения работ по межгосударственной стандартизации установлены в ГОСТ 1.0-92 "Межгосударственная система стандартизации. Основные положения" и ГОСТ 1.2-2009 "Межгосударственная система стандартизации. Стандарты межгосударственные, правила и рекомендации по межгосударственной стандартизации. Правила разработки, принятия, применения, обновления и отмены"
Сведения о стандарте
1 ПОДГОТОВЛЕН Федеральным государственным унитарным предприятием "Всероссийский научно-исследовательский центр стандартизации, информации и сертификации сырья, материалов и веществ" (ФГУП "ВНИЦСМВ"), Техническим комитетом по стандартизации ТК 160 "Продукция нефтехимического комплекса" на основе собственного аутентичного перевода на русский язык стандарта, указанного в пункте 5
2 ВНЕСЕН Федеральным агентством по техническому регулированию и метрологии (Росстандарт)
3 ПРИНЯТ Межгосударственным советом по стандартизации, метрологии и сертификации (протокол от 14 ноября 2014 г. N 72-П)
За принятие проголосовали:
Краткое наименование страны по МК (ИСО 3166) 004-97
Код страны по МК (ИСО 3166) 004-97
Сокращенное наименование национального органа по стандартизации
Армения
AM
Минэкономики Республики Армения
Беларусь
BY
Госстандарт Республики Беларусь
Казахстан
KZ
Госстандарт Республики Казахстан
Киргизия
KG
Кыргызстандарт
Молдова
MD
Молдова-Стандарт
Россия
RU
Росстандарт
Таджикистан
TJ
Таджикстандарт
Туркмения
TM
Главгосслужба "Туркменстандартлары"
4 Приказом Федерального агентства по техническому регулированию и метрологии от 19 мая 2015 г. N 374-ст межгосударственный стандарт ГОСТ EN 455-1-2014 введен в действие в качестве национального стандарта Российской Федерации с 1 июля 2016 г.
5 Настоящий стандарт идентичен европейскому региональному стандарту EN 455-1:2000 Medical gloves for single use - Part 1: Requirements and testing for freedom from holes (Медицинские одноразовые перчатки. Часть 1. Требования и определение отсутствия отверстий).
Стандарт разработан техническим комитетом CEN/TC 205 "Неактивные медицинские изделия" Европейского комитета по стандартизации CEN.
Перевод с английского языка (en).
Наименование настоящего стандарта изменено относительно наименования указанного стандарта для приведения в соответствие с ГОСТ 1.5-2001 (подраздел 3.6).
Официальные экземпляры европейского регионального стандарта, на основе которого подготовлен настоящий межгосударственный стандарт и стандартов, на которые даны ссылки, имеются в Федеральном информационном фонде технических регламентов и стандартов.
Сведения о соответствии межгосударственных стандартов ссылочным стандартам приведены в дополнительном приложении ДА.
Степень соответствия - идентичная (IDT)
6 ВВЕДЕН ВПЕРВЫЕ
Информация об изменениях к настоящему стандарту публикуется в ежегодном информационном указателе "Национальные стандарты", а текст изменений и поправок - в ежемесячном информационном указателе "Национальные стандарты". В случае пересмотра (замены) или отмены настоящего стандарта соответствующее уведомление будет опубликовано в ежемесячном информационном указателе "Национальные стандарты". Соответствующая информация, уведомление и тексты размещаются также в информационной системе общего пользования - на официальном сайте Федерального агентства по техническому регулированию и метрологии в сети Интернет.
1. Область применения
1.1 Настоящий стандарт устанавливает метод определения герметичности медицинских одноразовых перчаток.
Примечание - См. также EN 374-1.
2. Нормативные ссылки
Для применения настоящего стандарта необходимы следующие ссылочные документы. Для недатированной ссылки применяют последнее издание ссылочного документа (включая все его изменения).
EN 374-1 Protective gloves against chemicals and micro-organisms - Part 1: Terminology and performance requirements (Перчатки для защиты от химических веществ и микроорганизмов. Часть 1: Терминология и требования)
ISO 2859-1 Sampling procedures for inspection by attributes - Part 1: Sampling schemes indexed by acceptance quality limit (AQL) for lot-by-lot inspection [Процедуры выборочного контроля по качественным признакам. Часть 1. Планы выборочного контроля с указанием приемлемого уровня качества (AQL) для последовательного контроля партий]
3. Термины и определения
В настоящем стандарте применен следующий термин с соответствующим определением:
3.1 медицинские одноразовые перчатки (medical gloves for single use): Перчатки, предназначенные для использования в медицине для защиты пациента и пользователя от перекрестного заражения.
4. Требование
Медицинские одноразовые перчатки должны быть герметичными при испытании в соответствии с разделом 5.
5. Испытание на водопроницаемость
для определения герметичности
5.1 Арбитражное испытание
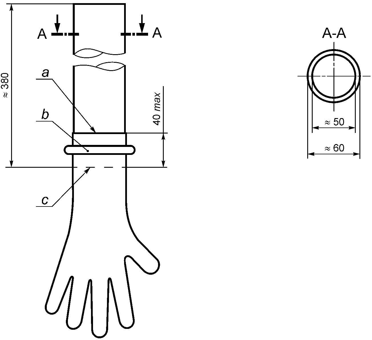
Устанавливают вертикально трубку размерами, приведенными на рисунке 1, или размерами, соответствующими размеру перчатки, для наполнения ее водой так, чтобы трубка удерживала перчатку, наполненную 1000 мл воды.
a - манжета перчатки; b - фиксирующее устройство;
c - конец трубки для наполнения
Рисунок 1 - Трубка для наполнения перчатки водой
при определении водонепроницаемости
Закрепляют перчатку фиксирующим устройством на трубке так, чтобы манжета была на расстоянии не более 40 мм от конца трубки для получения водонепроницаемого уплотнения без повреждения перчатки (см. рисунок 1).
Добавляют в перчатку (1000 +/- 50) мл воды температурой от 15 °C до 35 °C через открытый конец трубки.
Примечание - В зависимости от испытуемой перчатки часть воды может оставаться в трубке.
Сразу визуально проверяют перчатку на водопроницаемость. Выдерживают 2 - 3 мин и снова проверяют перчатку на водопроницаемость.
Если за счет растяжения перчатки вода не поднимается в пределах 40 мм от края манжеты, поднимают перчатку после второго осмотра с помощью соответствующего приспособления до достижения уровня воды 40 мм от края манжет. Через 2 - 3 мин проверяют визуально ранее непроверенную часть перчатки на водопроницаемость.
Не учитывают водопроницаемость в пределах 40 мм от края манжеты.
5.2 Рутинное испытание
Рутинное испытание проводят по 5.1 или по аналогичной методике.
6. Выборочный контроль, уровень контроля
и приемлемый уровень качества (AQL)
Отбирают образцы для испытания от каждой партии перчаток по ISO 2859-1, используя одноступенчатый контроль и минимальный объем выборки и соответствующий номер принятия/отклонения, эквивалентный коду объема выборки L. При испытании по методике, приведенной в 5.1 для арбитражных целей, приемлемый уровень качества (AQL) соответствия герметичности должен быть 1,5.
Примечание - Данный уровень контроля соответствует требованиям Директивы ЕС 93/42/ЕЕС "Медицинские приборы, устройства и оборудование" (приложение IV, пункт 6.3) и не предусматривает увеличенный объем выборки, влияющий на производство и затраты на испытание. Минимальный объем выборки эквивалентен коду объема выборки L для обеспечения достоверной оценки качества партии небольшого или неустановленного объема.
7. Протокол испытаний
Протокол испытаний должен содержать:
- обозначение настоящего стандарта;
- тип перчаток и номер партии;
- наименование и адрес изготовителя или дистрибьютора и испытательной лаборатории, если они отличаются;
- дату проведения испытания;
- результаты испытаний (объем партии, объем выборки, количество несоответствующих перчаток).
Приложение ZA
(справочное)
РАЗДЕЛЫ НАСТОЯЩЕГО СТАНДАРТА, ВЗАИМОСВЯЗАННЫЕ
С ТРЕБОВАНИЯМИ ИЛИ ДРУГИМ ПОЛОЖЕНИЯМ ДИРЕКТИВ ЕС
Настоящий стандарт разработан в соответствии с основными требованиями директивы ЕС 93/42/ЕЕС.
Предупреждение - К перчаткам могут быть применимы другие требования и другие Директивы ЕС.
В таблице ZA.1 приведены разделы настоящего стандарта, соответствующие требованиям Директивы 93/42/ЕЕС.
Соблюдение требований настоящего стандарта является основным требованием Директивы и взаимосвязанных документов EFTA.
Таблица ZA.1
Соответствие разделов настоящего стандарта
Директиве ЕС93/42/ЕЕ
Раздел/подраздел настоящего стандарта
Соответствующее основное требование Директивы 93/42/ЕЕС
Комментарии
1, 2, 3, 7.2, 8.1
1, 2, 3, 7.2
8.1
1, 2, 7.2, 8.1
1, 2, 8.1
Приложение ДА
(справочное)
СВЕДЕНИЯ О СООТВЕТСТВИИ МЕЖГОСУДАРСТВЕННЫХ
СТАНДАРТОВ ССЫЛОЧНЫМ СТАНДАРТАМ
Таблица ДА.1
Обозначение и наименование ссылочного международного и европейского регионального стандарта
Степень соответствия
Обозначение и наименование соответствующего межгосударственного стандарта
EN 374-1:2003 Перчатки для защиты от химических веществ и микроорганизмов. Часть 1: Терминология и требования
-
ISO 2859-1:1999 Процедуры выборочного контроля по качественным признакам. Часть 1. Планы выборочного контроля с указанием приемлемого уровня качества (AQL) для последовательного контроля партий
-
<*>
<*> Соответствующий межгосударственный стандарт отсутствует. До его утверждения рекомендуется использовать перевод на русский язык данного стандарта. Перевод данного стандарта находится в Федеральном информационном фонде технических регламентов и стандартов.