Главная // Актуальные документы // ГОСТ (Государственный стандарт)
СПРАВКА
Источник публикации
М.: Стандартинформ, 2014
Примечание к документу
Документ утратил силу с 01.07.2023 в связи с изданием Приказа Росстандарта от 10.10.2022 N 1118-ст. Взамен введен в действие ГОСТ 32402-2022.

Документ включен в Перечень международных и региональных (межгосударственных) стандартов (п. п. 123, 134), а в случае их отсутствия - национальных (государственных) стандартов, содержащих правила и методы исследований (испытаний) и измерений, в том числе правила отбора образцов, необходимые для применения и исполнения требований технического регламента Таможенного союза "О требованиях к автомобильному и авиационному бензину, дизельному и судовому топливу, топливу для реактивных двигателей и мазуту" (ТР ТС 013/2011) и осуществления оценки соответствия объектов технического регулирования (Решение Коллегии Евразийской экономической комиссии от 15.08.2023 N 114).

Документ включен в Перечень стандартов (пункты 178, 186), содержащих правила и методы исследований (испытаний) и измерений, в том числе правила отбора образцов, необходимые для применения и исполнения требований технического регламента Таможенного союза "О требованиях к автомобильному и авиационному бензину, дизельному и судовому топливу, топливу для реактивных двигателей и мазуту" (ТР ТС 013/2011) и осуществления оценки соответствия объектов технического регулирования (Решение Комиссии Таможенного союза от 18.10.2011 N 826).

Документ введен в действие с 01.01.2015.
Название документа
"ГОСТ 32402-2013. Межгосударственный стандарт. Топлива авиационные. Определение температуры кристаллизации автоматическим лазерным методом"
(введен в действие Приказом Росстандарта от 22.11.2013 N 1872-ст)

"ГОСТ 32402-2013. Межгосударственный стандарт. Топлива авиационные. Определение температуры кристаллизации автоматическим лазерным методом"
(введен в действие Приказом Росстандарта от 22.11.2013 N 1872-ст)


Содержание


Введен в действие
Приказом Федерального агентства
по техническому регулированию
и метрологии
от 22 ноября 2013 г. N 1872-ст
МЕЖГОСУДАРСТВЕННЫЙ СТАНДАРТ
ТОПЛИВА АВИАЦИОННЫЕ
ОПРЕДЕЛЕНИЕ ТЕМПЕРАТУРЫ КРИСТАЛЛИЗАЦИИ
АВТОМАТИЧЕСКИМ ЛАЗЕРНЫМ МЕТОДОМ
Aviation fuels. Determination of freezing point
by automatic laser method
ГОСТ 32402-2013
МКС 75.080
75.100
Дата введения
1 января 2015 года
Предисловие
Цели, основные принципы и порядок проведения работ по межгосударственной стандартизации установлены ГОСТ 1.0-92 "Межгосударственная система стандартизации. Основные положения" и ГОСТ 1.2-2009 "Межгосударственная система стандартизации. Стандарты межгосударственные, правила и рекомендации по межгосударственной стандартизации. Правила разработки, принятия, применения, обновления и отмены"
Сведения о стандарте
1 ПОДГОТОВЛЕН Межгосударственным техническим комитетом по стандартизации МТК 31 "Нефтяные топлива и смазочные материалы", Открытым акционерным обществом "Всероссийский научно-исследовательский институт по переработке нефти" (ОАО "ВНИИ НП") на основе собственного аутентичного перевода на русский язык стандарта, указанного в пункте 4
2 ВНЕСЕН Федеральным агентством по техническому регулированию и метрологии
3 ПРИНЯТ Межгосударственным советом по стандартизации, метрологии и сертификации (протокол от 5 ноября 2013 г. N 61-П)
За принятие проголосовали:
Краткое наименование страны по МК (ИСО 3166) 004-97
Код страны по МК (ИСО 3166) 004-97
Сокращенное наименование национального органа по стандартизации
Армения
AM
Минэкономики Республики Армения
Беларусь
BY
Госстандарт Республики Беларусь
Киргизия
KG
Кыргызстандарт
Россия
RU
Росстандарт
Узбекистан
UZ
Узстандарт
4 Настоящий стандарт идентичен стандарту ASTM D 7153-05 (2010) Standard test method for freezing point of aviation fuels (automatic laser method) [Стандартный метод определения температуры кристаллизации авиационных топлив (автоматический лазерный метод)].
Стандарт разработан Комитетом ASTM D02 "Нефтепродукты и смазочные материалы" и непосредственную ответственность за разработку стандарта несет подкомитет D02.07 "Свойства текучести".
Перевод с английского языка (en).
Наименование настоящего стандарта изменено относительно наименования указанного стандарта для приведения в соответствие с ГОСТ 1.5-2001 (подраздел 3.6).
Официальные экземпляры стандарта ASTM, на основе которого подготовлен настоящий межгосударственный стандарт, и стандартов ASTM, на которые даны ссылки, имеются в национальном информационном фонде технических регламентов и стандартов.
Сведения о соответствии межгосударственных стандартов ссылочным стандартам приведены в дополнительном приложении Д.А.
Степень соответствия - идентичная (IDT)
5 Приказом Федерального агентства по техническому регулированию и метрологии от 22 ноября 2013 г. N 1872-ст межгосударственный стандарт ГОСТ 32402-2013 введен в действие в качестве национального стандарта Российской Федерации с 1 января 2015 г.
6 ВВЕДЕН ВПЕРВЫЕ
Информация об изменениях к настоящему стандарту публикуется в ежегодном информационном указателе "Национальные стандарты", а текст изменений - в ежемесячном информационном указателе "Национальные стандарты". В случае пересмотра (замены) или отмены настоящего стандарта соответствующее уведомление будет опубликовано в ежемесячном информационном указателе "Национальные стандарты". Соответствующая информация, уведомление и тексты размещаются также в информационной системе общего пользования - на официальном сайте Федерального агентства по техническому регулированию и метрологии в сети Интернет
1 Область применения
1.1 Настоящий стандарт устанавливает метод определения температуры, ниже которой в топливах для авиационных газотурбинных двигателей могут образовываться твердые кристаллы углеводородов.
1.2 Настоящий метод можно использовать для определения температуры кристаллизации в диапазоне от минус 80 °C до 20 °C. Однако результаты межлабораторных испытаний, приведенные в 12.4, были получены на топливах с температурой кристаллизации от минус 60 °C до минус 42 °C.
1.3 Значения, приведенные в единицах системы СИ, являются стандартными.
1.4 Применение настоящего стандарта связано с использованием в процессе испытания опасных материалов, операций и оборудования. В настоящем стандарте не предусмотрено рассмотрение всех вопросов обеспечения безопасности. Пользователь настоящего стандарта несет ответственность за установление соответствующих правил по технике безопасности и охране труда, а также определяет целесообразность применения законодательных ограничений перед его использованием.
2 Нормативные ссылки
Для применения настоящего стандарта необходимы следующие ссылочные документы. Для недатированных ссылок применяют последнее издание ссылочного документа (включая все его изменения)/
2.1 Стандарты ASTM <1>
--------------------------------
<1> Уточнить ссылки на стандарты ASTM можно на сайте ASTM www.astm.org или в службе поддержки клиентов ASTM: service@astm.org. В информационном томе ежегодного сборника стандартов (Annual book of ASTM standards) следует обращаться к сводке стандартов ежегодного сборника стандартов на странице сайта.
ASTM D 2386 Test method for freezing point of aviation fuels (Метод определения температуры кристаллизации авиационных топлив)
ASTM D 4057 Practice for manual sampling of petroleum and petroleum products (Практика по ручному отбору проб нефти и нефтепродуктов)
ASTM D 4177 Practice for automatic sampling of petroleum and petroleum products (Практика по автоматическому отбору проб нефти и нефтепродуктов)
2.2 Стандарт Энергетического института:
IP 16 Determination freezing point of aviation fuels (Определение температуры кристаллизации авиационных топлив) <2>
--------------------------------
<2> Annual Book of IP Standards Methods, Vol 1. Available from Energy Institute. 61 New Cavendish St., London, WIG 7AR, U.K.
3 Термины, определения и обозначения
В настоящем стандарте применены следующие термины с соответствующими определениями.
3.1 Общий термин
3.1.1 температура кристаллизации авиационных топлив (freezing point): Температура топлива, при которой твердые кристаллы углеводорода, образовавшиеся при охлаждении, исчезают при повышении температуры топлива в определенных условиях испытания.
3.2 Специальный термин:
3.2.1 автоматический лазерный метод (automatic laser method): Процедура автоматического охлаждения жидкого образца авиационного топлива до образования твердых кристаллов углеводородов с последующим регулируемым нагревом и регистрацией температуры, при которой кристаллы углеводородов полностью переходят в жидкую фазу.
3.3 Обозначения:
Cd - температура образца, при которой в определенных условиях испытания оптическим детектором кристаллов в образце обнаруживают появление твердых кристаллов;
Co - температура образца, при которой в определенных условиях испытания оптическим детектором помутнения в образце обнаруживают помутнение;
Do - температура образца, при которой в определенных условиях испытания оптическим детектором помутнения в образце обнаруживают исчезновение помутнения.
4 Сущность метода
4.1 Образец охлаждают со скоростью (10 +/- 5) °C/мин при постоянном облучении источником лазерного света и контролируют оптическим детектором кристаллов и оптическим детектором помутнения для определения образования первых кристаллов твердых углеводородов. Как только кристаллы углеводородов определены обоими оптическими детекторами, образец начинают нагревать со скоростью (3,0 +/- 0,5 °C/мин). После исчезновения первоначального помутнения в образце его нагревают со скоростью (12 +/- 1) °C/мин.
Температуру образца, при которой детектор кристаллов показывает переход последних кристаллов углеводородов в жидкую фазу, регистрируют как температуру кристаллизации.
4.2 При определенных условиях аппарат обеспечивает повторное нагревание образца приблизительно до 10 °C, затем охлаждение со скоростью, указанной в 4.1, до тех пор, пока детектором кристаллов не будут обнаружены кристаллы углеводородов. Затем образец нагревается со скоростью (12 +/- 1) °C/мин до расплавления последних кристаллов углеводородов. Температуру образца, при которой детектор кристаллов показывает расплавление последних кристаллов углеводородов, регистрируют как температуру кристаллизации.
5 Назначение и использование
5.1 Температура кристаллизации авиационного топлива - это самая низкая температура, при которой в топливе отсутствуют твердые кристаллы углеводородов, наличие которых в топливной системе самолета может ограничить поток топлива через фильтры. Температура топлива в баке самолета во время полета обычно снижается в зависимости от скорости, высоты и длительности полета. Температура кристаллизации топлива всегда должна быть ниже минимальной рабочей температуры топлива.
5.2 Операции смешивания топлива требуют точного измерения температуры кристаллизации.
5.3 Результаты по настоящему методу испытания выражают с точностью до 0,1 °C; испытание по настоящему стандарту позволяет сократить время работы оператора и исключает некоторые требования, необходимые для выполнения испытания по ASTM D 2386.
5.4 Если в спецификации на топливо указан метод по ASTM D 2386, его не следует заменять настоящим методом испытания или другим методом.
6 Аппаратура
6.1 Испытательный автоматический аппарат <3> (далее - аппарат)
--------------------------------
<3> Единственным известным аппаратом в настоящее время является модель ISL model FZP 5G2s series Freezing Point Analyzer, можно заказать в PAC - ISL., BP 70285 - VERSON, 14653 CARPIQUET Cedex, France.
Аппарат состоит из управляемой микропроцессором испытательной камеры, обеспечивающей охлаждение и нагревание пробы, двух оптических детекторов контролирующих помутнение, появление и исчезновение кристаллов, устройства измерения температуры пробы. Подробное описание аппарата приведено в приложении А1.
6.2 Аппарат оборудован ячейкой для образца, оптическими детекторами, источником лазерного света, цифровым дисплеем, системами охлаждения и нагревания и устройством измерения температуры пробы.
6.3 Устройство измерения температуры пробы в камере для образца должно обеспечивать измерение температуры в диапазоне от минус 80 °C до 20 °C с разрешением 0,1 °C и точностью до 0,1 °C.
6.4 Аппарат должен обеспечивать охлаждение пробы со скоростью (10 +/- 5) °C/мин, нагревание образца со скоростью (3,0 +/- 0,5) и (12 +/- 1) °C/мин в диапазоне температур от минус 80 °C до 20 °C.
Примечание 1 - Описанная аппаратура запатентована.
Примечание 2 - Программное обеспечение, используемое в аппаратуре, является версией V 5.3.
6.5 Стандартный шприц, обеспечивающий ввод примерно (10 +/- 2) см3 пробы, с наконечником или адаптером, который устанавливают в входное отверстие испытательной ячейки. Можно использовать одноразовый шприц вместимостью 10 см3 с коническим соединением типа Люэра.
6.6 Контейнер-приемник для отходов, обеспечивающий сбор избыточного количества пробы при его вводе в испытательную ячейку. Можно использовать стандартный стеклянный химический стакан вместимостью 400 см3.
7 Отбор проб
7.1 Пробу отбирают по ASTM D 4057 или ASTM D 4177.
7.2 Для каждого испытания требуется не менее 30 см3 образца.
8 Подготовка аппарата
8.1 Аппарат для работы готовят в соответствии с инструкциями изготовителя.
8.2 Включают питание анализатора.
9 Калибровка и стандартизация
9.1 Калибровка механической и электронной систем и эксплуатация аппарата - по инструкциям изготовителя.
9.2 Для проверки рабочих характеристик аппарата можно использовать образец топлива для авиационных газотурбинных двигателей, для которого был получен большой набор результатов испытаний по ASTM D 2386. Этому критерию должны соответствовать образцы, используемые в межлабораторной программе сравнительных испытаний ASTM. Такие контрольные образцы можно подготовить на основе сравнительных испытаний.
10 Проведение испытаний
10.1 Набирают в шприц (10 +/- 2) см3 пробы, не содержащей пузырьков воздуха. Устанавливают шприц в входное отверстие испытательной ячейки (рисунок 1). Промывают испытательную ячейку (10 +/- 2) см3 образца. При этом избыток пробы будет перетекать в контейнер-приемник для отходов (рисунок 2).
Рисунок 1 - Шприц, установленный в входное отверстие
Рисунок 2 - Контейнер-приемник для отходов
10.2 Промывают испытательную ячейку второй раз по 10.1.
10.3 Набирают в шприц (10 +/- 2) см3 пробы, не содержащей пузырьков воздуха.
10.4 Устанавливают шприц в входное отверстие (рисунок 1) и вводят пробу в испытательную ячейку. Избыток пробы перетекает в контейнер-приемник для отходов (рисунок 2). Шприц во время испытания должен находиться в входном отверстии.
10.5 Включают аппарат в соответствии с инструкциями изготовителя. После включения до проведения процедур по разделу 11 аппарат автоматически управляет проведением испытания.
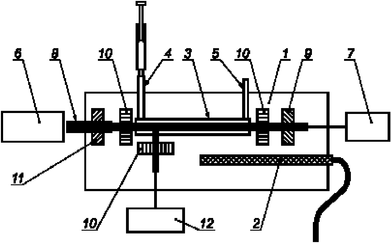
10.5.1 Проба охлаждается со скоростью (10 +/- 5) °C/мин при постоянном облучении источником поляризованного лазерного света. Пробу постоянно контролируют двумя оптическими детекторами - детектором помутнения и детектором кристаллов (рисунок 3) для определения образования первых твердых кристаллов углеводородов.
1 - камера для образца; 2 - устройство измерения температуры (датчик); 3 - испытательная ячейка для образца; 4 - входное отверстия для образца; 5 - выходное отверстия для образца; 6 - лазер; 7 - детектор кристаллов (см. кривую сплошной линией на рисунке А1.3 приложения А1); 8 - оптический контур; 9 и 11 - поляризационные фильтры; 10 - окошки; 12 - детектор помутнения (см. кривую пунктирной линией на рисунке А1.3 приложения А1)
Рисунок 3 - Схема процесса детектирования
10.5.2 При обнаружении детектором кристаллов первых кристаллов (Cd), а детектором помутнения - помутнения (Co), образец нагревается со скоростью (3,0 +/- 0,5) °C/мин до обнаружения детектором помутнения исчезновения помутнения (Do). С этого момента образец нагревается со скоростью (12 +/- 1) °C/мин при постоянном контроле детектором кристаллов. Когда детектор кристаллов зафиксирует расплавление последних кристаллов, аппарат регистрирует температуру образца, при которой расплавляются последние кристаллы углеводородов. Примеры кривой детектирования приведены на рисунке А1.3 приложения А1.
10.5.3 Зарегистрированную температуру сравнивают с температурой, при которой были обнаружены первые кристаллы (Cd). Если зарегистрированная температура выше температуры (Cd), ее регистрируют как температуру кристаллизации.
Примечание 3 - В большинстве случаев испытание завершается после выполнения процедуры по 10.5.3 (см. 10.5.4).
10.5.4 При определенных условиях после выполнения измерений на аппарате выполняют второй цикл испытания в соответствии с процедурами по 10.6.
Примечание 4 - Это условие может указывать на загрязнение образца веществом, которое не является авиационным топливом, при этом прецизионность метода не применяют.
10.6 Второй цикл испытания
10.6.1 Исходный образец нагревается примерно до температуры 10 °C, затем охлаждается со скоростью (10 +/- 5) °C/мин при постоянном облучении источником поляризованного лазерного света. Образец постоянно контролируют оптическим детектором кристаллов (рисунок 3) для обнаружения образования твердых кристаллов углеводородов.
10.6.2 Как только детектор кристаллов обнаруживает появление первых кристаллов (Cd), образец охлаждается еще на 5 °C, затем охлаждение прекращается.
10.6.3 Затем образец нагревается со скоростью (12 +/- 1) °C/мин при постоянном контроле детектором кристаллов. Когда детектор кристаллов обнаружит расплавление последних кристаллов, аппарат регистрирует температуру пробы, при которой расплавляются последние кристаллы углеводородов как температуру кристаллизации.
Примечание 5 - Наличие условий, указанных в 10.5.4, указывает на возможное загрязнение образца. В этом случае для сокращения времени проведения испытания используют только скорость нагревания (12 +/- 1) °C/мин.
10.7 Как только аппарат зарегистрирует температуру кристаллизации, испытательная ячейка нагревается до температуры окружающей среды. На рисунке А1.3 приложения А1 приведены два примера проведения испытания: один - с чистым топливом для реактивных двигателей, другой - с загрязненным топливом для реактивных двигателей.
10.8 Значение температуры кристаллизации автоматически округляется до 0,1 °C и отображается на дисплее аппарата.
10.9 Удаляют шприц из отверстия для ввода образца. Перед проведением следующего испытания очищают испытательную ячейку.
11 Оформление результатов
11.1 Температуру, зарегистрированную по 10.8, записывают как температуру кристаллизации, определенную по настоящему стандарту.
12. Прецизионность и отклонение
12.1 Прецизионность
Прецизионность настоящего метода испытаний установлена статистической обработкой результатов межлабораторных сравнительных испытаний.
12.1.1 Повторяемость
Расхождение между двумя результатами испытаний, полученными одним и тем же оператором на одной и той же аппаратуре при постоянных рабочих условиях на идентичном испытуемом материале в течение длительного времени при нормальном и правильном выполнении настоящего метода испытаний, может превышать 0,6 °C только в одном случае из двадцати.
12.1.2 Воспроизводимость
Расхождение между двумя единичными и независимыми результатами испытаний, полученными разными операторами в разных лабораториях на идентичном испытуемом материале в течение длительного времени при нормальном и правильном выполнении настоящего метода испытаний, может превышать 0,9 °C только в одном случае из двадцати.
12.2 Отклонение
Отклонение не определено, поскольку отсутствуют жидкие смеси углеводородов с известной температурой кристаллизации, которые имитируют авиационные топлива.
12.3 Относительное отклонение
Результаты, полученные для всех образцов при выполнении межлабораторной программы сравнительных испытаний, сравнивали с результатами по ASTM D 2386 и IP 16. Наблюдалось систематическое отклонение, количественно определяемое по формуле
Значение по ASTM D 2386 и IP 16 = X - 0,347, (1)
где значение ASTM D 2386 и IP16 - среднеарифметическое значение результатов испытаний по ASTM D 2386 и IP16;
X - среднеарифметическое значение результатов испытания по настоящему стандарту.
12.3.1 Например, при значении, полученном по ASTM D 2386 и IP 16, равном минус 60 °C, значение, полученное по настоящему стандарту, равно минус 59,65 °C, что на 0,347 °C выше значения по ASTM D 2386 и IP 16.
12.3.2 Относительное отклонение находится в пределах воспроизводимости обоих методов испытаний.
12.3.3 Воспроизводимость (Rxy) между методами по настоящему стандарту и ASTM D 2386 равна 1,9.
12.4 Прецизионность получена по результатам выполнения программы межлабораторных сравнительных испытаний в 2003 г. Проводили испытания 13 образцов разных авиационных топлив в диапазоне температур от минус 42 °C до минус 60 °C. В испытаниях принимали участие 13 лабораторий, которые использовали автоматический лазерный метод, и 15 лабораторий, которые использовали метод по ASTM D 2386 или IP 16. Прецизионность была получена по результатам статистической обработки результатов на основе разрешения 0,1 °C, обеспечиваемого автоматическим лазерным методом. Информация о типах образцов и соответствующей средней температуре кристаллизации приведена в отчете <4>.
--------------------------------
<4> Подтверждающие данные программы межлабораторных сравнительных испытаний 2003 г. находятся в ASTM International Headquarters и могут быть получены по запросу Research Report RR D02-1572.
Приложение А1
(обязательное)
ИСПЫТАТЕЛЬНЫЙ АВТОМАТИЧЕСКИЙ АППАРАТ
А1. Подробное описание аппарата
А1.1 Общие положения
Описание автоматического испытательного аппарата с микропроцессорным управлением (далее - аппарата) приведено в разделе А1.2, схема аппарата приведена на рисунке А1.1.
Испытательная ячейка
Минимальные размеры алюминиевого блока
Охлаждение и нагревание подается со стороны ячейки
1 - алюминиевый блок; 2 - поляризационный фильтр;
3 - лазерный источник света (длина волны 650 нм);
4 - входное отверстие для пробы; 5 - выходное отверстие
для пробы; 6 - поляризационный фильтр; 7 - детектор
кристаллов; 8 - устройство измерения температуры;
9 - окошко; 10 - детектор помутнения
Рисунок А1.1 - Схема аппарата
А1.2 Схема аппарата, состоящего из трубки для ввода пробы, оптических детекторов, источника лазерного света, ячейки для пробы, устройства измерения температуры, системы охлаждения и системы нагревания приведена на рисунке А1.1.
А1.2.1 Испытательная камера состоит из трубки для ввода пробы, оптических детекторов, источника лазерного света, ячейки для образца, устройства измерения температуры, устройства охлаждения и нагревания (см. рисунок А1.2).
1 - камера для образца; 2 - оптическое детектирование;
3 - шприц вместимостью 10 см3; 4 - испытательная ячейка;
5 - миникомпрессор; 6 - устройство измерения
температуры; 7 - контейнер для отходов
Рисунок А1.2 - Схема аппарата
А1.2.2 Ячейка для образца включает алюминиевый блок с отверстием диаметром (3,7 +/- 0,1) мм, длиной (22 +/- 2) мм. Наружные размеры алюминиевого блока должны быть не менее 66 x 42 x 16 мм (см. рисунок А1.2).
А1.2.3 Устройство измерения температуры, обеспечивающее измерение температуры в диапазоне от минус 80 °C до 20 °C с погрешностью не более 0,1 °C, калибруют не реже одного раза в год. Сертификат калибровки должен включать поправки для температур 20 °C, минус 40 °C и минус 80 °C. Для точного измерения температуры пробы датчик устройства измерения следует устанавливать и закреплять в нижней части ячейки для образца в определенном положении.
А1.2.4 Встроенная система охлаждения, обеспечивающая регулирование температуры пробы в диапазоне предполагаемых значений температуры испытания с точностью до 0,1 °C.
А1.2.5 Система нагревания, встроенная в ячейку для образца, обеспечивающая регулирование температуры образца в диапазоне предполагаемых значений температуры испытания с точностью до 0,1 °C.
А1.2.6 Оптическая система детектирования - электронная оптическая система для контроля образования/плавления кристаллов углеводородов в пробе. Длина волны источника лазерного света должна быть (650 +/- 20) нм мощностью 3 мВт.
Система должна состоять из источника света и двух приемников света - детектора кристаллов и детектора помутнения. Два фильтра для поляризации света должны располагаться с каждой стороны отверстия диаметром 3,7 мм в ячейке для образца (А1.2.2). Приемник помутнения должен располагаться на расстоянии (6,0 + 0,5) мм от края отверстия ячейки для образца со стороны источника света под углом 90°. Окошко детектора помутнения должно касаться отверстия диаметром 3,7 мм.
Примечание А1.1 - Если образцом является гомогенная жидкость, детекторы кристаллов и помутнения не принимают никакого сигнала. Сигналы, принятые детектором кристаллов и детектором помутнения, передаются в микропроцессорную систему и анализируются. Когда в образце образуются кристаллы углеводородов, луч света рассеивается и сигнал принимается на обоих детекторах. Стандартная схема аппарата приведена на рисунке А1.2.
А1.2.7 Внешний интерфейс аппарата. Точная компоновка может изменяться, однако рекомендуются следующие дисплеи и нажимные кнопки. На рисунке А1.4 в качестве примера приведен типовой аппарат.
А1.2.8 Дисплей отображает значение температуры пробы при испытании и на разных меню представляет данные о состоянии аппарата. Дисплей отображает соответствующее сообщение, когда аппарат находится в режиме ожидания и не детектируются неисправности. После завершения испытания на дисплее отображается результат испытания. На дисплее должен отображаться уровень рассеянного света, принимаемого оптическими детекторами. Сервисный персонал может использовать эти данные для выявления неисправностей. При детектировании неисправности на дисплее отображается диагностическое сообщение. Подробное описание диагностических сообщений приведено в руководстве по эксплуатации аппарата.
А1.2.9 Клавиши меню обеспечивают оператору доступ к разным меню, например пересчет температуры из градусов Цельсия в градусы Фаренгейта и наоборот. Следует отметить, что в качестве стандартной температуры использована шкала Цельсия.
А1.2.10 Клавиша "Пуск" позволяет оператору начать измерение после ввода образца.
А1.2.11 Клавиша "Стоп" позволяет оператору остановить выполнение измерения. После нажатия на эту клавишу аппарат немедленно прекращает выполнение измерений и обеспечивает нагревание образца до температуры окружающей среды.
А1.2.12 Диаграммы процесса испытания можно получить только с использованием внешнего выходного устройства. Примеры возможных кривых сигнала приведены на рисунке А1.3. На дисплее не отображается профиль изменения температуры образца, он приведен на рисунке А1.3 для лучшего понимания оператором профилей охлаждения пробы. Каждое топливо и каждое загрязнение будут давать разные кривые детектирования. Однако при испытании одного и того же типа образца кривые сигналов детектирования и помутнения будут идентичными. Это позволяет оператору определять графические характеристики образца и обнаружить любую модификацию продукта при сравнении кривых сигнала. Детектируемые пики на кривой "Сигнал детектирования" соответствуют изменению поляризации света, проходящего через испытуемый образец. Это изменение поляризации вызвано наличием кристаллов в испытуемом образце. Кривая "Чистое топливо для реактивных двигателей" представляет пример образца без загрязнения. Пики, детектируемые на кривой детектирования сигнала, показывают образование первого кристалла и расплавление последнего кристалла. В загрязненном образце могут детектироваться несколько пиков. Это соответствует кристаллизации загрязняющего вещества с последующей кристаллизации топлива для реактивных двигателей. В данном случае в течение фазы нагревания расплавление кристаллов в топливе для реактивных двигателей и расплавление кристаллов загрязняющего вещества детектируются при разных температурах. Это указывает на наличие загрязняющей примеси.
Примечание А1.2 - Полное описание, инструкции по установке, вводу в эксплуатацию и техническому обслуживанию приведены в руководстве по эксплуатации, которое поставляется с каждым прибором.
1 - температура кристаллизации; 2 - не контролируется; 3 - температура кристаллизации; 4 - температура помутнения; 5 - фаза охлаждения; 6 - оценка температуры кристаллизации; 7 - повторное нагревание; 8 - температура кристаллизации
Рисунок А1.3 - Диаграмма процесса испытания
Рисунок А1.4 - Автоматический аппарат для определения
температуры кристаллизации
1 - 8-строчный жидкокристаллический дисплей с подсветкой; 2 - клавиша управления жидкокристаллическим дисплеем; 3 - клавиши "Стоп", "Сброс" и "Аварийная остановка"; 4 - клавиши управления курсором; 5 - клавиши вызова (активизирования) меню или клавиши, отображаемые на жидкокристаллическом дисплее; 6 - цифровая клавиатура и клавиши "Отмена" и "Ввод"
Рисунок А1.5 - Внешний интерфейс аппарата
Приложение Д.А
(справочное)
СВЕДЕНИЯ О СООТВЕТСТВИИ МЕЖГОСУДАРСТВЕННЫХ СТАНДАРТОВ
ССЫЛОЧНЫМ СТАНДАРТАМ
Таблица Д.А.1
Обозначение и наименование ссылочного стандарта
Степень соответствия
Обозначение и наименование соответствующего межгосударственного стандарта
ASTM D 2386-12 Метод определения температуры кристаллизации авиационных топлив
-
<*>
ASTM D 4057-12 Практика по ручному отбору проб нефти и нефтепродуктов
-
<*>
ASTM D 4177-12 Практика по автоматическому отбору проб нефти и нефтепродуктов
-
<*>
IP 16:1998 Определение температуры кристаллизации авиационных топлив
-
<*>
<*> Соответствующий межгосударственный стандарт отсутствует. До его утверждения рекомендуется использовать перевод на русский язык данного международного стандарта. Перевод данного международного стандарта находится в Федеральном информационном фонде технических регламентов и стандартов.