Главная // Актуальные документы // ГОСТ (Государственный стандарт)СПРАВКА
Источник публикации
М.: Стандартинформ, 2013
Примечание к документу
Документ утратил силу на территории Российской Федерации с 01.04.2022 в связи с изданием
Приказа Росстандарта от 27.10.2021 N 1346-ст. Взамен введен в действие
ГОСТ Р ИСО 3826-1-2021.
Документ
введен в действие с 1 января 2015 года.
Название документа
"ГОСТ 31597-2012 (ISO 3826:1993). Межгосударственный стандарт. Контейнеры полимерные для крови и ее компонентов однократного применения. Технические требования. Методы испытаний"
(введен в действие Приказом Росстандарта от 01.11.2012 N 656-ст)
"ГОСТ 31597-2012 (ISO 3826:1993). Межгосударственный стандарт. Контейнеры полимерные для крови и ее компонентов однократного применения. Технические требования. Методы испытаний"
(введен в действие Приказом Росстандарта от 01.11.2012 N 656-ст)
по техническому регулированию
и метрологии
от 1 ноября 2012 г. N 656-ст
МЕЖГОСУДАРСТВЕННЫЙ СТАНДАРТ
КОНТЕЙНЕРЫ ПОЛИМЕРНЫЕ ДЛЯ КРОВИ И ЕЕ КОМПОНЕНТОВ
ОДНОКРАТНОГО ПРИМЕНЕНИЯ
ТЕХНИЧЕСКИЕ ТРЕБОВАНИЯ. МЕТОДЫ ИСПЫТАНИЙ
Polymeric containers for blood and components for single
use. Technical requirements. Test methods
(ISO 3826:1993, MOD)
ГОСТ 31597-2012
(ISO 3826:1993)
Дата введения
1 января 2015 года
Цели, основные принципы и порядок проведения работ по межгосударственной стандартизации установлены
ГОСТ 1.0-92 "Межгосударственная система стандартизации. Основные положения" и
ГОСТ 1.2-2009 "Межгосударственная система стандартизации. Стандарты межгосударственные, правила и рекомендации по межгосударственной стандартизации. Правила разработки, принятия, применения, обновления и отмены"
1 ПОДГОТОВЛЕН Федеральным государственным унитарным предприятием "Всероссийский научно-исследовательский институт стандартизации и сертификации в машиностроении" (ВНИИНМАШ)
2 ВНЕСЕН Федеральным агентством по техническому регулированию и метрологии
3 ПРИНЯТ Межгосударственным советом по стандартизации, метрологии и сертификации (протокол от 24 мая 2012 г. N 41)
За принятие проголосовали:
Краткое наименование страны по МК (ИСО 3166) 004-97 | Код страны по МК (ИСО 3166) 004-97 | Сокращенное наименование национального органа по стандартизации |
Азербайджан | AZ | Азстандарт |
Беларусь | BY | Госстандарт Республики Беларусь |
Казахстан | KZ | Госстандарт Республики Казахстан |
Киргизия | KG | Кыргызстандарт |
Молдова | MD | Молдова-Стандарт |
Россия | RU | Росстандарт |
Таджикистан | TJ | Таджикстандарт |
Узбекистан | UZ | Узстандарт |
Украина | UA | Минэкономразвития Украины |
4
Приказом Федерального агентства по техническому регулированию и метрологии от 1 ноября 2012 г. N 656-ст межгосударственный стандарт ГОСТ 31597-2012 (ISO 3826:1993) введен в действие в качестве национального стандарта Российской Федерации с 1 января 2015 г.
5 Настоящий стандарт модифицирован по отношению к международному стандарту ISO 3826:1993 Plastics collapsible containers for human blood and blood components (Полимерные разборные контейнеры для человеческой крови и ее компонентов) путем внесения дополнительных положений. Дополнительные фразы, слова, показатели и/или их значения, внесенные в текст стандарта, выделены курсивом.
Перевод с английского языка (en).
Степень соответствия - модифицированная (MOD).
6 ВВЕДЕН ВПЕРВЫЕ
Информация об изменениях к настоящему стандарту публикуется в ежегодном информационном указателе "Национальные стандарты", а текст изменений и поправок - в ежемесячном информационном указателе "Национальные стандарты". В случае пересмотра (замены) или отмены настоящего стандарта соответствующее уведомление будет опубликовано в ежемесячном информационном указателе "Национальные стандарты". Соответствующая информация, уведомление и тексты размещаются также в информационной системе общего пользования - на официальном сайте Федерального агентства по техническому регулированию и метрологии в сети Интернет
Настоящий стандарт распространяется на полимерные контейнеры для крови и ее компонентов, стерильные, однократного применения (далее - контейнеры), предназначенные для взятия крови, разделения ее на компоненты, хранения, транспортирования и переливания крови и ее компонентов.
Стандарт устанавливает технические требования, включая эксплуатационные характеристики и методы испытаний при приемосдаточных, сертификационных и периодических испытаниях.
Контейнер обеспечивает:
- сохранение качества крови и ее компонентов;
- эффективное и безопасное взятие крови, хранение, разделение крови на компоненты и переливание содержимого;
- сведение до минимума заражения, особенно бактериального;
- отсутствие воздушной эмболии при взятии и переливании;
- подключение и переливание с помощью устройств для переливания крови;
- максимальную устойчивость к разрушению и разрыву.
Требования настоящего стандарта являются обязательными, кроме требований
приложений А и
Б.
В настоящем стандарте использованы ссылки на следующие межгосударственные стандарты:
ГОСТ 25047-87 Устройства комплектные эксфузионные, инфузионные и трансфузионные однократного применения. Технические условия
ГОСТ 31209-2003 Контейнеры для крови и ее компонентов. Требования химической и биологической безопасности и методы испытаний
Примечание - При пользовании настоящим стандартом целесообразно проверить действие ссылочных стандартов в информационной системе общего пользования - на официальном сайте Федерального агентства по техническому регулированию и метрологии в сети Интернет или по ежегодному информационному указателю "Национальные стандарты", который опубликован по состоянию на 1 января текущего года, и по выпускам ежемесячного информационного указателя "Национальные стандарты" за текущий год. Если ссылочный стандарт заменен (изменен), то при пользовании настоящим стандартом следует руководствоваться заменяющим (измененным) стандартом. Если ссылочный стандарт отменен без замены, то положение, в котором дана ссылка на него, применяется в части, не затрагивающей эту ссылку.
В настоящем стандарте используют следующие термины с соответствующими определениями:
3.1 партия контейнеров, не содержащих антикоагулянт и/или раствор консерванта крови: Число контейнеров, простерилизованных за сутки.
3.2 партия контейнеров, содержащих антикоагулянт и/или раствор консерванта крови: Число контейнеров, заполненных порцией раствора антикоагулянта и/или консерванта крови из одной партии и простерилизованных за сутки.
3.3 серия контейнеров, содержащих консервант крови: Число контейнеров, заполненных консервантом крови из одной партии и простерилизованных за один цикл стерилизации в одном стерилизаторе.
3.4 срок хранения: Период времени между датой стерилизации и датой, после которой контейнер нельзя использовать для взятия крови.
4.1 Контейнер представляет собой замкнутую эластичную, герметичную и стерильную систему из основной емкости для крови, дополнительных емкостей для компонентов и соединительных трубок, изготовленных из мягкого поливинилхлорида, пластифицированного диоктилфталатом. Каждая емкость имеет штуцеры с внутренним мембранным клапаном; основная емкость имеет узел взятия крови.
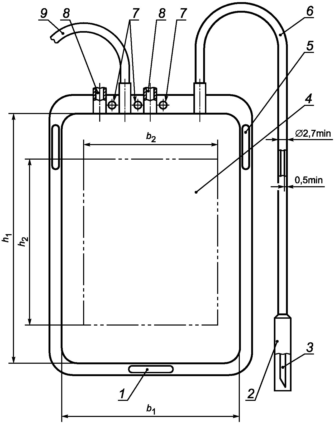
Размеры контейнеров должны соответствовать размерам, указанным на рисунке 1 и в
таблице А.1.
Примечание - Рисунок не определяет конструкцию
1 - ушко; 2 - защитный колпачок; 3 - игла; 4 - этикетка;
5 - ушко; 6 - трубка для взятия крови, длиной не менее
800 мм; 7 - ушко; 8 - штуцер с защитным приспособлением;
9 - соединительная трубка с зажимом (выборочно),
длиной не менее 200 мм
Рисунок 1 - Контейнер полимерный
Образцы форм рекомендуемых этикеток приведены в
приложении Б.
4.2 Контейнеры выпускают двух типов:
- контейнеры, не содержащие антикоагулянт и/или раствор консерванта;
- контейнеры, содержащие антикоагулянт и/или раствор консерванта.
4.3 Контейнеры в зависимости от назначения и количества емкостей (камер) выпускают четырех видов:
- однокамерные;
- двухкамерные;
- трехкамерные;
- четырехкамерные.
5. Требования к конструкции
5.1 Общие требования
Конструкция полимерного контейнера должна обеспечивать безопасное и удобное взятие, разделение, хранение, транспортирование и применение цельной крови и ее компонентов. Конструкция и способ изготовления контейнера не должны оказывать вредного влияния на сохранность крови и ее компонентов. Контейнер должен обеспечивать получение плазмы или центрифугированных или повторно суспензированных компонентов крови с минимальным риском загрязнения микроорганизмами.
Контейнер должен обеспечивать функциональную совместимость с устройством для переливания крови по
ГОСТ 25047. Его конструкция должна также обеспечивать возможность применения контейнера в стакане центрифуги.
5.2.1 Общее количество воздуха, содержащегося в трубках и в основной емкости контейнера, заполненного жидкостью, не должно превышать 5 см
3, и такой же объем воздуха (не более 5 см
3) должен быть в каждой дополнительной емкости и ее трубках.
5.2.2 При взятии крови в соответствии с инструкцией изготовителя контейнер должен заполняться кровью без попадания в него воздуха.
5.3 Опорожнение под давлением
Контейнер, заполненный водой при температуре (23 +/- 2) °C, количество которой равно номинальной вместимости, и соединенный с устройством для переливания крови по
ГОСТ 25047, введенным в штуцер(ы), должен(ы) опорожняться в течение 2 мин без утечки при постепенном сдавливании двумя пластинами при внутреннем избыточном давлении 40 кПа (выше атмосферного).
5.4 Взятие дозы донорской крови
Конструкция контейнеров должна обеспечивать взятие дозы донорской крови без нарушения замкнутой герметичной системы контейнера.
5.5 Скорость заполнения
5.5.1 Контейнер должен быть достаточно эластичным и должен обеспечивать минимальное сопротивление заполнению его в нормальных условиях применения.
5.5.2 Конструкция контейнера и внутренний диаметр донорской иглы должны обеспечивать заполнение основной емкости кровью до номинальной вместимости за время не более 8 мин.
5.6 Узел взятия крови, соединительные трубки и зажим
5.6.1 Основная емкость контейнера должна иметь узел взятия крови с соединительной трубкой длиной не менее 800 мм. Контейнер с дополнительными емкостями для переливания в них компонентов крови должен иметь соединительные трубки длиной не менее 200 мм.
Соединительная трубка в свернутом состоянии должна служить прокладкой между емкостями контейнера, а в развернутом состоянии - обеспечивать свободное перетекание компонентов крови из одной емкости в другую.
5.6.2 Трубки при визуальном осмотре не должны иметь повреждений: трещин, раковин, изломов и других дефектов - и должны обеспечивать герметичность при эксплуатации.
5.6.3 Контейнер и соединенные с ним трубки должны быть герметичны. Контейнер, заполненный водой до номинальной вместимости, должен выдерживать нагрузку при растяжении в 20 Н в течение 15 с, при этом не должна наблюдаться утечка воды в соединениях. Усилие растяжения должно быть приложено по продольной оси плоскости контейнера под прямым углом к краю соединения при температуре (23 +/- 2) °C.
5.6.4 Роликовый зажим предназначен для регулирования скорости тока жидкости от полного перекрытия до струйного истечения. Зажим должен быть установлен на каждой соединительной трубке контейнера для предотвращения самопроизвольного перетекания жидкости из одной емкости в другую.
5.7.1 Донорская игла должна соответствовать требованиям, установленным для инъекционных игл. Игла должна быть неподвижно соединена с трубкой узла взятия крови и иметь защитный колпачок. Защитный колпачок должен обеспечивать сохранность стерильности иглы, иметь элемент контроля "первого вскрытия", предотвращать утечку антикоагулянта и/или консерванта из емкости контейнеров во время хранения.
5.7.2 Соединение головки донорской иглы с трубкой узла взятия крови после стерилизации должно выдерживать нагрузку при растяжении не менее 20 Н в течение 15 с.
5.8 Штуцеры
5.8.1 Штуцеры на каждой емкости контейнера предназначены для присоединения трансфузионных устройств по
ГОСТ 25047 и систем для переливания крови и ее компонентов. Число штуцеров емкости должно соответствовать ее назначению.
Конструкция штуцера должна иметь внутренний мембранный клапан и элемент контроля "первого вскрытия", герметически закрепленный на отверстии. Отверстие штуцера должно соответствовать наружному диаметру

стандартной полимерной иглы устройств и систем.
5.8.2 Соединение стандартной полимерной иглы и штуцера емкости должно быть надежным и герметичным, не допускается подтекание жидкости при переливании и при воздействии давления на емкость по
5.3.
5.9.1 Контейнер должен иметь устройство ("ушко") для подвешивания контейнера, обеспечивающее удобство при взятии, хранении, разделении и переливании крови.
5.9.2 Устройство для подвешивания должно выдерживать нагрузку при растяжении в 20 Н, приложенную вдоль главной оси штуцеров, в течение 60 мин при температуре (23 +/- 2) °C.
6. Технические требования
6.1 Общие требования
6.1.1 Материалы, из которых изготовлен контейнер, его детали и индивидуальная тара (потребительская) должны быть совместимы с его содержимым (кровью, антикоагулянтами, раствором консерванта) и разрешены к применению в установленном порядке.
6.1.2 Контейнер должен быть мягким, эластичным и нехрупким при эксплуатации.
6.1.3 Контейнер должен быть стерильным, апирогенным и нетоксичным.
6.1.4 Контейнер не должен слипаться во время хранения при температуре не выше 40 °C в течение установленного срока.
6.1.5 Контейнер должен быть стабильным по биологическим, химическим и физическим параметрам в отношении его содержимого в течение всего срока хранения; проникновение внутрь микроорганизмов должно быть исключено.
Вещества, вымываемые из контейнера антикоагулянтом и/или раствором консерванта, кровью или плазмой, получаемые в результате химического взаимодействия или физического разделения, по своим характеристикам, количеству и токсическому воздействию на кровь пациента должны соответствовать
ГОСТ 31209.
6.2 Физические требования
6.2.1 Условия изготовления
Все процессы, предусмотренные при изготовлении, сборке и хранении контейнеров следует проводить в чистых и гигиенических условиях в соответствии с рекомендациями Всемирной организации здравоохранения. Следует соблюдать все практические меры предосторожности на всех этапах с целью предупреждения опасности случайного заражения бактериями или загрязнения другими инородными веществами.
6.2.2 Стерилизация
6.2.2.1 Контейнер должен быть стерилизован автоклавированием или любым другим методом, одобренным национальным контролирующим органом в установленном порядке.
6.2.2.2 Используемый метод стерилизации не должен оказывать вредного воздействия на материалы и содержимое, вызывать ослабление прочности и повреждение швов в материале, а также приводить к значительному изменению формы, слипанию полимерного контейнера.
6.2.2.3 Изготовитель должен обеспечивать эффективность используемого процесса стерилизации, принятого в установленном порядке.
Контейнер должен быть прозрачным, чтобы через его стенку была видна опалесценция раствора, в сравнении с таким же контейнером с дистиллированной водой.
Цвет материала, из которого изготовлен контейнер, должен быть таким, чтобы через стенку контейнера была видна окраска крови.
Контейнер, заполненный дистиллированной водой до половины своей номинальной вместимости, должен выдерживать температуру не менее минус 80 °C в течение 24 ч с последующим погружением в водяную баню на 20 мин при температуре (50 +/- 2) °C и последующим доведением температуры до комнатной.
Примечание - При использовании раствора хладагента контейнер должен быть упакован в защитный мешок во избежание непосредственного контакта контейнера с раствором хладагента.
Контейнер, заполненный указанным на этикетке точно определенным количеством антикоагулянта и/или раствора консерванта и определенным количеством изотонического раствора (хлористого натрия p = 9 г/л) до номинальной вместимости, герметично закрытый и маркированный для выпуска, должен выдерживать хранение в атмосфере водяного пара в течение шести недель при температуре (5 +/- 1) °C и максимальной относительной влажности 55%. Потеря воды из раствора должна составлять не более 2% начального количества.
6.2.7 Стойкость к деформации
Стойкость к деформации контейнера должна быть такой, чтобы заполненный, герметично закрытый и снабженный соответствующей опорой он выдерживал центрифугирование в течение 30 мин при температуре 4 °C и затем в течение 30 мин при температуре 37 °C в стакане центрифуги, создающей ускорение 5000 g на внутренней поверхности стакана. На контейнере не должно возникать каких-либо признаков постоянной деформации, способной повлиять на пригодность контейнера для переливания содержимого или разделения его компонентов.
6.2.8.1 Контейнер, заполненный до номинальной вместимости и герметично закрытый, при центрифугировании с ускорением 5000 g в течение 30 мин при температуре 4 °C и затем в течение 30 мин при температуре 37 °C не должен давать утечки.
6.2.8.2 Контейнер, заполненный и герметично закрытый, не должен давать утечки при постепенном сдавливании между двумя пластинами, проложенными индикаторной бумагой, до достижения за 1 мин внутреннего избыточного давления 100 кПа (выше атмосферного) при температуре (23 +/- 2) °C и сохраняемого в течение 10 мин.
Примечание - Центрифугирование с ускорением 5000 g следует проводить при оснащении предприятия соответствующим оборудованием.
6.2.9 Прочность маркировки и этикетки
Прочность крепления этикетки на контейнере должна быть такой, чтобы любая попытка отслоить этикетку должна приводить к ее разрушению и повреждению.
При испытании по
11.18 этикетка не должна отклеиваться.
6.3 Химические требования
Химические требования к контейнерам - по ГОСТ 31209.
6.4 Биологические требования
Биологические требования к контейнерам - по ГОСТ 31209.
7. Требования к антикоагулянту и/или раствору консерванта
Антикоагулянт и/или раствор консерванта должны удовлетворять требованиям Государственной фармакопеи.
8.1 Контейнер не должен допускать потерю воды более 2,5% (по массе) из антикоагулянта или раствора консерванта при хранении в течение года при температуре (23 +/- 2) °C, влажности 55% и атмосферном давлении.
8.2 Внутренняя поверхность индивидуальной упаковки не должна оказывать на контейнер вредных воздействий плесени или грибков. При необходимости она должна быть обработана средствами по предотвращению роста плесени или грибков. При химической обработке должна быть исключена возможность проникновения химических реагентов внутрь контейнера.
8.3 Внутренняя поверхность наружной упаковки контейнера не должна взаимодействовать с контейнером. При необходимости она должна быть обработана для предотвращения роста плесени или грибков. При химической обработке должна быть исключена возможность проникновения химических реагентов внутрь контейнера.
8.4 Упаковка должна обеспечивать контроль первого вскрытия (без нарушения целостности упаковки).
8.5 Упаковка должна быть достаточно прочной, чтобы предохранить контейнер от повреждений при нормальном давлении и эксплуатации.
8.6 Упаковка должна быть стойкой к воздействию вредителей и паразитов с учетом климатических условий региона.
8.7 Упаковка контейнера должна исключать возможность перекручивания соединительной трубки и трубки для переливания крови.
Маркировка контейнера должна соответствовать требованиям 9.1 - 9.3 настоящего стандарта. Образец этикетки для контейнера приведен в приложении Б.
9.1 Маркировка контейнера
9.1.1 Маркировка емкостей (основного и дополнительных) контейнера должна осуществляться с помощью одной приклеиваемой этикетки (по одной на каждую емкость).
Маркировку контейнера наносит на этикетку предприятие-изготовитель. Также этикетка контейнера служит платформой для внесения информации о конечном продукте (компоненте крови), появляющейся в процессе заполнения контейнера. Поэтому этикетка должна содержать не менее половины свободной площади для внесения этой информации.
9.1.2 Маркировка контейнера должна содержать следующую информацию:
- наименование контейнера;
- емкость, в миллилитрах;
- наименование антикоагулянта (без рецептуры 1);
- объем антикоагулянта и/или раствора консерванта в миллилитрах или массу в граммах;
- номер партии;
- срок годности (дату, позже которой контейнер не подлежит использованию);
- надпись "стерильно, апирогенно, нетоксично";
- указание "не предназначено для переливания крови, пока не наклеена марка группы крови";
- указание "не применять при наличии признаков повреждения" или другое равноценное указание;
- указание по применению контейнера;
- наименование и адрес изготовителя и/или наименование и адрес ответственного поставщика;
- штриховой код продукции;
- условия хранения контейнера.
Информация должна быть нанесена на этикетку контейнера (приложение Б).
9.1.3 Маркировку контейнера, содержащего конечный продукт, наносит потребитель в процессе взятия и переработки крови. Маркировка контейнера, содержащего конечный продукт (компонент крови), нанесенная потребителем в процессе взятия и переработки крови, должна содержать:
- наименование конечного продукта (компонента крови);
- характеристики конечного продукта (компонента крови) в соответствии с нормативными документами.
Содержание, расположение надписей, шрифт, цвет и т.п. маркировки конечного продукта (компонента крови) должны соответствовать требованиям нормативных документов, утвержденных органами здравоохранения государств, упомянутых в предисловии, как проголосовавших за принятие межгосударственного стандарта.
Информация наносится на этикетку контейнера вклеиванием дополнительных этикеток, марок, внесением надписей, штампов, печатей и др. (приложение Б).
9.1.4 Допускается в процессе работы с контейнером внесение изменений (соответствующие коррективы) в маркировку конечного продукта.
9.1.5 Участок контейнера при маркировке должен оставаться видимым для визуального осмотра содержимого.
9.2 Требования к этикетке на контейнере должны соответствовать требованиям 9.2.1 - 9.2.4.
9.2.1 Этикетка должна быть изготовлена из пластика или бумаги с укрепленным верхним слоем, обладающим хорошими адгезионными свойствами (для вклеивания дополнительных этикеток и марок) и обеспечивающим стойкость надписей и штампов.
9.2.2 Этикетка должна обеспечивать разборчивое и четкое сохранение текста в течение всего времени эксплуатации, вплоть до момента использования содержимого контейнера.
9.2.3 Этикетка не должна отклеиваться или сморщиваться в условиях запотевания ее поверхности при размораживании продукта.
9.2.4 Этикетка должна исключать возможность появления и роста микроорганизмов на поверхности контейнера и нанесения ущерба контейнеру и содержимому.
9.3 Маркировка наружного пакета потребительской тары контейнера
На наружном пакете потребительской тары должна быть следующая информация:
- страна-изготовитель;
- наименование и адрес изготовителя и/или наименование и адрес ответственного поставщика;
- описание содержимого;
- срок годности (дата, позже которой контейнер не подлежит использованию);
- номер партии;
- штриховой код продукции.
9.4 Маркировка транспортной тары:
- страна-изготовитель;
- наименование и адрес изготовителя и/или наименование и адрес ответственного поставщика;
- описание содержимого;
- срок годности;
- условия хранения.
10.1 Готовые контейнеры подвергают приемосдаточным, периодическим и сертификационным испытаниям.
10.2 Приемосдаточным испытаниям следует подвергать каждую партию (серию) контейнеров.
10.4 Контейнеры подвергают приемосдаточным, сертификационным и периодическим испытаниям по химическим и биологическим (токсикологическим испытаниям на стерильность и пирогенность) показателям по ГОСТ 31209.
10.5 Периодические испытания контейнеров следует проводить по всем требованиям настоящего стандарта.
В случае применения новых или измененных рецептур полимерных материалов, из которых изготавливают контейнеры, или в случае изменения антикоагулянтов и/или растворов консервантов должны быть повторно проведены все химические и биологические испытания
11.1 Проверку основных размеров контейнеров
(4.1) проводят измерительными средствами соответствующей точности измерения.
Проверку проводят на контейнере без раствора.
11.2 Типы и виды контейнеров (
4.2,
4.3) определяют визуально, осмотром невооруженным глазом и сличением с документацией.
11.3 Определение общего количества воздуха
Vв в контейнере (контейнерах) и соединительных трубках
(5.2.1) проводят путем заполнения контейнера (контейнеров) полностью при открытых зажимах и защитных колпачках, как описано в
11.4. Проверку объема полного заполнения
Vп проводят путем измерения мерным цилиндром объема жидкости, вылитого из контейнера. Также проводят измерение объема заполнения контейнера до номинальной вместимости
Vном.
Расчет общего объема количества воздуха в контейнере Vв, см3, проводят по формуле
Vв = Vп - Vном. (1)
11.4 Проверку времени опорожнения контейнера
(5.3) проводят на контейнере, соединенном с устройством для переливания крови и заполненном до номинальной вместимости дистиллированной водой температурой (23 +/- 2) °C. Контейнер помещают между двумя пластинами, с помощью которых при постепенном сдавливании внутри контейнера создается избыточное давление 40 кПа. Измеряют время, в течение которого происходит опорожнение контейнера.
При проверке в местах соединения контейнера, обернутых сухой салфеткой или фильтровальной бумагой, последняя остается сухой, если отсутствует утечка воды.
Примечание - При заполнении контейнера полимерным раствором антикоагулянта (например АСД раствор) или другими растворами с тем же pH утечку можно обнаружить путем сдавливания контейнера листами голубой лакмусовой бумаги, наблюдая за проявлением на ней розовых пятен. Для растворов с другими pH можно использовать тот же метод с подходящим индикатором. Могут быть использованы другие методы, дающие ту же степень чувствительности.
11.5 Проверка времени заполнения контейнера
(5.5.2)
Из резервуара, содержащего 500 мл жидкости температурой (37 +/- 2) °C и вязкостью 3,2 x 10
-6 м
2/с при давлении 9,3 кПа, заполняют контейнер при температуре (23 +/- 2) °C через иглу для взятия крови внутренним диаметром 1,4 мм в той же гидростатической плоскости, что и верхняя часть мешка контейнера. Игла для взятия крови должна соответствовать
ГОСТ 25047.
Измеряют время заполнения контейнера до номинальной вместимости.
11.6 Проверку внешнего вида контейнера, трубок и отсутствие дефектов (
5.6.1,
5.6.2) проводят визуально невооруженным глазом, длину трубок проверяют с помощью линейки.
11.7 Проверку герметичности и прочности соединения контейнера, заполненного водой при температуре (23 +/- 2) °C, с соединительными трубками
(5.6.3) проводят путем приложения осевой нагрузки 20 Н к закрепленному контейнеру с трубкой в течение 15 с. При этом места соединений оборачивают сухой салфеткой или фильтровальной бумагой.
Контейнер считают выдержавшим испытание, если отсутствует утечка воды в местах соединений и салфетки остаются сухими.
11.8 Проверку прочности соединения при растяжении иглы с трубкой контейнера
(5.7.2) проводят следующим образом: трубку контейнера крепят в верхнем зажиме машины, в нижнем - трубку иглы. Устанавливают небольшую скорость перемещения зажимов (50 мм/мин), включают привод машины и следят за плавным увеличением нагрузки по шкале прибора.
Соединения считают выдержавшими испытания, если в течение 15 с при нагрузке 20 Н не произойдет их разрушение.
11.9 Проверку прочности при растяжении устройства для крепления контейнера ("ушка")
(5.9) проводят в соответствии с
11.8, при этом время испытания - 60 мин. Результат считают положительным, если "ушко" после испытания осталось целым.
11.10
Проверка стерильности, апирогенности и нетоксичности (6.1.3) контейнеров - по ГОСТ 31209.
11.11 Проверку отсутствия слипшихся участков контейнера
(6.1.4) проводят визуально осмотром невооруженным глазом.
| | ИС МЕГАНОРМ: примечание. В тексте документа, видимо, допущена опечатка: имеется в виду пункт 6.1.5, а не 5.1.6. | |
Химические испытания следует проводить на материалах, полученных с простерилизованных полимерных контейнеров, предназначенных к использованию при переливании.
11.13 Проверка прозрачности контейнера
(6.2.3)
11.13.1 Заполняют пустой контейнер до его номинальной вместимости первичной опалесцирующей суспензией, приготовленной по
11.13.4, разведенной до спектральной поглощающей способности от 0,37 до 0,043 при 640 нм (коэффициент разведения порядка 1:16) в 1 см ячейки.
11.13.2 Приготовление раствора сульфата гидразина: растворяют 1,0 г сульфата гидразина в дистиллированной воде и разбавляют до 100 см3. Дают выстояться от 4 до 6 ч.
11.13.3 Приготовление раствора гексаметилентетрамина: растворяют в 25 мл дистиллированной воды 2,5 г гексаметилентетрамина в стеклянном закрытом притертой пробкой флаконе вместимостью 100 см3.
11.13.4 Приготовление первичной опалесцирующей суспензии: добавляют к раствору гексаметилентетрамина 25,0 см
3 раствора сульфата гидразина. Смешивают и дают выстояться в течение 24 ч.
Суспензия остается стабильной в течение 2 мес при условии ее хранения в стеклянном сосуде без дефектов поверхности. Суспензия не должна прилипать к стеклу, перед употреблением ее хорошо размешивают.
11.13.5 Заполняют второй пустой контейнер дистиллированной водой до его номинальной вместимости.
Визуально сравнивают растворы в контейнерах в рассеянном дневном свете на черном фоне. Если опалесцирующую суспензию в одном контейнере можно легко отличить от воды в другом контейнере, то результат положительный (прозрачность контейнера отвечает предъявленному требованию).
11.14 Проверку цвета контейнера
(6.2.4) проводят визуально невооруженным глазом.
11.15 Проверку теплостойкости контейнера
(6.2.5) проводят в камерах холода в условиях, указанных в
6.2.5.
После испытаний проводят проверку внешнего вида контейнера и трубок, герметичность всех соединений.
11.16 Проверку паропроницаемости контейнера с растворами
(6.2.6) проводят в климатических камерах в условиях, указанных в
6.2.6. Потерю воды из раствора рассчитывают по разности начальной и конечной масс контейнера.
11.17 Проверку стойкости контейнера к деформации проводят на центрифугах
(6.2.8) и в условиях, указанных в
6.2.5.
После испытаний проверяют целостность и герметичность соединений контейнера.
11.18 Проверку прочности маркировки и крепления этикетки на контейнере
(6.2.9) проводят следующим образом: полимерные контейнеры, заполненные и герметично закрытые, в течение пяти дней хранят при температуре (5 +/- 1) °C. Затем их хранят 24 ч при максимальной температуре 40 °C, затем - 24 ч при температуре (5 +/- 1) °C. После хранения контейнеры с этикеткой и/или печатным текстом погружают на 24 ч в водопроводную воду температурой (20 +/- 1) °C.
(справочное)
РЕКОМЕНДУЕМЫЕ РАЗМЕРЫ КОНТЕЙНЕРОВ ДЛЯ КРОВИ И ЕЕ КОМПОНЕНТОВ
Номинальная емкость, см3 | Внутренняя ширина, b1, мм | Внутренняя высота, h1, мм | Длина этикетки, b2, мм +/- 5 | Ширина этикетки, h2, мм +/- 5 |
100 | 75 | 120 | 60 | 85 |
250 | 120 | 130 | 90 | 85 |
300 | 120 | 150 | 95 | 95 |
400 | 120 | 170 | 100 | 100 |
500 | 120 | 185 | 100 | 100 |
(справочное)
ЭТИКЕТКА ДЛЯ ПОЛИМЕРНОГО КОНТЕЙНЕРА ДЛЯ КРОВИ И ЕЕ
КОМПОНЕНТОВ ОДНОКРАТНОГО ПРИМЕНЕНИЯ
Рисунок 2
--------------------------------
<*> Справочные размеры в миллиметрах.
<**> Информация, внесенная потребителем в сфере обращения (в процессе взятия и обработки крови и ее компонентов) в виде наклеенных дополнительно этикеток, марок, нанесенных надписей, печатей, штампов.