Главная // Актуальные документы // ГОСТ (Государственный стандарт)
СПРАВКА
Источник публикации
М.: Стандартинформ, 2016
Примечание к документу
Документ утратил силу с 01.08.2021 в связи с изданием Приказа Росстандарта от 20.04.2021 N 231-ст. Взамен введен в действие ГОСТ 2.056-2021.

Текст документа приведен с учетом поправки, опубликованной в "ИУС", N 6, 2016.

Документ введен в действие с 1 июля 2016 года.
Название документа
"ГОСТ 2.056-2014. Межгосударственный стандарт. Единая система конструкторской документации. Электронная модель детали. Общие положения"
(введен в действие Приказом Росстандарта от 15.06.2015 N 715-ст)

"ГОСТ 2.056-2014. Межгосударственный стандарт. Единая система конструкторской документации. Электронная модель детали. Общие положения"
(введен в действие Приказом Росстандарта от 15.06.2015 N 715-ст)


Содержание


Введен в действие
Приказом Федерального
агентства по техническому
регулированию и метрологии
от 15 июня 2015 г. N 715-ст
МЕЖГОСУДАРСТВЕННЫЙ СТАНДАРТ
ЕДИНАЯ СИСТЕМА КОНСТРУКТОРСКОЙ ДОКУМЕНТАЦИИ
ЭЛЕКТРОННАЯ МОДЕЛЬ ДЕТАЛИ
ОБЩИЕ ПОЛОЖЕНИЯ
Unified system for design documentation.
Digital part model. General principles
ГОСТ 2.056-2014
Группа Т52
МКС 01.100
ОКСТУ 0002
Дата введения
1 июля 2016 года
Предисловие
Цели, основные принципы и основной порядок проведения работ по межгосударственной стандартизации установлены ГОСТ 1.0-92 "Межгосударственная система стандартизации. Основные положения" и ГОСТ 1.2-2009 "Межгосударственная система стандартизации. Стандарты межгосударственные, правила и рекомендации по межгосударственной стандартизации. Правила разработки, принятия, применения, обновления и отмены"
Сведения о стандарте
1 РАЗРАБОТАН Федеральным государственным унитарным предприятием "Всероссийский научно-исследовательский институт стандартизации и сертификации в машиностроении" (ВНИИНМАШ), Автономной некоммерческой организацией Научно-исследовательский центр CALS-технологий "Прикладная логистика" (АНО НИЦ CALS-технологий "Прикладная логистика")
2 ВНЕСЕН Федеральным агентством по техническому регулированию и метрологии
3 ПРИНЯТ Межгосударственным советом по стандартизации, метрологии и сертификации (протокол от 14 ноября 2014 г. N 72-П)
За принятие проголосовали:
Краткое наименование страны по МК (ИСО 3166) 004-97
Код страны по МК (ИСО 3166) 004-97
Сокращенное наименование национального органа по стандартизации
Азербайджан
AZ
Азстандарт
Армения
AM
Минэкономики Республики Армения
Беларусь
BY
Госстандарт Республики Беларусь
Казахстан
KZ
Госстандарт Республики Казахстан
Киргизия
KG
Кыргызстандарт
Молдова
MD
Молдова-Стандарт
Россия
RU
Росстандарт
Таджикистан
TJ
Таджикстандарт
Узбекистан
UZ
Узстандарт
Украина
UA
Гостпотребстандарт Украины
4 Приказом Федерального агентства по техническому регулированию и метрологии от 15 июня 2015 г. N 715-ст межгосударственный стандарт ГОСТ 2.056-2014 введен в действие в качестве национального стандарта Российской Федерации с 1 июля 2016 г.
5 ВВЕДЕН ВПЕРВЫЕ
Информация об изменениях к настоящему стандарту публикуется в ежегодном информационном указателе "Национальные стандарты" (по состоянию на 1 января текущего года), а текст изменений и поправок - в ежемесячном информационном указателе "Национальные стандарты". В случае пересмотра (замены) или отмены настоящего стандарта соответствующее уведомление будет опубликовано в ежемесячном информационном указателе "Национальные стандарты". Соответствующая информация, уведомление и тексты размещаются также в информационной системе общего пользования - на официальном сайте Федерального агентства по техническому регулированию и метрологии в сети Интернет (www.gost.ru)
1. Область применения
Настоящий стандарт устанавливает общие положения к выполнению электронных моделей деталей изделий машиностроения и приборостроения.
На основе настоящего стандарта допускается при необходимости разрабатывать стандарты, учитывающие особенности выполнения электронных моделей деталей изделий конкретных видов техники.
2. Нормативные ссылки
В настоящем стандарте использованы нормативные ссылки на следующие межгосударственные стандарты:
ГОСТ 2.051-2013 Единая система конструкторской документации. Электронные документы. Общие положения
ГОСТ 2.052-2006 Единая система конструкторской документации. Электронная модель изделия. Общие положения
ГОСТ 2.102-2013 Единая система конструкторской документации. Виды и комплектность конструкторских документов
ГОСТ 2.104-2006 Единая система конструкторской документации. Основные надписи
ГОСТ 2.109-73 Единая система конструкторской документации. Основные требования к чертежам
ГОСТ 2.201-80 Единая система конструкторской документации. Обозначение изделий и конструкторских документов
ГОСТ 2.305-2008 Единая система конструкторской документации. Изображения - виды, разрезы, сечения
ИС МЕГАНОРМ: примечание.
Текст дан в соответствии с официальным текстом документа.
ГОСТ 2.317-69 Единая система конструкторской документации аксонометрические проекции. Аксонометрические проекции
ГОСТ 2.501-2013 Единая система конструкторской документации. Правила учета и хранения
ГОСТ 2.503-2013 Единая система конструкторской документации. Правила внесения изменений
ГОСТ 24705-2004 (ИСО 724:1993) Единая система конструкторской документации. Основные нормы взаимозаменяемости. Резьба метрическая
Примечание - При пользовании настоящим стандартом целесообразно проверить действие ссылочных стандартов в информационной системе общего пользования - на официальном сайте Федерального агентства по техническому регулированию и метрологии в сети Интернет или по ежегодно издаваемому информационному указателю "Национальные стандарты", который опубликован по состоянию на 1 января текущего года, и по выпускам ежемесячного информационного указателя "Национальные стандарты" за текущий год. Если ссылочный стандарт заменен (изменен), то при пользовании настоящим стандартом следует руководствоваться заменяющим (измененным) стандартом. Если ссылочный стандарт отменен без замены, то положение, в котором дана ссылка на него, применяется в части, не затрагивающей эту ссылку.
3. Термины, определения и сокращения
3.1. Термины и определения
В настоящем стандарте применены следующие термины с соответствующими определениями:
3.1.1
ИС МЕГАНОРМ: примечание.
В официальном тексте документа, видимо, допущена опечатка: стандарт имеет номер ГОСТ 2.052-2015, а не ГОСТ 2.052-2013.
атрибут модели: Размер, допуск, текст или символ, требуемый для определения геометрии изделия или его характеристики.
[ГОСТ 2.052-2013, пункт 3.16]
3.1.2
геометрический элемент: Идентифицированный (именованный) геометрический объект, используемый в наборе данных.
[ГОСТ 2.052-2013, пункт 3.13]
Примечание - Геометрическим объектом может быть точка, линия, плоскость, поверхность, геометрическая фигура, геометрическое тело.
3.1.3
данные расположения: Данные, определяющие размещение и ориентацию изделия и его составных частей в модельном пространстве в указанной системе координат.
[ГОСТ 2.052-2013, пункт 3.19]
3.1.4 информационный уровень: Свойство системы автоматизированного проектирования, позволяющее группировать геометрическую и символическую информацию. Может управляться и (или) визуализироваться независимо один от другого и (или) в требуемой комбинации.
3.1.5
модельное пространство: Пространство в координатной системе модели, в котором выполняется геометрическая модель изделия.
[ГОСТ 2.052-2013, пункт 3.17]
3.1.6 основная геометрия модели: Совокупность геометрических элементов, представляющих форму и размеры геометрической модели.
3.1.7
плоскость обозначений и указаний: Плоскость в модельном пространстве, на которую выводится визуально воспринимаемая информация, содержащая значения атрибутов модели, технические требования, обозначения и указания.
[ГОСТ 2.052-2013, пункт 3.18]
3.1.8 геометрическая целостность (электронной геометрической модели): Свойство электронной геометрической модели изделия, определяющее, что при ее построении и преобразованиях (выполнении поворота, переноса и других операций преобразования) сохраняется целостность данных содержательной части * <*>.
--------------------------------
<*> Здесь и далее знаком "*" отмечены пункты, к которым приведены комментарии в приложении А.
3.1.9 аннотация: Текстовый атрибут модели.
3.2. Сокращения
В настоящем стандарте применены следующие сокращения:
ГЭ - геометрический элемент;
ИУ - информационный уровень;
КД - конструкторский документ (документы);
ПОУ - плоскость обозначений и указаний;
САПР - система автоматизированного проектирования;
ЭМД - электронная модель детали;
ЭМСЕ - электронная модель сборочной единицы.
4. Основные требования к выполнению
электронной модели детали
4.1.1 ЭМД выполняется программно-техническими средствами только в электронной форме и предназначена для использования в компьютерной среде *.
4.1.2 В соответствии с ГОСТ 2.102 ЭМД является основным КД.
4.1.3 ЭМД должна содержать все данные, необходимые для изготовления и контроля детали в соответствии с требованиями ГОСТ 2.052.
4.1.4 ЭМД должна содержать:
- основную геометрию детали;
- конструкторские и технологические требования (при необходимости);
- физические параметры (согласно ГОСТ 2.109), необходимые для выполнения расчетов (прочностных, весовых и т.д.), математического моделирования, разработки технологических процессов и др.;
- другие данные (при необходимости).
4.1.5 Обозначение ЭМД - согласно ГОСТ 2.102 и ГОСТ 2.201, учет, хранение - согласно ГОСТ 2.501, изменение - согласно ГОСТ 2.503.
4.1.6 Реквизитная часть ЭМД должна быть выполнена согласно ГОСТ 2.104.
5. Требования к оформлению электронной модели детали
5.1. Общие требования
5.1.1 ЭМД следует разрабатывать в соответствии с требованиями:
- общих требований к проектированию (разработке);
- данных расположения;
- требований к изготовлению и контролю, действующих на изделия конкретных видов техники с учетом их специфики.
5.1.2 ЭМД следует выполнять в правосторонней системе координат в метрической системе единиц измерения *.
5.1.3 ЭМД следует выполнять в натуральную величину по номинальным (без допусков) размерам.
Моделирование технологических припусков в ЭМД не допускается *.
5.1.4 Требования к точности выполнения моделей следует устанавливать с учетом требований к их изготовлению и контролю. Рекомендуется устанавливать следующие требования к точности выполнения моделей *:
- линейная точность - 0,001 мм;
- угловая точность - 0,01°.
5.1.5 Степень подробности ЭМД должна соответствовать стадии разработки по ГОСТ 2.103.
Примеры представления ЭГМД на стадиях разработки приведены в приложении Б.
5.1.6 ЭМД может быть выполнена в абсолютной системе координат или рабочей системе координат, заданной разработчиком (конструктором).
5.1.6.1 За абсолютную систему координат, как правило, принимают систему координат сборочной единицы (комплекса, комплекта), в которую входит моделируемая деталь *.
5.1.6.2 Направление координатных осей системы координат изделия устанавливают с учетом требований, действующих на изделия конкретных видов техники с учетом их специфики *.
5.1.6.3 Без привязки к системе координат с последующим позиционированием в ЭМСЕ допускается выполнять электронные модели покупных (в т.ч. стандартных) деталей (например, крепежных изделий) и деталей, выполняемых без привязки к расчетным (теоретическим) плоскостям и осям разрабатываемой сборочной единицы.
5.1.7 В процессе разработки ЭМД следует проверять на геометрическую целостность в соответствии с заданной точностью. При обнаружении ошибок они должны быть исправлены *.
5.1.8 Для управления визуализацией ЭМД следует использовать информационные уровни.
5.1.8.1 Размещение ГЭ по ИУ в ЭГМД должен устанавливать разработчик в зависимости от возможности применяемой автоматизированной системы.
5.1.8.2 Все ГЭ должны быть размещены на определенных ИУ ЭМД. Все используемые ИУ должны быть поименованы.
ИУ, на которых отсутствуют ГЭ, допускается наименования не задавать.
5.1.8.3 Наименования ИУ следует устанавливать в стандарте организации с учетом применяемых при разработке ЭМД типов представления формы изделия и возможностей применяемой автоматизированной системы.
5.1.9 Для удобства визуального восприятия и информативности ЭМД следует использовать цвета, толщины линий и прозрачность граней.
5.1.9.1 Для представления осевых линий (осей симметрии элементов ЭМД, осей вращения деталей, осей цилиндрических тел, осей отверстий и т.п.) следует использовать тип линии - "осевая", ширина линии - "тонкая".
5.1.9.2 Для представления на основных формообразующих элементах ЭМД следует использовать тип линии - "сплошная", ширина линии - "тонкая".
5.1.9.3 Не рекомендуется:
- использовать для окраски ЭМД системные цвета соответствующей САПР;
- окрашивать разные грани одной и той же ЭМД в различные цвета или использовать различную степень прозрачности граней.
5.1.10 Для выполнения ЭМД должен быть назначен материал *.
5.1.11 Для отображения дополнительной информации в ЭМД следует использовать атрибуты.
5.1.11.1 При задании атрибутов ЭМД допускается использовать специализированные объекты соответствующей САПР (выносные, размерные и осевые линии, условные графические обозначения и т.п.) и типовые ГЭ: кривые, надписи, символы и др.
5.1.11.2 Для указания технических (конструкторских и технологических) требований следует использовать аннотации - специализированные текстовые атрибуты модели. Технические требования рекомендуется излагать в следующей последовательности:
- требования к методу производства;
- требования к материалу или к методу производства заготовки (литье, штамповка и другие виды заготовок), указания о материалах (заменителях);
- размеры, предельные отклонения размеров, формы, взаимного расположения поверхностей, массы и т.п.;
- требования к термообработке (включая требования к упрочнению);
- требования к контролю;
- требования к покрытию;
- условия и методы испытаний;
- указания о маркировке и клеймении;
- правила консервации, хранения и транспортирования;
- дополнительные требования (при необходимости масса заготовки);
- требования к изготовлению (включая требование к методу обработки);
- указание о необходимости составления паспорта.
Допускается задавать технические требования в виде указания ссылочных нормативных документов на процессы изготовления и контроля.
5.1.12 Как правило, ЭМД следует выполнять в состоянии "как изготовлено" (без учета деформаций, возникающих при установке).
5.1.12.1 Если в процессе сборки изделия деталь подвергается деформациям упругим (прокладки, резиновые профили и т.п.) или пластическим (развальцовка, гибка и т.п.), то ЭМД следует выполнять в двух альтернативных состояниях этой детали - "как установлено" (деформированное при установке) и "как изготовлено" (без учета деформаций, возникающих при установке).
5.1.12.2 Деформацию, форма которой в сборочной единице не задается (например, деформация, которая является результатом взаимодействия уплотнителя с конструкцией в зоне уплотнения, деформация пружины и т.д.), допускается в альтернативном состоянии не выполнять.
5.1.12.3 Внесение технических требований, обозначений и указаний в альтернативные представления выполнять не следует.
5.1.13 В процессе разработки ЭМД может содержать ассоциативные ссылки на пограничные (соседние) ЭМИ и размеры, определяющие их взаимное расположение ("обстановка"). При этом следует обеспечить, чтобы в разработанную ЭМД изделия "обстановки" не входили.
5.1.14 При выполнении в ЭМД стандартизированных элементов (резьбы, цековки, отбортовки и т.д.) размеры данных элементов следует выполнять по нормативным документам на эти элементы.
5.1.15 Для каждой ЭМД рекомендуется создавать изображение для предварительного (быстрого) просмотра (если применяемая САПР это поддерживает).
5.1.15.1 На изображении для предварительного просмотра деталь следует представлять в закрашенном состоянии и наиболее выгодном ракурсе без текстовой информации.
5.1.15.2 Формат представления изображения для предварительного просмотра рекомендуется выбирать с учетом возможности просмотра изображения не только средствами применяемой САПР, но и наиболее распространенными прикладными программными средствами.
5.1.16 Сохранение ЭМД следует проводить при открытой компоновке видов (если применяемая САПР это поддерживает). При этом визуализируемая информация не должна выходить за границы экрана.
Общие требования к сохранению ЭМД - согласно приложению В.
Если при разработке модели была применена рабочая система координат (заданная разработчиком), то перед сохранением рабочая система координат должна быть совмещена с абсолютной системой координат.
5.2. Упрощения при выполнении электронной модели детали
5.2.1 В ЭМД допускается не выполнять скругление и притупление острых кромок с радиусами скругления или граней фаски менее или равными 1 мм в случаях, когда:
- указание о необходимости скругления или притупления острых кромок внесено (будет внесено) в технические требования ЭМД;
- параметр скругления или притупления острых кромок или граней фаски задан в нормативных документах.
5.2.2 При создании ЭМД штамповочные и литейные уклоны следует выполнять только в случае их использования в увязке со стыкуемыми деталями.
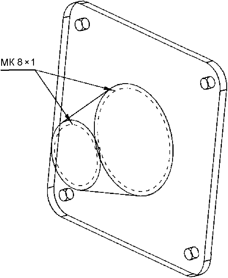
5.2.3 При моделировании деталей, имеющих резьбу, следует создавать условную резьбу - две пунктирные окружности (см. рисунок 1).
а) Обозначение резьбы на шпильке
б) Обозначение резьбы на гайке
Рисунок 1 - Пример обозначения условной резьбы
5.2.4 Как правило, рекомендуется применять следующие правила моделирования деталей с резьбой:
- для вала - диаметр вала следует выполнять равным наружному диаметру резьбы, пунктирные линии - равными внутреннему диаметру резьбы (см. рисунок 2 а);
- для отверстия - диаметр отверстия следует выполнять равным внутреннему диаметру резьбы, пунктирные линии - равными наружному диаметру резьбы (см. рисунок 2 б).
а) Резьба на валу
б) Резьба на гайке
Рисунок 2 - Примеры ЭМД с резьбой М6 согласно ГОСТ 24705
5.2.5 Конические резьбы следует выполнять пунктирными окружностями (рисунок 3).
Рисунок 3 - Пример обозначения конической резьбы
Окружности, показывающие границы резьбы при условном изображении, следует хранить на ИУ, содержащем основную геометрию модели детали.
Приложение А
(справочное)
КОММЕНТАРИИ К ПУНКТАМ СТАНДАРТА
4.1.1 Содержательную часть ЭГМД следует выполнять в соответствии с требованиями по составу информационных объектов моделей данных согласно [1] - [8].
5.1.2 Исключение могут составлять ЭМ ПКИ, полученные от поставщиков и изначально выполненные в дюймовой системе единиц.
5.1.4 При невозможности соблюдения точности 0,001 мм для деталей сложной формы (например, эквидистантных заданной геометрии: теоретическому контуру, поверхности ограничения и т.п.) допускается их выполнение в более грубом допуске по дополнительному согласованию со службой технологического контроля.
5.1.6.1 В случае отсечного деления изделия абсолютной считается система координат соответствующего отсека. При этом относительное расположение абсолютной системы координат отсека относительно абсолютной системы координат изделия должно быть определено схемой системы координат отсеков для каждого варианта изделия.
5.1.6.2 Направления координатных осей системы координат изделия, перемещающегося в пространстве, рекомендуется принимать:
- ось X - против направления движения;
- ось Y - вверх;
- ось Z - от разработчика.
5.1.7 При этом при необходимости может потребоваться, чтобы ЭМД была перестроена.
5.1.10 Наименование материала рекомендуется выбирать из библиотеки материалов (справочника), если используемая САПР имеет соответствующие возможности.
Приложение Б
(справочное)
ПРИМЕРЫ ПРЕДСТАВЛЕНИЯ ЭЛЕКТРОННОЙ МОДЕЛИ
ДЕТАЛИ НА СТАДИЯХ РАЗРАБОТКИ
а) ЭМД стадии технического предложения
б) ЭМД стадии эскизного проекта
в) ЭМД стадии технического проекта и рабочей КД
Рисунок Б.1 - Пример представления
ЭМД кронштейна на стадиях разработки
а) ЭМД стадии технического предложения
б) ЭМД стадии эскизного проекта
в) ЭМД стадии технического проекта и рабочей КД
Рисунок Б.2 - Пример представления
ЭМД панели на стадиях разработки
Приложение В
(справочное)
ТРЕБОВАНИЯ
К КОМПОНОВКЕ ВИДОВ ЭЛЕКТРОННОЙ МОДЕЛИ ДЕТАЛИ
В.1 Требования настоящего приложения применимы в случае, если используемая САПР имеет соответствующие возможности.
В.2 Все ЭМД должны содержать как минимум один вид "Изометрия".
Вид "Изометрия" должен содержать ЭМД в положении, которое дает наиболее полное представление о форме детали, ее разрезах, сечениях и т.д. в соответствии с ГОСТ 2.317 и 2.305.
В случае необходимости допускается добавление видов: "спереди" ("главный"), "сверху", "слева", "справа", "снизу", "сзади".
ПОУ для вида "Изометрия" следует определять в соответствии с требованиями, указанными в ГОСТ 2.052. ПОУ для ортогональных видов следует назначать в основных плоскостях проекций согласно ГОСТ 2.305.
В.3 Допускается создание дополнительных видов, обеспечивающих наилучшую визуализацию обозначений и указаний с элементами ЭМД, к которым они относятся, с последующим сохранением видов как "Вид А", "Вид Б" и т.д.
При создании дополнительных ПОУ направление проецирования следует указывать стрелкой около соответствующего изображения. Над стрелкой и полученным видом необходимо указывать одну и ту же прописную букву.
Рисунок В.1 - Пример выполнения дополнительного вида
В.4 Допускается создание дополнительных видов ЭМД с сечением (с разрезами), обеспечивающих наилучшую идентификацию ПОУ с элементами ЭМД, к которым они относятся, с последующим сохранением видов как "А-А", "В-В" и т.д.
При создании дополнительных видов ЭМД с сечением (с разрезами) направление проецирования должно быть указано линиями со стрелкой около соответствующего изображения. Над стрелками и полученным видом детали необходимо указывать одни и те же прописные буквы.
В.5 В ЭМД, в которой отсутствуют размеры и базы, допускается выполнять только вид "Изометрия", в ПОУ которого выполняются все обозначения и указания. В остальных случаях следует выполнять дополнительные виды.
В.6 Создание дополнительных видов, не содержащих какой-либо дополнительной информации, кроме основной геометрии ЭМД (дополнительных осей, атрибутов, аннотаций и т.д.), не рекомендуется.
В.7 Рекомендуется соблюдать следующий порядок расположения видов в компоновке видов:
- главный вид - в левом верхнем окне;
- вид сверху - в левом нижнем окне;
- вид слева - в правом верхнем окне;
- вид справа - в правом верхнем окне;
- изометрический вид - в правом нижнем окне;
- вид снизу - в правом нижнем окне.
При этом модель и вся остальная информация должны помещаться в границах экрана.
В.7.1 Если ЭМД не содержит виды слева или сверху - в соответствующих окнах допускается сохранять дополнительные виды детали или сечения. При этом главный вид располагается в левом верхнем окне, изометрический вид - в правом нижнем окне.
В.7.2 Если ЭМД не содержит виды слева или сверху, то в соответствующих окнах допускается сохранять дополнительные виды детали или сечения. При этом главный вид располагают в левом верхнем окне, изометрический вид - в правом нижнем окне.
В.7.3 Если ЭМД не содержит вида сверху или вида слева, а также дополнительных видов и сечений (ЭМД содержит только три вида, например: главный вид, вид сверху и изометрический вид), то ЭМД следует отображать в четырех окнах. При этом должен соблюдаться следующий порядок расположения видов:
- главный вид - в левом верхнем окне;
- изометрический вид - в правом нижнем окне.
В.7.4 Вид, в котором отображаются только технические требования, следует отображать в левом нижнем или правом верхнем окне (окне, которое не содержит вид). Дополнительные виды, в которых отображаются дополнительные требования и увеличение геометрии детали, - в левом нижнем или правом верхнем окне.
В.7.5 Если ЭМД содержит только два вида - главный и изометрический, должен соблюдаться следующий порядок расположения видов:
- главный вид - в левом окне;
- изометрический вид - в правом окне.
В.7.6 Для длинномерных ЭМД, которые располагаются на видах горизонтально, рекомендуется соблюдать следующий порядок расположения видов:
- главный вид - в верхнем окне;
- изометрический вид - в нижнем окне.
В.7.7 Если ЭМД содержит только вид "Изометрия", то ЭМД следует отображать в одном окне. При этом компоновку видов допускается не создавать.
БИБЛИОГРАФИЯ
[1] ISO 10303-1-99
Системы автоматизации производства и их интеграция. Представление данных об изделии и обмен этими данными. Часть 1. Общие представления и основополагающие принципы
[2] ISO 10303-11-2004
Системы автоматизации производства и их интеграция. Представление данных об изделии и обмен этими данными. Часть 11. Методы описания. Справочное руководство по языку EXPRESS
[3] ISO 10303-42-2003
Системы автоматизации производства и их интеграции. Представление данных об изделии и обмен этими данными. Часть 42. Интегрированные обобщенные ресурсы. Представление геометрии и топологии
[4] ISO 10303-201-1994
Системы автоматизации производства и их интеграция. Представление данных об изделии и обмен этими данными. Часть 201. Протокол применения. Прямое черчение
[5] ISO 10303-41-2000
Системы автоматизации производства и их интеграции. Представление данных об изделии и обмен этими данными. Часть 41. Интегрированные обобщенные ресурсы. Основы описания и поддержки изделий
[6] ISO 10303-43-2000
Системы автоматизации производства и их интеграция. Представление данных об изделии и обмен этими данными. Часть 43. Интегрированные обобщенные ресурсы. Представление структур
[7] ISO 10303-21-2002
Системы автоматизации производства и их интеграция. Представление данных об изделии и обмен этими данными. Часть 21. Методы реализации. Кодирование открытым текстом структуры обмена
[8] ISO 10303-22-1998
Системы автоматизации производства и их интеграция. Представление данных об изделии и обмен этими данными. Часть 22. Методы реализации. Стандартный интерфейс доступа к данным
[9] ISO 13584-1-2001
Системы автоматизации производства и их интеграция. Библиотека деталей. Часть 1. Обзор и основные положения