Главная // Актуальные документы // ГОСТ (Государственный стандарт)СПРАВКА
Источник публикации
М.: Стандартинформ, 2017
Примечание к документу
Документ утратил силу с 01.01.2023 в связи с изданием Приказа Росстандарта от 11.07.2022 N 590-ст. Взамен введен в действие
ГОСТ 23381-2022.
Документ включен в
Перечень стандартов, содержащих правила и методы исследований (испытаний) и измерений, в том числе правила отбора образцов, необходимые для применения и исполнения требований технического
регламента Таможенного союза "О безопасности мебельной продукции" (ТР ТС 025/2012) и осуществления оценки соответствия объектов технического регулирования (
Решение Коллегии Евразийской экономической комиссии от 18.10.2012 N 189).
Текст данного документа приведен с учетом
поправки, опубликованной в "ИУС", N 1, 2021.
Документ
введен в действие с 01.05.2018.
Название документа
"ГОСТ 23381-2016. Межгосударственный стандарт. Стулья ученические и детские. Методы испытаний"
(введен в действие Приказом Росстандарта от 25.08.2017 N 965-ст)
"ГОСТ 23381-2016. Межгосударственный стандарт. Стулья ученические и детские. Методы испытаний"
(введен в действие Приказом Росстандарта от 25.08.2017 N 965-ст)
агентства по техническому
регулированию и метрологии
от 25 августа 2017 г. N 965-ст
МЕЖГОСУДАРСТВЕННЫЙ СТАНДАРТ
СТУЛЬЯ УЧЕНИЧЕСКИЕ И ДЕТСКИЕ
МЕТОДЫ ИСПЫТАНИЙ
School chairs and chairs for children. Test methods
ГОСТ 23381-2016
Дата введения
1 мая 2018 года
Цели, основные принципы и основной порядок проведения работ по межгосударственной стандартизации установлены в
ГОСТ 1.0-2015 "Межгосударственная система стандартизации. Основные положения" и
ГОСТ 1.2-2015 "Межгосударственная система стандартизации. Стандарты межгосударственные, правила и рекомендации по межгосударственной стандартизации. Правила разработки, принятия, обновления и отмены".
1 РАЗРАБОТАН Техническим комитетом по стандартизации ТК 135 "Мебель"
2 ВНЕСЕН Федеральным агентством по техническому регулированию и метрологии
3 ПРИНЯТ Межгосударственным советом по стандартизации, метрологии и сертификации (протокол от 19 декабря 2016 г. N 94-П)
За принятие проголосовали:
Краткое наименование страны по МК (ИСО 3166) 004-97 | Код страны по МК (ИСО 3166) 004-97 | Сокращенное наименование национального органа по стандартизации |
Армения | AM | Минэкономики Республики Армения |
Беларусь | BY | Госстандарт Республики Беларусь |
Грузия | GE | Грузстандарт |
Казахстан | KZ | Госстандарт Республики Казахстан |
Киргизия | KG | Кыргызстандарт |
Россия | RU | Росстандарт |
Туркмения | TM | Главгосслужба "Туркменстандартлары" |
Узбекистан | UZ | Узстандарт |
Украина | UA | Минэкономразвития Украины |
4
Приказом Федерального агентства по техническому регулированию и метрологии от 25 августа 2017 г. N 965-ст межгосударственный стандарт ГОСТ 23381-2016 введен в действие в качестве национального стандарта Российской Федерации с 1 мая 2018 г.
5 Настоящий стандарт разработан для обеспечения соблюдения требований технического
регламента Таможенного союза ТР ТС 025/2012 "О безопасности мебельной продукции"
Информация об изменениях к настоящему стандарту публикуется в ежегодном информационном указателе "Национальные стандарты", а текст изменений и поправок - в ежемесячном информационном указателе "Национальные стандарты". В случае пересмотра (замены) или отмены настоящего стандарта соответствующее уведомление будет опубликовано в ежемесячном информационном указателе "Национальные стандарты". Соответствующая информация, уведомление и тексты размещаются также в информационной системе общего пользования - на официальном сайте Федерального агентства по техническому регулированию и метрологии в сети Интернет (www.gost.ru).
Настоящий стандарт распространяется на ученические и детские стулья и устанавливает методы испытания на:
- устойчивость и прочность детских трансформируемых стульев;
- устойчивость и прочность при падении детских стульев ростовых номеров 00, 0;
- устойчивость, прочность и долговечность детских стульев ростовых номеров 1, 2, 3 и ученических стульев ростовых номеров 1, 2, 3, 4, 5, 6, 7.
В настоящем стандарте использованы нормативные ссылки на следующие межгосударственные стандарты:
ГОСТ 577-68 Индикаторы часового типа с ценой деления 0,01 мм. Технические условия
Примечание - При пользовании настоящим стандартом целесообразно проверить действие ссылочных стандартов в информационной системе общего пользования - на официальном сайте Федерального агентства по техническому регулированию и метрологии в сети Интернет или по ежегодному информационному указателю "Национальные стандарты", который опубликован по состоянию на 1 января текущего года, и по выпускам ежемесячного информационного указателя "Национальные стандарты" за текущий год. Если ссылочный стандарт заменен (изменен), то при пользовании настоящим стандартом следует руководствоваться заменяющим (измененным) стандартом. Если ссылочный стандарт отменен без замены, то положение, в котором дана ссылка на него, применяется в части, не затрагивающей эту ссылку.
3. Отбор и подготовка образцов
3.1 Для испытания новых и модернизированных изделий берут один образец каждого ростового номера.
Для стульев, трансформируемых по высоте, отбирают один образец.
3.2 Перед испытаниями стулья из древесины и древесных материалов выдерживают не менее 3 сут в помещении с относительной влажностью от 45% до 70% и температурой от 15 °C до 30 °C.
Стулья с клеевыми соединениями выдерживают в обычных комнатных условиях не менее 4 недель со дня их изготовления.
3.3 Крепежные узлы разъемных соединений должны быть плотно затянуты. Сварные швы изделий на металлическом каркасе не должны иметь трещин, видимых невооруженным взглядом.
4. Методы испытания на устойчивость
4.1. Испытания детских трансформируемых стульев
4.1.1 Сущность метода
Метод заключается в приложении к стулу горизонтальной нагрузки, вызывающей его опрокидывание.
4.1.2 Аппаратура
4.1.2.1 Пружинный динамометр или другой прибор для измерения нагрузок P до 20 даН с погрешностью +/- 0,5 даН.
4.1.2.2 Груз массой m (10 +/- 0,1) кг с площадью основания (0,008 +/- 0,001) м2.
4.1.2.3 Упор высотой 20 - 30 мм.
4.1.3 Подготовка к испытанию
4.1.3.1 Стул устанавливают вплотную к упору, в зависимости от направления испытаний, в одном из трех положений в соответствии с рисунком 1.
4.1.3.2 На подножку или сиденье стула устанавливают груз.
4.1.4 Проведение испытания
4.1.4.1 Испытание стула на устойчивость в трех направлениях проводят в соответствии с
рисунком 1.
4.1.4.2 С помощью динамометра к стулу прикладывают горизонтальную нагрузку P и постепенно увеличивают ее до начала отрыва от пола пары ножек.
4.1.4.3 Значение нагрузки
P, вызывающей начало опрокидывания стула, заносят в журнал (см.
приложение А).
4.2. Испытания детских и ученических стульев
4.2.1 Сущность метода
Метод заключается в определении угла наклона, при котором происходит опрокидывание стула с установленным на сиденье грузом.
4.2.2 Аппаратура
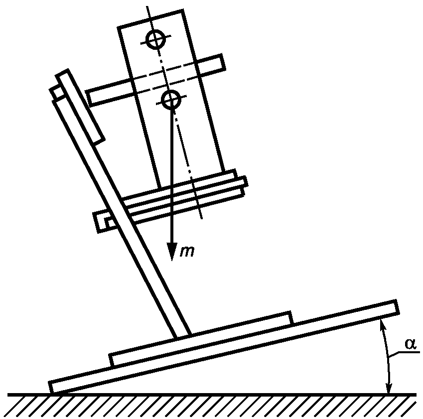
4.2.2.1 Испытательное устройство с регулируемым углом наклона, обеспечивающее установку стула в требуемом положении (рисунок 2) и изменение угла наклона с погрешностью +/- 1°.
Рисунок 2
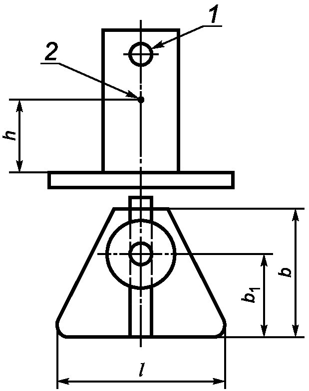
4.2.2.2 Специальные грузы в соответствии с рисунком 3.
1 - упор; 2 - центр массы (ЦМ)
Рисунок 3
Параметры грузов в зависимости от ростовых номеров стульев указаны в таблице 1.
Параметр груза | Значение параметра для ростовых номеров |
00, 0 | 1, 2, 3 | 4, 5, 6, 7 |
Масса груза m, кг | 10 +/- 0,5 | 40 +/- 05 | 60 +/- 0,5 |
Высота центра массы груза над сиденьем h, мм | 100 +/- 5 | 160 +/- 5 | 200 +/- 5 |
Размеры опорной площадки груза, мм: | 390 +/- 5 | 390 +/- 5 | 460 +/- 5 |
b1 | 65 +/- 5 | 135 +/- 5 | 175 +/- 5 |
b | 135 +/- 5 | 220 +/- 5 | 250 +/- 5 |
4.2.3 Подготовка к испытанию
4.2.3.1 Для определения устойчивости в направлении назад стул устанавливают на стенд спинкой в сторону наклона в боковом направлении так, чтобы передняя и задняя ножки касались упора.
4.2.3.2 На сиденье, вплотную к стойкам спинки стула, устанавливают груз (см.
таблицу 1) широкой стороной основания. Упор груза выдвигают до соприкосновения со спинкой стула и закрепляют в этом положении.
4.2.4 Проведение испытания
4.2.4.1 Платформу наклоняют и фиксируют на шкале стенда (прибора) угол наклона в момент начала опрокидывания стула. Началом опрокидывания считают момент отрыва передних концов опор или ножек от платформы.
Показателем устойчивости стула считают наименьший угол наклона при опрокидывании образца.
4.2.4.2 Значение угла наклона заносят в журнал (см.
приложение А).
4.2.5 Обработка результатов
4.2.5.1 Трансформируемые стулья считают устойчивыми, если значение нагрузки, вызывающей опрокидывание в любом направлении каждого образца, соответствует норме, установленной
ГОСТ 19917.
4.2.5.2 Ученические и детские стулья считают устойчивыми, если значение нагрузки, взывающей опрокидывание в любом направлении каждого образца, соответствует норме, установленной
ГОСТ 22046 и
ГОСТ 19917.
5. Методы испытания на прочность
5.1. Испытание на прочность каркаса детских трансформируемых стульев
5.1.1 Сущность метода
Метод заключается в приложении к стулу горизонтальной нагрузки, вызывающей падение.
5.1.2 Подготовка к испытанию
Стул устанавливают на горизонтальную плоскость. На место предполагаемого падения стула устанавливают пластину из эластичного материала размером не менее 900 x 600 мм, толщиной (20 +/- 2) мм, объемной плотностью 35 - 40 кг/м3.
5.1.3 Проведение испытания
5.1.3.1 Стул толкают рукой, вызывая его падение вперед в соответствии с рисунком 4.
Рисунок 4
После падения стул осматривают и фиксируют видимые повреждения (сколы, изломы, трещины, нарушения клеевых соединений).
При отсутствии повреждений испытание повторяют до установленного количества падений.
5.1.3.2 Испытание стула в направлениях назад, влево и вправо проводят в соответствии с
5.1.3.1.
Если у испытанного образца появятся видимые дефекты повреждения до наступления нормативного количества циклов, дальнейшее испытание прекращают и стулья считают не выдержавшими испытания.
5.1.3.3 Количество падений и характер повреждений заносят в журнал (см.
приложение А).
5.2. Испытание на прочность крепления подножки, стола трансформируемых стульев и сиденья к металлическому каркасу ученических и детских стульев ростовых номеров 1, 2, 3, 4, 5, 6, 7
5.2.1 Сущность метода
Метод заключается в приложении вертикальных циклических нагрузок к испытуемым элементам стульев с последующей оценкой состояния их деталей и соединений.
5.2.2 Аппаратура
5.2.2.1 Испытательное устройство, обеспечивающее свободное падение груза с частотой циклов (40 +/- 2) мин-1 (цикл/мин).
5.2.2.2 Грузы массой (10,0 +/- 0,1) кг, диаметром (100 +/- 5) мм для трансформируемых стульев; массой (30,00 +/- 0,15) кг - для ученических и детских стульев номеров 1, 2, 3; (50,00 +/- 0,25) кг - для ученических стульев номеров 4, 5, 6, диаметром (180 +/- 5) мм.
Грузы должны быть с плоской нижней поверхностью и закругленными краями радиусом 30 мм.
5.2.2.3 Пластина из эластичного пенополиуретана или другого эластичного материала размером не менее 200 x 300 мм, толщиной (20 +/- 2) мм, объемной плотностью 35 - 40 кг/м3.
5.2.3 Подготовка к испытанию
5.2.3.1 При испытании подножки трансформируемый стул устанавливают под ударный механизм так, чтобы удар приходился по центру подножки, как показано на
рисунке 5а, и закрепляют.
5.2.3.2 При испытании стола стул трансформируют в положение "стул-стол-коляска" и устанавливают подударный механизм так, чтобы удар приходился на стол в точке, находящейся на расстоянии (100 +/- 5) мм от ближнего от сиденья края, как показано на рисунке 5б, и закрепляют.
5.2.3.3 При испытании крепления сиденья к металлическому каркасу стул устанавливают под ударный механизм так, чтобы удар приходился по центру сиденья, как показано на
рисунке 5в, и закрепляют.
Сиденье стула, трансформируемого на несколько ростовых номеров, устанавливают на высоту максимального ростового номера.
5.2.3.4 Груз, создающий ударную нагрузку, устанавливают на высоте h, равной (50 +/- 1) мм от подножки и стола трансформируемых стульев и (100 +/- 5) мм от сиденья ученических и детских стульев.
5.2.3.5 В месте приложения нагрузки помещают пластину из эластичного материала.
5.2.4 Проведение испытаний
5.2.4.1 Включают стенд и проводят нагружение до нормативного количества циклов или до появления видимых дефектов разрушения (нарушение сварных швов, вырыв крепежных элементов, поломка деталей стульев).
Если у испытанного образца появятся видимые дефекты разрушения до наступления нормативного количества циклов, дальнейшее испытание прекращают и стулья считают не выдержавшими испытания.
5.2.4.2 Количество циклов нагружения и характер разрушений заносят в журнал (см.
приложение А).
5.2.5 Обработка результатов
5.2.5.1 Стулья считают выдержавшими испытания на прочность, если каждый испытуемый образец выдерживает без проявления повреждений нормативное количество циклов нагружений, предусмотренное
ГОСТ 19917 или
ГОСТ 22046.
5.3. Испытание на статическую прочность ученических и детских стульев ростовых номеров 1, 2, 3, 4, 5, 6
5.3.1 Сущность метода
Метод испытания заключается в воздействии на спинку стула и на сиденье вертикальной статической нагрузки.
5.3.2 Аппаратура
5.3.2.1 Испытательное устройство, обеспечивающее:
- возможность приложения вертикальной статической нагрузки до 200 даН (200 кгс);
- скорость нагружения (10 +/- 2) мм/мин;
- погрешность измерения нагрузки +/- 1%;
- установку стула в требуемое положение;
- груз массой (40 +/- 0,5) кг;
- закрепление прижимного приспособления (рисунок 6).
Допустимые отклонения от размеров, указанных на
рисунке 6, устанавливают в конструкторской документации на устройство.
5.3.3 Подготовка к испытанию
5.3.3.1 При испытании спинки стул устанавливают на испытательное устройство так, чтобы линия действия вертикальной нагрузки P1 проходила через середину спинки стула.
При испытании сиденья стул устанавливают на площадку испытательного устройства так, чтобы линия действия нагрузки P2 проходила на расстоянии 150 мм от края сиденья.
Схемы нагружения спинки или сиденья стула приведены на рисунке 7.
5.3.3.2 При нагружении спинки груз массой (40 +/- 0,5) кг устанавливают в геометрическом центре поверхности сиденья.
5.3.3.4 На сиденье стула, на расстоянии (150 +/- 5) мм от края сиденья
(рисунок 7б), накладывают жесткий диск диаметром (200 +/- 5) мм.
5.3.4 Проведение испытаний
5.3.4.1 Спинку или сиденье стула нагружают с указанной скоростью вертикальной статической нагрузкой
P (рисунок 7) до нормы, установленной
ГОСТ 19917 и
ГОСТ 22046, и выдерживают под нагрузкой в течение (60 +/- 5) с.
5.3.4.2 Значение нагрузки и характер разрушений заносят в журнал (см.
приложение А).
5.3.5 Обработка результатов
5.3.5.1 Стулья считают выдержавшими испытание на статическую прочность спинки и сиденья, если после снятия нагрузки в каждом испытуемом образце не будут обнаружены видимые дефекты (нарушение сварных швов, изгиб трубы, вырыв фурнитуры, сколы и смятие древесины).
6. Метод испытания на долговечность
Метод заключается в воздействии циклических нагрузок на стул посредством качания его на передних и задних ножках с установленным на сиденье грузом.
6.2.1 Испытательное устройство, работающее с частотой циклов

.
6.2.2 Грузы, параметры которых приведены в таблице 2.
Таблица 2
Параметр испытания | Значение параметра в зависимости от ростовых номеров стульев |
1, 2, 3 | 4, 5, 6, 7 |
Масса балластного груза, кг | 40,0 +/- 0,4 | 75,0 +/- 0,7 |
Площадь опоры груза, м2 | 0,09 +/- 0,01 | 0,09 +/- 0,01 |
Высота крепления рычага h, мм | Не менее 170 |
6.2.3 Два приспособления с индикатором часового типа 1-го класса для измерения деформаций по
ГОСТ 577.
6.3. Подготовка к испытанию
6.3.1 Стул устанавливают в опорные гнезда устройства.
6.3.2 Испытательное устройство регулируют так, чтобы при качании передние и задние ножки стула приподнимались поочередно на (40 +/- 10) мм.
6.3.3 На сиденье стула устанавливают груз. Разница расстояний между кромками сиденья стула и груза по каждому из двух взаимно перпендикулярных направлений не должна превышать 20 мм.
6.3.4 Счетчик числа циклов устанавливают на нуль.
6.4. Проведение испытания
6.4.1 Испытание стула проводят по схеме, приведенной на рисунке 8.
Рисунок 8
6.4.2 Включают стенд. После 1000 циклов качания, а затем через каждые 1000 циклов до нормы, предусмотренной
ГОСТ 22046 и
ГОСТ 19917, стенд выключают, осматривают стул и определяют наличие деформаций в соответствии с требованиями
6.5.1.
6.5. Обработка результатов
6.5.1 Образец стула считают разрушенным, если при его испытании появится один из следующих дефектов:
- излом любой детали стула;
- разрушение соединений стоек спинки с царгой стула.
6.5.2 Стул считают долговечным, если каждый испытуемый образец выдержит без появления дефектов, указанных в
6.5.1, количество циклов качания, предусмотренное
ГОСТ 22046 и
ГОСТ 19917.
6.5.3 Число циклов нагружения и характер разрушений заносят в журнал
(приложение А).
| | ИС МЕГАНОРМ: примечание. Нумерация пунктов дана в соответствии с официальным текстом документа. | |
6.4 Результаты испытаний стульев оформляют протоколом (см.
приложение Б).
7. Методы испытания на прочность при падении (см. стандарт
[1])
7.1.1 Метод заключается в многократном падении стула с определенной высоты под определенным углом.
7.2. Подготовка к испытанию
7.2.1 Стул располагают таким образом, чтобы при падении на одну ножку линия, соединяющая эту ножку с противоположной по диагонали ножкой, была отклонена на 10° от горизонтали, в то время как линия, соединяющая две другие ножки, была горизонтальной (рисунок 9).
Рисунок 9
7.2.2 Стул поднимают на высоту, указанную в таблице 3, для определенного вида стула, и роняют его на пол с резиновым покрытием толщиной не менее 2 мм поочередно на переднюю и затем заднюю ножки.
Таблица 3
Вид стульев | Высота падения, мм |
Ученические штабелируемые | 600 |
Детские штабелируемые | 300 |
Ученические нештабелируемые | 300 |
Детские нештабелируемые | 150 |
7.3. Обработка результатов
7.3.1 После окончания испытания стул тщательно осматривают и отмечают любые явные изменения и повреждения (трещины или разрушения в любой детали, элементе, соединении; нарушение сварных швов и изгиб металлического каркаса; ослабления, выявляемые в результате нажатия рукой на соответствующие детали и соединения, которые должны быть неподвижными).
7.3.2 Стул считают выдержавшим испытание на прочность при падении, если каждый испытанный образец выдерживает без появления дефектов, перечисленных в
7.3.1, число падений, предусмотренное
ГОСТ 22046 и
ГОСТ 19917.
7.3.3 Число падений и характер разрушений заносят в журнал (см.
приложение А).
8. Подтверждение результатов испытаний
8.1 Трансформируемые стулья считают выдержавшими испытания, если полученные при испытании показатели устойчивости и прочности будут соответствовать нормам, предусмотренным
ГОСТ 19917.
8.2 Детские стулья считают выдержавшими испытания, если полученные при испытании показатели устойчивости, прочности, долговечности будут соответствовать нормам, предусмотренным
ГОСТ 19917.
8.3 Ученические стулья считают выдержавшими испытания, если полученные при испытании показатели устойчивости, прочности, долговечности соответствуют
ГОСТ 22046.
8.4 Результаты испытаний стульев оформляют протоколом (см.
приложение Б).
(рекомендуемое)
записи результатов испытаний ученических и детских стульев
Изготовитель _______________________________________________
Обозначение изделия ________________________________________
Краткая характеристика изделия _____________________________
Результаты испытаний на устойчивость трансформируемых стульев
Номер образца | Направление опрокидывания | Значение нагрузки P, даН (усилие опрокидывания) | Оценка устойчивости |
Результаты испытаний на устойчивость ученических стульев ростовых номеров 1, 2, 3, 4, 5, 6; детских стульев - 00, 0
Номер образца | Угол наклона, градусы | Оценка устойчивости |
Результаты испытаний на прочность каркаса трансформируемых стульев
Номер образца | Направление испытания | Число падений | Характер разрушений |
Результаты испытаний на прочность подножки и стола трансформируемых стульев, крепления сиденья к каркасу ученических стульев ростовых номеров 1, 2, 3, 4, 5, 6
Номер образца | Масса груза, кг | Число циклов | Характер разрушений |
Результаты испытаний на статическую прочность ученических стульев ростовых номеров 1, 2, 3, 4, 5, 6 и детских стульев - 00, 0
Номер образца | Значение нагрузки P, даН | Характер разрушений |
Результаты испытаний на долговечность деревянной конструкции ученических стульев ростовых номеров 1, 2, 3, 4, 5, 6 и детских стульев - 1, 2, 3
Номер образца | Число циклов нагружения, тысячи | Значение деформации, мм | Характер разрушений |
Результаты испытаний на прочность при падении ученических стульев ростовых номеров 1, 2, 3, 4, 5, 6 и детских стульев - 00, 0, 1, 2, 3
Номер образца | Число падений | Характер разрушений |
(рекомендуемое)
Наименование и адрес испытательной
лаборатории (центра), данные об аккредитации
УТВЕРЖДАЮ
________________________________
должность руководителя ИЦ
________________________________
личная подпись и расшифровка
___________________испытаний___________________
1 Наименование и обозначение изделий
2 Заявитель, юридический адрес
3 Изготовитель, юридический адрес
4 Основание для проведения испытаний (письмо) или акт отбора образцов
(при необходимости)
5 Обозначение нормативных документов на продукцию
6 Обозначение нормативных документов на методы испытаний
7 Определяемые показатели
8 Перечень испытательного оборудования, сведения об его аттестации
(проверке)
9 Краткая характеристика объекта испытаний
10 Результаты испытаний
11 Заключение (при необходимости)
Личные подписи Расшифровка подписей
| ИСО 7173:1989 | Мебель. Стулья и табуреты. Определение прочности и долговечности <*> |
--------------------------------
<*> Оригинал международного стандарта находится в Федеральном информационном фонде стандартов.