Главная // Актуальные документы // ГОСТ (Государственный стандарт)СПРАВКА
Источник публикации
Документ опубликован не был
Примечание к документу
С 01.07.2003 до вступления в силу технических регламентов акты федеральных органов исполнительной власти в сфере технического регулирования носят рекомендательный характер и подлежат обязательному исполнению только в части, соответствующей целям, указанным в
п. 1 ст. 46 Федерального закона от 27.12.2002 N 184-ФЗ.
Ограничение срока действия снято по Протоколу N 2-92 Межгосударственного совета по стандартизации, метрологии и сертификации ("ИУС", N 2, 1993).
Документ
введен в действие с 01.01.1978.
Взамен ГОСТ 2604-44, разд. 1, в части определения массовой доли углерода.
Название документа
"ГОСТ 2604.1-77. Межгосударственный стандарт. Чугун легированный. Методы определения углерода"
(введен Постановлением Госстандарта СССР от 22.03.1977 N 680)
(ред. от 05.06.1987)
"ГОСТ 2604.1-77. Межгосударственный стандарт. Чугун легированный. Методы определения углерода"
(введен Постановлением Госстандарта СССР от 22.03.1977 N 680)
(ред. от 05.06.1987)
Введен Постановлением
Государственного комитета стандартов
Совета Министров СССР
от 22 марта 1977 г. N 680
МЕЖГОСУДАРСТВЕННЫЙ СТАНДАРТ
ЧУГУН ЛЕГИРОВАННЫЙ
МЕТОДЫ ОПРЕДЕЛЕНИЯ УГЛЕРОДА
Alloy cast iron. Methods for determinations of carbon
ГОСТ 2604.1-77
| | Список изменяющих документов (в ред. Изменения N 1, введенного Постановлением Госстандарта СССР от 16.12.1982 N 4793, Изменения N 2, утв. Постановлением Госстандарта СССР от 05.06.1987 N 1860) | |
Взамен ГОСТ 2604-44,
разд. 1 в части определения
массовой доли углерода
Постановлением Государственного комитета стандартов Совета Министров СССР от 22 марта 1977 г. N 680 дата введения установлена
1 января 1978 года
Ограничение срока действия снято по протоколу N 2-92 Межгосударственного совета по стандартизации, метрологии и сертификации (ИУС 2-93)
Издание с Изменениями N 1, 2, утвержденными в декабре 1982 г., июне 1987 г. (ИУС 3-83, 9-87).
Настоящий стандарт распространяется на легированный чугун и устанавливает газообъемный метод определения общего углерода (от 2,5 до 4,5%), кулонометрический метод определения общего углерода (от 2,5 до 5%), газообъемный и кулонометрический методы определения несвязанного углерода (графита) (от 0,1 до 3,0%).
2. ГАЗООБЪЕМНЫЙ МЕТОД ОПРЕДЕЛЕНИЯ МАССОВОЙ ДОЛИ
ОБЩЕГО УГЛЕРОДА
2.1. Сущность метода
Метод основан на сжигании навески чугуна в токе кислорода при 1300 - 1350 °C с последующим поглощением образовавшегося углекислого газа раствором гидроокиси калия. Массовая доля углерода определяется по разности между первоначальным объемом газов и объемом газов, полученным после поглощения углекислого газа раствором едкого кали.
2.2. Аппаратура, реактивы и растворы
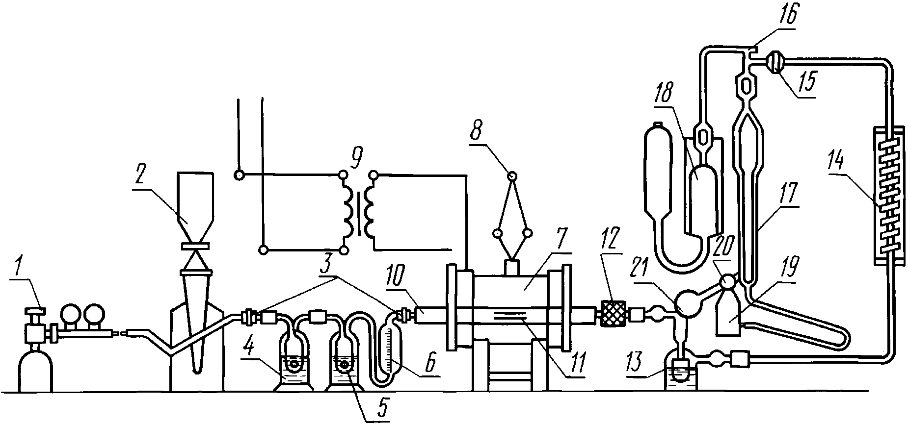
Установка для определения массовой доли углерода (см.
чертеж).

Установка для определения массовой доли углерода состоит из следующих элементов: баллона с кислородом
7, снабженного редукционным вентилем; аспиратора или газометра
2 в качестве буфера; двухходовых кранов
3; промывной склянки
4, содержащей марганцовокислый калий в растворе гидроокиси калия, промывной склянки
5, содержащей серную кислоту (при сухом способе очистки промывные склянки
4 и
5 заменяются U-образной трубкой, заполненной аскаритом); газового счетчика или реометра
6; горизонтальной трубчатой электропечи
7 с водяным охлаждением, обеспечивающей температуру нагрева (1350 +/- 20) °C; термопары
9 с терморегулятором или гальванометром для контроля печи; трансформатора
8 для регулирования напряжения; фарфоровой неглазурованной газонепроницаемой трубки
10 длиной 750 мм с внутренним диаметром 20 - 22 мм. Концы трубки должны выступать наружу из печи не менее чем на 200 мм; фарфоровой неглазурованной или шамотной лодочки
11 N 1 или N 2 по
ГОСТ 9147-80; фильтра
12 для поглощения твердых окислов, уносимых током кислорода в процессе сжигания чугуна. Фильтр представляет собой стеклянный шарообразный или цилиндрический сосуд, заполненный стеклянной ватой; промывной склянки
13 для поглощения сернистого газа, содержащей раствор двухромовокислого калия в серной кислоте (при сухом способе очистки промывная склянка
13 заменяется поглотителем заполненным гидроперитом), соединенной с прибором ГОУ-1, состоящим из змеевикового холодильника
14 для охлаждения газовой смеси (CO
2 + O
2), поступающей из печи; двухходового крана
15, через который газовая смесь из печи и холодильника поступает в газоизмерительную бюретку; двухходового крана
16, соединяющего газоизмерительную бюретку с сосудом для поглощения газа; газоизмерительной бюретки
17. В узкой части бюретки прикреплена подвижная шкала для измерения объема газов, соответствующая объемной доле углерода в пробе в процентах. Шкала соответствует только той бюретке, к которой она прилагается; перенос ее на другую бюретку недопустим.
Деление шкалы соответствует непосредственно процентной массовой доле углерода в 1 г исследуемого вещества. Бюретки обычно градуированы при температуре 16 или 20 °C и атмосферном давлении 7448 Па (760 мм рт. ст.), поэтому для иных условий вводят поправку на температуру и атмосферное давление по соответствующей таблице, прилагаемой к газоанализатору ГОУ-1; сосуда для поглощения углекислого газа 18, наполненного раствором едкого кали; уравнительной склянки 19, трехходового крана 20; резинового баллона 21 для перекачивания газовой смеси из бюретки в поглотитель.
Барометр.
Крючок, с помощью которого лодочку помещают в трубку и извлекают из нее, изготовляется из жаропрочной низкоуглеродистой проволоки квадратного или круглого сечения диаметром 3 - 5 мм, длиной 500 - 600 мм.
Натрий хлористый по
ГОСТ 4233-77, раствор 0,25 г/см
3, к которому прибавлено 5 - 6 капель серной кислоты и несколько капель раствора метилового оранжевого.
Метиловый оранжевый, раствор 0,001 г/см3.
Калий двухромовокислый по
ГОСТ 4220-75, раствор 0,15 г/см
3 в серной кислоте.
Аскарит.
Гидроперит медицинский.
Плавни: железо, медь, окись меди, олово высокой чистоты, свинец. Массовая доля углерода в плавнях не должна превышать допускаемых расхождений для соответствующего значения массовой доли углерода, приведенных в
таблице.
(Измененная редакция, Изм. N 1, 2).
2.3. Подготовка к анализу
Собирают газоанализатор ГОУ-1. Применяют бюретку со шкалой от 0 до 4,5%.
Стеклянные части приборов соединяют плотно, встык при помощи отрезков резиновых трубок, чтобы продукты горения не находились в соприкосновении с резиновыми трубками. Перед началом работы нагревают печь до требуемой температуры.
Фарфоровую трубку закрывают с двух сторон хорошо подогнанными резиновыми пробками. В отверстия пробок вставляют стеклянные или латунные трубки.
Во избежание обгорания резиновой пробки на выходе газов из печи внутреннюю торцовую поверхность этой пробки закрывают асбестовой или латунной прокладкой, надетой на конец стеклянной или латунной трубки.
Фарфоровые трубки и лодочки прокаливают в токе кислорода при рабочей температуре. Прокаленные лодочки хранят в эксикаторе. Шлиф крышки эксикатора не должен покрываться смазывающими веществами.
Фарфоровые трубки, все соединения и краны установки проверяют на герметичность. Если установка не герметична и при проверке отдельных стыков не обнаружено место утечки, установку следует разобрать, тщательно протереть все краны мягкой тканью, смазать вазелином и проверку повторить.
Газоизмерительную бюретку 17 необходимо содержать в чистоте, периодически промывая ее теплой хромовой смесью.
Стеклянную вату в шаре 12 следует менять по мере загрязнения.
Перед началом анализа сжигают несколько проб чугуна и пропускают газы через газоизмерительную бюретку и уравнительную склянку, наполненную раствором хлористого натрия для насыщения углекислым газом раствора в уравнительной склянке.
Для проверки правильности работы установки сжигают 2 - 3 навески стандартного образца чугуна в присутствии плавня, как указано в
п. 2.4.
Аналогичным образом проводят контрольный опыт на содержание углерода в плавне.
Навеску чугуна массой 1 г помещают в фарфоровую лодочку, сверху покрывают плавнем в соотношении 1:1 и вводят ее с помощью крючка в печь, предварительно разогретую до температуры 1300 - 1350 °C. Лодочку устанавливают в центральной, наиболее нагретой части фарфоровой трубки для сжигания, которую быстро закрывают резиновой пробкой или затвором.
Через минуту открывают краны 3, пропускают ток кислорода со скоростью 0,2 - 0,4 дм3/мин. Навеску сжигают под небольшим давлением (при закрытом кране 15). Затем кран 15 ставят в положение, при котором газовая смесь поступает в газоизмерительную бюретку. Как только узкая нижняя часть бюретки заполнится газом и уровень жидкости достигнет нулевого деления шкалы, кран 15 перекрывают.
После этого выключают ток кислорода, для чего закрывают редукционный вентиль и кран 3, находящийся перед печью; разъединяют пробку с трубкой или открывают затвор, извлекают лодочку и после некоторого охлаждения рассматривают ее содержимое. Если навеска сгорела не полностью, следует взять новую навеску и повторить сжигание. Перемещая уравнительную склянку 19 (при соответствующем положении крана 20) вдоль бюретки, находят положение, при котором уровни жидкости в бюретке и уравнительной склянке окажутся на одной высоте. На этом же уровне устанавливают нулевое деление подвижной шкалы.
При измерении уровня жидкости в бюретке необходимо выждать 15 - 20 с, чтобы жидкость, оставшаяся на стенках бюретки, стекла по возможности полностью.
Газовую смесь (CO2 + O2) из бюретки 17 переводят в поглотитель 18, нагнетая воздух в уравнительную склянку резиновым баллоном 21 и следя за тем, чтобы в бюретке не осталось пузырьков газа. Из поглотителя 18 остаток газа снова перекачивают в бюретку 17. Эту операцию повторяют. Затем устанавливают кран 16 в положение полного разъединения с поглотителем и измеряют, как и в первый раз, объем газа в бюретке, записывая показания шкалы. Затем следует повторный отбор газа. С этой целью соединяют газоизмерительную бюретку с атмосферой и заполняют ее жидкостью.
Поворотом крана 15 соединяют бюретку с холодильником и производят вторичное сжигание навески, находящейся в трубке, в течение 3 мин. Результаты, полученные при обоих отборах газа, суммируют.
Измеряют также температуру газа в бюретке и атмосферное давление. Затем освобождают бюретку от газа и подготавливают аппарат для следующего сжигания.
2.5. Обработка результатов
2.5.1. После окончания анализа по таблице, прилагаемой к газоанализатору ГОУ-1, находят поправку на температуру и давление для условий, при которых проводился анализ.
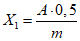
Массовую долю углерода (X) в процентах вычисляют по формуле

,
где A - показание шкалы газоизмерительной бюретки, соответствующее массовой доле углерода, %;
K - поправочный коэффициент на температуру и атмосферное давление, найденный по таблице, прилагаемой к прибору,
m - масса навески, г.
(Измененная редакция, Изм. N 1, 2).
2.5.2. Допускаемые расхождения между результатами параллельных определений не должны превышать 0,10%.
(Измененная редакция, Изм. N 2).
3. КУЛОНОМЕТРИЧЕСКИЙ МЕТОД ОПРЕДЕЛЕНИЯ МАССОВОЙ ДОЛИ
ОБЩЕГО УГЛЕРОДА
3.1. Сущность метода
Метод основан на сжигании навески чугуна в трубчатой электропечи в токе кислорода при 1300 - 1350 °C. Образующийся углекислый газ поглощается поглотительным раствором, вызывая повышение кислотности, что в свою очередь приводит к изменению э.д.с. индикаторной системы pH-метра. Количество электричества, необходимое для достижения первоначального значения pH, фиксируется специальным кулонометром-интегратором тока, показывающим непосредственно количество углерода в процентах.
3.2. Аппаратура, реактивы и растворы
Экспресс-анализатор АН-39. Допускается применять анализаторы других типов.
Баллон с кислородом, снабженным редукционным вентилем для пуска и регулирования тока кислорода.
Электропечь трубчатая горизонтальная с водяным охлаждением, обеспечивающая температуру нагрева 1300 - 1350 °C.
Трубка фарфоровая неглазурованная газонепроницаемая длиной 750 мм, с внутренним диаметром 20 - 22 мм, предварительно прокаленная по всей длине при температуре 1300 - 1350 °C.
Концы трубки должны выступать из печи на 200 мм.
Лодочки фарфоровые неглазурованные N 1 и N 2 по
ГОСТ 9147-80, выдерживающие температуру 1300 - 1350 °C, предварительно прокаленные при рабочей температуре.
Прокаленные лодочки хранят в эксикаторе. Шлиф крышки эксикатора не должен покрываться смазывающим веществом.
Крючок, с помощью которого лодочки помещают в трубку и извлекают из нее, изготовляется из жаропрочной низкоуглеродистой проволоки квадратного или круглого сечения диаметром 3 - 5 мм, длиной 500 - 600 мм.
Аскарит.
Поглотительный раствор; готовят следующим образом: 100 г хлористого калия, 100 г хлористого стронция, 1 г борной кислоты помещают в колбу и растворяют в 1 дм3 воды.
Вспомогательный раствор; готовят следующим образом: 100 г хлористого калия, 100 г железистосинеродистого калия 3-водного и 1 г борной кислоты помещают в колбу и растворяют в 1 дм3 воды.
Плавни: железо, медь, окись меди, олово высокой чистоты, свинец. Массовая доля углерода в плавнях не должна превышать допускаемых расхождений для соответствующего значения массовой доли углерода, приведенных в
таблице.
(Измененная редакция, Изм. N 1, 2).
3.3. Подготовка к анализу
Перед проведением анализа проводят подготовку прибора к работе.
Перед началом определения углерода в чугуне необходимо произвести сжигание двух навесок стандартного образца массами по 0,20 г с плавнем. В правильно градуированном приборе показание цифрового индикатора по окончании анализа должно соответствовать суммарной массовой доле углерода в стандартном образце и лодочке с плавнем. Если показания цифрового индикатора не соответствуют суммарной массовой доле углерода в контрольной пробе и стандартном образце, необходимо произвести корректировку градуировки прибора. После проведения градуировки прибор считается готовым к работе.
Навеску чугуна массой 0,20 г равномерным слоем помещают в фарфоровую лодочку и покрывают плавнем в соотношении 1:1. Лодочку с помощью крючка помещают в фарфоровую трубку, разогретую предварительно до температуры 1300 - 1350 °C, и устанавливают в центральную, наиболее нагретую часть. Трубку немедленно закрывают затвором.
Устанавливают показание индикаторного цифрового табло на "нуль", для чего нажимают кнопку "сброс".
После окончания сжигания навески чугуна (показание миллиамперметра соответствует 0,2 мА, а счет цифрового индикатора не превышает уровень контрольного опыта) записывают результат анализа, извлекают лодочку и после охлаждения рассматривают ее содержимое. Если навеска сгорела не полностью, следует взять новую навеску чугуна и повторить сжигание.
Аналогичным образом проводят контрольный опыт на содержание углерода в плавне.
3.3, 3.4. (Измененная редакция, Изм. N 1).
3.5. Обработка результатов
3.5.1. Массовую долю углерода (X1) в процентах вычисляют по формуле

,
где A - показатель индикаторного цифрового табло;
m - масса навески чугуна, г.
3.5.2. Допускаемые расхождения между результатами параллельных определений не должны превышать 0,10%.
3.5.1, 3.5.2. (Измененная редакция, Изм. N 2).
4. ГАЗООБЪЕМНЫЙ И КУЛОНОМЕТРИЧЕСКИЙ МЕТОДЫ ОПРЕДЕЛЕНИЯ
МАССОВОЙ ДОЛИ НЕСВЯЗАННОГО УГЛЕРОДА
4.1. Сущность метода
Метод основан на том, что несвязанный углерод в виде графита не растворяется в разбавленной азотной кислоте и остается в виде осадка, который отфильтровывают, просушивают и сжигают в токе кислорода.
4.2. Аппаратура, реактивы и растворы
Аппаратура - по
п. 2.2 со следующим дополнением: трубка для сжигания в месте разогрева до температуры 1000 - 1200 °C должна быть снабжена медной сеткой, служащей катализатором, обеспечивающим полное окисление несвязанного углерода до углекислого газа.
Водоструйный насос или насос Комовского для создания разрежения при фильтровании.
Асбест для фильтрования.
Волокнистый асбест режут на кусочки длиной около 10 мм и обрабатывают при кипячении соляной кислотой по
ГОСТ 3118-77 до тех пор, пока новые порции кислоты не перестанут окрашиваться в желтый цвет, свидетельствующий о наличии железа.
После этого асбест отмывают от кислоты горячей водой, сушат и прокаливают в токе кислорода при 1000 - 1200 °C.
Необходимо проверить асбест на массовую долю углерода, ожигая его в печи в таком же количестве, как при проведении анализов.
Дифениламин, раствор: готовят следующим образом: 1 г дифениламина растворяют в 100 см3 серной кислоты или в 100 см3 фосфорной кислоты.
4.3. Проведение анализа
Навеску чугуна массой 1 г помещают в стакан вместимостью 200 - 250 см3, приливают 25 см3 азотной кислоты, разбавленной 1:1, и сразу же накрывают часовым стеклом. Если растворение протекает бурно, стакан погружают в сосуд с холодной водой, в конце растворения стакан нагревают на песчаной бане. Если выпадает значительный осадок кремниевой кислоты, прибавляют 1 - 2 см3 фтористоводородной кислоты и продолжают нагревание (в вытяжном шкафу); при этом большая часть кремниевой кислоты улетучивается в виде фторида кремния.
Растворение считают законченным, когда прекращается выделение паров окислов азота (при этом взмученный осадок должен медленно опускаться на дно стакана).
Содержимое стакана доводят до кипения, приливают 100 см3 горячей воды и вновь доводят раствор до кипения. Горячий раствор сливают через асбестовый фильтр, специально обработанный и помещенный в фарфоровый тигель с сетчатым дном или стеклянную воронку с фарфоровой фильтровальной пластинкой.
Фильтрование проводят под разрежением. Осадок графита (несвязанного углерода) промывают в стакане 4 - 5 раз горячей водой, подкисленной несколькими каплями азотной кислоты, разбавленной 1:1.
Осадок переносят на фильтр, приставшие частицы снимают кусочком асбеста при помощи стеклянной палочки или пинцета.
После этого осадок и асбестовый фильтр промывают горячей (70 - 80 °C) водой до прекращения в промывных водах реакции на азотную кислоту (при смешивании на фарфоровой пластинке капли промывной жидкости с двумя каплями дифениламина не должно появляться синее окрашивание).
Осадок графита вместе с асбестом количественно переносят (при помощи пинцета) в фарфоровую лодочку, предварительно прокаленную в токе кислорода, и высушивают в сушильном шкафу при температуре около 110 - 115 °C в течение 30 - 40 мин.
Высушенный осадок графита сжигают в трубчатой печи. Дальнейшее определение проводят, как указано в газообъемном методе определения массовой доли углерода в чугуне
(п. 2.4) или определения массовой доли углерода на экспресс-анализаторе АН-29
(п. 3.4).
4.2; 4.3. (Измененная редакция, Изм. N 1).
4.4. Обработка результатов
4.4.1. Массовую долю несвязанного углерода (X2) в процентах вычисляют по формуле
X2 = A·K,
где A - показания шкалы газоизмерительной бюретки, %, соответствующие массовой доле углерода в пробе в условиях опыта, при массе навески 1 г;
K - поправочный коэффициент на температуру и давление. Если определение заканчивают на экспресс-анализаторе АН-29, массовую долю углерода вычисляют, как указано в
п. 3.5.
4.4.2. Допускаемые расхождения между результатами параллельных определений не должны превышать значений, указанных в
таблице.
Массовая доля углерода, % | Допускаемое расхождение, % |
0,1 - 0,2 | 0,02 |
0,2 - 0,5 | 0,03 |
0,5 - 1,0 | 0,05 |
1,0 - 2,0 | 0,07 |
2,0 - 4,5 | 0,10 |
(Измененная редакция, Изм. N 2).