Главная // Актуальные документы // ГОСТ (Государственный стандарт)СПРАВКА
Источник публикации
М.: Издательство стандартов, 1991
Примечание к документу
Документ включен в
Перечень стандартов, содержащих правила и методы исследований (испытаний) и измерений, в том числе правила отбора образцов, необходимые для применения и исполнения требований технического
регламента Таможенного союза "О безопасности пищевой продукции" (ТР ТС 021/2011) и осуществления оценки (подтверждения) соответствия продукции (
Решение Комиссии Таможенного союза от 09.12.2011 N 880).
Документ включен в
Перечень национальных стандартов, содержащих правила и методы исследований (испытаний) и измерений, в том числе правила отбора образцов, необходимые для применения и исполнения Федерального
закона "Технический регламент на масложировую продукцию" и осуществления оценки соответствия (
Распоряжение Правительства РФ от 27.12.2008 N 2008-р).
С 1 июля 2003 года до вступления в силу технических регламентов акты федеральных органов исполнительной власти в сфере технического регулирования носят рекомендательный характер и подлежат обязательному исполнению только в части, соответствующей целям, указанным в
пункте 1 статьи 46 Федерального закона от 27.12.2002 N 184-ФЗ.
Ограничение срока действия снято по Протоколу N 5-94 Межгосударственного совета по стандартизации, метрологии и сертификации ("ИУС", N 11 - 12, 1994).
Документ
введен в действие с 1 июля 1991 года.
Название документа
"ГОСТ 28929-91. Государственный стандарт Союза ССР. Заменители масла какао. Метод определения массовой доли твердых триглицеридов"
(утв. и введен в действие Постановлением Госстандарта СССР от 11.03.1991 N 232)
"ГОСТ 28929-91. Государственный стандарт Союза ССР. Заменители масла какао. Метод определения массовой доли твердых триглицеридов"
(утв. и введен в действие Постановлением Госстандарта СССР от 11.03.1991 N 232)
Утвержден и введен в действие
Постановлением Государственного
комитета СССР по управлению
качеством продукции и стандартам
от 11 марта 1991 г. N 232
ГОСУДАРСТВЕННЫЙ СТАНДАРТ СОЮЗА ССР
ЗАМЕНИТЕЛИ МАСЛА КАКАО
МЕТОД ОПРЕДЕЛЕНИЯ МАССОВОЙ ДОЛИ ТВЕРДЫХ ТРИГЛИЦЕРИДОВ
Cocoa butter substitutes. Method for determination
of solid triglycerides mass percentage
ГОСТ 28929-91
ОКСТУ 91 4000
Срок действия
с 1 июля 1991 года
до 1 июля 1996 года
1. Разработан и внесен НПО "Масложирпром".
Разработчик А.Б. Белова.
2. Утвержден и введен в действие Постановлением Государственного комитета СССР по управлению качеством продукции и стандартам от 11.03.1991 N 232.
3. Срок проверки - 01.07.1995; периодичность проверки - 5 лет.
4. Стандарт соответствует СТ СЭВ 6924-89.
5. Введен впервые.
6. Ссылочные нормативно-технические документы
Обозначение НТД, на который дана ссылка | Номер раздела |
| |
| |
| |
|
|
ГОСТ 24104-88 | |
| |
СТ СЭВ 6923-89 | |
Настоящий стандарт распространяется на заменители масла какао, содержащие не более 2% трансизомеров жирных кислот и не более 1% жирных кислот с длиной цепи менее

, и устанавливает метод определения массовой доли твердых триглицеридов в диапазоне значений 0 - 80%.
Метод основан на определении изменения объема жира при переходе триглицеридов от твердого к жидкому состоянию.
Отбор проб - по СТ СЭВ 6923-89.
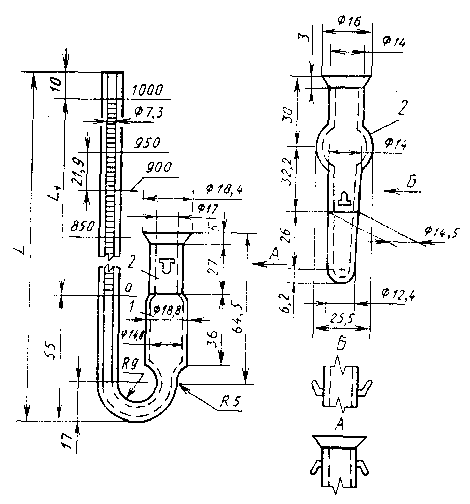
Дилатометры стеклянные (см.
чертеж);
колбы конические вместимостью 250 см3 по
ГОСТ 25336;
колбы перегонные вместимостью 100 см3;
термометры лабораторные с ценой деления 0,1 °C;
термометр лабораторный с ценой деления 1 °C;
баня водяная;
баня с охлаждающей смесью (вода и лед);
термостат лабораторный;
ультратермостат;
вакуум-насос, обеспечивающий давление

;
весы лабораторные по ГОСТ 24104 с погрешностью взвешивания не более +/- 0,005 г;
плитка электрическая с закрытым элементом;
пробки корковые укупорочные или пробки резиновые конусные;
калия (или натрия) гидроокись по
ГОСТ 9285, 30%-ный раствор;
спирт этиловый ректификованный технический по
ГОСТ 18300;
краситель водорастворимый метиленовый голубой, 10%-ный раствор.
1 - корпус с градуированной трубкой; 2 - пробка
4. ПОДГОТОВКА К ИСПЫТАНИЮ
4.1. Подготовка дилатометра
Дилатометры перед каждым определением моют теплой мыльной водой, погружают их в 30%-ный щелочной раствор, затем тщательно отмывают от щелочи, промывают хромовой смесью, отмывают до нейтральной реакции водой, ополаскивают последовательно дистиллированной водой и спиртом, затем сушат.
4.2. Приготовление жидкости для создания гидравлического затвора (запирающей жидкости)
Дистиллированную воду окрашивают красителем и кипятят в течение 10 мин, после чего охлаждают под струей холодной воды до комнатной температуры, не взбалтывая.
На дно тщательно вымытого и высушенного дилатометра наливают, не замачивая стенок, 1,5 см3 охлажденной запирающей жидкости, дилатометр закрывают пробкой и взвешивают с погрешностью не более 0,01 г.
4.3. Подготовка пробы
Банку с объединенной твердой пробой помещают в теплую воду температурой 40 - 50 °C. Как только жир приобретает необходимую подвижность, его тщательно перемешивают шпателем до загустения массы.
5.1. Около 40 г продукта расплавляют при 40 - 50 °C в химическом стакане на водяной бане. Помещают жир в колбу для перегонки, плотно закрывают резиновой пробкой и подвергают деаэрации на кипящей водяной бане при давлении

в течение 15 - 20 мин. В подготовленный дилатометр приливают осторожно жир по стенке до верхней границы шлифа. Дилатометр закрывают притертой пробкой, следя за тем, чтобы в него не попадали пузырьки воздуха. Движение запирающей жидкости регулируют вводом пробки в дилатометр и придерживанием слегка пальцем руки открытого конца капилляра.
5.2. Заполненный дилатометр тщательно вытирают, взвешивают с погрешностью 0,01 г и определяют массу жира по разности масс заполненного и пустого дилатометра. Притертую пробку дилатометра укрепляют резинкой, натягивая ее на специальные держатели.
5.2.1. Для жиров вида А
Дилатометр с жиром помещают в водяную баню, имеющую температуру 60 °C, и выдерживают при этой температуре до установления постоянного уровня запирающей жидкости 15 - 20 мин. Записывают уровень запирающей жидкости и погружают дилатометр в охладительную баню температурой 0 °C на 1 ч. Затем дилатометр помещают в термостат температурой (20 +/- 2) °C на 40 ч, после чего переносят в ультратермостат, термостируют при 20 °C в течение 30 мин и записывают уровень запирающей жидкости. Последовательно доводят температуру воды в бане до 32,5 и до 40 °C, выдерживают дилатометр при каждой температуре не менее 30 мин и соответственно записывают уровни запирающей жидкости. Переносят дилатометр в водяную баню температурой 60 °C. При правильном заполнении дилатометра уровень запирающей жидкости должен совпадать с первоначальным при той же температуре.
5.2.2. Для жиров вида Б
Дилатометр с жиром помещают в водяную баню, имеющую температуру 60 °C, выдерживают при этой температуре до установления постоянного уровня запирающей жидкости и погружают дилатометр в охладительную баню температурой 0 °C на 90 мин. Затем дилатометр помещают в термостат температурой (26,5 +/- 1) °C на 40 ч, после чего выдерживают при 0 °C 90 мин и записывают уровень запирающей жидкости. Пробы переносят в ультратермостат, доводя температуру воды до 20; 25; 30; 32,5; 35; 40 °C, выдерживают дилатометр при каждой температуре не менее 30 мин и соответственно записывают уровни запирающей жидкости. Переносят дилатометр в водяную баню температурой 60 °C. При правильном заполнении уровень запирающей жидкости должен совпадать с первоначальным при той же температуре.
6.1. Массовую долю твердых триглицеридов (X) в процентах вычисляют по формуле

,
где V - изменение объема жира, определяемое по разности уровней запирающей жидкости при температурах

и

, мм3;
m - масса испытуемой пробы продукта, г;
0,83 - температурный коэффициент объемного расширения жира, мм3/г, °C;

- начальная температура (60 °C), °C;

- заданная температура жира, при которой определяют содержания твердых триглицеридов (20; 25; 30; 32,5; 35; 40 °C), °C;
K - среднее значение изменения объема 1 г жира при полном фазовом переходе, мм3/г, численно равное 100.
6.2. Вычисления проводят до первого десятичного знака с последующим округлением до целого числа.
6.3. За результат испытания принимают среднее арифметическое значение результатов трех параллельных определений, расхождения между которыми не должны превышать 2,0.