Главная // Актуальные документы // ГОСТ (Государственный стандарт)СПРАВКА
Источник публикации
М.: ИПК Издательство стандартов, 2003
Примечание к документу
Документ
введен в действие с 1 июля 1980 года.
Взамен ГОСТ 16484-70.
Название документа
"ГОСТ 16484-79. Межгосударственный стандарт. Пестициды. Метод определения стабильности водных суспензий смачивающихся порошков"
(утв. и введен в действие Постановлением Госстандарта СССР от 28.05.1979 N 1919)
(ред. от 01.04.1991)
"ГОСТ 16484-79. Межгосударственный стандарт. Пестициды. Метод определения стабильности водных суспензий смачивающихся порошков"
(утв. и введен в действие Постановлением Госстандарта СССР от 28.05.1979 N 1919)
(ред. от 01.04.1991)
Утвержден и введен в действие
Постановлением Государственного
комитета СССР по стандартам
от 28 мая 1979 г. N 1919
МЕЖГОСУДАРСТВЕННЫЙ СТАНДАРТ
ПЕСТИЦИДЫ
МЕТОД ОПРЕДЕЛЕНИЯ СТАБИЛЬНОСТИ ВОДНЫХ
СУСПЕНЗИЙ СМАЧИВАЮЩИХСЯ ПОРОШКОВ
Pesticides.
Method for determination of stabilitv of wettable dowder
water suspensions
ГОСТ 16484-79
| | Список изменяющих документов | |
Дата введения
1 июля 1980 года
1. Разработан и внесен Министерством химической промышленности СССР.
2. Утвержден и введен в действие Постановлением Государственного комитета СССР по стандартам от 28.05.79 N 1919.
3. Взамен ГОСТ 16484-70.
4. Ссылочные нормативно-технические документы
Обозначение НТЛ, на который дана ссылка | Номер раздела |
| |
| |
| |
|
|
ГОСТ 24104-88 | |
| |
5. Ограничение срока действия снято Постановлением Госстандарта от 03.04.91 N 417.
6. Издание (апрель 2003 г.) с
Изменениями N 1,
2, утвержденными в сентябре 1984 г., апреле 1991 г. (ИУС 1-85, 6-91).
Настоящий стандарт распространяется на пестициды, выпускаемые в форме смачивающихся порошков, и устанавливает метод определения стабильности их водных суспензий.
Метод заключается в том, что из приготовленной водной суспензии отсасывают 9/10 объема, а в оставшемся объеме определяют массовую долю действующего начала или массу остатка после высушивания. Определение понятия "стабильность суспензии смачивающегося порошка" приведено в
приложении.
(Измененная редакция, Изм. N 2)
1. АППАРАТУРА, РЕАКТИВЫ И РАСТВОРЫ
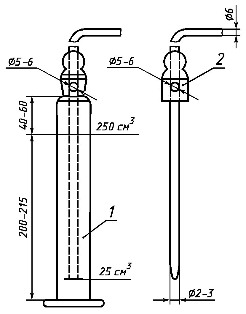
Прибор для определения стабильности (см. чертеж), нижний конец трубки, вставленной в цилиндр, должен находиться на уровне метки 25 куб. см, при этом отверстие в пробке совмещается с отверстием в шлифе цилиндра.
Прибор для определения стабильности
1 - цилиндр; 2 - пробка со шлифом и с впаянной
отсасывающей трубкой
Допускается использование цилиндров, градуированных на предприятии.
Секундомер.
Термостат водяной или баня водяная.
Палочка с резиновым наконечником.
Насос водоструйный по
ГОСТ 25336 или насос вакуумный.
Колба мерная по
ГОСТ 1770 вместимостью 1000 куб. см.
Термометр с ценой деления шкалы 1 °C.
Шкаф сушильный, обеспечивающий регулирование температуры до 110 °C.
Стаканчик для взвешивания СВ-14/8 или СН-85/15 или чашка ЧБН-1-100, или ЧВП-2-100, или ЧВК-2-100 по
ГОСТ 25336.
Весы лабораторные общего назначения 2-го класса по ГОСТ 24104 <*> с наибольшим пределом взвешивания 200 г или весы с аналогичными метрологическими характеристиками.
--------------------------------
Кальций хлорид обезвоженный.
Вода дистиллированная по
ГОСТ 6709 или вода эквивалентной чистоты.
(Измененная редакция, Изм. N 1, 2)
2.1. Приготовление воды заданной жесткости
Необходимое количество обезвоженного хлорида кальция и шестиводного хлористого магния помещают в мерную колбу, растворяют в дистиллированной воде, доводят объем раствора водой до метки и тщательно перемешивают.
Масса реактивов, необходимая для приготовления 1 куб. дм воды заданной жесткости, указана в таблице.
Жесткость волы, моль/куб. дм | Масса, г |
 обезвоженный | |
1 | 0,0444 | 0,0203 |
3,4226 | 0,1520 | 0,0690 |
6,8452 | 0,3040 | 0,1390 |
9,9934 | 0,4440 | 0,2020 |
(Измененная редакция, Изм. N 2)
2.2. Жесткость воды, масса навески препарата для получения суспензии, концентрация и способ приготовления суспензии должны быть указаны в нормативно-технической документации на пестицидные препараты.
Если рекомендуется несколько концентраций, то следует выбрать максимальную концентрацию.
(Измененная редакция, Изм. N 1)
2.3. Приготовление суспензии
Применяют один из описанных ниже способов.
Способ 1. Навеску препарата помещают в стакан, добавляют небольшой объем воды заданной жесткости и перемешивают в течение 2 мин. палочкой до образования пасты. Затем по каплям прибавляют 50 куб. см воды заданной жесткости, имеющей температуру (30 +/- 1) °C, стакан с содержимым помещают в водяной термостат и выдерживают при (30 +/- 1) °C в течение 13 мин.
Способ 2. Навеску препарата помещают в стакан, содержащий 50 куб. см воды заданной жесткости, подогретой до (30 +/- 1) °C, затем содержимое стакана интенсивно перемешивают кругообразными движениями в течение 2 мин. до возникновения вихревой воронки, после чего стакан помещают в водяной термостат или водяную баню и выдерживают при температуре (30 +/- 1) °C, в течение 13 мин.
Способ 3. Навеску препарата помещают в стакан вместимостью 50 куб. см, добавляют небольшой объем воды заданной жесткости и перемешивают в течение 2 мин. палочкой с резиновым наконечником до образования пасты.
(Измененная редакция, Изм. N 1, 2)
2.4. Исключен, Изм. N 1.
3.1. Суспензию, приготовленную по
п. 2.3, количественно переносят в цилиндр 1 прибора для определения стабильности (см. чертеж), прибавляют воду заданной жесткости температурой (30 +/- 1) °C до 250 куб. см, закрывают цилиндр пробкой и содержимое перемешивают, переворачивая на 180° в течение 1 мин. 30 раз. Затем цилиндр закрепляют на штативе в вертикальном положении и помещают в водяной термостат или водяную баню, при этом одновременно включают секундомер, вынимают пробку и выдерживают при (30 +/- 1) °C в течение 30 мин.
После выдержки удаляют из цилиндра 225 куб. см водной суспензии с помощью отсасывающей трубки и водоструйного насоса в течение 10 - 15 с. При этом необходимо следить, чтобы нижний конец трубки находился только на несколько миллиметров ниже снижающегося уровня суспензии.
3.2. Стабильность водной суспензии определяют по массовой доле действующего начала в оставшихся 25 куб. см или методом высушивания остатка до постоянной массы.
Методика определения массовой доли действующего начала, технология и температурный режим высушивания остатка должны быть указаны в нормативно-технической документации на пестицидные препараты.
(п. п. 3.1, 3.2. Измененная редакция, Изм. N 1, 2)
4.1. Стабильность суспензии смачивающихся порошков (X), определенную с учетом массы действующего начала, в процентах вычисляют по формуле:
a · m
где m - масса действующего начала в навеске = -----, г;
1 100
a - массовая доля действующего начала в препарате, %;
m - масса навески препарата, г;
m - масса действующего начала в оставшихся 25 куб. см суспензии, г;
2
4.2. Исключен, Изм. N 1.
4.3. Стабильность суспензий смачивающихся порошков (X ), определенную
1
методом высушивания остатка, в процентах вычисляют по формуле:
где m - масса остатка, полученного после высушивания 25 куб. см
1
суспензии, г;
m - масса навески препарата, г.
(Измененная редакция, Изм. N 1, 2)
4.4. За результат анализа принимают среднее арифметическое результатов двух параллельных определений, абсолютное расхождение между которыми не превышает допускаемое расхождение, равное 4%.
Допускаемая абсолютная суммарная погрешность результата анализа +/- 3% при доверительной вероятности 0,95.
(Измененная редакция, Изм. N 2)
Справочное
Стабильность суспензии смачивающегося порошка - массовая доля основного вещества, которая остается в суспензии при установленных условиях испытания.
(Приложение. Введено дополнительно, Изм. N 2)