Главная // Актуальные документы // ГОСТ (Государственный стандарт)
СПРАВКА
Источник публикации
М.: ИПК Издательство стандартов, 2004
Примечание к документу
С 1 июля 2003 года до вступления в силу технических регламентов акты федеральных органов исполнительной власти в сфере технического регулирования носят рекомендательный характер и подлежат обязательному исполнению только в части, соответствующей целям, указанным в пункте 1 статьи 46 Федерального закона от 27.12.2002 N 184-ФЗ.

Документ введен в действие с 1 января 1993 года.
Название документа
"ГОСТ 29171-91 (ИСО 7231-84). Межгосударственный стандарт. Материалы полимерные ячеистые эластичные. Метод оценки величины воздушного потока при постоянном перепаде давления"
(утв. и введен в действие Постановлением Госстандарта СССР от 16.12.1991 N 1963)


"ГОСТ 29171-91 (ИСО 7231-84). Межгосударственный стандарт. Материалы полимерные ячеистые эластичные. Метод оценки величины воздушного потока при постоянном перепаде давления"
(утв. и введен в действие Постановлением Госстандарта СССР от 16.12.1991 N 1963)


Содержание


Утвержден и введен в действие
Постановлением Комитета
стандартизации и метрологии СССР
от 16 декабря 1991 г. N 1963
МЕЖГОСУДАРСТВЕННЫЙ СТАНДАРТ
МАТЕРИАЛЫ ПОЛИМЕРНЫЕ ЯЧЕИСТЫЕ ЭЛАСТИЧНЫЕ
МЕТОД ОЦЕНКИ ВЕЛИЧИНЫ ВОЗДУШНОГО ПОТОКА ПРИ ПОСТОЯННОМ
ПЕРЕПАДЕ ДАВЛЕНИЯ
Polymeric materials, cellular flexible. Method
of assessment of air flow value at constant pressure-drop
ГОСТ 29171-91
(ИСО 7231-84)
Группа Л69
МКС 83.100
ОКСТУ 2509
Дата введения
1 января 1993 года
Информационные данные
1. Подготовлен и внесен Техническим комитетом по стандартизации ТК 81 "Резиновые изделия бытового и медицинского назначения".
2. Утвержден и введен в действие Постановлением Комитета стандартизации и метрологии СССР от 16.12.91 N 1963.
3. Настоящий стандарт подготовлен методом прямого применения международного стандарта ИСО 7231-84 "Ячеистые эластичные полимерные материалы. Метод оценки величины воздушного потока при постоянном перепаде давления" и полностью ему соответствует.
4. Введен впервые.
5. Переиздание. Август 2004 г.
1. НАЗНАЧЕНИЕ И ОБЛАСТЬ ПРИМЕНЕНИЯ
Настоящий стандарт устанавливает метод оценки величины (скорости) воздушного потока через образец эластичного полимерного ячеистого материала. Величина воздушного потока может быть использована для оценки влияния на ячеистую структуру изменения рецептуры или технологии изготовления.
2. ОПРЕДЕЛЕНИЕ
Величина воздушного потока - величина, требуемая для поддержания постоянного перепада давления через образец эластичного ячеистого материала.
За единицу величины воздушного потока принят 1 дм3/с.
3. СУЩНОСТЬ МЕТОДА
Через стандартный образец эластичного ячеистого материала создается постоянная разность давлений. Скорость воздушного потока, необходимую для поддержания этого перепада давления, принимают за величину воздушного потока.
4. АППАРАТУРА
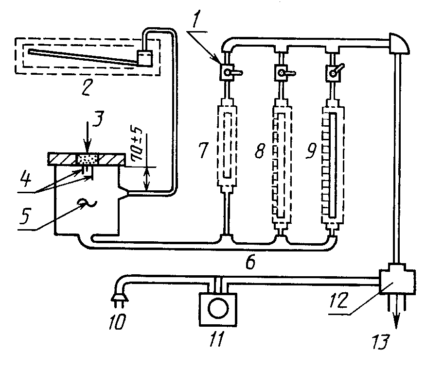
Принципиальная схема устройства аппаратуры указана на черт. 1 и 2. Основными частями установки являются следующие.
Аппаратура для испытания на воздухопроницаемость давлением
воздуха ниже атмосферного
1 - двухходовые краны; 2 - наклонный масляный манометр;
3 - образец для испытания; 4 - держатель для образцов;
5 - вакуумная камера; 6 - воздушные расходомеры;
7 - воздушный расходомер с низким пределом; 8 - воздушный
расходомер со средним пределом; 9 - воздушный расходомер
с высоким пределом; 10 - двигатель; 11 - контроль
напряжения; 12 - вентилятор; 13 - выхлопная труба
Черт. 1
Примечание. Рекомендуются расходомеры с минимальной шкалой 250 мм. Расходомеры с пределом измерения 0 - 10 дм3/с применяют для испытания всех эластичных полимерных материалов.
Аппаратура для испытания на воздухопроницаемость давлением
воздуха выше атмосферного
1 - воздушные расходомеры; 2 - воздушный расходомер
с высоким пределом; 3 - воздушный расходомер со средним
пределом; 4 - воздушный расходомер с низким пределом;
5 - клапан; 6 - гайка-барашек; 7 - горизонтальный стальной
стержень, удерживающий образец для испытания;
8 - прокладка; 9 - образец для испытания; 10 - подача
воздуха от насоса; 11 - наклонный манометр
Черт. 2
4.1. Расходомеры
Для измерения величины (скорости) воздушного потока применяют расходомеры низкого давления, обеспечивающие точность +/- 2%.
Воздушный поток регулируют ограничительным клапаном и изменением скорости продувания. Двухходовые краны должны устанавливаться, как показано на черт. 1 и 2, чтобы обеспечивать постоянный перепад давления через расходомер при любой скорости потока.
4.2. Манометр
Применяют манометр, прокалиброванный в пределах 0 - 250 Па, обеспечивающий точность +/- 2%. При превышении давления используют ловушки для предотвращения переброса жидкости из манометра в камеру. Для установления в манометре нулевого положения применяют поршень в жидкостном резервуаре.
Примечание. Рекомендуется применять наклонный манометр с ценой деления 2 Па. В манометре необходим контроль уровня подъема, для того чтобы убедиться в правильности степени наклона по отношению к горизонтальной поверхности.
4.3. Вентиляторы
Подача воздуха может обеспечивать как положительное (выше атмосферного), так и отрицательное (ниже атмосферного) давление через образец с использованием сжатого воздуха, воздуходувки или вакуумных насосов.
Примечание. Аппаратура может быть смонтирована так, чтобы использовалось только отрицательное или только положительное давление.
4.4. Держатель для образцов
Номинальные размеры камеры: диаметр - 140 мм, глубина - 150 мм (см. черт. 1) или диаметр 75 мм, длина - 1000 мм (см. черт. 2).
Каждая камера имеет держатель для образца и арматуру для присоединения манометра и воздуходувки.
Полость для размещения образца должна иметь размеры: (50,00 +/- 0,05) x (50,00 +/- 0,05) x (25,00 +/- 0,05) мм.
Образец должен удерживаться соответствующими средствами, например с помощью направляющих, проволочного или перфорированного держателя.
Общая площадь отверстий должна составлять 70% всей площади опоры, при этом отверстия должны быть равномерно распределены. Размещение держателя указано на черт. 1 и 2. Манометр и подсоединение воздухопродувки указаны на черт. 1 и 2.
4.5. Калибрование аппаратуры, использующей отрицательный перепад давления
4.5.1. Испытание на утечку
Аппаратура (см. черт. 1) должна быть проверена на утечку следующим образом.
4.5.1.1. Изолируют полость для образца клейкой лентой.
4.5.1.2. При всех закрытых кранах расходомера подают воздушный поток до 1/3 части максимального предела. Показания манометра не должны превышать 1 Па после 30 с выдержки.
4.5.1.3. Слегка открывают кран расходомера самого низкого диапазона давления. Поток воздуха должен практически равняться нулю, что соответствует перемещению поплавка расходомера по отношению к нулевому положению не более чем на 3 мм.
5. ОБРАЗЦЫ ДЛЯ ИСПЫТАНИЯ
Образцы для испытания должны иметь форму правильного параллелепипеда размером (51,0 +/- 0,3) x (51,0 +/- 0,3) x (25,0 +/- 0,3) мм. Образцы вырезают осторожно, чтобы не была деформирована ячеистая структура материала. Испытывают три образца.
Примечание. Образцы могут быть как с поверхностной пленкой, так и без нее, но результаты испытания таких образцов несопоставимы.
6. УСЛОВИЯ ПРОВЕДЕНИЯ ИСПЫТАНИЯ
Испытание проводят при стандартных условиях - температуре (23 +/- 2) °C и относительной влажности (50 +/- 5)% или при температуре (27 +/- 2) °C и относительной влажности (65 +/- 5)%.
Примечание. Результаты, полученные при испытании в различных условиях, несопоставимы, так как калибрование расходомеров чувствительно к температуре.
7. ПРОВЕДЕНИЕ ИСПЫТАНИЯ
7.1. Испытуемый образец помещают в камеру поверхностной пленкой в сторону низкого давления и убеждаются в том, что он не подвергается чрезмерной деформации, а также что края образца и аппаратура тщательно герметизированы.
7.2. Закрывают краны расходомера и включают воздуходувку или вакуумный насос.
7.3. Медленно открывают кран расходомера с высоким пределом давления и регулируют воздушный поток для достижения давления (125 +/- 1) Па.
7.4. При получении показаний ниже 10% всей шкалы расходомера закрывают кран этого расходомера и открывают кран со средним пределом. Повторяют эту операцию до выбора правильного расходомера и показания на нем.
Примечание. Предпочтительно применять два соседних расходомера для получения большей прочности, удерживая постоянно показания на соответствующей отметке расходомера более высокого диапазона и регулируя уровень расходомера более низкого давления.
В этом случае величину воздушного потока получают суммированием показаний двух расходомеров после выдерживания перепада давления в течение 10 с.
7.5. Фиксируют величину, полученную по п. 7.4, как показатель величины воздушного потока, в дм3/с.
8. ПРОТОКОЛ ИСПЫТАНИЯ
Протокол испытания должен содержать следующие данные:
а) обозначение настоящего стандарта;
б) описание и идентичность материала;
в) толщину образцов, если она не соответствует указанной в разд. 5;
г) ориентацию образца по отношению к направлению анизотропии и наличие или отсутствие поверхностной пленки;
д) условия проведения испытания (температуру, относительную влажность, тип аппаратуры и направление давления);
е) отдельные результаты испытаний и среднюю величину показателя потока воздуха в дм3/с, округленные до 0,1 дм3/с.