Наименование государства | Наименование национального органа по стандартизации |
Республика Беларусь | Белстандарт |
Республика Казахстан | Казглавстандарт |
Российская Федерация | Госстандарт России |
Обозначение НТД, на который дана ссылка | Обозначение соответствующего стандарта МЭК | Номер пункта, приложения |
ГОСТ 12253-88 | МЭК 372-84 | |
МЭК 305-78 |
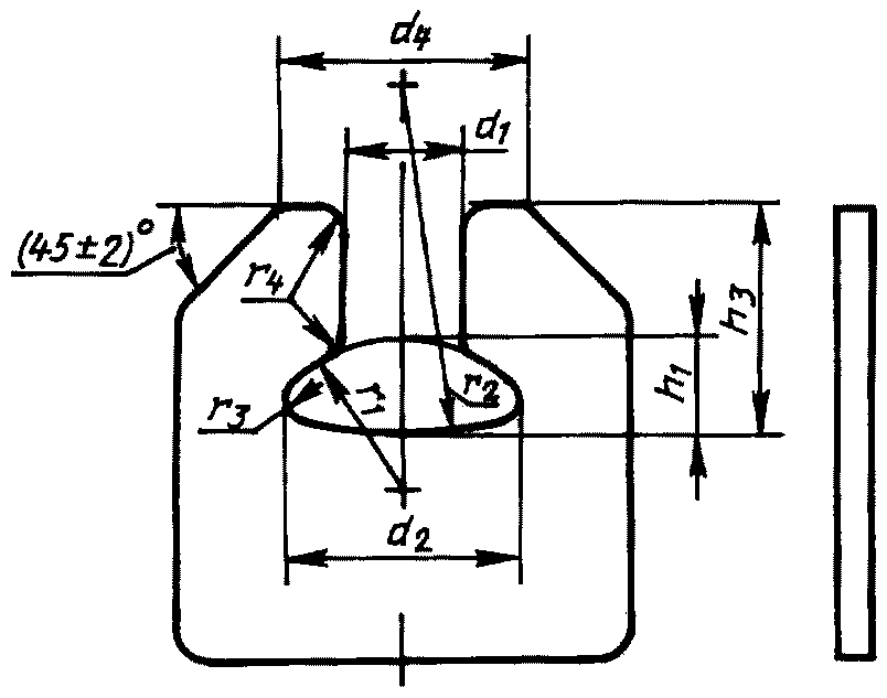
3. Минимальную внутреннюю высоту H2 рассчитывают для замка минимальной высотой T, помещенного на дно гнезда. Если замок имеет высоту или если он помещен выше дна гнезда, то размер H2 должен быть соответственно увеличен настолько, чтобы зазор между пестиком и верхней поверхностью замка остался без изменения.При использовании замков по ГОСТ 12253 высота H2 должна соответствовать требованиям пункта 6 настоящего стандарта. |

Условный размер | d1 | d2 | h1 | r1 | r2 | r3 <*> | r4 |
11 | ![]() | 35 | 35 | 3,5 | |||
16 | ![]() | ![]() | ![]() | 23 | 50 | 3,0 | |
20 | ![]() | ![]() | ![]() | 27 | 60 | 5,7 | |
24 | ![]() | ![]() | ![]() | 40 | 70 | 6,6 | |
28 | ![]() | ![]() | ![]() | 55 | 80 | 8,0 | |
32 | ![]() | ![]() | ![]() | 70 | 90 | 10,0 | |
Примечание - По согласованию между изготовителем и потребителем допускается изготовлять пестики с предельными отклонениями по диаметру d1 минус 1,5 мм для условных размеров от 11 до 24; минус 1,7 мм - для условных размеров от 28 до 32 и 0,5 мм по высоте h1, при этом минимальные значения эффективности стопорения S мин. должны соответствовать указанным в таблице 6. | |||||||

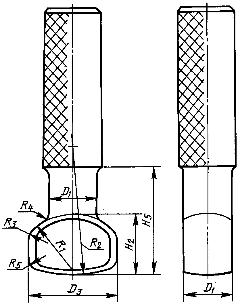
Условный размер | D1 | D2 мин. | D3 мин. | H1 | H2 для W-образного замка, мин | H2 <3> для шплинта | R1 | R3 | R4 | R5 | T <2> мин. |
11 | ![]() | 24,5 | 24,5 | ![]() | 15,5 | 16,3 | 35 | 4 | 1,5 | 4 | 4,8 |
16A <1> | ![]() | 34,5 | 34,5 | ![]() | 20,5 | 21,6 | 23 | 3 | 3,0 | 5 | 5,5 |
16B <1> | ![]() | 34,5 | 34,5 | ![]() | 25,0 | 25,5 | 23 | 3 | 3,0 | 5 | 7,9 |
20 | ![]() | 42,5 | 42,5 | ![]() | 28,5 | 29,3 | 27 | 6 | 3,5 | 7 | 7,0 |
24 | ![]() | 51,0 | 51,0 | ![]() | 32,5 | 33,5 | 40 | 5 | 4,0 | 10 | 8,7 |
28 | ![]() | 59,0 | 59,0 | ![]() | 36,5 | 37,4 | 55 | 8 | 4,5 | 12 | 10,0 |
32 | ![]() | 67,5 | 67,5 | ![]() | 42,0 | 43,0 | 70 | 10 | 5,0 | 14 | 11,5 |
<1> См. примечание 2 к пункту 5. <3> Приводятся наибольшие значения, так как в этом случае шплинт не всегда находится на дне гнезда. Положение стандартного шплинта определяется высотой H3 центра отверстия, диаметром D4 (см. 15) и размером F2 (ГОСТ 12253); на это положение также оказывает влияние расположение концов шплинта, которые находятся в контакте с гнездом. Величина H3 обеспечивает правильный зазор для шплинтов. | |||||||||||

Условный размер | Калибр | D1 | D2 | D3 | D4 | H1 | H2 | H3 | R1 | R2 | R3 | R4 | R5 | R6 |
11 | Новый: | |||||||||||||
макс. контур <1> | 12,000 | 22,950 | 25,322 | 60,15 | 9,250 | 17,775 | 23,775 | 35,075 | 35,075 | 3,631 | 1,450 | 49,70 | 2,80 | |
номин. контур | 11,980 | 22,920 | 25,348 | 59,95 | 9,220 | 17,860 | 23,860 | 35,060 | 35,060 | 3,616 | 1,460 | 49,80 | 2,70 | |
мин. контур <1> | 11,960 | 22,890 | 25,374 | 59,75 | 9,190 | 17,945 | 23,945 | 35,045 | 35,045 | 3,601 | 1,470 | 49,90 | 2,60 | |
Изношенный предельный <2> | 11,900 | 22,800 | 25,400 | 59,55 | 9,100 | 18,000 | 24,000 | 35,000 | 35,000 | 3,556 | 1,500 | 50,00 | 2,50 | |
16 | Новый: | |||||||||||||
макс. контур <1> | 17,122 | 33,490 | 35,326 | 90,59 | 13,572 | 20,686 | 31,786 | 23,086 | 50,086 | 3,071 | 2,939 | 71,70 | 2,80 | |
номин. контур | 17,096 | 33,450 | 35,351 | 90,39 | 13,536 | 20,768 | 31,868 | 23,068 | 50,068 | 3,055 | 2,952 | 71,80 | 2,70 | |
мин. контур <1> | 17,070 | 33,410 | 35,376 | 90,19 | 13,500 | 20,850 | 31,950 | 23,050 | 50,050 | 3,039 | 2,965 | 71,90 | 2,60 | |
Изношенный предельный <2> | 17,000 | 33,300 | 35,400 | 89,99 | 13,400 | 20,900 | 32,000 | 23,000 | 50,000 | 2,993 | 3,000 | 72,00 | 2,50 | |
20 | Новый: | |||||||||||||
макс. контур <1> | 21,150 | 41,220 | 45,484 | 120,95 | 19,702 | 25,551 | 42,151 | 27,101 | 60,101 | 5,845 | 3,425 | 89,55 | 3,45 | |
номин. контур | 21,120 | 41,170 | 45,523 | 120,65 | 19,656 | 25,678 | 42,278 | 27,078 | 60,078 | 5,824 | 3,440 | 89,70 | 3,30 | |
мин. контур <1> | 21,090 | 41,120 | 45,561 | 120,35 | 19,610 | 25,805 | 42,405 | 27,055 | 60,055 | 5,803 | 3,455 | 89,85 | 3,15 | |
Изношенный предельный <2> | 21,000 | 41,000 | 45,600 | 120,05 | 19,500 | 25,900 | 42,500 | 27,000 | 60,000 | 5,753 | 3,500 | 90,00 | 3,00 | |
24 | Новый: | |||||||||||||
макс. контур <1> | 25,172 | 49,250 | 50,490 | 140,90 | 21,242 | 25,971 | 46,171 | 40,121 | 70,121 | 6,732 | 3,914 | 104,55 | 3,45 | |
номин. контур | 25,136 | 49,190 | 50,527 | 140,60 | 21,186 | 26,093 | 46,293 | 40,093 | 70,093 | 6,706 | 3,932 | 104,70 | 3,30 | |
мин. контур <1> | 25,100 | 49,130 | 50,564 | 140,30 | 21,130 | 26,215 | 46,415 | 40,065 | 70,065 | 6,680 | 3,950 | 104,85 | 3,15 | |
Изношенный предельный <2> | 25,000 | 49,000 | 50,600 | 140,00 | 21,000 | 26,300 | 46,500 | 40,000 | 70,000 | 6,615 | 4,000 | 105,00 | 3,00 | |
28 | Новый: | |||||||||||||
макс. контур <1> | 29,190 | 57,290 | 66,870 | 165,94 | 23,770 | 29,100 | 51,100 | 55,135 | 80,135 | 7,994 | 4,414 | 129,55 | 3,45 | |
номин. контур | 29,150 | 57,215 | 66,915 | 165,64 | 23,708 | 29,250 | 51,250 | 55,104 | 80,104 | 7,967 | 4,432 | 129,70 | 3,30 | |
мин. контур <1> | 29,110 | 57,140 | 66,960 | 165,34 | 23,646 | 29,400 | 51,400 | 55,073 | 80,073 | 7,938 | 4,450 | 129,85 | 3,15 | |
Изношенный предельный <2> | 29,000 | 57,000 | 67,000 | 165,04 | 23,500 | 29,500 | 51,500 | 55,000 | 80,000 | 7,864 | 4,500 | 130,00 | 3,00 | |
32 | Новый: | |||||||||||||
макс. контур <1> | 33,220 | 65,310 | 85,800 | 198,45 | 27,300 | 34,000 | 61,400 | 70,150 | 90,150 | 9,719 | 4,914 | 149,55 | 3,45 | |
номин. контур | 33,170 | 65,230 | 85,850 | 198,22 | 27,225 | 34,175 | 61,600 | 70,112 | 90,113 | 9,683 | 4,932 | 149,70 | 3,30 | |
мин. контур <1> | 33,120 | 65,150 | 85,900 | 197,98 | 27,150 | 34,350 | 61,800 | 70,075 | 90,075 | 9,647 | 4,950 | 149,85 | 3,15 | |
Изношенный предельный <2> | 33,000 | 65,000 | 86,000 | 197,83 | 27,000 | 34,500 | 62,000 | 70,000 | 90,000 | 9,572 | 5,000 | 150,00 | 3,00 | |
<2> См. приложение В1. | ||||||||||||||

Условный размер | h4 |
11 | |
16 | |
20 | |
24 | |
28 | |
32 |

Условный размер | D1 - d1 | D2 - d2 мин. | D3 - d2 | P | Q <1> мин. | ||
мин. | макс. | мин. | макс. | ||||
11 | 0,6 | 3,0 | 1,7 | 1,7 | 1,4 | 3,9 | 1,6 |
16A | 2,2 | 5,0 | 1,2 | 1,2 | 1,1 | 4,0 | 1,6 |
16B | 2,2 | 5,0 | 1,2 | 1,2 | 3,6 | 6,5 | 3,7 |
20 | 2,0 | 5,4 | 1,5 | 1,5 | 1,0 | 4,5 | 2,0 |
24 | 2,5 | 6,4 | 2,0 | 2,0 | 2,5 | 6,7 | 2,8 |
28 | 3,0 | 7,4 | 2,0 | 2,0 | 2,5 | 7,2 | 3,0 |
32 | 3,0 | 7,9 | 2,5 | 2,5 | 3,0 | 8,2 | 3,5 |

Условный размер | S мин. |
11 | 0,9 |
16A | 1,5 |
16B | 1,4 |
20 | 2,5 |
24 | 2,0 |
28 | 2,8 |
32 | 3,3 |

Условный размер | D4 | D5 | H3 | K мин. | L макс. |
11 | 7,5 +/- 0,4 | 13,5 | 3,5 +/- 0,6 | 24 | |
16A | 9,5 +/- 0,5 | 16,0 | 4,0 +/- 0,7 | 32 | |
16B | 10,0 +/- 0,5 | 18,0 | 5,0 +/- 1,0 | 32 | |
20 | 10,0 +/- 0,5 | 18,0 | 5,0 +/- 1,0 | 40 | |
24 | 12,0 +/- 0,5 | 21,5 | ![]() | 6,0 +/- 1,0 | 51 |
28 | 13,0 +/- 0,5 | 24,0 | ![]() | 7,0 +/- 1,2 | 59 |
32 | 15,0 +/- 0,5 | 28,0 | ![]() | 8,0 +/- 1,4 | 68 |

Условный размер | B1 | B2 мин. | H3 | L макс. |
11 | 12,5 +/- 0,8 | 24,0 | 6,5 +/- 0,8 | 18 |
16A | 16,0 +/- 1,0 | 33,0 | 7,0 +/- 0,8 | 24 |
16B | 16,0 +/- 1,0 | 33,0 | 9,5 +/- 0,8 | 24 |
20 | 17,0 +/- 1,0 | 34,0 | 8,5 +/- 0,8 | 29 |
24 | 17,5 +/- 1,0 | 34,5 | 10,5 +/- 0,8 | 34 |
28 | 20,0 +/- 1,0 | 39,0 | 11,5 +/- 0,8 | 42 |
32 | 22,0 +/- 1,0 | 42,0 | 13,0 +/- 0,8 | 48 |

Условный размер | |
11 | 1,3 |
16A | 4,0 |
16B | 4,0 |
20 | 3,3 |
24 | 2,7 |
28 | 2,5 |
32 | 2,0 |

Условный размер | |
11 | 12,0 |
16A | 9,5 |
16B | 12,0 |
20 | 9,0 |
24 | 10,0 |
28 | 9,0 |
32 | 9,0 |
Механическая разрушающая нагрузка, кН | Условный размер |
40 | 11 |
60 | 11 |
70 | 16 |
100 | 16 |
120 | 16 |
160 | 20 |
210 | 20 |
250 | - |
300 | 24 |
400 | 28 |
530 | 32 |



Условный размер | Калибр | d1 | d2 | d4 | h1 | h3 | r1 | r2 | r3 | r4 |
11 | Новый: | |||||||||
мин. контур <1> | 11,826 | 22,712 | 25,5 | 9,008 | 24,11 | 34,954 | 34,954 | 3,509 | 2,537 | |
номин. контур | 11,836 | 22,728 | 25,0 | 9,024 | 24,08 | 34,962 | 34,962 | 3,517 | 2,532 | |
макс. контур <1> | 11,846 | 22,744 | 24,5 | 9,040 | 24,05 | 34,970 | 34,970 | 3,525 | 2,527 | |
Изношенный предельный <2> | 11,900 | 22,800 | 24,0 | 9,100 | 24,00 | 35,000 | 35,000 | 3,556 | 2,500 | |
16 | Новый | |||||||||
мин. контур <1> | 16,922 | 33,204 | 35,5 | 13,304 | 32,14 | 22,952 | 49,952 | 2,945 | 4,039 | |
номин. контур | 16,932 | 33,222 | 35,0 | 13,320 | 32,10 | 22,960 | 49,960 | 2,952 | 4,034 | |
макс. контур <1> | 16,942 | 33,240 | 34,5 | 13,336 | 32,06 | 22,968 | 40,968 | 2,959 | 4,029 | |
Изношенный предельный <2> | 17,000 | 33,300 | 34,0 | 13,400 | 32,000 | 23,000 | 50,000 | 2,993 | 4,000 | |
20 | Новый | |||||||||
мин. контур <1> | 20,916 | 40,900 | 45,5 | 19,400 | 42,64 | 26,950 | 59,950 | 5,703 | 4,542 | |
номин. контур | 20,928 | 40,920 | 45,0 | 19,418 | 42,60 | 26,959 | 59,959 | 5,711 | 4,536 | |
макс. контур <1> | 20,940 | 40,940 | 44,5 | 19,436 | 42,56 | 26,968 | 59,968 | 5,719 | 4,530 | |
Изношенный предельный <2> | 21,000 | 41,000 | 44,0 | 19,500 | 42,50 | 27,000 | 60,000 | 5,753 | 4,500 | |
24 | Новый | |||||||||
мин. контур <1> | 24,912 | 48,890 | 50,5 | 20,888 | 46,65 | 39,944 | 69,944 | 6,558 | 5,544 | |
номин. контур | 24,924 | 48,912 | 50,0 | 20,908 | 46,61 | 39,954 | 69,954 | 6,567 | 5,538 | |
макс. контур <1> | 24,936 | 48,934 | 49,5 | 20,928 | 46,57 | 39,964 | 69,964 | 6,577 | 5,532 | |
Изношенный предельный <2> | 25,000 | 49,000 | 49,0 | 21,000 | 46,50 | 40,000 | 70,000 | 6,615 | 5,500 | |
28 | Новый | |||||||||
мин. контур <1> | 28,906 | 56,881 | 68,5 | 23,380 | 51,66 | 54,940 | 79,940 | 7,803 | 6,044 | |
номин. контур | 28,919 | 56,905 | 68,0 | 23,402 | 51,62 | 54,951 | 79,951 | 7,814 | 6,038 | |
макс. контур <1> | 28,932 | 56,929 | 67,5 | 23,424 | 51,58 | 54,962 | 79,962 | 7,825 | 6,032 | |
Изношенный предельный <2> | 29,000 | 57,000 | 67,0 | 23,500 | 51,50 | 55,000 | 80,000 | 7,864 | 6,000 | |
32 | Новый | |||||||||
мин. контур <1> | 32,899 | 64,871 | 87,5 | 26,868 | 62,16 | 69,934 | 89,934 | 9,506 | 6,544 | |
номин. контур | 32,913 | 64,897 | 87,0 | 26,892 | 62,12 | 69,946 | 89,946 | 9,517 | 6,538 | |
макс. контур <1> | 32,927 | 64,923 | 86,5 | 26,916 | 62,08 | 69,958 | 89,958 | 9,528 | 6,532 | |
Изношенный предельный <2> | 33,000 | 65,000 | 86,0 | 27,000 | 62,00 | 70,000 | 90,000 | 9,572 | 6,500 | |
<2> См. приложение В.1. | ||||||||||

Условный размер | Калибр | d2 |
11 | Новый | 22,728 +/- 0,011 |
Изношенный <1> | 22,800 | |
16 | Новый | 33,223 +/- 0,012 |
Изношенный <1> | 33,300 | |
20 | Новый | 40,920 +/- 0,013 |
Изношенный <1> | 41,000 | |
24 | Новый | 48,913 +/- 0,014 |
Изношенный <1> | 49,000 | |
28 | Новый | 56,908 +/- 0,015 |
Изношенный <1> | 57,000 | |
32 | Новый | 64,903 +/- 0,016 |
Изношенный <1> | 65,000 | |
<1> См. приложение В.1. | ||

Условный размер | Калибр | d1 | d4 | d5 | h1 | h4 | r1 | r6 |
11 | Мин. контур <1> | 16,08 | 18,60 | 12,3 | 7,884 | 15,5 | 34,992 | 3,7 |
Номин. контур | 16,10 | 18,40 | 12,0 | 7,900 | 16,0 | 35,000 | 4,0 | |
Макс. контур <1> | 16,12 | 18,20 | 11,7 | 7,916 | 16,5 | 35,008 | 4,3 | |
16 | Мин. контур <1> | 23,66 | 30,3 | 18,3 | 12,084 | 21,5 | 22,992 | 4,7 |
Номин. контур | 23,70 | 30,0 | 18,0 | 12,100 | 22,0 | 23,000 | 5,0 | |
Макс. контур <1> | 23,74 | 29,7 | 17,7 | 12,116 | 22,5 | 23,008 | 5,3 | |
20 | Мин. контур <1> | 28,36 | 36,3 | 23,3 | 18,082 | 29,5 | 26,991 | 6,7 |
Номин. контур | 28,42 | 36,0 | 23,0 | 18,100 | 30,0 | 27,000 | 7,0 | |
Макс. контур <1> | 28,48 | 35,7 | 22,7 | 18,118 | 30,5 | 27,009 | 7,3 | |
24 | Мин. контур <1> | 34,48 | 42,3 | 28,3 | 19,280 | 31,5 | 39,990 | 7,7 |
Номин. контур | 34,54 | 42,0 | 28,0 | 19,300 | 32,0 | 40,000 | 8,0 | |
Макс. контур <1> | 34,60 | 41,7 | 27,7 | 19,320 | 32,5 | 40,010 | 8,3 | |
28 | Мин. контур <1> | 36,9 | 47,3 | 32,3 | 21,678 | 44,5 | 54,989 | 9,7 |
Номин. контур | 37,0 | 47,0 | 32,0 | 21,700 | 45,0 | 55,000 | 10,0 | |
Макс. контур <1> | 37,1 | 46,7 | 31,7 | 21,722 | 45,5 | 55,011 | 10,3 | |
32 | Мин. контур <1> | 40,88 | 52,3 | 36,3 | 25,076 | 47,5 | 69,988 | 11,7 |
Номин. контур | 41,00 | 52,0 | 36,0 | 25,100 | 48,0 | 70,000 | 12,0 | |
Макс. контур <1> | 41,12 | 51,7 | 35,7 | 25,124 | 48,5 | 70,012 | 12,3 | |

Условный размер | d2 | h4 | h5 | r6 |
11 | 21,500 +/- 0,011 | 10,0 +/- 0,5 | 1,0 +/- 0,3 | 1,5 +/- 0,5 |
16 | 31,800 +/- 0,012 | 12,0 +/- 0,5 | 1,0 +/- 0,3 | 1,5 +/- 0,5 |
20 | 39,400 +/- 0,013 | 18,0 +/- 0,5 | 1,0 +/- 0,3 | 1,5 +/- 0,5 |
24 | 47,200 +/- 0,014 | 20,0 +/- 0,5 | 1,0 +/- 0,3 | 1,5 +/- 0,5 |
28 | 55,100 +/- 0,015 | 22,0 +/- 0,5 | 1,0 +/- 0,3 | 1,5 +/- 0,5 |
32 | 62,900 +/- 0,016 | 25,0 +/- 0,5 | 1,0 +/- 0,3 | 1,5 +/- 0,58 |

Условный размер | d1 | d4 | h4 | h5 |
11 | 10,800 +/- 0,009 | 15,0 +/- 0,5 | 12,0 +/- 0,5 | 1,0 +/- 0,3 |
16 | 15,800 +/- 0,010 | 20,0 +/- 0,5 | 15,0 +/- 0,5 | 1,0 +/- 0,3 |
20 | 19,700 +/- 0,012 | 25,0 +/- 0,5 | 18,0 +/- 0,5 | 1,0 +/- 0,3 |
24 | 23,600 +/- 0,012 | 30,0 +/- 0,5 | 23,0 +/- 0,5 | 1,0 +/- 0,3 |
28 | 27,500 +/- 0,013 | 35,0 +/- 0,5 | 27,0 +/- 0,5 | 1,0 +/- 0,3 |
32 | 31,400 +/- 0,014 | 40,0 +/- 0,5 | 31,0 +/- 0,5 | 1,0 +/- 0,3 |
│ Примечание - Основные размеры непроходного калибра для │цилиндрической части пестика в соответствии с примечанием к │таблице 1 устанавливает изготовитель. | ||||

Условный размер | Калибр | D1 | D2 | H1 | H5 | R1 | R2 | R3 | R4 | R5 |
11 | Новый: | |||||||||
макс. контур <1> | 12,584 | 24,590 | 10,596 | 30,5 | 35,048 | 35,048 | 4,222 | 1,458 | - | |
номин. контур | 12,572 | 24,578 | 10,580 | 30,0 | 35,040 | 35,040 | 4,213 | 1,464 | - | |
мин. контур <1> | 12,560 | 24,566 | 10,564 | 29,5 | 35,032 | 35,032 | 4,205 | 1,470 | - | |
Изношенный предельный <3> | 12,500 | 24,500 | 10,500 | 29,0 | 35,000 | 35,000 | 4,173 | 1,500 | - | |
16A <2> | Новый: | |||||||||
макс. контур <1> | 19,294 | 34,602 | 14,608 | 40,5 | 23,054 | 50,054 | 3,338 | 2,953 | - | |
номин. контур | 19,280 | 34,588 | 14,588 | 40,0 | 23,044 | 50,044 | 3,325 | 2,960 | - | |
мин. контур <1> | 19,266 | 34,574 | 14,568 | 39,5 | 23,034 | 50,034 | 3,311 | 2,967 | - | |
Изношенный предельный <3> | 19,200 | 34,500 | 14,500 | 39,0 | 23,000 | 50,000 | 3,281 | 3,000 | - | |
16B <2> | Новый: | |||||||||
макс. контур <1> | 19,294 | 34,602 | 17,108 | 40,5 | 23,054 | 50,054 | 3,051 | 2,953 | 3,051 | |
номин. контур | 19,280 | 34,588 | 17,088 | 40,0 | 23,044 | 50,044 | 3,044 | 2,960 | 3,044 | |
мин. контур <1> | 19,266 | 34,574 | 17,068 | 39,5 | 23,034 | 50,034 | 3,037 | 2,967 | 3,037 | |
Изношенный предельный <3> | 19,200 | 34,500 | 17,000 | 39,0 | 23,000 | 50,000 | 3,000 | 3,000 | 3,000 | |
20 | Новый: | |||||||||
макс. контур <1> | 23,116 | 42,630 | 20,632 | 50,5 | 27,066 | 60,066 | 6,065 | 3,442 | 5,565 | |
номин. контур | 23,098 | 42,610 | 20,606 | 50,0 | 27,053 | 60,053 | 6,055 | 3,451 | 5,555 | |
мин. контур <1> | 23,080 | 42,590 | 20,580 | 49,5 | 27,040 | 60,040 | 6,045 | 3,460 | 5,545 | |
Изношенный предельный <3> | 23,000 | 42,500 | 20,500 | 49,0 | 27,000 | 60,000 | 6,000 | 3,500 | 5,500 | |
24 | Новый: | |||||||||
макс. контур <1> | 27,630 | 51,150 | 23,652 | 55,5 | 40,076 | 70,076 | 7,898 | 3,935 | - | |
номин. контур | 27,610 | 51,126 | 23,622 | 55,0 | 40,061 | 70,061 | 7,881 | 3,945 | - | |
мин. контур <1> | 27,590 | 51,102 | 23,592 | 54,5 | 40,046 | 70,046 | 7,864 | 3,955 | - | |
Изношенный предельный <3> | 27,500 | 51,000 | 23,500 | 54,0 | 40,000 | 70,000 | 7,821 | 4,000 | - | |
28 | Новый: | |||||||||
макс. контур <1> | 32,144 | 59,166 | 26,170 | 60,5 | 55,085 | 80,085 | 8,083 | 4,429 | 10,083 | |
номин. контур | 32,122 | 59,138 | 26,135 | 60,0 | 55,067 | 80,068 | 8,069 | 4,440 | 10,069 | |
мин. контур <1> | 32,100 | 59,110 | 26,100 | 59,5 | 55,050 | 80,050 | 8,055 | 4,451 | 10,055 | |
Изношенный предельный <3> | 32,000 | 59,000 | 26,000 | 59,0 | 55,000 | 80,000 | 8,000 | 4,500 | 10,000 | |
32 | Новый: | |||||||||
макс. контур <1> | 36,158 | 67,680 | 30,190 | 70,5 | 70,095 | 90,095 | 10,090 | 4,923 | 11,890 | |
номин. контур | 36,134 | 67,650 | 30,150 | 70,0 | 70,075 | 90,075 | 10,075 | 4,935 | 11,875 | |
мин. контур <1> | 36,110 | 67,620 | 30,110 | 69,5 | 70,055 | 90,055 | 10,060 | 4,947 | 11,860 | |
Изношенный предельный <3> | 36,000 | 67,500 | 30,000 | 69,0 | 70,000 | 90,000 | 10,000 | 5,000 | 11,800 | |
<2> См. примечание 2 к пункту 5. <3> См. приложение В.1. | ||||||||||

Условный размер | Калибр | D1 | D3 | H2 для W-образного замка | H2 для шплинта <4> | H5 | R1 | R2 | R3 | R4 | R5 | ||||
11 | Новый: | ||||||||||||||
макс. контур <1> | 12,584 | 24,590 | 15,596 | 16,396 | 30,5 | 35,048 | 35,048 | 4,045 | 1,458 | 4,045 | |||||
номин. контур | 12,572 | 24,578 | 15,580 | 16,380 | 30,0 | 35,040 | 35,040 | 4,039 | 1,464 | 4,039 | |||||
мин. контур <1> | 12,560 | 24,566 | 15,564 | 16,364 | 29,5 | 35,032 | 35,032 | 4,033 | 1,470 | 4,033 | |||||
Изношенный предельный <3> | 12,500 | 24,500 | 15,500 | 16,300 | 29,0 | 35,000 | 35,000 | 4,000 | 1,500 | 4,000 | |||||
16A <2> | Новый: | ||||||||||||||
макс. контур <1> | 19,294 | 34,602 | 20,608 | 21,708 | 40,5 | 23,054 | 50,054 | 3,051 | 2,953 | 3,051 | |||||
номин. контур | 19,280 | 34,588 | 20,588 | 21,688 | 40,0 | 23,044 | 50,044 | 3,044 | 2,960 | 3,044 | |||||
мин. контур <1> | 19,266 | 34,574 | 20,568 | 21,668 | 39,5 | 23,034 | 50,034 | 3,037 | 2,967 | 3,037 | |||||
Изношенный предельный <3> | 19,200 | 34,500 | 20,500 | 21,600 | 39,0 | 23,000 | 50,000 | 3,000 | 3,000 | 3,000 | |||||
16B <2> | Новый: | ||||||||||||||
макс. контур <1> | 19,294 | 34,602 | 25,108 | 25,608 | 40,5 | 23,054 | 50,054 | 3,051 | 2,953 | 3,051 | |||||
номин. контур | 19,280 | 34,588 | 25,088 | 25,588 | 40,0 | 23,044 | 50,044 | 3,044 | 2,960 | 3,044 | |||||
мин. контур <1> | 19,266 | 34,574 | 25,068 | 25,568 | 39,5 | 23,034 | 50,034 | 3,037 | 2,967 | 3,037 | |||||
Изношенный предельный <3> | 19,200 | 34,500 | 25,000 | 25,500 | 39,0 | 23,000 | 50,000 | 3,000 | 3,000 | 3,000 | |||||
20 | Новый: | ||||||||||||||
макс. контур <1> | 23,116 | 42,630 | 28,632 | 29,432 | 50,5 | 27,066 | 60,066 | 6,065 | 3,442 | 6,065 | |||||
номин. контур | 23,098 | 42,610 | 28,606 | 29,406 | 50,0 | 27,053 | 60,053 | 6,055 | 3,451 | 6,055 | |||||
мин. контур <1> | 23,080 | 42,590 | 28,580 | 29,380 | 49,5 | 27,040 | 60,040 | 6,045 | 3,460 | 6,045 | |||||
Изношенный предельный <3> | 23,000 | 42,500 | 28,500 | 29,300 | 49,0 | 27,000 | 60,000 | 6,000 | 3,500 | 6,000 | |||||
24 | Новый: | ||||||||||||||
макс. контур <1> | 27,630 | 51,150 | 32,652 | 33,652 | 55,5 | 40,076 | 70,076 | 5,075 | 3,935 | 8,075 | |||||
номин. контур | 27,610 | 51,126 | 32,622 | 33,622 | 55,0 | 40,061 | 70,061 | 5,063 | 3,945 | 8,063 | |||||
мин. контур <1> | 27,590 | 51,102 | 32,592 | 33,592 | 54,5 | 40,046 | 70,046 | 5,051 | 3,955 | 8,051 | |||||
Изношенный предельный <3> | 27,500 | 51,000 | 32,500 | 33,500 | 54,0 | 40,000 | 70,000 | 5,000 | 4,000 | 8,000 | |||||
| |||||||||||||||
28 | Новый: | ||||||||||||||
макс. контур <1> | 32,144 | 59,166 | 36,670 | 35,570 | 60,5 | 55,085 | 80,085 | 8,083 | 4,429 | 8,083 | |||||
номин. контур | 32,122 | 50,138 | 36,635 | 37,535 | 60,0 | 55,067 | 80,068 | 8,069 | 4,440 | 8,069 | |||||
мин. контур <1> | 32,100 | 59,110 | 36,600 | 37,500 | 59,5 | 55,050 | 80,050 | 8,055 | 4,451 | 8,055 | |||||
Изношенный предельный <3> | 32,000 | 59,000 | 36,500 | 37,400 | 59,0 | 55,000 | 80,000 | 8,000 | 4,500 | 8,000 | |||||
32 | Новый: | ||||||||||||||
макс. контур <1> | 36,158 | 67,680 | 42,190 | 43,190 | 70,5 | 70,095 | 90,095 | 10,090 | 4,923 | 10,090 | |||||
номин. контур | 36,134 | 67,650 | 42,150 | 43,150 | 70,0 | 70,075 | 90,075 | 10,075 | 4,935 | 10,075 | |||||
мин. контур <1> | 36,110 | 67,620 | 42,110 | 43,110 | 69,5 | 70,055 | 90,055 | 10,060 | 4,967 | 10,060 | |||||
Изношенный предельный <3> | 36,000 | 67,500 | 42,000 | 43,000 | 69,0 | 70,000 | 90,000 | 10,000 | 5,000 | 10,000 | |||||
<2> См. примечание 2 к пункту 5. <3> См. приложение В.1. | |||||||||||||||

Условный размер | Калибр | D1 | D4 | D5 | H1 | H5 | R1 | R2 | R4 | ||||
| |||||||||||||
11 | Макс. контур <1> | 10,9 | 17,05 | 12,3 | 11,816 | 30,5 | 35,008 | 35,008 | 1,8 | ||||
Номин. контур | 10,8 | 17,00 | 12,0 | 11,800 | 30,0 | 35,000 | 35,000 | 1,5 | |||||
Мин. контур <1> | 10,7 | 16,95 | 11,7 | 17,784 | 29,5 | 34,992 | 34,992 | 1,2 | |||||
16A | Макс. контур <1> | 15,9 | 30,1 | 18,3 | 16,120 | 40,5 | 23,010 | 50,010 | 3,3 | ||||
Номин. контур | 15,8 | 30,0 | 18,0 | 16,100 | 40,0 | 23,000 | 50,000 | 3,0 | |||||
Мин. контур <1> | 15,7 | 29,9 | 17,7 | 16,080 | 39,5 | 22,990 | 49,990 | 2,7 | |||||
16B | Макс. контур <1> | 15,9 | 30,1 | 18,3 | 18,620 | 40,5 | 23,010 | 50,010 | 3,3 | ||||
Номин. контур | 15,8 | 30,0 | 18,0 | 18,600 | 40,0 | 23,000 | 50,000 | 3,0 | |||||
Мин. контур <1> | 15,7 | 29,9 | 17,7 | 18,580 | 39,5 | 22,990 | 49,990 | 2,7 | |||||
20 | Макс. контур <1> | 19,8 | 36,1 | 23,3 | 22,626 | 50,5 | 27,013 | 60,013 | 3,8 | ||||
Номин. контур | 19,7 | 36,0 | 23,0 | 22,600 | 50,0 | 27,000 | 60,000 | 3,5 | |||||
Мин. контур <1> | 19,6 | 35,9 | 22,7 | 22,574 | 49,5 | 26,987 | 59,987 | 3,2 | |||||
24 | Макс. контур <1> | 23,7 | 42,1 | 28,3 | 26,030 | 55,5 | 40,015 | 70,015 | 4,3 | ||||
Номин. контур | 23,6 | 42,0 | 28,0 | 26,000 | 55,0 | 40,000 | 70,000 | 4,0 | |||||
Мин. контур <1> | 23,5 | 41,9 | 27,7 | 25,970 | 54,5 | 39,985 | 69,985 | 3,7 | |||||
28 | Макс. контур <1> | 27,6 | 47,1 | 32,3 | 28,935 | 60,5 | 55,018 | 80,018 | 4,8 | ||||
Номин. контур | 27,5 | 47,0 | 32,0 | 28,900 | 60,0 | 55,000 | 80,000 | 4,5 | |||||
Мин. контур <1> | 27,4 | 46,9 | 31,7 | 28,865 | 59,5 | 54,982 | 79,982 | 4,2 | |||||
32 | Макс. контур <1> | 31,5 | 52,1 | 36,3 | 33,340 | 70,5 | 70,020 | 90,020 | 5,3 | ||||
Номин. контур | 31,4 | 52,0 | 36,0 | 33,300 | 70,0 | 70,000 | 90,000 | 5,0 | |||||
Мин. контур <1> | 31,3 | 51,9 | 35,7 | 33,260 | 69,5 | 69,980 | 89,980 | 4,7 | |||||

Условный размер | D1 | H5 | H6 |
11 | 13,800 +/- 0,011 | 30,0 +/- 0,5 | 1,0 +/- 0,3 |
16 | 20,800 +/- 0,014 | 40,0 +/- 0,5 | 1,0 +/- 0,3 |
20 | 25,100 +/- 0,018 | 50,0 +/- 0,5 | 1,0 +/- 0,3 |
24 | 30,000 +/- 0,020 | 55,0 +/- 0,5 | 1,0 +/- 0,3 |
28 | 34,900 +/- 0,023 | 60,0 +/- 0,5 | 1,0 +/- 0,3 |
32 | 39,300 +/- 0,026 | 70,0 +/- 0,5 | 1,0 +/- 0,3 |