Главная // Актуальные документы // ГОСТ (Государственный стандарт)СПРАВКА
Источник публикации
В данном виде документ опубликован не был.
Первоначальный текст документа опубликован в издании
М.: Издательство стандартов, 1984.
Информацию о публикации документов, создающих данную редакцию, см. в справке к этим документам.
Примечание к документу
С 1 июля 2003 года до вступления в силу технических регламентов акты федеральных органов исполнительной власти в сфере технического регулирования носят рекомендательный характер и подлежат обязательному исполнению только в части, соответствующей целям, указанным в
пункте 1 статьи 46 Федерального закона от 27.12.2002 N 184-ФЗ.
Текст данного документа приведен с учетом
поправки, введенной в действие с 09.01.2022, опубликованной в "ИУС", N 2, 2022.
Ограничение срока действия снято
Постановлением Госстандарта СССР от 27.12.1991 N 2223 ("ИУС", N 4, 1992).
Изменение N 3, утв. Постановлением Госстандарта СССР от 27.12.1991 N 2223, введено в действие с 01.07.1992.
Взамен ГОСТ 10577-63.
Название документа
"ГОСТ 10577-78*. Государственный стандарт Союза ССР. Нефтепродукты. Метод определения содержания механических примесей"
(введен в действие Постановлением Госстандарта СССР от 28.07.1978 N 2038)
(ред. от 27.12.1991)
"ГОСТ 10577-78*. Государственный стандарт Союза ССР. Нефтепродукты. Метод определения содержания механических примесей"
(введен в действие Постановлением Госстандарта СССР от 28.07.1978 N 2038)
(ред. от 27.12.1991)
Введен в действие
Постановлением Государственного
комитета СССР по стандартам
от 28 июля 1978 г. N 2038
ГОСУДАРСТВЕННЫЙ СТАНДАРТ СОЮЗА ССР
НЕФТЕПРОДУКТЫ
МЕТОД ОПРЕДЕЛЕНИЯ СОДЕРЖАНИЯ МЕХАНИЧЕСКИХ ПРИМЕСЕЙ
Petroleum products. Methods for the determination
of mechanical impurities
ГОСТ 10577-78*
| | Список изменяющих документов (в ред. Изменения N 1, утв. в апреле 1983 г., Госстандарта СССР от 30.06.1987 N 2989, Госстандарта СССР от 27.12.1991 N 2223) | |
(код в ред.
Изменения N 2, утв. Постановлением Госстандарта СССР от 30.06.1987 N 2989)
Взамен
ГОСТ 10577-63
Постановлением Государственного комитета СССР по стандартам от 28 июля 1978 г. N 2038 срок введения установлен с 01.01.1980.
Проверен в 1983 г. Постановлением Госстандарта от 27.04.1983 N 2094 срок действия продлен до 01.01.1988.
Переиздание (декабрь 1983 г.) с Изменением N 1, утвержденным в апреле 1983 г. (ИУС 8-83).
Настоящий стандарт распространяется на топливо для карбюраторных, дизельных и реактивных двигателей, рабочие жидкости и приборный лигроин и устанавливает метод определения механических примесей:
для контроля нефтепродуктов с применением мембранных нитроцеллюлозных и ацетатцеллюлозных фильтров;
для научно-исследовательских работ, проверки фильтрационных материалов, фильтров и фильтрующих систем для реактивных топлив с применением мембранных ядерных фильтров.
Сущность метода заключается в определении массы механических примесей, задерживаемых мембранными фильтрами при фильтровании через них испытуемого нефтепродукта. Метод не применяют для анализа нефтепродуктов, содержащих более 0,1% нерастворенной воды.
(в ред.
Изменения N 3, утв. Постановлением Госстандарта СССР от 27.12.1991 N 2223)
1. АППАРАТУРА, РЕАКТИВЫ И МАТЕРИАЛЫ
Госстандарта СССР от 27.12.1991 N 2223)
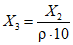
Воронка для фильтрования из нержавеющей стали с конической или цилиндрической верхней частью; верхнюю часть воронки соединяют с нижней при помощи накидной гайки (черт. 1).
1 - штифт; 2 - фильтр; 3 - прокладка; 4 - сетка
Черт. 1
Госстандарта СССР от 30.06.1987 N 2989)
Сетка латунная (или другого материала) 016 или 02 по
ГОСТ 6613-86 диаметром 35 мм под мембранные фильтры.
Промывалка вместимостью 500 - 1000 см3 с резиновой грушей.
Вставка для эксикатора 1-128 или 1-175 по
ГОСТ 9147-80, или круглая металлическая пластинка диаметром 140 - 190 мм с отверстиями диаметром 20 - 30 мм (черт. 2), или подставка пластмассовая с ребристой внутренней поверхностью любого типа.
1 - кристаллизационная чашка; 2 - пластинка на ножках
Шкаф сушильный или термостат любого типа с температурой нагрева (105 +/- 5) °C.
Мензурки или цилиндры по
ГОСТ 1770-74, вместимостью 500 - 1000 см3.
Пинцет любого типа без внутренних зубцов и пинцет эпиляционный (для мембранных ядерных фильтров).
Фильтры мембранные нитроцеллюлозные N 5 с порами размером 0,8 - 0,9 мкм или ацетатцеллюлозные "Владипор" марки МФА-МА N 9 с порами размером 0,85 - 0,95 мкм или мембранные ядерные фильтры с порами размером 0,80 - 0,95 мкм по ТУ 95 1667-88.
Штатив лабораторный.
Пленка полиэтиленовая любого типа.
Ткань льняная или другая, не дающая ворса.
Прокладки хлорвиниловые или фибровые толщиной 0,3 - 0,5 мм, вырезанные в виде кольца наружным диаметром 35 мм и внутренним диаметром 30 мм.
Насос водоструйный или вакуумный любого типа.
Бутылки стеклянные вместимостью 700 - 800 см3.
Стекла часовые или обычные диаметром 40 - 50 мм.
Весы лабораторные общего назначения 2 и 3-го классов точности, весы микроаналитические 2-го класса точности.
Палочка стеклянная длиной 150 - 200 мм, диаметром 4 - 5 мм с наконечником из хлорвиниловой трубки длиной 15 - 20 мм.
Стаканчики для взвешивания номинальной вместимостью 25 см3 по
ГОСТ 25336-82.
2. МЕТОД ОПРЕДЕЛЕНИЯ СОДЕРЖАНИЯ МЕХАНИЧЕСКИХ ПРИМЕСЕЙ
Госстандарта СССР от 27.12.1991 N 2223)
2.1. Подготовка к анализу
2.1.1. Промывалку для растворителя тщательно моют и затем ополаскивают профильтрованным растворителем.
Растворитель фильтруют в промывалку через мембранный фильтр, установленный в фильтровальной воронке блестящей стороной вверх.
(в ред.
Изменения N 3, утв. Постановлением Госстандарта СССР от 27.12.1991 N 2223)
(Измененная редакция, Изм. N 1).
2.1.2. Пробу испытуемого нефтепродукта (~400 см3 для одного определения) отбирают в чистые бутылки, которые предварительно ополаскивают профильтрованным растворителем.
2.1.3. Внутреннюю поверхность фильтровальной воронки, сетку под мембранный фильтр и прокладки для удаления с их поверхности механических примесей тщательно протирают льняной тряпочкой, смоченной профильтрованным растворителем, и промывают растворителем.
2.1.4. Мембранные фильтры выдерживают в дистиллированной воде в течение 30 мин, затем извлекают из воды, дают стечь и помещают на гладкую чистую горизонтальную стеклянную поверхность. Подсушивание фильтров проводят при окружающей температуре под кристаллизационной чашкой 15 - 30 мин, периодически переворачивая, затем высушивают 30 мин в сушильном шкафу при температуре (105 +/- 5) °C. Охлаждают 30 мин под кристаллизационной чашкой и взвешивают на весах с погрешностью не более 0,0002 г. Операцию высушивания фильтра повторяют до получения расхождения между последовательными взвешиваниями не более 0,0002 г.
(Измененная редакция, Изм. N 1).
Примечание. Ядерные мембранные фильтры высушивают в стаканчиках в течение 30 мин в сушильном шкафу при температуре (105 +/- 5) °C. Охлаждают 30 мин под кристаллизационной чашкой, закрыв стаканчик крышкой, и взвешивают на микроаналитических весах с погрешностью 0,00002 г. Операцию взвешивания повторяют до получения расхождений не более 0,00004 г.
(примечание введено
Изменением N 3, утв. Постановлением Госстандарта СССР от 27.12.1991 N 2223)
2.1.5. При подготовке фильтровальной воронки для работы в раструб ее нижней части помещают металлическую сетку, прокладку, а затем мембранный фильтр смачивают растворителем, укрепляют верхнюю часть воронки и завинчивают накидную гайку так, чтобы в местах соединения не было течи нефтепродукта. Затем воронку укрепляют в штативе над конической колбой.
(Измененная редакция, Изм. N 1).
2.2.1. Бутылку с пробой испытуемого нефтепродукта взвешивают на весах с погрешностью не более 0,5 г, перемешивают и фильтруют через мембранный фильтр в чистую сухую коническую колбу, наливая нефтепродукт в воронку по стеклянной палочке. Во время фильтрования воронка должна быть закрыта чехлом из полиэтиленовой пленки.
Допускается проведение фильтрации под вакуумом. Для этого воронку крепят на резиновой пробке в конической колбе, тубус которой соединяют с вакуумным шлангом с вакуумметром и водоструйным или вакуумным насосом.
После окончания фильтрования частью фильтрата из конической колбы или профильтрованным растворителем тщательно ополаскивают склянку, в которой была проба испытуемого нефтепродукта, и промывной продукт снова фильтруют через тот же мембранный фильтр в ту же коническую колбу.
Если в испытуемом нефтепродукте содержалась нерастворенная вода, то промывку склянки фильтратом и фильтрование его повторяют 4 - 5 раз, добиваясь удаления капелек воды и механических примесей со стенок и дна склянки. Применение спирто-эфирной или иной смеси, содержащей спирт, для растворения воды, оставшейся на стенках и дне склянки, не допускается (при использовании ядерных мембранных фильтров это ограничение снимается).
(в ред.
Изменения N 3, утв. Постановлением Госстандарта СССР от 27.12.1991 N 2223)
Частицы механических примесей, приставшие к стенкам воронки, снимают стеклянной палочкой с наконечником из хлорвиниловой трубки, с которого затем смывают их на фильтр растворителем с помощью промывалки с резиновой грушей.
Внутреннюю поверхность воронки промывают тем же растворителем.
(Измененная редакция, Изм. N 1).
2.2.2. Склянку, в которой содержалась проба испытуемого нефтепродукта, взвешивают с погрешностью не более 0,5 г и по разности масс склянки до и после фильтрования определяют массу профильтрованного нефтепродукта.
2.2.3. Мембранный фильтр с осадком вынимают из воронки для фильтрования, помещают на часовое стекло и сушат в течение 30 мин в сушильном шкафу при температуре (105 +/- 5) °C. Охлаждают 30 мин под кристаллизационной чашкой (см.
черт. 2) и взвешивают на весах с погрешностью 0,0002 г. Операцию высушивания повторяют до получения расхождения между двумя последовательными взвешиваниями не более 0,0002 г.
(Измененная редакция, Изм. N 1).
Примечание. Ядерные мембранные фильтры вынимают из воронки для фильтрования, помещают в стаканчик и сушат в сушильном шкафу при температуре (105 +/- 5) °C в течение 30 мин. Охлаждают, закрыв стаканчик крышкой, и взвешивают с погрешностью 0,00002 г. Операцию высушивания повторяют до получения расхождений не более 0,00004 г.
(примечание введено
Изменением N 3, утв. Постановлением Госстандарта СССР от 27.12.1991 N 2223)
2.3. Обработка результатов
2.3.1. Массовую долю механических примесей нефтепродуктов

, кроме дизельных топлив, в процентах вычисляют по формуле

,
где

- масса часового стекла (стаканчика) с мембранным фильтром после анализа, мг;
(в ред.
Изменения N 3, утв. Постановлением Госстандарта СССР от 27.12.1991 N 2223)

- масса часового стекла (стаканчика) с мембранным фильтром до анализа, мг;
(в ред.
Изменения N 3, утв. Постановлением Госстандарта СССР от 27.12.1991 N 2223)

- масса испытуемого нефтепродукта, мг.
Массовую долю механических примесей вычисляют с точностью до 0,0001% (с точностью до 0,00001% при использовании ядерных мембранных фильтров).
(в ред.
Изменения N 3, утв. Постановлением Госстандарта СССР от 27.12.1991 N 2223)
(Измененная редакция, Изм. N 1).
2.3.2. Массовую долю механических примесей дизельных топлив

в мг/дм3 вычисляют по формуле

,
где 0,6 - коэффициент осмоления фильтра;
0,3 - поправка на массу частиц размером менее 0,8 - 0,9 мкм, мг;
0,4 - объем профильтрованного топлива, дм3.
Массовую долю механических примесей дизельных топлив вычисляют с точностью до 0,1 мг/дм3.
Примечание. При использовании мембранных ядерных фильтров коэффициент осмоления и поправка на массу частиц размером менее 0,8 - 0,9 мкм не вводятся.
(примечание введено
Изменением N 3, утв. Постановлением Госстандарта СССР от 27.12.1991 N 2223)
2.3.3. Массовую долю механических примесей дизельных топлив

в процентах вычисляют по формуле

,
где

- массовая доля механических примесей, мг/дм3;

- плотность топлива при температуре 20 °C, кг/м3.
2.3.4. За результат анализа нефтепродуктов принимают среднее арифметическое значение двух последовательных определений.
2.4.1. Сходимость
(в ред.
Изменения N 2, утв. Постановлением Госстандарта СССР от 30.06.1987 N 2989)
Расхождение между результатами двух последовательных определений, полученными одним лаборантом на одной и той же аппаратуре и пробе нефтепродукта в одинаковых условиях, признается достоверным (при доверительной вероятности 95%), если оно не превышает 0,0002%; для дизельных топлив - не превышает значение, указанное на черт. 2а для большего результата.
1 - воспроизводимость; 2 - сходимость
Госстандарта СССР от 30.06.1987 N 2989)
2.4.2. Воспроизводимость
Расхождение между результатами определений, полученными в разных лабораториях на одной и той же пробе нефтепродукта в одинаковых условиях, признается достоверным (при доверительной вероятности 95%), если оно не превышает 0,001%; для дизельных топлив - не превышает значение, указанное на
черт. 2а для большего результата.
Пп. 2.3.2 - 2.3.4, 2.4, 2.4.1, 2.4.2. (Введены дополнительно, Изм. N 1).
Раздел 3 исключен с 1 июля 1992 года. -
Изменение N 3, утв. Постановлением Госстандарта СССР от 27.12.1991 N 2223.