Главная // Актуальные документы // ГОСТ (Государственный стандарт)СПРАВКА
Источник публикации
М., Стандартинформ, 2014
Примечание к документу
Действие данного документа, утратившего силу с 01.01.2023 в связи с введением в действие
ГОСТ Р ИСО/МЭК 17000-2022 Приказом Росстандарта от 30.11.2022 N 1426-ст, восстановлено с 26.01.2023 на период до 01.01.2024 (
Приказ Росстандарта от 26.01.2023 N 54-ст). В соответствии с
Приказом Росстандарта от 16.01.2024 N 4-ст, действие данного документа продлено на период до 01.01.2025.
Документ утрачивал силу на территории Российской Федерации с 01.01.2023 в связи с изданием
Приказа Росстандарта от 30.11.2022 N 1426-ст. Взамен вводился в действие
ГОСТ Р ИСО/МЭК 17000-2022.
Текст данного документа приведен с учетом
поправки, опубликованной в ИУС "Национальные стандарты", N 9, 2014.
Документ
введен в действие с 01.09.2013.
Название документа
"ГОСТ ISO/IEC 17000-2012. Межгосударственный стандарт. Оценка соответствия. Словарь и общие принципы"
(введен в действие Приказом Росстандарта от 25.01.2012 N 1962-ст)
"ГОСТ ISO/IEC 17000-2012. Межгосударственный стандарт. Оценка соответствия. Словарь и общие принципы"
(введен в действие Приказом Росстандарта от 25.01.2012 N 1962-ст)
агентства по техническому
регулированию и метрологии
от 25 января 2012 г. N 1962-ст
МЕЖГОСУДАРСТВЕННЫЙ СТАНДАРТ
ОЦЕНКА СООТВЕТСТВИЯ
СЛОВАРЬ И ОБЩИЕ ПРИНЦИПЫ
Conformity assessment. Vocabulary and general principles
(ISO/IEC 17000:20004, IDT)
ГОСТ ISO/IEC 17000-2012
Дата введения
1 сентября 2013 года
Цели, основные принципы и основной порядок проведения работ по межгосударственной стандартизации установлены
ГОСТ 1.0-92 "Межгосударственная система стандартизации. Основные положения" и
ГОСТ 1.2-2009 "Межгосударственная система стандартизации. Стандарты межгосударственные, правила и рекомендации по межгосударственной стандартизации. Порядок разработки, принятия, применения, обновления и отмены".
1 Разработан Открытым акционерным обществом "Всероссийский научно-исследовательский институт сертификации" (ОАО "ВНИИС").
2 Внесен Федеральным агентством по техническому регулированию и метрологии (Росстандарт).
3 Принят Межгосударственным советом по стандартизации, метрологии и сертификации (протокол от 3 января 2012 г. N 54-П).
За принятие проголосовали:
Краткое наименование страны по МК (ИСО 3166) 004-97 | Код страны по МК (ИСО 3166) 004-97 | Сокращенное наименование национального органа по стандартизации |
Азербайджан | AZ | Азстандарт |
Армения | AM | Минэкономики Республики Армения |
Киргизия | KG | Кыргызстандарт |
Россия | RU | Росстандарт |
4
Приказом Федерального агентства по техническому регулированию и метрологии от 25 декабря 2012 г. N 1962-ст межгосударственный стандарт ГОСТ ИСО/МЭК 17000-2012 введен в действие в качестве национального стандарта Российской Федерации с 1 сентября 2013 г.
5 Настоящий стандарт идентичен международному стандарту ISO/IEC 17000:2004 Conformity assessment - Vocabulary and general principles (Оценка соответствия. Словарь и общие принципы).
Международный стандарт разработан Международной организацией по стандартизации (ISO) и Международной электротехнической комиссией (IEC).
Перевод с английского языка (en).
Официальный экземпляр международного стандарта находится в Федеральном информационном фонде технических регламентов и стандартов.
Сведения о соответствии межгосударственных стандартов ссылочным международным стандартам приведены в дополнительном
Приложении ДА.
Степень соответствия - идентичная (IDT).
6 Введен впервые.
Информация об изменениях к настоящему стандарту публикуется в ежегодном информационном указателе "Национальные стандарты", а текст изменений и поправок - в ежемесячном информационном указателе "Национальные стандарты". В случае пересмотра (замены) или отмены настоящего стандарта соответствующее уведомление будет опубликовано в ежемесячном информационном указателе "Национальные стандарты". Соответствующая информация, уведомление и тексты размещаются также в информационной системе общего пользования - на официальном сайте Федерального агентства по техническому регулированию и метрологии в сети Интернет.
--------------------------------
<1> Введение к международному стандарту ISO/IEC 17000 "Оценка соответствия. Словарь и общие принципы".
0.1 Термины и определения, относящиеся к оценке соответствия
Руководства ИСО, ИСО/МЭК и с недавнего времени международные стандарты, предметно связанные с такими видами деятельности по оценке соответствия, как испытания, контроль и различные формы сертификации, разрабатываются рабочими группами Комитета ИСО по оценке соответствия (КАСКО). В течение многих лет, в последний раз пересмотренное в 1996 г., включало в себя базовый словарь по оценке соответствия, составленный из небольшого числа терминов и определений, впервые собранных вместе, чтобы способствовать обмену информацией и пониманию вопросов сертификации продукции на основе стандартов на традиционные промышленные изделия.
В 2000 г. КАСКО решил исключить терминологию в области оценки соответствия (разделы 12 - 17) и предложить вместо этого самостоятельный словарь, более легко применимый в рамках планируемых стандартов ИСО/МЭК серии 17000, а также при разработке или пересмотре соответствующих руководств. Рабочая группа РГ 5 КАСКО "Определения", проведя консультации с другими рабочими группами КАСКО, разработала международный стандарт ISO/IEC 17000 в качестве согласованной основы, в рамках которой более специфические понятия могут быть определены соответствующим образом и выражены наиболее подходящими терминами. Дополнительные термины для понятий, относящихся только к конкретным видам деятельности в области оценки соответствия, например, к аккредитации, сертификации персонала и знакам соответствия, можно найти в международном стандарте или руководстве, связанных с этой деятельностью. Эти понятия не приведены в международном стандарте ISO/IEC 17000.
Пока не будут пересмотрены прежние публикации КАСКО, используемая в них терминология продолжает действовать в рамках контекста своего применения; международный стандарт ISO/IEC 17000 обратной силы не имеет.
Оценка соответствия связана с такими областями, как системы менеджмента, метрология, стандартизация и статистика. В международном стандарте ISO/IEC 17000 не определены границы понятия оценки соответствия. Они остаются гибкими.
0.2 Термины и определения, относящиеся к торговой политике
В раздел 7 включены некоторые термины и определения, взятые в основном из замененных разделов для более широких понятий. Они предназначены не только для стандартизации их использования в сообществе по оценке соответствия, но также для содействия руководителям, определяющим политику и заинтересованным в устранении ограничений в торговле в рамках регулирования и международных договоров.
0.3 Функциональный подход к оценке соответствия
Термины и определения, установленные настоящим стандартом, в частности приведенные в разделах 4 и 5, отражают принятый КАСКО в ноябре 2001 г. функциональный подход, рекомендованный ранее в этом же году в заключительном отчете совместной рабочей группы КАСКО-СЕН/СЕНЭЛЕК ТК1.
Чтобы обеспечить более четкое осмысление определяемых понятий, их группирование и взаимосвязь, в
Приложение A для информации включено описание функционального подхода.
0.4 Выбор терминов и определений
Ряд терминов, включенных в международный стандарт ISO/IEC 17000, относится к важным понятиям, для которых необходимо дать определение. Было уточнено значение некоторых других терминов. Многие общие термины, которые использованы для различения понятий в области оценки соответствия, применяются в общеупотребительном языке в более широком смысле или в более широком диапазоне значений. Некоторые термины также могут содержаться в других словарях стандартизованных терминов вместе с определениями, специфичными для соответствующей области применения.
Алфавитный указатель содержит термины, определенные в международном стандарте ISO/IEC 17000. В
Приложении B приведены стандарты, определяющие соответствующие термины в алфавитном порядке. Сначала приведены термины, относящиеся к специальным аспектам оценки соответствия, как они определены в других стандартах ИСО/МЭК серии 17000. Затем приведены термины, определения которых, данные в Международном словаре основных и общих терминов в области метрологии (МСМ) или в стандарте ISO 9000 "Системы менеджмента качества. Основные положения и словарь", в общем случае применимы в контексте оценки соответствия. Для терминов "процедура" и "продукция", часто употребляемых в других определениях, в
3.2 и
3.3 воспроизведены определения из стандарта ISO 9000:2000.
0.5 Изменения в терминологии
Следует обратить внимание на значительные изменения терминов и их определений из замененных разделов Руководства ИСО/МЭК 2.
В международный стандарт ISO/IEC 17000 не включено определение понятия "соответствие" ("conformity"), поскольку это не является необходимым. Понятие "соответствие" не фигурирует в определении термина "оценка соответствия". Понятие "оценка соответствия" связано с выражением "выполнение заданных требований", а не с более широким понятием "соответствие". Определение термина "заданное требование" (3.1) включено. В английском языке термин "соответствие" ("compliance") используется для выражения действия - "выполнять то, что требуется" [например, организация "соответствует" ("complies") потому, что обеспечивает "соответствие" ("conformity") чего-либо или выполняет обязательное требование].
Определение термина "продукция"
(3.3), которое взято из ISO 9000, включает в себя услуги в качестве категории продукции, поэтому неправильно использовать выражение "продукция и услуги".
Вместо общего выражения "продукция, процесс или услуга", применяемого в ISO/IEC Guide 2 для определения "объекта ("subject") стандартизации",
примечание 2 к 2.1 вводит выражение "объект ("object") оценки соответствия", обозначающее продукцию, процесс, систему, лицо или орган, к которым применима оценка соответствия. ["Субъектом" ("subject") более логично считать орган, проводящий оценку.]
Вместо термина "assurance of conformity" применяется термин "attestation"
(5.2) для определения деятельности, результатом которой является "заявление о соответствии" ("statement of conformity").
Термин "аккредитация" теперь используется только для подтверждения соответствия органов по оценке соответствия. В противоположность этому, определение данного термина в ISO/IEC Guide 2 в равной мере может быть применено к сертификации персонала, как это установлено стандартом ISO/IEC 17024:2003 "Оценка соответствия. Общие требования к органам, проводящим сертификацию персонала". Результатом этого изменения явились раздельные определения терминов "орган по оценке соответствия"
(2.5) и "орган по аккредитации"
(2.6). Определения более узких терминов, относящихся к аккредитации, приведены в стандарте ISO/IEC 17011.
Во избежание неоднозначности термин "орган" применяется в международном стандарте ISO/IEC 17000 только в тех случаях, когда речь идет об органах по оценке соответствия или органах по аккредитации. И наоборот, термин "организация" применяется в своем общем значении, как он определяется в стандарте ISO 9000. Более специфическое определение термина "организации" в ISO/IEC Guide 2 как "органа", в основе которого лежит членство, неприменимо в области оценки соответствия.
Настоящий стандарт устанавливает общие термины и определения, относящиеся к оценке соответствия, включая аккредитацию органов по оценке соответствия, а также к использованию оценки соответствия в целях содействия торговле. Описание функционального подхода к оценке соответствия включено в
Приложение A для обеспечения взаимопонимания между пользователями результатов оценки соответствия, органами по оценке соответствия и органами по их аккредитации в рамках как добровольных, так и обязательных систем оценки соответствия.
Настоящий стандарт не предназначен для того, чтобы дать словарь всех понятий, которые могут быть использованы при описании конкретных видов деятельности по оценке соответствия. Термины и определения приведены в нем только в том случае, если определяемое понятие не может быть истолковано, исходя из общеупотребительного применения термина или если существующее стандартизованное определение неприемлемо.
Примечания
1 Примечания к некоторым определениям содержат пояснения или примеры понимания определяемых понятий.
| | ИС МЕГАНОРМ: примечание. Термины в определении или примечании, определения которых приводятся в другом пункте в оригинале документа выделены жирным шрифтом, в электронной версии выделены знаком "#". | |
2 Термины и определения расположены в систематизированном порядке и снабжены алфавитным указателем. Термин в определении или примечании, определение которого приводится в другом пункте, выделен жирным шрифтом с указанием номера этого пункта в круглых скобках. Такие термины могут быть заменены своим полным определением.
2 Термины, относящиеся к оценке соответствия в целом
2.1 #оценка соответствия# (conformity assessment): Доказательство того, что #заданные требования#
(3.1) к #продукции#
(3.3), процессу, системе, лицу или органу выполнены.
Примечания
1 Оценка соответствия включает в себя такие виды деятельности, определяемые в настоящем стандарте, как #испытание#
(4.2), #контроль#
(4.3) и #сертификация#
(5.5), а также #аккредитация#
(5.6) #органов по оценке соответствия#
(2.5).
2 Выражение "объект оценки соответствия" или "объект" используется в настоящем стандарте для обозначения конкретного материала, продукции, установки, процесса, системы, лица или органа, к которым применима оценка соответствия. Термин "продукция" включает в свое определение также понятие "услуга" (см.
примечание 1 к 3.3).
2.2 #деятельность по оценке соответствия первой стороной# (first-party conformity assessment activity): Деятельность по оценке соответствия, которую осуществляет лицо или организация, предоставляющее(ая) объект.
Примечание - Выражения "первая сторона", "вторая сторона" и "третья сторона", используемые для характеристики видов деятельности по оценке соответствия с учетом данного объекта, не следует путать с юридической идентификацией соответствующих сторон какого-либо контракта.
2.3 #деятельность по оценке соответствия второй стороной# (second-party conformity assessment activity): Деятельность по оценке соответствия, которую осуществляет лицо или организация, заинтересованное(ая) в объекте как пользователь.
Примечания
1 Лицами или организациями, осуществляющими деятельность по оценке соответствия второй стороной, являются, например, покупатели или пользователи продукции, или потенциальные потребители, желающие довериться системе менеджмента поставщика, или организации, представляющей их интересы.
2.4 #деятельность по оценке соответствия третьей стороной# (third-party conformity assessment activity): Деятельность по оценке соответствия, которую осуществляет лицо или орган, независимое(ый) от лица или организации, предоставляющего(ей) объект, и от пользователя, заинтересованного в этом объекте.
Примечания
1 Критерии независимости органов по оценке соответствия и органов по аккредитации представлены в международных стандартах и руководствах, применяемых с учетом характера их деятельности (см.
Библиографию).
2.5 #орган по оценке соответствия# (conformity assessment body): Орган, оказывающий услуги по оценке соответствия.
Примечание - #Орган по аккредитации#
(2.6) не является органом по оценке соответствия.
2.6 #орган по аккредитации# (accreditation body): Полномочный орган, который проводит #аккредитацию#
(5.6).
Примечание - Обычно орган по аккредитации получает полномочия от правительства.
2.7 #система оценки соответствия# (conformity assessment system): Правила, #процедуры#
(3.2) и менеджмент, используемые для выполнения #оценки соответствия#
(2.1).
Примечание - Системы оценки соответствия могут действовать на международном, региональном, национальном или поднациональном уровне.
2.8 #схема оценки соответствия (программа оценки соответствия)# (conformity assessment scheme, conformity assessment programme): #Система оценки соответствия#
(2.7), относящаяся к определенным объектам оценки соответствия, к которым применяются одни и те же #заданные требования#
(3.1), определенные правила и #процедуры#
(3.2).
Примечание - Схемы оценки соответствия могут действовать на международном, региональном, национальном или поднациональном уровне.
2.9 #доступ (доступ к системе или схеме)# (access, access to a system or scheme): Возможность для заявителя получить #оценку соответствия#
(2.1) согласно правилам системы или схемы.
2.10 #участник (участник системы или схемы)# (participant, participant in a system or scheme): Орган, действующий согласно принятым правилам и не имеющий возможности участвовать в менеджменте системы или схемы.
2.11 #член (член системы или схемы)# (member, member of a system or scheme): Орган, действующий согласно принятым правилам и имеющий возможность участвовать в менеджменте системы или схемы.
3.1 #заданное требование# (specified requirement): Заявленная потребность или ожидание.
Примечание - Заданные требования могут быть установлены нормативными документами, такими как регламенты, стандарты и технические условия. Требования, заданные заявителем, рассматриваются как заявленные требования.
#процедура# (procedure): Установленный способ осуществления деятельности или процесса. [ISO 9000:2000, 3.4.5] |
#продукция# (product): Результат процесса. [ISO 9000:2000, 3.4.2] |
Примечания
1 Стандарт ISO 9000:2000 рассматривает четыре общие категории продукции: услуги (например, транспортировка); программные средства (например, компьютерная программа, словарь); технические средства (например, двигатель, механическая деталь); перерабатываемые материалы (например, смазка). Множество продукции включает в себя элементы, принадлежащие к разным общим категориям. Ее название в этом случае зависит от преобладающего элемента.
2 Заявление о соответствии, о котором идет речь в
примечании 1 к 5.2, может рассматриваться как результат #подтверждения соответствия#
(5.2).
4 Термины по оценке соответствия, относящиеся
4.1 #отбор образцов# (sampling): Извлечение образцов, представляющих объект оценки соответствия, согласно #процедуре#
(3.2).
4.2 #испытание# (testing): Определение одной или более характеристик объекта оценки соответствия согласно #процедуре#
(3.2).
Примечание - Термин "испытание" обычно относится к материалам, продукции или процессам.
4.3 #контроль# (inspection): Проверка проекта, продукции или процесса и определение их соответствия заданным требованиям или, на основе профессионального суждения, общим требованиям.
Примечание - Контроль процесса может предусматривать проверку персонала, оборудования, технологии и методологии.
4.4 #аудит# (audit): Систематический, независимый и документированный процесс получения записей, фиксирования фактов или другой соответствующей информации и их объективного оценивания с целью установления степени выполнения #заданных требований#
(3.1).
Примечание - В то время как термин "аудит" относится к системам менеджмента, термин "оценка" применяется к органам по оценке соответствия, а также используется в более общем смысле.
4.5 #паритетная оценка# (peer assessment): Оценка органа на соответствие #заданным требованиям#
(3.1), осуществляемая представителями других органов, входящих в #группу соглашения#
(7.10), или кандидатами на вхождение в эту группу.
5 Термины по оценке соответствия, относящиеся к итоговой
проверке и подтверждению соответствия (см.
рисунок A.1)
5.1 #итоговая проверка# (review): Верификация пригодности, адекватности и эффективности выбора и определения, а также их результативности с учетом выполнения #заданных требований#
(3.1) объектом оценки соответствия.
5.2 #подтверждение соответствия# (attestation): Выдача заявления, основанного на принятом после #итоговой проверки#
(5.1) решении о том, что выполнение #заданных требований#
(3.1) доказано.
Примечания
1 Окончательное заявление, о котором в настоящем стандарте идет речь как о "заявлении о соответствии", подтверждает, что заданные требования выполнены. Такое подтверждение само по себе не дает договорных или каких-либо других правовых гарантий.
2 Деятельность по подтверждению соответствия первой и третьей сторонами различается в соответствии с терминами, приведенными в
5.4 - 5.6. Для деятельности по подтверждению соответствия второй стороной специального термина не существует.
5.3 #область подтверждения соответствия# (scope of attestation): Диапазон или характеристики объектов оценки соответствия, охватываемых #подтверждением соответствия#
(5.2).
5.4 #декларация# (declaration): #Подтверждение соответствия#
(5.2) первой стороной.
5.5 #сертификация# (certification): #Подтверждение соответствия#
(5.2) третьей стороной, относящееся к продукции, процессам, системам или персоналу.
Примечания
1 Сертификацию системы менеджмента иногда называют регистрацией.
2 Сертификация применима ко всем объектам оценки соответствия, за исключением самих #органов по оценке соответствия#
(2.5), к которым применим термин #"аккредитация"# (5.6).
5.6 #аккредитация# (accreditation): #Подтверждение соответствия#
(5.2) третьей стороной, относящееся к #органу по оценке соответствия#
(2.5) и служащее официальным признанием его компетентности для выполнения конкретных задач по оценке соответствия.
6 Термины по оценке соответствия, относящиеся
6.1 #инспекционный контроль# (surveillance): Систематическое наблюдение за деятельностью по оценке соответствия как основы поддержания правомерности заявления о соответствии.
6.2 #приостановка# (suspension): Временное признание недействительным заявления о соответствии всей или части установленной #области подтверждения соответствия#
(5.3).
6.3 #отмена# (withdrawal, revocation): Прекращение действия заявления о соответствии.
6.4 #апелляция# (appeal): Запрос представителя объекта оценки соответствия в #орган по оценке соответствия#
(2.5) или #орган по аккредитации#
(2.6) о пересмотре решения, принятого этим органом в отношении данного объекта.
6.5 жалоба (претензия) (complaint): В отличие от апелляции
(6.4) выражение неудовлетворенности деятельностью органа по оценке соответствия
(2.5) или органа по аккредитации
(2.6) со стороны какого-либо лица или организации с ожиданием ответа.
7 Термины, относящиеся к области оценки соответствия
и содействия торговле
Примечание - Общее выражение "результат оценки соответствия" используется в
7.4 - 7.9 для обозначения #продукции#
(3.3) при любом виде деятельности по оценке соответствия (например, отчет или сертификат) и может включать в себя вывод о несоответствии.
7.1 #утверждение (одобрение)# (approval): Разрешение на выпуск #продукции#
(3.3) или процесса на рынок или на их использование по заданному назначению или в заданных условиях.
Примечание - Утверждение может быть основано на выполнении #заданных требований#
(3.1) или соблюдении установленных #процедур#
(3.2).
7.2 #уполномочивание (назначение)# (designation): Наделение органом исполнительной власти #органа по оценке соответствия#
(2.5) правом выполнения определенной деятельности по оценке соответствия.
7.3 #уполномочивающий орган (назначающий орган)# (designating authority): Орган исполнительной власти, наделенный правительством полномочиями назначать (уполномочивать) #органы по оценке соответствия#
(2.5), приостанавливать или отменять их уполномочивание (назначение) или отменять приостановку действия их #уполномочивания# (назначения)
(7.2).
7.4 #эквивалентность (эквивалентность результатов оценки соответствия)# (equivalence, equivalence of conformity assessment results): Достаточность различных результатов оценки соответствия для обеспечения одного и того же уровня подтверждения соответствия в отношении одних и тех же #заданных требований#
(3.1).
7.5 #признание (признание результатов оценки соответствия)# (recognition, recognition of conformity assessment results): Признание достоверности результата оценки соответствия, проведенной другим лицом или органом.
7.6 #принятие (принятие результатов оценки соответствия)# (acceptance, acceptance of conformity assessment results): Использование результата оценки соответствия, проведенной другим лицом или органом.
7.7 #односторонняя договоренность# (unilateral arrangement): Договоренность, при которой одна сторона признает или принимает результаты оценки соответствия другой стороны.
7.8 #двусторонняя договоренность# (bilateral arrangement): Договоренность, при которой две стороны признают или принимают результаты оценки соответствия, полученные каждой из сторон.
7.9 #многосторонняя договоренность# (multilateral arrangement): Договоренность, при которой более двух сторон признают или принимают результаты оценки соответствия каждой из сторон.
7.10 #группа соглашения# (agreement group): Органы, подписавшие соглашение, на котором основывается договоренность.
7.11 #взаимность# (reciprocity): Взаимоотношения двух сторон, при которых обе стороны имеют равные права и обязанности по отношению друг к другу.
Примечания
1 Взаимность может существовать в рамках многосторонней договоренности, представляющей собой сеть двусторонних взаимных отношений.
2 Несмотря на равные права и обязанности, вытекающие из них возможности могут различаться, что может привести к неравным отношениям между сторонами.
7.12 #равноправный режим# (equal treatment): Режим, предоставляемый #продукции#
(3.3) или процессам одного поставщика, который является не менее благоприятным, чем режим, предоставляемый аналогичной продукции или процессам любого другого поставщика в сравнимой ситуации.
7.13 #национальный режим# (national treatment): Режим, предоставляемый #продукции#
(3.3) или процессам из других стран, который является не менее благоприятным, чем режим, предоставляемый аналогичной продукции или процессам национального происхождения в сравнимой ситуации.
7.14 #равноправно-национальный режим# (equal and national treatment): Режим, предоставляемый #продукции#
(3.3) или процессам из других стран, который является не менее благоприятным, чем режим, предоставляемый аналогичной продукции или процессам национального происхождения или продукции или процессам из других стран в сравнимой ситуации.
(справочное)
ПРИНЦИПЫ ОЦЕНКИ СООТВЕТСТВИЯ
A.1 Функциональный подход
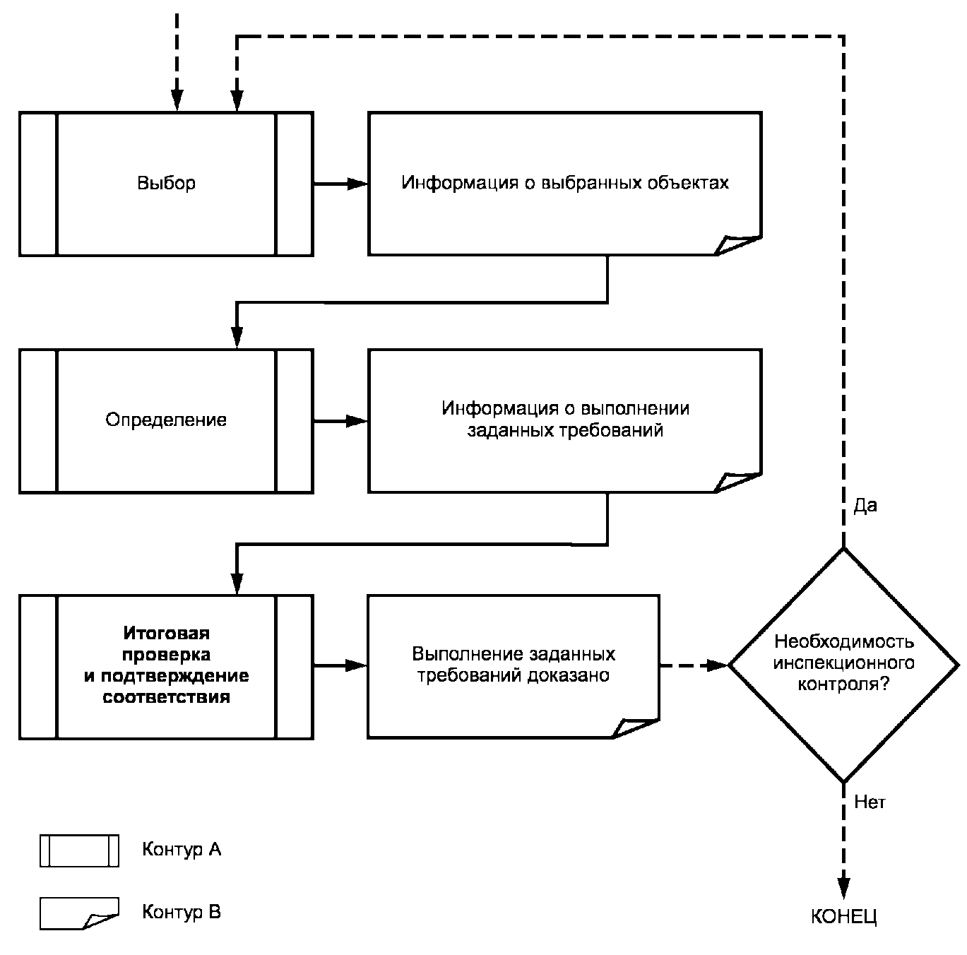
A.1.1 Оценка соответствия - это последовательность трех функций, которые удовлетворяют необходимости или потребности доказать, что заданные требования выполняются:
- выбор;
- определение;
- итоговая проверка и подтверждение соответствия.
Такие доказательства могут придать дополнительную содержательность и весомость заявлениям о том, что заданные требования выполняются, повышая доверие пользователей к этим заявлениям. В качестве заданных требований часто используются стандарты, так как они являются документами, отражающими широкий консенсус по вопросам, которые хотят решить в данной ситуации. В результате оценка соответствия часто рассматривается как деятельность, связанная со стандартами.
A.1.2 Оценка соответствия может быть применена к продукции (включая услуги), процессам, системам и персоналу, а также к органам, предоставляющим услуги по оценке соответствия. Для удобства в настоящем стандарте выражение "объект оценки соответствия" применено для общей ссылки на какой-либо один или на все эти объекты.
A.1.3 Каждая из категорий пользователей услуг по оценке соответствия имеет свои конкретные потребности. В результате имеет место многообразие видов деятельности по оценке соответствия. Однако в основе всех видов деятельности по оценке соответствия лежит общий подход, как показано на рисунке A.1.
Потребность доказать, что заданные требования выполняются
Рисунок A.1 - Функциональный подход к оценке соответствия
A.1.4 Контур A на
рисунке A.1 обозначает функции оценки соответствия. Конкретные виды деятельности в каждой функции могут меняться в зависимости от вида оценки соответствия, основываясь на потребности пользователя, характере заданных требований и объекте оценки соответствия.
A.1.5 Контур B на
рисунке A.1 обозначает выход из функции и вход в следующую функцию. Характер выхода меняется в зависимости от предпринимаемых конкретных видов деятельности.
A.1.6 Сплошные стрелки на
рисунке A.1 связывают функции оценки соответствия и их выходы/входы. Пунктирные стрелки указывают на возможную необходимость или возможное требование проведения оценки соответствия.
A.1.7 Деятельность по оценке соответствия можно охарактеризовать как деятельность первой, второй или третьей стороны. В целом для каждой из этих категорий:
- деятельность по оценке соответствия находится под контролем или руководством лица или органа, указанных в определении понятия;
- принципиальное решение, которое лежит в основе подтверждения соответствия, выносится лицом или органом, указанными в определении понятия.
A.2.1 Функция выбора предусматривает планирование и подготовку действий для сбора или представления всей информации, являющейся входными данными для следующей функции - определения. Действия, необходимые для выполнения функции выбора, существенно различаются по количеству и сложности: в некоторых случаях могут потребоваться очень незначительные действия.
A.2.2 Для выбора объекта оценки соответствия необходимо принимать во внимание его особенности. Часто таким объектом может быть партия идентичных изделий, текущее производство, непрерывный процесс или система, объект может представлять собой совокупность, имеющую различные местоположения. В подобных случаях может возникнуть необходимость в отборе проб или образцов, используемых в действиях в рамках функции определения. Так, примером масштабной и значительной деятельности по отбору проб следует считать план отбора проб речной воды, связанный с доказательством того, что требования по допустимому загрязнению были выполнены. Однако иногда объектом может быть целая совокупность, например, когда одно отдельно взятое изделие является объектом оценки соответствия. Даже в таких случаях функция выбора может быть необходима для отбора части целого объекта, которая является его представительным элементом (например, выбор критических деталей моста для определения усталости материала).
A.2.3 Может также потребоваться принятие в расчет заданных требований. Во многих случаях имеется стандарт или другие ранее действовавшие требования. Однако в случае применения ранее действовавших требований к конкретному объекту оценки соответствия следует проявлять осторожность, например, при применении стандарта, разработанного для металлических труб, к трубам из пластмассы. В некоторых случаях может действовать только общий комплекс требований, которые должны быть расширены применительно к оценке соответствия, чтобы быть понятными и приемлемыми для пользователя. Например, орган власти может потребовать, чтобы продукция не заключала в себе неприемлемого риска безопасности (общее требование), и потребовать от органа по сертификации установления специальных требований к отдельным сертифицируемым изделиям или видам продукции. Может также возникнуть необходимость в том, чтобы больше внимания уделялось общим требованиям системы менеджмента, если эта система направлена на выполнение конкретных эксплуатационных требований.
A.2.4 Функция выбора может также включать в себя отбор наиболее подходящих процедур (например, методов испытания или контроля), применяемых для выполнения действий в рамках функции определения. Нередко для выполнения этих действий должны быть разработаны новые или изменены действующие методы. Рассмотрение методов может предполагать выбор правильного местоположения, соответствующих условий или персонала для их выполнения.
A.2.5 Наконец, для надлежащего выполнения действий в рамках функции определения может потребоваться дополнительная информация, чтобы доказать выполнение заданных требований. Например, область испытаний, необходимая для аккредитации лаборатории, должна быть определена до начала деятельности по определению. Может также потребоваться описание услуги для выполнения соответствующих действий по определению. Кроме того, действием по определению может являться только анализ информации, и эта информация должна быть идентифицирована и собрана. Например, могут потребоваться копии инструкций по эксплуатации изделия или предостерегающие маркировки.
A.2.6 На
рисунке A.1 вся информация, образцы (если предусмотрен отбор образцов), решения и любые другие выходные данные функции выбора представлены как "информация о выбранных объектах".
A.3.1 Действия по определению предпринимаются с целью получения полной информации о выполнении заданных требований объектом оценки соответствия или его образцом. Некоторые виды действий по определению приведены в разделе 4.
A.3.2 Термины #"испытание"#
(4.2), #"контроль"#
(4.3), #"аудит"#
(4.4) и #"паритетная оценка"#
(4.5), устанавливаемые только как виды действий по определению, могут быть применены вместе с терминами "система" или "схема" при описании систем или схем оценки соответствия, которые включают в себя вид указанного действия по определению. Таким образом, "система паритетной оценки" - это система оценки соответствия, которая предусматривает паритетную оценку в качестве действия по определению.
A.3.3 Различные действия, выполняемые в рамках функции определения, не имеют специального названия или обозначения. Примером является изучение или анализ проектной документации или другой описательной информации, касающейся заданных требований. Некоторые виды оценки соответствия (например, испытание, сертификация, аккредитация) могут быть обозначены терминами, установленными для действий в рамках функции определения, которые являются единственными для данного вида. Ни в настоящем стандарте, ни в практике не существует общего термина, охватывающего все действия функции определения.
A.3.4 Следует четко различать действия в рамках функции определения, охарактеризованные как испытание или контроль.
A.3.5 На
рисунке A.1 все выходные данные функции определения представлены как "информация о выполнении заданных требований". Эти выходные данные представляют собой сочетание всей информации, полученной в результате деятельности по определению, и входных данных в функцию определения. Выходные данные обычно формируются так, чтобы облегчить выполнение действий в рамках функции итоговой проверки и подтверждения соответствия.
A.4 Итоговая проверка и подтверждение соответствия
A.4.1 "Итоговая проверка"
(5.1) является завершающей стадией перед принятием важного решения о том, было ли в достаточном объеме доказано выполнение объектом оценки соответствия заданных требований. Если да, то результатом #"подтверждения соответствия"#
(5.2) является "заявление", которое своевременно и в наиболее приемлемой форме доводится до всех потенциальных пользователей. "Заявление о соответствии" - это общеупотребительное выражение, которое подразумевает все способы сообщения о том, что выполнение заданных требований продемонстрировано.
A.4.2 Если выполнение заданных требований не было доказано, то в отчете может содержаться заключение о несоответствии.
A.4.3 Термины #"декларация"#
(5.4), #"сертификация"#
(5.5) и #"аккредитация"#
(5.6), определяемые только как виды подтверждения соответствия, могут быть применены вместе с терминами "система" или "схема" при описании систем или схем оценки соответствия, которые включают в себя вид деятельности по подтверждению соответствия, определенной как завершающий этап. Таким образом, "система сертификации" - это система оценки соответствия, которая предусматривает выбор, определение, итоговую проверку и, наконец, сертификацию в качестве деятельности по подтверждению соответствия.
A.4.4 На
рисунке A.1 все выходные данные функции итоговой проверки и подтверждения соответствия представлены как "выполнение заданных требований доказано".
A.5 Необходимость инспекционного контроля
A.5.1 Оценка соответствия может быть закончена, когда проведено подтверждение соответствия. Однако в некоторых случаях для поддержания достоверности заявления, сделанного в результате подтверждения соответствия, может потребоваться систематическое повторение функций, приведенных на
рисунке A.1. Потребности пользователей стимулируют такие действия. Например, объект оценки соответствия может со временем измениться, что может отрицательно повлиять на продолжение выполнения заданных требований. Или пользователи могут потребовать дальнейших доказательств того, что заданные требования выполнены, например, при непрерывном производстве продукции.
A.5.2 Действия по инспекционному контролю планируются в целях удовлетворения потребности подтвердить обоснованность действующего заявления, являющегося результатом подтверждения соответствия. Для этого обычно не требуется полного повторения первичной оценки при каждом повторном инспекционном контроле. Таким образом, действия в рамках каждой функции, представленной на
рисунке A.1, во время инспекционного контроля могут быть сокращены или могут отличаться от действий при первичной оценке.
A.5.3 Действия в рамках функции выбора проводятся как при первичной оценке, так и при инспекционном контроле. Однако при инспекционном контроле могут быть выбраны совсем другие действия. Например, испытания продукции могут быть выбраны при первичной оценке. В процессе же инспекционного контроля может быть проведена проверка с целью определить, что образец продукции является таким же, как и первоначально испытанный образец. Действительно, действия в рамках функции выбора могут время от времени меняться, исходя из информации о предыдущих инспекционных проверках и других входных данных. Текущий анализ риска или анализ ответной реакции рынка относительно реального выполнения заданных требований может быть частью действий в рамках функции выбора в процессе инспекционного контроля.
A.5.4 Выбор заданных требований также может быть разным. Например, при любом повторном инспекционном контроле может быть выбрана только отдельная группа заданных требований. Или, по аналогии, может быть выбрана только часть объекта оценки соответствия, например при инспекционном контроле аудиту может подлежать только часть аккредитованного органа по сертификации.
A.5.5 Как было указано выше, различные действия в рамках функции выбора могут привести к различным действиям в рамках функции определения для целей инспекционного контроля. Однако как при первичной оценке, так и при инспекционном контроле выходные данные функции выбора определяют действия для функции определения и способ их выполнения.
A.5.6 Функция итоговой проверки и подтверждения соответствия применяется в равной степени как при первичной оценке, так и при инспекционном контроле. При инспекционном контроле итоговая проверка всех входных и выходных данных (см.
рисунок A.1) ведет к принятию решения о том, действительно ли все еще заявление, сделанное по результатам подтверждения соответствия. Во многих случаях не предпринимается никаких специальных действий, если заявление продолжает оставаться действительным. В других случаях, например при расширении области аккредитации, может быть оформлено новое заявление о соответствии.
A.5.7 Если принято решение о том, что заявление о соответствии теперь недействительно, необходимы определенные меры по информированию пользователей, например о том, что область распространения подтверждения соответствия сокращена или что действие заявления приостановлено или прекращено.
(справочное)
СМЕЖНЫЕ ТЕРМИНЫ, ОПРЕДЕЛЕННЫЕ В ДРУГИХ ДОКУМЕНТАХ
B.1 Общие термины, имеющие специфические значения в стандартах ИСО/МЭК серии 17000
B.1.1 Сложные термины, определенные применительно к ISO/IEC 17011 и относящиеся к аккредитации:
- логотип органа по аккредитации;
- аттестат аккредитации;
- знак аккредитации;
- расширение области аккредитации;
- сужение области аккредитации;
- область аккредитации;
- приостановление аккредитации.
B.1.2 Общие термины, определенные применительно к ISO/IEC 17024 и относящиеся к сертификации персонала:
- компетентность;
- оценивание;
- эксперт;
- квалификация.
B.1.3 Сложные термины, определенные применительно к ISO/IEC 17030 и относящиеся к знакам соответствия:
- эмитент знака соответствия третьей стороны;
- владелец знака соответствия третьей стороны;
- знак соответствия третьей стороны.
B.2 Термины, определенные в стандартах ИСО/МЭК, не входящих в серию 17000
калибровка | MCM |
возможности | ISO 9000 |
характеристика | ISO 9000 |
компетентность | ISO 9000 |
соответствие | ISO 9000 |
потребитель | ISO 9000 |
документ | ISO 9000 |
информация | ISO 9000 |
измерение | MCM |
организация | ISO 9000 |
процесс | ISO 9000 |
спецификация | ISO 9000 |
поставщик | ISO 9000 |
система | ISO 9000 |
валидация | ISO 9000 |
верификация | ISO 9000 |
(справочное)
СВЕДЕНИЯ О СООТВЕТСТВИИ МЕЖГОСУДАРСТВЕННЫХ СТАНДАРТОВ
ССЫЛОЧНЫМ МЕЖДУНАРОДНЫМ СТАНДАРТАМ И ДОКУМЕНТАМ
Таблица ДА.1
Обозначение и наименование ссылочного международного стандарта (международного документа) | Степень соответствия | Обозначение и наименование соответствующего межгосударственного стандарта |
ISO/IEC 17025:2005 Общие требования к компетентности испытательных и калибровочных лабораторий | - | |
ISO/IEC Guide 65:1996 Общие требования к органам, применяющим системы сертификации продукции | - | |
ISO 9000:2005 "Системы менеджмента качества. Основные положения и словарь" | - | |
ISO 19011:2002 Руководящие указания по аудиту систем менеджмента качества и/или систем экологического менеджмента | - | |
ISO/IEC 17040:2005 Оценка соответствия. Общие требования к экспертной оценке органов по оценке соответствия и органов по аккредитации | - | |
ISO/IEC 17021:2006 Оценка соответствия. Требования к органам, обеспечивающим аудит и сертификацию систем менеджмента | - | |
ISO/IEC 17020:1998 Общие критерии работы различных типов контролирующих органов | - | |
| | ИС МЕГАНОРМ: примечание. В официальном тексте документа, видимо, допущена опечатка: имеется в виду ГОСТ ИСО/МЭК 17011-2009, а не ГОСТ ИСО/МЭК 17011-2008. | |
|
ISO/IEC 17011:2004 Общие требования к органам по аккредитации, аккредитующим органы по оценке соответствия | IDT | |
ISO/IEC 17024:2003 Оценка соответствия. Общие требования к органам, проводящим сертификацию персонала | - | |
ISO/IEC 17030:2003 Оценка соответствия. Общие требования к знакам соответствия третьей стороны | - | |
ISO/IEC 17050-1:2004 Оценка соответствия. Декларация поставщика о соответствии. Часть 1. Общие требования | - | |
ISO/IEC Guide 68:2002 Соглашения по признанию и принятию результатов оценки соответствия | - | |
ISO 3534 Статистика. Словарь и условные обозначения | - | |
ISO/IEC Guide 2:2004 Стандартизация и смежные виды деятельности. Общий словарь | - | |
-------------------------------- <*> Соответствующий межгосударственный стандарт отсутствует. До его принятия рекомендуется использовать перевод на русский язык данного межгосударственного стандарта или гармонизированный с ним национальный (государственный) стандарт страны, на территории которой применяется настоящий стандарт. Информация о наличии перевода данного межгосударственного стандарта в национальном фонде стандартов или в ином месте, а также информация о действии на территории страны соответствующего национального (государственного) стандарта может быть приведена в национальных информационных данных, дополняющих настоящий стандарт. |
Список документов ИСО, ИСО/МЭК по вопросам
оценки соответствия
Системы оценки соответствия на основе деятельности по определению
ISO/IEC 17020:1998 | General requirements for the competence of testing and calibration laboratories (Общие критерии деятельности различных органов, осуществляющих контроль) |
ISO/IEC 17025:2005 | General criteria for the operation of various types of bodies performing inspection (Общие требования к компетентности испытательных и поверочных лабораторий) |
ISO/IEC 17040:2005 | Conformity assessment - General requirements for peer assessment of conformity assessment bodies and accreditation bodie (Оценка соответствия. Общие требования к паритетной оценке органов по оценке соответствия и органов по аккредитации) |
ISO 19011:2002 | Guidelines for quality and/or environmental management systems auditing (Руководящие указания по аудиту систем менеджмента качества и/или систем экологического менеджмента) |
Системы оценки соответствия на основе деятельности по подтверждению соответствия
ISO/IEC 17011:2004 | Conformity assessment - General requirements for accreditation bodies accrediting conformity assessment bodies (Оценка соответствия. Общие требования к органам по аккредитации, аккредитующим органы по оценке соответствия) |
ISO/IEC 17021:2011 | Conformity assessment - Requirements for bodies providing audit and certification of management systems (Оценка соответствия. Общие требования к органам, проводящим аудит и сертификацию систем качества) |
ISO/IEC 17024:2003 | Conformity assessment - General requirements for bodies operating certification of persons (Оценка соответствия. Общие требования к органам, проводящим сертификацию персонала) |
ISO/IEC Guide 65:1996 | General requirements for bodies operating product certification systems (Общие требования к органам, применяющим системы сертификации продукции) |
Заявления о соответствии
ISO/IEC 17030:2003 | Conformity assessment - General requirements for third-party marks of conformity (Оценка соответствия. Общие требования к знакам соответствия при оценке, проводимой третьей стороной) |
ISO/IEC 17050-1:2004 | Conformity assessment - Supplier's declaration of conformity - Part 1: General requirements (Оценка соответствия. Декларация поставщика о соответствии. Часть 1: Общие требования) |
Признание и принятие результатов оценки соответствия
ISO/IEC Guide 68:2002 | Arrangements for the recognition and acceptance of conformity assessment results (Соглашения по признанию и принятию результатов оценки соответствия) |
Смежная терминология
ISO 3534:1977 | Statistics. Vocabulary and symbols (Статистика. Словарь и условные обозначения) |
ISO 9000:2000 | Quality management systems. Fundamentals and vocabulary (Системы менеджмента качества. Основные положения и словарь) |
ISO/IEC Guide 2:2004 | Standardization and related activities - General vocabulary (Стандартизация и смежные виды деятельности. Общий словарь) |
АЛФАВИТНЫЙ УКАЗАТЕЛЬ ТЕРМИНОВ НА РУССКОМ ЯЗЫКЕ
А |
аккредитация | |
апелляция | |
аудит | |
В |
взаимность | |
Г |
группа соглашения | |
Д |
двусторонняя договоренность | |
декларация | |
деятельность по оценке соответствия второй стороной | |
деятельность по оценке соответствия первой стороной | |
деятельность по оценке соответствия третьей стороной | |
доступ | |
доступ к системе или схеме | |
Ж |
жалоба | |
З |
заданное требование | |
И |
инспекционный контроль | |
испытание | |
итоговая проверка | |
К |
контроль | |
М |
многосторонняя договоренность | |
Н |
назначающий орган | |
назначение | |
национальный режим | |
О |
область подтверждения соответствия | |
односторонняя договоренность | |
одобрение | |
орган по аккредитации | |
орган по оценке соответствия | |
отбор образцов | |
отмена | |
оценка соответствия | |
П |
паритетная оценка | |
подтверждение соответствия | |
претензия | |
признание | |
признание результатов оценки соответствия | |
принятие | |
принятие результатов оценки соответствия | |
приостановка | |
программа оценки соответствия | |
продукция | |
процедура | |
Р |
равноправно-национальный режим | |
равноправный режим | |
С |
сертификация | |
система оценки соответствия | |
схема оценки соответствия | |
У |
уполномочивание | |
уполномочивающий орган | |
утверждение | |
участник | |
участник системы или схемы | |
Ч |
член | |
член системы или схемы | |
Э |
эквивалентность | |
эквивалентность результатов оценки соответствия | |
АЛФАВИТНЫЙ УКАЗАТЕЛЬ ТЕРМИНОВ НА АНГЛИЙСКОМ ЯЗЫКЕ
acceptance | |
acceptance of conformity assessment results | |
access | |
access to a system or scheme | |
accreditation | |
accreditation body | |
agreement group | |
appeal | |
approval | |
attestation | |
audit | |
bilateral arrangement | |
certification | |
complaint | |
conformity assessment | |
conformity assessment body | |
conformity assessment programme | |
conformity assessment scheme | |
conformity assessment system | |
declaration | |
designating authority | |
designation | |
equal and national treatment | |
equal treatment | |
equivalence | |
equivalence of conformity assessment results | |
first-party conformity assessment activity | |
inspection | |
member | |
member of a system or scheme | |
multilateral arrangement | |
national treatment | |
participant | |
participant in a system or scheme | |
peer assessment | |
procedure | |
product | |
reciprocity | |
recognition | |
recognition of conformity assessment results | |
review | |
revocation | |
sampling | |
scope of attestation | |
second-party conformity assessment activity | |
specified requirement | |
surveillance | |
suspension | |
testing | |
third-party conformity assessment activity | |
unilateral arrangement | |
withdrawal | |