Главная // Актуальные документы // ГОСТ (Государственный стандарт)СПРАВКА
Источник публикации
М.: Стандартинформ, 2013
Примечание к документу
Документ
введен в действие с 1 января 2013 года.
Название документа
"ГОСТ ISO 9585-2011. Межгосударственный стандарт. Имплантаты для хирургии. Определение прочности и жесткости на изгиб металлических пластинок для скрепления отломков кости"
(введен в действие Приказом Росстандарта от 13.12.2011 N 1376-ст)
"ГОСТ ISO 9585-2011. Межгосударственный стандарт. Имплантаты для хирургии. Определение прочности и жесткости на изгиб металлических пластинок для скрепления отломков кости"
(введен в действие Приказом Росстандарта от 13.12.2011 N 1376-ст)
Введен в действие
по техническому регулированию
и метрологии
от 13 декабря 2011 г. N 1376-ст
МЕЖГОСУДАРСТВЕННЫЙ СТАНДАРТ
ИМПЛАНТАТЫ ДЛЯ ХИРУРГИИ
ОПРЕДЕЛЕНИЕ ПРОЧНОСТИ И ЖЕСТКОСТИ НА ИЗГИБ МЕТАЛЛИЧЕСКИХ
ПЛАСТИНОК ДЛЯ СКРЕПЛЕНИЯ ОТЛОМКОВ КОСТИ
Implants for surgery. Determinatiom of bending strength
and stiffness of bone plates
(ISO 9585:1990, IDT)
ГОСТ ISO 9585-2011
Дата введения
1 января 2013 года
Цели, основные принципы и порядок проведения работ по межгосударственной стандартизации установлены
ГОСТ 1.0-92 "Межгосударственная система стандартизации. Основные положения" и
ГОСТ 1.2-2009 "Межгосударственная система стандартизации. Стандарты межгосударственные, правила и рекомендации по межгосударственной стандартизации. Правила разработки, принятия, применения, обновления и отмены".
1. Подготовлен Федеральным государственным унитарным предприятием "Всероссийский научно-исследовательский институт стандартизации и сертификации в машиностроении" (ВНИИНМАШ).
2. Внесен Федеральным агентством по техническому регулированию и метрологии.
3. Принят Межгосударственным советом по стандартизации, метрологии и сертификации (Протокол от 29 ноября 2011 г. N 40).
За принятие стандарта проголосовали:
Краткое наименование страны по МК (ИСО 3166) 004-97 | Код страны по МК (ИСО 3166) 004-97 | Сокращенное наименование национального органа по стандартизации |
Беларусь | BY | Госстандарт Республики Беларусь |
Казахстан | KZ | Госстандарт Республики Казахстан |
Кыргызстан | KG | Кыргызстандарт |
Российская Федерация | RU | Росстандарт |
Таджикистан | TJ | Таджикстандарт |
Узбекистан | UZ | Узстандарт |
4.
Приказом Федерального агентства по техническому регулированию и метрологии от 13 декабря 2011 г. N 1376-ст межгосударственный стандарт ГОСТ ISO 9585-2011 введен в действие в качестве национального стандарта Российской Федерации с 1 января 2013 г.
5. Настоящий стандарт идентичен международному стандарту ISO 9585:1990 Implants for surgery - Determination of bending strength and stiffness of bone plates (Имплантаты для хирургии. Определение прочности и жесткости на изгиб металлических пластинок для скрепления отломков кости).
Степень соответствия - идентичная (IDT).
Стандарт подготовлен на основе применения ГОСТ Р ИСО 9585-2009.
6. Введен впервые.
Информация о введении в действие (прекращении действия) настоящего стандарта публикуется в ежемесячно издаваемом информационном указателе "Национальные стандарты".
Информация об изменениях к настоящему стандарту публикуется в ежегодно издаваемом информационном указателе "Национальные стандарты", а текст изменений и поправок - в ежемесячно издаваемом информационном указателе "Национальные стандарты". В случае пересмотра или отмены настоящего стандарта соответствующая информация будет опубликована в информационном указателе "Национальные стандарты".
В настоящем стандарте представлен метод испытания и определения прочности и жесткости на изгиб прямых пластинок для скрепления отломков кости. Этот метод можно применять для испытаний пластинок с небольшой заданной кривизной, предназначенных для скрепления кости, а также для испытания прямого участка пластинок, согнутых под углом.
Примечание. Данный метод испытания не рекомендуется применять для пластинок длиной менее 50 мм.
В настоящем стандарте применены следующие термины с соответствующими определениями:
2.1. Крутящий момент: крутящее действие силы вокруг оси, выраженное числом, являющимся произведением силы F на расстояние h, измеряемое перпендикулярно от оси к направлению действия этой силы; Н · м.
2.2. Изгибающий момент

: момент, действующий вокруг осевой линии, перпендикулярной к длинной оси тела, и обычно вызывающий боковой прогиб; Н · м.
2.3. Прогиб: линейное смещение из-за изгиба, измеренное перпендикулярно к первоначальной оси пластинки; м.
2.4. Прочность при изгибе: значение изгибающего момента при разрушении или в заданной расчетной точке, в зависимости от того, что меньше.
2.5. Эквивалентная жесткость на изгиб: жесткость пластинки, рассчитанная с учетом размеров испытуемого образца и наклона S линейной части графика зависимости прогиба от нагрузки, полученного при механическом испытании; Н · м2.
Примечание. При расчете эквивалентной жесткости на изгиб учитывают отверстия и прорези в пластинке.
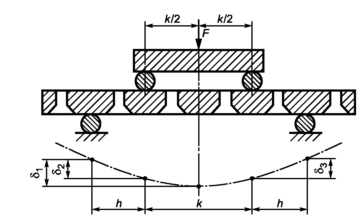
3.1. Испытательное приспособление, необходимое для получения системы нагружения, изображено на
рисунке 1. Основой приспособления являются четыре ролика (заштрихованные кружки), оси которых остаются параллельными друг другу.
Рисунок 1. Схема приспособления с четырьмя опорами
для испытания на прочность при изгибе (внешний вид образца
при изгибе)
3.2. Ролики цилиндрической формы одинакового диаметра 8 - 13 мм или профилированной формы, соответствующей поперечному сечению испытуемой пластинки со средним диаметром 8 - 13 мм. Желательно, чтобы один из роликов был жестко связан с образцом для того, чтобы ограничить продольное перемещение, а все ролики были бы жестко фиксированы для сохранения их относительного положения между собой.
3.3. Устройство для приложения усилий, например установка для испытания механических свойств.
3.4. Устройство для измерения относительного смещения.
4.1. Основные положения
Испытание на изгиб проводится на устройстве, описанном в
разделе 3. Цилиндрические ролики используются для испытания плоских пластинок, а также пластинок с искривленным поперечным сечением, когда отклонение от плоскости в центре пластинки не превышает значения b/6, где b - ширина пластинки.
Испытания пластинок другой формы проводятся при использовании роликов соответствующего профиля.
4.2. Размещение испытуемого образца
Испытуемый образец помещают в испытательное приспособление с выполнением следующих рекомендаций:
a) разместить пластинку таким образом, чтобы внутренние ролики находились в контакте с той поверхностью пластинки, которая должна соприкасаться с костью;
b) если пластинка является симметричной, разместить ее так, чтобы два наиболее близких к центру резьбовых отверстия располагались симметрично между внутренними роликами;
c) если пластинка имеет центральное резьбовое отверстие, разместить ее таким образом, чтобы это отверстие и любое другое резьбовое отверстие были расположены симметрично между внутренними роликами;
d) если пластинка является асимметричной, разместить ее таким образом, чтобы два резьбовых отверстия располагались между внутренними роликами и место разлома, для соединения которого она предназначена, также находилось бы между внутренними роликами;
e) разместить внешние ролики на равном расстоянии h, м, от внутренних роликов, как показано на
рисунке 1, так, чтобы только одно отверстие находилось на линии между внутренними и внешними роликами;
f) убедиться в том, что внутренние ролики не находятся в контакте с теми частями пластинки, где имеются резьбовые отверстия. По возможности, внешние ролики не должны касаться тех частей пластинки, где имеются резьбовые отверстия;
g) выровнять ось испытуемого образца таким образом, чтобы она стала перпендикулярной к осям роликов;
i) установить приспособление для измерения прогиба (измерение проводится в метрах) пластинки относительно первоначального положения опор внешних роликов. Прогиб может быть измерен:
1) на средней линии между центральными роликами

;
2) на одном из центральных роликов

;
3) на каждом из центральных роликов (

и

).
Если местоположение отверстий на пластинке не является симметричным относительно ее длины, то рекомендуется использовать метод 3).
4.3. Прилагаемая нагрузка F
Приложить нагрузку F по указанной центральной линии нагружения и измерить соответствующий прогиб. Постепенно увеличивая нагрузку F, отмечая соответствующий прогиб через каждый интервал и строя график зависимости

от F до тех пор, пока F не достигнет значения, при котором наступит разрушение пластинки,

. Прогиб

становится таким, что пластинка деформируется так, что графическая зависимость прогиба от нагрузки показывает заметную текучесть (F = P), как показано на
рисунке 2.
Рисунок 2. График зависимости прогиба от нагрузки
4.4. Использование образцов
Каждый образец испытывают только один раз и затем утилизируют его.
5.1. Среднее прогиба
Затем чертят графическую зависимость прогиба

от нагрузки F.
5.2. Эквивалентная жесткость на изгиб
Проводят прямую линию через начальную (линейную) часть графика зависимости прогиба от нагрузки, как показано на
рисунке 2. Эта линия будет иметь наклон S, что также показано на
рисунке 2.
где h - расстояние между внутренними и внешними роликами, м;
k - расстояние между внутренними роликами, м;
S - уклон кривой прогиб/нагрузка, Н · м.
5.3. Прочность на изгиб
На графической зависимости прогиб/нагрузка проводят прямую линию, параллельную линейной части графика, но смещенную на q метров от нее, как показано на
рисунке 2. Пересечение этой линии с кривой является расчетной точкой безопасности, соответствующая сила P является безопасной нагрузкой.
Значение q рассчитывают по формуле
q = 0,02 (2h + k). (3)
Прочность на изгиб, Н · м, рассчитывают по уравнению
Сопротивление изгибу = 0,5Ph, (4)
где P - расчетная нагрузка, Н;
h - расстояние между внутренними и внешними роликами, м.
Если разрушение пластинки происходит перед точкой пересечения кривой прогиб/нагрузка линии сдвига, то расчет прочности на изгиб, Н · м, производится следующим образом:
где

- максимальная нагрузка, Н;
h - расстояние между внутренними и внешними роликами, м.
Примечание. В этом уравнении используется значение безопасной нагрузки, равное 0,8 от максимальной.
В протокол испытания должна быть включена следующая информация:
a) прочность на изгиб, Н · м;
b) сдвиг, м, используемый для определения точки безопасности;
c) эквивалентная жесткость на изгиб, Н · м2, рассчитанная по
формуле 1 или
2;
d) если пластинка разрушается перед достижением точки безопасного прогиба, то это должно быть зафиксировано;
e) идентичность пластинки, например, ее тип, длина, мм, номер по каталогу изготовителя и номер партии, указанный стороной, предоставившей образец для проведения испытаний.