Главная // Актуальные документы // ГОСТ (Государственный стандарт)СПРАВКА
Источник публикации
М.: Стандартинформ, 2013
Примечание к документу
Текст данного документа приведен с учетом
поправки, опубликованной в "ИУС", N 3, 2024.
Документ
введен в действие с 01.01.2013.
Название документа
"ГОСТ ISO 7886-3-2011. Межгосударственный стандарт. Шприцы инъекционные однократного применения стерильные. Часть 3. Шприцы для иммунизации фиксированной дозой, автоматически приходящие в негодность после применения"
(введен в действие Приказом Росстандарта от 13.12.2011 N 1264-ст)
"ГОСТ ISO 7886-3-2011. Межгосударственный стандарт. Шприцы инъекционные однократного применения стерильные. Часть 3. Шприцы для иммунизации фиксированной дозой, автоматически приходящие в негодность после применения"
(введен в действие Приказом Росстандарта от 13.12.2011 N 1264-ст)
агентства по техническому
регулированию и метрологии
от 13 декабря 2011 г. N 1264-ст
МЕЖГОСУДАРСТВЕННЫЙ СТАНДАРТ
ШПРИЦЫ ИНЪЕКЦИОННЫЕ ОДНОКРАТНОГО ПРИМЕНЕНИЯ СТЕРИЛЬНЫЕ
ЧАСТЬ 3
ШПРИЦЫ ДЛЯ ИММУНИЗАЦИИ ФИКСИРОВАННОЙ ДОЗОЙ, АВТОМАТИЧЕСКИ
ПРИХОДЯЩИЕ В НЕГОДНОСТЬ ПОСЛЕ ПРИМЕНЕНИЯ
Sterile hypodermic syringes for single use.
Part 3. Auto-disable syringes for fixed dose immunization
(ISO 7886-3:2005, IDT)
ГОСТ ISO 7886-3-2011
Дата введения
1 января 2013 года
Цели, основные принципы и порядок проведения работ по межгосударственной стандартизации установлены
ГОСТ 1.0-92 "Межгосударственная система стандартизации. Основные положения" и
ГОСТ 1.2-2009 "Межгосударственная система стандартизации. Стандарты межгосударственные, правила и рекомендации по межгосударственной стандартизации. Правила разработки, принятия, применения, обновления и отмены".
1. Подготовлен Федеральным государственным унитарным предприятием "Всероссийский научно-исследовательский институт стандартизации и сертификации в машиностроении" (ВНИИНМАШ).
2. Внесен Федеральным агентством по техническому регулированию и метрологии (Росстандарт).
3. Принят Межгосударственным советом по стандартизации, метрологии и сертификации (протокол N 40-2011 от 29 ноября 2011 г.).
За принятие стандарта проголосовали:
Краткое наименование страны по МК (ИСО 3166) 004-97 | Код страны по МК (ИСО 3166) 004-97 | Сокращенное наименование национального органа по стандартизации |
Армения | AM | ЗАО "Национальный орган по стандартизации и метрологии" Республики Армения |
Беларусь | BY | Госстандарт Республики Беларусь |
Казахстан | KZ | Госстандарт Республики Казахстан |
Кыргызстан | KG | Кыргызстандарт |
Российская Федерация | RU | Росстандарт |
Таджикистан | TJ | Таджикстандарт |
4.
Приказом Федерального агентства по техническому регулированию и метрологии от 13 декабря 2011 г. N 1264-ст межгосударственный стандарт ГОСТ ISO 7886-3-2011 введен в действие в качестве национального стандарта Российской Федерации с 1 января 2013 г.
5. Настоящий стандарт идентичен международному стандарту ISO 7886-3:2005 Sterile hypodermic syringes for single use - Part 3: Auto-disable syringes for fixed dose immunization (Шприцы инъекционные однократного применения стерильные. Часть 3. Шприцы с автоматическим приведением в негодность после применения для иммунизации фиксированной дозой).
Сведения о соответствии межгосударственных стандартов ссылочным международным стандартам приведены в дополнительном
Приложении ДА.
Степень соответствия - идентичная (IDT).
6. Введен впервые.
Информация о введении в действие (прекращении действия) настоящего стандарта публикуется в указателе "Национальные стандарты".
Информация об изменениях к настоящему стандарту публикуется в указателе "Национальные стандарты", а текст изменений - в информационных указателях "Национальные стандарты". В случае пересмотра или отмены настоящего стандарта соответствующая информация будет опубликована в информационном указателе "Национальные стандарты".
Настоящая часть ISO 7886 была признана важным средством для предотвращения повторного применения шприцев в развивающихся странах. Повторное применение шприцев без стерилизации все чаще приводит к передаче инфекций через кровь.
Для широкого применения ВОЗ разработала спецификации для шприцев, приходящих в негодность после применения (обычно называемых "автоматически приходящими в негодность" шприцами), как для иммунизации фиксированной дозой, так и для шприцев общего назначения, снабженных устройствами, препятствующими повторному применению. ВОЗ и ISO приняли решение, что дополнительные части ISO 7886 потребуются только для описания автоматически приходящих в негодность шприцев, при этом ISO 7886-1 и ISO 7886-2 не будут содержать изменений.
Данная часть ISO 7886 распространяется на шприцы, которые становятся непригодными для дальнейшего использования после введения фиксированной дозы. Данные шприцы не входят в области применения ISO 7886-1 и ISO 7886-4. В область применения ISO 7886-2 входят шприцы, использующие насосы с механическим приводом.
Шприцы с защитой от укола иглой могут также соответствовать данной части ISO 7886 в части требований к устройствам, препятствующим повторному применению, но данная часть ISO 7886 не устанавливает требований к защите от укола иглой.
Настоящий стандарт устанавливает требования к инъекционным стерильным шприцам однократного применения, автоматически приходящим в негодность после иммунизации фиксированной дозой, изготовленным из полимерных материалов, с иглой или без и предназначенным для забора жидкостей или инъекции жидкостей непосредственно после наполнения.
Настоящий стандарт не устанавливает конкретное техническое решение, заложенное в особом устройстве автоматического приведения шприца в негодность после применения. Это решение отдается на усмотрение изготовителя.
Стандарт не применяется для шприцев, изготовленных из стекла (определенных ISO 595), шприцев с устройствами, препятствующими их повторному применению (ISO 7886-4), и для предварительно заполненных шприцев. В настоящем стандарте не рассматриваются вопросы совместимости шприцев с инъекционными жидкостями.
В настоящем стандарте использованы нормативные ссылки на следующие стандарты:
ISO 3696:1987 Water for analytical laboratory use. Specification and test methods (Вода для лабораторного анализа. Технические требования и методы испытаний)
ISO 7864:1993 Sterile hypodermic needles for single use (Стерильные одноразовые иглы для подкожных инъекций)
ISO 7886-1:1993 Sterile hypodermic syringes for single use - Part 1: Syringes for manual use (Стерильные шприцы для подкожных инъекций одноразового применения. Часть 1. Шприцы для ручного использования)
ISO 8537:1991 <1> Sterile single-use syringes, with or without needle, for insulin (Стерильные одноразовые шприцы с иглой или без иглы для инсулина)
--------------------------------
<1> Заменен на ISO 8537:2007.
ISO 9626 Stainless steel needle tubing for the manufacture of medical devices (Трубки игольные из нержавеющей стали для изготовления медицинских устройств)
ASTM D 999:2001 Standard Test Methods for Vibration Testing of Shipping Containers (Стандартные методы вибрационных испытаний транспортной тары)
ASTM D 5276:1998 Test Method for Drop Test of Loaded Containers by Free Fall (Стандартные методы испытания на удар нагруженной тары путем свободного падения).
В настоящем стандарте применены термины по ISO 7886-1 (за исключением 3.2), ISO 8537 (за исключением 3.1), а также следующий термин с соответствующим определением:
3.1. устройство, автоматически приводящее шприц в негодность (auto-disable syringe feature): Особое устройство, которое автоматически срабатывает после введения фиксированной дозы и препятствует последующему повторному применению шприца и иглы.
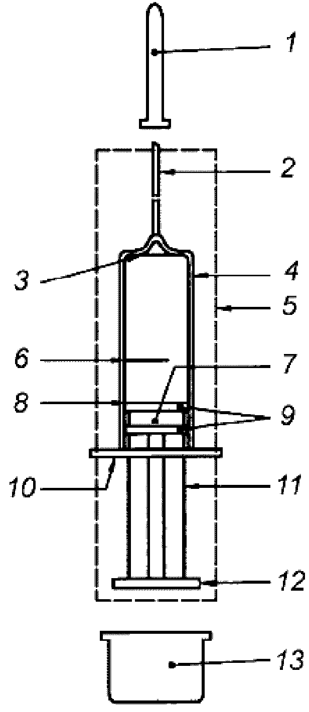
Обозначения деталей шприца, автоматически приходящего в негодность после применения, показаны на рисунке 1.
1 - колпачок (если используется); 2 - игла; 3 - нулевая
линия градуировки; 4 - цилиндр; 5 - устройство, приводящее
шприц в негодность; 6 - линия номинальной вместимости;
7 - поршень; 8 - основная линия; 9 - уплотнитель;
10 - упоры для пальцев; 11 - шток; 12 - упор
штока; 13 - защитный колпачок шток-поршня
Примечание. Рисунок предназначен для того, чтобы показать детали шприца, автоматически приходящего в негодность после применения.
Рисунок 1. Схематическое изображение шприца, автоматически
приходящего в негодность после применения
Применяются требования раздела 5 ISO 7886-1.
6. Пределы кислотности или щелочности
Уровень pH экстракта шприца, приготовленного в соответствии с
Приложением A, должен соответствовать pH контрольной жидкости в пределах одной единицы при измерении лабораторным pH-метром со стандартным электродом.
7. Предельное содержание экстрагируемых металлов
Экстракт шприца, приготовленный в соответствии с
Приложением A, должен содержать не более 5 мг/л суммарного количества свинца, олова, цинка и железа при испытании общепринятым микроаналитическим методом, например, методом атомной абсорбции. Содержание кадмия в экстракте должно быть не более 0,1 мг/л.
Применяются требования раздела 8 ISO 7886-1 и подраздела 11.4 ISO 7864.
9. Допуски на градуировку вместимости
Объем воды при температуре (20 +/- 5) °C [для тропических стран (27 +/- 5) °C], вытесненный из шприца, когда линия начала отсчета, нанесенная на поршне, перемещается по всей шкале (т.е. назначенная фиксированная доза), должен быть в пределах допусков на номинальную вместимость шприца, приведенных в таблице 1.
Номинальная вместимость и "мертвое" пространство
Номинальная вместимость, мл | Допуск на номинальную вместимость, % | Максимальный объем "мертвого" пространства и для встроенной, и для съемной иглы, мл |
От 0,05 до 0,2 включ. | +/- 20 | 0,025 |
Св. 0,2 до 2 включ. | +/- 5 | 0,07 |
10.1. Шкала
Шкала должна иметь только две метки: нулевую линию и линию номинальной вместимости. Эти линии должны быть одинаковой толщины и быть нанесены под прямыми углами к оси цилиндра.
10.2. Расположение шкалы
Применяют требования подраздела 10.4 ISO 7886-1.
11.1. Размеры
Длина цилиндра и конструкция устройства автоматического приведения шприца в негодность должны быть такими, чтобы шприц имел максимальную вместимость, по меньшей мере, на 5% больше, чем номинальная вместимость (рекомендуется максимальная вместимость на 20% больше, чем номинальная вместимость).
11.2. Упоры для пальцев
Применяют требования подраздела 11.2 ISO 7886-1.
12. Конструкция шток-поршень
12.1. Конструкция
Конструкция штока и упора для пальцев шприца должна быть такой, чтобы при удерживании шприца одной рукой шток мог быть утоплен большим пальцем этой же руки. Поршень не должен отделяться от штока при всасывании во время испытания, указанного в ISO 7886-1, Приложение B, как для варианта со встроенной иглой в соответствии с ISO 8537, Приложение B, так и для шприца без иглы.
Шток следует конструировать такой длины, чтобы позволить поршню должным образом вводить назначенную фиксированную дозу. Следует предусмотреть возможность сохранения свойства автоматического приведения шприца в негодность в случае извлечения и повторной вставки штока.
Конструкция штока и конфигурация упора штока должны быть такими, чтобы движение штока в цилиндре осуществлялось без затруднений.
Когда линия отсчета поршня совпадает с нулевой линией градуировки цилиндра, предпочтительное минимальное значение длины выступания штока из цилиндра (от поверхности упора для пальцев цилиндра до верха стержня штока) должно быть 8 мм.
12.2. Посадка поршня в цилиндре
Применяют требования подраздела 12.2 ISO 7886-1.
12.3. Линия отсчета
Применяют требования подраздела 12.3 ISO 7886-1.
13.1. Встроенная игла
Шприцы со встроенной иглой должны иметь минимальное усилие соединения головки иглы и трубки по направлению вдоль оси иглы в соответствии с ISO 7864. Трубка иглы должна соответствовать ISO 9626.
13.2. Съемная игла
Если встроенная игла не используется, то после насадки на шприц съемная игла должна становиться неотъемлемой частью шприца. Игла и шприц должны приводиться в положение, не позволяющее их повторное применение после введения установленной фиксированной дозы при нормальных условиях применения.
14. Рабочие характеристики
14.1. "Мертвое" пространство
При проведении испытаний в соответствии с Приложением E ISO 8537 "мертвое" пространство не должно превышать пределов, указанных в
таблице 1.
14.2. Испытание на водо- и воздухонепроницаемость поршня
При испытании шприцев со съемными иглами в соответствии с Приложением F ISO 8537 и шприцев без игл в соответствии с Приложением D ISO 7886-1 необходимо, чтобы они не имели утечки воды через поршень или уплотнитель(и).
При испытании шприцев со съемными иглами в соответствии с Приложением B ISO 8537 и шприцев без игл в соответствии с Приложением B ISO 7886-1 необходимо, чтобы они не имели утечек воздуха через поршень или уплотнитель(и) и показания манометра не снижались.
Для шприцев со встроенными иглами применяются соответствующие требования подраздела 4.2 ISO 8537.
14.3. Устройство автоматического приведения шприца в негодность
Шприц и игла должны автоматически приводиться в положение, исключающее возможность их повторного применения. При этом со стороны пользователя не должно требоваться какого-либо дополнительного действия.
Время приведения в действие свойства самоблокировки (саморазрушения), исключающего многократное использование одноразовых шприцев и игл, может изменяться в зависимости от технического решения, заложенного в конструкцию, и обычно находится в пределах диапазонов, указанных ниже:
- свойство самоблокировки автоматически приводится в действие и остается эффективным с момента начала инъекции;
- свойство самоблокировки автоматически приводится в действие и остается эффективным с момента вливания 50% назначенной фиксированной дозы;
- свойство самоблокировки автоматически приводится в действие по завершению вливания назначенной фиксированной дозы.
Во всех случаях, когда приведено в действие свойство самоблокировки, должны выполняться следующие условия:
a) не должно быть возможности для повторного использования шприца и иглы в нормальном режиме применения;
b) не должно быть возможности отмены свойства автоматического приведения в негодность шприца и иглы при испытании согласно методике в
Приложении C, т.е. должна быть исключена возможность повторного использования шприца после приложения силы на шток значением 100 Н и скорости его перемещения 100 мм/мин или в случае противодавления на иглу в пределах от 100 до 300 кПа.
14.4. Рабочие характеристики после транспортирования
Транспортирование не должно оказывать влияния на рабочие характеристики шприца при испытании в соответствии с ASTM D 999-01 и ASTM D 5276-98.
14.5. Руководство по выбору материалов
Руководство по некоторым аспектам выбора материалов приведено в Приложении E ISO 7886-1.
15.1. Потребительская упаковка
Применяют требования подраздела 15.1 ISO 8537.
15.2. Групповая упаковка
Применяют требования подраздела 15.2 ISO 8537.
15.3. Транспортная упаковка
Применяют требования подраздела 15.3 ISO 8537.
16.1. Маркировка единичной и потребительской упаковок
16.1.1. Единичная упаковка
Маркировка единичной упаковки шприца должна содержать, по меньшей мере, следующую информацию:
a) слова "для однократного применения" или эквивалент (например, знак для однократного применения, приведенный в ISO 7000-1051); не должен использоваться термин "утилизируемый";
b) знак "Предохранение от повторного применения" приведенный на
рисунке 2;
c) наименование и/или торговую марку и страну-изготовителя;
d) слово "стерильно" или эквивалентный знак;
e) номер партии с указанием слова "партия";
f) дату истечения срока годности (год и месяц), заданную словами "годен до..." (или эквивалентный знак);
g) значения наружного диаметра и длины иглы.
Рисунок 2. Знак ISO 7000-2655
"Предохранение от повторного применения"
16.1.2. Потребительская упаковка
Маркировка потребительской упаковки должна содержать, по меньшей мере, следующую информацию:
a) слова "для однократного применения" или эквивалент (например, знак для однократного применения, приведенный в ISO 7000-1051); не должен использоваться термин "утилизируемый";
b) знак "Предохранение от повторного применения", приведенный на
рисунке 2;
c) наименование и/или торговую марку и страну-изготовителя;
d) слово "стерильно" или эквивалентный соответствующий знак;
e) номер партии, с указанием слова "партия" (или эквивалентный знак);
f) дату истечения срока годности (год и месяц), заданную словами "годен до..." (или эквивалентный знак);
g) описание содержимого, включающее в себя номинальную вместимость шприца, значения наружного диаметра и длины иглы.
16.2. Групповая упаковка
Маркировка групповой упаковки должна содержать, по крайней мере, следующую информацию:
a) слова "для однократного применения" или эквивалент (такой, как знак для одноразового применения, приведенный в ISO 7000-1051); не должен применяться термин "утилизируемый";
b) знак "Предохранение от повторного применения", приведенный на
рисунке 2;
c) наименование и/или торговую марку и страну-изготовителя;
d) слово "стерильно" или эквивалентный соответствующий знак;
e) номер партии, с указанием слова "партия" (или эквивалентный знак);
f) дату истечения срока годности (год и месяц), заданную словами "годен до..." (или эквивалентный соответствующий символ);
g) описание содержимого, включающее в себя значения номинальной вместимости шприца, наружного диаметра и длины иглы, если она входит в состав шприца;
h) предупреждение о контроле целостности потребительской упаковки перед применением;
i) предупреждение о недопустимости повторного надевания иглы или эквивалентный знак;
j) информацию об обращении, хранении и утилизации шприца; для иллюстрации см.
рисунок 3;
k) инструкцию по применению, включая инструкцию по применению устройства, препятствующего повторному применению, которые должны быть даны в комплекте или как отдельный вкладыш;
l) число шприцев в групповой упаковке.
Рисунок 3. Иллюстрация примера утилизации шприца
16.3. Транспортная упаковка
Шприцы в групповой упаковке допускается укладывать в транспортную упаковку, содержащую следующую маркировку:
a) описание содержимого, включающее в себя значения номинальной вместимости шприца, наружного диаметра и длины иглы, если она входит в состав шприца;
b) знак "Предохранения от повторного применения", приведенный на
рисунке 2;
c) номер партии с указанием слова "партия" (или эквивалентный соответствующий знак);
d) дату истечения срока годности (год и месяц), заданную словами "годен до..." (или эквивалентный знак);
e) слово "стерильно" или эквивалентный соответствующий знак;
f) наименование или торговую марку и страну-изготовителя;
g) информацию об обращении, хранении и транспортировании содержимого (или эквивалентные знаки, которые определены
[1] или
[2]);
h) число шприцев.
16.4. Оберточный материал для транспортирования
Если транспортная упаковка не используется, шприцы в групповой упаковке оборачивают оберточным материалом, при этом информация согласно
16.3 должна быть указана на оберточном материале либо видна через него.
(обязательное)
МЕТОД ПРИГОТОВЛЕНИЯ ЭКСТРАКТОВ
A.1. Методика приготовления
Шприц, включающий в себя иглу (если предусмотрено), наполняют водой для экстрагирования растворимых компонентов.
A.2. Оборудование и реактивы
A.2.1. Свежая дистиллированная или деионизированная вода, имеющая чистоту класса 3 согласно ISO 3696.
A.2.2. Набор лабораторной посуды из боросиликатного стекла.
A.3. Методика
A.3.1. Три шприца заполняют водой
(A.2.1) до номинальной вместимости, вытесняют пузырьки воздуха и выдерживают шприцы при температуре (37 + 3) °C в течение 8 ч + 15 мин.
Выливают содержимое шприцев в сосуд, изготовленный из боросиликатного стекла
(A.2.2).
A.3.2. Подготавливают порцию контрольной жидкости из неиспользованной воды
(A.2.1).
(обязательное)
МЕТОД ПРОВЕРКИ УСИЛИЙ, НЕОБХОДИМЫХ ДЛЯ ПЕРЕМЕЩЕНИЯ ШТОКА
B.1. Испытание
Используют испытательный стенд (см. рисунок G.1 ISO 7886-1), чтобы перемещать шток-поршень шприца и проводить забор и вытеснение воды при одновременной регистрации силы, прилагаемой для перемещения шток-поршня.
B.2. Аппаратура и реагенты
B.2.1. Механический испытательный стенд, обеспечивающий измерение и регистрацию усилия перемещения шток-поршня с точностью 1% показания в пределах полной шкалы шприца и имеющий приспособление для крепления шприца.
B.2.2. Резервуар для проверки шприца без иглы, имеющий трубку с внутренним диаметром (2,7 +/- 0,1) мм для присоединения ее к испытуемому шприцу.
B.2.3. Резервуар для проверки шприца со встроенной иглой, имеющий трубку с внутренним диаметром (2,7 +/- 0,1) мм, закрытую резиновой пробкой, для присоединения ее к игле испытуемого шприца.
B.3. Процедура
B.3.1. Извлекают шприц из упаковки и устанавливают его в испытательный стенд
B.2.1.
B.3.2. Подсоединяют шприц, используя одну из следующих процедур.
- Проверка шприца со съемной иглой
Присоединяют наконечник шприца к трубке резервуара
(B.2.2). Вливают воду
(B.2.4) температурой (23 +/- 2) °C в резервуар и вытесняют воздух из трубки. Поддерживают воду и шприц при этой температуре. Регулируют относительное положение шприца и резервуара, чтобы уровень воды в резервуаре приблизительно соответствовал уровню средней точки цилиндра шприца.
- Проверка шприца с встроенной иглой
Подсоединяют иглу шприца к резиновой пробке трубки резервуара
(B.2.3). Вливают воду
(B.2.4) температурой (23 +/- 2) °C в резервуар и вытесняют воздух из трубки. Поддерживают воду и шприц при этой температуре. Регулируют относительное положение шприца и резервуара, чтобы уровень воды в резервуаре приблизительно соответствовал уровню средней точки цилиндра шприца.
B.3.3. Обнуляют регистрирующее устройство и настраивают испытательный стенд
(B.2.1) так, чтобы можно было перемещать шток-поршень в цилиндре в обоих направлениях без новой настройки.
B.3.4. Включают испытательный стенд в режим вытягивания штока из шприца со скоростью (100 +/- 5) мм/мин до градуированной линии номинальной вместимости, забирая при этом воду из резервуара в шприц. Останавливают перемещение шток-поршня и устанавливают регистрирующее устройство на ноль. Ждут 30 с.
Примечание. Наличие пузырьков воздуха в шприце или игле независимо от типа шприца (со встроенной или со съемной иглой) не влияет на результат проверки.
B.3.5. Включают испытательный стенд в режим обратного хода и возвращают шток, чтобы линия начала отсчета шток-поршня достигла нулевой отметки, вытесняя при этом воду из шприца в резервуар.
B.4. Вычисление результатов
B.4.1. По данным регистрации усилия перемещения шток-поршня и приложенной силы (см. рисунок G.2 в ISO 7886-1) устанавливают следующее:
a) усилие

, необходимое для начала перемещения шток-поршня, т.е. регистрацию пика усилия при пуске испытательного стенда в режим вытягивания шток-поршня (см.
B.3.4);
b) среднее усилие F во время возврата шток-поршня [т.е. расчетное или интегрированное среднее значение, когда стенд работает в режиме возврата штока (см.
B.3.5)];
c) максимальное усилие

во время возврата шток-поршня (см.
B.3.5);
d) минимальное усилие

во время возврата шток-поршня (см.
B.3.5).
B.4.2. Требования к значениям усилий, необходимых для перемещения шток-поршня, указаны в таблице B.1.
Таблица B.1
Значения усилий, необходимых для перемещения шток-поршня
Номинальная вместимость шприца V, мл | Усилие  , необходимое для начала перемещения штока, Н, не более | Среднее усилие F, Н, не более | Максимальное усилие  , Н, не более | Минимальное усилие  , Н, не более |
V < 2 | 10 | 9 | Наибольшее значение из: 2F или F + 1,5 | Наименьшее значение из: 0,5F или F - 1,5 |
B.5. Протокол испытания
Протокол испытания должен содержать, по меньшей мере, следующую информацию:
a) идентификацию шприца, включая его номинальную вместимость;
b) усилие

, необходимое для начала перемещения шток-поршня, Н;
c) среднее усилие F во время возврата шток-поршня, Н;
d) максимальное усилие

во время возврата шток-поршня, Н;
e) минимальное усилие

во время возврата шток-поршня, Н;
f) дату проведения испытания.
(обязательное)
МЕТОД ИСПЫТАНИЯ УСТРОЙСТВА АВТОМАТИЧЕСКОГО ПРИВЕДЕНИЯ
ШПРИЦА В НЕГОДНОСТЬ
C.1. Испытание
Используется механический испытательный стенд или устройство, обеспечивающие давление для перемещения шток-поршня в цилиндре после вытеснения полной дозы дистиллированной воды в нормальных условиях применения и измеряющий и регистрирующий усилие, необходимое для перемещения шток-поршня и/или разрушения цилиндра.
C.2. Аппаратура
C.2.1. Устройство, обеспечивающее перемещение шток-поршня в шприце с осевым усилием до 100 Н и скоростью 100 мм/мин.
C.2.2. Устройство для приложения противодавления со скоростью нарастания до 100 кПа/мин в диапазоне до 300 кПа.
C.3. Процедура
C.3.1. Вытесняют полную дозу дистиллированной воды в нормальных условиях применения. С помощью испытательного устройства
(C.2.1) прикладывают нарастающее усилие на шток-поршень, чтобы вытянуть его из цилиндра, используя для захвата упор шток-поршня или сам шток-поршень. Увеличивают усилие до 100 Н или до тех пор, пока шприц не станет непригодным для инъекции второй дозы.
C.3.2. С помощью резиновой пробки испытательного устройства
(C.2.2) блокируют иглу шприца и с нарастающим противодавлением до максимального значения 300 кПа со скоростью от 100 кПа/мин проверяют: может ли шток-поршень двигаться в обратном направлении в цилиндре шприца.
C.4. Протокол испытания
Протокол испытания должен содержать, по меньшей мере, следующую информацию:
a) идентификацию шприца, включая его номинальную вместимость;
b) зарегистрированный максимум вытягивающего усилия;
c) зарегистрированный максимум противодавления;
d) дату проведения испытания.
(справочное)
СВЕДЕНИЯ О СООТВЕТСТВИИ МЕЖГОСУДАРСТВЕННЫХ СТАНДАРТОВ
ССЫЛОЧНЫМ МЕЖДУНАРОДНЫМ СТАНДАРТАМ
Таблица ДА.1
Обозначение и наименование международного стандарта | Степень соответствия | Обозначение и наименование межгосударственного стандарта |
ISO 3696:1987 Вода для лабораторного анализа. Технические условия и методы испытаний | - | |
ISO 7864:1993 Стерильные одноразовые иглы для подкожных инъекций | IDT | |
ISO 7886-1:1993 Стерильные шприцы для подкожных инъекций одноразового применения. Часть 1. Шприцы для ручного использования | IDT | ГОСТ ISO 7886-1-2011 Шприцы инъекционные однократного применения стерильные. Часть 1. Шприцы для ручного использования |
ISO 8537:1991 Стерильные одноразовые шприцы с иглой или без иглы для инсулина | IDT | ГОСТ ISO 8537-2011 Шприцы инъекционные однократного применения стерильные с иглой или без иглы для инсулина. Технические требования и методы испытаний |
ISO 9626:1991 Трубки игольные из нержавеющей стали для изготовления медицинских устройств | - | |
ASTM D 999:2001 Стандартные методы вибрационных испытаний транспортной тары | - | |
ASTM D 5276:1998 Стандартные методы испытания на удар нагруженной тары путем свободного падения | - | |
<*> Соответствующий межгосударственный стандарт отсутствует. До его утверждения рекомендуется использовать перевод на русский язык данного международного стандарта. Перевод данного международного стандарта находится в Федеральном информационном фонде технических регламентов и стандартов. |
Примечание - В настоящем стандарте использовано следующее условное обозначение степени соответствия стандарта: - IDT - идентичные стандарты. |
| Packaging - Pictorial marking for handling of goods |
(Упаковка. Пиктограммы, применяемые для погрузочно-разгрузочных работ) |
| Graphical symbols for use on equipment - Index and Synopsis |
(Графические символы, наносимые на оборудование. Перечень и сводная таблица) |