Главная // Актуальные документы // ГОСТ (Государственный стандарт)
СПРАВКА
Источник публикации
М.: Стандартинформ, 2013
Примечание к документу
По сведениям, размещенным на Информационном портале Росстандарта по адресу https://uvedns.gostinfo.ru/, данный документ утрачивает силу с 01.06.2025 в связи с изданием Приказа Росстандарта от 05.06.2024 N 695-ст. Взамен вводится в действие ГОСТ ISO 1833-21-2022.

Документ включен в Перечень международных и региональных (межгосударственных) стандартов, а в случае их отсутствия - национальных (государственных) стандартов, содержащих правила и методы исследований (испытаний) и измерений, в том числе правила отбора образцов, необходимые для применения и исполнения требований технического регламента Таможенного союза "О безопасности продукции, предназначенной для детей и подростков" (ТР ТС 007/2011) и осуществления оценки соответствия объектов технического регулирования (Решение Коллегии Евразийской экономической комиссии от 14.03.2023 N 31).

Документ включен в Перечень международных и региональных (межгосударственных) стандартов, а в случае их отсутствия - национальных (государственных) стандартов, содержащих правила и методы исследований (испытаний) и измерений, в том числе правила отбора образцов, необходимые для применения и исполнения требований технического регламента Таможенного союза "О безопасности продукции легкой промышленности" (ТР ТС 017/2011) и осуществления оценки соответствия объектов технического регулирования (Решение Коллегии Евразийской экономической комиссии от 22.12.2020 N 180).

Документ включен в Перечень документов в области стандартизации, содержащих правила и методы исследований (испытаний) и измерений, в том числе правила отбора образцов, необходимые для применения и исполнения требований технического регламента Таможенного союза "О безопасности продукции легкой промышленности" (ТР ТС 017/2011) и осуществления оценки (подтверждения) соответствия продукции (Решение Комиссии Таможенного союза от 09.12.2011 N 876).

Документ включен в Перечень документов в области стандартизации, содержащих правила и методы исследований (испытаний) и измерений, в том числе правила отбора образцов, необходимые для применения и исполнения требований технического регламента Таможенного союза "О безопасности продукции, предназначенной для детей и подростков" (ТР ТС 007/2011) и осуществления оценки (подтверждения) соответствия продукции (Решение Комиссии Таможенного союза от 23.09.2011 N 797).

Документ введен в действие с 01.07.2012.
Название документа
"ГОСТ ISO 1833-21-2011. Межгосударственный стандарт. Материалы текстильные. Количественный химический анализ. Часть 21. Смеси поливинилхлоридных волокон, модифицированных акриловых, эластановых, ацетатных, триацетатных и некоторых других волокон (метод с использованием циклогексанона)"
(введен в действие Приказом Росстандарта от 14.12.2011 N 1533-ст)

"ГОСТ ISO 1833-21-2011. Межгосударственный стандарт. Материалы текстильные. Количественный химический анализ. Часть 21. Смеси поливинилхлоридных волокон, модифицированных акриловых, эластановых, ацетатных, триацетатных и некоторых других волокон (метод с использованием циклогексанона)"
(введен в действие Приказом Росстандарта от 14.12.2011 N 1533-ст)


Содержание


Введен в действие
Приказом Федерального
агентства по техническому
регулированию и метрологии
от 14 декабря 2011 г. N 1533-ст
МЕЖГОСУДАРСТВЕННЫЙ СТАНДАРТ
МАТЕРИАЛЫ ТЕКСТИЛЬНЫЕ
КОЛИЧЕСТВЕННЫЙ ХИМИЧЕСКИЙ АНАЛИЗ
ЧАСТЬ 21
СМЕСИ ПОЛИВИНИЛХЛОРИДНЫХ ВОЛОКОН, МОДИФИЦИРОВАННЫХ
АКРИЛОВЫХ, ЭЛАСТАНОВЫХ, АЦЕТАТНЫХ, ТРИАЦЕТАТНЫХ И НЕКОТОРЫХ
ДРУГИХ ВОЛОКОН (МЕТОД С ИСПОЛЬЗОВАНИЕМ ЦИКЛОГЕКСАНОНА)
Textiles. Quantitative chemical analysis. Part 21.
Mixtures of chlorofibres, certain modacrylics,
certain elastanes, acetates, triacetates and certain
other fibres (method using cyclohexanone)
(ISO 1833-21:2006, IDT)
ГОСТ ISO 1833-21-2011
МКС 59.060.01
Дата введения
1 июля 2012 года
Предисловие
Цели, основные принципы и основной порядок проведения работ по межгосударственной стандартизации установлены ГОСТ 1.0-92 "Межгосударственная система стандартизации. Основные положения" и ГОСТ 1.2-2009 "Межгосударственная система стандартизации. Стандарты межгосударственные, правила и рекомендации по межгосударственной стандартизации. Правила разработки, принятия, применения, обновления и отмены".
Сведения о стандарте
1. Подготовлен Техническим комитетом по стандартизации ТК 412 "Текстиль", Открытым акционерным обществом "Всероссийский научно-исследовательский институт сертификации" (ОАО "ВНИИС") на основе аутентичного перевода на русский язык международного стандарта, указанного в пункте 5.
2. Внесен Федеральным агентством по техническому регулированию и метрологии.
3. Принят Межгосударственным советом по стандартизации, метрологии и сертификации (Протокол от 29 ноября 2011 г. N 40).
За принятие проголосовали:
Краткое наименование страны по МК (ИСО 3166) 004-97
Код страны по МК (ИСО 3166) 004-97
Сокращенное наименование национального органа по стандартизации
Азербайджан
AZ
Азстандарт
Армения
AM
Минэкономики Республики Армения
Беларусь
BY
Госстандарт Республики Беларусь
Грузия
GE
Грузстандарт
Казахстан
KZ
Госстандарт Республики Казахстан
Киргизия
KG
Кыргызстандарт
Молдова
MD
Молдова-Стандарт
Российская Федерация
RU
Росстандарт
Таджикистан
TJ
Таджикстандарт
Туркменистан
TM
Главгосслужба "Туркменстандартлары"
Узбекистан
UZ
Узстандарт
Украина
UA
Госпотребстандарт Украины
4. Приказом Федерального агентства по техническому регулированию и метрологии от 14 декабря 2011 г. N 1533-ст межгосударственный стандарт ГОСТ ISO 1833-21-2011 введен в действие в качестве национального стандарта Российской Федерации с 1 июля 2012 г.
5. Настоящий стандарт идентичен международному стандарту ISO 1833-21:2006 Textiles - Quantitative chemical analysis - Part 21: Mixtures of chlorofibres, certain modacrylics, certain elastanes, acetates, triacetates and certain other fibres (method using cyclohexanone) [Материалы текстильные. Количественный химический анализ. Часть 21. Смеси поливинилхлоридных волокон, модифицированных акриловых, эластановых, ацетатных, триацетатных и некоторых других волокон (метод с использованием циклогексанона)].
Степень соответствия - идентичная (IDT).
Наименование настоящего стандарта изменено относительно наименования международного стандарта в связи с особенностями построения межгосударственной системы стандартизации.
В разделе "Нормативные ссылки" и тексте стандарта ссылки на международные стандарты актуализированы.
Сведения о соответствии межгосударственных стандартов ссылочным международным стандартам приведены в дополнительном Приложении ДА.
Настоящий стандарт подготовлен на основе применения ГОСТ Р ИСО 1833-21-2008.
6. Введен впервые.
Информация о введении в действие (прекращении действия) настоящего стандарта публикуется в ежемесячно издаваемом информационном указателе "Национальные стандарты".
Информация об изменениях к настоящему стандарту публикуется в ежегодно издаваемом информационном указателе "Национальные стандарты", а текст изменений и поправок - в ежемесячно издаваемом информационном указателе "Национальные стандарты". В случае пересмотра или отмены настоящего стандарта соответствующая информация будет опубликована в ежемесячно издаваемом информационном указателе "Национальные стандарты".
1. Область применения
Настоящий стандарт устанавливает метод, использующий циклогексанон для определения процентного содержания поливинилхлоридных, модифицированных акриловых, эластановых, ацетатных и триацетатных волокон после удаления неволокнистых материалов в текстильных изделиях, изготовленных из двухкомпонентных смесей ацетатных, триацетатных, поливинилхлоридных, некоторых модифицированных акриловых и некоторых эластановых волокон и шерстяных, из животного волоса, шелковых, хлопковых, медноаммиачных, высокомодульных, вискозных, полиамидных, акриловых и стеклянных волокон.
В тех случаях, когда присутствуют модифицированные акриловые и эластановые волокна, должны быть проведены предварительные испытания, чтобы выяснить полностью ли растворяются эти волокна в реактиве.
Смеси, содержащие поливинилхлоридные волокна, можно также анализировать с помощью методов испытаний, описанных в стандартах ISO 1833-13 и ISO 1833-17.
2. Нормативные ссылки
В настоящем стандарте использована ссылка на следующий стандарт:
ISO 1833-1:2006 Textiles - Quantitative chemical analysis - Part 1: General principles of testing (Текстиль. Количественный химический анализ. Часть 1. Основные принципы испытаний).
3. Принцип проведения испытаний
Ацетатные и триацетатные волокна, поливинилхлоридные волокна, некоторые модифицированные акриловые и некоторые эластановые волокна из пробы с известной сухой массой растворяют в циклогексаноне при температуре, близкой к точке кипения. Нерастворившийся остаток собирают, промывают, высушивают и взвешивают. Его массу, если необходимо с поправкой, выражают в процентах относительно сухой массы смеси. Процентное содержание поливинилхлоридных, модифицированных акриловых, эластановых, ацетатных и триацетатных волокон определяют по разности сухой массы смеси и массы нерастворимого остатка, выраженных в процентах.
4. Реактивы
Используют реактивы, описанные в ISO 1833-1, совместно с реактивами, указанными в 4.1 и 4.2.
4.1. Циклогексанон с температурой кипения 156 °C.
4.2. Этиловый спирт, 50% по объему.
МЕРЫ ПРЕДОСТОРОЖНОСТИ - Циклогексанон является горючим и токсичным. При его применении должны соблюдаться соответствующие меры предосторожности.
5. Аппаратура
Используют аппаратуру, описанную в ISO 1833-1, совместно с приборами, указанными в 5.1 и 5.2.
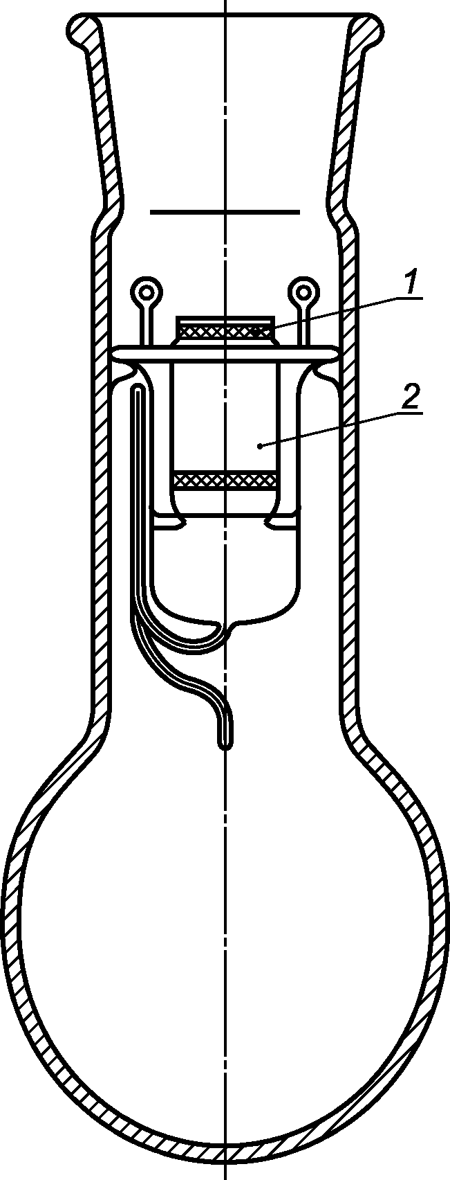
5.1. Аппарат для горячей экстракции (см. Приложение А).
5.2. Фильтровальный тигель, вмещающий образец.
5.3. Пористый экран (степень пористости 1), плоская круглая пробка из стекла со стеклянным фильтром посередине. Пробку помещают на стеклянный фильтровальный тигель.
5.4. Обратный холодильник дефлегматор, который может быть присоединен к перегонной колбе.
5.5. Нагреватель.
6. Метод проведения испытаний
Используют общую процедуру, описанную в ISO 1833-1, и затем выполняют следующее.
Наливают в перегонную колбу циклогексанон из расчета 100 мл на 1 г материала.
Медленно под наклоном вдвигают в перегонную колбу экстракционный контейнер, в который предварительно помещены фильтровальный тигель, содержащий образец для испытаний, и пористый экран. Присоединяют обратный холодильник (дефлегматор). Доводят до кипения и продолжают проводить экстракцию в течение 60 мин с минимальной скоростью 12 циклов в час.
После экстракции и охлаждения вынимают экстракционный контейнер, достают из него фильтровальный тигель и снимают пористый экран.
Промывают содержимое фильтровального тигля три или четыре раза 50% этиловым спиртом, нагретым приблизительно до 60 °C, а затем 1 л воды при 60 °C.
В течение или между процедурами промывки отсасывание не применяют. Дают возможность жидкости стечь под действием силы тяжести, а только затем начинают отсасывать.
Высушивают тигель с остатком, затем охлаждают и взвешивают его.
7. Обработка и оформление результатов
Вычисляют результаты в соответствии с общими указаниями стандарта ISO 1833-1.
Значение d составляет 1,00 за следующими исключениями:
- 1,01 - для шелкового волокна;
- 0,98 - для акрилового волокна.
8. Погрешность
Для однородных смесей текстильных материалов доверительные интервалы результатов измерений, полученных этим методом, не превышают +/- 1% при уровне доверительной вероятности 95%.
Приложение А
(справочное)
АППАРАТ ДЛЯ ГОРЯЧЕЙ ЭКСТРАКЦИИ
Схема аппарата для горячей экстракции изображена на рисунке А.1.
1 - пористая перегородка; 2 - фильтровальный тигель
Рисунок А.1. Аппарат для горячей экстракции
Приложение ДА
(справочное)
СВЕДЕНИЯ О СООТВЕТСТВИИ МЕЖГОСУДАРСТВЕННЫХ СТАНДАРТОВ
ССЫЛОЧНЫМ МЕЖДУНАРОДНЫМ СТАНДАРТАМ
Таблица ДА.1
Обозначение и наименование международного стандарта
Степень соответствия
Обозначение и наименование межгосударственного стандарта
ISO 1833-1:2006 Текстиль. Количественный химический анализ. Часть 1. Основные принципы испытаний
-
<*>
<*> Соответствующий межгосударственный стандарт отсутствует.