Главная // Актуальные документы // ГОСТ (Государственный стандарт)СПРАВКА
Источник публикации
М.: Стандартинформ, 2013
Примечание к документу
Документ включен в
Перечень международных и региональных (межгосударственных) стандартов, а в случае их отсутствия - национальных (государственных) стандартов, в результате применения которых на добровольной основе обеспечивается соблюдение требований технического
регламента Таможенного союза "О безопасности низковольтного оборудования" (ТР ТС 004/2011) и в
Перечень международных и региональных (межгосударственных) стандартов, а в случае их отсутствия - национальных (государственных) стандартов, содержащих правила и методы исследований (испытаний) и измерений, в том числе правила отбора образцов, необходимые для применения и исполнения требований технического
регламента Таможенного союза "О безопасности низковольтного оборудования" (ТР ТС 004/2011) и осуществления оценки соответствия объектов технического регулирования (
Решение Коллегии Евразийской экономической комиссии от 11.05.2023 N 55).
Документ включен в
Перечень стандартов, в результате применения которых на добровольной основе обеспечивается соблюдение требований технического
регламента Таможенного союза "О безопасности низковольтного оборудования" (ТР ТС 004/2011) и в
Перечень стандартов, содержащих правила и методы исследований (испытаний) и измерений, в том числе правила отбора образцов, необходимые для применения и исполнения требований технического
регламента Таможенного союза "О безопасности низковольтного оборудования" (ТР ТС 004/2011) и осуществления оценки соответствия объектов технического регулирования (
Решение Комиссии Таможенного союза от 16.08.2011 N 768).
Текст данного документа приведен с учетом
поправки, опубликованной в "ИУС", N 7, 2022.
Документ
введен в действие с 01.01.2013.
Взамен ГОСТ 17494-87.
Название документа
"ГОСТ IEC 60034-5-2011. Межгосударственный стандарт. Машины электрические вращающиеся. Часть 5. Классификация степеней защиты, обеспечиваемых оболочками вращающихся электрических машин (код IP)"
(введен в действие Приказом Росстандарта от 13.12.2011 N 1165-ст)
"ГОСТ IEC 60034-5-2011. Межгосударственный стандарт. Машины электрические вращающиеся. Часть 5. Классификация степеней защиты, обеспечиваемых оболочками вращающихся электрических машин (код IP)"
(введен в действие Приказом Росстандарта от 13.12.2011 N 1165-ст)
по техническому регулированию
и метрологии
от 13 декабря 2011 г. N 1165-ст
МЕЖГОСУДАРСТВЕННЫЙ СТАНДАРТ
МАШИНЫ ЭЛЕКТРИЧЕСКИЕ ВРАЩАЮЩИЕСЯ
ЧАСТЬ 5
КЛАССИФИКАЦИЯ СТЕПЕНЕЙ ЗАЩИТЫ, ОБЕСПЕЧИВАЕМЫХ ОБОЛОЧКАМИ
ВРАЩАЮЩИХСЯ ЭЛЕКТРИЧЕСКИХ МАШИН (КОД IP)
Rotating electrical machines. Part 5. Classification
of protection degrees provided by the integral design
of rotating electrical machines (IP code)
(IEC 60034-5:2006, IDT)
ГОСТ IEC 60034-5-2011
Дата введения
1 января 2013 года
Цели, основные принципы и основной порядок проведения работ по межгосударственной стандартизации установлены
ГОСТ 1.0-92 "Межгосударственная система стандартизации. Основные положения" и
ГОСТ 1.2-2009 "Межгосударственная система стандартизации. Стандарты межгосударственные, правила и рекомендации по межгосударственной стандартизации. Правила разработки, принятия, применения, обновления и отмены".
1. Подготовлен Федеральным государственным унитарным предприятием "Всероссийский научно-исследовательский институт стандартизации и сертификации в машиностроении" (ВНИИНМАШ).
2. Внесен Федеральным агентством по техническому регулированию и метрологии.
3. Принят Межгосударственным советом по стандартизации, метрологии и сертификации (Протокол от 29 ноября 2011 г. N 40).
За принятие проголосовали:
Краткое наименование страны по МК (ИСО 3166) 004-97 | Код страны по МК (ИСО 3166) 004-97 | Сокращенное наименование национального органа по стандартизации |
Беларусь | BY | Госстандарт Республики Беларусь |
Казахстан | KZ | Госстандарт Республики Казахстан |
Кыргызстан | KG | Кыргызстандарт |
Российская Федерация | RU | Росстандарт |
Таджикистан | TJ | Таджикстандарт |
Туркмения | TM | Главгосслужба "Туркменстандартлары" |
4.
Приказом Федерального агентства по техническому регулированию и метрологии от 13 декабря 2011 г. N 1165-ст межгосударственный стандарт ГОСТ IEC 60034-5-2011 введен в действие в качестве национального стандарта Российской Федерации с 1 января 2013 г.
5. Настоящий стандарт идентичен международному стандарту IEC 60034-5:2006 Rotating electrical machines - Part 5: Degrees of protection provided by the integral design of rotating electrical machines (IP code) - Classification (Вращающиеся электрические машины. Часть 5. Степени защиты, обеспечиваемые оболочками вращающихся электрических машин (Код IP). Классификация).
Сведения о соответствии межгосударственных стандартов ссылочным международным стандартам приведены в дополнительном
Приложении ДА.
Степень соответствия - идентичная (IDT).
Стандарт подготовлен на основе применения ГОСТ Р МЭК 60034-5-2007.
6. Взамен ГОСТ 17494-87.
Информация о введении в действие (прекращении действия) настоящего стандарта публикуется в ежемесячно издаваемом указателе "Национальные стандарты".
Информация об изменениях к настоящему стандарту публикуется в ежегодно издаваемом указателе "Национальные стандарты", а текст изменений и поправок - в ежемесячно издаваемых информационных указателях "Национальные стандарты". В случае пересмотра или отмены настоящего стандарта соответствующая информация будет опубликована в ежемесячно издаваемом информационном указателе "Национальные стандарты".
Настоящий стандарт распространяется на электрические вращающиеся машины без ограничения мощности, частоты вращения и напряжения (далее - машины) и устанавливает классификацию степеней защиты, обеспечиваемых оболочками машин.
Стандарт устанавливает требования к защитным оболочкам, которые соответствуют их назначению и которые, относительно материалов и конструкции, в нормальных условиях эксплуатации обеспечивают неизменность степени защиты, предписанной настоящим стандартом.
Настоящий стандарт не устанавливает требования:
- к степеням защиты от механических повреждений или от таких внешних воздействующих факторов, как влажность (например, вследствие конденсации), коррозийные пары, плесневые грибы;
- к типам защиты машин, предназначенных для использования во взрывоопасной среде;
- к внешним ограждениям оболочки, которые должны самостоятельно обеспечивать безопасность персонала.
При применении машин, например в сельском хозяйстве или в быту, к защитным оболочкам могут быть установлены дополнительные требования, направленные против случайных или намеренных прикосновений к токоведущим частям.
В настоящем стандарте применены степени защиты, обеспечиваемые оболочками машин, относительно защиты:
- персонала от прикосновения к токоведущим или движущимся частям (кроме гладких вращающихся валов и подобных им), находящимся внутри оболочки;
- машин от проникновения в них твердых инородных тел;
- машин от вредных воздействий проникающей в них воды.
Стандарт определяет обозначения для данных степеней защиты и устанавливает испытания, которые должны быть проведены для подтверждения соответствия машин требованиям настоящего стандарта.
В настоящем стандарте использованы нормативные ссылки на следующие стандарты:
IEC 60034-1:2004 Rotating electrical machines - Part 1: Rating and performance (Вращающиеся электрические машины. Часть 1. Номинальные данные и характеристики)
IEC 60034-6:1991 Rotating electrical machines; Part 6: methods of cooling (IC code) (Вращающиеся электрические машины. Часть 6. Методы охлаждения (Код IC)
Обозначение степени защиты состоит из характеристических букв латинского алфавита IP и последующих двух характеристических цифр, указывающих на соответствие машин требованиям, описанным в таблицах 1,
2 и
3.
Таблица 1
Степени защиты, обозначенные первой характеристической
цифрой
Первая характеристическая цифра | Степень защиты | Условия испытаний |
| Определение |
0 | Незащищенная машина | Нет специальной защиты | Испытание не проводят |
| Машина, защищенная от твердых тел размером более 50 мм | Исключено случайное или неумышленное прикосновение (или приближение) к токоведущим или движущимся частям внутри оболочки частью тела человека, например рукой (но от умышленного прикосновения защита не предусмотрена). | |
Исключено проникновение твердых тел диаметром более 50 мм |
| Машина, защищенная от твердых тел размером более 12 мм | Исключено прикосновение (или приближение) к токоведущим или движущимся частям внутри оболочки пальцами или подобными предметами длиной не более 80 мм. | |
Исключено проникновение твердых тел диаметром более 12 мм |
| Машина, защищенная от твердых тел размером более 2,5 мм | Исключено прикосновение (или приближение) к токоведущим и движущимся частям внутри оболочки инструментом или проволокой диаметром более 2,5 мм. | |
Исключено проникновение твердых тел диаметром более 2,5 мм |
| Машина, защищенная от твердых тел размером более 1 мм | Исключено прикосновение (или приближение) к токоведущим или движущимся частям внутри оболочки проволокой или металлической полоской толщиной более 1 мм. | |
Исключено проникновение твердых тел диаметром более 1 мм |
| Машина, защищенная от пыли | Исключено прикосновение или приближение к токоведущим и движущимся частям внутри оболочки. | |
Проникновение пыли полностью не исключено, однако пыль не может проникать в количестве, достаточном для нарушения удовлетворительной работы машины |
6 | Пыленепроницаемые машины | Исключено полностью проникновение пыли | |
<1> Краткое описание, приведенное во втором столбце, не следует использовать для определения типа защиты. |
<2> Машины, имеющие степень защиты, определяемую первой характеристической цифрой 1, 2, 3 или 4, должны быть защищены от проникновения твердых предметов правильной или неправильной формы, размеры которых в трех взаимно перпендикулярных направлениях превышают приведенные в графе "Определение". |
<3> Степень защиты от пыли, определяемая настоящим стандартом, носит общий характер. Если указано происхождение пыли (размеры частиц, их природа, например волокнистые частицы), то условия испытаний определяют по соглашению между изготовителем и потребителем. |
Таблица 2
Требования к испытаниям защитных устройств
Степень защиты машин | Испытание |
IP1X | С помощью шарика диаметром 50 мм |
От IP2X до IP6X | С помощью пальца |
Таблица 3
Степени защиты, обозначенные второй характеристической
цифрой
Вторая характеристическая цифра | Степень защиты | Условия испытаний |
| Определение |
0 | Незащищенная машина | Нет специальной защиты | Испытание не проводят |
1 | Машина, защищенная от капающей воды | Вертикально падающие капли не должны оказывать вредного воздействия | |
2 | Машина, защищенная от капель воды, падающих под углом 15° | Вертикально падающие капли не должны оказывать вредного воздействия, если машина наклонена под любым углом до 15° от нормального положения |
3 | Машина, защищенная от дождя | Капли дождя, падающие под углом 60° к вертикали, не должны оказывать вредного воздействия | |
4 | Машина, защищенная от разбрызгиваемой воды | Вода, разбрызгиваемая на машину в любом направлении, не должна оказывать вредного воздействия | |
5 | Машина, защищенная от водяных струй | Струя воды, направленная из шланга с наконечником на машину с любого направления, не должна оказывать вредного воздействия | |
6 | Машина, защищенная от воздействия морских волн | Вода от морских волн или вода, выбрасываемая из мощного сопла, не должна проникать внутрь машины в количестве, оказывающем вредное воздействие | |
7 | Машина, защищенная от проникновения воды при кратковременном погружении | Вода в количестве, оказывающем вредное воздействие, не должна проникать в машину, погруженную в воду, при определенных значениях давления и времени | |
8 | Машина, защищенная от проникновения воды при продолжительном погружении | Машина пригодна для продолжительного погружения в воду при условиях, определяемых изготовителем <2> | |
<1> Краткое описание, приведенное во втором столбце, не следует использовать для определения типа защиты. |
<2> Обычно это означает, что машина имеет герметизирующие уплотнения. Однако для машин некоторых типов это означает, что допускается возможность проникновения воды, но только в количестве, не оказывающем вредного воздействия. |
3.1. Одна характеристическая цифра
Если требуется обозначить степень защиты только одной характеристической цифрой, то опущенные цифры должны быть заменены буквой X, например IPX5 или IP2X.
3.2. Вспомогательные буквы
Дополнительную информацию можно вводить с помощью вспомогательных букв, следующих за второй характеристической цифрой. При использовании более одной буквы должна быть соблюдена алфавитная последовательность.
3.2.1. Для машин специального назначения (например, машин с разомкнутой системой охлаждения, устанавливаемых на палубе кораблей, с закрытыми во время стоянки входными и выходными воздухозаборными отверстиями) за цифрами может следовать буква, указывающая, проводят ли проверку или испытание на защищенность от вредных воздействий проникающей воды невращающейся машины (буква S) или вращающейся машины (буква M). В этом случае степень защиты должна быть указана для каждого состояния машин, например IP55S/IP20M.
Отсутствие букв S и M означает, что требуемая степень защиты будет обеспечена при всех нормальных условиях эксплуатации машин.
3.2.2. Для открытых машин, охлаждаемых воздухом и предназначенных для использования при определенных погодных условиях, а также снабженных дополнительными средствами защиты (как указано в
5.1 и
разделе 10), может быть использована буква W, следующая за буквами IP.
3.3. Пример обозначения
4. СТЕПЕНИ ЗАЩИТЫ. ПЕРВАЯ ХАРАКТЕРИСТИЧЕСКАЯ ЦИФРА
4.1. Обозначение степени защиты
Первая характеристическая цифра обозначает обеспечиваемую оболочкой степень защиты персонала от прикосновения к токоведущим и движущимся частям, находящимся внутри оболочки, а также защиту машин от проникновения в них инородных твердых тел.
В
таблице 1 в третьем столбце приведено подробное описание предметов, которые не должны проникать в оболочку при соответствующей степени защиты, обозначаемой первой характеристической цифрой.
Термин "не должны проникать" означает, что часть тела, инструмент или проволока, которую держит человек, не должны проникнуть в машину или, в случае проникновения, между ними и токоведущими частями или движущимися частями (гладкие вращающиеся валы и подобные им части не считают опасными) должно остаться достаточное (безопасное) расстояние.
В третьем столбце
таблицы 1 указаны также минимальные размеры твердых инородных тел, которые не должны проникать в машину.
4.2. Соответствие указанным степеням защиты
Соответствие оболочки указанной степени защиты означает, что данная оболочка должна также удовлетворять всем более низким степеням защиты, приведенным в
таблице 1. Испытания, устанавливающие соответствие указанным более низким степеням защиты, не проводят, за исключением особых случаев.
Лопасти и крыльчатки вентиляторов, находящиеся вне оболочки, должны быть защищены от прикосновения к ним с помощью защитных устройств, соответствующих требованиям
таблицы 2.
При испытании ротор должен медленно поворачиваться. Например, это может быть осуществлено руками.
Гладкие вращающиеся валы и подобные им части не считают опасными.
4.4. Отверстия для слива конденсата
Если машина имеет отверстия для слива конденсата, то необходимо учесть следующее:
- отверстия для слива конденсата, которые открыты при нормальной работе, должны быть открыты и при испытании;
- отверстия для слива конденсата, которые закрыты при нормальной работе, должны быть закрыты и при испытании;
- если машина со степенью защиты IP3X или IP4X предназначена для работы с открытыми отверстиями для слива конденсата, эти отверстия должны иметь защиту IP2X;
- если машина со степенью защиты IP5X предназначена для работы с открытыми отверстиями для слива конденсата, эти отверстия должны иметь защиту IP4X.
5. СТЕПЕНИ ЗАЩИТЫ. ВТОРАЯ ХАРАКТЕРИСТИЧЕСКАЯ ЦИФРА
5.1. Вторая характеристическая цифра означает степень защиты, обеспечиваемую оболочкой, от вредных воздействий проникающей воды.
В третьем столбце
таблицы 3 приведено подробное описание типа защиты, обеспечиваемой оболочкой, для каждой степени защиты в соответствии со второй характеристической цифрой.
Открытая машина, охлаждаемая воздухом, является защищенной от внешних воздействующих факторов, если благодаря конструктивным мерам снижено проникновение капель дождя, снега и частиц, находящихся в воздухе, до такой степени, что это не мешает нормальной работе машины.
Эту степень защиты обозначают буквой W, следующей за второй характеристической цифрой.
5.2. Для второй характеристической цифры до шести включительно оболочка с указанной степенью защиты удовлетворяет всем более низким степеням защиты, приведенным в
таблице 3. Вследствие этого испытания, устанавливающие указанные более низкие степени защиты, не проводят, за исключением сомнительных случаев.
На степени защиты IPX7 и IPX8 требование о том, что указанная степень защиты, обеспечиваемая оболочкой, удовлетворяет всем более низким степеням защиты, приведенным в
таблице 3, не распространяется.
Рекомендуется характеристические буквы и цифры наносить на табличку номинальных данных машин или, если это невозможно, на оболочку.
Если все части машины имеют различные степени защиты, то следует сначала приводить обозначение самой низкой степени защиты, а затем, при необходимости, более высокой степени защиты и обозначение части машины, к которой относится эта степень защиты.
Примечание. Поскольку место на табличке номинальных данных ограничено, обычно разрешается указывать только самый низкий код IP. Части или компоненты машины, имеющие более высокие степени защиты, должны быть указаны в сопроводительной документации и/или в инструкции по эксплуатации.
Допускается не указывать на табличке номинальных данных или в сопроводительной документации наименьшие степени защиты:
- защитных устройств наружных вентиляторов (см.
4.3);
- отверстий для слива конденсата (см.
4.4).
Если способ монтажа машины на месте эксплуатации влияет на степень защиты, то необходимые средства монтажа должны быть указаны изготовителем на паспортной табличке или в инструкции по монтажу.
7. ОСНОВНЫЕ ТРЕБОВАНИЯ К ИСПЫТАНИЯМ
Испытания, устанавливаемые настоящим стандартом, являются типовыми. Эти испытания следует проводить на серийных машинах или на их образцах. Если это невыполнимо, то проводят альтернативные испытания, которые должны быть предметом соглашения между изготовителем и потребителем.
Если иное не обусловлено, то для каждого испытания машина должна быть представлена чистой и все части должны быть смонтированы так, как указано изготовителем.
Если обе - первая и вторая - характеристические цифры - это 1, 2, 3 и 4, то в некоторых случаях достаточно визуального осмотра, чтобы убедиться, что предусмотренная степень защиты обеспечена. В этих случаях испытания не проводят. Однако в сомнительных случаях испытания следует проводить в соответствии с
разделами 8 и
9.
7.1. Достаточное расстояние
Значение термина "достаточное расстояние" для целей испытаний, изложенных в настоящем стандарте, соответствует 7.1.1 или 7.1.2.
7.1.1. Низковольтные машины (номинальное напряжение не выше 1000 В переменного тока и 1500 В постоянного тока)
Испытательное устройство (шар, испытательный палец, проволока и т.д.) не касается токоведущих или движущихся частей машины, кроме частей, не представляющих собой опасности, таких, как гладкие вращающиеся валы.
7.1.2. Высоковольтные машины (номинальное напряжение выше 1000 В переменного тока и 1500 В постоянного тока)
Машина должна быть способна выдержать предписанное для нее испытание на электрическую прочность при помещении испытательного устройства в наиболее неблагоприятном месте.
Испытание на электрическую прочность может быть заменено измерением воздушного зазора, который должен быть таким, чтобы при наиболее неблагоприятной форме электрического поля электрическая прочность была гарантирована.
8. ИСПЫТАНИЯ НА СООТВЕТСТВИЕ ПЕРВОЙ ХАРАКТЕРИСТИЧЕСКОЙ
ЦИФРЕ
Согласованные условия испытаний и критерии для первой характеристической цифры приведены в таблице 4.
Таблица 4
Условия испытаний и критерии для первой характеристической
цифры
Первая характеристическая цифра | Условия испытаний и критерии |
0 | Испытание не проводят |
1 | Испытание проводят с помощью твердого шара диаметром  , прикладываемого к отверстию(ям) в оболочке с силой от 45 до 55 Н. |
Защиту считают удовлетворительной, если шар не проходит ни через одно из отверстий и сохраняется достаточное расстояние до токоведущих и движущихся частей внутри машины |
2 | a) Испытание с помощью испытательного пальца. Испытание проводят с помощью металлического испытательного пальца, показанного на рисунке А.1 Приложения А. Обе части этого пальца могут быть согнуты под углом 90° относительно оси пальца, но только в одном и том же направлении. Палец прикладывают без чрезмерного усилия (с силой не более 10 Н) ко всем отверстиям оболочки и, если он проникает внутрь, поворачивают во всех возможных направлениях. Защиту считают удовлетворительной, если между испытательным пальцем и токоведущими или движущимися частями внутри машины сохраняется достаточное расстояние. В то же время допустимо прикосновение к гладким вращающимся валам и подобным им безопасным частям. При этом испытании внутренние движущиеся части допускается медленно вращать, если это выполнимо. При испытании низковольтных машин источник питания низкого напряжения (не менее 40 В), соединенный последовательно с лампой, может быть подключен между испытательным пальцем и токоведущими частями внутри оболочки. Проводящие части, покрытые только лаком или краской или защищенные оксидированием или другим подобным способом, должны быть покрыты металлической фольгой, электрически соединенной с теми частями, которые обычно находятся под напряжением при эксплуатации. Защиту считают удовлетворительной, если лампа не загорается. |
Для высоковольтных машин достаточное расстояние проверяют испытанием на электрическую прочность или измерением зазоров в соответствии с 7.1.2 |
2 | b) Испытание с помощью шара |
Испытание проводят с помощью твердого шара диаметром  , прикладываемого к отверстиям в оболочке с силой от 27 до 33 Н. |
Защиту считают удовлетворительной, если шар не проходит ни через одно из отверстий и сохраняется достаточное расстояние до токоведущих или движущихся частей внутри машины |
3 | Испытание проводят с помощью прямой твердой стальной проволоки или стержня диаметром  , прикладываемого с силой от 2,7 до 3,3 Н. Конец проволоки или стержня не должен иметь заусенцев и должен быть отрезан под прямым углом к длине. |
Защиту считают удовлетворительной, если проволока или стержень не может проникнуть внутрь оболочки |
4 | Испытание проводят с помощью твердой стальной проволоки диаметром  , прикладываемой с силой от 0,9 до 1,1 Н. Конец проволоки не должен иметь заусенцев и должен быть отрезан под прямым углом к ее длине. |
Защиту считают удовлетворительной, если проволока не может проникнуть внутрь оболочки |
5 | |
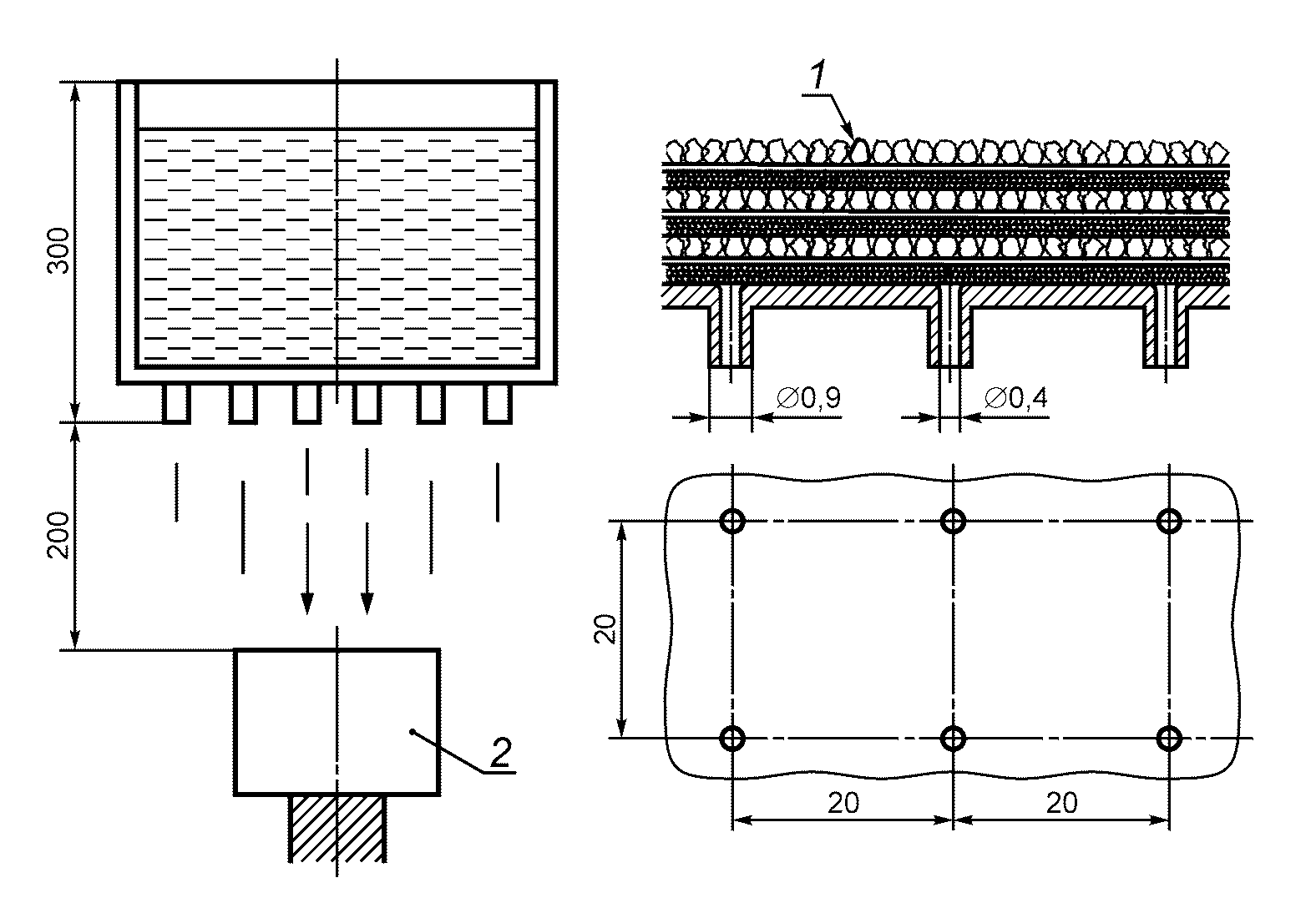
Испытание проводят с помощью устройства, соответствующего принципиальной схеме, представленной на рисунке А.2 Приложения А. В указанном устройстве порошок талька поддерживают во взвешенном состоянии в закрытой испытательной камере. Порошок, используемый при испытании, предварительно просеивают через сито с квадратными ячейками, изготовленное из проволоки номинальным диаметром 50 мкм при номинальном расстоянии между проволоками 75 мкм. Количество используемого порошка талька - 2 кг на 1 м3 объема испытательной камеры. Порошок должен быть использован не более чем для 20 испытаний. |
Электрические машины имеют оболочку, внутри которой обычный рабочий цикл машины может вызывать уменьшение давления относительно давления окружающей среды. Это уменьшение может быть, например, результатом воздействия термических циклов (категория 1). |
При этом испытании машину помещают внутрь испытательной камеры, давление внутри машины устанавливают ниже атмосферного с помощью вакуумного насоса. Если оболочка имеет одно отверстие для слива конденсата, то насос присоединяют через специально предусмотренное для этого испытания отверстие, за исключением случаев, когда оно должно быть закрыто при работе (см. 4.4). |
Испытание проводят продуванием через машину, если это возможно, не менее 80-кратного объема воздуха испытательной камеры со скоростью не выше 60 объемов воздуха в час при соответствующем разрежении. В любом случае разрежение внутри оболочки не должно превышать 2 кПа (20 мбар), что определяют по манометру, показанному на рисунке А.2 Приложения А. |
При достижении скорости продувания от 40 до 60 объемов воздуха в час испытание прекращают через 2 ч. |
Если при максимальном разрежении в 2 кПа (20 мбар) скорость продувания составляет менее 40 объемов воздуха камеры в час, то испытание продолжают до продувания 80-кратного объема воздуха или до истечения 8 ч. |
Если в испытательной камере практически невозможно испытать машину в сборе, то должен быть применен один из способов испытания, указанных ниже: |
- испытание частей машины, снабженных индивидуальной оболочкой (коробки выводов, кожухи контактных колец и т.д.); |
- испытание характерных частей машины, составных компонентов, таких как заслонки, вентиляционные отверстия, соединения, уплотнения валов и т.д., с уязвимыми частями машины, такими как выводные зажимы, контактные кольца и т.д., смонтированные в один узел на время испытаний; |
- испытание машин меньших размеров, имеющих такие же конструктивные детали в натуральную величину; |
- испытание в условиях, определенных соглашением между изготовителем и потребителем. |
При втором и третьем способах испытаний объем воздуха, проходящего через машину, должен быть равен объему воздуха, предназначенному для испытания машины в сборе. Защиту считают удовлетворительной, если, как показала проверка, порошок талька не накопился в таком количестве и в таком месте, как и при любой обычной пыли (например, непроводящая, негорючая, невзрывоопасная или химическая коррозионная пыль), что может помешать нормальной работе машины |
b) Испытание с помощью проволоки |
Если машина должна работать с открытым(ми) отверстием(ями) для слива конденсата, то испытание следует проводить так же, как для первой характеристической цифры 4, т.е. с помощью проволоки диаметром 1 мм |
6 | Испытания соответствуют 5a). |
Защиту считают удовлетворительной, если при проверке не обнаружено проникновение порошка талька |
Испытания на пыль для характеристических цифр 5 и 6 должны быть проведены при неподвижном роторе при условии, что различие давлений (как результат вентиляционного эффекта) между вращающимся и неподвижным роторами составляет менее 2 кПа. Если различие в давлениях более 2 кПа, внутреннее давление в машине во время испытания на пыль должно быть соответственно снижено. Возможно испытание машины при вращении ротора с номинальной частотой.
9. ИСПЫТАНИЯ НА СООТВЕТСТВИЕ ВТОРОЙ ХАРАКТЕРИСТИЧЕСКОЙ
ЦИФРЕ
9.1. Условия испытаний
Условия испытаний на соответствие второй характеристической цифре указаны в таблице 5.
Таблица 5
Условия испытаний на соответствие второй
характеристической цифре
Первая характеристическая цифра | Условия испытаний и критерии |
0 | Испытание не проводят |
1 | Испытание проводят с помощью устройства, принцип работы которого показан на рисунке А.3 Приложения А. |
Поток воды должен равномерно стекать со всей поверхности устройства (далее - капельное устройство) и имитировать дождь со скоростью поступления воды от 3 до 5 мм/мин (при применении устройства, показанного на рисунке А.3, скорость поступления воды составляет от 3 до 5 мм/мин). |
Испытуемую машину в нормальном рабочем положении помещают под капельное устройство, площадь основания которого должна быть больше площади испытуемой машины. За исключением машин, предназначенных для установки на стене или потолке, при испытании площадь подставки для оболочки должна быть меньше площади основания испытуемой оболочки. |
Машину, обычно устанавливаемую на стене или потолке, крепят в своем нормальном рабочем положении к деревянной плите, размеры которой равны тем размерам машины, которые находятся в соприкосновении со стеной или потолком, когда машина смонтирована для нормальной работы. |
Продолжительность испытания - 10 мин |
2 | Капельное устройство должно быть такое же, какое указано для второй характеристической цифры 1, и работать с такой же скоростью потока воды. |
Машину испытывают в течение 2,5 мин в каждом из четырех наклонных положений под углом 15° к вертикали в двух взаимно перпендикулярных плоскостях. |
Общая продолжительность испытания - 10 мин |
3 | Испытание проводят с помощью устройства, показанного на рисунке А.4 Приложения А, при условии, что при данных размерах и форме испытуемой машины радиус качающейся трубки не превышает 1 м. |
Если это условие невыполнимо, то для обливания применяют ручное устройство, показанное на рисунке А.5 Приложения А. |
a) Условия использования устройства для испытания, показанного на рисунке А.4 Приложения А |
Интенсивность полного водяного потока должна быть установлена в зависимости от числа отверстий при среднем расходе воды (от 0,067 до 0,074 л/мин на отверстие). Полный расход воды измеряют расходомером. |
Качающаяся трубка должна иметь отверстия для разбрызгивания воды, расположенные по дуге 60° по обе стороны от вертикали, и должна находиться в вертикальном положении. Испытуемую машину монтируют на поворотном столе с вертикальной осью и располагают приблизительно в его центре. Стол вращают с такой скоростью, чтобы за время испытания были смочены все части машины. Минимальная продолжительность испытания - 10 мин. |
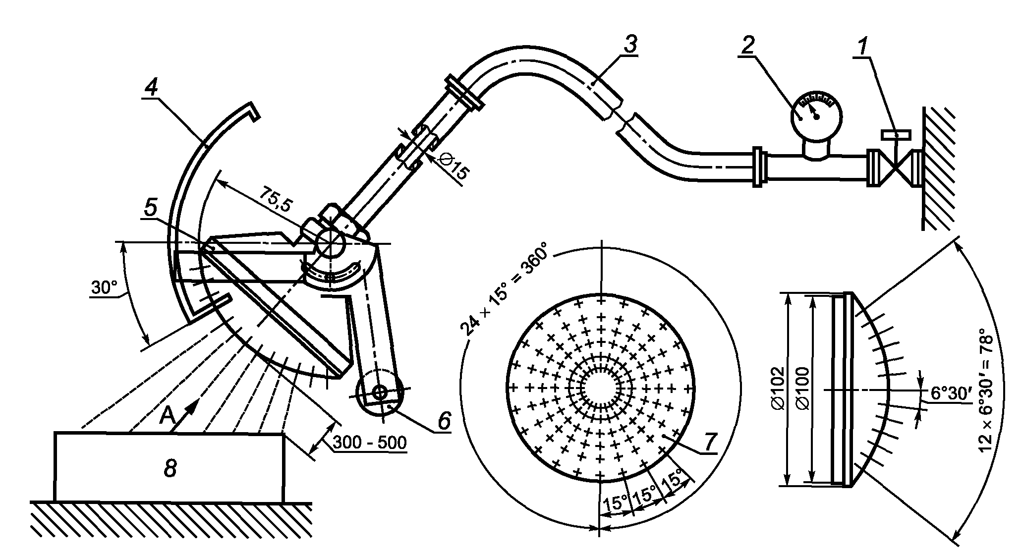
b) Условия использования устройства для испытания, показанного на рисунке А.5 Приложения А |
Для этих испытаний применяют подвижный экран. |
Давление воды [приблизительно от 80 до 100 кПа (0,8 до 1,0 бар)] регулируют так, чтобы расход воды составлял (10 + 0,5) л/мин. |
Продолжительность испытания должна быть 1 мин/м2 расчетной поверхности машины (за исключением монтажных поверхностей и ребер для охлаждения), но не менее 5 мин |
4 | Условия выбора устройства, показанного на рисунке А.4 или рисунке А.5 Приложения А, такие же, как установленные для степени защиты второй характеристической цифры 3. |
a) Использование устройства, показанного на рисунке А.4 Приложения А |
Качающаяся трубка должна иметь отверстия по всей длине своей дуги 180°. Продолжительность испытания и расход воды такие же, как для степени защиты второй характеристической цифры 3. |
Подставка для машины при испытании должна быть решетчатой для лучшего стока воды, и оболочка должна быть обрызгана водой со всех сторон с помощью качающейся трубки со скоростью  до предела ее перемещения в каждом направлении. |
b) Использование устройства, показанного на рисунке А.5 Приложения А |
Подвижный экран с противовесом снимают с разбрызгивающего устройства, и машину обрызгивают во всех направлениях. |
Расход воды и время обрызгивания единицы площади такие же, как для степени защиты второй характеристической цифры 3 |
5 | Испытание проводят обливанием машины во всех направлениях струей воды из шланга со стандартным наконечником, показанным на рисунке А.6 Приложения А. При испытании соблюдают следующие условия: |
- внутренний диаметр наконечника - 6,3 мм; |
- расход воды - 11,9 - 13,2 л/мин; |
- давление воды на выходе из наконечника (приблизительно) - 30 кПа (0,3 бар) (см. примечание 1); |
- продолжительность испытания каждого 1 м2 поверхности машины - 1 мин; |
- минимальная продолжительность испытания - 3 мин; |
- расстояние от наконечника до поверхности машины (приблизительно) - 3 м (см. примечание 2). (Это расстояние может быть уменьшено для обеспечения лучшего смачивания оболочки струей воды, направленной вверх) |
6 | Испытание проводят обливанием машины струей воды во всех направлениях из шланга со стандартным наконечником, показанным на рисунке А.6 Приложения А. При испытании соблюдают следующие условия: |
- внутренний диаметр наконечника - 12,5 мм; |
- расход воды - 95 - 105 л/мин; |
- давление воды на выходе из наконечника (приблизительно) - 100 кПа (1 бар) (см. примечание 1); |
- продолжительность испытания каждого 1 м2 поверхности машины - 1 мин; |
- минимальная продолжительность испытания - 3 мин; |
- расстояние от наконечника до поверхности машины (приблизительно) - 3 м (см. примечание 2) |
7 | Испытание проводят полным погружением машины в воду с соблюдением следующих требований: |
- слой воды над самой верхней точкой машины должен быть не менее 150 мм; |
- нижняя часть машины должна быть погружена в воду не менее чем на 1 м; |
- минимальная продолжительность испытания - 30 мин; |
- температура воды не должна отличаться от температуры машины более чем на 5 °C. |
По согласованию между изготовителем и потребителем это испытание может быть заменено следующим: |
- машину испытывают при внутреннем давлении около 10 кПа (0,1 бар); продолжительность испытания - 1 мин. |
Результаты испытания считают удовлетворительными, если во время его проведения не будет обнаружена утечка воздуха. Место утечки можно определить либо кратковременным погружением машины в воду (вода только покрывает машину), либо использованием водного раствора мыла |
8 | Условия испытания являются предметом соглашения между изготовителем и потребителем, но не должны быть менее жесткими по сравнению с установленными для степени защиты второй характеристической цифры 7 |
Примечания |
1. Измерение давления воды на выходе из наконечника можно заменить измерением высоты, на которую свободно поднимается струя воды из наконечника: |
- давление: 30 кПа (0,3 бар); высота: 2,5 м; |
- давление: 100 кПа (1,0 бар); высота: 8,0 м. |
2. Расстояние от наконечника до испытуемой машины (исходя из практических соображений) установлено равным 3 м для степени защиты вторых характеристических цифр 5, 6; это расстояние может быть уменьшено при испытании машины во всех направлениях. |
При испытании следует использовать пресную воду. Во время испытаний влага, содержащаяся внутри оболочки, может частично конденсироваться. Влагу, которая при этом образуется, не следует принимать за просачивающуюся воду.
Для испытаний поверхностная площадь машины должна быть определена с точностью до 10%.
Если возможно, при испытании машина должна вращаться с номинальной скоростью. Это может быть достигнуто с помощью механических средств или при подаче питания.
Если на машину подают питание, то следует принять соответствующие меры безопасности при испытании машины под напряжением.
9.2. Критерии испытаний
После испытаний, проведенных в соответствии с условиями по
таблице 5, машина должна быть проверена на возможность проникновения воды, а также на соответствие следующим требованиям:
9.2.1. Количество воды, попавшей в машину, не должно мешать ее нормальной работе. Обмотки и токоведущие части, которые не предназначены для работы в увлажненном состоянии, не должны быть влажными, и должно быть исключено накапливание внутри машины воды, попадание которой возможно на эти части.
Допускается смачивание лопастей вентиляторов, находящихся внутри вращающихся машин, а также инфильтрация воды по линии вала, если предусмотрены меры для ее удаления.
9.2.2. Если испытание было проведено на невращающейся машине, то она должна работать в режиме холостого хода при номинальном напряжении в течение 15 мин, затем машина должна быть испытана на высоковольтное напряжение, равное 50% испытательного напряжения для новой машины (но не менее 125% номинального напряжения).
Если испытание было проведено на вращающейся машине, то ее подвергают испытанию только на электрическую прочность в соответствии с
7.1.2.
Результаты испытания считают удовлетворительными, если по окончании проверок не будут установлены отклонения от требований IEC 60034-1.
10. ТРЕБОВАНИЯ К ОТКРЫТЫМ МАШИНАМ, ЗАЩИЩЕННЫМ
ОТ ВОЗДЕЙСТВИЙ ВНЕШНИХ КЛИМАТИЧЕСКИХ ФАКТОРОВ,
И ИХ ИСПЫТАНИЯМ
Степень защиты W применяют для открытых машин, охлаждаемых воздухом и имеющих разомкнутую систему охлаждения. Степени защиты этих машин в зависимости от способов охлаждения обозначают от IC0X до IC3X по IEC 60034-6.
Машины, защищенные от воздействий внешних климатических факторов, должны быть сконструированы таким образом, чтобы была снижена возможность попадания дождя, снега и находящихся в воздухе частиц на электрические части машины.
Другие средства защиты от воздействий внешних климатических факторов такие, как капсульные обмотки или полностью закрытые машины, не обозначают буквой W.
Машины, обладающие степенью защиты W, должны иметь вентиляционные каналы, сконструированные следующим образом:
a) входящий и выходящий с большой скоростью воздух и частицы, переносимые воздухом, не должны попадать во внутренние каналы, расположенные непосредственно на электрических частях машины;
b) входящий воздух на своем пути должен иметь не менее трех резких (не менее чем на 90°) изменений направлений, достигаемых с помощью перегородок или специальной камеры;
c) входящий воздух на своем пути должен создавать зону, где средняя скорость потока воздуха составляет не более 3 м/с, для оседания определенного количества частиц, переносимых воздухом. Вместо камеры для оседания частиц может быть использован сменный или легкоочищаемый фильтр или другое устройство для сбора частиц.
Защита машины от соприкосновения, посторонних предметов и воды должна быть подтверждена испытаниями, предназначенными для установленной степени защиты.
Конструкция коробки выводов должна соответствовать степени защиты не менее IP54.
При необходимости должны быть согласованы мероприятия для создания защиты против обледенения, влажности, коррозии или других ненормальных воздействующих факторов (например, нагрев против конденсации влаги).
Проверку подтверждения степени защиты от воздействий внешних климатических факторов W достаточно проводить по чертежам.
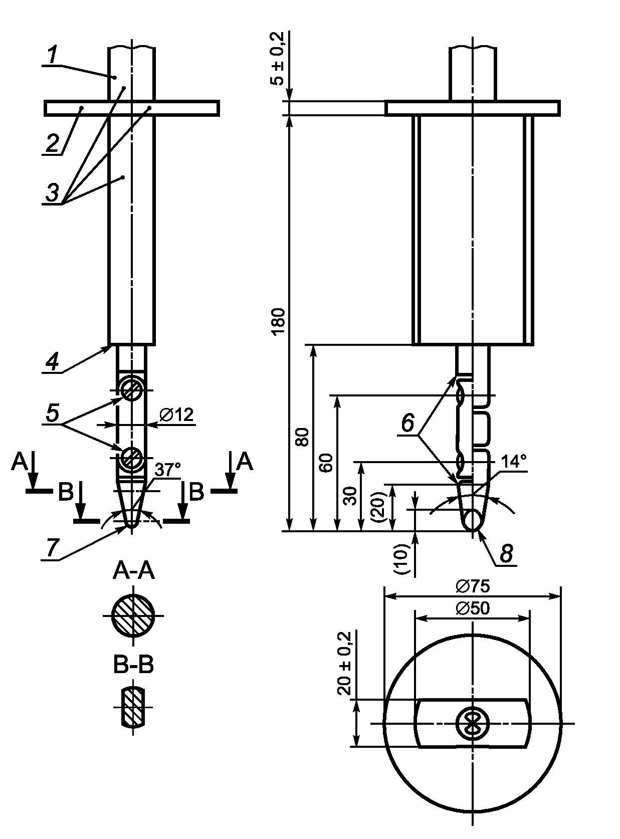
(обязательное)
1 - рукоятка; 2 - ограничительный щиток; 3 - изоляционный
материал; 4 - упорная поверхность; 5 - место соединения;
6 - фаска (снимать фаску со всех краев);
7 - цилиндрическая поверхность (R2 +/- 0,05);
8 - сферическая поверхность (R4 +/- 0,05)
Допуски на размеры (без специальных допусков):
- на углы:

;
- на линейные размеры: до 25 мм:

; св. 25 мм: +/- 0,2 мм.
Материал испытательного пальца: горячекатаная сталь.
Оба соединения испытательного пальца могут быть согнуты под углом

, но только в одном направлении.
Использование шпильки и паза является одним из возможных способов для ограничения сгибания на 90°, поэтому на рисунке не приведены размеры и допуски этих деталей. На реальном чертеже будет показан угол сгиба 90° с допусками от 0° до + 10°.
Рисунок А.1. Стандартный испытательный палец
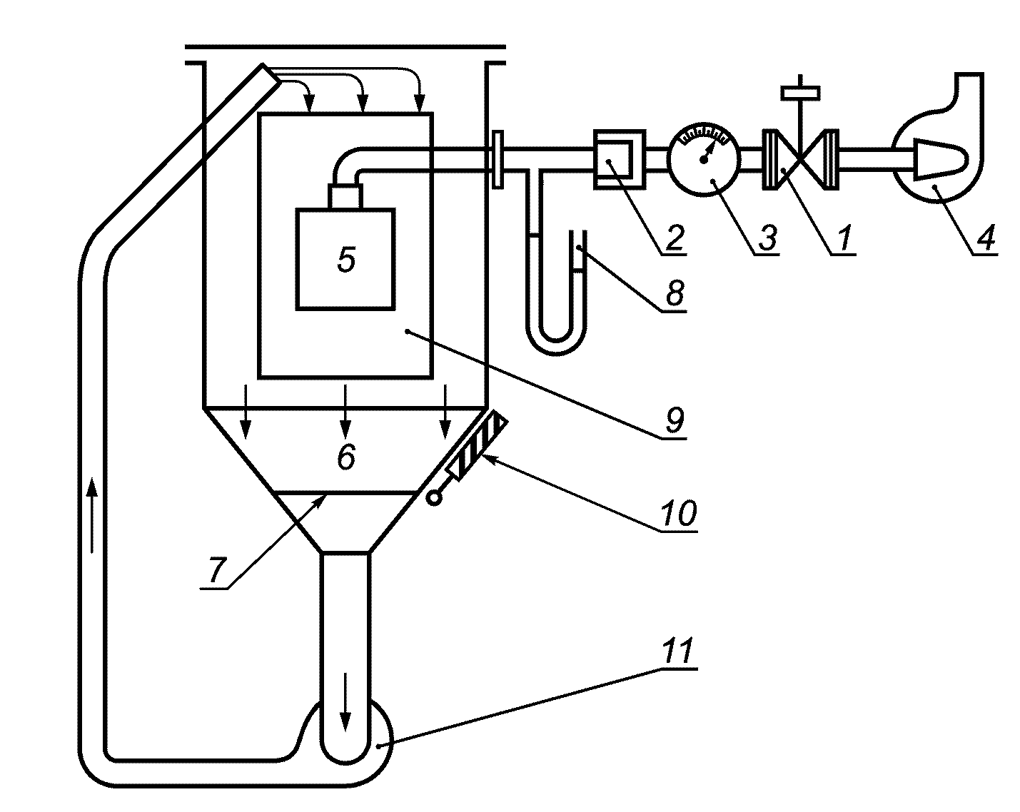
1 - клапан; 2 - фильтр для очистки пыли; 3 - измеритель
расхода воздуха; 4 - вакуумный насос; 5 - испытуемая
машина; 6 - порошок талька; 7 - проволочная сетка;
8 - манометр; 9 - стеклянное окно; 10 - вибратор;
11 - циркуляционный насос
Рисунок А.2. Устройство для проверки защиты от пыли
1 - слои песка и гравия для регулирования потока воды,
эти слои разделены металлической сеткой и промокательной
бумагой; 2 - испытуемая машина
Рисунок А.3. Устройство для проверки защиты от капель воды
1 - отверстия диаметром 0,4 мм (показаны отверстия
для капель воды для проверки степени защиты второй
характеристической цифры 2); 2 - испытуемая машина;
3 - противовес
Рисунок А.4. Устройство для проверки защиты от дождевания
и разбрызгивания воды
1 - кран; 2 - манометр; 3 - шланг; 4 - подвижный экран
(алюминий); 5 - разбрызгиватель; 6 - противовес;
7 - разбрызгиватель (латунь) со 121 отверстием диаметром
0,5 мм: одно отверстие в центре, две внутренние окружности
с 12 отверстиями через 30°, четыре внешние окружности с 24
отверстиями через 15°; 8 - испытуемая машина
Рисунок А.5. Ручное устройство для проверки защиты
от дождевания и разбрызгивания воды
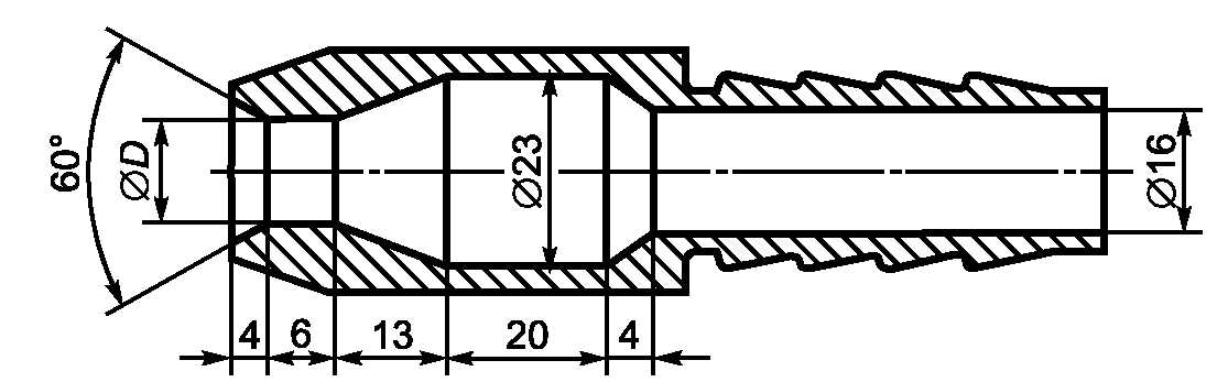
D - внутренний выходной диаметр наконечника:
D - 6,3 мм для испытаний по
таблице 5, вторая характеристическая цифра 5;
D - 12,5 мм для испытаний по
таблице 5, вторая характеристическая цифра 6
Рисунок А.6. Стандартный наконечник для обливания машин
из шланга
(справочное)
СВЕДЕНИЯ О СООТВЕТСТВИИ МЕЖГОСУДАРСТВЕННЫХ СТАНДАРТОВ
ССЫЛОЧНЫМ МЕЖДУНАРОДНЫМ СТАНДАРТАМ
Таблица ДА.1
Обозначение и наименование ссылочного международного стандарта | Степень соответствия | Обозначение и наименование соответствующего межгосударственного стандарта |
IEC 60034-1:2004 Машины электрические вращающиеся. Часть 1. Номинальные значения параметров и эксплуатационные характеристики | - | |
IEC 60034-6:1991 Машины электрические вращающиеся. Часть 6: Методы охлаждения (код IC) | - | |
<*> Соответствующий межгосударственный стандарт отсутствует. До его утверждения рекомендуется использовать перевод на русский язык данного международного стандарта. Перевод данного международного стандарта находится в Федеральном информационном фонде технических регламентов и стандартов. |