Главная // Актуальные документы // ГОСТ (Государственный стандарт)
СПРАВКА
Источник публикации
М.: Стандартинформ, 2011
Примечание к документу
Отдельные положения данного документа включены в Перечень международных и региональных (межгосударственных) стандартов, а в случае их отсутствия - национальных (государственных) стандартов, в результате применения которых на добровольной основе обеспечивается соблюдение требований технического регламента Таможенного союза "О безопасности продукции, предназначенной для детей и подростков" (ТР ТС 007/2011) (Решение Коллегии Евразийской экономической комиссии от 14.03.2023 N 31).

Документ включен в Перечень стандартов, в результате применения которых на добровольной основе обеспечивается соблюдение требований Технического регламента Таможенного союза "О безопасности продукции легкой промышленности" (ТР ТС 017/2011) (Решение Комиссии Таможенного союза от 09.12.2011 N 876).

Документ включен в Перечень документов в области стандартизации, в результате применения которых на добровольной основе обеспечивается соблюдение требований Технического регламента Таможенного союза "О безопасности продукции, предназначенной для детей и подростков" (ТР ТС 007/2011)(Решение Комиссии Таможенного союза от 23.09.2011 N 797).

Документ введен в действие с 01.07.2010.

Взамен ГОСТ 10540-90.
Название документа
"ГОСТ 31406-2009. Межгосударственный стандарт. Изделия трикотажные купальные. Общие технические условия"
(введен в действие Приказом Росстандарта от 23.06.2010 N 105-ст)

"ГОСТ 31406-2009. Межгосударственный стандарт. Изделия трикотажные купальные. Общие технические условия"
(введен в действие Приказом Росстандарта от 23.06.2010 N 105-ст)


Содержание


Введен в действие
Приказом Федерального
агентства по техническому
регулированию и метрологии
от 23 июня 2010 г. N 105-ст
МЕЖГОСУДАРСТВЕННЫЙ СТАНДАРТ
ИЗДЕЛИЯ ТРИКОТАЖНЫЕ КУПАЛЬНЫЕ
ОБЩИЕ ТЕХНИЧЕСКИЕ УСЛОВИЯ
Knitted bathing goods. General specifications
ГОСТ 31406-2009
Группа М42
ОКС 61.020
Дата введения
1 июля 2010 года
Предисловие
Цели, основные принципы и основной порядок проведения работ по межгосударственной стандартизации установлены ГОСТ 1.0-92 "Межгосударственная система стандартизации. Основные положения" и ГОСТ 1.2-2009 "Межгосударственная система стандартизации. Стандарты межгосударственные, правила и рекомендации по межгосударственной стандартизации. Правила разработки, принятия, применения, обновления и отмены".
Сведения о стандарте
1. Разработан Открытым акционерным обществом "Центральный научно-исследовательский институт швейной промышленности".
2. Внесен Федеральным агентством по техническому регулированию и метрологии Российской Федерации.
3. Принят Межгосударственным советом по стандартизации, метрологии и сертификации (протокол N 35 от 11 июня 2009 г., Приложение N 18).
За принятие проголосовали:
Краткое наименование страны по МК (ИСО 3166) 004-97
Код страны по МК (ИСО 3166) 004-97
Сокращенное наименование национального органа по стандартизации
Азербайджан
AZ
Азстандарт
Беларусь
BY
Госстандарт Республики Беларусь
Казахстан
KZ
Госстандарт Республики Казахстан
Кыргызстан
KG
Кыргызстандарт
Молдова
MD
Молдова-Стандарт
Российская Федерация
RU
Росстандарт
Таджикистан
TJ
Таджикстандарт
Туркменистан
TM
Главгосслужба "Туркменстандартлары"
Узбекистан
UZ
Узстандарт
Украина
UA
Госпотребстандарт Украины
4. Настоящий стандарт подготовлен на основе национального стандарта Российской Федерации ГОСТ Р 53141-2008.
5. Приказом Федерального агентства по техническому регулированию и метрологии от 23 июня 2010 г. N 105-ст межгосударственный стандарт ГОСТ 31406-2009 введен в действие в качестве национального стандарта Российской Федерации с 1 июля 2010 г.
6. Взамен ГОСТ 10540-90.
Информация о введении в действие (прекращении действия) настоящего стандарта публикуется в указателе "Национальные стандарты".
Информация об изменениях к настоящему стандарту публикуется в указателе "Национальные стандарты", а текст изменений - в информационных указателях "Национальные стандарты". В случае пересмотра или отмены настоящего стандарта соответствующая информация будет опубликована в информационном указателе "Национальные стандарты".
1. Область применения
Настоящий стандарт распространяется на трикотажные купальные изделия (далее - изделия) из трикотажных полотен всех видов для женщин, девочек, мужчин и мальчиков.
2. Нормативные ссылки
В настоящем стандарте использованы нормативные ссылки на следующие стандарты:
ГОСТ 15.007-88 Система разработки и постановки продукции на производство. Продукция легкой промышленности. Основные положения
ГОСТ 1136-81 Изделия трикотажные бельевые. Определение сортности
ГОСТ 2351-88 Изделия и полотна трикотажные. Нормы устойчивости окраски и методы ее определения
ГОСТ 3816-81 (ИСО 811-81) Полотна текстильные. Методы определения гигроскопических и водоотталкивающих свойств
ГОСТ 3897-87 Изделия трикотажные. Маркировка, упаковка, транспортирование и хранение
ГОСТ 6309-93 Нитки швейные хлопчатобумажные и синтетические. Технические условия
ГОСТ 8846-87 Полотна и изделия трикотажные. Методы определения линейных размеров, перекоса, числа петельных рядов и петельных столбиков и длины нити в петле
ГОСТ 8847-85 Полотна трикотажные. Методы определения разрывных характеристик и растяжимости при нагрузках, меньше разрывных
ГОСТ 9173-86 Изделия трикотажные. Правила приемки
ГОСТ 9176-87 Изделия трикотажные. Методы испытания швов
ГОСТ 9733.0-83 Материалы текстильные. Общие требования к методам испытаний устойчивости окрасок к физико-химическим воздействиям
ГОСТ 9733.3-83 Материалы текстильные. Метод испытания устойчивости окраски к свету в условиях искусственного освещения (ксеноновая лампа)
ГОСТ 9733.4-83 Материалы текстильные. Метод испытания устойчивости окраски к стиркам
ГОСТ 9733.6-83 Материалы текстильные. Методы испытания устойчивости окрасок к поту
ГОСТ 9733.9-83 Материалы текстильные. Метод испытания устойчивости окраски к морской воде
ГОСТ 10399-87 Изделия трикотажные бельевые. Требования к пошиву
ГОСТ 12088-77 Материалы текстильные и изделия из них. Метод определения воздухопроницаемости
ГОСТ 17916-86 Фигуры девочек типовые. Размерные признаки для проектирования одежды
ГОСТ 17917-86 Фигуры мальчиков типовые. Размерные признаки для проектирования одежды
ГОСТ 19616-74 Ткани и трикотажные полотна. Метод определения удельного поверхностного электрического сопротивления
ГОСТ 26006-83 Полотна и изделия трикотажные. Методы определения явной и скрытой прорубки
ГОСТ 28554-90 Полотно трикотажное. Общие технические условия
ГОСТ 30157.0-95 Полотна текстильные. Методы определения изменения размеров после мокрых обработок или химической чистки. Общие положения
ГОСТ 30157.1-95 Полотна текстильные. Методы определения изменения размеров после мокрых обработок или химической чистки. Режимы обработок
ГОСТ 30383-95 Изделия трикотажные детские бельевые. Нормы физико-гигиенических показателей
ГОСТ 31228-2004 Изделия трикотажные бельевые для взрослых. Нормы физико-гигиенических показателей
ГОСТ 31396-2009 Классификация типовых фигур женщин по ростам, размерам и полнотным группам для проектирования одежды
ГОСТ 31397-2009 Классификация типовых фигур женщин особо больших размеров
ГОСТ 31399-2009 Классификация типовых фигур мужчин по ростам, размерам и полнотным группам для проектирования одежды
ГОСТ 31400-2009 Классификация типовых фигур мужчин особо больших размеров
Примечание. При пользовании настоящим стандартом целесообразно проверить действие ссылочных стандартов на территории государства по соответствующему указателю стандартов, составленному по состоянию на 1 января текущего года, и по соответствующим информационным указателям, опубликованным в текущем году. Если ссылочный стандарт изменен, то при пользовании настоящим стандартом следует руководствоваться измененным стандартом, а при замене на другой стандарт - стандартом, действующим вместо настоящего стандарта. Если ссылочный стандарт отменен без замены, то положение, в котором дана ссылка на него, применяется в части, не затрагивающей эту ссылку.
3. Виды и размеры
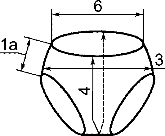
3.1. Изделия подразделяют на следующие виды: купальники (рисунок 1), купальные костюмы (рисунки 2, 3, 4), купальные трусы (рисунок 3), плавки (рисунок 4).
Рисунок 1
Рисунок 2
Рисунок 3
Рисунок 4
3.2. Изделия изготовляют различных конструкций и моделей отдельно или в комплекте с изделиями, предусмотренными настоящим стандартом.
Изделия других видов, не предусмотренных настоящим стандартом, изготовляют по согласованию с заказчиком.
3.3. Размеры изделий должны соответствовать размерным признакам типовых фигур, указанным в таблицах 1 - 5.
Таблица 1
Размеры купальников для женщин
В сантиметрах
Группировка ростов
152
158, 164
170, 176
182, 188
158, 164
170, 176
Обхват груди
80
84
88
92
96
100
104
108
112
116
120
124
128
132
136
140
144
148
152
156
Обхват бедер
86
90
94
98
102
106
110
114
118
122
126
130
134
138
142
146
150
154
158
162
Таблица 2
Размеры купальных костюмов для женщин
В сантиметрах
Обхват груди
80
84
88
92
96
100
104
108
112
116
120
124
128
132
Обхват под грудью
70
73
73
76
76
79
79
82
82
85
85
88
88
91
91
96
100
104
108
112
116
Обхват бедер
86
90
94
98
102
106
110
114
118
122
126
130
134
138
Таблица 3
Размеры купальников и купальных костюмов для девочек
В сантиметрах
Возрастная группа
Младшая школьная
Старшая школьная
Подростковая
Группировка ростов
122, 128
134
122, 128
134, 140
128
134, 140
146
134, 140
146, 152
152
158
152
158, 164
158,
164
158, 164
170
158, 164
170, 176
164
170, 176
Обхват груди
60
64
68
72
76
76
80
84
88
84
88
92
96
100
Таблица 4
Размеры купальных трусов и плавок для мужчин
В сантиметрах
Обхват груди
84
88
92
96
100
104
108
112
116
120
124
128
132
136
140
144
148
152
156
Обхват талии
74
78
82
86
90
94
98
102
106
110
114
118
122
132
136
140
144
148
152
Таблица 5
Размеры купальных трусов и плавок для мальчиков
В сантиметрах
Возрастная группа
Младшая школьная
Старшая школьная
Подростковая
Обхват груди
60
64
68
72
76
68
72
76
80
84
88
92
96
100
104
Обхват талии
57
60
63
66
69
60
63
66
69
72
72
75
78
81
84
Изделия размеров, не предусмотренных настоящим стандартом, изготовляют по согласованию с заказчиком.
3.4. Основные измерения типовых фигур должны соответствовать ГОСТ 31396, ГОСТ 31397, ГОСТ 17916, ГОСТ 17917 и указываться в техническом описании модели.
Изделия должны проектироваться с учетом свойств применяемых полотен. Группы растяжимости полотен по ГОСТ 28554 приведены в Приложении А.
3.5. Межростовая разница купальников по длине должна составлять 4,0 см.
3.6. Места основных измерений изделий и допускаемые отклонения от установленных размеров указаны в таблице 6 и на рисунках 1 - 4.
Таблица 6
Номер измерения на рисунке
Наименование измерения
Номер рисунка
Наименование изделия
Место измерения
Допускаемое отклонение, см
1
Длина изделия
1
Купальник с плечиками
По прямой линии от плеча до основания ластовицы
+/- 2,0
1
с бретелями или без бретелей
По прямой линии от верхнего края (места притачивания бретелей) спереди до основания ластовицы
+/- 2,0
Длина по боку
3, 4
Купальные трусы, плавки
По боковому сгибу (шву) от верхнего края до низа изделия
+ 2,0
- 1,5
2
Ширина под грудью
1
Купальник
По прямой линии, касаясь нижнего основания чашечек, между боковыми швами (сгибами); в изделиях без чашечек и детских - на уровне, указанном в техническом описании модели
+/- 2,0
3
Ширина по линии бедер
1
Купальник
По прямой линии между боковыми сгибами (швами) на уровне, указанном в техническом описании модели
+/- 2,0
3, 4
Купальные трусы, плавки
По прямой линии между боковыми сгибами (швами) на уровне середины длины переда или на уровне, указанном в техническом описании модели
+/- 2,0
4
Длина по среднему шву
3, 4
Купальные трусы, плавки
От верхнего края переда до верхнего края сидения по средней линии (шву)
+/- 2,0
5
Ширина по низу бюстгальтера
2
Бюстгальтер
По прямой линии во вдвое сложенном виде по нижнему краю без учета застежки, в бюстгальтерах на завязках вместе с их длиной
+/- 1,0
6
Ширина верха купальных трусов и плавок
3, 4
Купальные трусы, плавки
По прямой линии на уровне верхнего края
+/- 2,0
Примечания
1 Допускается использовать другие способы измерения изделий, указывая их в техническом описании модели.
2 Дополнительные места измерений и допускаемые отклонения в зависимости от конструкции изделия устанавливают в техническом описании модели.
4. Технические требования
4.1. Общие положения
Изделия должны соответствовать требованиям настоящего стандарта по внешнему виду, модели, конструкции, изготовлению и прикладным материалам - образцу-эталону, утвержденному по ГОСТ 15.007, и техническому описанию модели, утвержденному в установленном порядке.
4.2. Характеристики
4.2.1. Изделия изготовляют из трикотажных полотен гладких, рисунчатых и комбинированных переплетений, одноцветных, пестровязаных, гладкокрашеных, набивных и других видов отделки, а также комбинированными из полотен и материалов различных видов.
Полотна, применяемые для изготовления изделий, должны соответствовать требованиям ГОСТ 28554 и других нормативных и технических документов.
4.2.2. Требования к пошиву, виды и параметры стежков, строчек и швов, линейная плотность швейных ниток и нитей должны соответствовать требованиям ГОСТ 10399, ГОСТ 6309 и других нормативных и технических документов и типовым технологическим режимам со следующими дополнениями:
- купальные трусы и плавки для мужчин и мальчиков-подростков должны быть с усилительной планкой;
- ластовица в изделиях всех видов должна быть двойной;
- виды обработки основных деталей изделий - пройм, горловины, верха и низа изделий; наличие и число швов в изделиях, виды ластовиц и их обработка; ширина прокладываемой эластичной (резиновой) тесьмы; величина подгиба краев изделий; цвет и длина усилительной планки переда по сравнению с длиной переда купальных трусов и плавок; цвет внутреннего слоя ластовицы должны быть указаны в техническом описании модели;
- наличие, вид и цвет подкладки, прикладных и отделочных материалов, фурнитуры и швейных ниток должны быть указаны в техническом описании модели.
4.3. Требования к сырью и материалам
4.3.1. Изделия изготовляют из натурального, химического сырья и их различных сочетаний.
4.3.2. Физико-гигиенические показатели изделий должны соответствовать указанным в ГОСТ 31228, ГОСТ 30383.
4.3.3. Устойчивость окраски полотна для изделий должна соответствовать требованиям ГОСТ 2351.
4.3.4. Прикладные, отделочные материалы, фурнитура и швейные нитки должны соответствовать требованиям нормативных и технических документов.
4.4. Маркировка и упаковка
4.4.1. Маркировка и упаковка изделий - по ГОСТ 3897.
Размеры изделий на ярлыках должны соответствовать размерным признакам типовых фигур, указанным в таблицах 1 - 5.
Размеры купальников для женщин маркируют тремя размерными признаками:
рост - обхват груди - обхват бедер.
Пример обозначения размера купальника, изготовленного на типовую фигуру с ростом 164 см, обхватом груди 92 см и обхватом бедер 98 см:
164-92-98.
Размеры купальных костюмов для женщин маркируют тремя размерными признаками:
обхват груди - обхват под грудью - обхват бедер.
Пример обозначения размера костюма купального, изготовленного на типовую фигуру с обхватом груди 96 см, обхватом под грудью 82 см и обхватом бедер 102 см:
96-82-102.
Размеры купальных трусов и плавок для мужчин маркируют двумя размерными признаками:
обхват груди - обхват талии.
Пример обозначения размера купальных трусов или плавок, изготовленных на типовую фигуру с обхватом груди 96 см и обхватом талии 86 см:
96-86.
4.4.2. Символы по уходу за изделиями - по [2].
4.4.3. Первичная упаковка должна обеспечивать сохранность изделий при транспортировании и хранении.
Способы упаковывания устанавливаются по согласованию между изготовителем и заказчиком.
5. Приемка
5.1. Приемка изделий - по ГОСТ 9173.
5.2. Определение сортности изделий - по ГОСТ 1136.
6. Методы испытаний
6.1. Методы отбора проб - по ГОСТ 9173.
6.2. Определение линейных размеров - по ГОСТ 8846.
6.3. Определение разрывных характеристик и необратимой деформации - по ГОСТ 8847.
6.4. Определение изменения линейных размеров полотна в изделии после мокрых обработок - по ГОСТ 30157.0, ГОСТ 30157.1, [1].
6.5. Определение минимально допустимой растяжимости шва и числа стежков в строчке - по ГОСТ 9176.
6.6. Определение скрытой и явной прорубки полотна - по ГОСТ 26006.
6.7. Определение устойчивости окраски изделий к физико-химическим воздействиям:
общие требования - по ГОСТ 9733.0;
к стирке - по ГОСТ 9733.4 (стирка N 1);
к поту - по ГОСТ 9733.6;
к морской воде - по ГОСТ 9733.9;
к свету - по ГОСТ 9733.3.
6.8. Определение гигроскопичности - по ГОСТ 3816.
6.9. Определение воздухопроницаемости - по ГОСТ 12088.
6.10. Определение удельного поверхностного электрического сопротивления - по ГОСТ 19616.
7. Транспортирование и хранение
Транспортирование и хранение - по ГОСТ 3897.
Приложение А
(справочное)
ГРУППЫ РАСТЯЖИМОСТИ ПОЛОТЕН
Таблица А.1
Группа растяжимости полотна
Растяжимость полотна по ширине при нагрузке 6 Н, %
I
От 0 до 40 включ.
II
Св. 40 до 100 включ.
III
Св. 100
Примечание - Испытания проводят по ГОСТ 8847.
БИБЛИОГРАФИЯ
[1]
Изделия трикотажные. Метод определения изменения линейных размеров после мокрой обработки
[2]
Изделия текстильные. Маркировка символами по уходу
--------------------------------
<*> Действует до принятия межгосударственного стандарта, идентичного ГОСТ Р 53141-2008.