Главная // Актуальные документы // ГОСТ (Государственный стандарт)СПРАВКА
Источник публикации
М.: Стандартинформ, 2011
Примечание к документу
Отдельные положения данного документа включены в
Перечень международных и региональных (межгосударственных) стандартов, а в случае их отсутствия - национальных (государственных) стандартов, в результате применения которых на добровольной основе обеспечивается соблюдение требований технического
регламента Таможенного союза "О безопасности продукции, предназначенной для детей и подростков" (ТР ТС 007/2011) (
Решение Коллегии Евразийской экономической комиссии от 14.03.2023 N 31).
Документ включен в
Перечень стандартов, в результате применения которых на добровольной основе обеспечивается соблюдение требований технического
регламента Таможенного союза "О безопасности продукции легкой промышленности" (ТР ТС 017/2011) (
Решение Комиссии Таможенного союза от 09.12.2011 N 876).
Документ включен в
Перечень документов в области стандартизации, в результате применения которых на добровольной основе обеспечивается соблюдение требований технического
регламента Таможенного союза "О безопасности продукции, предназначенной для детей и подростков" (ТР ТС 007/2011) и осуществления оценки (подтверждения) соответствия продукции (
Решение Комиссии Таможенного союза от 23.09.2011 N 797)
Документ
введен в действие с 1 июля 2010 года.
Взамен ГОСТ 904-80.
Название документа
"ГОСТ 31405-2009. Межгосударственный стандарт. Изделия трикотажные бельевые для женщин и девочек. Общие технические условия"
(введен в действие Приказом Росстандарта от 23.06.2010 N 103-ст)
"ГОСТ 31405-2009. Межгосударственный стандарт. Изделия трикотажные бельевые для женщин и девочек. Общие технические условия"
(введен в действие Приказом Росстандарта от 23.06.2010 N 103-ст)
по техническому регулированию
и метрологии
от 23 июня 2010 г. N 103-ст
МЕЖГОСУДАРСТВЕННЫЙ СТАНДАРТ
ИЗДЕЛИЯ ТРИКОТАЖНЫЕ БЕЛЬЕВЫЕ ДЛЯ ЖЕНЩИН И ДЕВОЧЕК
ОБЩИЕ ТЕХНИЧЕСКИЕ УСЛОВИЯ
Women's and girl's knitted underwear. General
specifications
ГОСТ 31405-2009
Дата введения
1 июля 2010 года
Евразийский совет по стандартизации, метрологии и сертификации (ЕАСС) представляет собой региональное объединение национальных органов по стандартизации государств, входящих в Содружество Независимых государств. В дальнейшем возможно вступление в ЕАСС национальных органов по стандартизации других государств.
Цели, основные принципы и основной порядок проведения работ по межгосударственной стандартизации установлены
ГОСТ 1.0-92 "Межгосударственная система стандартизации. Основные положения" и
ГОСТ 1.2-2009 "Межгосударственная система стандартизации. Стандарты межгосударственные, правила и рекомендации по межгосударственной стандартизации. Порядок разработки, принятия, применения, обновления и отмены".
1. Разработан Открытым акционерным обществом "Центральный научно-исследовательский институт швейной промышленности".
2. Внесен Федеральным агентством по техническому регулированию и метрологии Российской Федерации.
3. Принят Евразийским советом по стандартизации, метрологии и сертификации (Протокол N 35-2009 от 11 июня 2009 г., Приложение N 18).
За принятие проголосовали:
Краткое наименование страны по MK (ИСО 3166) 004-97 | Код страны по MK (ИСО 3166) 004-97 | Сокращенное наименование национального органа по стандартизации |
Азербайджан | AZ | Азстандарт |
Беларусь | BY | Госстандарт Республики Беларусь |
Казахстан | KZ | Госстандарт Республики Казахстан |
Кыргызстан | KG | Кыргызстандарт |
Молдова | MD | Молдова-Стандарт |
Российская Федерация | RU | Росстандарт |
Таджикистан | TJ | Таджикстандарт |
Туркменистан | TM | Главгосслужба "Туркменстандартлары " |
Узбекистан | UZ | Узстандарт |
Украина | UA | Госпотребстандарт Украины |
4. Настоящий стандарт подготовлен на основе национального стандарта Российской Федерации
ГОСТ Р 53144-2008.
5.
Приказом Федерального агентства по техническому регулированию и метрологии от 23 июня 2010 г. N 103-ст межгосударственный стандарт ГОСТ 31405-2009 введен в действие непосредственно в качестве национального стандарта Российской Федерации с 1 июля 2010 г.
6. Взамен ГОСТ 904-80.
Информация о введении в действие (прекращении действия) настоящего стандарта и изменений к нему на территории указанных выше государств публикуется в указателях национальных (государственных) стандартов, издаваемых в этих государствах.
Информация об изменениях к настоящему стандарту публикуется в указателе (каталоге) "Межгосударственные стандарты", а текст изменений - в информационных указателях "Межгосударственные стандарты". В случае пересмотра или отмены настоящего стандарта соответствующая информация будет опубликована в информационном указателе "Межгосударственные стандарты".
Настоящий стандарт распространяется на бельевые трикотажные изделия из трикотажных полотен всех видов для женщин и девочек.
В настоящем стандарте использованы нормативные ссылки на следующие стандарты:
ГОСТ 15.007-88 Система разработки и постановки продукции на производство. Продукция легкой промышленности. Основные положения
ГОСТ 1136-81 Изделия трикотажные бельевые. Определение сортности
ГОСТ 2351-88 Изделия и полотна трикотажные. Нормы устойчивости окраски и методы ее определения
ГОСТ 3816-81 (ИСО 811-81) Полотна текстильные. Методы определения гигроскопических и водоотталкивающих свойств
ГОСТ 3897-87 Изделия трикотажные. Маркировка, упаковка, транспортирование и хранение
ГОСТ 6309-93 Нитки швейные хлопчатобумажные и синтетические. Технические условия
ГОСТ 8846-87 Полотна и изделия трикотажные. Методы определения линейных размеров, перекоса, числа петельных рядов и петельных столбиков и длины нити в петле
ГОСТ 8847-85 Полотна трикотажные. Методы определения разрывных характеристик и растяжимости при нагрузках, меньше разрывных
ГОСТ 9176-87 Изделия трикотажные. Методы испытания швов
ГОСТ 9733.0-83 Материалы текстильные. Общие требования к методам испытаний устойчивости окрасок к физико-химическим воздействиям
ГОСТ 9733.4-83 Материалы текстильные. Методы испытания устойчивости окраски к стиркам
ГОСТ 9733.6-83 Материалы текстильные. Методы испытаний устойчивости окрасок к поту
ГОСТ 9733.27-83 Материалы текстильные. Методы испытания устойчивости окраски к трению
ГОСТ 10399-87 Изделия трикотажные бельевые. Требования к пошиву
ГОСТ 12088-77 Материалы текстильные и изделия из них. Метод определения воздухопроницаемости
ГОСТ 17916-86 Фигуры девочек типовые. Размерные признаки для проектирования одежды
ГОСТ 19616-74 Ткани и трикотажные полотна. Метод определения удельного поверхностного электрического сопротивления
ГОСТ 19712-89 Изделия трикотажные. Методы определения разрывных характеристик и растяжимости при нагрузках, меньше разрывных
ГОСТ 30157.0-95 Полотна текстильные. Методы определения изменения размеров после мокрых обработок или химической чистки. Общие положения
ГОСТ 30157.1-95 Полотна текстильные. Методы определения изменения размеров после мокрых обработок или химической чистки. Режимы обработок
ГОСТ 30383-95 Изделия трикотажные детские бельевые. Нормы физико-гигиенических показателей
ГОСТ 31228-2004 Изделия трикотажные бельевые для взрослых. Нормы физико-гигиенических показателей
ГОСТ 31396-2009 Классификация типовых фигур женщин по ростам, размерам и полнотным группам для проектирования одежды
Примечание. При пользовании настоящим стандартом целесообразно проверить действие ссылочных стандартов на территории государства по соответствующему указателю стандартов, составленному по состоянию на 1 января текущего года, и по соответствующим информационным указателям, опубликованным в текущем году. Если ссылочный стандарт изменен, то при пользовании настоящим стандартом следует руководствоваться измененным стандартом, а при замене на другой стандарт - стандартом, действующим вместо настоящего стандарта. Если ссылочный стандарт отменен без замены, то положение, в котором дана ссылка на него, применяется в части, не затрагивающей эту ссылку.
3.1. Изделия трикотажные бельевые подразделяют на следующие виды: фуфайки, майки, комбинации, сорочки нижние, сорочки ночные, пижамы [куртки (блузы) и брюки], панталоны, трусы, юбки нижние.
Изготовление изделий других видов, не предусмотренных настоящим стандартом, производится по согласованию с заказчиком.
3.2. Изделия бельевые изготовляют различных конструкций и моделей отдельно или в комплекте с изделиями, предусмотренными настоящим стандартом.
3.3. Размеры изделий должны соответствовать размерным признакам типовых фигур женщин и девочек, указанным в таблицах 1 -
2.
Таблица 1
Размеры изделий трикотажных бельевых для женщин
В сантиметрах
Рост | 152, 158, 164, 170, 176, 182 | 158, 164, 170, 176 |
Обхват груди | 80 | 84 | 88 | 92 | 96 | 100 | 104 | 108 | 112 | 116 | 120 | 124 | 128 | 132 | 136 | 140 | 144 | 148 | 152 | 156 |
Обхват бедер | 86 | 90 | 94 | 98 | 102 | 106 | 110 | 114 | 118 | 122 | 126 | 130 | 134 | 138 | 142 | 146 | 150 | 154 | 158 | 162 |
Таблица 2
Размеры изделий трикотажных бельевых для девочек
В сантиметрах
Возрастная группа | Ясельная | Дошкольная | Младшая школьная |
Группировка ростов | 62 | 68, 74, 80 | 74, 80, 86, 92, 98 | 80, 86, 92, 98 | 98, 104, 110 | 98, 104, 110, 116, 122 | 110, 116, 122 | 122, 128, 134 | 122, 128, 134, 140 | 128, 134, 140, 146 | 134, 140, 146, 152 | 134, 140, 146 |
Обхват груди | 40 | 44 | 48 | 52 | 56 | 52 | 56 | 60 | 60 | 64 | 68 | 72 | 76 |
Окончание таблицы 2
В сантиметрах
Возрастная группа | Старшая школьная | Подростковая |
Группировка ростов | 152, 158 | 152, 158, 164 | 158, 164, 170 | 158, 164, 170, 176 | 164, 170, 176 |
Обхват груди | 76 | 80 | 84 | 88 | 84 | 88 | 92 | 96 | 100 |
Изделия других размеров, не предусмотренных настоящим стандартом, изготовляют по согласованию с заказчиком.
3.4. Изделия проектируют с учетом свойств применяемых полотен. Группы растяжимости полотен по
ГОСТ 28554 приведены в
Приложении А.
Допускается изготовлять изделия из полотен III группы растяжимости на два смежных размера по обхвату груди, обхвату бедер.
3.5. Измерения изделия должны соответствовать размерам типовых фигур женщин и девочек по
ГОСТ 31396,
ГОСТ 31397,
ГОСТ 17916 и указываться в техническом описании модели.
3.6. Межростовая разница по длине изделий и длине рукавов должна соответствовать значениям, указанным в таблице 3.
Таблица 3
В сантиметрах
Наименование изделий | Межростовая разница, см |
по длине изделия | по длине рукава |
Сорочки ночные, сорочки нижние | 6,0 | 4,0 |
Куртки пижамные, блузы пижамные, фуфайки | 4,0 | 2,0 |
Майки, комбинации | 4,0 | - |
Брюки пижамные | 8,0 | - |
Юбки, панталоны | 4,0 | - |
Примечания |
1. Межростовая разница по длине изделия и длине рукавов, не предусмотренная в таблице, указывается в техническом описании модели. |
2. Для изделий с коротким рукавом межростовая разница по длине рукава указывается в техническом описании модели. |
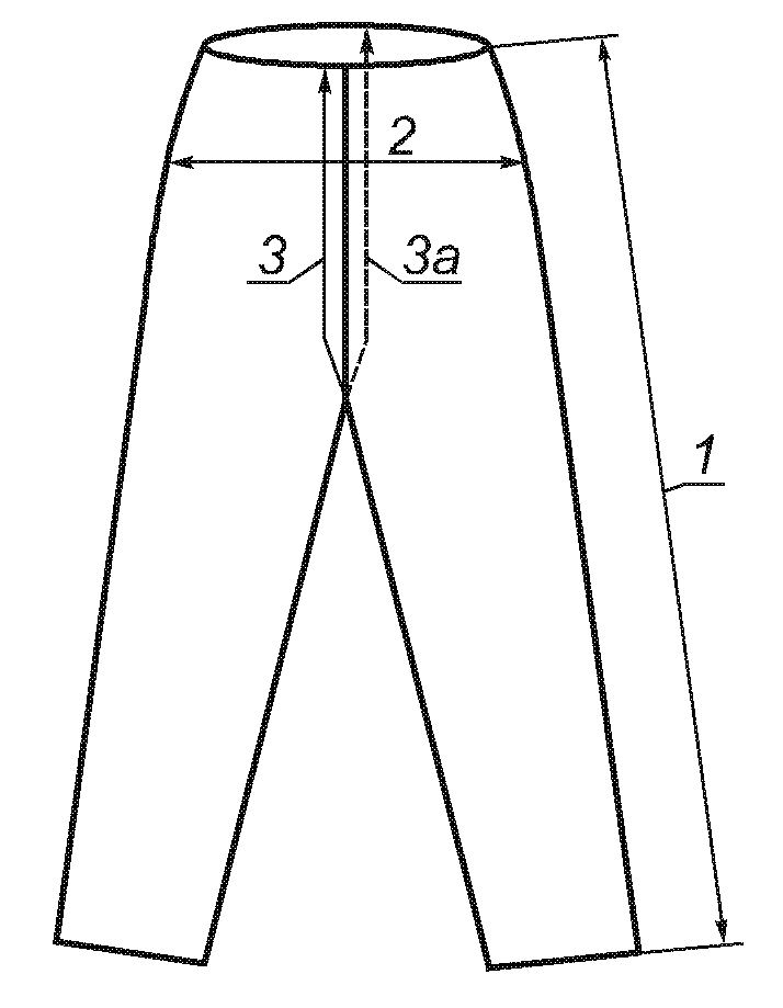
3.7 Места измерений изделий и допускаемые отклонения от установленных значений указаны в таблице 4 и на
рисунках 1 -
10.
Таблица 4
Номер измерения на рисунке | Наименование измерения | Номер рисунка | Наименование изделия | Место измерения | Допускаемое отклонение, см |
1 | Длина изделия | | Комбинация, сорочка нижняя, сорочка ночная, куртка пижамная, блуза пижамная, фуфайка | По прямой линии от верха бретели или высшей точки плечевого шва до низа изделия параллельно линии середины спинки или переда | +/- 2,0 |
1 | Длина изделия | | Панталоны, трусы, брюки пижамные | По боковому сгибу (шву) от верхнего края до низа изделия | +/- 2,0 |
1 | Длина изделия | | Юбка нижняя | Вдоль середины переднего или заднего полотнища юбки от верхнего края до низа | +/- 2,0 |
2 | Ширина по линии груди | | Комбинация, сорочка нижняя, сорочка ночная, куртка пижамная, блуза пижамная, фуфайка | По ломаной линии от середины спинки до середины переда (через центр груди) на 2,0 см ниже глубины проймы или на уровне, указанном в техническом описании модели. | +/- 1,0 |
В изделиях, раскладывающихся на плоскости без сборок и складок, - по прямой между боковыми сгибами (швами) на том же уровне |
2 | Ширина по линии бедер | | Панталоны, трусы, брюки пижамные | По прямой между боковыми сгибами (швами) на уровне середины измерения "длина переда" или на уровне, указанном в техническом описании модели | + 2,0 |
- 1,0 |
2 | Ширина по линии бедер | | Юбка нижняя | По прямой между боковыми сгибами (швами) на уровне, указанном в техническом описании модели | +/- 2,0 |
3 | Ширина по линии бедер | | Комбинация, сорочка нижняя, сорочка ночная, куртка пижамная, блуза пижамная, фуфайка | По прямой линии между боковыми сгибами на уровне, указанном в техническом описании модели | +/- 2,0 |
3 | Длина переда | | Панталоны, трусы, брюки пижамные | От верхнего края переда до основания ластовицы или шагового шва | +/- 1,0 |
3а | Длина сидения | | Панталоны, трусы, брюки пижамные | От верхнего края сидения до основания ластовицы или шагового шва | +/- 1,0 |
4 | Длина рукава: | | | | |
втачного | | Сорочка нижняя, сорочка ночная, куртка пижамная, блуза пижамная, фуфайка | От высшей точки шва втачивания рукава вдоль средней линии до низа | +/- 2,0 |
реглан, цельнокроеного | | То же | От высшей точки горловины до низа вдоль средней линии рукава | +/- 2,0 |
5 | Ширина рукава | | Сорочка нижняя, сорочка ночная, куртка пижамная, блуза пижамная, фуфайка | По прямой от нижней точки проймы перпендикулярно к средней линии рукава | +/- 1,0 |
Примечания: |
1. Дополнительные места измерений и допускаемые отклонения от них в зависимости от конструкции устанавливают в техническом описании модели. |
2. Длину рукава измеряют, включая манжету, напульсник, бейку, кант, в сложенном или отвернутом виде в зависимости от модели. |
3. Для полотен III группы растяжимости допускаемое отклонение измерения "Ширина по линии груди" +/- 1,5 см. |

4. ТЕХНИЧЕСКИЕ ТРЕБОВАНИЯ
4.1. Общие требования
Бельевые трикотажные изделия должны соответствовать требованиям настоящего стандарта и по внешнему виду, модели, конструкции, качеству полотна, изготовлению и линейным размерам - образцу-эталону, утвержденному по
ГОСТ 15.007, и техническому описанию модели, утвержденному в установленном порядке.
4.2. Характеристики
4.2.1. Бельевые изделия изготавливают вязаными или кроеными.
4.2.2. Виды и параметры стежков, строчек и швов, номера швейных игл и линейная плотность швейных ниток и нитей должны соответствовать требованиям ГОСТ 10399,
ГОСТ 6309 и другим нормативным и техническим документам и типовым технологическим режимам со следующими дополнениями:
- виды обработки низа и верха изделий, пройм, горловины, низа рукавов, глубина выреза переда и спинки, наличие и размеры клиньев брюк пижамных, наличие и число швов в изделиях, виды ластовиц и их обработка, ширина прокладываемой эластичной тесьмы, подгиб краев изделия, цвет прикладных и отделочных материалов должны быть указаны в технической документации и соответствовать утвержденному образцу-эталону;
- манжеты должны быть двойными из поперечного основного, ластичного или двухластичного полотна с одним швом;
- ластовицы должны быть двойными. В изделиях из полотна с начесом внутренний слой ластовицы допускается изготовлять из гладкого полотна белого цвета или в тон полотна. Внутренний слой ластовицы в детских панталонах, трусах должен быть изготовлен из хлопчатобумажного, вискозного сырья или их сочетаний.
Допускается изготовлять:
- манжеты на трусах из долевого полотна;
- внутренний слой ластовиц в панталонах из шерстяного или полушерстяного полотна, из полотен других видов сырья;
- трусы без ластовиц для детей ясельного и дошкольного возраста по согласованию с заказчиком;
- цельновязаные трусы без двойной ластовицы.
4.3. Требования к сырью и материалам
4.3.1. Бельевые изделия изготовляют из трикотажных полотен гладких и рисунчатых переплетений, пестровязаных или набивных, гладкокрашеных, отваренных или отбеленных, выработанных из натурального, химического сырья и их сочетаний.
4.3.2. Полотна, применяемые для изготовления бельевых изделий, должны соответствовать
ГОСТ 28554 и другим нормативным и техническим документам.
4.3.3. Полотна, прикладные и отделочные материалы, фурнитура, применяемые для изготовления бельевых изделий, должны соответствовать требованиям действующих нормативных и технических документов.
4.3.4. Устойчивость окраски полотна для бельевых изделий должна соответствовать требованиям
ГОСТ 2351.
4.3.5. Физико-гигиенические показатели бельевых изделий должны соответствовать нормам по
ГОСТ 31228,
ГОСТ 30383.
4.4. Маркировка и упаковка
4.4.1. Маркировка и упаковка бельевых изделий - по
ГОСТ 3897.
Размеры изделий на ярлыках должны соответствовать размерным признакам типовой фигуры, указанным в
таблицах 1 -
2.
Допускается в реквизите "размеры" указывать через запятую два значения размерного признака типовой фигуры: по росту, обхвату груди, обхвату бедер для изделий с большой свободой облегания или изделий, изготовленных из полотен III группы растяжимости.
| | ИС МЕГАНОРМ: примечание. В тексте документа, видимо, допущена опечатка: пункт 2 в Библиографии отсутствует. | |
4.4.2. Символы по уходу за изделиями - по [2].
5.2. Определение сортности изделий - по ГОСТ 1136.
6.1. Определение линейных размеров - по
ГОСТ 8846.
6.2. Определение разрывных характеристик полотна, из которого изготовлены изделия, - по
ГОСТ 19712.
6.3. Определение минимально допустимой растяжимости шва - по ГОСТ 9176.
6.5. Определение устойчивости окраски изделий к физико-химическим воздействиям:
6.6. Определение гигроскопичности - по
ГОСТ 3816.
6.7. Определение воздухопроницаемости - по
ГОСТ 12088.
6.8. Определение удельного поверхностного электрического сопротивления - по
ГОСТ 19616.
7. ТРАНСПОРТИРОВАНИЕ И ХРАНЕНИЕ
(рекомендуемое)
ГРУППЫ РАСТЯЖИМОСТИ ПОЛОТЕН
Таблица А.1
Группа растяжимости полотна | Растяжимость полотна по ширине при нагрузке 6Н, % |
I | От 0 до 40 включ. |
II | Св. 40 до 100 включ. |
III | Св. 100 |
|
линейных размеров после мокрой обработки