Главная // Актуальные документы // ГОСТ (Государственный стандарт)СПРАВКА
Источник публикации
М.: Стандартинформ, 2014
Примечание к документу
Документ
введен в действие с 01.07.2014.
Название документа
"ГОСТ ISO 3993-2013. Межгосударственный стандарт. Газы углеводородные сжиженные и легкие углеводороды. Определение плотности или относительной плотности. Метод с использованием ареометра под давлением"
(введен в действие Приказом Росстандарта от 14.08.2013 N 518-ст)
"ГОСТ ISO 3993-2013. Межгосударственный стандарт. Газы углеводородные сжиженные и легкие углеводороды. Определение плотности или относительной плотности. Метод с использованием ареометра под давлением"
(введен в действие Приказом Росстандарта от 14.08.2013 N 518-ст)
по техническому регулированию
от 14 августа 2013 г. N 518-ст
МЕЖГОСУДАРСТВЕННЫЙ СТАНДАРТ
ГАЗЫ УГЛЕВОДОРОДНЫЕ СЖИЖЕННЫЕ И ЛЕГКИЕ УГЛЕВОДОРОДЫ
ОПРЕДЕЛЕНИЕ ПЛОТНОСТИ ИЛИ ОТНОСИТЕЛЬНОЙ ПЛОТНОСТИ.
МЕТОД С ИСПОЛЬЗОВАНИЕМ АРЕОМЕТРА ПОД ДАВЛЕНИЕМ
Liquefied petroleum gases and light hydrocarbons.
Determination of density or relative density.
Pressure hydrometer method
(ISO 3993:1984, IDT)
ГОСТ ISO 3993-2013
Дата введения
1 июля 2014 года
Цели, основные принципы и порядок проведения работ по межгосударственной стандартизации установлены
ГОСТ 1.0-92 "Межгосударственная система стандартизации. Основные положения" и
ГОСТ 1.2-2009 "Межгосударственная система стандартизации. Стандарты межгосударственные, правила и рекомендации по межгосударственной стандартизации. Правила разработки, принятия, применения, обновления и отмены"
1 ПОДГОТОВЛЕН Федеральным государственным унитарным предприятием "Всероссийский научно-исследовательский центр стандартизации, информации и сертификации сырья, материалов и веществ" (ФГУП "ВНИЦСМВ") на основе аутентичного перевода на русский язык указанного в
пункте 4 стандарта, который выполнен ФГУП "СТАНДАРТИНФОРМ"
2 ВНЕСЕН Федеральным агентством по техническому регулированию и метрологии
3 ПРИНЯТ Межгосударственным советом по стандартизации, метрологии и сертификации (протокол N 43-2013 от 7 июня 2013 г.)
За принятие проголосовали:
Краткое наименование страны по МК (ИСО 3166) 004-97 | Код страны по МК (ИСО 3166) 004-97 | Сокращенное наименование национального органа по стандартизации |
Беларусь | BY | Госстандарт Республики Беларусь |
Киргизия | KG | Кыргызстандарт |
Россия | RU | Росстандарт |
Узбекистан | UZ | Узстандарт |
4 Настоящий стандарт идентичен международному стандарту ISO 3993:1984 Liquefied petroleum gas and light hydrocarbons - Determination of density or relative density - Pressure hydrometer method (Сжиженный нефтяной газ и легкие углеводороды. Определение плотности или относительной плотности. Метод ареометра под давлением).
Международный стандарт разработан Техническим комитетом по стандартизации ISO/TC 28 "Нефтепродукты и смазочные материалы" Международной организации по стандартизации (ISO).
Перевод с английского языка (en).
Наименование настоящего стандарта изменено относительно наименования международного стандарта для приведения в соответствие с ГОСТ 1.5-2001
(подраздел 3.6).
Официальные экземпляры международного стандарта, на основе которого подготовлен настоящий межгосударственный стандарт, имеются в Федеральном информационном фонде технических регламентов и стандартов.
Степень соответствия - идентичная (IDT)
5
Приказом Федерального агентства по техническому регулированию от 14 августа 2013 г. N 518-ст межгосударственный стандарт ГОСТ ISO 3993-2013 введен в действие в качестве национального стандарта Российской Федерации с 1 июля 2014 г.
6 ВВЕДЕН ВПЕРВЫЕ
Информация об изменениях к настоящему стандарту публикуется в ежегодном информационном указателе "Национальные стандарты", а текст изменений и поправок - в ежемесячном информационном указателе "Национальные стандарты". В случае пересмотра (замены) или отмены настоящего стандарта соответствующее уведомление будет опубликовано в ежемесячном информационном указателе "Национальные стандарты". Соответствующая информация, уведомление и тексты размещаются также в информационной системе общего пользования - на официальном сайте Федерального агентства по техническому регулированию и метрологии в сети Интернет
1 Назначение и область применения
1.1 Настоящий стандарт устанавливает метод определения плотности или относительной плотности сжиженных углеводородных газов и других легких углеводородов. Рекомендованную аппаратуру не используют для продуктов, давление паров которых при температуре испытания более 1,4 МПа <1> (14 бар) [абсолютное давление паров 1,5 МПа].
--------------------------------
<1> Единицей измерения давления по системе СИ является паскаль 1 Па = 1 Н/м2; 105 Па = 1 бар = 1,01972 кгс/см2.
Предупреждение - Следует обратить внимание на опасность, существующую при обращении со сжиженными углеводородными газами или легкими углеводородами. Необходимо строго соблюдать национальные, местные или внутренние правила техники безопасности.
1.2 В стандарте приведены альтернативные методы калибровки, однако только метод с использованием аттестованного ареометра пригоден для определения плотности для расчетов количества сжиженных углеводородных газов и других легких углеводородов при товарных поставках и учетно-расчетных операциях.
Примечание - Альтернативный метод расчета плотности сжиженных углеводородных газов по результатам газохроматографического анализа приведен в ISO 6578 <2>.
--------------------------------
<2> ISO 6578 Refrigerated hydrocarbon liquids - Static measurement - Calculation procedure (Охлажденные углеводородные жидкости. Статистическое измерение. Методика расчета).
1.3 В
приложении предусмотрены случаи использования термоареометров.
В настоящем стандарте применены следующие термины с соответствующими определениями:
2.1
плотность (density): Отношение массы жидкости к ее объему.
Чтобы выразить плотность, необходимо точно указать единицы измерения плотности и температуру, например килограммы на кубический метр или граммы на кубический сантиметр при температуре
t в градусах Цельсия (см.
примечание). Стандартная температура, установленная в области международной торговли нефтью и нефтепродуктами, составляет 15 °C (ISO 5024 <3>). Для метрологии и других целей может потребоваться другая температура.
--------------------------------
<3> ISO 5024 Petroleum liquids and liquefied petroleum gases - Measurement - Standard reference conditions (Нефтепродукты жидкие и сжиженные нефтяные газы. Измерение. Нормальные стандартные условия).
Примечание - В настоящем стандарте предпочтительной единицей измерения плотности является килограмм на кубический метр, также можно использовать грамм на кубический сантиметр.
2.2
относительная плотность (заменяет ранее используемый термин "удельный вес") (relative density): Отношение массы объема жидкости при температуре
t1 к массе равного объема чистой воды при температуре
t2, т.е. отношение плотности жидкости при температуре
t1 к плотности чистой воды при температуре
t2.
Чтобы выразить относительную плотность, необходимо точно указать температуру t1 и t2, например относительная плотность 60/60 °F. Стандартной температурой принята температура 15 °C. Используют также температуры 20 °C и 60 °F (t1 и t2), в качестве t1 можно использовать другую температуру.
Аппаратуру перед заполнением испытуемой жидкостью очищают с помощью этой жидкости. Цилиндр высокого давления заполняют до такого уровня, чтобы ареометр, погруженный в цилиндр, плавал свободно. Записывают показания ареометра и температуру пробы.
4.1 Стеклянные ареометры, градуированные в единицах плотности или относительной плотности, со шкалой соответствующего диапазона и соответствующие размерам, указанным в таблице 1.
Таблица 1
Технические характеристики ареометров
Характеристика | Значение |
Диапазон измерения | От 500 до 580 кг/м3 | От 0,500 до 0,580 г/см3 |
" 570 " 650 кг/м3 | " 0,570 " 0,650 г/см3 |
Цена деления шкалы | 1 кг/м3 | 0,001 г/см3 |
Цифры у каждого деления | 5 или 10 кг/м3 | 0,005 или 0,010 г/см3 |
Общая длина, мм, не менее | 330 |
Диаметр корпуса, мм | От 18 до 20 |
Толщина стенки корпуса, мм | От 0,4 до 0,6 |
Диаметр верхнего конца, мм | От 8 до 9 |
Толщина стенки верхнего конца, мм | От 0,3 до 0,35 |
Длина шкалы, мм | От 110 до 130 |
Примечание - Информация о термоареометрах приведена в
приложении.
Следует использовать аттестованные ареометры или калибровать их в соответствии с
разделом 7. Поправки вносят, если погрешности шкалы превышают половину цены ее деления.
4.2 Термометр с минимальной чувствительностью 2,7 мм/1 °C (1,5 мм/1 °F), градуированный для полного погружения, размерами, соответствующими размерам цилиндра для ареометра
(4.3).
Рекомендуется применять термометр STL/0,2/-15/+45, соответствующий требованиям ISO/R 653 <1>.
--------------------------------
<1> ISO/R 653 Long solid-stem thermometers for precision use (Термометры палочные удлиненные прецизионные).
Термометр с помощью зажима прочно закрепляют внутри цилиндра так, чтобы он не мешал свободному перемещению ареометра.
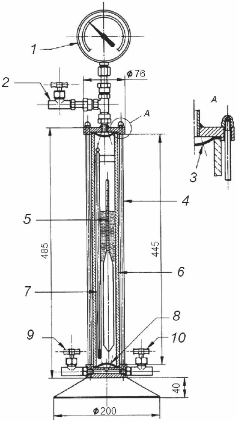
4.3 Цилиндр для ареометра из стекла или прозрачной пластмассы, например полиметилметакрилата или аналогичного материала, соответствующий размерам, указанным на рисунке 1. Концы должны быть закрыты герметичными прокладками из хлоропрена и тонколистового металла.
1 - манометр; 2 - вентиляционный вентиль диаметром
6 мм (или эквивалентный); 3 - отверстия; 4 - шесть штырей
диаметром 6 мм каждый; 5 - ареометр; 6 - пластмассовая
или стеклянная трубка наружным диаметром 51 мм, толщиной
стенки 6,5 мм; 7 - термометр; 8 - резиновая прокладка
(с отверстиями 3 - см. А); 9 - впускной
игольчатый вентиль диаметром 6 мм;
10 - выпускной игольчатый вентиль диаметром 6 мм
Рисунок 1 - Цилиндр для ареометра под давлением
Примечание - Некоторые компоненты разрушают пластмассу и затемняют внутреннюю поверхность цилиндра, что затрудняет наблюдение показаний ареометра. Испытания показали, что на цилиндр не оказывают воздействие: этан, этилен, пропан, пропилен, бутан, изобутан, нормальный бутилен, изобутилен, пентан, изопентан и бутадиен. Однако потребители должны тщательно очищать цилиндр после каждого анализа. Для очистки не используют кетоны и спирты, т.к. они воздействуют на пластмассу и разрушают ее. Ароматические соединения имеют тенденцию к затемнению поверхности пластмасс, поэтому их также не используют.
Впускной и выпускной вентили для жидкости должны быть прочно установлены у основания цилиндра, отверстия в котором должны быть расположены так, чтобы жидкость легко поступала и вытекала. Аналогично устанавливают вентиляционный вентиль на верхнем диске цилиндра. Внутренний диаметр вентилей должен быть равен 6 мм, также применяют аналогичные вентили. Давление внутри цилиндра должно быть не более 1,4 МПа (14 бар).
Предупреждение - В целях предосторожности вокруг цилиндра устанавливают защитный экран. Не применяют цилиндр с дефектами (потускнение, трещины, надлом и т.д.).
4.4 Водяная баня, снабженная термостатом или другим устройством, обеспечивающая постоянную температуру (15,0 +/- 0,2) °C [(60,0 +/- 0,5) °F]. Размеры бани должны обеспечивать полное погружение цилиндра для ареометра
(4.3).
5 Стандартные образцы жидкостей
Если нет калиброванного ареометра, для градуировки ареометра используют следующие стандартные образцы жидкостей.
5.1 Чистый пропан с известной плотностью или относительной плотностью.
Примечание - Пригодным является пропан плотностью 507,6 кг/м3 (0,5076 г/см3) при температуре 15 °C или 500,0 кг/м3 (0,5000 г/см3) при температуре 20 °C, или относительной плотностью 60/60 °F 0,5073.
5.2 Чистый бутан с известной плотностью или относительной плотностью.
Примечание - Пригодным является бутан плотностью 584,5 кг/м3 (0,5845 г/см3) при температуре 15 °C или 578,8 кг/м3 (0,578 8 г/см3) при температуре 20 °C, или относительной плотностью 60/60 °F 0,5844.
Ниже приведена методика отбора проб для проведения калибровки прибора и дальнейших испытаний.
6.1 Тщательно очищают и сушат ареометр
(4.1), термометр
(4.2) и внутреннюю поверхность цилиндра
(4.3). Погружают ареометр в цилиндр, устанавливают термометр и крышку.
6.2 Источник анализируемого вещества соединяют с впускным вентилем с помощью соответствующих соединений для введения пробы в цилиндр
(4.3). Проверяют соединения на герметичность. Открывают выпускной вентиль и прочищают соединения, пропуская вещества через выпускной вентиль на дне цилиндра, приоткрывая впускной вентиль.
6.3 После очищения соединения закрывают выпускной и вентиляционный вентили и открывают входной вентиль для заполнения цилиндра жидкостью. Для полного заполнения цилиндра можно сначала приоткрыть вентиляционный вентиль, затем его закрыть. Давление в цилиндре не должно превышать манометрическое давление 1,4 МПа (14 бар).
6.4 После заполнения цилиндра закрывают впускной клапан и открывают выпускной для полного слива жидкости и снижения внутреннего давления в цилиндре до атмосферного.
6.5 Закрывают выпускной вентиль и открывают впускной, заполнив цилиндр до уровня, при котором погруженный в него ареометр плавает свободно. Если для заполнения цилиндра необходимо выпускать пары через вентиляционный вентиль, повторно с целью охлаждения очищают цилиндр, чтобы заполнение можно было проводить без выпуска паров.
6.6 Герметичность прибора проверяют при закрытых вентилях. При обнаружении утечек пробу выливают, давление приводят к атмосферному и устраняют утечки. Повторяют процедуру отбора проб.
7.1 Перед определением плотности ареометр, не имеющий свидетельства о поверке, выданного метрологической лабораторией, калибруют по методу, изложенному в 7.2 или
7.3.
7.2 Используют не менее трех проб, имеющих различные плотности в диапазоне испытуемого ареометра. Для каждой пробы дважды определяют показания калиброванным ареометром по методу, приведенному в
разделе 8. Если показания отличаются не более чем на 0,5 кг/м
3 или на эквивалентное значение, два значения, полученные для каждой пробы, усредняют. При отличии более чем на 0,5 кг/м
3 или на эквивалентное значение, измерения проводят повторно. Затем определяют среднеарифметическое значение двух показаний калибруемого ареометра по той же методике. Максимальная разность температур для всех измерений не должна превышать 0,4 °C (1 °F). Сравнивают показания, полученные на двух ареометрах, и записывают разность для внесения поправки в показания калибруемого ареометра.
7.3 По методике
раздела 8 определяют плотность одной из образцовых жидкостей установленной плотности (см.
раздел 5) при температуре калибровки с предельным отклонением +/- 0,2 °C (0,5 °F). Проводят два измерения и определяют среднеарифметическое значение двух результатов, если они отличаются друг от друга не более чем на 0,5 кг/м
3 или на эквивалентное значение. Вычитают среднее значение из установленной плотности образцовой жидкости и получают поправку. Если результаты отличаются более чем на 0,5 кг/м
3 или на эквивалентное значение, измерения проводят повторно.
Примечание - Настоящий метод обеспечивает проверку ареометра только в одной точке шкалы, этого достаточно для ежедневных испытаний.
8.1 Готовят прибор и отбирают пробу испытуемой жидкости в соответствии с
разделом 6.
8.2 Цилиндр отсоединяют от источника жидкости и помещают в водяную баню
(4.4) температурой (15,0 +/- 0,2) °C, (20,0 +/- 0,2) °C или (60,0 +/- 0,5) °F до достижения теплового равновесия, для ускорения которого периодически извлекают цилиндр из водяной бани, слегка вращают, перемешивая образец, и вновь ставят в водяную баню. Во время этой процедуры необходимо следить за тем, чтобы не повредить ареометр и термометр.
Измеряют температуру бани термометром с внешней стороны цилиндра во избежание влияния давления на термометр внутри цилиндра. Затем термометр помещают внутрь цилиндра, чтобы убедиться, что испытуемая жидкость достигла постоянной температуры и температура жидкости значительно не меняется во время измерения.
8.3 Цилиндр извлекают из водяной бани (см. примечание) и устанавливают на горизонтальную поверхность. Пока ареометр свободно плавает, следует как можно быстрее снять показания значений по его шкале. Для этого намечают точку немного ниже поверхности жидкости, затем поднимают линию обзора так, чтобы эта поверхность, видимая в форме эллипса, стала прямой линией. Отмечают показание ареометра, соответствующее точке пересечения этой линии со шкалой ареометра. За цилиндром помещают лист белой бумаги ниже уровня жидкости для улучшения обзора поверхности. Проводят отсчет значений на шкале ареометра с точностью до 1/5 деления.
Примечание - Цилиндр можно оставить в водяной бане, если показание ареометра хорошо видно.
Определяют температуру в цилиндре с точностью до 0,2 °C (0,5 °F) непосредственно до и после снятия показаний с ареометра. Если разность этих температур превышает 0,4 °C (1 °F), измерение повторяют.
8.4 После каждого анализа жидкость из цилиндра выливают, давление приводят к атмосферному. Легко испаряющиеся жидкости и сжиженные углеводородные газы не должны оставаться в приборе, т.к. при высокой температуре окружающей среды они могут создать давление, способное разрушить цилиндр.
8.5 Данный метод может быть использован для рабочих измерений при температуре окружающей среды, однако при этом следует учитывать, что результаты будут менее точными и данные прецизионности, приведенные в
разделе 9, будут отличаться от полученных при рабочих измерениях.
Предупреждение - Если при испытании давление в цилиндре превысит манометрическое давление 1,4 МПа (14 бар), открывают вентиляционный вентиль цилиндра и прекращают испытание.
8.6 В полученный результат вносят поправки. Если анализ проводят не при нормальной температуре, в результаты вносят поправки в соответствии с таблицами параметров нефти, приведенными в ISO 91 <1> (см.
примечания 1 и
2).
--------------------------------
<1> ISO 91, Petroleum measurement tables (Таблицы параметров нефти).
t1 - температура, при которой было снято показание ареометра;
t - нормальная температура 15 °C, 20 °C или 60 °F;
dt - относительная плотность 60/60 °F.
Примечания
1 Таблицу 53A используют для приведения поправленных плотностей до 612 кг/м
3 к температуре 15 °C, таблицу 23A - для приведения поправленных относительных плотностей до 0,612 к 60/60 °F. Для значений ниже указанных диапазонов и до 500 кг/м
3 (0,500 г/см
3) при температуре 15 °C следует пользоваться соответствующими таблицами API 2540-1952 <2>, ASTM D 1250 <3> и IP 200 <4>, а также таблицами 33 и 34 ASTM D 1250-1980 и таблицей A ISO 91-2 <5> для приведения плотности к температуре 20 °C.
--------------------------------
<2> API 2540 Manual of petroleum measurement standards. Volume correction factors (Руководство по стандартам измерений нефти. Коэффициенты поправки объема).
<3> ASTM D1250-08 Standard guide for use of the petroleum measurement tables (Стандартное руководство по применению таблиц измерения нефти).
<4> IP 200 Schedule for petroleum measurement tables (Перечень таблиц измерений нефти).
<5> ISO 91-2 Petroleum measurement tables - Part 2 - Tables based on a reference temperature of 20 °C (Таблицы измерений параметров нефти. Часть 2. Таблицы, основанные на стандартных температурах 20 °C).
2 Ниже указана формула приведения поправленного показания ареометра, полученного на бутадиене при температуре испытания (от минус 20 °C до плюс 60 °C), к нормальной температуре

, (1)
или

,
где

- плотность при температуре 15 °C или 20 °C, кг/м
3;

,

- коэффициенты для ареометров из известково-натриевого стекла
(таблица 2) <6>;
--------------------------------
<6> Расчеты проведены для стекла с коэффициентом теплового объемного расширения 25·10-6 К-1
Таблица 2
Коэффициенты приведения показаний ареометра
к плотности и относительной плотности
при стандартной температуре для бутадиена
Тип ареометра | | |
Плотность при температуре 15 °C | 1,2157 | 1,911·10-3 |
Плотность при температуре 20 °C | 1,2346 | 1,910·10-3 |
Относительная плотность 60/60 °F | 6,7539·10-4 | 5,898·10-7 |
Прецизионность метода, полученная при статистическом анализе результатов межлабораторных испытаний, следующая.
9.1 Повторяемость (сходимость)
Расхождение между двумя последовательными результатами, полученными одним и тем же оператором на одних и тех же приборах при постоянных рабочих условиях на одинаковом испытуемом веществе при нормальном и правильном проведении испытаний в течение длительного времени, может превышать следующие значения лишь в одном случае из двадцати:
плотность - 1 кг/м3 или 0,001 г/см3;
относительная плотность - 0,001.
9.2 Воспроизводимость
Расхождение между двумя отдельными и независимыми результатами, полученными разными операторами в разных лабораториях на одинаковом испытуемом веществе при нормальном и правильном проведении испытаний в течение длительного времени, может превышать следующие значения лишь в одном случае из двадцати:
плотность - 3 кг/м3 или 0,003 г/см3;
относительная плотность - 0,003.
Протокол испытания должен содержать:
a) обозначение настоящего стандарта;
b) значение показания с поправкой с точностью до 1 кг/м3 или эквивалентное значение;
c) зарегистрированное значение плотности или относительной плотности;
d) для плотности - единицу измерения и температуру
(2.1);
e) для относительной плотности - температуры
t1,
t2 (2.2);
(обязательное)
ИСПОЛЬЗОВАНИЕ ТЕРМОАРЕОМЕТРОВ
В некоторых случаях, в частности для рабочих измерений, целесообразнее использовать термоареометры. Можно применять термоареометр со шкалой подходящего диапазона, размеры которого позволяют ему свободно плавать в цилиндре (минимальные зазоры: у стенок - 5 мм, у крышки и дна - 25 мм).
Данные прецизионности результатов измерений с помощью термоареометра отсутствуют. В протоколе испытаний указывают, что измерения проводили с использованием термоареометра.