Главная // Актуальные документы // ГОСТ (Государственный стандарт)СПРАВКА
Источник публикации
М.: Стандартинформ, 2013
Примечание к документу
Документ включен в
Перечень международных и региональных (межгосударственных) стандартов, а в случае их отсутствия - национальных (государственных) стандартов, в результате применения которых на добровольной основе обеспечивается соблюдение требований технического
регламента Таможенного союза "О безопасности продукции, предназначенной для детей и подростков" (ТР ТС 007/2011), и отдельные положения данного документа включены в Перечень международных и региональных (межгосударственных) стандартов (
п. п. 1192,
1195,
1196,
1198,
1200), а в случае их отсутствия - национальных (государственных) стандартов, содержащих правила и методы исследований (испытаний) и измерений, в том числе правила отбора образцов, необходимые для применения и исполнения требований технического
регламента Таможенного союза "О безопасности продукции, предназначенной для детей и подростков" (ТР ТС 007/2011) и осуществления оценки соответствия объектов технического регулирования (
Решение Коллегии Евразийской экономической комиссии от 14.03.2023 N 31).
Документ включен в
Перечень международных и региональных (межгосударственных) стандартов, а в случае их отсутствия - национальных (государственных) стандартов, в результате применения которых на добровольной основе обеспечивается соблюдение требований технического
регламента Таможенного союза "О безопасности машин и оборудования" (ТР ТС 010/2011) и отдельные положения данного документа включены в
Перечень международных и региональных (межгосударственных) стандартов, а в случае их отсутствия - национальных (государственных) стандартов, содержащих правила и методы исследований (испытаний) и измерений, в том числе правила отбора образцов, необходимые для применения и исполнения требований технического
регламента Таможенного союза "О безопасности машин и оборудования" (ТР ТС 010/2011) и осуществления оценки соответствия объектов технического регулирования (
Решение Коллегии Евразийской экономической комиссии от 09.03.2021 N 28).
Документ включен в
Перечень стандартов, содержащих правила и методы исследований (испытаний) и измерений, в том числе правила отбора образцов, необходимые для применения и исполнения требований технического
регламента Таможенного союза "О безопасности машин и оборудования" (ТР ТС 010/2011) и осуществления оценки (подтверждения) соответствия продукции, и
Перечень стандартов, в результате применения которых на добровольной основе обеспечивается соблюдение требований технического
регламента Таможенного союза "О безопасности машин и оборудования" (ТР ТС 010/2011) (
Решение Комиссии Таможенного союза от 18.10.2011 N 823).
Текст данного документа приведен с учетом
поправки, опубликованной в "ИУС", N 1, 2023;
поправки, опубликованной в "ИУС", N 6, 2024.
Документ
введен в действие с 01.01.2014.
Название документа
"ГОСТ 31741-2012. Межгосударственный стандарт. Велосипеды. Общие технические условия"
(введен в действие Приказом Росстандарта от 22.11.2012 N 1024-ст)
"ГОСТ 31741-2012. Межгосударственный стандарт. Велосипеды. Общие технические условия"
(введен в действие Приказом Росстандарта от 22.11.2012 N 1024-ст)
по техническому регулированию
и метрологии
от 22 ноября 2012 г. N 1024-ст
МЕЖГОСУДАРСТВЕННЫЙ СТАНДАРТ
ВЕЛОСИПЕДЫ
ОБЩИЕ ТЕХНИЧЕСКИЕ УСЛОВИЯ
Bicycles. General specifications
ГОСТ 31741-2012
Дата введения
1 января 2014 года
Цели, основные принципы и порядок проведения работ по межгосударственной стандартизации установлены
ГОСТ 1.0-92 "Межгосударственная система стандартизации. Основные положения" и
ГОСТ 1.2-2009 "Межгосударственная система стандартизации. Стандарты межгосударственные, правила и рекомендации по межгосударственной стандартизации. Правила разработки, принятия, применения, обновления и отмены"
1 ПОДГОТОВЛЕН Федеральным государственным унитарным предприятием "Всероссийский научно-исследовательский институт стандартизации и сертификации в машиностроении" (ВНИИНМАШ)
2 ВНЕСЕН Федеральным агентством по техническому регулированию и метрологии
3 ПРИНЯТ Межгосударственным советом по стандартизации, метрологии и сертификации по переписке (протокол от 1 октября 2012 г. N 51)
За принятие проголосовали:
Краткое наименование страны по МК (ИСО 3166) 004-97 | Код страны по МК (ИСО 3166) 004-97 | Сокращенное наименование национального органа по стандартизации |
Армения | AM | ЗАО "Национальный орган по стандартизации и метрологии" Республики Армения |
Беларусь | BY | Госстандарт Республики Беларусь |
Казахстан | KZ | Госстандарт Республики Казахстан |
Кыргызстан | KG | Кыргызстандарт |
Молдова | MD | Молдова-Стандарт |
Российская Федерация | RU | Росстандарт |
Туркмения | TM | Главгосслужба "Туркменстандартлары" |
Узбекистан | UZ | Узстандарт |
Украина | UA | Минэкономразвития Украины |
4
Приказом Федерального агентства по техническому регулированию и метрологии от 22 ноября 2012 г. N 1024-ст межгосударственный стандарт ГОСТ 31741-2012 введен в действие в качестве национального стандарта Российской Федерации с 1 января 2014 г.
6 ВВЕДЕН ВПЕРВЫЕ
Информация об изменениях к настоящему стандарту публикуется в ежегодном информационном указателе "Национальные стандарты", а текст изменений и поправок - в ежемесячном информационном указателе "Национальные стандарты". В случае пересмотра (замены) или отмены настоящего стандарта соответствующее уведомление будет опубликовано в ежемесячном информационном указателе "Национальные стандарты". Соответствующая информация, уведомление и тексты размещаются также в информационной системе общего пользования - на официальном сайте Федерального агентства по техническому регулированию и метрологии в сети Интернет
Настоящий стандарт распространяется на велосипеды, седло которых может быть отрегулировано на высоту 635 мм и более, предназначенные для использования в качестве транспортного средства, а также для тренировок и соревнований.
Стандарт не распространяется на велосипеды для детей младшего возраста по ГОСТ 28765 и специальные велосипеды: грузовые, тандемы.
В настоящем стандарте использованы ссылки на следующие стандарты:
ГОСТ 24643-81 Основные нормы взаимозаменяемости. Допуски формы и расположения поверхностей. Числовые значения
ГОСТ 28765-90 (ИСО 8098:1989) Велосипеды для детей младшего возраста. Требования безопасности
ГОСТ 29235-91 (ИСО 6742-2:1985) Велосипеды. Световозвращающие устройства. Фотометрические и физические требования
Примечание - При пользовании настоящим стандартом целесообразно проверить действие ссылочных стандартов в информационной системе общего пользования - на официальном сайте Федерального агентства по техническому регулированию и метрологии в сети Интернет или по ежегодному информационному указателю "Национальные стандарты", который опубликован по состоянию на 1 января текущего года, и по выпускам ежемесячного информационного указателя "Национальные стандарты" за текущий год. Если ссылочный стандарт заменен (изменен), то при пользовании настоящим стандартом следует руководствоваться заменяющим (измененным) стандартом. Если ссылочный стандарт отменен без замены, то положение, в котором дана ссылка на него, применяется в части, не затрагивающей эту ссылку.
В настоящем стандарте применены следующие термины с соответствующими определениями:
3.1 транспортный велосипед: Велосипед, предназначенный для передвижения, туризма.
3.2 Байсикл-мото-экстрим (BMX): Велосипед, предназначенный для соревнований по специальным трассам с препятствиями.
3.3 велокросс: Соревнования по пересеченной местности на заданную дистанцию.
3.4 велоспорт в зале: Командная игра в мяч на велосипедах (велобол).
3.5 маунтинбайк (МТБ): велосипед, предназначенный для соревнований по лесным, полевым, горным тропам с грунтовой или песчаной почвой.
3.6 трек: Замкнутая трасса с наклонной поверхностью со специальным твердым однородным покрытием.
3.7 триал: Соревнования по фигурной езде с преодолением препятствий на велосипеде по заданной программе с элементами акробатики.
3.8 база: Расстояние между осями колес велосипеда.
3.9 вилка (передняя и задняя): Узел или элемент рамы велосипеда, предназначенный для установки колес.
3.10 вынос руля: Деталь конструкции узла рулевого управления, обеспечивающая надежное соединение руля со стержнем руля.
3.11 каретка: Составная часть велосипеда, передающая усилие педалирования на ведущее колесо.
3.12 кривошип: Шатуны, смонтированные с валом каретки велосипеда.
3.13 переключатель передач (передний, задний): Устройство для изменения передаточного отношения.
3.14 седлодержатель (подседельный штырь): Стержень, на который устанавливается седло.
3.15 трещотка: Составная часть бестормозной втулки заднего колеса, обеспечивающая рабочий и свободный ход втулки.
3.16 туклипс: Составная часть педали для фиксации стопы.
4. Классификация, основные параметры и размеры
4.1 Велосипеды подразделяют на следующие типы:
транспортные:
- для взрослых,
- для подростков, масса снаряженного велосипедиста не более 50 кг,
- для младших школьников, масса снаряженного велосипедиста не более 40 кг
спортивные (по дисциплинам велосипедного спорта):
- для гонок на треке,
- для гонок на шоссе,
- маунтинбайк (МТБ),
- байсикл-мото-экстрим (BMX),
- для триала,
- для велокросса,
- для велоспорта в зале;
специальные.
4.2 Велосипеды по показателям качества разделяют на четыре класса, указанные в таблице 1
Таблица 1
Классификация велосипедов
Класс велосипеда | Обозначение | Рекомендован для использования |
Высший | | Соревнования |
Первый | | Соревнования, спортивная подготовка |
Второй | | Спортивная подготовка, велотуризм |
Третий | | Транспортное средство для населения |
4.3 Основные параметры и размеры велосипедов должны соответствовать указанным на рисунке 1.
Рисунок 1 - Основные параметры и размеры велосипеда
Габаритные размеры:
длина EF - не более 1,9 м,
ширина - не более 0,55 м, для BMX - не более 0,74 м.
Расстояния:
между горизонтальной линией, проведенной через ось каретки I, и поверхностью земли D - не менее 0,2 м и не более 0,3 м;
между вертикальными линиями, проведенными через ось каретки A и ось переднего колеса B - 0,43 - 0,75 м;
между вертикальными линиями, проведенными через ось каретки A и ось и заднего колеса C - 0,25 - 0,55 м;
между вертикальными линиями, проведенными через переднюю точку седла H и ось каретки A - не менее 0,05 м за кареткой, кроме спортивных велосипедов для гонок на треке.
Для спортивных велосипедов для гонок на треке это расстояние может быть равно нулю;
между внутренними краями наконечников:
передней вилки - не более 0,105 м,
задней вилки - не более 0,135 м;
вертикальная линия, проведенная через любую точку руля велосипеда G, не должна находиться перед вертикальной линией, проходящей через ось переднего колеса B, на расстоянии более 0,15 м.
Диаметр колес велосипедов, кроме спортивных BMX, должен быть не менее 0,49 м и не более 0,7 м, включая шину. У спортивных велосипедов BMX диаметр колес должен быть не менее 0,49 м и не более 0,5 м.
Диаметр колес транспортных велосипедов для младших школьников должен быть не менее 0,3 м, для подростков - не менее 0,4 м.
5. Общие технические требования
Велосипеды должны соответствовать требованиям настоящего стандарта и комплекта нормативных документов (далее - НД) на велосипеды конкретных моделей.
5.1 Комплектность
5.1.1 Каждый велосипед должен быть снабжен документацией, содержащей информацию для потребителя, в том числе:
паспортом, включающим:
- наименование предприятия-изготовителя или сборщика велосипеда, его полный адрес, телефон, факс и другие средства связи,
- тип и класс велосипеда, заводской порядковый номер (при отсутствии информации о типе и классе велосипед относят к типу транспортный и
классу 3),
- дату изготовления,
- размеры шины (трубки), рекомендации по рабочему давлению в камере в зависимости от условий эксплуатации,
- информацию о сертификации,
- рекомендации по использованию,
- гарантийные обязательства;
инструкцией по эксплуатации, содержащей:
- рекомендации по сборке, подготовке к эксплуатации и регулированию с указанием значений рекомендуемых моментов затяжки резьбовых соединений,
- рекомендации по эксплуатации, связанной с повышенным риском получения травм (при необходимости), в том числе рекомендации по подбору высоты рамы велосипеда так, чтобы горизонтальная часть рамы перед седлом свободно помещалась между ногами велосипедиста, стоящего на земле,
- указания по техническому обслуживанию велосипеда (сроки обслуживания, давление в шинах, рекомендации по смазке основных узлов и регулированию тормозов).
5.1.2 В комплект поставки велосипедов, предназначенных для гонок на треке, не должны входить тормоза, трещотки, переключатели передач, если иное не предусмотрено условиями соревнований.
5.2 Маркировка
На раму велосипеда должен быть нанесен товарный знак предприятия-изготовителя, порядковый номер и класс велосипеда. При отсутствии маркировки класса велосипеда на раме велосипед относят к
третьему классу.
5.3 Упаковка
Упаковка и консервация должны обеспечивать сохранность велосипедов во время транспортирования и предпродажного хранения.
6. Требования безопасности
6.1 Общие
6.1.1 Смазка подвижных соединений велосипеда должна обеспечивать их нормальную работу при всех условиях эксплуатации.
6.1.2 Выступающие части велосипеда, которые могут соприкасаться с руками, ногами и другими частями тела велосипедиста в процессе езды и технического обслуживания велосипеда, должны быть безопасными.
Все открытые выступы длиной более 8 мм должны иметь радиус закругления не менее 6 мм. Торцевой размер конца открытого выступа: наибольший - 13 мм, наименьший - 3 мм. Не допускается наличие выступов на верхней трубе рамы велосипеда между седлом и точкой, находящейся впереди седла на расстоянии не менее 300 мм, за исключением прикрепленных к верхней трубе тросов управления диаметром не более 6,5 мм и тросовых зажимов, изготовленных из материала толщиной не более 5 мм.
6.1.3 После пробега велосипеда, заданного в сопроводительной документации изготовителя, не допускается ослабление затяжки резьбовых крепежных соединений.
6.1.4 После испытаний полностью собранного велосипеда по
8.7,
8.9 он должен сохранять работоспособное состояние. Остаточные деформации в системах и узлах не допускаются.
6.2 Тормозная система
6.2.1 Все типы велосипедов (кроме спортивных для гонок на треке) должны быть оснащены одной или двумя тормозными системами (передним и задним тормозами). При наличии одной тормозной системы она должна воздействовать на заднее колесо. При наличии двух тормозных систем одна из них должна воздействовать на переднее колесо, другая - на заднее.
6.2.2 Ручной тормоз
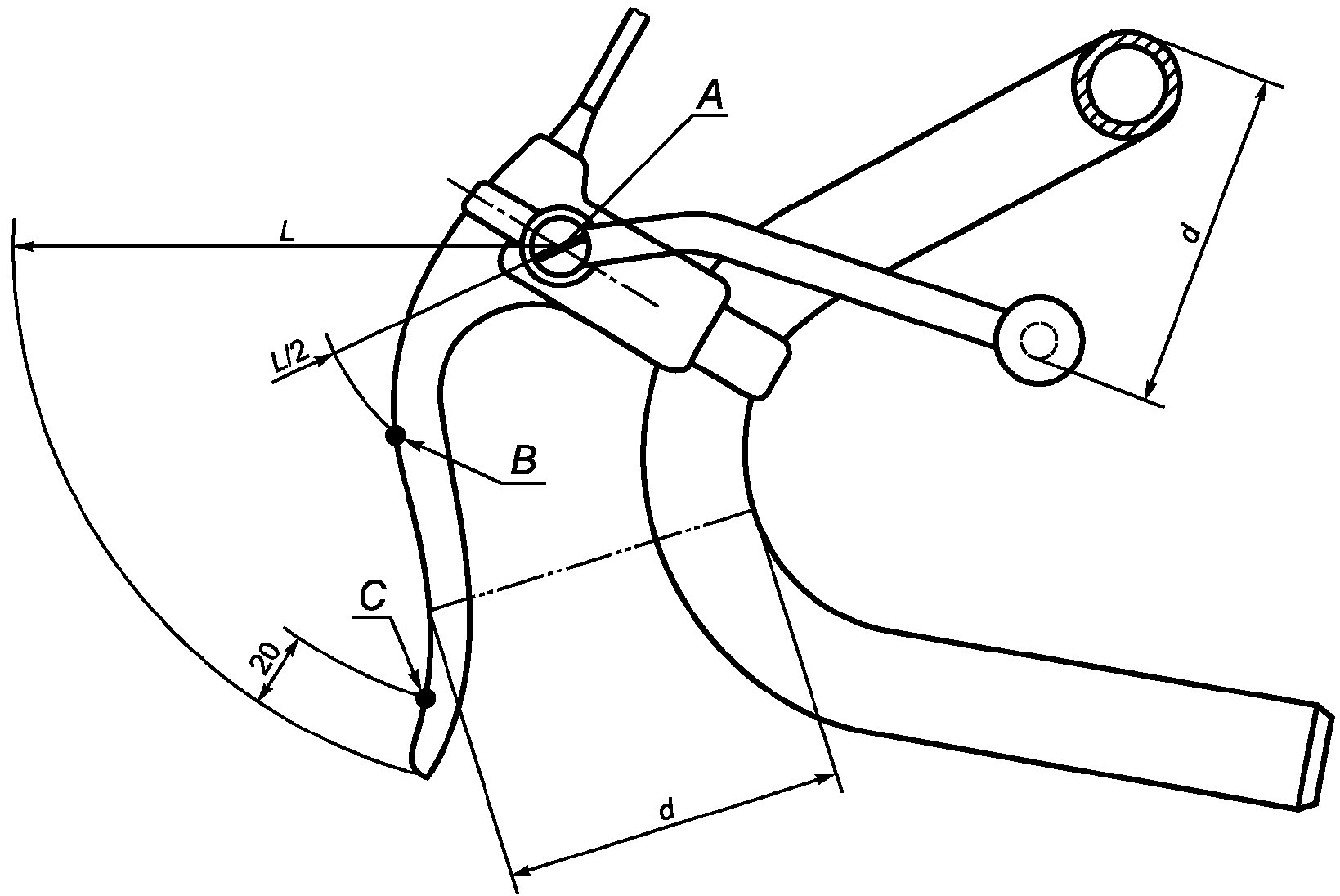
6.2.2.1 Наибольший размер между наружными поверхностями рукоятки тормоза и руля (или ручки руля)
d (рисунок 2) - 90 мм, на участке между точками
A и
B - 90 мм, между точками
B и
C - 100 мм.
L - длина рукоятки; d - расстояние между наружными
поверхностями рукоятки тормоза и руля (или ручки руля);
A, B, C - контрольные точки для измерения расстояния d
Рисунок 2 - Размеры рукоятки тормоза
Тормозная система должна работать без заеданий. Стяжной болт троса не должен перерезать ни одну из проволок троса при сборке и регулировании тормозной системы.
После снятия приложенного к приводу тормоза усилия тормоз должен растормозиться и все элементы тормозной системы должны возвратиться в исходное положение.
6.2.2.2 После испытания по
8.1.1 не должно быть неисправностей в узле фрикционной тормозной колодки, а тормозная система должна соответствовать требованиям
6.2.5.
6.2.3 Регулирование тормозов
Отрегулированная по
6.2.2.1 тормозная система (в том числе с учетом износа) должна находиться в работоспособном состоянии до степени износа тормозных колодок, указанной в инструкции по эксплуатации на конкретный велосипед.
Отрегулированная тормозная колодка не должна соприкасаться с другими поверхностями, кроме поверхности, предназначенной для торможения.
Конструкция тормозной системы должна обеспечивать равномерное прилегание тормозных колодок к колесу.
6.2.4 Ножной тормоз
Тормоз должен приводиться в действие ногой велосипедиста, приложением усилия к педали в направлении, противоположном движению. Механизм тормоза должен действовать независимо от положения привода и его регулирования. Наибольший угол между положениями шатуна при движении и торможении должен быть не более 60°. Угол измеряют при приложении крутящего момента 14 Нм к шатуну, находящемуся в его крайних положениях.
6.2.5 Прочность тормозной системы
Тормозная система, отрегулированная в соответствии с инструкцией по эксплуатации конкретного велосипеда, после испытаний по
8.1.2.1 и
8.1.2.2 не должна иметь неисправностей, а также не должно быть нарушений регулирования.
При испытании по
8.1.3.6 тормозной путь по сухому покрытию при скорости 7 м/с (25,2 км/ч) не должен превышать 7 м. С увлажненными тормозами при скорости 4,5 м/с (16,2 км/ч) тормозной путь не должен превышать 9 м.
Примечание - Тормозной путь 7 м включает погрешность реакции велосипедиста и погрешности измерительных приборов и может быть пересмотрен в соответствии с результатами испытаний.
6.2.6 При испытании по
8.1.2.2 усилие торможения должно быть прямо пропорционально +/- 20% усилию, прилагаемому к педали, в пределах от 90 до 300 Н; при приложении к педали нагрузки 300 Н усилие торможения должно быть не менее 150 Н.
6.3 Рулевое управление
6.3.1 Руль
Ширина руля должна быть от 350 до 700 мм. Расстояние по вертикали между верхними частями ручек руля, находящимися в самом высоком положении, и опорной поверхностью седла, находящегося в его самом нижнем положении, должно быть не более 400 мм.
На концах руля должны быть ручки или заглушки, выдерживающие силу стягивания не менее 70 Н.
6.3.2 Стержень руля
На стержне руля должна быть несмываемая метка или насечка (далее - метка ввода), указывающая минимальную глубину его ввода в стержень вилки. Метка ввода должна быть расположена: на велосипедах для взрослых - на расстоянии не менее 60 мм от нижнего конца стержня руля, на велосипедах для подростков и младших школьников - на расстоянии не менее 50 мм. Ниже метки ввода должен оставаться участок цилиндрического тела стержня длиной не менее одного диаметра стержня. Метка ввода не должна уменьшать прочность стержня руля.
6.3.3 Затяжной болт для стержня руля
Минимальный разрушающий крутящий момент затяжки болтов стержня руля должен превышать максимальный крутящий момент затяжки, установленный изготовителем, не менее чем на 50%.
6.3.4 Устойчивость рулевого управления
Узел "руль - передняя вилка" должен обеспечивать поворот переднего колеса на угол не менее 60° в обе стороны от продольной оси велосипеда. При этом наименьшее расстояние между колесом велосипеда и какой-либо деталью педали, находящейся в любом положении, должно быть не менее 89 мм.
Не менее 25% общей массы велосипеда и велосипедиста должно приходиться на переднее колесо при условии, что положение седла и ручек руля позволяет велосипедисту, находящемуся в седле и держащемуся за ручки, сместиться как можно дальше назад.
6.3.5 Прочность узла рулевого управления
Стержень руля не должен разрушаться при испытаниях по
8.2.1.1 и
8.2.1.2.
После испытаний по
8.2.2 и
8.2.3 не допускаются трещины, сломы и смещение конца испытательного вала более 4 мм.
При испытании по
8.2.3 не должно происходить перемещения стержня руля относительно стержня вилки более, чем позволяют зазоры между соприкасающимися поверхностями. Такое перемещение не должно превышать 5°.
6.4 Узел "рама - передняя вилка"
На узле "рама - передняя вилка" не должно быть видимых трещин, а остаточная деформация узла, измеряемая между осями наконечников вилки и рамы, должна быть не более 40 мм при испытаниях этого узла падающей массой
(8.3.1) и свободным падением
(8.3.2).
Пазы или другие средства размещения передней оси внутри передней вилки должны быть такими, чтобы при плотном прилегании оси или конусов к верхней поверхности пазов переднее колесо оставалось в плоскости симметрии вилки.
6.5 Колеса
6.5.1 Торцевое и радиальное биения колес определяют по
ГОСТ 24643 при их вращении в пределах допускаемого осевого биения. Приведенные ниже допуски биения содержат максимально допустимое изменение положения обода (т.е. полное показание индикатора) полностью собранного колеса за время одного полного оборота вокруг неподвижной оси. Допускаемые радиальное и торцевое биения колес, а также смещение плоскости переднего колеса относительно плоскости заднего колеса не должны превышать значений, указанных в таблице 2 для велосипедов соответствующих классов и типов.
Таблица 2
Допускаемые отклонения параметров велосипедов
В миллиметрах
Тип велосипеда | Параметр | Значение для класса |
| | | |
Спортивный: | | | | | |
для гонок на треке | Радиальное биение колеса | 0,1 | 0,5 | 2,0 | X |
Торцевое биение колеса | 0,1 | 0,5 | 2,0 | X |
Смещение плоскостей колес | 1,0 | 1,5 | 3,5 | X |
для гонок на шоссе | Радиальное биение колеса | 0,2 | 0,7 | 2,0 | 2,5 |
Торцевое биение колеса | 0,2 | 0,7 | 2,0 | 2,5 |
Смещение плоскостей колес | 1,0 | 2,0 | 3,5 | - |
МТБ | Радиальное биение колеса | 0,3 | 0,8 | 2,0 | 2,5 |
Торцевое биение колеса | 0,3 | 0,8 | 2,0 | 2,5 |
Смещение плоскостей колес | 1,0 | 2,0 | 3,5 | - |
BMX | Радиальное биение колеса | 0,6 | 1,2 | 2,0 | 2,5 |
Торцевое биение колеса | 0,6 | 1,2 | 2,0 | 2,5 |
Смещение плоскостей колес | 1,0 | 1,5 | 2,5 | - |
для триала | Радиальное биение колеса | 0,6 | 1,2 | 2,0 | 2,5 |
Торцевое биение колеса | 0,6 | 1,2 | 2,0 | 2,5 |
Смещение плоскостей колес | 1,0 | 2,0 | 3,0 | - |
для велокросса | Радиальное биение колеса | 0,6 | 1,2 | 2,0 | 2,5 |
Торцевое биение колеса | 0,6 | 1,2 | 2,0 | 2.5 |
Смещение плоскостей колес | 1,0 | 2,0 | 3,5 | - |
для велоспорта в зале | Радиальное биение колеса | 0,3 | 0,8 | 2,0 | 2,0 |
Торцевое биение колеса | 0,3 | 0,8 | 2,0 | 2,0 |
Смещение плоскостей колес | 1,0 | 1,5 | 3,0 | - |
Транспортный: | | | | | |
для взрослых | Радиальное биение колеса | 0,6 | 1,5 | 2,0 | 3,0 |
Торцевое биение колеса | 0,6 | 1,5 | 2,0 | 3,0 |
Смещение плоскостей колес | 1,0 | 2,5 | 3,5 | 7,0 |
для подростков | Радиальное биение колеса | 0,6 | 1,5 | 2,0 | 4,0 |
Торцевое биение колеса | 0,6 | 1,5 | 2,0 | 4,0 |
Смещение плоскостей колес | 1,0 | 2,5 | 3,5 | 7,0 |
для младших школьников | Радиальное биение колеса | X | 1,5 | 2,0 | 4,0 |
Торцевое биение колеса | X | 1,5 | 2,0 | 4,0 |
Смещение плоскостей колес | X | 2,5 | 3,5 | 7,0 |
Примечание - Знак "X" означает, что велосипед не может быть отнесен к указанному классу; знак "-" означает отсутствие ограничений по указанному параметру. |
Примечание - Класс велосипеда (см.
4.3) определяют по худшему показателю, выявленному в процессе измерений основных параметров и размеров велосипеда или его элементов, и по результатам испытаний в соответствии с
таблицами 2 и
А.1.
6.5.2 Колеса на велосипеде должны быть установлены так, чтобы зазор между шиной и любой деталью рамы и вилки был не менее 2 мм.
6.5.3 Колеса велосипеда должны быть закреплены и затянуты в соответствии с инструкцией по эксплуатации конкретного велосипеда. Минимальный разрушающий крутящий момент затяжки крепежных соединений должен превышать максимальный крутящий момент их затяжки, установленный изготовителем не менее чем на 50%.
Конструкция велосипеда должна исключать самопроизвольное "выпадение" колеса из вилки.
Не допускается:
- относительное перемещение между осью переднего колеса и передней вилкой при испытании по
8.4.2;
- относительное перемещение между осью заднего колеса и рамой при испытании по
8.4.3.
При испытании полностью собранного колеса по
8.4.1 на его деталях не должно быть повреждений, а значение остаточной деформации, измеряемое в точке приложения силы к ободу, должно быть не более 1,5 мм.
6.6 Шины и трубки
Шина и трубка должны соответствовать конструкции обода. На боковой поверхности покрышки должен быть указан размер шины и рабочее давление в шине. При накачивании до 110% рекомендуемого внутреннего давления шина должна оставаться на ободе неповрежденной не менее 5 мин.
6.7 Педали
6.7.1 Ни одна деталь педали, опорная поверхность которой параллельна поверхности земли, при нахождении в самой нижней точке не должна касаться поверхности земли в случае отклонения ненагруженного велосипеда от вертикального положения на 25°.
6.7.2 Устройства, установленные на педали и предназначенные для фиксации ступни, должны обеспечивать неподвижность опорной поверхности велотуфель в переднем и заднем направлениях относительно корпуса педали.
6.7.3 У велосипедов, не оснащенных устройствами для крепления ног (туклипсами), зазор между педалью и передней шиной или щитком переднего колеса при вращении его в любом положении должен быть не менее 89 мм. Зазор должен быть измерен от центра любой педали до дуги, описанной шиной или щитком колеса параллельно плоскости симметрии велосипеда (рисунок 3).
1 - педаль; 2 - шина; 3 - щиток колеса
Рисунок 3 - Зазор между педалью и шиной
Если на передней вилке велосипеда имеются детали для крепления переднего щитка, зазор измеряют от соответствующим образом установленного щитка.
6.7.4 После приложения к системе привода статической нагрузки по
8.5.1 на ее деталях не должно быть трещин и привод должен оставаться работоспособным.
6.7.5 После испытания по
8.5.3.1 на резьбе оси педали или шатуна кривошипа не должно быть разрушений.
6.8 Привод (система переключения передач)
6.8.1 Требования к переключателям передач (переднему и заднему)
6.8.1.1 Должно быть обеспечено надежное переключение передач по всему диапазону, предусмотренному для велосипеда конкретной модели.
6.8.1.2 В крайних положениях переключателей цепь не должна соскакивать с шестерен (звездочек) при вращении педалей.
6.8.1.3 Ролики заднего переключателя должны вращаться при движении цепи.
6.8.1.4 Расстояние от заднего переключателя до спиц заднего колеса в любом положении должно быть не менее 3 мм.
6.8.1.5 Передний переключатель, находящийся в любом положении, не должен касаться кривошипа или шестерен (звездочек) велосипеда.
6.8.2 Подвижные соединения должны работать без заеданий. Не допускаются набегание цепи на вершины зубьев звездочек, сбрасывание цепи и самопроизвольное переключение передач.
6.9 Седло
6.9.1 На седлодержателе должна быть несмываемая метка или насечка, расположенная на расстоянии не менее 50 мм от его торца и указывающая минимальную глубину ввода седлодержателя в раму. Насечка не должна уменьшать прочность седлодержателя.
6.9.2 Не допускается перемещение седла относительно седлодержателя и седлодержателя относительно рамы при испытании по
8.6.
6.9.3 Минимальный разрушающий крутящий момент затяжки болтов седла должен превышать максимальный крутящий момент затяжки, установленный изготовителем, не менее чем на 50%.
Цепь должна выдерживать минимальную разрушающую нагрузку 8010 Н для всех типов велосипедов, кроме спортивных для гонок на треке и МТБ, для спортивных велосипедов для гонок на треке и МТБ - 9500 Н.
6.11 Щиток цепи
Конструкция транспортных велосипедов должна обеспечивать возможность монтажа защитного устройства, закрывающего верхнюю точку соприкосновения цепи и ведущей звездочки от попадания одежды.
6.12 Осветительное оборудование и световозвращатели
6.12.1 Общие требования
Конструкция велосипеда должна обеспечивать возможность установки системы освещения, световозвращателей и сигнального устройства.
Примечание - Необходимость комплектации велосипедов системой освещения, световозвращателями и сигнальными устройствами определяется условиями их эксплуатации.
6.12.2 Электропроводка
При оснащении велосипеда системой освещения электропроводка должна быть помещена в стороне от движущихся частей или острых кромок во избежание повреждения. Все соединения должны выдерживать силу растяжения 10 Н в любом направлении.
6.12.3 Педальные световозвращатели
Каждая педаль транспортных велосипедов должна быть оснащена световозвращателями, соответствующими требованиям ГОСТ 29235, размещенными на передней и задней поверхностях педалей.
Отражающие элементы могут быть частью конструкции педали или быть механически закреплены. Отражающие элементы должны быть удалены от края педали на достаточное расстояние и углублены в корпус световозвращателя с целью предотвращения контакта отражающего элемента с плоской поверхностью, соприкасающейся с краем педали. Педальные световозвращатели должны быть желтого цвета.
7.1 Программы методик испытаний и объемы выборки устанавливаются организацией, проводящей испытания.
7.2 Для сертификационных испытаний велосипеды отбирают из партии методом случайной выборки в следующем количестве при объеме партии, шт.:
до 100 - 1;
от 101 до 1000 - 2;
1001 и более - 3 + 1 на каждые 1000 шт.
Примечание - Партией продукции считают велосипеды одной модели, предъявленные по одному документу.
7.3 Отобранные велосипеды должны быть полностью укомплектованными и не иметь видимых неисправностей систем и узлов.
7.4 Если хотя бы один из велосипедов не выдерживает испытаний, то из партии дополнительно выбирают удвоенное первоначальное число велосипедов и проводят повторные испытания. Если все велосипеды выдерживают повторные испытания, партию принимают. Партию велосипедов считают не принятой, если хотя бы один из испытуемых велосипедов не выдерживает повторных испытаний.
8.1 Испытания тормозной системы
8.1.1 Испытание тормозной колодки
Испытание проводят на полностью собранном велосипеде с отрегулированными тормозами.
Нагружаемая масса при испытании велосипедов: для взрослых - 100 кг, для подростков - 70 кг, для младших школьников - 60 кг или эквивалентная масса на седле.
Каждую рукоятку тормоза приводят в действие усилием 200 Н, приложенным на расстоянии 25 мм от края рукоятки и поддерживаемым в процессе всего испытания, если другое не предусмотрено конструкцией привода тормоза. Велосипед прокатывают вперед (назад) на расстояние не менее 1 м.
В процессе испытания не допускается полная блокировка колес. Не допускается залипание колодок после снятия усилия, приложенного к рукоятке.
Испытания повторяют не менее пяти раз.
8.1.2 Испытание тормозной системы нагрузкой
Испытание проводят на полностью собранном велосипеде с отрегулированной тормозной системой. К рукоятке тормоза в точке, отстоящей на 0,025 м от ее конца, перпендикулярно к ручке руля в плоскости перемещения рукоятки
(рисунок 4), прикладывают усилие, значение которого в соответствии с классом и типом велосипеда указано в
приложении А, до касания:
- рукояткой тормоза с тросовым или гидравлическим приводом ручки руля или поверхности руля при отсутствии ручки;
- удлиненной рукояткой тормоза двойного действия тросового привода поверхности руля;
- рукояткой тормоза стержневого привода поверхности руля.

- направление приложения усилия
Рисунок 4 - Испытание ручного тормоза нагрузкой
Испытание повторяют десять раз для каждого типа рукоятки тормоза.
Испытание проводят на полностью собранном велосипеде. После проверки правильности регулирования тормозной системы и установки шатунов в горизонтальное положение к центру оси левой педали постепенно в вертикальном направлении в течение 15 с прикладывают усилие 1500 Н (рисунок 5).
1 - левый шатун; 2 - точка приложения нагрузки; 3 - педаль;
4 - направление приложения нагрузки; 5 - цепь; 6 - ведомая
звездочка; 7 - ведущая звездочка
Рисунок 5 - Испытание ножного тормоза
Испытание повторяют десять раз.
8.1.3 Эксплуатационные испытания тормозной системы
8.1.3.1 При отсутствии других указаний испытания проводят в условиях, указанных в
8.1.3.6.
Эксплуатационные испытания тормозной системы проводят на полностью собранном велосипеде после испытания тормозной системы по
8.1.2.
Тормоза должны быть отрегулированы, а шины накачаны до рекомендуемого давления, указанного изготовителем на боковой стороне покрышки.
8.1.3.2 Испытательная дорожка (далее - дорожка) по возможности должна находиться в помещении.
Уклон дорожки не должен превышать 0,5%.
При уклоне дорожки менее 0,2% испытания проводят в одном направлении движения. При уклоне дорожки от 0,2% до 0,5% испытания в условиях мокрого покрытия проводят в противоположных направлениях движения.
Покрытие дорожки должно быть твердым (бетон, асфальт и т.п.), без пыли и мелкого гравия. Коэффициент трения сцепления между поверхностью сухого покрытия и покрышкой шины должен быть не менее 0,5. Допускается определение коэффициента трения сцепления одним из способов, указанных в
приложении Б.
Погрешность устройства для измерения скорости в начале торможения должна быть не более 2%.
Перед началом испытаний дорожка должна быть сухой.
Во время испытаний скорость ветра в зоне испытаний должна быть не более 3 м/с.
Испытания допускается проводить на испытательном стенде, моделирующем аналогичные условия.
8.1.3.3 Испытуемый велосипед и испытательный стенд должны быть оснащены следующими средствами измерения и оборудованием:
- тарированным спидометром (с погрешностью измерений не более 5%) для определения скорости движения велосипеда в начале каждого испытательного заезда;
- маркировочным устройством для определения начала тормозного пути (далее - маркировочное устройство). Маркировочным устройством должна быть снабжена каждая тормозная система велосипеда. Не позднее чем через 0,025 с после приведения в действие тормозной системы с помощью рукоятки ручного тормоза или шатуна кривошипа для ножного тормоза маркировочное устройство должно оставлять на поверхности дороги отметку.
Примечание - Допускается применение иного устройства, обеспечивающего определение положения велосипеда на дорожке в момент приведения тормоза в действие;
- устройством измерения времени;
- упором, установленным на руле для ограничения усилия, прикладываемого к рукоятке тормоза;
- системой распыления воды, предназначенной для смачивания тормозной поверхности, состоящей из резервуара, соединенного трубками с двумя парами патрубков на переднем и заднем колесах, из быстродействующего включающего и выключающего клапана, который должен быть установлен так, чтобы им мог управлять велосипедист. Каждый патрубок должен подавать струю воды, расход которой должен быть не менее 4·10-5 м3/с. Вода должна быть очищена и иметь температуру окружающей среды.
Расположение и направление патрубков для клещевого, разжимного, ленточного и дискового, и ножного тормозов приведены на рисунках 6 -
11.
1 - патрубки; 2 - передний тройник; 3 - передняя вилка;
4 - клещевой тормоз; 5 - обод колеса;
6 - направление вращения колеса
Рисунок 6 - Патрубки для подачи воды для переднего клещевого
тормоза
1 - патрубки для подачи воды; 2 - задний тройник; 3 - рама;
4 - задний клещевой тормоз; 5 - обод колеса;
6 - направление вращения колеса
Рисунок 7 - Патрубки для подачи воды для заднего клещевого
тормоза
1 - направление вращения колеса; 2 - патрубки;
3 - тормозная втулка
Рисунок 8 - Патрубки для подачи воды для внутренних
разжимных тормозов
1 - направление вращения колеса; 2 - патрубок; 3 - рама;
4 - задний тройник; 5 - ленточный тормоз; 6 - задняя втулка
Рисунок 9 - Патрубки для подачи воды для ленточного тормоза
1 - направление вращения колеса; 2 - рама; 3 - тормозной
диск; 4 - задний тройник; 5 - зажим дискового тормоза;
6 - патрубок; 7 - задняя втулка
Рисунок 10 - Патрубки для подачи воды для заднего дискового
тормоза
1 - направление вращения колеса; 2 - рама; 3 - задний
тройник; 4 - патрубок для подачи воды; 5 - тормозная втулка
Рисунок 11 - Патрубки для подачи воды для ножного тормоза
8.1.3.4 Контролируемая нагружаемая масса при испытании тормозной системы на велосипедах: для взрослых - 100 кг, для подростков - 70 кг, для младших школьников - 60 кг.
8.1.3.5 Велосипеды с ручными тормозами испытывают следующим образом: рукоятки ручного тормоза сжимают рукой усилием 200 Н. Усилие сжатия прикладывают в точке, отстоящей от конца рукоятки ручного тормоза на 25 мм. Контроль значения нагрузки на рукоятку ручного тормоза (тарировку) проводят до и после каждой серии испытательных заездов.
Во время испытаний в условиях сухого покрытия велосипедист, движущийся со скоростью 7 м/с (25,2 км/ч), должен прекратить нажимать на педали в момент начала проезда устройства измерения времени и нажать на тормоза сразу же после проезда этого устройства. Велосипед должен плавно и безопасно остановиться.
Тормозной путь измеряют от первой отметки до точки пересечения вертикальной линии, проходящей через отверстие маркировочного устройства, с поверхностью дороги.
Во время испытаний с увлажненными тормозами велосипедист, движущийся со скоростью 4,5 м/с (16,2 км/ч), должен прекратить нажимать на педали непосредственно в момент начала проезда устройства измерения времени и нажать на тормоза сразу же после проезда. Велосипед должен плавно и безопасно остановиться.
Тормозной путь измеряют от первой отметки до точки пересечения вертикальной линии, проходящей через отверстие маркировочного устройства, с поверхностью дороги.
Увлажнение тормозной системы начинают не менее чем за 25 м и заканчивают не более чем за 15 м до нажатия на тормоза.
Число испытательных заездов устанавливают следующим образом:
При уклоне испытательной дорожки менее 0,2%:
- пять последовательных достоверных заездов в условиях сухого покрытия;
- два заезда для адаптации в условиях мокрого покрытия (результаты не регистрируют);
- пять последовательных достоверных заездов в условиях мокрого покрытия.
При уклоне дорожки от 0,2% до 0,5%:
- пять последовательных заездов в условиях сухого покрытия;
- два заезда для адаптации с увлажненными тормозами (результаты не регистрируют);
- десять последовательных заездов с увлажненными тормозами.
Каждый последующий заезд проводят в направлении, противоположном предыдущему.
Между заездами допускается пауза не более 3 мин.
8.1.3.7 Достоверность испытательных заездов
Испытательные заезды считают недостоверными при:
- заносе в сторону заднего колеса более 0,2 м от линии, вдоль которой движется переднее колесо;
- потере контроля управления;
- скорости движения велосипедиста в момент начала торможения, отличающейся на +/- 0,4 м/с (+/- 1,4 км/ч) от заданной.
8.1.3.8 Результаты испытаний
Результатом испытаний в условиях, указанных в
8.1.3.6, считают среднеарифметическое значений тормозных путей испытательных заездов.
Значение тормозного пути принимают равным среднему значению тормозных путей не менее пяти достоверных испытательных заездов.
8.1.4 Испытание зависимости силы торможения от усилия, прикладываемого к педали при испытаниях ножного тормоза
Испытание проводят на полностью собранном велосипеде. Эффективность силы торможения ножного тормоза измеряют по касательной к окружности шины заднего колеса при вращении его в направлении движения вперед в момент приложения к педали под прямым углом к шатуну усилия от 90 до 300 Н в направлении торможения.
Определение силы торможения проводят при равномерной тяге и после одного оборота колеса. Должно быть выбрано не менее пяти результатов испытаний с различными значениями усилий, приложенных к педали. Каждый результат определяют как среднеарифметическое значение трех отдельных измерений для одного и того же значения усилия.
По результатам испытаний строят график, показывающий оптимальную прямую и прямые допускаемых предельных отклонений +/- 20%, полученных методом наименьших квадратов, описанным в
приложении В.
8.2 Испытания узла рулевого управления
8.2.1 Испытание стержня руля
8.2.1.1 Испытание на прочность
При испытании к стержню, надежно закрепленному в зажимном приспособлении на наименьшей глубине ввода, в сборе с испытательным валом при помощи испытательного вала прикладывают крутящий момент, значение которого указано в
приложении А для каждого класса и типа велосипеда, в плоскости, параллельной стержню в направлении его оси (рисунок 12).
1 - стержень; 2 - испытательный вал; 3 - центр соединения;
4 - зажимное приспособление; 5 - наименьшая глубина ввода
стержня; 6 - направление приложения усилия
Рисунок 12 - Испытание стержня руля
8.2.1.2 Испытание статической нагрузкой
При испытании статической нагрузкой к стержню руля, надежно закрепленному в зажимном приспособлении на наименьшей глубине ввода, в точке крепления руля прикладывают усилие, значение которого указано в
приложении А для каждого класса и типа велосипеда, в направлении вперед под углом 45° от оси стержня, как изображено на рисунке 13.
1 - наименьшая глубина ввода стержня руля; 2 - зажимное
приспособление; 3 - руль или испытательный вал;
4 - направление приложения усилия
Рисунок 13 - Испытание стержня руля статической нагрузкой
8.2.2 Испытание на прочность соединения узла "руль велосипеда - вынос - стержень руля" и прокручивание велосипедного руля
К стержню в сборе с рулем, надежно закрепленному в зажимном приспособлении на наименьшей глубине ввода, прикладывают усилие, значение которого указано в
приложении А для каждого класса и типа велосипеда, одновременно с обеих сторон руля. Направление и точку приложения усилия выбирают таким образом, чтобы создавался максимальный крутящий момент в месте соединения руля со стержнем. Если эта точка приходится на конец руля, то усилие прикладывают на расстоянии 15 мм от конца (рисунок 14).
1 - зажимное приспособление; 2 - наименьшая глубина ввода
стержня; 3 - направление приложения усилия
Рисунок 14 - Испытание узла "руль велосипеда - вынос -
стержень руля"
8.2.3 Испытание на прочность и прокручивание узла "стержень руля - передняя вилка"
К стержню руля в сборе с испытательным валом, рамой велосипеда и передней вилкой, закрепленной затяжным болтом со стержнем руля с одной стороны и в зажимном приспособлении с другой прикладывают крутящий момент, значение которого указано в
приложении А для каждого класса и типа велосипеда (рисунок 15).
1 - вилка и рама в сборе; 2 - испытательный вал;
3 - затяжной болт; 4 - направление приложения усилия
Рисунок 15 - Испытание узла "стержень руля - передняя вилка"
8.2.4 Испытание надежности крепления ручек и заглушек к рулю велосипеда
При испытании к ручкам и заглушкам прикладывают усилие 70 Н вдоль линий их возможного перемещения.
8.3 Испытание на удар узла "рама - передняя вилка"
8.3.1 Испытание падающей массой
Испытание проводят на раме в сборе с передней вилкой.
Измеряют расстояние между осями колес (базой колес). На передней вилке собирают ролик бочкообразной формы массой не более (1,0 +/- 0,1) кг, а узел "рама - передняя вилка" устанавливают вертикально и закрепляют в жестком зажимном приспособлении с помощью оси крепления заднего колеса (рисунок 16).
1 - ролик; 2 - зажимное приспособление; 3 - груз;
4 - база колес; 5 - остаточная деформация
Рисунок 16 - Испытание падающей массой
Груз, масса которого в зависимости от типа и класса велосипеда указана в
приложении А, сбрасывают вертикально с высоты так, чтобы его удар пришелся по ролику в точке, находящейся на пересечении вертикальной линии, проходящей через центры осей колес велосипеда, и поверхности ролика, в направлении, противоположном наклону передней вилки. Расстояние от нижней точки груза до верхней точки ролика должно быть 0,2 м.
Передняя вилка должна быть зафиксирована относительно рамы в положении, соответствующем прямолинейному движению велосипеда.
8.3.2 Испытание свободным падением узла "рама - передняя вилка"
Испытание проводят на узле "рама - передняя вилка" с закрепленным на вилке роликом, используемым при испытании по
8.3.1.
Испытуемый узел "рама - передняя вилка" устанавливают в месте крепления оси заднего колеса так, чтобы он мог свободно вращаться вокруг нее в вертикальной плоскости. Передняя вилка должна опираться на плоскую стальную плиту так, чтобы обеспечивалось рабочее положение рамы при ее эксплуатации. К испытательному седлодержателю надежно крепят груз массой: 100 кг - при испытании велосипедов для взрослых, 70 кг - велосипедов для подростков и 60 кг - велосипедов для младших школьников. Узел "рама - передняя вилка" поворачивают вокруг оси крепления заднего колеса так, чтобы центр тяжести груза оказался вертикально над задней осью (положение равновесия), после этого ему позволяют упасть, ударившись о плиту (рисунок 17).
1 - груз; 2 - положение центра тяжести груза вертикально
над задней осью перед испытанием; 3 - стальная плита
Рисунок 17 - Испытание свободным падением
узла "рама - передняя вилка"
Передняя вилка должна быть зафиксирована относительно рамы в положении, соответствующем прямолинейному движению велосипеда.
Испытание повторяют два раза.
8.4 Испытание колес статической нагрузкой
8.4.1 К колесу, установленному и закрепленному в положении, указанном на рисунке 18, прикладывают усилие 180 Н в одной точке обода перпендикулярно к плоскости колеса. Усилие прикладывают только один раз в течение 1 мин.
1 - колесо в сборе; 2 - приводная звездочка; 3 - зажимное
приспособление; 4 - место приложения усилия
Рисунок 18 - Испытание колеса статической нагрузкой
8.4.2 К переднему колесу, установленному и закрепленному как указано на рисунке 19, в течение 0,5 мин прикладывают усилие 500 Н, действующее вдоль линии, проходящей через центр оси втулки перпендикулярно к оси колеса в направлении перемещения оси.
Рисунок 19 - Испытание на перемещение оси переднего колеса
относительно передней вилки
8.4.3 К заднему колесу, установленному и закрепленному как указано на рисунке 20, в течение 0,5 мин прикладывают усилие 2000 Н, действующее вдоль линии, проходящей через центр оси колеса перпендикулярно к ней в направлении перемещения оси колеса.
Рисунок 20 - Испытание на перемещение оси заднего колеса
относительно рамы
8.4.4 Шину устанавливают на ободе в соответствии с инструкцией предприятия-изготовителя и накачивают до внутреннего давления, равного 110% значения, рекомендованного для данной шины. Шина должна оставаться на ободе не менее 5 мин.
8.5 Испытание привода
8.5.1 Испытание системы привода статической нагрузкой
8.5.1.1 Испытания проводят на узле, включающем в себя раму, шатуны с педалями, односкоростную или многоскоростную систему привода, узел заднего колеса и, при необходимости, механизм переключения передач. Раму устанавливают так, чтобы она находилась в вертикальном положении, а заднее и переднее колеса опирались на горизонтальную поверхность. Заднее колесо должно быть в неподвижном положении, для этого его закрепляют за обод.
8.5.1.2 При испытании односкоростной системы привода к левому шатуну, находящемуся в переднем горизонтальном положении, в течение 15 с прикладывают направленное вертикально вниз и приложенное к центру педали усилие, значение которого указано в
приложении А для каждого класса и типа велосипеда.
Если система привода или приводные звездочки закреплены так, что шатун поворачивается под нагрузкой до положения более чем на 30° ниже горизонтального, то шатун возвращают в горизонтальное положение и испытание повторяют.
8.5.1.3 После испытания левого шатуна по
8.5.1.2 аналогично испытывают правый шатун, находящийся в переднем горизонтальном положении, прикладывая нагрузку к центру педали.
8.5.1.4 Привод многоскоростной системы переключения передач должен быть отрегулирован: при испытании по
8.5.1.2 - на высшую передачу, при испытании по
8.5.1.3 - на низшую передачу.
8.5.2 Испытание системы переключения передач
8.5.2.1 Проверку переключения передач при многоскоростной системе привода проводит испытатель на роликовом велосипедном стенде.
8.5.2.2 Переключение передач по всему диапазону проводят при прохождении велосипедом дистанции, аналогичной предназначенной для соревнований на велосипедах данного типа (таблица 3).
Таблица 3
Дистанция пробега и время проведения испытаний
Тип велосипеда | Дистанция пробега для дорожных испытаний, км | Время проведения стендовых испытаний, ч |
Спортивный: | | |
для гонок на треке | 100 | 4 |
для гонок на шоссе | 100 | 4 |
МТБ | 150 | 6 |
BMX | 150 | 6 |
для триала | 100 | 4 |
для велокросса | 150 | 6 |
для велоспорта в зале | 100 | 4 |
Транспортный: | | |
для взрослых | 100 | 4 |
для подростков | 70 | 3 |
для младших школьников | 50 | 2,5 |
8.5.3 Динамическое испытание узла "педаль - шатун"
8.5.3.1 Шатуны, прикрепленные к испытательному валу, собирают с педалями. К каждой педали при помощи пружины для уменьшения колебаний нагрузки подвешивают груз массой 25 кг (рисунок 21). Частота вращения вала (100 +/- 5) мин
-1. Общее число оборотов - 1000000. После 500000 оборотов педали должны быть повернуты на 180°, если для них предусмотрены две опорные поверхности.
Примечание - Допускается применять другие методы нагружения педалей, обеспечивающие эквивалентное нагружение.
1 - часть шатуна, соединенная с испытательным валом; 2 -
левая педаль; 3 - зазор для оси педали; 4 - испытательный
вал; 5 - правая педаль; 6 - груз систем
Рисунок 21 - Динамическое испытание узла "педаль - шатун"
8.5.3.2 Велосипед наклоняют на 25° в сторону шатуна, опущенного вертикально вниз. Ни одна деталь педали, установленной в горизонтальном положении, не должна касаться вертикальной опорной поверхности.
8.6 Испытание седла и седлодержателя статической нагрузкой
К седлу, собранному с седлодержателем и рамой и затянутому в подседельном зажиме в соответствии с крутящим моментом затяжки, установленным изготовителем, прикладывают вертикально направленное усилие, значение которого указано в
приложении А для каждого класса и типа велосипеда, в точке, расположенной на расстоянии 0,025 м от переднего или заднего конца седла в зависимости от того, где будет наибольший крутящий момент в замке седла. После прекращения приложения вертикально направленного усилия прикладывают горизонтально направленное усилие, значение которого указано в
приложении А для каждого класса и типа велосипеда в точке, расположенной на расстоянии 0,025 м от переднего или заднего конца седла в зависимости от того, где будет наибольший крутящий момент в подседельном зажиме.
8.7 Испытание велосипеда в сборе на прочность
Испытание велосипеда на прочность проводят на стенде.
Велосипед закрепляют на высоте от 300 до 1000 мм (таблица 4) над горизонтальной поверхностью. К каждой педали или оси педали крепят груз массой от 30 до 50 кг. Кривошипы должны находиться в горизонтальном положении. Велосипед сбрасывают с указанной высоты. После первого сбрасывания кривошипы разворачивают на 180° и проводят повторное сбрасывание.
Таблица 4
Испытание велосипеда на прочность
Тип велосипеда | Высота сброса, м, велосипеда | Масса груза на педали, кг, для класса велосипеда |
для взрослых | для подростков | для младших школьников | для взрослых | для подростков | Для младших школьников |
| | | |
Спортивный: | | | | | | | |
для гонок на треке | 0,5 | 0,3 | X | 35 | 35 | 35 | X |
для гонок на шоссе | 0,5 | 0,3 | X | 35 | 35 | 35 | X |
МТБ | 1,0 | 0,7 | X | 50 | 40 | 40 | X |
BMX | 1,0 | 0,7 | X | 30 | 30 | 30 | X |
для триала | 1,0 | 0,7 | X | 45 | 35 | 35 | X |
для велокросса | 1,0 | 0,7 | X | 40 | 35 | 35 | X |
для велоспорта в зале | 0,5 | 0,3 | X | 35 | 35 | 35 | X |
Транспортный | 0,5 | 0,3 | 0,2 | 35 | 35 | 35 | 25 |
Примечание - Знак "X" означает, что велосипед не может быть отнесен к указанному классу. |
8.8 Испытание цепи на прочность
При испытании один конец цепи закрепляют неподвижно, а ко второму прикладывают нагрузку в соответствии с
6.10. Не допускается разрушение цепи и появление трещин на ее элементах.
8.9.1 Стендовые испытания вала (барабана) и приспособления для закрепления велосипеда с грузом
Валы должны обеспечивать раскрутку обоих колес. Стенд представляет собой два ведущих цилиндрических велосипеда, имитируя движение велосипеда со скоростью 10 км/ч.
По всей длине на поверхности каждого вала закрепляются бруски, расстояние между которыми (длина дуги) должна составлять 1 м. Число брусков определяется диаметром вала.
Размеры брусков:
- ширина 50 мм;
- высота 25 мм.
На углах брусков контактирующих с шинами, должны быть фаски размером 1,2 мм x 45°.
Наезд переднего и заднего колес на бруски должен происходить поочередно через равные промежутки времени. Нагружаемая контролируемая масса при испытании на велосипедах: для взрослых - 100 кг, для подростков - 70 кг, для младших школьников - 60 кг. Время испытаний в зависимости от типа велосипеда указано в
таблице 3.
8.9.2 Дорожные испытания
Дорожные испытания проводят испытатели, специализация которых соответствует типу велосипеда. Дистанция пробега в зависимости от типа велосипеда указана в
таблице 3.
8.9.3 Допускается проводить испытания другими методами, обеспечивающими аналогичные результаты.
8.9.4 Остальные требования к методам испытаний - по документации, утвержденной испытательной лабораторией в установленном порядке.
8.10 Проверка резьбовых соединений
Соответствие требованиям
6.1.3 проверяют после пробега велосипедом для взрослых
классов В и
1 - 100 км,
классов 2 и
3 - 60 км, велосипедом для подростков - 50 км, велосипедом для младших школьников - 25 км.
9. Транспортирование и хранение
Транспортирование и хранение должны обеспечивать сохранность велосипедов.
10. Указания по эксплуатации и гарантии изготовителя
Рекомендации по сборке, эксплуатации и техническому обслуживанию велосипедов, а также гарантийные обязательства изготовителя или продавца должны быть указаны в сопроводительной документации на конкретный велосипед в соответствии с
5.1.1.
(обязательное)
ВОЗДЕЙСТВУЮЩИЕ ФАКТОРЫ ПРИ ИСПЫТАНИЯХ ВЕЛОСИПЕДОВ
Тип велосипеда | Воздействующий фактор | Пункт настоящего стандарта | Значение для класса велосипеда |
| | | |
Спортивный: | | | | | | |
для гонок на треке | Крутящий момент к стержню руля, Н·м | | 150 | 150 | 108 | X |
Вертикальное усилие к седлу, Н | | 1000 | 1000 | 700 | X |
Горизонтальное усилие к седлу, Н | | 400 | 400 | 250 | X |
Усилие под углом 45° от оси стержня, Н | | 2500 | 2500 | 2000 | X |
Крутящий момент к узлу "стержень руля - передняя вилка", Н·м | | 100 | 100 | 50 | X |
Масса груза, падающего на вилку, кг | | 50 | 50 | 30 | X |
Усилие к узлу "руль велосипеда - вынос - стержень руля", Н | | 350 | 350 | 220 | X |
Усилие к рукоятке тормоза, Н | | - | - | - | - |
Вертикальное усилие к педали, Н | | 4500 | 4500 | 3000 | X |
для гонок на шоссе | Крутящий момент к стержню руля, Н·м | | 120 | 120 | 108 | 108 |
Вертикальное усилие к седлу, Н | | 900 | 800 | 700 | 700 |
Горизонтальное усилие к седлу, Н | | 350 | 350 | 250 | 250 |
Усилие под углом 45° от оси стержня, Н | | 2000 | 2000 | 2000 | 2000 |
Крутящий момент к узлу "стержень руля - передняя вилка", Н·м | | 70 | 70 | 50 | 50 |
Масса груза, падающего на вилку, кг | | 35 | 35 | 30 | 30 |
Усилие к узлу "руль велосипеда - вынос - стержень руля", Н | | 320 | 320 | 220 | 220 |
Усилие к рукоятке тормоза, Н | | 600 | 600 | 500 | 450 |
Вертикальное усилие к педали, Н | | 4000 | 4000 | 3000 | 3000 |
МТБ | Крутящий момент к стержню руля, Н·м | | 150 | 150 | 120 | 108 |
Вертикальное усилие к седлу, Н | | 1000 | 1000 | 800 | 700 |
Горизонтальное усилие к седлу, Н | | 350 | 350 | 300 | 250 |
Усилие под углом 45° от оси стержня, Н | | 2500 | 2000 | 2000 | 2000 |
Крутящий момент к узлу "стержень руля - передняя вилка", Н·м | | 100 | 100 | 80 | 70 |
Масса груза, падающего на вилку, кг | | 50 | 50 | 40 | 30 |
Усилие к узлу "руль велосипеда - вынос - стержень руля", Н | | 350 | 350 | 300 | 220 |
Усилие к рукоятке тормоза, Н | | 700 | 700 | 500 | 500 |
Вертикальное усилие к педали, Н | | 4000 | 4000 | 3500 | 3000 |
BMX | Крутящий момент к стержню руля, Н·м | | 120 | 120 | 108 | 108 |
Вертикальное усилие к седлу, Н | | 700 | 700 | 700 | 700 |
Горизонтальное усилие к седлу, Н | | 250 | 250 | 200 | 200 |
Усилие под углом 45° от оси стержня, Н | | 2000 | 2000 | 2000 | 2000 |
Крутящий момент к узлу "стержень руля - передняя вилка", Н·м | | 50 | 50 | 50 | 50 |
Масса груза, падающего на вилку, кг | | 40 | 40 | 30 | 30 |
Усилие к узлу "руль велосипеда - вынос - стержень руля", Н | | 250 | 250 | 200 | 200 |
Усилие к рукоятке тормоза, Н | | 500 | 500 | 450 | 450 |
Вертикальное усилие к педали, Н | | 3000 | 3000 | 3000 | 3000 |
для триала | Крутящий момент к стержню руля, Н·м | | 150 | 150 | 120 | 108 |
Вертикальное усилие к седлу, Н | | 1000 | 1000 | 800 | 700 |
Горизонтальное усилие к седлу, Н | | 350 | 350 | 300 | 250 |
Усилие под углом 45° от оси стержня, Н | | 2500 | 2500 | 2000 | 2000 |
Крутящий момент к узлу "стержень руля - передняя вилка", Н·м | | 100 | 100 | 80 | 70 |
Масса груза, падающего на вилку, кг | | 50 | 50 | 40 | 30 |
Усилие к узлу "руль велосипеда - вынос - стержень руля", Н | | 350 | 350 | 300 | 220 |
Усилие к рукоятке тормоза, Н | | 700 | 700 | 500 | 500 |
Вертикальное усилие к педали, Н | | 4000 | 4000 | 3500 | 3000 |
для велокросса | Крутящий момент к стержню руля, Н·м | | 150 | 150 | 120 | 108 |
Вертикальное усилие к седлу, Н | | 1000 | 1000 | 800 | 700 |
Горизонтальное усилие к седлу, Н | | 350 | 350 | 300 | 200 |
Усилие под углом 45° от оси стержня, Н | | 2500 | 2500 | 2000 | 2000 |
Крутящий момент к узлу "стержень руля - передняя вилка", Н·м | | 100 | 100 | 80 | 50 |
Масса груза, падающего на вилку, кг | | 50 | 50 | 40 | 30 |
Усилие к узлу "руль велосипеда - вынос - стержень руля", Н | | 350 | 350 | 300 | 200 |
Усилие к рукоятке тормоза, Н | | 700 | 700 | 500 | 450 |
Вертикальное усилие к педали, Н | | 4000 | 4000 | 3500 | 3000 |
для велоспорта в зале | Крутящий момент к стержню руля, Н·м | | 120 | 120 | 108 | 108 |
Вертикальное усилие к седлу, Н | | 900 | 800 | 700 | 700 |
Горизонтальное усилие к седлу, Н | | 350 | 350 | 250 | 200 |
Усилие под углом 45° от оси стержня, Н | | 2000 | 2000 | 2000 | 2000 |
Крутящий момент к узлу "стержень руля - передняя вилка", Н·м | | 70 | 70 | 50 | 50 |
Масса груза, падающего на вилку, кг | | 35 | 35 | 30 | 30 |
Усилие к узлу "руль велосипеда - вынос - стержень руля", Н | | 320 | 320 | 220 | 200 |
Усилие к рукоятке тормоза, Н | | 600 | 600 | 500 | 450 |
Вертикальное усилие к педали, Н | | 4000 | 4000 | 3000 | 3000 |
Транспортный: | | | | | | |
для взрослых | Крутящий момент к стержню руля, Н·м | | 120 | 120 | 108 | 108 |
Вертикальное усилие к седлу, Н | | 800 | 800 | 700 | 700 |
Горизонтальное усилие к седлу, Н | | 300 | 300 | 250 | 200 |
Усилие под углом 45° от оси стержня, Н | | 2000 | 2000 | 2000 | 2000 |
Крутящий момент к узлу "стержень руля - передняя вилка", Н·м | | 70 | 70 | 50 | 25 |
Масса груза, падающего на вилку, кг | | 35 | 35 | 30 | 22,5 |
Усилие к узлу "руль велосипеда - вынос - стержень руля", Н | | 320 | 320 | 220 | 200 |
Усилие к рукоятке тормоза, Н | | 600 | 600 | 500 | 450 |
Вертикальное усилие к педали, Н | | 3500 | 3500 | 3000 | 1500 |
для подростков | Крутящий момент к стержню руля, Н·м | | 120 | 120 | 108 | 108 |
Вертикальное усилие к седлу, Н | | 800 | 800 | 700 | 700 |
Горизонтальное усилие к седлу, Н | | 300 | 300 | 250 | 200 |
Усилие под углом 45° от оси стержня, Н | | 2000 | 2000 | 2000 | 2000 |
Крутящий момент к узлу "стержень руля - передняя вилка", Н·м | | 70 | 70 | 50 | 25 |
Масса груза, падающего на вилку, кг | | 35 | 35 | 30 | 22,5 |
Усилие к узлу "руль велосипеда - вынос - стержень руля", Н | | 320 | 320 | 220 | 200 |
Усилие к рукоятке тормоза, Н | | 600 | 600 | 500 | 450 |
Вертикальное усилие к педали, Н | | 3500 | 3500 | 3000 | 1500 |
для младших школьников | Крутящий момент к стержню руля, Н·м | | X | 72 | 65 | 50 |
Вертикальное усилие к седлу, Н | | X | 700 | 600 | 600 |
Горизонтальное усилие к седлу, Н | | X | 200 | 150 | 150 |
Усилие под углом 45° от оси стержня, Н | | X | 2000 | 1200 | 750 |
Крутящий момент к узлу "стержень руля - передняя вилка", Н·м | | X | 50 | 25 | 15 |
Масса груза, падающего на вилку, кг | | X | 30 | 22,5 | 13,5 |
Усилие к узлу "руль велосипеда - вынос - стержень руля", Н | | X | 220 | 200 | 130 |
Усилие к рукоятке тормоза, Н | | X | 450 | 300 | 300 |
Вертикальное усилие к педали, Н | | X | 1500 | 1000 | 60 |
Примечание - Знак "X" означает, что велосипед не может быть отнесен к указанному классу. |
(справочное)
ОПРЕДЕЛЕНИЕ КОЭФФИЦИЕНТА ТРЕНИЯ СЦЕПЛЕНИЯ
Б.1 Способ 1
В зависимости от поверхности покрытия коэффициент трения сцепления велосипедов принимают равным:
0,5 - для мокрого асфальта;
0,7 - для сухого асфальта;
0,8 - для мокрого бетона;
0,9 - для сухого бетона.
Б.2 Способ 2
Коэффициент трения сцепления определяют методом протягивания неподвижно закрепленных колес велосипеда по поверхности покрытия.
Велосипедные колеса закрепляют в устройстве, изображенном на
рисунке Б.1, вертикально и в параллельных друг другу плоскостях. Устройство состоит из трех соединенных между собой вилок, лежащих в одной горизонтальной плоскости. На коронках вилок устанавливают блокирующие колеса механизмы, аналогичные велосипедным тормозам. К переднему колесу прикрепляют динамометр с устройством, позволяющим фиксировать максимальное усилие, развиваемое в процессе испытаний. Усилие прикладывают к динамометру в направлении движения устройства в горизонтальной плоскости. Усилие, прикладываемое к динамометру постепенно увеличивают (не более 0,5 Н/с) от нуля до момента начала скольжения колес по поверхности. Затем воздействие прекращают и по показаниям динамометра определяют и регистрируют усилие, вызвавшее начало перемещения устройства с закрепленными колесами. После этого определяют массу устройства вместе с колесами и рассчитывают коэффициент трения сцепления К
тр по формуле

,
где F - зарегистрированная сила, Н,
m - масса устройства с колесами, кг,
g - ускорение свободного падения, м/с2.
Вид сверху
1 - тормоз; 2 - направление движения; 3 - динамометр;
4 - устройство; 5 - колеса
Рисунок Б.1 - Устройство для определения коэффициента трения
сцепления
Б.3 Способ 3
Коэффициент трения сцепления принимают равным указанному в нормативных документах предприятия - изготовителя шины.
(справочное)
ПОЛУЧЕНИЯ ОПТИМАЛЬНОЙ ПРЯМОЙ И ПРЯМЫХ ДОПУСКАЕМЫХ ПРЕДЕЛЬНЫХ
ОТКЛОНЕНИЙ +/- 20% ПРИ ИСПЫТАНИИ ЗАВИСИМОСТИ СИЛЫ ТОРМОЖЕНИЯ
ОТ УСИЛИЯ, ПРИКЛАДЫВАЕМОГО К ПЕДАЛИ В НОЖНОМ ТОРМОЗЕ
Предполагается, что значения, полученные во время испытания, указанного в
8.1.4, будут совпадать с точками, лежащими на прямой линии.
Приведенный метод наименьших квадратов величин устанавливает критерий для сведения к минимуму неточности и позволяет выбрать прямую, наиболее близкую к оптимальной.
Оптимальная прямая предельно уменьшает сумму квадратов разностей результатов, определенных графически.
Связь между переменными величинами выражается формулой:
y = a + bx,
где x - усилие, прикладываемое к педали;
y - сила торможения;
a и b - постоянные величины, которые необходимо определить.
Для массива значений эту зависимость определяют по формуле:

,
где n - количество опытов.
Берем

.
Следовательно

.
Тогда значение a определяют по формуле

.
Пример - Во время испытания были получены четыре значения усилия, приложенного к педали
x, Н, и четыре значения силы торможения
y, Н, при помощи которых значения

,

,

и

вычисляют следующим образом:
x | y | xy | x2 |
90 | 90 | 8100 | 8100 |
150 | 120 | 18000 | 22500 |
230 | 160 | 36800 | 52900 |
300 | 220 | 66000 | 90000 |
| | | |
| | | |

;

.
Следовательно, оптимальная прямая y соответствует уравнению
y = 30,8 + 0,606x.
Принимаем допускаемые предельные отклонения +/- 20%, тогда

,

.
| | ИС МЕГАНОРМ: примечание. В официальном тексте документа, видимо, допущена опечатка: имеется в виду рисунок В.1, а не С.1. | |
По полученным результатам строят график, пример которого приведен на рисунке С.1.
1 - допускаемое максимальное предельное отклонение плюс 20%;
2 - оптимальная прямая; 3 - допускаемое минимальное
отклонение минус 20%
Рисунок В.1 - График зависимости силы торможения от усилия,
приложенного к педали, выраженный "оптимальной прямой"
и прямыми допускаемых предельных отклонений +/- 20%