Главная // Актуальные документы // ГОСТ (Государственный стандарт)СПРАВКА
Источник публикации
М.: Стандартинформ, 2013
Примечание к документу
Документ включен в
Перечень стандартов, содержащих правила и методы исследований (испытаний) и измерений, в том числе правила отбора образцов, необходимые для применения и исполнения требований технического
регламента Таможенного союза "Технический регламент на соковую продукцию из фруктов и овощей" (ТР ТС 023/2011) и осуществления оценки соответствия объектов технического регулирования (
Решение Комиссии Таможенного союза от 09.12.2011 N 882).
Текст данного документа приведен с учетом
поправки, опубликованной в "ИУС", N 6, 2019.
Документ
введен в действие с 1 июля 2013 года.
Название документа
"ГОСТ 31715-2012. Межгосударственный стандарт. Соки и соковая продукция. Идентификация. Определение стабильных изотопов водорода методом масс-спектрометрии"
(введен в действие Приказом Росстандарта от 29.11.2012 N 1461-ст)
"ГОСТ 31715-2012. Межгосударственный стандарт. Соки и соковая продукция. Идентификация. Определение стабильных изотопов водорода методом масс-спектрометрии"
(введен в действие Приказом Росстандарта от 29.11.2012 N 1461-ст)
агентства по техническому
регулированию и метрологии
от 29 ноября 2012 г. N 1461-ст
МЕЖГОСУДАРСТВЕННЫЙ СТАНДАРТ
СОКИ И СОКОВАЯ ПРОДУКЦИЯ. ИДЕНТИФИКАЦИЯ
ОПРЕДЕЛЕНИЕ СТАБИЛЬНЫХ ИЗОТОПОВ ВОДОРОДА
МЕТОДОМ МАСС-СПЕКТРОМЕТРИИ
Juices and juice products. Identification. Determination
of stable hydrogen isotopes by mass-spectrometry method
ГОСТ 31715-2012
Дата введения
1 июля 2013 года
Цели, основные принципы и основной порядок проведения работ по межгосударственной стандартизации установлены
ГОСТ 1.0-92 "Межгосударственная система стандартизации. Основные положения" и
ГОСТ 1.2-2009 "Межгосударственная система стандартизации. Стандарты межгосударственные, правила и рекомендации по межгосударственной стандартизации. Правила разработки, принятия, применения, обновления и отмены"
1 ПОДГОТОВЛЕН Государственным образовательным учреждением высшего профессионального образования "Московский государственный университет пищевых производств" Министерства образования Российской Федерации (ГОУ ВПО "МГУПП")
2 ВНЕСЕН Федеральным агентством по техническому регулированию и метрологии
3 ПРИНЯТ Межгосударственным советом по стандартизации, метрологии и сертификации (протокол от 1 октября 2012 г. N 51)
За принятие проголосовали:
Краткое наименование страны по МК (ИСО 3166) 004-97 | Код страны по МК (ИСО 3166) 004-97 | Сокращенное наименование национального органа по стандартизации |
Армения | AM | Минэкономразвития Республики Армения |
Беларусь | BY | Госстандарт Республики Беларусь |
Казахстан | KZ | Госстандарт Республики Казахстан |
Кыргызстан | KG | Кыргызстандарт |
Молдова | MD | Молдова-Стандарт |
Российская Федерация | RU | Росстандарт |
Узбекистан | UZ | Узстандарт |
4
Приказом Федерального агентства по техническому регулированию и метрологии от 29 ноября 2012 г. N 1461-ст межгосударственный стандарт ГОСТ 31715-2012 введен в действие в качестве национального стандарта Российской Федерации с 1 июля 2013 г.
5 Настоящий стандарт разработан на основе применения ГОСТ Р 53585-2009
6 ВВЕДЕН ВПЕРВЫЕ
Информация о введении в действие (прекращении действия) настоящего стандарта публикуется в ежемесячно издаваемом указателе "Национальные стандарты".
Информация об изменениях к настоящему стандарту публикуется в ежегодно издаваемом информационном указателе "Национальные стандарты", а текст изменений и поправок - в ежемесячно издаваемом информационном указателе "Национальные стандарты". В случае пересмотра или отмены настоящего стандарта соответствующая информация будет опубликована в ежемесячно издаваемом информационном указателе "Национальные стандарты"
Настоящий стандарт распространяется на соки и соковую продукцию, в том числе для детского питания, и устанавливает применяемый для целей идентификации и определения подлинности продукции метод определения изотопного состава водорода (2H/1H) в водной фазе продуктов с применением масс-спектрометрии стабильных изотопов.
Изотопный состав водорода анализируемого продукта относительно международного стандарта SMOW характеризует величина

, выраженная в промилле.
В настоящем стандарте использованы ссылки на следующие межгосударственные стандарты:
ГОСТ ИСО 5725-1-2003 Точность (правильность и прецизионность) методов и результатов измерений. Часть 1. Основные положения и определения
ГОСТ ИСО 5725-2-2003 Точность (правильность и прецизионность) методов и результатов измерений. Часть 2. Основной метод определения повторяемости и воспроизводимости стандартного метода измерений
ГОСТ ИСО 5725-3-2003 Точность (правильность и прецизионность) методов и результатов измерений. Часть 3. Промежуточные показатели прецизионности стандартного метода измерений
ГОСТ ИСО 5725-4-2003 Точность (правильность и прецизионность) методов и результатов измерений. Часть 4. Основные методы определения правильности стандартного метода измерений
ГОСТ ИСО 5725-5-2003 Точность (правильность и прецизионность) методов и результатов измерений. Часть 5. Альтернативные методы определения прецизионности стандартного метода измерений
ГОСТ ИСО 5725-6-2003 Точность (правильность и прецизионность) методов и результатов измерений. Часть 6. Использование значений точности на практике
ГОСТ 12.1.005-88 Система стандартов безопасности труда. Общие санитарно-гигиенические требования к воздуху рабочей зоны
ГОСТ 12.1.007-76 Система стандартов безопасности труда. Вредные вещества. Классификация и общие требования безопасности
ГОСТ 12.1.010-76 Система стандартов безопасности труда. Взрывобезопасность. Общие требования
ГОСТ 12.1.018-93 Система стандартов безопасности труда. Пожаровзрывобезопасность статического электричества. Общие требования
ГОСТ 12.1.019-79 Система стандартов безопасности труда. Электробезопасность. Общие требования и номенклатура видов защиты
ГОСТ 26313-84 Продукты переработки плодов и овощей. Правила приемки, методы отбора проб
ГОСТ 26671-85 Продукты переработки плодов и овощей, консервы мясные и мясорастительные. Подготовка проб для лабораторных анализов
ГОСТ 29169-91 (ИСО 648-77) Посуда лабораторная стеклянная. Пипетки с одной отметкой
ГОСТ 29227-91 (ИСО 835-181) Посуда лабораторная стеклянная. Пипетки градуированные. Часть 1. Общие требования
Примечание - При пользовании настоящим стандартом целесообразно проверить действие ссылочных стандартов по указателю "Национальные стандарты", составленному по состоянию на 1 января текущего года, и по соответствующим информационным указателям, опубликованным в текущем году. Если ссылочный стандарт заменен (изменен), то при пользовании настоящим стандартом следует руководствоваться заменяющим (измененным) стандартом. Если ссылочный стандарт отменен без замены, то положение, в котором дана ссылка на него, применяется в части, не затрагивающей эту ссылку.
3. Термины, определения, обозначения и сокращения
3.1 В настоящем стандарте применены термины по
[1], а также следующий термин с соответствующим определением:
3.1.1 изотопный состав водорода: Величина

, выраженная в промилле, представляющая собой отклонение от международного стандарта SMOW и характеризующая относительную распространенность изотопов данного элемента, выражаемую обычно в виде отношения распространенных изотопов водорода с атомной массой 2 к редким изотопам водорода с атомной массой 1 (
2H/
1H или D/
1H).
3.2 В настоящем стандарте применены следующие сокращения и обозначения:
промилле

- одна тысячная доля числа или 1/10 процента;
2H/1H - изотопное соотношение (соотношение изотопов водорода с атомными массами 2 и 1 в исследуемой пробе);

- изотопный состав водорода относительно международного стандарта SMOW, в промилле;
IRMS/SIRA - масс-спектрометрия изотопных соотношений/анализ соотношений стабильных изотопов (Isotope Ratio Mass Spectrometry/Stable Isotope Ratio Analysis);
SMOW - международный стандарт изотопного состава среднеокеанической воды (Standard Mean Ocean Water);
SLAP - международный стандарт изотопного состава водорода атмосферных осадков Антарктиды (Standard Light Antarctica Precipitation);
GISP - международный стандарт изотопного состава водорода атмосферных осадков ледяного покрова Гренландии (Greenland Ice Sheet Precipitation);
МАГАТЭ - Международное агентство по атомной энергии (International Atomic Energy Agency);
g - ускорение свободного падения (g = 9,81 м/с2).
Метод основан на определении изотопного состава водорода воды

посредством масс-спектрометрии стабильных изотопов при одновременном измерении масс 2(
1H
2) и 3(
1H
2H) газообразного водорода, полученного путем восстановления воды из анализируемой пробы.
5. Отбор и подготовка проб
6. Средства измерений, вспомогательное оборудование,
посуда, реактивы, материалы, стандартные вещества
и растворы
6.1 Химические реактивы, стандартные вещества и растворы
6.1.1 Водород с объемной долей основного вещества не менее 99,995% в газовом баллоне, снабженном соответствующим редуктором давления.
6.1.2 Вода по стандарту SMOW категории МАГАТЭ <1>.
--------------------------------
<1> "Международное агентство по атомной энергии", Австрия, Вена, P.O. Box 100, Wagramer Strasse 5, A-1400.
6.1.3 Вода по стандарту SLAP категории МАГАТЭ.
6.1.4 Катализатор - цинк металлический по
ГОСТ 3640.
6.2 Средства измерений и оборудование
6.2.1 Масс-спектрометр IRMS/SIRA для анализа стабильных изотопов.
Для проведения анализа может быть использован масс-спектрометр для измерения соотношений стабильных изотопов любой модели и изготовителя аналитического оборудования.
Конструктивные характеристики масс-спектрометра должны обеспечивать получение данных об изотопном составе водорода

в диапазоне природных вариаций

.
Масс-спектрометр IRMS/SIRA включает:
1) двойной коллектор, обеспечивающий одновременное измерение ионов с массами 2 и 3;
2) систему двойного напуска, обеспечивающую ввод стандартного газа - водорода и водорода, полученного из пробы, в масс-спектрометр или специализированные системы подготовки пробы, работающие в потоке газа-носителя гелия, например, элементный анализатор (пиролизатор), газовый хроматограф, прочие универсальные и адаптированные системы, позволяющие проводить количественное выделение воды из анализируемой пробы и дальнейшее восстановление водорода данной воды с последующим вводом образовавшегося водорода в масс-спектрометр IRMS/SIRA через интерфейсные устройства, обеспечивающие независимую подачу анализируемой пробы и стандартного водорода в масс-спектрометр IRMS/SIRA через систему игольчатого натекателя, что позволяет избежать изотопного фракционирования (при применении внутрипоточной системы рекомендуется использовать в определении вторичный стандарт
<2>);
3) электронную систему компенсации для расчета и исключения количества

ионов

, которые образуются в масс-спектрометре в ходе измерения и детектируются вместе с ионами
1H
2H при массе 3. Фактор влияния

ионов должен быть менее 10 млн
-1/нА при его стабильности не хуже, чем 0,03 млн
-1/нА/ч.
--------------------------------
<2> Допускается использование специальных интерфейсных устройств, находящихся в продаже и осуществляющих ввод газообразной двуокиси углерода в масс-спектрометр IRMS/SIRA. Интерфейсные устройства должны обеспечивать соблюдение условий определения и воспроизведения результатов, установленные настоящим стандартом. В качестве устройства для изотопного уравновешивания может быть использовано оборудование "GasBench" (Thermo Scientific), устройство пиролитическое типа "EA/TC", "Flash HT" или "H-Device" (Thermo Scientific). В качестве измерительного оборудования могут быть использованы изотопные IRMS/SIRA-масс-спектрометры модельного ряда "Delta V" (Thermo Scientific). Эта информация приведена для сведения пользователей настоящего стандарта и не означает, что стандарт устанавливает обязательное применение этого оборудования.
6.2.2 Весы с пределом допускаемой абсолютной погрешности однократного взвешивания +/- 0,1 мг.
6.2.3 Пипетки 1-2-1, 1-2-5, 1-2-10 2-го класса точности по
ГОСТ 29169.
6.2.4 Пипетки градуированные 1-2-2-25 по
ГОСТ 29227 или дозаторы пипеточные с аналогичными или изменяемыми объемами доз с относительной погрешностью дозирования +/- 1% или импортные с аналогичными характеристиками.
6.2.5 Дозаторы автоматические или пипетки стеклянные градуированные с подходящим интервалом дозирования и известной точностью дозирования.
6.2.6 Емкости
<1> для анализируемой пробы и воды по SMOW и SLAP из боросиликатного стекла вместимостью 10 см
3, снабженные герметичной укупоркой с вентилем и штуцером для соединения с масс-спектрометром IRMS/SIRA.
Насос вакуумный, обеспечивающий создание в вакуумной емкости по 6.2.6 пониженного давления не более 0,13 Па.
6.2.8 Центрифуга
Центрифуга лабораторная, обеспечивающая ускорение 1400g.
Примечание - Число оборотов ротора a, необходимое для достижения заданного центробежного ускорения, рассчитывают по формуле

(1)
где 11,18 - коэффициент;
r - радиус от центра оси центрифуги до нижней точки стакана для центрифугирования, находящегося в работающей центрифуге (до крайней точки держателя для стакана в угловом роторе), согласно техническому паспорту на оборудование (ротор), см;
n - число оборотов ротора в минуту.
Допускается применение центрифуг с автоматическим определением необходимого числа оборотов ротора в зависимости от заданного центробежного ускорения.
6.2.9 Стаканы для центрифугирования вместимостью 50 см3.
6.2.10 Емкости
<1>,
<2> из специального стекла с повышенной термической стойкостью (до 200 °C) с герметичной укупоркой, снабженной вентилем и штуцером для соединения с вакуумным насосом, для предварительной подготовки цинка.
6.2.11 Емкости
<1>,
<2> из специального стекла с повышенной термической стойкостью (до 500 °C) с герметичной укупоркой, снабженной вентилем и штуцером, для проведения реакции восстановления воды.
6.2.12 Устройство лабораторное
<2>, оснащенное измерителем температуры, для нагрева емкостей по
6.2.10 и 6.2.11 в интервале температур от 150 °C до 500 °C.
6.2.13 Система лабораторная для микродистилляции воды
<2>, конструкция которой соответствует схеме, представленной на
рисунке Б.1 приложения Б.
--------------------------------
<1> В качестве емкостей для пробы и стандартов воды могут быть использованы емкости из боросиликатного стекла марок "Schott Duran", "Arc International", "Pyrex" или "Symax". Эта информация приведена для сведения пользователей настоящего стандарта и не означает, что стандарт устанавливает обязательное применение этого оборудования.
<2> Допускается использование специальных систем, находящихся в продаже, для подготовки проб для определения соотношения стабильных изотопов водорода в продуктах органического происхождения методом IRMS/SIRA-масс-спектрометрии. Для проведения реакции изотопного уравновешивания может быть использовано устройство "GasBench" (Thermo Scientific), устройство пиролитическое типа "EA/TC", "Flash HT" или "H-Device" (Thermo Scientific). Системы подготовки проб должны обеспечивать соблюдение условий определения и воспроизведения результатов, установленные настоящим стандартом. Эта информация приведена для сведения пользователей настоящего стандарта и не означает, что стандарт устанавливает обязательное применение этого оборудования.
6.2.14 Микрошприцы (для дозирования).
Допускается использование других средств измерений с метрологическими характеристиками и лабораторного оборудования с техническими характеристиками, не уступающими перечисленным выше.
7. Проведение определения
7.1 Условия проведения определения
Пробу анализируют два раза в условиях повторяемости в соответствии с требованиями ГОСТ ИСО 5725-1 и ГОСТ ИСО 5725-2.
При подготовке и проведении определения должны быть соблюдены следующие условия:
- температура окружающей среды от 10 °C до 25 °C включ.;
- относительная влажность воздуха от 40% до 70% включ.
7.2 Подготовка катализатора
В химический стакан вместимостью 25 см
3 вносят около 0,3 г цинка. Цинк в химическом стакане промывают 10 см
3 концентрированной азотной или соляной кислоты, затем дистиллированной водой. Воду сливают, цинк осторожно высушивают и переносят в емкость по
6.2.10 для дегазации. Емкость герметично закрывают, помещают в устройство для нагрева по
6.2.12. Штуцер емкости соединяют с вакуумным насосом. Емкость с цинком нагревают до температуры 180 °C, включают вакуумный насос и проводят дегазацию в течение 30 - 40 мин при установленной температуре
[2].
7.3 Предварительная обработка анализируемой пробы
25 см3 сока или соковой продукции (нектар, сокосодержащий напиток, морс, мякоть, клетки, ароматобразующее вещество) вносят с помощью автоматического дозатора или стеклянной пипетки в стакан для центрифугирования. В случае концентрированной соковой продукции (концентрированный сок, концентрированное пюре, концентрированный морс, концентрированные ароматобразующие вещества) 25 г пробы взвешивают на лабораторных весах в стакане для центрифугирования. В лабораторной центрифуге проводят центрифугирование пробы в течение 10 мин при ускорении 1400g.
Надосадочную жидкость используют в дальнейшем определении.
7.4 Микродистилляция воды из пробы
| | ИС МЕГАНОРМ: примечание. В официальном тексте документа, видимо, допущена опечатка: пункт 6.3.10 отсутствует. Возможно, имеется в виду пункт 6.2.10. | |
Микродистилляцию проводят для отделения воды анализируемой пробы от содержащихся в ней органических соединений (сахаров, кислот, жиров). Микродистилляция является важным и неотъемлемым этапом определения. При восстановлении воды из необработанной анализируемой пробы в реакции с цинком образуется водород с иным содержанием дейтерия, что приводит к недостоверным результатам. Для количественного учета выделенной воды из анализируемой пробы микродистилляцию проводят в лабораторной системе по
6.3.10, конструкция которой соответствует схеме, приведенной на
рисунке Б.1 приложения Б. Система через вентили II и III соединена с вакуумным насосом и емкостью для восстановления воды по
6.2.11.
Перед началом микродистилляции закрывают вентили I и III, затем в лабораторной системе с помощью вакуумного насоса создают пониженное давление около 0,13 Па, после чего закрывают вентиль II. Реактор системы, заполненный кварцевым волокном и находящийся перед вентилем I, нагревают до температуры около 100 °C. После достижения заданной температуры в реактор через мембранную перегородку 2 с помощью микрошприца вводят 10 мкл надосадочной жидкости, полученной по
7.3. Выдерживают систему в течение 5 - 8 мин для охлаждения анализируемой пробы до температуры не выше минус 78 °C и сбора воды в ловушке 5. После охлаждения открывают вентиль II для удаления из системы остаточных газов. Открывают вентиль III и последовательно закрывают вентили II и I. Удаляют из системы емкость 6 для охлаждения ловушки, заменяя ее на водяную баню для нагрева ловушки до температуры около 100 °C. Вода, которая испаряется из ловушки 5, поступает через открытый вентиль III в емкость для восстановления 11 (см.
6.2.11). Процесс испарения воды из ловушки 5 продолжают в течение 10 мин. После завершения микродистилляции закрывают вентиль III и отсоединяют емкость для восстановления воды от системы.
7.5 Восстановление воды из анализируемой пробы
Емкость по
6.2.11 с подготовленным по
7.2 катализатором - цинком и водой, полученной в результате микродистилляции по
7.4, помещают в устройство по
6.2.12 и нагревают до температуры 450 °C - 455 °C. Восстановление проводят в течение 30 - 60 мин при указанной температуре. Образующийся водород собирают в емкости по
6.2.6, соединенной с емкостью для восстановления. После завершения процесса закрывают вентиль емкости по
6.2.6, отсоединяют ее от емкости для восстановления и соединяют с системой напуска масс-спектрометра IRMS/SIRA.
7.6 Определение соотношения изотопов
Определение соотношения изотопов
2H/
1H в водороде, полученном по
7.3 -
7.5, проводят на масс-спектрометре IRMS/SIRA с использованием стандартного газа - водорода. Полученные данные представляют в виде величины изотопного состава водорода

. При необходимости изотопный состав водорода рассчитывают по разделу 8.
7.7 Калибровка
Калибровку с применением газообразного водорода, используемого в качестве стандартного газа, проводят по стандартам воды SMOW и SLAP. Определение соотношения изотопов, выражаемых величинами

и

, проводят по
7.4 -
7.6.
8. Обработка результатов измерений
8.1 Расчет изотопного состава водорода проводят с применением воды по SMOW и SLAP. Расчет изотопного состава водорода

,

, в анализируемой пробе с учетом стандарта SMOW проводят по формуле

(2)
где

- изотопный состав водорода пробы

;

- изотопный состав водорода по стандарту SMOW

;

- изотопный состав водорода по стандарту SLAP

.
Установленная величина

в воде по стандарту SLAP составляет минус

SMOW
[3].
8.2 Результаты определения изотопного состава водорода

применяют в соответствии с требованиями, действующими на территории государства, принявшего стандарт, и при подтверждении соответствия, в том числе при идентификации, установлении подлинности соков и соковой продукции.
9. Метрологические характеристики метода
Основные метрологические характеристики метода приведены в
приложении А.
9.1 Предел повторяемости (сходимости)
Абсолютное расхождение между двумя отдельными результатами, полученными одним сотрудником для одной и той же пробы и на одном и том же оборудовании за наименьший интервал времени, не должно превышать предел повторяемости (сходимости) r более чем в 5% случаев.
Установленные значения предела повторяемости (сходимости) составляют:
- для апельсинового сока

;
- яблочного сока

;
- воды по GISP

;
- лабораторной воды

.
9.2 Предел воспроизводимости
Абсолютное расхождение между двумя отдельными результатами, полученными в двух разных лабораториях для одной и той же пробы, не должно превышать предел воспроизводимости R более чем в 5% случаев.
Установленные значения предела воспроизводимости составляют:
- для апельсинового сока

;
- яблочного сока

;
- воды по GISP

;
- лабораторной воды

.
9.3 Прецизионность метода
Под прецизионностью метода понимают характеристику измерения, отражающую степень близости его результатов к истинному значению измеряемой величины.
Количественной мерой прецизионности служит величина стандартного отклонения повторяемости (сходимости) для n = 10, где n - число измерений одной пробы стандартного газа - водорода по
6.1.1.
Стандартное отклонение sr рассчитывают по формуле

(3)
где n - число измерений;
y1, y2, ... yn - результаты измерений;

- среднеарифметическое результатов измерений.
Среднеарифметическое значение результатов измерений

рассчитывают по формуле

(4)
9.4 Контроль стабильности результатов измерений при реализации методики в лаборатории
Контроль стабильности результатов измерений в лаборатории осуществляют в соответствии с требованиями ГОСТ ИСО 5725-6, используя метод контроля стабильности стандартного отклонения промежуточной прецизионности по ГОСТ ИСО 5725-6 с применением контрольных карт Шухарта. Периодичность контроля и процедуры контроля стабильности результатов измерений должны быть предусмотрены в руководстве по качеству лаборатории в соответствии с
ГОСТ ИСО/МЭК 17025 и требованиями, действующими на территории государства, принявшего стандарт.
10. Требования безопасности
При работе на масс-спектрометре IRMS/SIRA следует соблюдать:
- правила эксплуатации устройства и безопасной эксплуатации сосудов, работающих под давлением в соответствии с требованиями, действующими на территории государства, принявшего стандарт;
При работе с чистыми веществами следует соблюдать требования безопасности, установленные для работы с токсичными, едкими и легковоспламеняющимися веществами по
ГОСТ 12.1.007. Контроль за содержанием вредных веществ в воздухе рабочей зоны следует проводить в соответствии с требованиями
ГОСТ 12.1.005.
К работе на масс-спектрометре IRMS/SIRA допускаются лица, имеющие квалификацию не ниже техника, владеющие техникой масс-спектрометрического анализа и изучившие инструкцию по эксплуатации используемой аппаратуры.
Требования к безопасности распространяются на средства измерения, применяемые для целей настоящего стандарта, с метрологическими характеристиками, не уступающими перечисленным в
разделе 6.
В протоколе испытаний приводят:
- ссылку на настоящий метод;
- вид, происхождение и название пробы;
- способ и дату отбора пробы;
- дату поступления и анализа пробы;
- результаты определения;
- причины отклонений в процедуре определения от установленных условий (при наличии).
(справочное)
РЕЗУЛЬТАТЫ ЭКСПЕРИМЕНТА ПО ОЦЕНКЕ ТОЧНОСТИ МЕТОДА
ОПРЕДЕЛЕНИЯ ИЗОТОПНОГО СОСТАВА ВОДОРОДА

<1>
--------------------------------
<1> Результаты, представленные в таблице А.1, получены в рамках эксперимента по оценке точности, проведенного в 1993 г. на четырех пробах в 12 лабораториях под руководством Рабочей группы N 1 Технического комитета по стандартизации ТК 174 Европейского комитета по стандартизации CEN согласно ГОСТ ИСО 5725-1 - ГОСТ ИСО 5725-6.
Таблица А.1
Результаты эксперимента по оценке точности метода
определения изотопного состава водорода

Наименование показателя | Проба |
Апельсиновый сок | Яблочный сок | Вода по GISP | Лабораторная вода |
Количество лабораторий, исключенных из эксперимента по оценке точности после его завершения | 0 | 0 | 0 | 0 |
Количество лабораторий, оставшихся в эксперименте по оценке точности после его завершения | 12 | 12 | 10 | 12 |
Количество подтвержденных результатов | 35 | 36 | 30 | 36 |
Среднеарифметическое значение  ,  | 2,53 | -26,22 | -189,88 | -46,13 |
Стандартное отклонение повторяемости (сходимости) s r,  | 1,30 | 1,40 | 1,23 | 1,13 |
Относительное стандартное отклонение повторяемости (сходимости) RSDr, % | 51,47 | 5,33 | 0,12 | 1,92 |
Предел повторяемости (сходимости) r,  | 3,69 | 3,95 | 3,47 | 3,21 |
Стандартное отклонение воспроизводимости S R,  | 2,53 | 2,85 | 2,12 | 1,89 |
Относительное стандартное отклонение воспроизводимости | 100 | 10,9 | 1,12 | 4,10 |
Предел воспроизводимости R,  | 8,06 | 8,98 | 6,94 | 6,24 |
Примечание - Не выявлено зависимости между величинами r, R и  . |
(справочное)
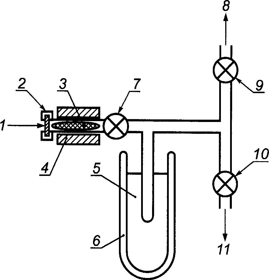
СХЕМА
МИКРОДИСТИЛЛЯЦИИ ВОДЫ ИЗ ПРОБЫ
Б.1 Лабораторная система для микродистилляции воды из пробы соков и соковой продукции приведена на рисунке Б.1.
1 - инъекция пробы; 2 - мембранная перегородка;
3 - наполнитель из кварцевого волокна; 4 - нагревательная
рубашка (электронагрев или нагрев горячей водой
до температуры около 100 °C); 5 - ловушка для воды;
6 - емкость с твердой двуокисью углерода для охлаждения
ловушки 5; 7 - вентиль I; 8 - к вакуумному насосу
(см.
6.2.7); 9 - вентиль II; 10 - вентиль III;
11 - к емкости для восстановления воды (см.
6.2.11)
| Свод правил для оценки качества фруктовых и овощных соков Ассоциации промышленности соков и нектаров из фруктов и овощей Европейского союза (Свод правил AIJN) (издание на русском языке). - М.: Нововита. - 2004 |
| M.L. Coleman, T.J. Shepherd, J.J. Durham, J.E. Rouse, G.R. Moore "Reduction of water with zinc for hydrogen isotope analysis"//Analytical chemistry. - 1982. - N 54. - p. 993 - 995. |
| R. Confianti "Standards for stable isotope measurements in natural compounds"//Nature. - 1978. - N 271. - p. 534 - 536. |