Главная // Актуальные документы // ГОСТ (Государственный стандарт)
СПРАВКА
Источник публикации
М.: Стандартинформ, 2013
Примечание к документу
Документ включен в Перечень международных и региональных (межгосударственных) стандартов, а в случае их отсутствия - национальных (государственных) стандартов, содержащих правила и методы исследований (испытаний) и измерений, в том числе правила отбора образцов, необходимые для применения и исполнения требований технического регламента Евразийского экономического союза "О безопасности мяса птицы и продукции его переработки" (ТР ЕАЭС 051/2021) и осуществления оценки соответствия объектов технического регулирования (Решение Коллегии Евразийской экономической комиссии от 29.11.2022 N 188).

Документ включен в Перечень международных и региональных (межгосударственных) стандартов, а в случае их отсутствия - национальных (государственных) стандартов, содержащих правила и методы исследований (испытаний) и измерений, в том числе правила отбора образцов, необходимые для применения и исполнения требований технического регламента Евразийского экономического союза "О безопасности рыбы и рыбной продукции" (ТР ЕАЭС 040/2016) и осуществления оценки соответствия объектов технического регулирования (Решение Коллегии Евразийской экономической комиссии от 19.07.2022 N 107).

Документ включен в Перечень международных и региональных (межгосударственных) стандартов (п. п. 258, 521, 665), а в случае их отсутствия - национальных (государственных) стандартов, содержащих правила и методы исследований (испытаний) и измерений, в том числе правила отбора образцов, необходимые для применения и исполнения требований технического регламента Евразийского экономического союза "О безопасности алкогольной продукции" (ТР ЕАЭС 047/2018) и осуществления оценки соответствия объектов технического регулирования (Решение Коллегии Евразийской экономической комиссии от 17.05.2022 N 80).

Документ введен в действие с 1 июля 2013 года.
Название документа
"ГОСТ 31671-2012 (EN 13805:2002). Межгосударственный стандарт. Продукты пищевые. Определение следовых элементов. Подготовка проб методом минерализации при повышенном давлении"
(введен в действие Приказом Росстандарта от 29.11.2012 N 1763-ст)

"ГОСТ 31671-2012 (EN 13805:2002). Межгосударственный стандарт. Продукты пищевые. Определение следовых элементов. Подготовка проб методом минерализации при повышенном давлении"
(введен в действие Приказом Росстандарта от 29.11.2012 N 1763-ст)


Содержание


Введен в действие
Приказом Федерального агентства
по техническому регулированию
и метрологии
от 29 ноября 2012 г. N 1763-ст
МЕЖГОСУДАРСТВЕННЫЙ СТАНДАРТ
ПРОДУКТЫ ПИЩЕВЫЕ
ОПРЕДЕЛЕНИЕ СЛЕДОВЫХ ЭЛЕМЕНТОВ
ПОДГОТОВКА ПРОБ МЕТОДОМ МИНЕРАЛИЗАЦИИ ПРИ ПОВЫШЕННОМ
ДАВЛЕНИИ
Foodstuffs. Determination of trace elements. Preparation
of samples by pressure digestion
(EN 13805:2002, MOD)
ГОСТ 31671-2012
(EN 13805:2002)
МКС 67.050
Дата введения
1 июля 2013 года
Предисловие
Цели, основные принципы и основной порядок проведения работ по межгосударственной стандартизации установлены ГОСТ 1.0-92 "Межгосударственная система стандартизации. Основные положения" и ГОСТ 1.2-2009 "Межгосударственная система стандартизации. Стандарты межгосударственные, правила и рекомендации по межгосударственной стандартизации. Правила разработки, принятия, применения, обновления и отмены".
Сведения о стандарте
1. Подготовлен Государственным научным учреждением "Всероссийский научно-исследовательский институт консервной и овощесушильной промышленности" (ГНУ "ВНИИКОП") на основе собственного аутентичного перевода стандарта, указанного в пункте 4.
2. Внесен Федеральным агентством по техническому регулированию и метрологии (ТК 335).
3. Принят Межгосударственным советом по стандартизации, метрологии и сертификации (Протокол N 51 от 1 октября 2012 г.).
За принятие проголосовали:
Краткое наименование страны по МК (ИСО 3166) 004-97
Код страны по МК (ИСО 3166) 004-97
Сокращенное наименование национального органа по стандартизации
Армения
AM
Минэкономики Республики Армения
Беларусь
BY
Госстандарт Республики Беларусь
Кыргызстан
KG
Кыргызстандарт
Российская Федерация
RU
Росстандарт
Узбекистан
UZ
Узстандарт
4. Приказом Федерального агентства по техническому регулированию и метрологии от 29 ноября 2012 г. N 1763-ст межгосударственный стандарт ГОСТ 31671-2012 введен в действие в качестве национального стандарта РФ с 1 июля 2013 г.
5. Настоящий стандарт является модифицированным по отношению к европейскому региональному стандарту EN 13805:2002 "Foodstuffs - Determination of trace elements - Pressure digestion" ("Продукты пищевые. Определение следовых элементов. Подготовка проб методом минерализации при повышенном давлении"). При этом в него не включен первый абзац раздела 2 примененного регионального стандарта, содержание которого нецелесообразно использовать в государственной стандартизации, поскольку данный элемент имеет поясняющий характер. Указанный структурный элемент, не включенный в основную часть настоящего стандарта, приведен в дополнительном Приложении ДА.
Степень соответствия - модифицированная (MOD).
Стандарт подготовлен на основе применения ГОСТ Р 53150-2008.
6. Введен впервые.
Информация о введении в действие (прекращении действия) настоящего стандарта публикуется в указателе "Национальные стандарты".
Информация об изменениях к настоящему стандарту публикуется в указателе "Национальные стандарты", а текст изменений - в информационных указателях "Национальные стандарты". В случае пересмотра или отмены настоящего стандарта соответствующая информация будет опубликована в информационном указателе "Национальные стандарты".
1. ОБЛАСТЬ ПРИМЕНЕНИЯ
Настоящий стандарт устанавливает метод кислотной минерализации проб пищевых продуктов при повышенном давлении, предназначенный для использования при определении следовых элементов. Метод прошел межлабораторные испытания в комбинации с методами атомно-абсорбционной спектрометрии (пламенной, электротермической, с генерацией гидридов и холодного пара), масс-спектрометрии индуктивно-связанной плазмы, оптической эмиссионной спектроскопии индуктивно-связанной плазмы и вольтамперометрии и может быть использован в комбинации со стандартами на методы определения, ссылающимися на него.
2. СУЩНОСТЬ МЕТОДА
Кислотная минерализация при повышенном давлении является физико-химическим методом получения раствора следовых элементов пробы, используемым при подготовке пробы к определению этих элементов в соответствии со стандартизованными методиками, ссылающимися на данный метод и аттестованными в комбинации с ним.
Пробу гомогенизируют с помощью оборудования, гарантирующего незначительную степень контаминации определяемыми элементами, затем минерализуют при высоких температуре и давлении с использованием обычного или микроволнового способа нагрева в герметичном сосуде, помещенном в контейнер, выдерживающий высокое давление [1], [2], [3], [4].
3. РЕАКТИВЫ
3.1. Общие положения
Концентрация определяемых элементов в используемых реактивах и воде должна быть настолько мала, чтобы не оказывать влияния на результаты испытаний.
ИС МЕГАНОРМ: примечание.
В официальном тексте документа, видимо, допущена опечатка: пункт 5.5 в тексте документа отсутствует. Возможно, имеется в виду пункт 4.5.
3.2. Кислота азотная концентрированная (водный раствор массовой долей не менее 65%, плотностью около 1,4 г/см3). При неудовлетворительной чистоте азотную кислоту необходимо подвергнуть очистке в аппарате для перегонки жидкостей по 5.5.
3.3. Кислота азотная, водный раствор. Готовят смешиванием азотной кислоты по 3.2 с водой в объемном отношении 1:9.
3.4. Кислота соляная концентрированная (водный раствор массовой долей не менее 30%, плотностью около 1,15 г/см3).
3.5. Перекись водорода концентрированная (водный раствор массовой долей не менее 30%).
4. ПРИБОРЫ И ОБОРУДОВАНИЕ
4.1. Общие положения
Для снижения контаминации все оборудование и элементы приборов, непосредственно контактирующие с пробой, тщательно обрабатывают азотной кислотой по 3.3, затем промывают водой. Для подготовки к работе стеклянных сосудов и колб рекомендуется использовать аппарат для обработки парами кислот (см. 4.6).
4.2. Аппарат для минерализации под давлением в комплекте с устойчивыми к высокому давлению контейнерами из кислотостойкого материала, тестированными на безопасность, снабженными сосудами для проб, изготовленными из кислотостойкого материала, гарантирующего незначительную степень контаминации.
Вместо сосудов из политетрафторэтилена предпочтительнее использовать градуированные кварцевые сосуды или сосуды из перфторэтиленпропилена или перфторалкоксиполимера. Кварцевые сосуды рекомендуется использовать при определении ртути и при температурах минерализации выше 230 °C.
4.3. Нагревательное устройство с контролем температуры (например, нагревательный блок или микроволновая печь).
4.4. Ультразвуковая баня.
4.5. Аппарат для перегонки жидкостей, изготовленный из кварцевого стекла или высокочистых фторполимеров (см. рисунок А.1, Приложение А).
4.6. Аппарат для обработки химической посуды парами кислот (см. рисунок А.2, Приложение А).
5. ОТБОР ПРОБ
Отбор проб - согласно [5].
6. ПРОЦЕДУРА МИНЕРАЛИЗАЦИИ
6.1. Общие положения
На каждом этапе следует принимать меры для обеспечения минимально возможной степени контаминации.
ПРЕДУПРЕЖДЕНИЕ!
Применение настоящего стандарта влечет за собой использование опасных веществ, материалов, процедур и оборудования. В задачи стандарта не входит решение проблем, связанных с обеспечением безопасности при его применении. Ответственность за принятие надлежащих мер предосторожности и соблюдение правил техники безопасности лежит на пользователе настоящего стандарта.
Следует иметь в виду, что при кислотной минерализации материалов с высоким содержанием углерода (например, углеводов, жиров и пр.) существует опасность взрыва.
Перед началом работы с аппаратом для минерализации под давлением следует внимательно ознакомиться с инструкциями по его эксплуатации и технике безопасности. Особое внимание следует обратить на риск отравления персонала лаборатории окислами азота.
Детальное описание процедуры минерализации должно быть доступно в лаборатории в форме рабочей инструкции.
6.2. Подготовка проб
При подготовке пробы следует всеми возможными мерами предотвращать ее контаминацию определяемыми элементами. Например, при подготовке проб для определения хрома и никеля нельзя использовать ножи из нержавеющей стали. Подробное описание способов подготовки проб содержится в [5].
6.3. Условия кислотной минерализации под давлением
6.3.1. Требования к массе навески пробы и объему кислоты для минерализации
Массу навески пробы подбирают, исходя из вместимости сосуда для минерализации, строго соблюдая инструкции производителя по обеспечению безопасности.
Например, в сосуд вместимостью 70 см3 в большинстве случаев можно поместить для минерализации до 400 мг сухой пробы или до 4 см3 жидкой пробы, эквивалентных 200 мг углерода [6]. При меньшем содержании углерода допустимо использовать навеску пробы большей массы. Объем кислоты, необходимый для минерализации, зависит от природы материала пробы. Как правило, для минерализации пробы в указанных выше количествах достаточно 3 см3 концентрированной азотной кислоты. При минерализации чистых жиров может возникнуть необходимость использовать навеску пробы меньшей массы и порцию кислоты большего объема. Для предотвращения цементирования материала пробы на стенках сосуда и достижения полного смешивания пробы с кислотой добавляют от 0,5 до 1 см3 перекиси водорода.
Примечание. При определении железа в сосуд с навеской пробы дополнительно вносят 0,5 см3 соляной кислоты по 3.4 для предотвращения потерь вследствие адсорбции на стенках сосуда.
6.3.2. Требования к температуре минерализации
Температуру, необходимую для достижения полной минерализации, определяют опытным путем, исходя из результатов анализов следовых элементов используемым методом. Например, применение более высокой температуры приводит к уменьшению остаточного содержания углерода в минерализате. Вследствие этого снижается фон при анализе методами электротермической атомно-абсорбционной спектрометрии и атомно-эмиссионной спектроскопии индуктивно-связанной плазмы, уменьшаются матричные эффекты при определении хрома с помощью масс-спектрометрии индуктивно-связанной плазмы [7] и устраняются помехи при вольт-амперных измерениях.
В начале минерализации рекомендуется плавное повышение температуры.
Примечание. Общей закономерностью является улучшение качества минерализации с повышением температуры [8], [9]. При определении мышьяка с помощью атомно-абсорбционной спектрометрии с генерацией гидридов минерализацию необходимо проводить при температуре 320 °C, если имеется вероятность присутствия в пробе органических веществ, содержащих мышьяк [10].
6.3.3. Продолжительность минерализации
Рекомендуемая продолжительность минерализации гомогенизированной пробы - около 3 ч. Продолжительность минерализации в микроволновых устройствах - от 15 до 30 мин. Продолжительность минерализации при высокой температуре можно сократить, если предварительно выдержать сосуд с навеской пробы и добавленной кислотой при комнатной температуре более длительное время, например, в течение ночи.
6.3.4. Охлаждение
Для снижения давления внутри сосуда для минерализации его охлаждают в закрытом состоянии до температуры, близкой к комнатной.
6.3.5. Подготовка раствора пробы
Охлажденный сосуд с минерализованной пробой помещают в вытяжной шкаф, открывают и выдерживают до прекращения видимого выделения коричневого дыма. Настоятельно рекомендуется дегазировать минерализат с помощью ультразвуковой бани.
Минерализат должен быть прозрачным, а его объем должен быть примерно таким же, как до минерализации. При заметном уменьшении объема минерализата, свидетельствующем о разгерметизации контейнера, минерализацию следует повторить.
Минерализат разбавляют водой до нужного объема, полученный таким образом раствор пробы переносят в сосуд из кварцевого стекла (настоятельно рекомендуется при определении ртути), перфторэтиленпропилена или перфторалкоксиполимера.
6.3.6. Приготовление раствора холостой пробы
Для контроля над контаминацией проводят всю процедуру минерализации (с 6.3.1 по 6.3.5) с холостой пробой, состоящей из того же объема кислоты и воды объемом до 4 см3 (в зависимости от массы навески пробы продукта).
6.3.7. Приготовление растворов контрольных проб
Для контроля качества результатов анализа при испытании каждой серии образцов проводят анализ контрольной пробы с известным содержанием определяемого элемента, включающий все стадии, начиная с минерализации.
6.3.8. Примеры микроволновой минерализации
При использовании сосудов для минерализации объемом от 70 до 100 см3 к навеске мяса массой от 1 до 2 г или свежего салата-латука массой 3 г добавляют 3 см азотной кислоты и 0,5 см3 перекиси водорода, после чего сосуд с пробой и его контейнер надлежащим способом герметизируют. Минерализацию начинают при малой мощности микроволнового излучения, постепенно увеличивая ее до максимального значения. Например, за первые 5 мин увеличивают мощность со 100 до 600 Вт, в течение следующих 5 мин поддерживают достигнутое значение постоянным, далее увеличивают мощность до 1000 Вт и поддерживают это значение постоянным в течение следующих 10 мин, после чего сосуды охлаждают не менее 20 - 25 мин.
6.3.9. Пример минерализации при повышенном давлении с использованием обычного способа нагрева
При использовании сосуда для минерализации объемом 70 см3 к навеске мяса массой от 1 до 2 г или свежего салата-латука массой 3 г добавляют 3 см3 азотной кислоты. Далее сосуд с пробой и его контейнер надлежащим способом герметизируют и нагревают от комнатной температуры до 150 °C за 60 мин, затем до 300 °C за 40 мин, выдерживают при этой температуре 90 мин, после чего сосуд охлаждают.
Приложение А
(справочное)
СХЕМЫ АППАРАТОВ
А.1. Схемы аппаратов приведены на рисунках А.1, А.2.
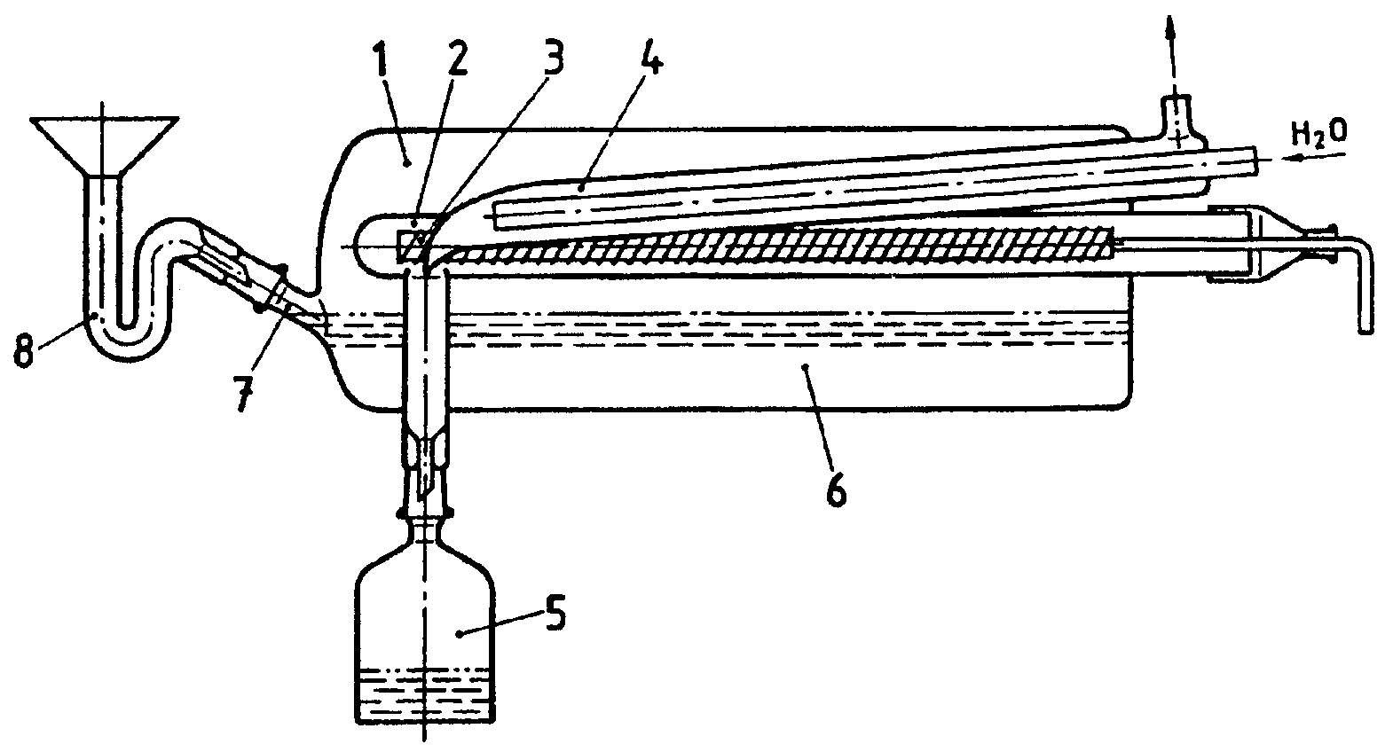
1 - дистилляционная камера; 2 - кварцевая стеклянная трубка; 3 - нагревательный элемент; 4 - холодильник типа "холодный палец"; 5 - бутыль-приемник очищенной кислоты; 6 - кислота для перегонки; 7 - соединительный патрубок; 8 - воронка для залива кислоты
Рисунок А.1. Аппарат из кварцевого стекла для перегонки
1 - нагреватель; 2 - азотная кислота; 3 - круглодонная колба; 4 - сифон; 5 - паровая камера; 6 - обратный холодильник
Рисунок А.2. Аппарат для обработки химической посуды
парами кислот
Приложение ДА
(справочное)
ЭЛЕМЕНТЫ СТАНДАРТА EN 13805:2002, НЕ ВКЛЮЧЕННЫЕ В ОСНОВНУЮ
ЧАСТЬ НАСТОЯЩЕГО СТАНДАРТА
ДА.1. Элементы стандарта EN 13805:2002, не включенные в основную часть настоящего стандарта, приведены в таблице ДА.1.
Таблица ДА.1
Исключенный элемент стандарта EN 13805:2002
Текст исключенного элемента
Раздел 2, абзац 1
Приведенные в данном разделе нормативные документы являются обязательными для применения настоящего стандарта. Датированные ссылки предполагают допустимость использования документа только соответствующей даты издания. Недатированные ссылки предполагают использование последнего издания документа, включая все изменения
БИБЛИОГРАФИЯ
[1] Knapp G., Fresenius Z. Anal Chem., 1984, 317, 213 - 219
[2] Wuertels M., Jackwert E., Fresenius Z. Anal Chem., 1985, 322,
354 - 358
[3] Erickson B. Anal Chem., 1988, 70, 467A - 471A
[4] Hoffmann J., Fresenius Z. Anal Chem., 1986, 325, 297
[5] ЕН 13804:2002 Продукты пищевые. Определение следовых элементов.
Требования к методам, общие положения и методы подготовки проб
[6] Wuertels M., Jackwert E., Stoeppler M., Fresenius Z. Anal Chem.,
1987, 329, 459 - 461
[7] Fecher P., Leibenzeder M., Zizek C.; pp. 83 - 90 "Applicatoins of
Plasma Source Mass Spectrometry II"; Ed. Holland G., Eaton A.E.;
Royal Society of Chemistry, Cambridge, 1993
[8] Stoeppler M.: Sampling and Sample Preparation, Springer-Verlag
Berlin, Heidelberg, New York, 1997
[9] Matter L.: Elementspurenanalytik in biologischen Matrices;
Spectrum Verlag Heidelberg, 1997
[10] Fecher P., Ruhnke G.: Atomic Spectroscopy, 1998: 19(6), 204 - 207