Главная // Актуальные документы // ГОСТ (Государственный стандарт)СПРАВКА
Источник публикации
М.: Стандартинформ, 2013
Примечание к документу
Документ
введен в действие с 1 января 2015 года.
Название документа
"ГОСТ 31580.3-2012 (ISO 11979-3:1999). Межгосударственный стандарт. Имплантаты офтальмологические. Интраокулярные линзы. Часть 3. Механические свойства и методы испытаний"
(введен в действие Приказом Росстандарта от 01.11.2012 N 646-ст)
"ГОСТ 31580.3-2012 (ISO 11979-3:1999). Межгосударственный стандарт. Имплантаты офтальмологические. Интраокулярные линзы. Часть 3. Механические свойства и методы испытаний"
(введен в действие Приказом Росстандарта от 01.11.2012 N 646-ст)
агентства по техническому
регулированию и метрологии
от 1 ноября 2012 г. N 646-ст
МЕЖГОСУДАРСТВЕННЫЙ СТАНДАРТ
ИМПЛАНТАТЫ ОФТАЛЬМОЛОГИЧЕСКИЕ
ИНТРАОКУЛЯРНЫЕ ЛИНЗЫ
ЧАСТЬ 3
МЕХАНИЧЕСКИЕ СВОЙСТВА И МЕТОДЫ ИСПЫТАНИЙ
Ophthalmic implants. Intraocular lenses.
Part 3. Mechanical properties and test methods
(ISO 11979-3:1999, MOD)
ГОСТ 31580.3-2012
(ISO 11979-3:1999)
Дата введения
1 января 2015 года
Цели, основные принципы и порядок проведения работ по межгосударственной стандартизации установлены
ГОСТ 1.0-92 "Межгосударственная система стандартизации. Основные положения" и
ГОСТ 1.2-2009 "Межгосударственная система стандартизации. Стандарты межгосударственные, правила и рекомендации по межгосударственной стандартизации. Правила разработки, принятия, применения, обновления и отмены".
1 ПОДГОТОВЛЕН Федеральным государственным унитарным предприятием "Всероссийский научно-исследовательский институт стандартизации и сертификации в машиностроении" (ВНИИНМАШ)
2 ВНЕСЕН Федеральным агентством по техническому регулированию и метрологии (Росстандарт)
3 ПРИНЯТ Межгосударственным советом по стандартизации, метрологии и сертификации (протокол N 41-2012 от 24 мая 2012 г.)
За принятие стандарта проголосовали:
Краткое наименование страны по МК (ИСО 3166) 004-97 | Код страны по МК (ИСО 3166) 004-97 | Сокращенное наименование национального органа по стандартизации |
Азербайджан | AZ | Азстандарт |
Беларусь | BY | Госстандарт Республики Беларусь |
Казахстан | KZ | Госстандарт Республики Казахстан |
Кыргызстан | KG | Кыргызстандарт |
Российская Федерация | RU | Росстандарт |
Таджикистан | TJ | Таджикстандарт |
Узбекистан | UZ | Узстандарт |
4
Приказом Федерального агентства по техническому регулированию и метрологии от 01 ноября 2012 г. N 646-ст межгосударственный стандарт ГОСТ 31580.3-2012 (ISO 11979-2:1999) введен в действие в качестве национального стандарта Российской Федерации с 1 января 2015 г.
5 Настоящий стандарт модифицирован по отношению к международному стандарту ISO 11979-3:1999 Ophthalmic implants - Intraocular lenses - Part 3: Mechanical properties and test methods (Имплантаты офтальмологические. Интраокулярные линзы. Часть 3. Механические свойства и методы испытаний) путем внесения дополнительных положений.
Дополнительные фразы, слова, показатели и/или их значения, внесенные в текст стандарта, выделены курсивом.
Степень соответствия - модифицированная (MOD).
Стандарт подготовлен на основе применения ГОСТ Р 52039-2003 (ИСО 11979-3-99)
6 ВВЕДЕН ВПЕРВЫЕ
Информация о введении в действие (прекращении действия) настоящего стандарта публикуется в ежемесячно издаваемом информационном указателе "Национальные стандарты".
Информация об изменениях к настоящему стандарту публикуется в ежегодно издаваемом информационном указателе "Национальные стандарты", а текст изменений и поправок - в ежемесячно издаваемом информационном указателе "Национальные стандарты". В случае пересмотра или отмены настоящего стандарта соответствующая информация будет опубликована в ежемесячно издаваемом информационном указателе "Национальные стандарты"
Настоящий стандарт распространяется на интраокулярные линзы (далее - ИОЛ) независимо от материала, из которого они изготовлены, места локализации их в глазу пациента и их функционального назначения (протез хрусталика глаза или линза, предназначенная для коррекции зрения).
Стандарт устанавливает технические требования к механическим свойствам ИОЛ и методы их испытаний.
Стандарт не распространяется на роговичные имплантаты и трансплантаты.
В настоящем стандарте использованы ссылки на следующие межгосударственные стандарты:
ГОСТ 31580.2-2012 (ISO 11979-2:1999) Имплантаты офтальмологические. Интраокулярные линзы. Часть 2. Оптические свойства и методы их испытаний
ГОСТ 31580.6-2012 (ISO 11979-6:1999) Имплантаты офтальмологические. Интраокулярные линзы. Часть 6. Срок годности и стабильность при транспортировании
Примечание - При пользовании настоящим стандартом целесообразно проверить действие ссылочных стандартов по указателю "Национальные стандарты", составленному по состоянию на 1 января текущего года, и по соответствующим информационным указателям, опубликованным в текущем году. Если ссылочный стандарт заменен (изменен), то при пользовании настоящим стандартом, следует руководствоваться заменяющим (измененным) стандартом. Если ссылочный стандарт отменен без замены, то положение, в котором дана ссылка на него, применяется в части, не затрагивающей эту ссылку.
В настоящем стандарте применяют термины по национальным стандартам государств, упомянутых в предисловии, как проголосовавших за принятие настоящего межгосударственного стандарта,
[1] и следующие термины с соответствующими определениями:
ИОЛ с открытыми петлями: Модель ИОЛ, которая имеет две петли, каждая петля закреплена одним концом за тело ИОЛ, а другой конец петли свободен.
ИОЛ с закрытыми петлями: Модель ИОЛ, которая имеет две петли, каждая петля закреплена обоими концами за тело ИОЛ.
ИОЛ с открытыми/закрытыми петлями: Модель ИОЛ, которая содержит две петли: одна петля закреплена одним концом за тело ИОЛ, другой конец петли свободен и вторая петля закреплена обоими концами за тело ИОЛ.
4 Требования к механическим свойствам ИОЛ
4.1.1 Измерения механических свойств для ИОЛ, не изменяющих габаритные размеры после имплантации, следует проводить при температуре окружающей среды (23 +/- 2) °C и относительной влажности воздуха (50 +/- 5)%. Для ИОЛ всех других типов измерения следует проводить в условиях in situ с допускаемым отклонением температуры +/- 2 °C.
Состав раствора должен быть приведен в отчете об измерениях.
4.1.2 ИОЛ, подвергаемые таким клиническим манипуляциям, как складывание или деформация перед имплантацией, должны быть подвергнуты указанным воздействиям перед измерениями, чтобы убедиться в соответствии требованиям настоящего стандарта после их воздействий. Продолжительность воздействия - не менее 3 мин. Складывание или деформацию ИОЛ следует проводить с помощью методов и инструментов, предназначенных для клинического применения. После снятия воздействия на ИОЛ она должна вернуться в исходное состояние.
Так как критичным параметром для ИОЛ, подвергаемых клиническим манипуляциям, является толщина линзы по центру, то измерениям следует подвергать образцы ИОЛ, имеющие максимальную и минимальную заднюю вершинную рефракции.
Спустя (24 +/- 2) ч после испытаний на складывание или деформацию образцы ИОЛ должны быть проверены на соответствие оптическим свойствам по
ГОСТ 31580.2 и механическим свойствам - по методам настоящего стандарта.
4.1.3 Измерения механических свойств следует проводить для трех лотов ИОЛ. Если измеряемые свойства зависят от задней вершинной рефракции ИОЛ, то лот должен содержать ИОЛ с низкой, средней и высокой задней вершинной рефракцией. Минимальное количество образцов в лоте - 10 шт. Лот составляют из ИОЛ, поставляемых на рынок. Критерии отбора записывают в отчет об измерениях.
4.1.4 Анализ механических свойств ИОЛ приведен в
приложении К.
4.2 Допускаемые отклонения размеров ИОЛ
4.2.1 Допускаемые отклонения общего диаметра для всех типов ИОЛ, кроме мультикомпонентных заднекамерных, - +/- 0,20 мм.
Допускаемые отклонения общего диаметра мультикомпонентных заднекамерных ИОЛ - +/- 0,30 мм.
Примечание - Для симметричных конструкций ИОЛ с двумя гаптическими частями общий диаметр равен расстоянию между вершинами гаптических частей.
4.2.2 Допускаемые отклонения высоты свода ИОЛ должны быть, мм:
+/- 0,15 - для переднекамерных ИОЛ;
+/- 0,35 - для заднекамерных ИОЛ с полипропиленовыми петлями;
+/- 0,25 - для ИОЛ всех других типов.
4.2.3 Допускаемые отклонения сагиттали должны быть, мм:
+/- 0,25 - для переднекамерных ИОЛ;
+/- 0,45 - для заднекамерных ИОЛ с полипропиленовыми петлями;
+/- 0,35 - для ИОЛ всех других типов.
4.2.4 Допускаемые отклонения диаметра оптической зоны - +/- 0,10 мм.
4.2.5 Допускаемые отклонения размера тела ИОЛ - +/- 0,10 мм.
Для эллипсовидных ИОЛ размер тела записывают:
(длина короткой оси) x (длина длинной оси), мм.
4.2.6 Допускаемое отклонение диаметра позиционных отверстий - плюс 0,05 мм.
4.2.7 Допускаемые отклонения размеров ИОЛ должны быть указаны в конструкторской документации на ИОЛ конкретного типа.
4.3.1 Сила сжатия должна быть измерена по методу
приложения А для следующих условий:
а) на диаметре 10 мм - для ИОЛ, предназначенных для расположения в капсулярный мешок;
б) на диаметре 11 мм - для ИОЛ, предназначенных для расположения in sulcus;
в) на диаметрах 10 и 11 мм - для ИОЛ, предназначенных для расположения в капсулярный мешок и для расположения in sulcus;
г) для переднекамерных ИОЛ - на минимальном и максимальном диаметрах, рекомендованных изготовителем в описании изделия
[2].
4.4 Смещение оси в сжатом состоянии
4.4.1 Измерение смещения оси в сжатом состоянии должно быть проведено по методу
приложения Б для условий по
4.3.1.
Для переднекамерных ИОЛ дополнительно в описании изделия должны быть приведены высота свода и сагитталь в сжатом состоянии как функция задней вершинной рефракции на минимальном и максимальном диаметрах в сжатом состоянии для условий по
4.3.1.
4.5 Оптическая децентрация
4.5.1 Оптическая децентрация должна быть измерена по методу
приложения В для условий по
4.3.1.
Если сумма среднеарифметического и двух стандартных отклонений оптической децентрации превышает 10% диаметра оптической зоны, то должна быть проведена проверка соответствия функции передачи модуляции системы "ИОЛ - модель газа" требованиям
ГОСТ 31580.2 при оптической децентрации, равной сумме среднеарифметического и двух стандартных отклонений для всего диапазона задних вершинных рефракций ИОЛ, поставляемых на рынок.
4.6.1 Оптический наклон должен быть измерен по методу
приложения Г для условий по
4.3.1.
Если сумма среднеарифметического и двух стандартных отклонений оптического наклона превышает 10% диаметра оптической зоны, то должна быть проведена проверка соответствия функции передачи модуляции системы "ИОЛ - модель глаза" требованиям
ГОСТ 31580.2 при оптическом наклоне, равном сумме среднеарифметического и двух стандартных отклонений для всего диапазона задних вершинных рефракций ИОЛ, поставляемых на рынок.
Примечание - Угол контакта определяют как угол между гаптической частью ИОЛ и поддерживающей ИОЛ окулярной тканью.
4.8 Уменьшение силы сжатия
4.8.1 Уменьшение силы сжатия должно быть измерено по методу
приложения Е для условий по
4.3.1.
Примечания
1 Конструкция петель ИОЛ должна обеспечивать функцию создания определенного давления на ткани глаза в целях фиксации ИОЛ на месте после имплантации и сохранять ее в течение срока эксплуатации ИОЛ. Срок эксплуатации ИОЛ устанавливает изготовитель. Результаты испытаний уменьшения силы сжатия должны быть представлены значением остаточной силы сжатия после 24 ч нахождения в сжатом состоянии в условиях in situ с допускаемым отклонением температуры +/- 2 °C.
2 Уменьшение силы сжатия может быть частично вызвано поглощением воды материалом, из которого изготовлена гаптическая часть ИОЛ.
4.9 Продолжительность динамической нагрузки
4.9.1 Все петли должны выдерживать без поломок 250000 циклов синусоидальной деформации с амплитудой +/- 0,25 мм от сжатого состояния.
4.9.2 Продолжительность динамической нагрузки измеряют по методу
приложения Ж в следующих условиях:
а) для ИОЛ, предназначенных для расположения в капсулярном мешке, - на расстоянии 5,0 мм между испытательной пластиной и оптической осью ИОЛ;
б) для ИОЛ, предназначенных для расположения in sulcus, - на расстоянии в 5,5 мм между испытательной пластиной и оптической осью ИОЛ;
в) для ИОЛ, предназначенных для расположения в капсулярном мешке и для расположения in sulcus, - на расстоянии в 5,0 мм между испытательной пластиной и оптической осью ИОЛ;
г) для переднекамерных ИОЛ - для двух разных расстояний между испытательной пластиной и оптической осью ИОЛ, составляющих половину значения минимального сжатого диаметра и половину значения максимального сжатого диаметра соответственно. Значения минимального и максимального диаметров сжатого состояния должны быть указаны в конструкторской документации производителя ИОЛ.
4.9.3 Данное испытание проводят только для тех ИОЛ, которые сконструированы для нахождения в сжатом состоянии после имплантации. Частота колебаний должна составлять от 1 до 10 Гц.
Примечание - В случае, если доказано, что петля следует за испытательной пластиной без задержек, допускается использовать более высокие частоты.
4.9.4 При испытании не должно быть отмечено поломок петель.
4.10.1 Изготовитель ИОЛ должен гарантировать, что петли ИОЛ способны выдержать хирургические манипуляции без ухудшения выполнения своих функций.
4.10.2 Методы испытания прочности петель для большинства конструкций ИОЛ приведен в
приложении И.
4.11 Однородность поверхности и материала
4.11.1 Компоненты ИОЛ не должны иметь следующих дефектов: вкраплений, царапин, серых участков или неровностей поверхностей, видимых глазом в стереомикроскоп с увеличением не менее 10х.
Дефекты допускаются вне прозрачной оптической зоны ИОЛ, если они не оказывают вредного воздействия на механические или клинические свойства ИОЛ.
4.11.2 Края ИОЛ должны быть без выпуклостей и впадин, закругленными и гладкими при наблюдении в стереомикроскоп с увеличением не менее 20х.
4.11.3 Все части ИОЛ должны быть инертными и сохранять свои функциональные свойства при погружении ИОЛ в дистиллированную воду на 14 дней при температуре (35 +/- 2) °C.
(обязательное)
МЕТОД ИЗМЕРЕНИЯ СИЛЫ СЖАТИЯ
А.1 Метод измерения
Силу сжатия петель измеряют, когда ИОЛ заключена в заданный диаметр, при свободном движении тела ИОЛ.
А.2 Средства измерения
А.2.1 Схема установки для измерения силы сжатия ИОЛ приведена на
рисунке А.2.
А.2.2 Установка для измерения силы сжатия состоит из двух наковален, имеющих рабочие части с радиусами R = (5 +/- 0,02) мм или R = (5,50 +/- 0,02) мм.
--------------------------------
<*> R = (5 +/- 0,02) мм или R = (5,50 +/- 0,02) мм.
Наковальни должны быть изготовлены из низкофрикционного материала для обеспечения минимальной крутящей нагрузки на петли ИОЛ.
А.2.3 Динамометр должен измерять силу сжатия с точностью до +/- 0,1 мН.
Рисунок А.2 - Установка для измерения силы сжатия
А.3 Порядок измерения
А.3.1 Измерение на установке проводят при горизонтальном положении ИОЛ.
Примечание - Измерение в вертикальном положении ведет к неравномерному распределению сил между петлями из-за массы ИОЛ.
А.3.2 Установить наковальни на расстоянии, соответствующем общим габаритным размерам ИОЛ, и расположить ИОЛ между наковальнями с учетом
А.3.1.
А.3.3 Расположить ИОЛ в несжатом состоянии таким образом, чтобы линия сжатия проходила через
1/
2 угла контакта в сжатом состоянии, или, в случае ИОЛ со многими контактами, чтобы линия сжатия делила пополам крайний угол контакта в сжатом состоянии (см. рисунок А.3).
1 - сжатие; C - центр кривизны наковален
Рисунок А.3 - ИОЛ в сжатом состоянии между наковальнями
(для ИОЛ с двумя разными типами петель)
А.3.4 Сдвинуть наковальни до диаметра по
4.3.1.
А.3.5 Подождать стабилизации ИОЛ в течение 10 - 30 с, записать результат измерения силы сжатия.
Сходимость r и воспроизводимость R результатов измерений вычисляют по формулам
r = -0,4 + 0,46F; (А.1)
R = -0,4 + 0,55F, (А.2)
где F - сила сжатия, мН.
Примечание - Определения сходимости и воспроизводимости приведены в
[1].
А.5 Обработка результатов измерений
Отчет об измерениях должен содержать следующую информацию:
а) диаметр измерений;
б) идентификационные данные испытуемого образца;
в) количество измеренных ИОЛ;
г) среднеарифметическое и стандартное отклонение результатов измерений;
д) дату измерений.
(обязательное)
МЕТОД ИЗМЕРЕНИЯ СМЕЩЕНИЯ ВДОЛЬ ОПТИЧЕСКОЙ ОСИ ИОЛ
В СЖАТОМ СОСТОЯНИИ
Б.1 Принцип измерения
Измерение смещения вдоль оптической оси ИОЛ в сжатом состоянии проводят относительно положения в несжатом состоянии.
Б.2 Средства измерения
Б.2.1 В качестве средства измерения смещения оси в сжатом состоянии применяют цилиндрический колодец, приведенный на рисунке Б.1.
Рисунок Б.1 - Цилиндрический колодец для определения
осевого смещения в сжатом состоянии
Б.2.2 Диаметр цилиндрического колодца должен быть равен рабочему диаметру, установленному в конструкторской документации на ИОЛ, с допускаемым отклонением +/- 0,04 мм и выемкой в основании для наблюдения за ИОЛ. Колодец должен быть изготовлен из низкофрикционного материала для обеспечения минимальной крутящей нагрузки на петли ИОЛ.
Б.2.3 Точность проектора контуров - 0,01 мм.
Б.3 Порядок измерений
Б.3.1 Измерить с помощью проектора контуров расстояние l0, мм, приведенное на рисунке Б.2, для ИОЛ в несжатом состоянии.
| | ИС МЕГАНОРМ: примечание. В официальном тексте документа, видимо, допущена опечатка: имеется в виду рисунок Б.2, а не рисунок Б.1. | |
Рисунок Б.1 - Цилиндрический колодец
с ИОЛ в несжатом состоянии
Б.3.2 Расположить ИОЛ в цилиндрическом колодце и вручную на глаз отцентрировать ИОЛ без приложения силы. В случае использования наковален расположить ИОЛ между ними и провести операции по
А.3.2 -
А.3.4.
Примечание - Расположение ИОЛ в колодце вызывает асимметричные нагрузки на петли, как при имплантации. Однако хирурги при имплантации центрируют ИОЛ вручную. Это объясняет применение ручной центровки ИОЛ при первом методе.
Б.3.3 Измерить с помощью проектора контуров расстояние l, мм, приведенное на рисунке Б.3, для ИОЛ в сжатом состоянии.
--------------------------------
<*> D = (10,00 +/- 0,04) мм или D = (11,00 +/- 0,04) мм.
Рисунок Б.3 - Цилиндрический колодец
с ИОЛ в сжатом состоянии
Б.3.4 Вычислить значение осевого смещения: l - lо, мм.
Примечание - Условно принято, что положительное значение соответствует смещению по направлению к сетчатке.
Б.4 Показатели точности
Сходимость и воспроизводимость результатов измерения составляют 0,2 и 0,3 мм соответственно.
Б.5 Обработка результатов измерений
Отчет об измерениях должен содержать информацию по
А.4 приложения А.
(обязательное)
МЕТОД ИЗМЕРЕНИЯ ОПТИЧЕСКОЙ ДЕЦЕНТРАЦИИ
В.1 Принцип измерения
Оптическую децентрацию измеряют на ИОЛ, заключенной в заданный диаметр.
В.2.1 Цилиндрический колодец, изготовленный из материала с низким коэффициентом трения, например фторопласта, с внутренним диаметром, соответствующим заданному, с точностью +/- 0,04 мм, основанием для расположения петель и выемкой для осмотра ИОЛ сбоку. Допускается использование средств измерений по
А.2.1 с допустимыми отклонениями радиусов +/- 0,02 мм.
В.2.2 Точность проектора контуров - 0,01 мм.
В.3 Порядок измерений
В.3.1 Расположить ИОЛ в цилиндре, убедившись, что петли касаются основания (см.
рисунок В.1), и вручную на глаз отцентрировать ИОЛ без приложения силы. В случае использования наковален расположить ИОЛ между ними и проделать операции по
А.3.2 -
А.3.4.
--------------------------------
<*> D = (10,00 +/- 0,04) мм или D = (11,00 +/- 0,04) мм.
C - центр колодца; C' - оптический центр
Рисунок В.1 - Определение оптической децентрации
В.3.2 Измерить с помощью проектора контуров оптическую децентрацию
C -
C', мм (см. на
рисунке В.1).
В.4 Показатели точности результатов измерения
Сходимость и воспроизводимость результатов измерения составляют 0,2 мм.
В.5 Оформление результатов измерений
Отчет об измерениях должен содержать информацию по
А.4 приложения А.
(обязательное)
МЕТОД ИЗМЕРЕНИЯ ОПТИЧЕСКОГО НАКЛОНА
Г.1 Принцип измерения
Оптический наклон измеряют на ИОЛ, заключенной в заданный диаметр.
Г.2 Средства измерений
Г.2.1 Установка для измерения оптического наклона ИОЛ - цилиндрический колодец по
В.2.1.
Г.2.2 Микроскоп с датчиком высоты, имеющий точность 0,01 мм.
Г.2.3 Координатный стол, оснащенный индикаторами координат x и y, имеющими точность 0,01 мм.
Г.3 Порядок измерений
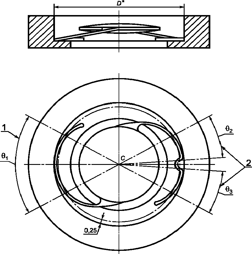
Г.3.1 Расположить ось y декартовой системы координат на ИОЛ в соответствии с рисунком Г.1, с началом координат в оптическом центре и осью x, расположенной в направлении кратчайшего расстояния между плоскостями, параллельными оптической оси, в которые может быть заключена оптическая часть ИОЛ.
Рисунок Г.1 - Точки для измерения оптического наклона
Г.3.2 Отметить четыре точки пересечения между краем оптики и осями координат (точки
P,
Q,
R и
S на
рисунке Г.1).
Г.3.3 Расположить ИОЛ в колодце
(рисунок Г.2), убедившись, что петли касаются основания, вручную на глаз отцентрировать ИОЛ без приложения силы. В случае применения в качестве измерительного устройства наковален провести операции по
А.3.2 -
А.3.4.
--------------------------------
<*> D = (10,00 +/- 0,04) мм или D = (11,00 +/- 0,04) мм.
Рисунок Г.2 - Определение оптического наклона
Г.3.4 Измерить горизонтальное и вертикальное расстояния между точками
Q и
S (
w и
h на
рисунке Г.2), а также между точками
P и
Q с помощью микроскопа с датчиком высоты и координатного стола с индикаторами координат
x и
y.
Г.3.5 Вычислить наклон линии
QS (
h/w на
рисунке Г.2), а также наклон линии
PR.
Г.3.6 Вычислить оптический наклон по формуле
оптический наклон = tan-1 [{(наклон линии QS)2 +
+ (наклон линии PR)2}0,5]. (Г.1)
Г.4 Точность результатов измерений
Сходимость и воспроизводимость результатов измерений составляют 1° и 2° соответственно.
Г.5 Обработка результатов измерений
Отчет об измерениях должен содержать информацию по
А.4 приложения А.
(обязательное)
МЕТОД ИЗМЕРЕНИЯ УГЛА КОНТАКТА
Д.1 Принцип измерения
Приближенное значение угла контакта петель и поддерживающей окулярной тканью измеряют на ИОЛ, заключенной в заданный диаметр.
Д.2 Средства измерения
Д.2.1 В качестве средства измерения используют цилиндрический колодец по
В.2.
Д.2.2 Прибор для измерения углов, имеющий точность 0,5°.
Д.3 Порядок измерений
Д.3.1 Расположить ИОЛ в цилиндрическом колодце (см.
рисунок Д.1), убедившись, что петли касаются основания, и вручную на глаз отцентрировать ИОЛ без приложения силы. В случае использования наковален проделать операции по
А.3.2 -
А.3.4.
--------------------------------
<*> D = (10,00 +/- 0,04) мм или D = (11,00 + 0,04) мм.
1 - угол контакта равен

;
2 - угол контакта
равен сумме

и

;
C - центр колодца
Рисунок Д.1 - Определение угла контакта
Д.3.2 Измерить угол контакта

- угол между точками, в которых расстояние между петлей и стенкой колодца (или наковальни) составляет 0,25 мм. Если петля имеет множественные контакты, то вычислить сумму углов контакта

, измеренные для каждой петли (см.
рисунок Д.1).
Д.4 Точность результатов измерения
Сходимость и воспроизводимость результатов измерения составляют 3° и 8° соответственно.
Д.5 Обработка результатов измерения
Отчет об измерениях должен содержать информацию по
А.4 приложения А.
(обязательное)
МЕТОД ИЗМЕРЕНИЯ УМЕНЬШЕНИЯ СИЛЫ СЖАТИЯ
Е.1 Принцип измерения
Е.1.1 Измерение уменьшения силы сжатия проводят на ИОЛ, заключенной в заданный диаметр в условиях in situ, на определенный период времени.
Е.1.2 При измерениях используют ИОЛ, которые не подвергались измерениям сжатия или деформации петель.
Е.2 Средства измерения
Е.2.1 Цилиндрический колодец по
В.2, погруженный в условия in situ.
Е.2.2 Ванна с термостатом, в которую погружен колодец, содержащий ИОЛ, для имитации условий in situ. Точность термостата - +/- 2 °C.
Е.3 Порядок измерения
Е.3.2 Через 30 мин после измерения силы сжатия положить ИОЛ в ванну с термостатом на 24 ч с допустимым отклонением времени +/- 30 мин.
Е.3.3 Удалить ИОЛ из колодца и измерить силу сжатия через (20 +/- 5) мин по методу
приложения А.
Е.4 Показатели точности
Е.4.1 Показатели точности измерений остаточной силы, установленные по двум измерениям, соответствуют
А.4.
Е.5 Обработка результатов измерения
Отчет об измерениях должен содержать информацию по
А.4 приложения А.
(обязательное)
МЕТОД ИСПЫТАНИЯ УСТОЙЧИВОСТИ К ДИНАМИЧЕСКОЙ НАГРУЗКЕ
Ж.1 Принцип испытания
Испытание устойчивости ИОЛ к динамической нагрузке проводят сжатием ИОЛ до определенного размера и последующей циклически повторяющейся нагрузкой на петлю.
Ж.2 Средства испытания
Ж.2.1 Схема установки и расположение вспомогательных устройств приведены на рисунке Ж.1.
1 - зажим; 2 - испытательная пластина;
3 - линия приложения сжимающей силы
Рисунок Ж.1 - Установка для испытания устойчивости ИОЛ
к динамической нагрузке
Ж.2.2 Зажим
Ж.2.3 Измерительная пластина с плоской поверхностью, изготовленная из низкофрикционного материала для создания минимального трения гаптической части.
Ж.2.4 Прибор, способный произвести 250000 циклов синусоидальных движений с амплитудой 0,5 мм перпендикулярно к испытательной пластине.
Ж.3 Порядок измерений
Ж.3.1 Закрепить тело ИОЛ на установке так, чтобы оптическая ось ИОЛ была параллельна пластине и линия сжатия совпадала с линией, которая делит пополам угол контакта по
А.3.3.
Ж.3.2 Сжать ИОЛ до заданного размера.
Ж.3.3 Подвергнуть гаптическую часть 250000 циклам сжатия с амплитудой 0,5 мм.
Ж.4 Показатели точности
Ж.4.1 ИОЛ после испытания динамической нагрузкой не должна иметь поломок петель.
Ж.5 Обработка результатов испытаний
Отчет об измерениях должен содержать следующую информацию:
а) амплитуду сжатия;
б) идентификационные данные испытуемого образца;
в) количество измеренных ИОЛ;
г) количество испытанных петель (для каждого типа петель);
д) количество сломанных петель (для каждого типа петель);
е) дату измерений.
(справочное)
МЕТОД ИСПЫТАНИЯ ПРОЧНОСТИ ПЕТЕЛЬ НА РАСТЯЖЕНИЕ
И.1 Принцип испытания
Испытания прочности петель на растяжение проводят измерением максимальной силы, выдерживаемой петлей в месте контакта с оптической частью ИОЛ.
И.2 Средства измерения
И.2.1 Тензометр, измеряющий силу с точностью +/- 0,01 Н, производящий тягу со скоростью от 1 до 6 мм/мин.
И.3 Порядок измерений
И.3.1 Закрепить оптическую часть ИОЛ таким образом, чтобы направление тяги было направлено по касательной к петле в точке соединения петля/оптическая часть (см. рисунок И.1).
Рисунок И.1 - Направление тяги
И.3.2 Установить скорость тяги от 1 до 6 мм/мин и включить тензометр.
И.3.3 Растягивать ИОЛ до тех пор, пока усилие не достигнет 0,25 Н.
Примечание - Особенностью испытаний на растяжение является отбрасывание результатов при поломках в точке зажима, так как такие результаты могут трактоваться как воздействие усилия зажима.
И.4 Точность измерений
И.4.1 Результаты испытаний считают отрицательными, если петля ИОЛ сломается. Результаты не учитывают, если петля сломалась в точке зажима.
И.5 Обработка результатов измерения
Отчет об измерениях должен содержать следующую информацию:
а) идентификационные данные испытуемого образца;
б) количество измеренных ИОЛ;
в) количество испытанных петель (для каждого типа петель);
г) количество сломанных петель (для каждого типа петель);
д) дату измерений.
(справочное)
АНАЛИЗ МЕХАНИЧЕСКИХ СВОЙСТВ ИОЛ
К.1 Общие положения
К.1.1 Механические свойства, такие как сила сжатия, уменьшение силы сжатия и угол контакта, могут быть использованы для оценки соответствия модификации ИОЛ модификации уровня A по
[3].
К.1.2 Базовая модель должна быть подвергнута клиническим испытаниям на 100 субъектах для каждой формы либо полным клиническим испытаниям, либо ограниченным испытаниям модификации уровня B
[3]. Модель ИОЛ, модифицированная по уровню A, может быть признана базовой моделью только в случае, если пройдет полные клинические испытания любой формы на 100 субъектах и статистические и клинические данные не покажут существенной разницы между клинической эффективностью модификации и ее базовой модели.
К.1.3 В данном приложении даны примеры применения двух методов анализа, приведенных в
[3]: сравнение модифицированной модели с единичной базовой моделью и сравнение модифицированной модели со всеми базовыми моделями ИОЛ.
К.2 Методы анализа механических свойств
К.2.1 Механическое сравнение между единичной базовой моделью и модифицированной моделью
К.2.1.1 Общие положения
Для сравнения модифицированной модели и единичной базовой модели, которая или проходит клинические испытания, или прошла клинические испытания, испытатель должен доказать, что механические свойства модифицированной модели не имеют существенных отличий от единичной базовой модели.
Применяют следующие общие условия:
- изменение в конфигурации петель модифицированной модели не должно приводить к изменению угла контакта более 40% по сравнению с базовой моделью на соответствующих диаметрах в сжатом состоянии;
- модель ИОЛ с открытыми петлями, закрытыми петлями или гибридную следует сравнивать только с моделями такого же типа;
- модели ИОЛ с открытыми петлями или ИОЛ с закрытыми петлями, имеющие неодинаковые петли, должны проходить сравнение для каждой петли отдельно, при этом каждую петлю модифицированной модели следует сравнивать с соответствующей петлей базовой модели, на которую она наиболее похожа;
- наибольшее стандартное отклонение для сравнения силы сжатия (начальной и после ослабления) модифицированной и базовой модели - не более 20% от среднего значения силы.
Сравнение между модифицированной моделью и базовой моделью проводят при следующих параметрах силы сжатия:
- сила сжатия, деленная на угол контакта для петли;
- сила сжатия после ослабления, деленная на угол контакта для петли.
ИОЛ должны быть испытаны на диаметре сжатия в 10 мм, если модифицированная линза предназначена для расположения в капсулярном мешке, на диаметре сжатия в 11 мм - для расположения in ciliary sulcus или в случае двойного назначения - на обоих диаметрах.
Испытатель должен определить силу, необходимую для сжатия базовой и модифицированной моделей по методу
приложения А. Среднее значение силы
F и стандартное отклонение

должны быть вычислены. Для базовой модели должны быть вычислены верхние
UFBp и нижние
LFBp границы силы, Н, по следующим формулам:
при условии Fp >= 1100 x 10-5

(К.1)
при условии 800 x 10-5 < Fp < 1100 x 10-5

(К.2)
при условии Fp <= 800 x 10-5

(К.3)
при условии Fp >= 150 x 10-5

(К.4)
при условии Fp < 150 x 10-5

(К.5)
Примечание - Значения силы сжатия 150 x 10
-5 и 800 x 10
-5 Н определяют нижнюю и верхнюю границы соответственно для большинства моделей ИОЛ, продемонстрировавших приемлемую клиническую эффективность. Так как клиническая эффективность моделей ИОЛ вне этих границ значительно менее известна, были проведены более консервативные приближения для базовых моделей с гибкостью петель, выходящей за эти рамки, чтобы уменьшить разницу между базовой и модифицированной моделями. Приведенные в формулах (
К.1 -
К.5) значения достигаются следующим способом:
- использованием

только для базовых моделей, демонстрирующих значения силы сжатия от 150 x 10
-5 до 800 x 10
-5 Н;
| | ИС МЕГАНОРМ: примечание. Текст дан в соответствии с официальным текстом документа. | |
- уменьшением

, используемого в формулах (
К.4,
К.5) до тех пор, пока оно не становится равным

(0 соответствует силе сжатия для базовых моделей со средним значением силы сжатия менее 150 x 10
-5 Н);
- уменьшением

, используемого в формулах (
К.2,
К.3) до тех пор, пока оно не становится равным

(1 соответствует силе сжатия для базовых моделей со средним значением силы сжатия, равным 1100 x 10
-5 Н);
- использованием

с базовыми моделями, которые соответствуют среднему значению силы сжатия более 1100 x 10
-5 Н.
Верхние UFBm и нижние LFBm предельные отклонения силы для модифицированной модели вычисляют по формулам:

(К.6)

(К.7)
Для базовых и модифицированных моделей максимальное стандартное отклонение ограничено 20% F.
Испытатель должен определить угол контакта
AC для петель базовой модели и модифицированной модели для линз в сжатом до соответствующего значения диаметра состоянии (метод измерения - по
приложению Д). Значения
UFB и
LFB, деленные на средние значения
AC в сжатом до соответствующих значений диаметра состоянии, определяют диапазон значений силы на градус
AC для базовой и модифицированной линз.
Для установления модифицированной линзы модификацией уровня A базовой модели необходимо выполнение следующих условий:
- среднее значение ACm для петель модифицированной модели в сжатом до соответствующего значения диаметра состоянии должно быть +/- 40% среднего значения ACp для петель базовой модели в сжатом до соответствующего значения диаметра состоянии;
- некоторая часть диапазонов значений от UFBm/ACm до LFBm/ACm модифицированной линзы должна перекрывать диапазон значений от UFBp/ACp до LFBp/ACp базовой модели в сжатом до соответствующего диаметра состоянии, изначально и после уменьшения силы сжатия.
Исследователь имеет четыре заднекамерные базовые модели с открытыми петлями, которые предназначены одновременно для расположения in ciliary sulcus и в капсулярном мешке:
Модель 1: C-петля (общий диаметр 14 мм)
Модель 2: модифицированная C-петля (общий диаметр 12 мм)
Модель 3: J-петля (общий диаметр 13,5 мм)
Модель 4: модифицированная J-петля (общий диаметр 13 мм)
Исследователь отбирает минимум по десять образцов каждой модели и определяет силу сжатия
AC, необходимую для сжатия каждой модели до общего диаметра в 10 мм. Рассчитывают средние значения силы
F и стандартное отклонение
. По формулам (
К.1 -
К.6) рассчитывают верхние
UFB и нижние
LFB границы сил.
Измеряют значение AC для каждой петли при сжатии линзы до диаметра 10 мм и определяют среднее значение. Далее UFB и LFB делят на среднее значение AC. Эти значения определяют диапазон силы на градус AC для линзы, сжатой до диаметра 10 мм.
Вышеописанную процедуру выполняют для диаметра 11 мм и для диаметров 10 и 11 мм после ослабления.
1 - модель 1; 2 - модель 2; 3 - модель 3;
4 - модель 4; 8 - модель 8
Примечание - Здесь (и далее) на рисунках К.1 -
К.4 пунктирные линии и ссылка на модель 8 относятся к примеру 3.
Рисунок К.1 - Диапазоны
F/AC для моделей 1 - 4,
сжатых до диаметра 10 мм
Таблица К.1 содержит данные для четырех гипотетических моделей, заключенных в 10-мм диаметр, а
рисунок К.1 показывает диаграмму, построенную по этим данным.
Таблица К.1
Механические данные для моделей 1 - 4,
сжатых до диаметра 10 мм
Модель | 1 | 2 | 3 | 4 |
F, 10-5 Н | 90 | 300 | 500 | 250 |
 , 10 -5 Н | 25 | 45 | 75 | 40 |
UFB, 10-5 Н | | 435 | 725 | 370 |
LFB, 10-5 Н | | 165 | 275 | 130 |
AC, ...° | 50 | 60 | 20 | 22 |
UFB/AC, 10-5 Н/...° | 2,9 | 7,3 | 36 | 17 |
LFB/AC, 10-5 Н/...° | 1,2 | 2,8 | 14 | 5,9 |
<*> , следовательно  ограничена 0,2 F.<**> F < 150 x 10 -5 Н, следовательно используется . |
Таблица К.2 содержит данные для четырех гипотетических моделей, сжатых до диаметра 11 мм, а на
рисунке К.2 приведена диаграмма, построенная по этим данным.
Таблица К.2
Механические данные для моделей 1 - 4,
сжатых до диаметра 11 мм
Модель | 1 | 2 | 3 | 4 |
F, 10-5 Н | 80 | 180 | 450 | 200 |
 , 10 -5 Н | 16 | 20 | 50 | 25 |
UFB, Н | 128 | 128 | 600 | 275 |
LFB, Н | | 120 | 300 | 125 |
AC, ...° | 40 | 42 | 23 | 22 |
UFB/AC, 10-5 Н/...° | 3,2 | 5,7 | 26 | 12 |
LFB/AC, 10-5 Н/...° | 1,4 | 2,9 | 13 | 5,7 |
< *> F < 150 x 10 -5 Н, следовательно используется . |
1 - модель 1; 2 - модель 2; 3 - модель 3;
4 - модель 4; 8 - модель 8
Рисунок К.2 - Диапазоны
F/AC для моделей 1 - 4,
сжатых до диаметра 11 мм
1 - модель 1; 2 - модель 2; 3 - модель 3;
4 - модель 4; 8 - модель 8
Рисунок К.3 - Диапазоны F/AC для моделей 1 - 4,
сжатых до диаметра 10 мм
Таблица К.3
Механические данные для моделей 1 - 4, сжатых
до диаметра 10 мм после ослабления
Модель | 1 | 2 | 3 | 4 |
F, 10-5 Н | 50 | 130 | 240 | 120 |
 , 10 -5 Н | 12 | 20 | 30 | 20 |
UFB, Н | | 190 | 330 | 180 |
LFB, Н | | 78 | 150 | 72 |
AC, ...° | 52 | 62 | 22 | 24 |
UFB/AC, 10-5 Н/...° | 1,5 | 3,1 | 15 | 7,5 |
LFB/AC, 10-5 Н/...° | 0,8 | 1,3 | 6,8 | 3,0 |
<*>  , следовательно  ограничена 0,2 F.<**> F < 150 x 10 -5 Н, следовательно используется  . |
В таблице К.4 приведены данные для четырех гипотетических моделей, заключенных в 11-мм диаметр после ослабления, а на
рисунке К.4 - диаграмма, построенная по этим данным.
Таблица К.4
Механические данные для моделей 1 - 4
на диаметре 11 мм после ослабления
Модель | 1 | 2 | 3 | 4 |
F, 10-5 Н | 45 | 80 | 200 | 90 |
 , 10 -5 Н | 10 | 12 | 25 | 15 |
UFB, Н | | 116 | 275 | 135 |
LFB, Н | | 61 | 125 | 63 |
AC, ...° | 42 | 44 | 25 | 24 |
UFB/AC, 10-5 Н/...° | 1,7 | 2,6 | 11 | 5,6 |
LFB/AC, 10-5 Н/...° | 0,9 | 1,4 | 5 | 2,6 |
<*>  , следовательно  ограничена 0,2 F.<**> F < 150 x 10 -5 Н, следовательно используется  . |
1 - модель 1; 2 - модель 2; 3 - модель 3;
4 - модель 4; 8 - модель 8
Рисунок К.4 - Диапазоны
F/AC для моделей 1 - 4
Исследователь в данном испытании разработал новую модель (модель 5), являющуюся модификацией модели 2 для увеличения общего диаметра с 12 до 14 мм и модификацией профиля петли к другой разновидности модифицированной C-петли. Для определения модели 5 как модификации уровня A модели 2 исследователь оценил механические характеристики новой модели. Таблица К.5 представляет результаты данной оценки.
Таблица К.5
Механические данные для модели 5
(модификация модели 2)
Сжатый диаметр | 10 мм | 11 мм | 10 мм после ослабления | 11 мм после ослабления |
F, 10-5 Н | 450 | 250 | 220 | 120 |
 , 10 -5 Н | 70 | 55 | 30 | 20 |
UFB, Н | 520 | | 250 | 140 |
LFB, Н | 380 | | 190 | 100 |
AC, ...° | 70 | 52 | 74 | 55 |
UFB/AC, 10-5 Н/...° | 7,5 | 5,8 | 3,4 | 2,6 |
LFB/AC, 10-5 Н/...° | 5,4 | 3,8 | 2,6 | 1,8 |
<*>  , следовательно  ограничена 0,2 F. |
Основываясь на этих данных, предлагаемая модель 5 сравнивалась с базовой моделью 2. Следующие сравнения позволяют сделать вывод о том, что модель 5 является модификацией уровня A модели 2:
среднее ACm для модели 5, 70° (10 мм) и 52° (11 мм) было в пределах 40% от среднего ACp модели 2, то есть 60° +/- 40% (10 мм) и 42° +/- 40% (11 мм);
- диапазон от LFB/ACm до UFB/ACm модели 5 перекрывает диапазон, ограниченный UFB/ACp и LFB/ACp модели 2 во всех четырех условиях измерений: для общих диаметров в сжатом состоянии 10 мм и 11 мм и для общих диаметров в сжатом состоянии после ослабления 10 мм и 11 мм.
В соответствии с настоящим стандартом модель 5 не нуждается в клинических испытаниях.
Примечание - Если бы модель 2 подвергалась клиническим испытаниям, то данный анализ мог быть использован для подтверждения того, что модель 5 является модификацией уровня A модели 2, что также должно быть добавлено к ее клиническим испытаниям.
Пример 1 приводит испытания, необходимые для доказательства отношений уровня
A между двумя моделями с симметричными открытыми петлями. Аналогичную проверку следует проводить для доказательства отношений уровня
A между двумя моделями с симметричными закрытыми петлями.
Пример 2 приводит испытания, необходимые для демонстрации отношений уровня
A между двумя моделями с асимметричными открытыми петлями, двумя моделями с асимметричными закрытыми петлями или двумя моделями с гибридными петлями. Во всех случаях модифицированную модель следует сравнивать с базовой моделью такого же типа (то есть модель с открытыми петлями с моделью с открытыми петлями и т.д.). Модификации моделей с открытыми или закрытыми несимметричными петлями должны быть исследованы для каждой петли по отдельности, и затем каждую петлю модифицированной модели следует сравнивать с соответствующей петлей базовой модели, которую она наиболее напоминает.
В данном примере исследователь модифицировал гибридную базовую модель с закрытыми/открытыми петлями, модель 6, изменением конфигурации как открытой петли, так и закрытой петли, и уменьшением общего диаметра модели с 14 до 12,5 мм. Новая модель обозначена как модель 7. В подобных случаях, при наличии асимметричных петель, механические характеристики, приведенные в
примере 1, должны быть измерены для каждой петли отдельно. Сначала сравнивают характеристики закрытых петель моделей 6 и 7, а затем характеристики открытых петель моделей 6 и 7.
Механические данные по закрытым петлям моделей 6 и 7 соответственно приведены в таблицах К.6 и
К.7.
Таблица К.6
Механические данные по закрытой петле для модели 6
Сжатый диаметр | 10 мм | 11 мм | 10 мм после ослабления | 11 мм после ослабления |
F, 10-5 Н | 900 | 750 | 450 | 375 |
 , 10 -5 Н | 110 | 100 | 80 | 60 |
UFB, Н | | | 690 | 555 |
LFB, Н | 570 | | 210 | 195 |
AC, ...° | 65 | 64 | 66 | 65 |
UFB/AC, 10-5 Н/...° | 18 | 16 | 11 | 8,5 |
LFB/AC, 10-5 Н/...° | 8,8 | 7 | 3,2 | 3 |
<*> Fp > 800 x 10 -5 Н, следовательно используется  . |
Таблица К.7
Механические данные по закрытой петле для модели 7
Сжатый диаметр | 10 мм | 11 мм | 10 мм после ослабления | 11 мм после ослабления |
F, 10-5 Н | 700 | 600 | 350 | 250 |
 , 10 -5 Н | 100 | 70 | 50 | 25 |
UFB, Н | 800 | 670 | 400 | 275 |
LFB, Н | 600 | 530 | 300 | 225 |
AC, ...° | 50 | 48 | 51 | 49 |
UFB/AC, 10-5 Н/...° | 16 | 14 | 7,8 | 5,6 |
LFB/AC, 10-5 Н/...° | 12 | 11 | 5,9 | 4,6 |
Механические данные по открытым петлям моделей 6 и 7 соответственно приведены в таблицах К.8 и
К.9.
Таблица К.8
Механические данные по открытой петле для модели 6
Сжатый диаметр | 10 мм | 11 мм | 10 мм после ослабления | 11 мм после ослабления |
F, 10-5 Н | 900 | 750 | 450 | 375 |
 , 10 -5 Н | 110 | 100 | 80 | 60 |
UFB, Н | | 1050 | 690 | 555 |
LFB, Н | 570 | | 210 | 195 |
AC, ...° | 65 | 64 | 66 | 65 |
UFB/AC, 10-5 Н/...° | 18 | 16 | 11 | 8,5 |
LFB/AC, 10-5 Н/...° | 8,8 | 7 | 3,2 | 3 |
<*> Fp > 800 x 10 -5 Н, следовательно используется  . |
Таблица К.9
Механические данные по открытой петле для модели 7
Сжатый диаметр | 10 мм | 11 мм | 10 мм после ослабления | 11 мм после ослабления |
F, 10-5 Н | 700 | 600 | 350 | 250 |
 , 10 -5 Н | 100 | 70 | 50 | 25 |
UFB, Н | 800 | 670 | 400 | 275 |
LFB, Н | 600 | 530 | 300 | 225 |
AC, ...° | 50 | 48 | 51 | 49 |
UFB/AC, 10-5 Н/...° | 16 | 14 | 7,8 | 5,6 |
LFB/AC, 10-5 Н/...° | 12 | 11 | 5,9 | 4,6 |
Границы сил для базовой модели в
таблицах К.6 и
К.8 были выражены как

, за исключением случаев, где
F > 800 x 10
-5 Н. Границы сил для модифицированной модели в
таблицах К.7 и
К.9 всегда были выражены как

.
Основываясь на этих данных, следующие сравнения позволяют сделать вывод о том, что модель 7 является модификацией уровня A модели 6:
- среднее ACт для модели 7, 50° (10 мм) и 48° (11 мм) было в пределах 40% от среднего ACp модели 6, то есть 65° +/- 40% (10 мм) и 64° +/- 40% (11 мм) для закрытых петель;
- среднее ACт для модели 7, 46° (10 мм) и 41° (11 мм) было в пределах 40% от среднего ACp модели 6, то есть 40° +/- 40% (10 мм) и 35° +/- 40% (11 мм) для закрытых петель;
- диапазон от LFB/ACт до UFB/ACт модели 7 перекрывает диапазон, ограниченный UFB/ACp и LFB/ACp модели 6 во всех условиях измерений: для общих диаметров в сжатом состоянии 10 мм и 11 мм и для общих диаметров в сжатом состоянии после ослабления 10 мм и 11 мм, как для открытых, так и для закрытых петель.
К.2.2 Сравнение механических данных модифицированной модели и характеристик нескольких базовых моделей
К.2.2.1 Общие положения
Для сравнения механических данных модифицированной модели и характеристик нескольких базовых моделей исследователь должен показать, что механические данные модифицированной модели не носят существенного отличия от характеристик связанных с ней нескольких базовых моделей.
Данный метод накладывает следующие ограничения:
- модель с открытыми петлями или открытую петлю гибридной модели следует сравнивать только с базовыми моделями с открытыми петлями;
- модель с закрытыми петлями или закрытую петлю гибридной модели следует сравнивать только с базовыми моделями с закрытыми петлями;
- модели с открытыми петлями или закрытыми петлями, имеющие неодинаковые петли (и, следовательно, разные углы контакта), следует подвергать сравнению для каждой петли по отдельности с диаграммами свойств соответствующих базовых моделей (с открытыми петлями или закрытыми петлями);
- наибольшее стандартное отклонение силы сжатия (начальной и после ослабления) для базовой и модифицированной модели при данном методе анализа не должно превышать 20% значения силы.
Анализ свойств модифицированной модели и свойств нескольких базовых моделей должен включать следующие сравнения:
- сила сжатия как функция угла контакта для петли;
- сила сжатия после ослабления как функция угла контакта для петли.
ИОЛ должны быть испытаны на диаметре сжатия в 10 мм, если модифицированная линза предназначена для расположения в капсулярном мешке, в 11 мм для расположения in ciliary sulcus, или на обоих диаметрах в случае двойного назначения.
| | ИС МЕГАНОРМ: примечание. В официальном тексте документа, видимо, допущена опечатка: пункт К.3.1 отсутствует. Возможно, имеется в виду пункт К.2.1. | |
Исследователь должен определить силу, необходимую для сжатия базовой и модифицированной моделей по методу
приложения А. Среднее значение силы
F и стандартное отклонение

должны быть рассчитаны. Далее для базовой модели должны быть рассчитаны верхние
UFBp и нижние
UFBp границы силы по формулам, приведенным в
К.3.1.
Исследователь должен определить угол контакта
AC для петель базовых моделей и модифицированной модели при сжатии линзы до определенного(ых) общего(их) диаметра(ов) (см.
приложение Д).
Далее исследователь должен построить графики значений сил как функции угла контакта петли для каждой базовой модели во всех условиях испытаний.
Исследователь должен построить отдельные графики приемлемых значений силы, как функции AC для базовых моделей с открытыми петлями и закрытыми петлями, и добавлять новые графики в случае новых базовых моделей.
Для гибридных базовых моделей характеристики должны быть разделены на относящиеся к закрытым петлям и открытым петлям, и построены соответствующие отдельные графики.
Для того, чтобы модифицированная линза была признана модификацией базовых моделей уровня A, необходимо выполнение следующих условий:
- некоторая часть диапазона сил для каждой петли модифицированной модели должна находиться в пределах границ сил для петель любых двух базовых моделей, AC у которых различается не более чем на 30°;
- использование двух одних и тех же базовых моделей во всех испытаниях не является одинаковым.
К.2.2.2 ПРИМЕР 3
Модели 1 - 4 из К.2.1.2
(пример 1) являются базовыми моделями, так как предполагается, что они прошли клинические испытания
[3] и соответствуют требованиям настоящего стандарта,
ГОСТ 31580.2,
ГОСТ 31580.6. Исследователь должен построить графики их свойств (см.
рисунки К.1 -
К.4). Данные модели представляют все используемые исследователем базовые модели.
Примечание - Модификации уровня
A, например модель 5 в
примере 1, могут быть добавлены в такие графики только в случае, если они сами признаны базовыми моделями (смотри
К.1.2), что не является общим случаем.
В данном примере исследователь взял одну из базовых моделей с открытыми петлями и обозначил ее как модель 8. Модифицированная модель отличается от базовой конфигурацией петель и общим диаметром. Для определения модели 8 как модификации уровня A, были определены ее свойства, приведенные в таблице К.10. Как всегда, стандартное отклонение было использовано для определения границ сил для модифицированной модели.
Таблица К.10
Механические данные для новой модели 8
Сжатый диаметр | 10 мм | 11 мм | 10 мм после ослабления | 11 мм после ослабления |
F, 10-5 Н | 250 | 220 | 120 | 100 |
 , 10 -5 Н | 40 | 30 | 20 | 15 |
UFB, Н | 290 | 250 | 140 | 115 |
LFB, Н | 210 | 190 | 100 | 85 |
AC, ...° | 40 | 32 | 42 | 34 |
Из оценки механических данных
таблицы К.10, отображенных на
рисунках К.1 -
К.4 (пунктирная линия), следует, что модель 8 является модификацией уровня
A базовых моделей с открытыми петлями и, следовательно, не нуждается в клинических испытаниях по
[3]. Этот вывод основан на нижеследующем:
диапазон сил для модели 8 перекрывает границы диапазонов двух базовых моделей с различием в AC не более 30° друг от друга при всех испытаниях (10 мм и 11 мм, 10 мм и 11 мм после ослабления).
(справочное)
БИБЛИОГРАФИЯ
| Государственная система обеспечения единства измерений. Метрология. Основные термины и определения |
| Ophthalmic implants - Intraocular lenses - Part 4: Labelling and information (Имплантаты офтальмологические. Интраокулярные линзы. Часть 4. Этикетирование и информация) |
| Ophthalmic implants - Intraocular lenses - Part 7: Clinical investigations (Имплантаты офтальмологические. Интраокулярные линзы. Часть 7. Клинические испытания) |