Главная // Актуальные документы // ГОСТ (Государственный стандарт)СПРАВКА
Источник публикации
М.: Стандартинформ, 2015
Примечание к документу
Документ включен в
Перечень международных и региональных (межгосударственных) стандартов, а в случае их отсутствия - национальных (государственных) стандартов, в результате применения которых на добровольной основе обеспечивается соблюдение требований технического
регламента Таможенного союза "О безопасности машин и оборудования" (ТР ТС 010/2011) и в
Перечень международных и региональных (межгосударственных) стандартов, а в случае их отсутствия - национальных (государственных) стандартов, содержащих правила и методы исследований (испытаний) и измерений, в том числе правила отбора образцов, необходимые для применения и исполнения требований технического
регламента Таможенного союза "О безопасности машин и оборудования" (ТР ТС 010/2011) и осуществления оценки соответствия объектов технического регулирования (
Решение Коллегии Евразийской экономической комиссии от 09.03.2021 N 28).
Документ
введен в действие с 1 ноября 2015 года.
Название документа
"ГОСТ ISO 22915-4-2014. Межгосударственный стандарт. Автопогрузчики промышленные. Проверка устойчивости. Часть 4. Штабелеры для поддонов с грузом, сдвоенные штабелеры и комплектующие заказ автопогрузчики с позицией оператора до 1200 мм включительно"
(введен в действие Приказом Росстандарта от 15.06.2015 N 695-ст)
"ГОСТ ISO 22915-4-2014. Межгосударственный стандарт. Автопогрузчики промышленные. Проверка устойчивости. Часть 4. Штабелеры для поддонов с грузом, сдвоенные штабелеры и комплектующие заказ автопогрузчики с позицией оператора до 1200 мм включительно"
(введен в действие Приказом Росстандарта от 15.06.2015 N 695-ст)
агентства по техническому
регулированию и метрологии
от 15 июня 2015 г. N 695-ст
МЕЖГОСУДАРСТВЕННЫЙ СТАНДАРТ
АВТОПОГРУЗЧИКИ ПРОМЫШЛЕННЫЕ
ПРОВЕРКА УСТОЙЧИВОСТИ
ЧАСТЬ 4
ШТАБЕЛЕРЫ ДЛЯ ПОДДОНОВ С ГРУЗОМ, СДВОЕННЫЕ ШТАБЕЛЕРЫ
И КОМПЛЕКТУЮЩИЕ ЗАКАЗ АВТОПОГРУЗЧИКИ С ПОЗИЦИЕЙ ОПЕРАТОРА
ДО 1200 мм ВКЛЮЧИТЕЛЬНО
Industrial trucks. Verification of stability. Part 4.
Pallet stackers, double stackers and order-picking trucks
with operator position elevating up to and including 1200 mm
lift height
(ISO 22915-4:2009, IDT)
ГОСТ ISO 22915-4-2014
Дата введения
1 ноября 2015 года
Цели, основные принципы и основной порядок проведения работ по межгосударственной стандартизации установлены
ГОСТ 1.0-92 "Межгосударственная система стандартизации. Основные положения" и
ГОСТ 1.2-2009 "Межгосударственная система стандартизации. Стандарты межгосударственные, правила и рекомендации по межгосударственной стандартизации. Правила разработки, принятия, применения, обновления и отмены"
1 ПОДГОТОВЛЕН Обществом с ограниченной ответственностью "ИЦ "ЦНИП СДМ" (ООО "ИЦ "ЦНИП СДМ") на основе собственного аутентичного перевода на русский язык международного стандарта, указанного в
пункте 5
2 ВНЕСЕН Техническим комитетом по стандартизации ТК 56 "Дорожный транспорт"
3 ПРИНЯТ Межгосударственным советом по стандартизации, метрологии и сертификации (протокол от 22 декабря 2014 г. N 73-П)
За принятие проголосовали:
Краткое наименование страны по МК (ИСО 3166) 004-97 | Код страны по МК (ИСО 3166) 004-97 | Сокращенное наименование национального органа по стандартизации |
Азербайджан | AZ | Азстандарт |
Армения | AM | Минэкономики Республики Армения |
Беларусь | BY | Госстандарт Республики Беларусь |
Казахстан | KZ | Госстандарт Республики Казахстан |
Киргизия | KG | Кыргызстандарт |
Молдова | MD | Молдова-Стандарт |
Россия | RU | Росстандарт |
Таджикистан | TJ | Таджикстандарт |
Туркменистан | TM | Главгосслужба "Туркменстандартлары" |
Узбекистан | UZ | Узстандарт |
Украина | UA | Минэкономразвития Украины |
4
Приказом Федерального агентства по техническому регулированию и метрологии от 15 июня 2015 г. N 695-ст межгосударственный стандарт ГОСТ ISO 22915-4-2014 введен в действие в качестве национального стандарта Российской Федерации с 1 ноября 2015 г.
5 Настоящий стандарт идентичен международному стандарту ISO 22915-4:2009 Industrial trucks - Verification of stability - Part 4: Pallet stackers, double stackers and order-picking trucks with operator position elevating up to and including 1200 mm lift height (Автопогрузчики промышленные. Проверка устойчивости. Часть 4. Штабелеры для поддонов с грузом, сдвоенные штабелеры и комплектующие заказ автопогрузчики с позицией оператора до 1200 мм включительно).
Международный стандарт подготовлен Техническим комитетом по стандартизации ISO/ТС 110/SC 2 "Безопасность грузовых самоходных тележек" Международной организации по стандартизации (ISO) и утвержден Европейским комитетом по стандартизации CEN в качестве европейского стандарта без внесения изменений.
Перевод с английского языка (en).
Сведения о соответствии межгосударственных стандартов ссылочным международным стандартам приведены в дополнительном
приложении ДА.
Степень соответствия - идентичная (IDT)
6 Подготовленный стандарт может быть использован при ежегодной актуализации перечня стандартов, содержащих правила и методы исследований (испытаний), а также стандартов, в результате применения которых на добровольной основе обеспечивается соблюдение требований Технического
регламента Таможенного союза "О безопасности машин и оборудования"
7 ВВЕДЕН ВПЕРВЫЕ
Информация об изменениях к настоящему стандарту публикуется в ежегодном информационном указателе "Национальные стандарты" (по состоянию на 1 января текущего года), а текст изменений и поправок - в ежемесячном информационном указателе "Национальные стандарты". В случае пересмотра (замены) или отмены настоящего стандарта соответствующее уведомление будет опубликовано в ежемесячном информационном указателе "Национальные стандарты". Соответствующая информация, уведомление и тексты размещаются также в информационной системе общего пользования - на официальном сайте Федерального агентства по техническому регулированию и метрологии в сети Интернет
Настоящий стандарт определяет требования к испытаниям на устойчивость:
- штабелеров для поддонов с грузом;
- сдвоенных штабелеров;
- автопогрузчиков с позицией оператора до 1200 мм (измеряется от уровня пола до уровня пола платформы).
Настоящий стандарт распространяется на вышеперечисленные типы промышленных погрузчиков с наклоняемыми или не наклоняемыми мачтами или вилами грузоподъемностью до 5000 кг.
Настоящий стандарт также распространяется на погрузчики, работающие в тех же условиях, оборудованные дополнительным/навесным оборудованием, и на автопогрузчики с позицией оператора до 1200 мм с дополнительным/навесным оборудованием.
В настоящем стандарте использованы нормативные ссылки на следующие международные стандарты. Для недатированных ссылок применяют последнее издание ссылочного документа (включая все его изменения).
ISO 5053 Powered industrial trucks - Terminology (Тележки грузовые самоходные. Терминология)
ISO 22915-1 Industrial trucks - Verification of stability - Part 1: General (Автопогрузчики промышленные. Проверка устойчивости. Часть 1. Общие положения)
В настоящем стандарте используются термины и определения в соответствии с ISO 5053 и ISO 22915-1.
См. ISO 22915-1.
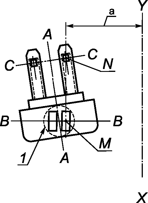
4.2. Расположение на опрокидывающей платформе
4.2.1 Несущая и ведущие оси
Несущие и ведущие оси показаны на рисунке 1.
A-A - средняя вертикальная плоскость погрузчика;
B-B - ведущая ось; C-C - несущая ось
Рисунок 1 - Несущая и ведущие оси
4.2.2 Испытания 1, 2, 6, 7 и 8
Погрузчик должен быть установлен на опрокидывающую платформу так, чтобы ведущая ось B-B и несущая ось C-C была параллельна оси опрокидывания X-Y опрокидывающей платформы. См.
таблицу 1.
4.2.3 Испытания 3, 4, 5 и 9
Погрузчик должен быть установлен на опрокидывающую платформу так, чтобы ось опрокидывания погрузчика M-N была параллельна оси опрокидывания X-Y опрокидывающей платформы. См.
таблицу 1.
Точка M определяется следующим образом:
a) Для погрузчиков с одним ведущим колесом и жесткой рамой точка M определяется проекцией точки пересечения оси симметрии приводной/управляемой оси и оси симметрии ведущего колеса на поверхность опрокидывающей платформы.
b) Для погрузчиков с шарнирно-сочлененной рамой точка M определяется проекцией на опрокидывающую платформу точки пересечения средней вертикальной плоскости A-A погрузчика с осью ведущей оси.
c) Для погрузчиков, имеющих не подрессоренные поворачивающиеся ролики и не соединенные с ведущей осью, но предназначенные для обеспечения управляемости погрузчика (подруливающие колеса): точка M определяется проекцией точки пересечения средней вертикальной плоскости A-A погрузчика с ведущей осью B-B или C-C и вертикальной осью поворота подруливающего колеса, находящегося ближе к оси X-Y на плоскость опрокидывающей платформы, при этом оси B-B или C-C должны располагаться параллельно оси опрокидывания X-Y опрокидывающей платформы.
d) Для погрузчиков с подрессоренными поворачивающимися роликами и одним не подрессоренным ведущим/управляющим роликом точка M определяется вертикальной проекцией на опрокидывающую платформу точки пересечения центра оси ведущего ролика B-B и осью, соединяющей центр пятна контакта ближайшего ролика к оси опрокидывания X-Y с приводными роликами, установленными параллельно оси X-Y.
e) Для погрузчиков со сдвоенными ведущими/управляемыми амортизированными колесами/роликами точка M определяется проекцией на плоскость опрокидывающей платформы точки пересечения ведущей оси B-B и оси, проходящей через центр пятна контакта ближайшего к оси опрокидывания X-Y колеса/ролика при ведущих/управляемых колесах, установленных параллельно оси X-Y.
f) Для погрузчиков с несочлененными, не подрессоренными поворачивающимися колесами/роликами точка M определяется следующим образом:
1) вертикальная проекция на опрокидывающую платформу точки пересечения оси поворачивающихся роликов, их оси симметрии и оси симметрии неповоротных роликов, находящихся параллельно оси опрокидывания X-Y.
2) вертикальная проекция на опрокидывающую платформу точки пересечения оси симметрии поворотного ролика/колеса с осью не подрессоренного ролика, установленного параллельно оси X-Y.
g) Для погрузчиков с несочлененным, подрессоренным приводным (управляемым) колесом, расположенным в средней вертикальной плоскости A-A погрузчика, точка M определяется проекцией на плоскость опрокидывающей платформы точки пересечения оси ведущего колеса и оси, проходящей параллельно оси X-Y через центр пятна контакта несущего колеса/ролика, находящегося ближе всего к оси X-Y.
Точка N определяется как центральная точка пятна контакта с поверхностью опрокидывающей платформы переднего колеса несущей оси погрузчика, находящегося ближе всех к оси опрокидывания X-Y опрокидывающей платформы (см. таблицу 1).
Таблица 1
Условия испытаний | Испытание 1 | Испытание 2 | | | | Испытание 6 | | | |
Положение погрузчика | Продольное | x | x | | | | x | x | x | |
Под углом | | | x | x | x | | | | x |
Положение рабочего органа | Нагрузка на ведущую ось | x | x | | | | | x | | |
Нагрузка на ведомую ось | | | | | | x | x | x | |
Режим работы | Транспортный | | x | | x | x | | x | x | x |
Складирование/Разгрузка | x | | x | | | x | | | |
Грузовые испытания | С грузом | x | x | x | x | | x | x | | x |
Без груза | | | | | x | | | x | |
Высота подъема | Максимальная | x | | x | | | x | | | |
Транспортная | | x | | x | x | | x | x |
Положение мачты | Вертикально | x | | | | x | | |
Отклонена назад | | x | x | | x | |
Угол наклона опрокидывающей платформы | 4% | 18% | (2 + 0,3v)% min 3,5% max 6% | (2 + 0,6v)% для v  6 км/ч max 6% (2 + 0,7v)% для v > 6 км/ч max 7% | (15 + 1,1v)% max 26% | 10% | (4 + 1,24v)% или (8 + 1,24v)% | (10 + 0,5i + 1,1v)% для v  10 км/ч (21 + 0,5i)% для v > 10 км/ч max 26% | (6 + 1,24v)% |
| i - максимальная проектная величина преодолеваемого уклона погрузчиком без груза, %. v - максимальная транспортная скорость погрузчика без груза, км/ч. |
Положение погрузчика на опрокидывающей платформе | | | | | | | | | |
Продолжение таблицы 1
Условия испытаний | Испытания 1, 2, 6, 7 и 8 |
Положение погрузчика на опрокидывающей платформе | | |
1 - Управляемая/приводная ось B-B (в любом положении) 2 - Не поворотные, не подрессоренные ролики (в любом положении) |
В соответствии с п. 4.2.2 - Испытания 1, 2 и 7 |
| |
| (точки M и N) |
1 - Управляемая/приводная ось B-B 2 - Не поворотные, не подрессоренные ролики | |
В соответствии с п. 4.2.2 - Испытания 6 и 8 |
Продолжение таблицы 1
Условия испытаний | Испытания 3, 4, 5 и 9 (точки M и N) |
Положение погрузчика на опрокидывающей платформе | | | | |
| | |
1 - Приводное/управляющее колесо параллельно оси X-Y 2 - Неподрессоренный ролик (в любом положении) 3 - Ось неподрессоренных роликов параллельная оси X-Y 4 - Неподрессоренные ролики направлены параллельно оси симметрии погрузчика 5 - Шарнирно-сочлененная рама |
Окончание таблицы 1
Условия испытаний | Испытания 3, 4, 5 и 9 (точки M и N) |
| | ИС МЕГАНОРМ: примечание. В официальном тексте документа, видимо, допущена опечатка: пункт 4.2.3 g) 2) отсутствует. | |
|
Положение погрузчика на опрокидывающей платформе | | | | |
| | | |
1 - Приводное/управляющее колесо параллельно оси X-Y 2 - Неподрессоренный ролик (в любом положении) 3 - Ось с неподрессоренными роликами параллельна оси X-Y 4 - Неподрессоренный ролик повернут параллельно оси симметрии погрузчика 5 - Шарнирно-сочлененная рама | 6 - Ось с подрессоренными роликами параллельна оси X-Y 7 - Ось с неповоротными, неподрессоренными роликами параллельна оси X-Y 8 - Ведущее/управляющее колесо (в любом положении) 9 - Ось ведущих/управляющих колес параллельна оси X-Y |
Примечание 1. Необходимый уклон при нагрузке на ведущую ось. Примечание 2. Необходимый уклон при нагрузке на ведомую ось. |
| | ИС МЕГАНОРМ: примечание. Сноски даны в соответствии с официальным текстом документа. | |
|
<a> Параллельно. <b> При проведении испытаний 3, 4, 5, 8 и 9, если погрузчик оборудован автоматическим ограничителем скорости передвижения в случае, если вилы подняты, данное уменьшение скорости должно быть учтено при выборе угла наклона опрокидывающей платформы. <c> При испытаниях 3, 4 и 5, если погрузчик оборудован наклоняемой мачтой или вилами, он должен быть выставлен на опрокидывающей платформе в положении наименьшей устойчивости. <d> Испытание 4 проводится только для погрузчиков оперирующих двумя грузами одновременно. <e> Испытания 7 и 9 проводятся только для погрузчиков предназначенных для сбора заказа. <f> Если рабочее место оператора может быть поднято, при испытаниях оно поднимается на максимальную высоту. <g> Любая достигнутая комбинация высоты подъема, грузовых характеристик и скорости передвижения, которые влекут уменьшение угла наклона опрокидывающей платформы по сравнению с требованиями данного стандарта разрешает проведение испытаний при установленных параметрах. Скорость передвижения v может быть равна "нулю". <h> При оборудовании погрузчика автоматическим ограничителем скорости передвижения, если оператор находится наверху, снижение скорости должно быть учтено при выборе угла наклона опрокидывающей платформы. |
4.3. Определение контрольной точки
Определение контрольной точки при проведении испытания 1 проводится по горизонтали, начиная с минимальной высоты подъема груза относительно точки E и заканчивая максимальной высотой подъема груза, как показано на рисунке 2.
| | ИС МЕГАНОРМ: примечание. Рисунки даны в соответствии с официальным текстом документа. | |
Рисунок 2 - Расположение контрольных точек
На вилы погрузчика устанавливается испытательный груз, мачта устанавливается в вертикальное положение и испытательный груз поднимается на высоту 300 мм.
С учетом изгиба передней поверхности вил устанавливают точку E, как показано на рисунке 2 a), и центрируют груз на вилах в соответствии с центром тяжести погрузчика. Точка E используется для определения точки F на опрокидывающей платформе. При поднятой мачте на опрокидывающей платформе может появиться новая точка F1, как показано на
рисунке 2 b). Положение этой новой точки может быть возвращено в положение точки F, как показано на
рисунке 2 c), с помощью изменения угла наклона мачты в пределах конструктивных характеристик погрузчика.
4.4. Высота подъема вил для испытаний, имитирующих движение
Для испытаний, имитирующих движение (испытания 2, 4, 5, 7, 8 и 9), высота подъема измеряется от основания вил и должна быть 300 мм от поверхности опрокидывающей платформы.
4.5. Положение верхнего груза в случае, если погрузчик используется в качестве двойного штабелера
Для погрузчиков, работающих с двумя грузами одновременно, с одним грузом на опорной раме и другим на вилах, верхний груз должен быть размещен так, чтобы нижняя часть верхних вил находилась:
- выше 1100 мм от рабочей поверхности опорной рамы для погрузчиков, предназначенных для работы с грузом высотой 500 мм,
- выше 1300 мм от рабочей поверхности опорной рамы для погрузчиков, предназначенных для работы с грузом высотой 600 мм.
Устойчивость погрузчиков проверяется в соответствии с
таблицей 1.
(справочное)
СВЕДЕНИЯ О СООТВЕТСТВИИ МЕЖГОСУДАРСТВЕННЫХ СТАНДАРТОВ
ССЫЛОЧНЫМ МЕЖДУНАРОДНЫМ СТАНДАРТАМ
Таблица ДА.1
Обозначение и наименование ссылочного международного стандарта | Степень соответствия | Обозначение и наименование соответствующего межгосударственного стандарта |
ISO 5053 Тележки грузовые самоходные. Терминология | - | |
ISO 22915-1 Автопогрузчики промышленные. Проверка устойчивости. Часть 1. Общие положения | - | <*> |
<*> Соответствующий межгосударственный стандарт отсутствует. До его утверждения рекомендуется использовать перевод на русский язык данного международного стандарта. Перевод данного международного стандарта находится в Федеральном информационном фонде технических регламентов и стандартов. |