Главная // Актуальные документы // ГОСТ (Государственный стандарт)СПРАВКА
Источник публикации
М.: Стандартинформ, 2016
Примечание к документу
Документ
введен в действие с 1 апреля 2016 года.
Название документа
"ГОСТ ISO 16932-2014. Межгосударственный стандарт. Стекло и изделия из него. Защитное остекление, стойкое к воздействию бурь. Метод испытания и классификация"
(введен в действие Приказом Росстандарта от 15.04.2015 N 262-ст)
"ГОСТ ISO 16932-2014. Межгосударственный стандарт. Стекло и изделия из него. Защитное остекление, стойкое к воздействию бурь. Метод испытания и классификация"
(введен в действие Приказом Росстандарта от 15.04.2015 N 262-ст)
агентства по техническому
регулированию и метрологии
от 15 апреля 2015 г. N 262-ст
МЕЖГОСУДАРСТВЕННЫЙ СТАНДАРТ
СТЕКЛО И ИЗДЕЛИЯ ИЗ НЕГО
ЗАЩИТНОЕ ОСТЕКЛЕНИЕ, СТОЙКОЕ К ВОЗДЕЙСТВИЮ БУРЬ
МЕТОД ИСПЫТАНИЯ И КЛАССИФИКАЦИЯ
Glass and glass products. Destructive-windstorm-resistant
security glazing. Test method and classification
(ISO 16932:2007, IDT)
ГОСТ ISO 16932-2014
Дата введения
1 апреля 2016 года
Цели, основные принципы и порядок проведения работ по межгосударственной стандартизации установлены
ГОСТ 1.0-92 "Межгосударственная система стандартизации. Основные положения" и
ГОСТ 1.2-2009 "Межгосударственная система стандартизации. Стандарты межгосударственные, правила и рекомендации по межгосударственной стандартизации. Правила разработки, принятия, применения, обновления и отмены"
1 ПОДГОТОВЛЕН Открытым акционерным обществом "Институт стекла" (ТК 41 "Стекло")
2 ВНЕСЕН Федеральным агентством по техническому регулированию и метрологии (Росстандарт)
3 ПРИНЯТ Межгосударственным советом по стандартизации, метрологии и сертификации (протокол от 20 октября 2014 г. N 71-П)
За принятие стандарта проголосовали:
Краткое наименование страны по МК (ИСО 3166) 004-97 | Код страны по МК (ИСО 3166) 004-97 | Сокращенное наименование национального органа по стандартизации |
Армения | AM | Минэкономики Республики Армения |
Беларусь | BY | Госстандарт Республики Беларусь |
Казахстан | KZ | Госстандарт Республики Казахстан |
Киргизия | KG | Кыргызстандарт |
Молдова | MD | Молдова-Стандарт |
Россия | RU | Росстандарт |
Таджикистан | TJ | Таджикстандарт |
Узбекистан | UZ | Узстандарт |
Украина | UA | Минэкономразвития Украины |
4
Приказом Федерального агентства по техническому регулированию и метрологии от 15 апреля 2015 г. N 262-ст межгосударственный стандарт ГОСТ ISO 16932-2014 введен в действие в качестве национального стандарта Российской Федерации с 1 апреля 2016 г.
5 Настоящий стандарт идентичен международному стандарту ISO 16932:2007 Glass in building - Destructive-windstorm-resistant security glazing - Test and classification (Стекло в строительстве. Защитное остекление, стойкое к воздействию бурь. Испытание и классификация).
Наименование настоящего стандарта изменено относительно наименования международного стандарта в связи с особенностями построения межгосударственной системы стандартизации.
Международный стандарт разработан техническим комитетом по стандартизации ISO/TC 160 "Стекло в строительстве" Международной организации по стандартизации (ISO).
Перевод с английского языка (en).
Официальные экземпляры международного стандарта, на основе которого подготовлен настоящий межгосударственный стандарт, и международного стандарта, на который дана ссылка, имеются в Федеральном агентстве по техническому регулированию и метрологии.
В разделе "Нормативные ссылки" ссылка на международный стандарт актуализирована.
Сведения о соответствии межгосударственного стандарта ссылочному международному стандарту приведены в дополнительном приложении ДА.
Степень соответствия - идентичная (IDT)
--------------------------------
<*>
Приказом Федерального агентства по техническому регулированию и метрологии от 15 апреля 2015 г. N 262-ст стандарт
ГОСТ Р ИСО 16932-2011 отменен с 1 апреля 2016 г.
7 ВВЕДЕН ВПЕРВЫЕ
Информация об изменениях к настоящему стандарту публикуется в ежегодном информационном указателе "Национальные стандарты", а текст изменений и поправок - в ежемесячном информационном указателе "Национальные стандарты". В случае пересмотра (замены) или отмены настоящего стандарта соответствующее уведомление будет опубликовано в ежемесячном информационном указателе "Национальные стандарты". Соответствующая информация, уведомление и тексты размещаются также в информационной системе общего пользования - на официальном сайте Федерального агентства по техническому регулированию и метрологии в сети Интернет
1.1 Настоящий стандарт устанавливает метод определения стойкости защитного остекления к опасным природным явлениям на основе моделирования явлений, возникающих во время бури. Классификация предназначена для оценки способности остекления противостоять разрушению во время тропического циклона со скоростью ветра 50 м/с и более. Удары снарядами и циклические перепады статического давления, используемые при испытании, имитируют летящие обломки и перепады давления, возникающие во время бури. Остекление испытывают в стандартной раме. Класс защиты выбирают в зависимости от географического положения с использованием соответствующей скорости ветра, давления и уровня защиты.
1.2 Метод испытания позволяет определить характеристики защитного остекления, применяемого в светопрозрачных конструкциях, в условиях, возникающих во время бури, имитируемых с использованием ударов снарядами, сопровождаемых циклическими перепадами статического давления.
1.3 Для моделирования характерных для бури условий - летящих обломков, перепадов давления применяют устройство для метания снарядов, пневматическую систему и испытательную камеру.
1.4 Характеристики, полученные с помощью настоящего метода испытания, определяют способность остекления ограждающих конструкций здания противостоять разрушению во время бури.
Для применения настоящего стандарта необходим следующий ссылочный документ. Для недатированных ссылок применяют последнее издание ссылочного документа (включая все его изменения)
ISO 48:2010 Rubber, vulcanized or thermoplastic - Determination of hardness (hardness between 10 IRHD and 100 IRHD) (Резина вулканизированная или термопластичная. Определение твердости (твердость от 10 до 100 IRHD)).
В настоящем стандарте применены следующие термины с соответствующими определениями:
3.1 защитное остекление (security glazing): Изделия из стекла, применяемые для остекления световых проемов, обычно прозрачные или просвечивающие, предназначенные для защиты людей или имущества от опасных природных явлений.
3.2 буря (destructive windstorm): Природное явление с сильными устойчивыми ветрами и шквалами, например, ураган или тайфун (тропический циклон), характеризуемое базовой скоростью ветра 50 м/с и более и летящими обломками.
3.3 базовая скорость ветра V (basic wind speed): Скорость ветра, определенная уполномоченными организациями.
Примечание - Базовая скорость ветра является основой для расчета скорости устойчивого ветра в определенной местности при урагане или тайфуне (тропическом циклоне), при использовании 50-летнего периода повторяемости или ежегодной вероятности 0,02.
3.4 светопрозрачная конструкция (fenestration assembly): Система остекления, предназначенная для установки в здание (например, наружные окна и остекленные двери).
3.5 перепад давления воздуха
P (air-pressure differential): Заданный максимальный перепад статического давления воздуха через образец, создающий внутреннюю или внешнюю нагрузку.
Примечание - Перепад давления воздуха выражается в паскалях (Па) или кратных им единицах.
3.6 снаряд (missile): Предмет, который выстреливают в образец.
3.7 положительная (или отрицательная) циклическая испытательная нагрузка [positive (or negative) cyclic test load]: Заданный перепад статического давления воздуха, создающий внутреннюю или внешнюю нагрузку, которой образец подвергается в течение ряда циклов.
3.8 образец (test specimen): Материалы и элементы остекления, установленные в стандартную раму (см.
приложение B).
3.9 программа испытательной нагрузки (test-loading programme): Полная последовательность циклов воздушного давления, применяемая к образцу.
3.10 деревянный снаряд (lumber missile): Изделие из сухой мягкой строительной древесины, которое соударяется с поверхностью остекления образца.
3.11 летящие обломки (windborne debris): Предметы, переносимые ветром при бурях.
3.12 расчетное давление (design pressure): Разность однородного статического давления воздуха внутри и снаружи, для которой образец рассчитан в условиях эксплуатационной нагрузки с применением обычных строительно-технических требований и принципов.
Примечание - Давление определяют аналитически или при помощи аэродинамической трубы.
4.1 Общие положения
Настоящий метод состоит в установке образца и проведении испытания в соответствии с выбранным классом защиты, с нанесением ударов снарядами и последующим созданием на образце циклических перепадов статического давления в соответствии с заданной программой испытательной нагрузки. При этом контролируют и оценивают состояние образца и фиксируют результаты.
4.2 Назначение
Целью настоящего стандарта является определение стойкости различных материалов остекления и систем остекления к опасным факторам бурь. Классификация в соответствии с настоящим стандартом обеспечивает основу для оценки способности элементов ограждающих конструкций зданий противостоять разрушению во время урагана или тайфуна (тропического циклона), что позволит минимизировать разрушительное воздействие бури на внутреннее пространство здания и снизить величину внутреннего давления.
4.3 Варианты применения стандарта
Предусмотрены два варианта применения настоящего стандарта:
a) испытание материала остекления на соответствие установленному и требуемому "уровню защиты" для классификации согласно
9.3;
b) испытание материала остекления при иных условиях, без классификации, предписанной уполномоченными органами; в этом случае для проведения испытания следует представить обязательную информацию, приведенную в
приложении A.
5. Испытательное оборудование
5.1 Общие требования
Для испытания может быть использовано любое оборудование, позволяющее проводить испытание в пределах допускаемых отклонений.
5.2 Оборудование
5.2.1 Монтажная рама
Данное приспособление в процессе испытания удерживает наружную испытательную раму (см.
приложение B) в вертикальном положении. Максимальный прогиб наибольшей стороны монтажной рамы при ударе или максимальном установленном перепаде статического давления воздуха не должен превышать
L/360, где
L - наибольшая длина элемента монтажной рамы без учета основания. Прогиб рамы измеряют в точке максимального отклонения в направлении, перпендикулярном к плоскости образца. Монтажная рама должна быть встроена в испытательную камеру, или следует предусмотреть возможность ее установки в испытательную камеру до или после ударов снарядами. Монтажная рама должна быть закреплена так, чтобы исключить возможность ее смещения во время ударов по образцу. Характеристики внутренней и наружной рам, удерживающих образец, приведены в
приложении B.
5.2.2 Испытательная камера циклического давления воздуха
Камера представляет собой отгороженное пространство или короб с отверстием, напротив которого устанавливают образец. Камера должна выдерживать заданный циклический перепад статического давления и иметь достаточную глубину для предотвращения контакта с образцом при перепадах давления. Для измерения циклических перепадов статического давления следует предусматривать выпуски, которые должны быть расположены так, чтобы нагнетаемый или откачиваемый из испытательной камеры воздух или другие воздушные потоки не оказывали влияния на результаты измерения.
5.2.3 Пневматическая система
Регулируемый вентилятор, система нагнетания сжатого воздуха/вакуумирования или другая система, обеспечивающая создание требуемого максимального перепада давления воздуха (воздействие изнутри и снаружи) по разные стороны образца. Для создания и управления заданными перепадами давления может быть использована любая система, обеспечивающая выполнение заданной программы испытательной нагрузки. Используют системы управления с клапанами, управляемыми вручную, электроприводом или сервоприводом с программным управлением.
5.2.4 Средства измерения давления воздуха
Для измерения разности давлений по разные стороны образца применяют устройства измерения давления воздуха с погрешностью +/- 2% от максимального предела измерения или +/- 100 Па (выбирают меньшую) и временем отклика менее 50 мс. Например, могут быть использованы механические манометры или электронные датчики давления.
5.2.5 Устройство для метания снарядов
Данное устройство предназначено для метания снаряда с заданной скоростью в направлении заданной точки удара (см.
приложение C). На снаряд не должно действовать ускорение, обусловленное силой гравитации, в момент удара в направлении нормали к образцу.
5.2.6 Система измерения скорости
Система, позволяющая измерить скорость снаряда с учетом допусков, указанных в
7.3.2.
5.2.7 Снаряды
5.2.7.1 Общие требования
Следует использовать один или более указанных ниже снарядов, соответствующих классификации по
9.2.
При использовании других снарядов их массу, размер, форму и скорость удара определяют в соответствии с расчетной базовой скоростью ветра.
5.2.7.2 Снаряд-шарик
Твердый стальной шар массой 2 г +/- 5% номинальным диаметром 8 мм и скоростью удара от 0,40 до 0,80 базовой скорости ветра (см.
таблицу 4).
5.2.7.3 Деревянный снаряд
Деревянные снаряды имеют следующие стандартные характеристики:
- относительная плотность 0,48;
- твердость 2600 Н (измеренная модифицированным методом Янка
[8]);
- линейная плотность от 1,61 до 1,79 кг/м при размерах поперечного сечения 38 x 89 мм.
Деревянный брусок, обычно называемый "2 x 4s" в соответствии с его номинальными размерами 2 x 4 дюйма, должен иметь массу и скорость удара, указанные в таблице 1. Снаряд не должен содержать пороков, таких как сучки, трещины, следы коры, на расстоянии 30 см от ударного края. Ударный край должен иметь форму прямоугольника. Если этого требует конструкция устройства для метания, к заднему краю большого снаряда может быть прикреплен круглый деревянный поддон массой не более 0,2 кг, при этом масса большого снаряда включает массу поддона.
Таблица 1
Тип снаряда | Снаряд | Скорость удара, м/с |
A | (2 +/- 0,1) г (стальной шарик) | 39,7 |
B | (2,05 +/- 0,1) кг (маленький брусок) | 12,2 |
C | (4,1 +/- 0,1) кг (средний брусок) | 15,3 |
D | (4,1 +/- 0,1) кг (средний брусок) | 24,4 |
E | (6,8 +/- 0,1) кг (большой брусок) | 22,4 |
5.3 Калибровка
5.3.1 Система измерения скорости
Систему измерения скорости калибруют для обеспечения погрешности не более 2% от времени пролета определенного снаряда. Калибровку следует производить с периодичностью, рекомендованной изготовителем, но не ранее чем за шесть месяцев до даты испытания. Система измерения скорости может быть откалибрована одним из следующих способов:
- фотографически, с использованием фотоаппарата и стробоскопа;
- фотографически, с использованием кино- или видеокамеры со скоростью съемки более 500 кадров в секунду, дающей четкое изображение, и устройства покадрового просмотра;
- с использованием гравитации для ускорения свободно падающего предмета, обладающего незначительным сопротивлением воздуху, в синхронизирующей системе со сравнением измеренного времени с теоретическим значением времени пролета;
- с использованием независимо откалиброванной системы измерения скорости с погрешностью +/- 1%.
5.3.2 Датчики давления
Электронные датчики давления следует калибровать с периодичностью один раз в шесть месяцев, с использованием стандартной калибровочной системы или манометра с ценой деления не более 10 Па (1 мм водяного столба).
5.3.3 Манометры
Калибровка манометров обычно не требуется при условии, что приборы используют при температурах, близких к расчетным эксплуатационным характеристикам.
6.1 Общие требования
Образец представляет собой панель остекления, установленную в испытательную раму.
Таким же образом допускается испытывать готовые светопрозрачные конструкции.
6.2 Материал остекления
Материал остекления должен представлять собой серийный промышленный образец и иметь номинальные размеры (1100 +/- 5) x (900 +/- 5) мм.
6.3 Количество образцов
Испытания с использованием деревянных снарядов или снарядов-шариков проводят на трех образцах.
6.4 Порядок испытаний
Образцы, выдержавшие испытания ударом с использованием деревянных снарядов или снарядов-шариков, подвергают испытанию циклическим давлением воздуха.
7.1 Общие требования
Материалы остекления испытывают для определения класса защиты в соответствии с условиями их использования, как указано в
разделе 9. Базовую скорость ветра и уровень защиты устанавливают в соответствии с требованиями уполномоченного органа или заказчика испытаний. Если испытание проводят с целью определения класса защиты остекления, должна быть представлена следующая информация:
a) базовая скорость ветра;
b) уровень защиты;
c) максимальный заданный перепад давления воздуха (если отличается от данных
таблицы 4).
Если материал остекления испытывают при условиях, отличающихся от установленных уполномоченным органом, должна быть представлена информация в соответствии с
приложением A.
7.2 Подготовка
7.2.1 Монтаж
Образец устанавливают и закрепляют в стандартной монтажной раме в вертикальном положении. Образец не следует извлекать из монтажной рамы до окончания испытания.
7.2.2 Выдерживание образцов при температуре окружающей среды
Если не указано иначе, образцы выдерживают не менее 4 ч при температуре от 18 °C до 28 °C.
Для подготовки образца к удару снарядом необходимо:
- закрепить образец в монтажной раме так, чтобы снаряд (деревянный брусок или шарик) ударял по наружной поверхности установленного образца;
- разместить устройство для метания снаряда так, чтобы расстояние от его выходного отверстия до образца составляло не менее 1,5 длины снаряда, но не менее 1,80 м;
- установить соответствующие сигнальные/предупредительные устройства для того, чтобы исключить возможность нахождения людей в зоне между устройством для метания и образцом во время испытания;
- взвесить каждый снаряд до начала испытания;
- загрузить снаряд в устройство для метания;
- настроить систему измерения скорости;
- нацелить устройство для метания так, чтобы снаряд попал в заданную зону удара на образце.
7.3 Испытание ударами снарядов
Удары шариками или деревянными снарядами производят со скоростью удара, указанной в
таблице 1. Данные о снарядах, применяемых для проведения испытаний с целью классификации, приведены в
таблице 3.
7.3.2 Допуски по скорости снаряда
Отклонение измеренной скорости снаряда от заданной в любой точке после того, как ускорение, приданное устройством для метания снарядов, станет равным нулю, не должно превышать:
+/- 2% при заданной скорости <= 23 м/с;
+/- 1% при заданной скорости > 23 м/с.
7.3.3 Угол удара
В момент удара продольная ось снарядов (при ее наличии) не должна отклоняться более чем на 5° от нормали к поверхности образца в заданной точке удара.
Примечание - Для проверки того, что вероятное отклонение траектории снаряда до удара менее 5° к горизонтали, измеряют расстояние по вертикали до центра выходного отверстия устройства для метания hB (при его горизонтальном расположении) и расстояние по вертикали до точки удара на образце hI.

(1)
где d - расстояние от выходного отверстия устройства для метания до образца по горизонтали.
7.3.4.1 Испытание деревянным снарядом
По остеклению каждого образца наносят один удар, как показано на рисунке
1 a).
a) Производят удар снарядом по первому образцу в пределах окружности радиусом 65 мм в центре образца.
b) Производят удар снарядом по второму образцу в пределах окружности радиусом 65 мм с центром, расположенным на расстоянии 150 мм от угла опорной конструкции.
c) Производят удар снарядом по третьему образцу в пределах окружности радиусом 65 мм с центром, расположенным на расстоянии 150 мм от угла опорной конструкции, расположенного по диагонали от угла, по которому был нанесен предыдущий удар.
a) Зона удара при испытании деревянным снарядом
(для каждого типа остекления)
b) Зоны ударов при испытании шариками
(для каждого типа остекления)
A - образец 1; B - образец 2; C - образец 3
Рисунок 1 - Зоны ударов
7.3.4.2 Испытание снарядом-шариком
По остеклению каждого образца наносят три удара десятью стальными шариками одновременно, как показано на рисунке
1 b). На каждую зону удара в общей сложности приходится 30 ударов стальными шариками.
a) Угловые зоны ударов должны находиться в пределах окружности радиусом 250 мм с центром, расположенным на расстоянии 275 мм от сторон угла.
b) Краевые зоны ударов должны находиться в пределах окружности радиусом 250 мм с центром, расположенным на расстоянии 275 мм от края на равном расстоянии от углов.
c) Центральная зона удара должна находиться в пределах окружности радиусом 250 мм с центром, расположенным в месте пересечения горизонтальной и вертикальной центральных осевых линий образца.
7.3.5 Повторное испытание
При необходимости повторного испытания повторяют действия по
7.2.3,
7.3.1 -
7.3.4 для всех дополнительных зон удара, заданных для образца.
7.4 Циклическое испытание давлением воздуха
7.4.1 Общие требования
Образцы, выдержавшие испытание ударом деревянным снарядом или снарядами-шариками, подвергают циклическому испытанию давлением воздуха. Если монтажная рама не встроена в испытательную камеру, ее прикрепляют к камере так, чтобы наружная сторона образца располагалась снаружи камеры.
7.4.2 Утечка воздуха
Если в процессе испытания заданный максимальный перепад давления не может быть достигнут из-за чрезмерной утечки воздуха, для герметизации трещин и щелей, через которые происходит утечка, можно использовать клейкую ленту. Клейкую ленту не следует использовать там, где она может существенно ограничить относительное смещение соседних частей образца. Если чрезмерная утечка существует, но нельзя использовать клейкую ленту, обе поверхности образца можно закрыть одним слоем полиэтиленовой или другой полимерной пленки толщиной не более 0,050 мм. Чтобы пленка не снижала нагрузку, приложенную к образцу, и не мешала его перемещению или разрушению, ее закрепляют свободно с дополнительными складками в каждом углу и на всех выступах и углублениях. Тогда при приложении нагрузки не будет помех, вызванных натяжением полимерной пленки.
7.4.3 Перепад давления воздуха
Максимальный перепад давления воздуха
P (см.
3.5) устанавливают по указанию уполномоченного органа или принимают равным расчетному давлению, определенному для наихудших условий. Для целей классификации используют данные, приведенные в
таблице 4.
7.4.4 Циклическая испытательная нагрузка
Если не указано иное, применяют программу циклической испытательной нагрузки с перепадами статического давления воздуха в соответствии с таблицей 2, где P - максимальный перепад давления воздуха. Если не указано иное, продолжительность каждого цикла давления воздуха должна составлять от 1 до 5 с. Временной интервал между последовательными циклами должен быть не более 1 с.
Таблица 2
Циклические перепады статического давления воздуха
Последовательность нагружения | Направление нагружения | Перепад давления воздуха | Количество циклов давления воздуха |
1 | Положительное | 0,2 P - 0,5 P | 3500 |
2 | Положительное | 0,0 P - 0,6 P | 300 |
3 | Положительное | 0,5 P - 0,8 P | 600 |
4 | Положительное | 0,3 P - 1,0 P | 100 |
5 | Отрицательное | 0,3 P - 1,0 P | 50 |
6 | Отрицательное | 0,5 P - 0,8 P | 1050 |
7 | Отрицательное | 0,0 P - 0,6 P | 50 |
8 | Отрицательное | 0,2 P - 0,5 P | 3350 |
Допускаются перерывы цикла для технического обслуживания и ремонта оборудования.
Во время испытания не допускается соприкосновение образца с испытательной камерой.
8.1 Общие требования
При испытании, проведенном в соответствии с настоящим стандартом, большая часть остекления должна остаться неповрежденной (без отверстий). Для ветровой зоны 4 или для уровня защиты 4 остекление должно противостоять проникновению всех снарядов.
8.2 Отверстия
При испытании в остеклении не должны образовываться отверстия, через которые может проникнуть твердый шар диаметром 76 мм, и щели длиной более 125 мм.
8.3 Смещение края
Если в результате удара остекление выпало или сместилось относительно края испытательной рамы без разрушения, испытание завершают, и остеклению не присваивают класс защиты. Испытание повторяют на новом образце.
9.1 Требования
Класс защиты остекления зависит главным образом от ветровой зоны и уровня защиты. При испытании с использованием стандартной рамы (см.
приложение B) материал остекления, удовлетворяющий требованиям
раздела 8, классифицируют как обеспечивающий приемлемую защиту от бури в зависимости от количества ударов, массы/размера, скорости снаряда и максимального перепада давления
P (см.
таблицу 4). Класс защиты остекления выражают следующими показателями:
- ветровой зоной (1 - 4) для базовой скорости ветра;
- уровнем защиты (1 - 4);
- расчетной высотой конструкции над уровнем земли.
Если не оговорено иное, снаряд выбирают по
таблицам 1 и 3.
Таблица 3
Снаряды, применяемые для испытаний с целью классификации
Высота конструкции (возвышение), м | Уровень защиты |
Уровень 1 | Уровень 2 | Уровень 3 | Уровень 4 |
> 10 | <= 10 | > 10 | <= 10 | > 10 | <= 10 | > 10 | <= 10 |
Ветровая зона 1 | N | N | A | B | C | C | C | D |
Ветровая зона 2 | N | N | A | B | C | C | C | D |
Ветровая зона 3 | A | B | A | C | C | D | D | E |
Ветровая зона 4 | A | B | B | D | C | D | D | E |
Примечание - A, B, C, D, E - типы применяемых снарядов по таблице 1; N - испытание не требуется. |
Таблица 4
Перепады давления воздуха
P, применяемые
для испытаний с целью классификации
Зона | Базовая скорость ветра, м/с | Перепад давления воздуха P, для испытания остекления, Па |
Ветровая зона 1 | 50 <= V < 55 | 2490 |
Ветровая зона 2 | 55 <= V < 60 | 2970 |
Ветровая зона 3 | 60 <= V < 65 | 3450 |
Ветровая зона 4 | V >= 65 | 3640 |
Установлено четыре уровня защиты (1 - 4). Необходимый уровень защиты задает уполномоченный орган или заказчик испытания.
Примечание - Примеры уровней защиты:
- уровень 1 предназначен для защиты в регионах с низкой опасностью возникновения бурь, вдали от береговых линий, включая области, где вероятность появления обломков снижена за счет тщательной подготовки территорий. Данный уровень защиты рекомендуется для "полностью подготовленных территорий" с низкой вероятностью разрушений;
- уровень 2 предназначен для базовой защиты в регионах с обычным уровнем опасности возникновения бурь. Рекомендуется для минимальной защиты на подготовленных территориях, при наличии нормативных требований относительно защиты от летящих обломков;
- уровень 3 предназначен для усиленной защиты подготовленной территории, где необходим повышенный уровень защиты. Рекомендуется для регионов с развитой системой правового регулирования в сфере защиты от бурь;
- уровень 4 предназначен для защиты важнейших объектов в регионах с законодательным регулированием защиты от разрушений или для территорий, на которых требуется усиленная защита от летящих обломков в связи с наличием нормативных требований или суровыми климатическими условиями.
9.4 Зоны базовых скоростей ветра
Различают четыре зоны базовых скоростей ветра:
- ветровая зона 1: базовая скорость ветра равна или более 50 м/с и менее 55 м/с (50 м/с <= V < 55 м/с);
- ветровая зона 2: базовая скорость ветра равна или более 55 м/с и менее 60 м/с (55 м/с <= V < 60 м/с);
- ветровая зона 3: базовая скорость ветра равна или более 60 м/с и менее 65 м/с (60 м/с <= V < 65 м/с);
- ветровая зона 4: базовая скорость ветра равна или более 65 м/с (V >= 65 м/с).
Ветры со скоростью более 70 м/с, обладающие огромной разрушительной силой, в настоящем стандарте не рассматриваются.
10.1 Общие сведения
Данный раздел должен содержать следующие сведения:
a) дату испытания и оформления протокола;
b) наименование и адрес испытательной лаборатории;
c) обозначение изготовителя;
d) описание образцов, толщину остекления, количество испытанных образцов;
e) подробные схемы или фотографии образцов (при необходимости). Все отклонения от схем и изменения образцов, произведенные для получения указанных в протоколе результатов, должны быть отмечены на схемах и в протоколе;
f) идентификационные данные или описание особых требований или критериев оценки (при проведении испытаний с целью проверки соответствия образца особым требованиям или оценки по принципу "прошел/не прошел");
g) результаты испытаний каждого образца.
10.2 Испытание ударом
Данный раздел должен содержать следующие сведения:
a) зоны ударов для каждого образца;
b) подробное описание снаряда, с указанием размеров и массы;
c) скорость и расположение снаряда при ударе;
d) температуру, при которой выдерживались образцы.
10.3 Циклическое испытание давлением воздуха
Данный раздел должен содержать следующие сведения:
a) циклический перепад статического давления и последовательность нагружения;
b) максимальный перепад давления воздуха P и его отношение к расчетному давлению;
c) сведения об использовании клейкой ленты или пленки для устранения утечки воздуха и заключение специалиста об их влиянии на результаты испытания.
10.4 Результаты
Данный раздел должен содержать следующие сведения:
a) описание состояния образцов после завершения каждого этапа испытания, включающее подробную характеристику повреждений и другие существенные сведения;
b) отметку о том, что испытания проведены в соответствии с требованиями настоящего стандарта;
c) результаты (прошел/не прошел) для каждого образца;
d) класс защиты остекления в соответствии с
разделом 9;
e) сведения о выполнении программы испытаний или о результатах оценки образцов (прошел/не прошел) в соответствии со всеми заданными критериями;
f) фамилии сотрудников, принимавших участие в проведении испытания и оформлении протокола;
g) подписи ответственных лиц, контролирующих проведение испытаний, и перечень наблюдателей;
h) дополнительные данные или информацию, необходимую для лучшего понимания результатов испытания, заключения или рекомендации (приводят в приложении к протоколу).
(обязательное)
ОБЯЗАТЕЛЬНАЯ ИНФОРМАЦИЯ ДЛЯ ИСПЫТАНИЯ
Если испытание проводят не с целью классификации остекления в соответствии с
разделом 9 и при других условиях, заказчик испытания должен представить следующую информацию:
a) количество образцов;
b) температуру и минимальное время выдерживания образцов при температуре окружающей среды (при необходимости);
c) критерии "прошел/не прошел", если отличаются от требований
раздела 8;
d) базовую скорость ветра;
e) максимальный перепад давления воздуха и его отношение к расчетному давлению;
f) сведения о снаряде и его место в классификации, приведенной в
разделе 9:
1) описание снаряда, с указанием размеров, массы и допускаемых отклонений,
2) скорость снаряда при ударе или соотношение скорости снаряда с базовой скоростью ветра и положение снаряда в момент удара,
3) количество ударов,
4) зоны ударов на образцах с указанием допусков;
g) сведения о программе испытательной нагрузки и ее взаимосвязь с классификацией, указанной в
разделе 9:
1) положительная и отрицательная циклическая испытательная нагрузка,
2) количество и последовательность циклов циклической испытательной нагрузки,
3) минимальная и максимальная продолжительность каждого цикла;
h) свидетельство о калибровке (если требуется).
(обязательное)
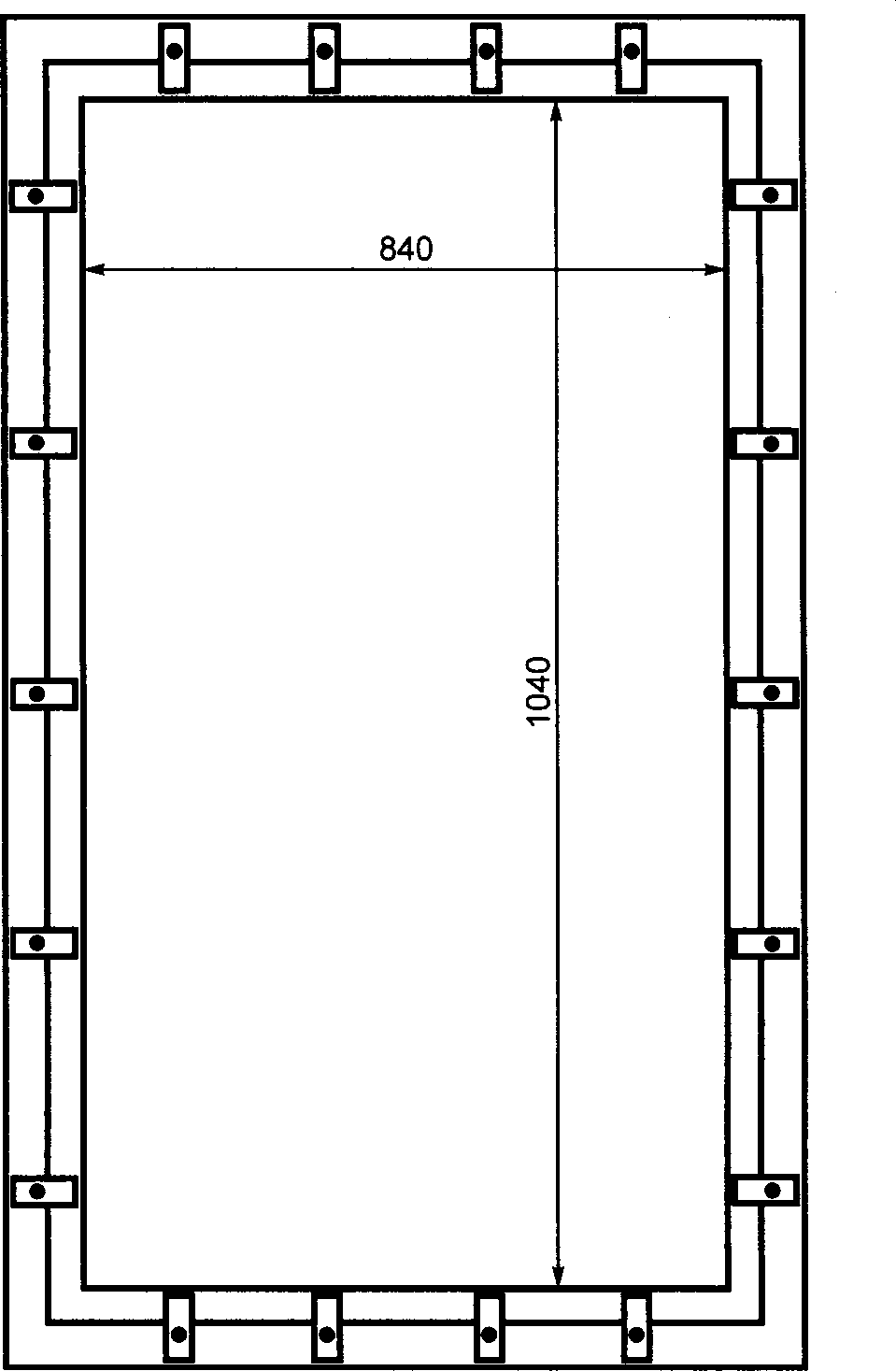
СТАНДАРТНАЯ ИСПЫТАТЕЛЬНАЯ РАМА
Испытания в соответствии с настоящим стандартом проводят на образцах материалов остекления, применяемых для окон, дверей, навесных фасадов и других светопрозрачных конструкций.
Стандартная испытательная рама предназначена для закрепления прямоугольного остекления, как показано на
рисунках B.1 -
B.3.
Панели остекления, закрепленные в стандартной испытательной раме, испытывают в соответствии с требованиями, установленными настоящим стандартом.
Рамы стандартных размеров, указанных на
рисунках B.1 -
B.3, закрывают края остекления на (30 +/- 5) мм по всему периметру.
Между образцом и рамой с креплениями должна быть проложена резиновая лента толщиной (4,0 +/- 0,5) мм, шириной (30 +/- 5) мм, твердостью (50 +/- 10) IRHD в соответствии с ISO 48.
Нижней кромкой остекление должно опираться на резиновую ленту толщиной 4 мм, твердостью (50 +/- 10) IRHD в соответствии с ISO 48, шириной, равной толщине образца.
Образец должен быть равномерно закреплен по четырем сторонам с усилием, достаточным для того, чтобы его края оставались в одном положении в процессе испытания, но так, чтобы при этом в образце не возникали напряжения, которые могут оказать влияние на результаты испытания.
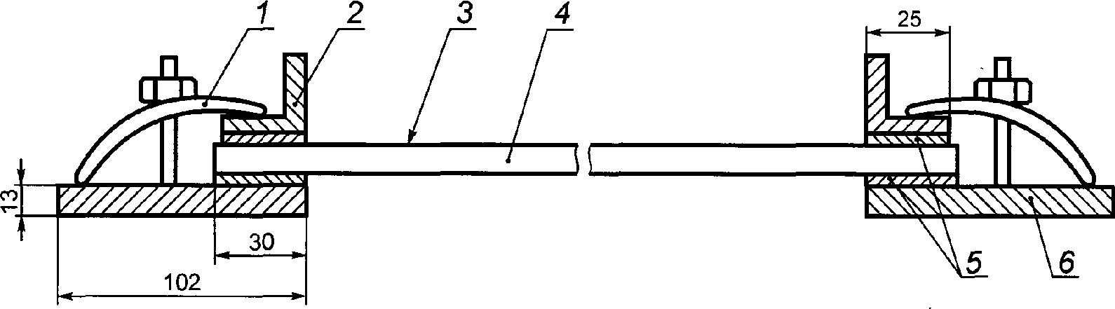
1 - зажим; 2 - внутренняя рама; 3 - поверхность остекления
900 x 1100 мм; 4 - образец; 5 - резина; 6 - наружная рама
Рисунок B.1 - Схема монтажа стандартной рамы
Изготовлено из стальной ленты 102 x 13 мм
Рисунок B.2 - Наружная рама
Изготовлено из стальных уголков 25 x 25 x 3 мм
Рисунок B.3 - Внутренняя рама
(справочное)
РЕКОМЕНДОВАННЫЕ УСТРОЙСТВА ДЛЯ МЕТАНИЯ СНАРЯДОВ
C.1 Пневматическая пушка для большого снаряда
C.1.1 Общие требования
Пневматическая пушка запускает большой снаряд при помощи сжатого воздуха. Пушка должна производить удар снарядом при скоростях, указанных в настоящем стандарте. Пушка состоит из четырех основных частей: пневматического привода, декомпрессионного клапана, ствола с опорной рамой и системы измерения скорости для определения скорости снаряда.
C.1.2 Ствол
Ствол пушки для большого снаряда представляет собой трубу номинальным внутренним диаметром 100 мм, длиной не менее длины снаряда. Общая длина ствола равна расстоянию от декомпрессионного клапана до вентиляционных отверстий перед синхронизирующей системой или до дула. Ствол пушки для большого снаряда устанавливают на опорной раме, чтобы легче было направить снаряд в заданную точку удара.
C.1.3 Снаряд
Большой снаряд должен соответствовать требованиям настоящего стандарта. Край снаряда, которым он ударяет образец, называют ударным краем снаряда. Край, противоположный ударному, называют задним краем снаряда. Для облегчения запуска к заднему краю снаряда может быть прикреплен круглый деревянный поддон.
C.1.4 Скорость
Скорость снаряда определяют по заднему краю снаряда после его вылета из ствола. Фотоэлектрические датчики устанавливают в месте, где снаряд не испытывает ускорения при прохождении его заднего края между датчиками.
C.2 Пневматическая пушка для маленьких снарядов
Пневматическая пушка предназначена для запуска маленьких снарядов, размер и скорость которых установлены настоящим стандартом, и состоит из пневматического привода, устройства дистанционного запуска, ствола и синхронизирующей системы. Пушку устанавливают на подвижную опору, чтобы можно было направить снаряд для удара по заданной зоне образца. Для измерения скорости снаряда устанавливают фотоэлектрические датчики на расстоянии не более 150 см от точки удара на образце.
(справочное)
СВЕДЕНИЯ О СООТВЕТСТВИИ МЕЖГОСУДАРСТВЕННОГО СТАНДАРТА
ССЫЛОЧНОМУ МЕЖДУНАРОДНОМУ СТАНДАРТУ
Таблица ДА.1
Сведения о соответствии межгосударственного стандарта
ссылочному международному стандарту другого года издания
Обозначение и наименование ссылочного международного стандарта | Обозначение и наименование международного стандарта другого года издания | Степень соответствия | Обозначение и наименование межгосударственного стандарта |
ISO 48:2010 Резина вулканизированная или термопластичная. Определение твердости (твердость от 10 до 100 IRHD) | ISO 48:1979 Резина вулканизированная. Определение твердости (твердость от 30 до 85 IRHD) | MOD | ГОСТ 20403-75 <*> Резина. Метод определения твердости в международных единицах (от 30 до 100 IRHD) (ISO 48:1979, MOD) |
<*> Внесенные технические отклонения обеспечивают выполнение требований настоящего стандарта. Примечание - В настоящей таблице использовано следующее условное обозначение степени соответствия стандартов: - MOD - модифицированный стандарт. |
[1] | ASTM E1886-05 Standard Test Method for Performance of Exterior Windows, Curtain Walls and Storm Shutters Impacted by Missile(s) and Exposed to Cyclic Pressure Differentials |
[2] | ASTM E1996-06 Standard Specification for Performance of Exterior Windows, Curtain Walls and Storm Shutters Impacted by Windborne Debris in Hurricanes |
[3] | SBCCI Test Standard for Determining Impact Resistance from Windborne Debris, Southern Building, Code Congress International, Inc., 900 Montclair Road, Birmingham, AL 35213-1206, USA, 1994 |
[4] | ANSI/ASCE 7 Minimum Design Loads for Buildings and Other Structures |
[5] | Standard Australia, Australian Standards, SAA Loading code, Part 2: Wind Load, North Sydney, New South Wales, Australia 2060 |
[6] | Technical Record TR 440 Guidelines for Testing and Evaluation of Products for Cyclone-prone Areas, Department of Housing and Construction, Australian Government, Australia, February 1978 |
[7] | TWISDALE L.A., VICERY P.J. and STECKLEY A.C. Analysis of Hurricane Windborne Debris Impact Risk for Residential Structures, Applied Research Associates Inc., Raleigh, North Carolina, USA, March 1996 |
| Wood handbook - Wood as an engineering material. Chapter 4. Mechanical Properties of Wood. Gen. Tech. Rep. FPL-GTR-113. Madison, W: U.S. Department of Agriculture, Forest Service, Forest Products Laboratory, 1999 |