Главная // Актуальные документы // ГОСТ (Государственный стандарт)СПРАВКА
Источник публикации
М.: Стандартинформ, 2016
Примечание к документу
Документ включен в
Перечень международных и региональных (межгосударственных) стандартов, а в случае их отсутствия - национальных (государственных) стандартов, в результате применения которых на добровольной основе обеспечивается соблюдение требований технического
регламента Таможенного союза "О безопасности машин и оборудования" (ТР ТС 010/2011) (
Решение Коллегии Евразийской экономической комиссии от 09.03.2021 N 28).
Документ
введен в действие с 01.05.2017.
Название документа
"ГОСТ ISO 11886-2016. Межгосударственный стандарт. Машины и оборудование строительные. Оборудование для погружения и извлечения свай. Терминология и технические условия на поставку"
(введен в действие Приказом Росстандарта от 23.09.2016 N 1205-ст)
"ГОСТ ISO 11886-2016. Межгосударственный стандарт. Машины и оборудование строительные. Оборудование для погружения и извлечения свай. Терминология и технические условия на поставку"
(введен в действие Приказом Росстандарта от 23.09.2016 N 1205-ст)
агентства по техническому
регулированию и метрологии
от 23 сентября 2016 г. N 1205-ст
МЕЖГОСУДАРСТВЕННЫЙ СТАНДАРТ
МАШИНЫ И ОБОРУДОВАНИЕ СТРОИТЕЛЬНЫЕ
ОБОРУДОВАНИЕ ДЛЯ ПОГРУЖЕНИЯ И ИЗВЛЕЧЕНИЯ СВАЙ
ТЕРМИНОЛОГИЯ И ТЕХНИЧЕСКИЕ УСЛОВИЯ НА ПОСТАВКУ
Building construction machinery and equipment.
Pile driving and extracting equipment.
Terminology and commercial specifications
(ISO 11886:2002, IDT)
ГОСТ ISO 11886-2016
Дата введения
1 мая 2017 года
Цели, основные принципы и основной порядок проведения работ по межгосударственной стандартизации установлены
ГОСТ 1.0-2015 "Межгосударственная система стандартизации. Основные положения" и
ГОСТ 1.2-2015 "Межгосударственная система стандартизации. Стандарты межгосударственные, правила и рекомендации по межгосударственной стандартизации. Правила разработки, принятия, обновления и отмены"
1 ПОДГОТОВЛЕН Обществом с ограниченной ответственностью "ИЦ "ЦНИП СДМ" (ООО "ИЦ "ЦНИП СДМ") на основе собственного аутентичного перевода на русский язык международного стандарта, указанного в
пункте 5
2 ВНЕСЕН Межгосударственным техническим комитетом по стандартизации МТК 267 "Строительно-дорожные машины и оборудование"
3 ПРИНЯТ Межгосударственным советом по стандартизации, метрологии и сертификации (протокол от 29 февраля 2016 г. N 85-П)
За принятие проголосовали:
Краткое наименование страны по МК (ИСО 3166) 004-97 | Код страны по МК (ИСО 3166) 004-97 | Сокращенное наименование национального органа по стандартизации |
Армения | AM | Минэкономики Республики Армения |
Беларусь | BY | Госстандарт Республики Беларусь |
Киргизия | KG | Кыргызстандарт |
Молдова | MD | Молдова-Стандарт |
Россия | RU | Росстандарт |
Таджикистан | TJ | Таджикстандарт |
Узбекистан | UZ | Узстандарт |
4
Приказом Федерального агентства по техническому регулированию и метрологии от 23 сентября 2016 г. N 1205-ст межгосударственный стандарт ГОСТ ISO 11886-2016 введен в действие в качестве национального стандарта Российской Федерации с 1 мая 2017 г.
5 Настоящий стандарт идентичен международному стандарту ISO 11886:2002, ISO 11886:2002/Cor. 1:2006 Building construction machinery and equipment - Pile driving and extracting equipment - Terminology and commercial specifications (Машины и оборудование строительные. Оборудование для погружения и извлечения свай. Терминология и технические условия на поставку) с технической поправкой 1.
Международный стандарт разработан Техническим комитетом по стандартизации ISO/TS 195 "Строительные машины и оборудования" Международной организации по стандартизации (ISO) и утвержден Европейским комитетом по стандартизации CEN в качестве европейского стандарта без внесения изменений.
Перевод с английского языка (en).
Сведения о соответствии межгосударственных стандартов ссылочным международным стандартам приведены в дополнительном
приложении ДА.
Степень соответствия - идентичная (IDT)
6 Настоящий стандарт может быть использован при ежегодной актуализации перечня стандартов, содержащих правила и методы исследований (испытаний), а также стандартов, в результате применения которых на добровольной основе обеспечивается соблюдение требований технического
регламента Таможенного союза "О безопасности машин и оборудования"
7 ВВЕДЕН ВПЕРВЫЕ
Информация об изменениях к настоящему стандарту публикуется в ежегодном информационном указателе "Национальные стандарты" (по состоянию на 1 января текущего года), а текст изменений и поправок - в ежемесячном информационном указателе "Национальные стандарты". В случае пересмотра (замены) или отмены настоящего стандарта соответствующее уведомление будет опубликовано в ежемесячном информационном указателе "Национальные стандарты". Соответствующая информация, уведомление и тексты размещаются также в информационной системе общего пользования - на официальном сайте Федерального агентства по техническому регулированию и метрологии в сети Интернет
Настоящий стандарт устанавливает термины и определения для основных видов механического оборудования для погружения и извлечения свай, таких как сваебойное оборудование на строительной площадке, оборудование для извлечения свай, оборудование для установки свай под определенным углом, оборудование для раскачки и извлечения свай, оборудование для дробления голов свай и т.д.
В настоящем стандарте не рассматривается оборудование для немеханической установки свай, например оборудование для погружения и извлечения свай небольшого сечения с помощью жидкости.
Примечание - В
приложении А показаны примеры оборудования для погружения и извлечения свай.
В настоящем стандарте использованы нормативные ссылки на следующие международные стандарты, для недатированных ссылок применяют последнее издание ссылочного документа:
ISO 11375:1998 Building construction machinery and equipment - Terms and definitions (Машины и оборудование строительные. Термины и определения)
ISO/TR 12603 Building construction machinery and equipment - Classification (Машины и оборудование строительное. Классификация)
EN 996 Piling equipment - Safety requirements (Укладка оборудования. Требования техники безопасности)
В настоящем стандарте применяются термины и определения по ISO 11375 и приведенные ниже:
3.1 оборудование для погружения и извлечения свай (piling equipment): Полный комплект машин и компонентов, разработанных для установки или извлечения свай или других вертикальных элементов.
3.2 базовая машина, ходовое устройство (base carrier, carrier machine): Самоходная машина (устройство), которая(ое) обеспечивает передвижение и рабочее положение сваепогружающего или сваеизвлекающего оборудования вместе со сваей.
Примечание - На ходовом устройстве может быть размещен необходимый источник питания и элементы управления для сваепогружающего или сваеизвлекающего оборудования. Это может быть адаптированный грузоподъемный кран, землеройная машина и другие машины, специально сконструированные или адаптированные для этой цели. Могут быть гусеничные, колесные, рельсовые и плавучие ходовые устройства. Ходовое устройство включает необходимые крепления и разъемы для монтажа рабочего органа сваепогружающего или сваеизвлекающего оборудования.
3.3 базовая машина на гусеничном ходу (crawler-mounted carrier): Машина, передвижение которой осуществляется за счет гусеничного шасси.
3.4 базовая машина на колесном ходу (wheel-mounted carrier): Машина, передвижение которой осуществляется за счет колесного шасси.
3.5 базовая машина на рельсовом ходу (rail-mounted carrier): Машина, ходовая часть которой располагается на рельсах.
3.6 плавучее ходовое устройство (floating carrier): Ходовое устройство, которое закреплено и может двигаться на плавучем средстве.
3.7 погружатель, направляющая система (leader guiding system): Конструкция, на которой монтируется оборудование для погружения и/или извлечения свай.
Примечание - Погружатель или другая направляющая система включает оборудование по установке и извлечению свай, которое будет соответствующим образом направлять и выравнивать сваи. Данная конструкция обеспечивает полную свободу осевого перемещения оборудования по установке и извлечению свай. Кроме того, она может служить системой для изменения угла погружения свай. Погружатель или направляющая система для обеспечения мобильности могут быть закреплены на ходовом устройстве различными способами. Могут быть определены различные конструкции погружателей и направляющих систем (например, жестко закрепленный на ходовом устройстве, установленный на мачте или стреле, подвесной, направляемая обойма или свободно закрепленный).
3.8 жестко закрепленный погружатель (direct-mounted leader): Конструкция, жестко закрепленная на ходовом устройстве с помощью крепежного элемента.
Примечание - Основная нагрузка от рабочего органа, сваи и т.д. приходится на крепежный элемент (см.
3.13) у основания погружателя.
3.9 рабочий орган, установленный на мачте/стреле (boom-supported leader): Конструкция, закрепленная на оголовке мачты/стрелы ходового устройства.
Примечание 1 - Рабочий орган может выступать над оголовком мачты/стрелы ходового устройства. Основная нагрузка от рабочего органа, сваи и т.д. приходится на крепежный элемент погружателя, закрепленного на оголовке мачты/стрелы.
Примечание 2 - Дополнительно, если того требуют условия устойчивости, крепление погружателя и крепежного элемента может быть выполнено в другой точке.
3.10 подвесной погружатель (swinging leader): Конструкция, вывешенная на оголовке мачты/стрелы ходового устройства.
3.11 направляемая обойма (guide cage): Конструкция, которая обеспечивает направление погружения или извлечения свай и позволяющая производить ограниченное осевое смещение во время операций по погружению/извлечению свай.
3.12 свободное соединение (ree-riding attachment): Устройство, фиксирующееся внутри конструкции погружателя или извлекателя свай.
Примечание - Устройство для свободного соединения включает в себя свайную муфту, стойки, прокладки и зажимное оборудование (см.
3.34).
3.13 крепежный элемент (leader attachment): Элемент, с помощью которого погружатель крепится к ходовому устройству.
Примечание - Могут быть использованы различные соединения (например, карданные валы, скользящие или телескопические элементы).
3.14 сваебойная установка (piling rig): Ходовое устройство с крепежным элементом погружателя, погружателем, но без сваепогружающего или сваеизвлекающего и другого оборудования.
3.15 оборудование для погружения и/или извлечения свай (pile installation and extraction equipment): Оборудование, разработанное для создания поступательного движения сваи относительно поверхности грунта.
Примечание 1 - Типы оборудования разделяются на сваепогружатели (движение сваи в грунт) и сваеизвлекатели (движение сваи из грунта).
Примечание 2 - Машины для погружения и извлечения свай делятся на три основные группы: ударного, вибрационного и статического типов.
3.16 оборудование ударного типа (impact equipment): Оборудование, производящее ударную энергию за счет поднятия ударного органа и сбрасывания его на сваю с целью передачи энергии в относительно короткий период времени.
3.17 свайный молот (impact hammer): Оборудование, погружающее сваи в грунт и работающее согласно принципу действия ударного оборудования (см.
3.16).
Примечание - Ударная нагрузка может воздействовать на сваю напрямую или косвенно. В случае косвенного воздействия на сваю возможно использование дополнительных элементов между молотом и сваей, в виде наковальни с любым типом наголовника сваи в сборе (см.
3.30 и
3.31). В зависимости от привода можно выделить следующие виды ударных молотов: паровоздушные, дизельные, с гидравлическим приводом и др.
3.18 молот механического типа (winch-operated impact hammer): Оборудование, в котором ударная нагрузка создается за счет подъема и сбрасывания определенного груза канатом, лебедкой или аналогичными устройствами.
3.19 паровоздушный молот (steam/air-operated impact hammer): Оборудование, в котором ударная нагрузка создается за счет давления воздуха или пара.
3.20 дизельный молот (diesel-powered impact hammer): Оборудование, в котором ударная нагрузка создается за счет расширения газов, образующихся при сгорании дизельного топлива.
Примечание - Как правило, используется дизельное топливо, но также могут быть использованы керосин, метанол или другое топливо.
3.21 гидравлический молот (hydraulically powered impact hammer): Оборудование, в котором ударная нагрузка создается за счет гидравлического давления.
3.22 сваеизвлекатель ударного типа (impact extractor): Оборудование, извлекающее сваи из грунта и работающее на основе принципа ударного действия, использующего кинетическую энергию подъема для создания извлекающего усилия.
Примечание - Ударная энергия сваеизвлекателя возникает из-за увеличения кинетической энергии создаваемой нагрузки, приходящейся на оголовок сваи, с помощью захвата, закрепленного каната или других механических средств. В зависимости от привода и способа работы сваеизвлекатели разделяются на несколько типов: гидравлические, пневматические, паровоздушные, электрические и использующие энергию расширения газов, образующихся при сгорании топлива.
3.23 сваеизвлекатель ударного типа/молот (impact extractor/hammer): Оборудование, которое сочетает в себе функции погружения и извлечения свай, работающее на основе принципа действия ударного оборудования.
Примечание - Как правило, молот/сваеизвлекатель имеют гидравлическую или электрическую системы питания и управления.
3.24 вибропогружатель (vibrator for piling equipment): Оборудование, которое генерирует однонаправленные колебания и используется для погружения или извлечения свай.
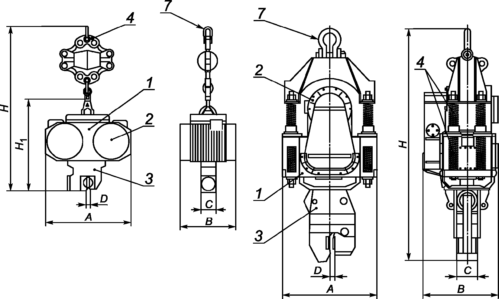
Примечание - В большинстве случаев колебания являются вертикальными. Вибрация может создаваться с помощью дебалансов или другими средствами, над вибрационным органом должно быть установлено виброизоляционное устройство, защищающее несущую конструкцию от опасного воздействия вибрации. Устройство фиксации сваи при ее погружении или извлечении из грунта должно быть жестко закреплено в нижней части по центру вибрационного привода с помощью одного или нескольких зажимов. Как правило, на оборудовании с кольцевым захватом зажимное устройство может быть расположено на внешней(их) стороне(ах) вибрационного привода. Вибрационный привод передает вибрацию на сваю, которая, в свою очередь, передает вибрацию на грунт вокруг нее, вследствие чего частицы грунта перемещаются по отношению друг к другу. Трение между сваей и почвой уменьшается, и свая либо под действием собственного веса и веса оборудования погружается, либо извлекается под нагрузкой, создаваемой ходовым устройством. Как правило, вибропогружатели имеют гидравлическую или электрическую системы питания и управления.
3.25 вибропогружатель электрического типа (electric vibrator for piling equipment): Оборудование с электрическим приводом, которое генерирует однонаправленные колебания для погружения или извлечения сваи.
3.26 вибропогружатель гидравлического типа (hydraulic vibrator for piling equipment): Оборудование с гидравлическим приводом, которое генерирует однонаправленные колебания для погружения или извлечения сваи.
3.27 оборудование для погружения/извлечения свай статического типа (static pile pushing/pulling device): Оборудование, главным образом предназначенное для установки или извлечения свай с приложением постоянной нагрузки к свае.
Примечание - Нагрузка, создаваемая при помощи гидравлических домкратов, которые крепятся на нескольких шпунтовых сваях, которые заранее были установлены в землю. Передвижное устройство, имеющее один или несколько домкратов, закрепленное на одной или нескольких шпунтовых сваях, при погружении или извлечении свай использующее силу давления или силу извлечения на шпунтовые сваи.
3.28 подъемная платформа, система подъема персонала (personal lift platform, personal lift system): Устройство в составе сваепогружающего или сваеизвлекающего оборудования, используемое как для обеспечения нормальной работы сваепогружающего или сваеизвлекающего оборудования, так и для технического обслуживания или ремонтных работ.
3.29 вспомогательные элементы (piling accessories): Вспомогательные устройства для погружения и извлечения свай (например, насадки для забивных труб, наголовники, плиты, наковальня, зажимные устройства, адаптеры, шумозащитные кожухи и ударо/вибропоглощающие устройства, приводы/генераторы и системы подъема персонала).
3.30 насадка для забивных труб (свай) (drive cap): Элемент, расположенный между ударной частью и сваей.
Примечание - Насадка для забивных труб может направляться рабочим органом или устройством, вмонтированным непосредственно в конструкцию погружателя. Она может состоять непосредственно из насадки или плиты между ударной частью и наголовником или другими механическими элементами, которые влияют на распределение воздействия ударной нагрузки на трубу (сваю).
3.31 наголовник (hammer helmet): Элемент, накрывающий голову сваи, выполненный с углублением на его внутренней поверхности таким образом, чтобы образовать пространство для заполнения прокладочным материалом, предотвращающим разрушение головы сваи при ее погружении.
3.32 плита (plate): Элемент, расположенный ниже наголовника для создания большей площади нагрузки при воздействии ее на сваю.
3.33 адаптер (dolley follower): Элемент, расположенный между внутренней поверхностью насадки для забивных труб, наголовника плиты для более глубокого погружения свай или для погружения свай большего диаметра.
3.34 зажимное устройство (clamping device): Механизм, удерживающий оголовок сваи, передающий извлекающее усилие от оборудования ударного действия или усилие от оборудования другого типа для погружения и/или извлечения свай.
Примечание - Зажимное устройство является отдельным агрегатом, как правило с гидравлическим или механическим приводом, но также может быть предусмотрено в составе конструкции сваепогружающего или сваеизвлекающего оборудования.
3.35 зажимные устройства вибропогружателей (clamping device for vibrators): Механизм, удерживающий оголовок сваи, который передает вибрацию на сваю от вибропривода вибропогружателя.
3.36 устройство позиционирования свай (pile-handling device): Устройство для дистанционного размыкания замка подъема сваи, управления канатами позиционирования сваи и установки близлежащих свай на свайном поле.
3.37 направляющая сваи (pile guide): Устройство, смонтированное на погружателе или управляемое погружателем таким образом, чтобы обеспечить позиционирование и удержание сваи от отклонения вперед или назад.
3.38 шумоподавляющий кожух (acoustic shroud): Устройство/конструкция, предназначенное(ая) для закрытия части или всего сваепогружающего или сваеизвлекающего оборудования и свай для уменьшения уровня шума в процессе работы.
3.39 ударо/виброизоляционное устройство (shock/vibration-absorbing device): Устройство используется с вибропогружателем либо сваеизвлекателем ударного типа для предотвращения воздействия на несущие конструкции нагрузок действующих на сваю.
Примечание - Ударо/виброизоляционные устройства, как правило, предусмотрены конструкцией установок сваепогружающего или сваеизвлекающего оборудования.
3.40 свая (pile): Промышленно изготовленный столб правильной формы, поставленный вертикально в грунт соответствующей плотности, служащий искусственным основанием для устройства фундамента.
Примечание 1 - Сваи изготавливают из древесины, бетона (ЖБИ или монолитные) или стали (труб или прокатных профилей).
Примечание 2 - Сваи могут иметь соединительные элементы для соединения между собой с целью создания свайной секции.
4. Технические условия на поставку
4.1. Общие технические характеристики оборудования для погружения и извлечения свай
4.1.1 Основные комплектующие
Требования к безопасности оборудования для погружения и извлечения свай по EN 996.
Классификация оборудования для погружения и извлечения свай по ISO/TR12603.
Основные комплектующие определяются в соответствии с типом оборудования для погружения и извлечения свай. Примеры приведены на
рисунках А.1 -
А.7.
4.1.2 Геометрические размеры
4.1.2.1 Габаритные размеры в рабочем положении (см.
рисунки А.1 -
А.7)
Указаны следующие характеристики:
- общая высота H, мм;
- высота подъема сваи максимальной длины H1, мм;
- длина L, мм;
- ширина W, мм.
4.1.2.2 Габаритные размеры при транспортировке
Указаны следующие характеристики:
- высота Ht, мм;
- длина Lt, мм;
- ширина Wt, мм.
4.1.3 Максимальные углы наклона сваи
Указаны следующие характеристики:
- угол наклона вперед

, град;
- угол наклона назад

, град;
- угол наклона в сторону (влево или вправо)

, град.
4.1.4 Масса сваи
Указаны следующие характеристики:
- максимальная масса сваи, кг.
4.1.5 Масса оборудования для погружения и извлечения свай
Указаны следующие характеристики (относящиеся к сваепогружающему или сваеизвлекающему оборудованию в стандартной комплектации):
- эксплуатационная масса, кг;
- транспортная масса, кг;
- удельное давление на грунт, МПа.
4.1.6 Мощность двигателя(ей)
Указаны следующие характеристики:
- мощность двигателя или суммарная мощность установленных двигателей, кВт.
4.1.7 Базовое шасси. Ходовое устройство
Указаны как:
- гусеничный кран;
- гусеничный экскаватор;
- базовое шасси на гусеничном ходу;
- базовое шасси на колесном ходу;
- ходовое устройство на рельсовом ходу;
- плавучее ходовое устройство.
4.1.7.2 Привод ходового устройства (базового шасси)
Указан двигатель внутреннего сгорания:
- с механическим,
- гидравлическим,
- пневматическим,
- электрическим,
- отбором мощности к механизмам передвижения.
4.1.7.3 Масса ходового устройства (базового шасси)
Указана масса ходового устройства (базового шасси), кг.
4.1.8 Оборудование для установки и извлечения свай
4.1.8.1 Типы молотов
Указывается тип молота:
- механического типа;
- паровоздушный;
- дизельный;
- с гидравлическим приводом.
4.1.8.2 Привод оборудования для погружения и извлечения свай
Указан тип привода:
- двигатель внутреннего сгорания с гидравлическим насосом, воздушным компрессором, электрическим генератором и т.д., объединенных в единое устройство;
- паровой котел или парогенератор;
- дизельный двигатель внутреннего сгорания, установленный непосредственно на молоте;
- стационарное питание или локальная сеть (например, производственные площадки) с передачей питания по рукавам высокого давления или электрическим кабелям.
4.1.8.3 Данные об источнике питания
Указаны следующие характеристики:
a) Двигатель внутреннего сгорания:
- марка и тип двигателя;
- мощность по (указать стандарт), кВт;
- тип охлаждения.
b) Паровой котел или парогенератор:
- паропроизводительность, кг/ч.
c) Необходимые технические характеристики в случае использования стационарного источника питания:
- мощность, кВт;
- расход воздуха, м3/мин.
4.1.8.4 Технические требования к лебедкам
Для любого типа лебедки (лебедка позиционирования сваи, лебедка молота или вспомогательная лебедка) указаны:
- максимальное натяжение каната, кН;
- максимальная скорость каната, м/мин.
4.2. Основные характеристики оборудования для погружения/извлечения свай
4.2.1 Молоты ударного действия для погружения свай
Указаны следующие характеристики:
- масса, кг;
- длина Н, мм;
- размеры поперечного сечения B x C мм x мм;
- расстояние от оси молота к поверхности погружателя ED, мм;
- центр тяжести G, мм.
(Измененная редакция, Cor. 1:2006)
Указаны следующие характеристики:
- масса штока, кг;
- рабочее давление, МПа;
- потребление пара, кг/ч;
- расход воздуха, м3/мин;
- частота ударов при максимальной энергии, мин-1;
- энергия удара, кНм;
- масса молота, кг;
- длина молота H, мм;
- ширина молота W, мм;
- глубина захвата сваи зажимом/фиксирующим элементом L, м;
- раскрытие зажима B, мм;
- расстояние от оси молота до поверхности погружателя E, мм;
- центр тяжести G, мм;
- принцип действия: одиночного или двойного.
Указаны следующие характеристики:
- масса штока, кг;
- ход штока, мм;
- энергия удара, кНм;
- частота ударов при максимальной производительности, мин-1;
- расход топлива, л/ч;
- расход смазки, л/ч;
- масса молота, кг;
- длина молота H, мм;
- расстояние от оси молота до поверхности погружателя E, мм;
- центр тяжести G, мм.
4.2.1.4 Ударный молот с гидравлическим приводом (см.
рисунок А.11)
Указаны следующие характеристики:
- масса штока, кг;
- энергия удара, кНм;
- частота ударов при максимальной производительности, (мин-1);
- масса молота, кг;
- параметры гидропривода;
- потребляемая мощность, кВт;
- расход, л/мин;
- максимальное давление, МПа;
- длина молота H, мм;
- поперечное сечение B x C, мм x мм;
- расстояние от оси молота до поверхности погружателя E, мм;
- центр тяжести G, мм;
- принцип действия: одиночного или двойного.
4.2.2 Вибропогружатель для сваепогружающего или сваеизвлекающего оборудования
4.2.2.1 Вибропогружатель с электрическим приводом (см.
рисунок А.12)
Указаны следующие характеристики:
- максимальная центробежная сила, кН;
- момент силы эксцентриков, Нм;
- частота вибрации, Гц;
- максимальная амплитуда колебаний, мм;
- максимальное извлекающее усилие, кН;
- максимальное усилие зажима, кН;
- количество электродвигателей вибропривода;
- общая мощность, кВт;
- частота вращения, мин-1;
- напряжение переменного тока, В;
- сила электрического тока, А;
- минимальная мощность источника питания, кВА;
- общая масса, кг;
- масса дебаланса вибропривода, кг;
- грузоподъемность управляющего устройства (крана), кН;
- габаритные размеры:
- общая высота с амортизатором H, мм,
- высота без амортизатора H1, мм,
- длина вибропогружателя A, мм,
- ширина вибропогружателя B, мм,
- ширина зажимных щек C, мм,
- раскрытие зажима D, мм,
- расстояние от оси вибропогружателя до поверхности погружателя E, мм,
- расстояние от вибропогружателя до центра сваи, мм.
(Измененная редакция, Cor. 1:2006)
4.2.2.2 Вибропогружатель с гидравлическим приводом (см.
рисунок А.13)
Указаны следующие характеристики:
- центробежная сила, кН;
- момент силы эксцентриков, Нм;
- максимальная амплитуда колебаний, мм;
- частота вибрации, Гц;
- расход гидравлической жидкости, л/мин;
- максимальное давление, МПа;
- мощность вибропривода, кВт;
- максимальное усилие зажима, кН;
- максимальное усилие извлечения, кН;
- грузоподъемность управляющего устройства (крана), кН;
- масса дебаланса вибропривода, кг;
- общая масса вибропогружателя, кг;
- габаритные размеры:
- общая высота с амортизатором H, мм,
- общая высота без амортизатора H1, мм,
- длина вибратора A, мм,
- ширина вибратора B, мм,
- ширина зажимных щек C, мм,
- раскрытие зажима D, мм,
- расстояние от вибропогружателя до центра сваи, мм.
(Измененная редакция, Cor. 1:2006)
4.2.2.3 Электрические или гидравлические вибраторы с устройством для погружения забивных труб (см.
рисунок А.14)
Указаны следующие характеристики:
- центробежная сила, кН;
- момент силы эксцентриков, Нм;
- максимальная амплитуда колебаний, мм;
- частота вибрации, Гц;
- расход гидравлической жидкости, л/мин;
- максимальное давление, МПа;
- мощность вибропривода, кВт;
- максимальное усилие зажима, кН;
- максимальное усилие извлечения, кН;
- масса дебаланса вибропривода, кг;
- общая масса, кг;
- грузоподъемность управляющего устройства (крана), кН;
- габаритные размеры:
- общая высота с виброизолятором H, мм,
- высота без виброизолятора H1 мм,
- длина вибропогружателя A, мм,
- ширина вибропогружателя B, мм,
- максимальный диаметр забивной трубы C, мм.
4.2.2.4 Сваеизвлекатель с пневматическим приводом (см.
рисунок А.15)
Указаны следующие характеристики:
- масса поршня, кг;
- частота ударов, мин-1;
- расход воздуха, м3/мин;
- рабочее давление, МПа;
- энергия извлечения, кНм;
- масса сваеизвлекателя, кг;
- размеры:
- общая высота с амортизатором H, мм,
- высота извлекающего устройства без амортизатора H1, мм,
- раскрытие зажима D, мм.
4.2.3 Оборудование для погружения или извлечения свай статического действия
Установка или извлечение продольных шпунтовых свай (см.
рисунок А.16)
Должны быть указаны следующие характеристики:
- усилие при установке, кН;
- ход цилиндра, мм;
- усилие извлечения, кН;
- скорость установки, м/мин;
- скорость извлечения, м/мин;
- максимально возможное отклонение основной рамы, град:
- вперед,

,
- назад,

,
- рабочее давление, МПа;
- общая масса, кг;
- габаритные размеры:
- общая высота H, мм,
- общая длина A, мм.
(Измененная редакция, Cor. 1:2006)
(справочное)
ПРИМЕРЫ ОБОРУДОВАНИЯ ДЛЯ ПОГРУЖЕНИЯ
ИЛИ ИЗВЛЕЧЕНИЯ СВАЙ И ЕГО КОМПОНЕНТОВ
1 - гусеничный кран; 2 - погружатель, закрепленный на стреле
крана; 3 - оголовок мачты погружателя; 4 - нижнее жесткое
крепление погружателя; 5 - верхнее шарнирное крепление
погружателя; 6 - крепежный элемент с возможностью сдвига
погружателя в горизонтальной плоскости;
7 - упор погружателя; 8 - дизельный молот;
9 - механический молот
Рисунок А.1 - Оборудование для погружения или извлечения
свай, монтируемое на гусеничный кран
1 - гусеничный экскаватор; 2 - вертикально установленный
погружатель; 3 - рабочее оборудование; 4 - лебедка
управления сваей; 5 - лебедка молота; 6 - дизельный молот
Рисунок А.2 - Сваепогружающее или сваеизвлекающее
оборудование, монтируемое на гусеничный экскаватор
с дизельным молотом
1 - гусеничное ходовое устройство; 2 - надстройка ходового
устройства; 3 - погружатель, непосредственно установленный
на ходовое устройство; 4 - оголовок мачты; 5 - раскос;
6 - привод; 7 - лебедка управления сваей; 8 - лебедка
управления молотом; 9 - кабина оператора;
10 - сваепогружающее оборудование
Рисунок А.3 - Варианты конструкции сваепогружающего
или сваеизвлекающего оборудования на гусеничном ходу
1 - базовая машина на колесном ходу; 2 - подвесной
погружатель; 3 - верхнее шарнирное соединение погружатель;
4 - оборудование для погружения свай
Рисунок А.4 - Сваепогружающее или сваеизвлекающее
оборудование на колесном ходу
1 - базовая машина на колесном ходу; 2 - погружатель,
установленный непосредственно на базовую машину;
3 - оголовок мачты погружателя; 4 - раскос; 5 - привод;
6 - система управления углом наклона мачты; 7 - лебедка
управления сваей; 8 - лебедка управления сваебойным молотом;
9 - аутригеры; 10 - оборудование для погружения свай
Рисунок А.5 - Сваепогружающее или сваеизвлекающее
оборудование на колесном ходу с механическим молотом
1 - рельсовое ходовое устройство; 2 - погружатель,
установленный непосредственно на ходовое устройство;
3 - оголовок мачты стрелы погружателя; 4 - раскос;
5 - привод; 6 - лебедка управления сваей; 7 - лебедка
управления сваебойным молотом; 8 - оборудование
для погружения свай
Рисунок А.6 - Сваепогружающее или сваеизвлекающее
оборудование на рельсовом ходу с механическим молотом
1 - плавающее средство; 2 - поворотная платформа;
3 - главная лебедка; 4 - вспомогательная лебедка;
5 - силовая установка; 6 - мачта; 7 - вибропогружатель;
8 - раскос; 9 - кабина оператора; 10 - оборудование
для погружения свай
Рисунок А.7 - Сваепогружающее или сваеизвлекающее
оборудование на плавучем ходу с дизельным молотом
1 - боек; 2 - направляющая молота; 3 - демпфер;
4 - подъемный канат; 5 - рабочий орган сваебойного
оборудования
Рисунок А.8 - Механический молот с лебедкой
1 - ударная часть молота; 2 - боек; 3 - зажимное устройство;
4 - управляющий клапан; 5 - подъемный канат;
6 - направляющая молота; 7 - погружатель
Рисунок А.9 - Паровоздушный молот
1 - ударная часть молота; 2 - боек; 3 - топливный насос;
4 - насос для подачи смазки; 5 - подъемное устройство
молота; 6 - направляющая молота; 7 - погружатель
Рисунок А.10 - Сваепогружающее или сваеизвлекающее
оборудование с дизельным молотом
1 - ударная часть молота; 2 - гидравлический цилиндр подъема
молота; 3 - направляющая молота; 4 - гидроаккумуляторы;
5 - подъемное приспособление молота; 6 - погружатель
Рисунок А.11 - Сваепогружающее или сваеизвлекающее
оборудование с гидравлическим молотом
а) Вибропогружатели для грузоподъемных кранов
б) Вибропогружатель для установки на свайном оборудовании
1 - вибропривод; 2 - электродвигатель; 3 - зажимное
устройство; 4 - амортизатор; 5 - направляющая вибратора;
6 - погружатель; 7 - подъемное устройство вибратора
Рисунок А.12 - Вибропогружатели с электрическим приводом
а) Подвесные вибропогружатели для установки
на грузоподъемные краны
б) Вибропогружатель для установки на свайном оборудовании
1 - вибропривод; 2 - гидромоторы; 3 - зажимное устройство;
4 - амортизатор; 5 - подъемное устройство вибратора
Рисунок А.13 - Вибропогружатели с гидравлическим приводом
1 - вибропривод; 2 - гидромоторы; 3 - гидравлические зажимы;
4 - амортизатор; 5 - забивная труба
Рисунок А.14 - Вибропогружатели с гидравлическим
приводом для погружения забивных труб
1 - корпус сваеизвлекателя; 2 - боек; 3 - зажимное
устройство; 4 - устройство, освобождающее зажим;
5 - контролирующий клапан; 6 - ручка управления
контролирующим клапаном; 7 - амортизатор
Рисунок А.15 - Оборудование для извлечения свай
с пневматическим приводом ударного действия
1 - передний упор; 2 - основная рама;
3 - извлекающий/погружающий гидравлический цилиндр;
4 - стрела установки погружателя; 5 - гидравлический
цилиндр позиционирования погружателя; 6 - привод системы
передвижения и установки на шпунтовых сваях;
7 - поддерживающий гидроцилиндр при передвижении и установке
на шпунтовых сваях; 8 - механизм захвата для установки
на шпунтовых сваях; 9 - гидроцилиндр передвижения устройства
захвата для установки на шпунтовых сваях; 10 - погружающие
или извлекающие захваты; 11 - захват для установки
на шпунтовых сваях; 12 - шпунтовая свая
Рисунок А.16 - Варианты конструкции оборудования
для погружения/извлечения свай статического типа
(справочное)
СВЕДЕНИЯ О СООТВЕТСТВИИ МЕЖГОСУДАРСТВЕННЫХ СТАНДАРТОВ
ССЫЛОЧНЫМ МЕЖДУНАРОДНЫМ СТАНДАРТАМ
Таблица ДА.1
Обозначение и наименование ссылочного международного стандарта | Степень соответствия | Обозначение и наименование соответствующего межгосударственного стандарта |
ISO 11375:1998 Машины и оборудование строительные. Термины и определения | - | |
ISO/TR 12603 Машины и оборудование строительное. Классификация | - | |
EN 996 Укладка оборудования. Требования техники безопасности | - | <*> |
<*> Соответствующий межгосударственный стандарт отсутствует. До его утверждения рекомендуется использовать перевод на русский язык данного международного стандарта. |