Главная // Актуальные документы // ГОСТ (Государственный стандарт)СПРАВКА
Источник публикации
М.: Стандартинформ, 2016
Примечание к документу
Документ включен в
Перечень международных и региональных (межгосударственных) стандартов, а в случае их отсутствия - национальных (государственных) стандартов, содержащих правила и методы исследований (испытаний) и измерений, в том числе правила отбора образцов, необходимые для применения и исполнения требований технического
регламента Таможенного союза "О безопасности низковольтного оборудования" (ТР ТС 004/2011) и осуществления оценки соответствия объектов технического регулирования (
Решение Коллегии Евразийской экономической комиссии от 11.05.2023 N 55).
Документ включен в
Перечень стандартов, содержащих правила и методы исследований (испытаний) и измерений, в том числе правила отбора образцов, необходимые для применения и исполнения требований технического
регламента Таможенного союза "О безопасности низковольтного оборудования" (ТР ТС 004/2011) и осуществления оценки (подтверждения) соответствия продукции (
Решение Комиссии Таможенного союза от 16.08.2011 N 768).
Текст данного документа приведен с учетом
поправки, опубликованной в "ИУС", N 7, 2019.
Документ
введен в действие с 1 июля 2017 года.
Взамен ГОСТ IEC 60811-4-1-2011 в части
раздела 10 "Определение показателя текучести расплава".
Название документа
"ГОСТ IEC 60811-511-2015. Межгосударственный стандарт. Кабели электрические и волоконно-оптические. Методы испытаний неметаллических материалов. Часть 511. Механические испытания. Определение показателя текучести расплава полиэтиленовых композиций"
(введен в действие Приказом Росстандарта от 30.09.2016 N 1292-ст)
"ГОСТ IEC 60811-511-2015. Межгосударственный стандарт. Кабели электрические и волоконно-оптические. Методы испытаний неметаллических материалов. Часть 511. Механические испытания. Определение показателя текучести расплава полиэтиленовых композиций"
(введен в действие Приказом Росстандарта от 30.09.2016 N 1292-ст)
агентства по техническому
регулированию и метрологии
от 30 сентября 2016 г. N 1292-ст
МЕЖГОСУДАРСТВЕННЫЙ СТАНДАРТ
КАБЕЛИ ЭЛЕКТРИЧЕСКИЕ И ВОЛОКОННО-ОПТИЧЕСКИЕ
МЕТОДЫ ИСПЫТАНИЙ НЕМЕТАЛЛИЧЕСКИХ МАТЕРИАЛОВ
ЧАСТЬ 511
МЕХАНИЧЕСКИЕ ИСПЫТАНИЯ.
ОПРЕДЕЛЕНИЕ ПОКАЗАТЕЛЯ ТЕКУЧЕСТИ РАСПЛАВА
ПОЛИЭТИЛЕНОВЫХ КОМПОЗИЦИЙ
Electric and optical fibre cables. Test methods
for non-metallic materials. Part 511. Mechanical tests.
Measurement of the melt flow index of polyethylene
compounds
(IEC 60811-511:2012, IDT)
ГОСТ IEC 60811-511-2015
Дата введения
1 июля 2017 года
Цели, основные принципы и основной порядок проведения работ по межгосударственной стандартизации установлены в
ГОСТ 1.0-2015 "Межгосударственная система стандартизации. Основные положения" и
ГОСТ 1.2-2015 "Межгосударственная система стандартизации. Стандарты межгосударственные, правила и рекомендации по межгосударственной стандартизации. Правила разработки, принятия, обновления и отмены"
1 ПОДГОТОВЛЕН Открытым акционерным обществом "Всероссийский научно-исследовательский, проектно-конструкторский и технологический институт кабельной промышленности" (ОАО "ВНИИКП") на основе собственного перевода на русский язык англоязычной версии стандарта, указанного в
пункте 5
2 ВНЕСЕН Межгосударственным техническим комитетом по стандартизации МТК 46 "Кабельные изделия"
3 ПРИНЯТ Межгосударственным советом по стандартизации, метрологии и сертификации (протокол от 27 октября 2015 г. N 81-П)
За принятие проголосовали:
Краткое наименование страны по МК (ИСО 3166) 004-97 | Код страны по МК (ИСО 3166) 004-97 | Сокращенное наименование национального органа по стандартизации |
Армения | AM | Минэкономики Республики Армения |
Беларусь | BY | Госстандарт Республики Беларусь |
Казахстан | KZ | Госстандарт Республики Казахстан |
Киргизия | KG | Кыргызстандарт |
Россия | RU | Росстандарт |
Таджикистан | TJ | Таджикстандарт |
4
Приказом Федерального агентства по техническому регулированию и метрологии от 30 сентября 2016 г. N 1292-ст межгосударственный стандарт ГОСТ IEC 60811-511-2015 введен в действие в качестве национального стандарта Российской Федерации с 1 июля 2017 г.
5 Настоящий стандарт идентичен международному стандарту IEC 60811-511:2012 "Кабели электрические и волоконно-оптические. Методы испытаний неметаллических материалов. Часть 511. Механические испытания. Определение показателя текучести расплава полиэтиленовых композиций" ("Electric and optical fibre cables - Test methods for non-metallic materials - Part 511: Mechanical tests - Measurement of the melt flow index of polyethylene compounds", IDT).
Международный стандарт IEC 60811-511:2012 разработан Техническим комитетом TC 20 "Электрические кабели" Международной электротехнической комиссии (IEC).
Международный стандарт IEC 60811-511:2012 отменяет и заменяет раздел 10 IEC 60811-4-1:2004.
Официальные экземпляры международного стандарта, на основе которого подготовлен настоящий межгосударственный стандарт, и международных стандартов, на которые даны ссылки, имеются в Федеральном информационном фонде стандартов.
При применении настоящего стандарта рекомендуется использовать вместо ссылочных международных стандартов соответствующие им межгосударственные стандарты, сведения о которых приведены в дополнительном
приложении ДА
6 ВЗАМЕН ГОСТ IEC 60811-4-1-2011 в части
раздела 10 "Определение показателя текучести расплава"
7 Некоторые элементы настоящего стандарта могут быть объектом патентного права. IEC не несет ответственности за установление подлинности каких-либо или всех таких патентных прав
Информация об изменениях к настоящему стандарту публикуется в ежегодном информационном указателе "Национальные стандарты", а текст изменений и поправок - в ежемесячном информационном указателе "Национальные стандарты". В случае пересмотра (замены) или отмены настоящего стандарта соответствующее уведомление будет опубликовано в ежемесячном информационном указателе "Национальные стандарты". Соответствующая информация, уведомление и тексты размещаются также в информационной системе общего пользования - на официальном сайте Федерального агентства по техническому регулированию и метрологии в сети Интернет
В стандартах серии IEC 60811 приведены методы испытаний неметаллических материалов кабелей всех типов. На данные методы испытаний ссылаются стандарты, устанавливающие требования к конструкции и материалам кабелей.
Примечания
1 Неметаллические материалы обычно используют в кабелях для изоляции, оболочки, подложки, заполнения или лент.
2 Данные методы испытаний считаются основными, они разработаны и используются в течение многих лет в основном для материалов кабелей, предназначенных для передачи электроэнергии. Также они приняты и широко используются для других кабелей, в частности для волоконно-оптических кабелей, кабелей связи, управления, судовых кабелей и кабелей для береговых установок.
Настоящий стандарт устанавливает метод определения показателя текучести расплава для композиций на основе полиэтилена.
Для применения настоящего стандарта необходимы следующие ссылочные документы. Для датированных ссылок применяют только указанное издание ссылочного документа, для недатированных ссылок применяют последнее издание ссылочного документа (включая все его изменения):
IEC 60811-100:2012 Electric and optical fibre cables - Test methods for non-metallic materials - Part 100: General (Кабели электрические и волоконно-оптические. Методы испытаний неметаллических материалов. Часть 100. Общие положения)
IEC 60811-606 Electric and optical fibre cables - Test methods for non-metallic materials - Part 606: Physical tests - Methods for determining the density (Кабели электрические и волоконно-оптические. Методы испытаний неметаллических материалов. Часть 606. Физические испытания. Методы определения плотности)
В настоящем стандарте применены термины по IEC 60811-100.
Кроме того, для целей настоящего стандарта сделано разграничение между полиэтиленом низкой, средней и высокой плотности в соответствии с таблицей 1.
Таблица 1
Определение типов полиэтилена
Тип полиэтилена | Плотность при 23 °C <a>, г/см 3 |
Полиэтилен низкой плотности | <= 0,925 |
Полиэтилен средней плотности | > 0,925 | <= 0,940 |
Полиэтилен высокой плотности | > 0,940 |
<a> Значения плотности указаны для ненаполненных композиций и определены по методу, приведенному в IEC 60811-606. |
Настоящий стандарт следует применять вместе с IEC 60811-100.
Все испытания проводят не ранее чем через 16 ч после экструзии компаундов изоляции или оболочки.
Показатель текучести расплава (ПТР) полиэтилена или полиэтиленовых композиций определяется количеством материала, которое под воздействием груза, масса которого установлена в настоящем методе, выдавливается через отверстие определенного диаметра в течение 1,5 или 10 мин при температуре 190 °C.
Примечание 1 - Этот же метод приведен в ИСО 1133.
Примечание 2 - Для полиэтилена, не распространяющего горение, показатель текучести расплава не определяют. Полиэтилен, не распространяющий горение, определяют как полиэтилен, содержащий добавки, предназначенные для уменьшения распространения горения.
4.2. Испытательное устройство
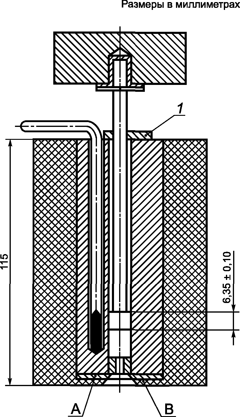
Испытание проводят в экструзионном пластометре (далее - прибор), конструкция которого приведена на
рисунке 1. Компаунд, загруженный в вертикальный цилиндр, под воздействием поршня с установленным на нем грузом экструдируют через фильеру при контролируемой температуре. Все поверхности прибора, находящиеся в контакте с испытуемым материалом, должны быть отполированы.
1 - направляющая втулка
Примечание - На рисунке показан цилиндр большого наружного диаметра, пластина A, фиксирующая фильеру, и теплоизолирующее основание B.
Рисунок 1 - Прибор для определения показателя
текучести расплава
Оборудование состоит из следующих частей:
a) Стальной цилиндр
Вертикально расположенный стальной цилиндр имеет наружный теплоизоляционный слой, обеспечивающий поддержание температуры 190 °C. Длина цилиндра - не менее 115 мм, внутренний диаметр - 9,5 - 10 мм, цилиндр должен обеспечивать соответствие требованиям, приведенным в
перечислении b) настоящего подраздела. Под основанием цилиндра должен быть слой теплоизоляционного материала, если площадь открытой металлической поверхности более 4 см
2, в качестве которого рекомендуется использовать политетрафторэтилен (толщиной около 3 мм), так как он позволяет избежать прилипания экструдируемого материала.
b) Стальной пустотелый поршень
Стальной пустотелый поршень должен иметь длину не менее длины цилиндра. Цилиндр и поршень должны быть соосны, а общая длина поршня должна быть не более 135 мм. Длина головки поршня должна быть (6,35 +/- 0,10) мм. Диаметр головки должен быть менее внутреннего диаметра цилиндра по всей его рабочей длине на (0,075 +/- 0,015) мм. Для определения массы груза [см.
перечисление c)] этот диаметр должен быть известен с точностью до +/- 0,025 мм. Нижний торец поршня должен иметь закругление кромки радиусом 0,4 мм, верхняя кромка головки поршня должна быть также слегка закруглена. Диаметр остальной части поршня должен быть около 9 мм. В верхнюю часть поршня может быть вставлен шток, предназначенный для установки на него груза. Между поршнем и грузом должен быть слой теплоизоляции.
c) Съемный груз, устанавливаемый на поршень
Общая масса груза и поршня должна быть такой, чтобы прикладываемое усилие P составляло:
-
P = 21,2 Н - при использовании метода A (см.
4.5);
-
P = 49,1 Н - при использовании метода C (см.
4.7).
d) Нагреватель
Нагреватель должен поддерживать температуру в цилиндре (190 +/- 0,5) °C. Он должен иметь систему автоматической регулировки температуры.
e) Прибор для измерения температуры
Прибор для измерения температуры должен находиться в корпусе цилиндра и располагаться как можно ближе к фильере. Он должен быть отградуирован для измерения температуры с точностью до +/- 0,1 °C.
f) Фильера
Фильера должна быть из закаленной стали длиной (8,000 +/- 0,025) мм и внутренним диаметром 2,090 - 2,100 мм. Отклонение внутреннего диаметра по длине фильеры не должно превышать +/- 0,005 мм (см.
рисунок 2). Фильера не должна выступать за основание цилиндра.
g) Весы
Погрешность весов не должна быть более +/- 0,0005 г.
Примечание - На рисунке показан цилиндр малого наружного диаметра и пример крепления фильеры.
4.3. Образцы для испытаний
Образец изоляции или оболочки необходимой массы отбирают с одного из концов провода или кабеля. Образец разрезают на кусочки размером не более 3 мм в любом направлении.
Допускается отбирать образцы изоляционного материала от различных жил одного кабеля.
4.4. Чистка и обслуживание прибора
Прибор чистят после каждого испытания.
Не допускается использовать абразивные и другие аналогичные материалы для удаления полиэтилена или очистки любых частей прибора, так как эти материалы могут повредить поверхность поршня, цилиндра или фильеры.
Для чистки прибора рекомендуется использовать такие растворители как ксилол, тетрагидронафталин или чистый керосин. Поршень и цилиндр чистят в горячем состоянии тампоном, пропитанным растворителем. Фильеру чистят латунным приспособлением типа развертки или деревянной шпилькой, затем погружают в кипящий растворитель.
При постоянном использовании прибора рекомендуется один раз в неделю снимать теплоизолирующее основание и пластину, фиксирующую фильеру (см.
рисунок 1), и тщательно чистить цилиндр.
4.5.1 Общие положения
Метод A используют при определении неизвестного показателя текучести расплава (ПТР) образца компаунда.
4.5.2 Проведение испытания
Прибор следует очистить (см.
4.4). Перед началом серии испытаний температуру цилиндра и поршня доводят до (190 +/- 0,5) °C и поддерживают ее в течение 15 мин. В дальнейшем эту температуру необходимо поддерживать в течение всего процесса экструзии полиэтилена.
Рекомендуется в качестве прибора для измерения температуры [см.
перечисление e) 4.2] использовать ртутный термометр, постоянно установленный в цилиндр (см. примечание, приведенное ниже). Для улучшения теплового контакта рекомендуется использовать сплав с низкой температурой плавления, например сплав Вуда.
Примечание - Если используют другой прибор для измерения температуры, то перед началом серии испытаний его градуируют при температуре (190 +/- 0,5) °C по ртутному термометру, соответствующему
перечислению e) 4.2, помещенному в цилиндр и погруженному в полиэтилен на соответствующую глубину.
В цилиндр помещают требуемое количество образца (см. таблицу 2) и в верхнюю часть цилиндра вставляют поршень без груза.
Таблица 2
Временные интервалы отбора отрезков (в зависимости
от значений показателя текучести расплава) и масса образца,
помещаемого в цилиндр, для методов A и C
Показатель текучести расплава (ПТР) | Масса образца, помещаемого в цилиндр, г | Временной интервал, с |
0,1 - 0,5 | 4 - 5 | 240 |
0,5 - 1,0 | 4 - 5 | 120 |
1,0 - 3,5 | 4 - 5 | 60 |
Через 4 мин после помещения в цилиндр образца, когда температура цилиндра снова будет (190 +/- 0,5) °C, на поршень ставят груз так, чтобы через фильеру выдавливался полиэтилен. Скорость экструзии измеряют путем резки экструдируемого материала через определенные промежутки времени. Резку проводят в непосредственной близости от фильеры острым инструментом, получая кусочки материала (далее - отрезки). Временные интервалы, через которые отбирают отрезки, приведены в
таблице 2.
Отрезки отбирают в течение не более 20 мин с момента загрузки образца в цилиндр. Первый отрезок, а также все отрезки, которые содержат пузырьки воздуха, отбраковывают. Оставшиеся отрезки, число которых должно быть не менее трех, взвешивают каждый в отдельности с точностью до 1 мг и определяют их среднюю массу. Если разность между максимальной и минимальной массой превышает 10% среднего значения, результаты испытания считают неудовлетворительными и испытание проводят повторно на новом образце.
4.5.3 Представление результатов
Показатель текучести расплава определяют с точностью до двух значащих цифр и выражают как ПТР.190.20.A (в соответствии с
примечанием) в граммах на 600 с:

(1)
где ПТР выражается в г/10 мин;
m - средняя масса отрезков, г;
t - временной интервал отбора отрезков, с.
Примечание - 190 - температура при проведении испытания, °C; 20 (или 50 для
метода C) - приблизительное значение усилия, прикладываемого к расплаву, Н.
Не используют.
Примечание - Этот заголовок включен только для ясности, так как он присутствует в ИСО 1133.
4.7.1 Общие положения
Метод C применяют для определения ПТР полиэтилена, для которого ПТР, определенный по
методу A, менее единицы.
4.7.2 Проведение испытания
Процедура проведения испытания та же, что в
методе A.
Временные интервалы отбора отрезков, а также масса образца, загружаемого в цилиндр, приведены в
таблице 2.
4.7.3 Представление результатов
Показатель текучести расплава (ПТР) определяют с точностью до двух значащих цифр и выражают как ПТР.190.50.C (в соответствии с
примечанием в 4.5.3) в граммах на 150 с:

(2)
Примечание - При более коротких временных интервалах отбора (150 с) и более значительных усилиях (50 Н) значения ПТР для
метода C приблизительно совпадают с результатами, получаемыми при применении
метода A. Однако прямой корреляции между значениями ПТР с обозначениями A и C нет.
Протокол испытаний должен соответствовать требованиям IEC 60811-100.
(справочное)
СВЕДЕНИЯ О СООТВЕТСТВИИ ССЫЛОЧНЫХ МЕЖДУНАРОДНЫХ СТАНДАРТОВ
МЕЖГОСУДАРСТВЕННЫМ СТАНДАРТАМ
Таблица ДА.1
Обозначение ссылочного международного стандарта | Степень соответствия | Обозначение и наименование соответствующего межгосударственного стандарта |
IEC 60811-100:2012 | IDT | ГОСТ IEC 60811-100-2015 "Кабели электрические и волоконно-оптические. Методы испытаний неметаллических материалов. Часть 100. Общие положения" |
IEC 60811-606 | - | <*> |
<*> Соответствующий национальный стандарт отсутствует. До его утверждения рекомендуется использовать перевод на русский язык данного международного стандарта. Перевод данного международного стандарта находится в ОАО "ВНИИКП". Примечание - В настоящей таблице использовано следующее условное обозначение степени соответствия стандарта: - IDT - идентичный стандарт. |
IEC 60811-4-1:2004 Insulating and sheathing materials of electric and optical cables - Common test methods - Part 4-1: Methods specific to polyethylene and polypropylene compounds - Resistance to environmental stress cracking - Measurement of the melt flow index - Carbon black and/or mineral filler content measurement in polyethylene by direct combustion - Measurement of carbon black content by thermogravimetric analysis (TGA) - Assessment of carbon black dispersion in polyethylene using a microscope (Общие методы испытаний материалов изоляции и оболочек электрических и оптических кабелей. Часть 4-1. Специальные методы испытаний полиэтиленовых и полипропиленовых композиций. Стойкость к растрескиванию под напряжением в условиях окружающей среды. Определение показателя текучести расплава. Определение содержания сажи и/или минерального наполнителя в полиэтилене методом непосредственного сжигания. Определение содержания сажи методом термогравиметрического анализа. Определение дисперсии сажи в полиэтилене с помощью микроскопа) (отменен)
ИСО 1133 Plastics - Determination of the melt mass-flow rate (MFR) and the melt volume-flow rate (MVR) of thermoplastics [Пластмассы. Определение показателя текучести расплава термопластмасс по массе (MFR) и по объему (MVR)]