Главная // Актуальные документы // ГОСТ (Государственный стандарт)
СПРАВКА
Источник публикации
М.: Стандартинформ, 2016
Примечание к документу
Документ включен в Перечень международных и региональных (межгосударственных) стандартов, а в случае их отсутствия - национальных (государственных) стандартов, содержащих правила и методы исследований (испытаний) и измерений, в том числе правила отбора образцов, необходимые для применения и исполнения требований технического регламента Таможенного союза "О безопасности низковольтного оборудования" (ТР ТС 004/2011) и осуществления оценки соответствия объектов технического регулирования (Решение Коллегии Евразийской экономической комиссии от 11.05.2023 N 55).

Документ включен в Перечень стандартов, содержащих правила и методы исследований (испытаний) и измерений, в том числе правила отбора образцов, необходимые для применения и исполнения требований технического регламента Таможенного союза "О безопасности низковольтного оборудования" (ТР ТС 004/2011) и осуществления оценки (подтверждения) соответствия продукции (Решение Комиссии Таможенного союза от 16.08.2011 N 768).

Текст данного документа приведен с учетом поправки, опубликованной в "ИУС", N 7, 2019.

Документ введен в действие с 1 июля 2017 года.

Взамен ГОСТ IEC 60811-1-4-2011 в части подраздела 8.5 "Испытание поливинилхлоридной изоляции и оболочки на удар при низкой температуре".
Название документа
"ГОСТ IEC 60811-506-2015. Межгосударственный стандарт. Кабели электрические и волоконно-оптические. Методы испытаний неметаллических материалов. Часть 506. Механические испытания. Испытание изоляции и оболочек на удар при низкой температуре"
(введен в действие Приказом Росстандарта от 30.09.2016 N 1287-ст)

"ГОСТ IEC 60811-506-2015. Межгосударственный стандарт. Кабели электрические и волоконно-оптические. Методы испытаний неметаллических материалов. Часть 506. Механические испытания. Испытание изоляции и оболочек на удар при низкой температуре"
(введен в действие Приказом Росстандарта от 30.09.2016 N 1287-ст)


Содержание


Введен в действие
Приказом Федерального
агентства по техническому
регулированию и метрологии
от 30 сентября 2016 г. N 1287-ст
МЕЖГОСУДАРСТВЕННЫЙ СТАНДАРТ
КАБЕЛИ ЭЛЕКТРИЧЕСКИЕ И ВОЛОКОННО-ОПТИЧЕСКИЕ
МЕТОДЫ ИСПЫТАНИЙ НЕМЕТАЛЛИЧЕСКИХ МАТЕРИАЛОВ
ЧАСТЬ 506
МЕХАНИЧЕСКИЕ ИСПЫТАНИЯ.
ИСПЫТАНИЕ ИЗОЛЯЦИИ И ОБОЛОЧЕК НА УДАР
ПРИ НИЗКОЙ ТЕМПЕРАТУРЕ
Electric and optical fibre cables. Test methods
for non-metallic materials. Part 506. Mechanical tests.
Impact test at low temperature for insulations and sheaths
(IEC 60811-506:2012, IDT)
ГОСТ IEC 60811-506-2015
Группа Е49
МКС 29.060.20;
ОКП 35 0000
Дата введения
1 июля 2017 года
Предисловие
Цели, основные принципы и основной порядок проведения работ по межгосударственной стандартизации установлены в ГОСТ 1.0-2015 "Межгосударственная система стандартизации. Основные положения" и ГОСТ 1.2-2015 "Межгосударственная система стандартизации. Стандарты межгосударственные, правила и рекомендации по межгосударственной стандартизации. Правила разработки, принятия, обновления и отмены"
Сведения о стандарте
1 ПОДГОТОВЛЕН Открытым акционерным обществом "Всероссийский научно-исследовательский, проектно-конструкторский и технологический институт кабельной промышленности" (ОАО "ВНИИКП") на основе собственного перевода на русский язык англоязычной версии стандарта, указанного в пункте 5
2 ВНЕСЕН Межгосударственным техническим комитетом по стандартизации МТК 46 "Кабельные изделия"
3 ПРИНЯТ Межгосударственным советом по стандартизации, метрологии и сертификации (протокол от 27 октября 2015 г. N 81-П)
За принятие проголосовали:
Краткое наименование страны по МК (ИСО 3166) 004-97
Код страны по МК (ИСО 3166) 004-97
Сокращенное наименование национального органа по стандартизации
Армения
AM
Минэкономики Республики Армения
Беларусь
BY
Госстандарт Республики Беларусь
Казахстан
KZ
Госстандарт Республики Казахстан
Киргизия
KG
Кыргызстандарт
Россия
RU
Росстандарт
Таджикистан
TJ
Таджикстандарт
4 Приказом Федерального агентства по техническому регулированию и метрологии от 30 сентября 2016 г. N 1287-ст межгосударственный стандарт ГОСТ IEC 60811-506-2015 введен в действие в качестве национального стандарта Российской Федерации с 1 июля 2017 г.
5 Настоящий стандарт идентичен международному стандарту IEC 60811-506:2012 "Кабели электрические и волоконно-оптические. Методы испытаний неметаллических материалов. Часть 506. Механические испытания. Испытание изоляции и оболочек на удар при низкой температуре" ("Electric and optical fibre cables - Test methods for non-metallic materials - Part 506: Mechanical tests - Impact test at low temperature for insulations and sheaths", IDT).
Международный стандарт IEC 60811-506:2012 разработан Техническим комитетом TC 20 "Электрические кабели" Международной электротехнической комиссии (IEC).
Международный стандарт IEC 60811-506:2012 отменяет и заменяет подраздел 8.5 IEC 60811-1-4:1985.
Официальные экземпляры международного стандарта, на основе которого подготовлен настоящий межгосударственный стандарт, и международных стандартов, на которые даны ссылки, имеются в Федеральном информационном фонде стандартов.
При применении настоящего стандарта рекомендуется использовать вместо ссылочных международных стандартов соответствующие им межгосударственные стандарты, сведения о которых приведены в дополнительном приложении ДА
6 ВЗАМЕН ГОСТ IEC 60811-1-4-2011 в части подраздела 8.5 "Испытание поливинилхлоридной изоляции и оболочки на удар при низкой температуре"
7 Некоторые элементы настоящего стандарта могут быть объектом патентного права. IEC не несет ответственность за установление подлинности каких-либо или всех таких патентных прав
Информация об изменениях к настоящему стандарту публикуется в ежегодном информационном указателе "Национальные стандарты", а текст изменений и поправок - в ежемесячном информационном указателе "Национальные стандарты". В случае пересмотра (замены) или отмены настоящего стандарта соответствующее уведомление будет опубликовано в ежемесячном информационном указателе "Национальные стандарты". Соответствующая информация, уведомление и тексты размещаются также в информационной системе общего пользования - на официальном сайте Федерального агентства по техническому регулированию и метрологии в сети Интернет
Введение
В стандартах серии IEC 60811 приведены методы испытаний неметаллических материалов кабелей всех типов. На данные методы испытаний ссылаются стандарты, устанавливающие требования к конструкции и материалам кабелей.
Примечания
1 Неметаллические материалы обычно используют в кабелях для изоляции, оболочки, подложки, заполнения или лент.
2 Данные методы испытаний считаются основными, они разработаны и используются в течение многих лет в основном для материалов кабелей, предназначенных для передачи электроэнергии. Также они приняты и широко используются для других кабелей, в частности для волоконно-оптических кабелей, кабелей связи, управления, судовых кабелей и кабелей для береговых установок.
1. Область применения
Настоящий стандарт устанавливает метод испытаний экструдированных изоляции и оболочек на удар при низкой температуре.
2. Нормативные ссылки
Для применения настоящего стандарта необходимы следующие ссылочные документы. Для датированных ссылок применяют только указанное издание ссылочного документа, для недатированных ссылок применяют последнее издание ссылочного документа (включая все его изменения):
IEC 60811-100:2012 Electric and optical fibre cables - Test methods for non-metallic materials - Part 100: General (Кабели электрические и волоконно-оптические. Методы испытаний неметаллических материалов. Часть 100. Общие положения)
3. Термины и определения
В настоящем стандарте применены термины по IEC 60811-100.
4. Метод испытаний
4.1. Общие положения
Настоящий стандарт следует применять вместе с IEC 60811-100.
Все испытания следует проводить не ранее чем через 16 ч после экструзии компаундов изоляции или оболочки.
Испытания проводят при температуре, установленной в стандарте или технических условиях на кабели конкретных типов.
Данное испытание на удар при низкой температуре предназначено для кабелей любого типа, имеющих оболочку, независимо от типа изоляции жил, а также для проводов, кабелей и плоских кабелей без оболочки, если соответствующее требование установлено в стандарте или технических условиях на кабели конкретных типов.
Изоляцию кабелей, имеющих оболочку, не подвергают испытанию на удар при низкой температуре.
4.2. Отбор и подготовка образцов
Отбирают три отрезка кабеля, длина которых должна превышать диаметр кабеля не менее чем в пять раз и быть не менее 150 мм. Все имеющиеся наружные покрытия удаляют.
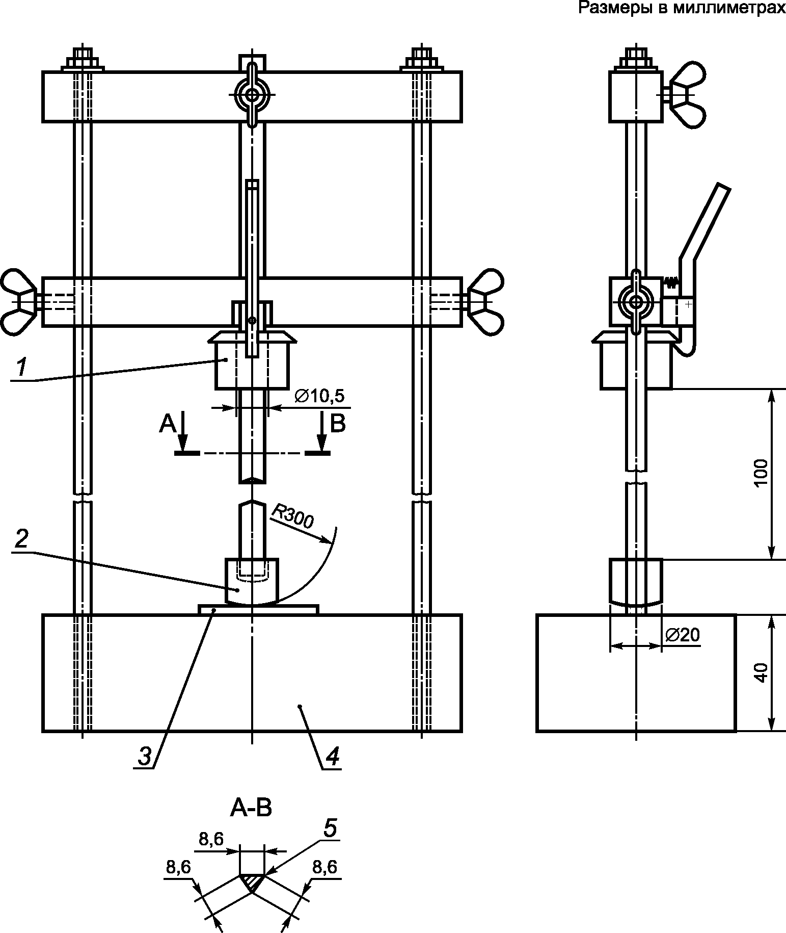
4.3. Испытательное устройство
Используемое для испытания устройство представлено на рисунке 1.
1 - ударник; 2 - промежуточный стальной груз массой 100 г;
3 - испытуемый образец; 4 - стальное основание массой 10 кг;
5 - слегка скругленные углы
Рисунок 1 - Устройство для испытания на удар
Устройство устанавливают на подушке из пористой резины толщиной около 40 мм и выдерживают в холодильной камере до и во время испытания.
4.4. Условия испытания
Температура испытания должна соответствовать указанной в стандарте или технических условиях на кабели конкретных типов для данного типа компаунда.
Для силовых кабелей для стационарной прокладки масса ударника для испытания образцов должна быть не менее значений, указанных в таблице 1.
Таблица 1
Масса ударника для испытания образцов силовых кабелей
при стационарной прокладке
Наружный диаметр образца, мм
Масса ударника, г
До 4,0 включ.
100
Св. 4,0 до 6,0 "
200
" 6,0 до 9,0 "
300
" 9,0 до 12,5 "
400
" 12,5 до 20,0 "
500
" 20,0 до 30,0 "
750
" 30,0 до 50,0 "
1000
" 50,0 до 75,0 "
1250
" 75,0
1500
Для гибких кабелей и кабелей связи масса ударника для испытания образцов должна быть не менее значений, указанных в таблице 2.
Таблица 2
Масса ударника для испытания образцов гибких кабелей
и кабелей связи
Наружный диаметр образца, мм
Масса ударника, г
Плоские кабели
100
До 6,0 включ.
100
Св. 6,0 до 10,0 "
200
" 10,0 до 15,0 "
300
" 15,0 до 25,0 "
400
" 25,0 до 35,0 "
500
" 35,0
600
Наружный диаметр, указанный в таблицах, измеряют на каждом образце штангенциркулем или рулеткой.
При испытании плоских кабелей их меньшая ось должна быть перпендикулярна стальному основанию.
4.5. Проведение испытания
Испытательное устройство и образцы размещают рядом друг с другом в холодильной камере и выдерживают при заданной температуре. Помещенные в холодильную камеру устройство и образцы охлаждают не менее 16 ч, причем это время включает в себя период, необходимый для охлаждения испытательного устройства. Если устройство было предварительно охлаждено, допускается более короткий период охлаждения, но не менее 1 ч при условии, что образцы достигли заданной температуры испытания.
По окончании охлаждения каждый образец по очереди располагают в соответствии с рисунком 1, ударнику обеспечивают возможность падения с высоты 100 мм.
Перед проверкой изоляции кабелей или кабелей без оболочки образцы после испытания должны достичь приблизительно комнатной температуры.
Проверку изоляции проводят после закручивания прямых образцов на 360° на каждые 100 мм длины. Если не представляется возможным закрутить образцы, то их проверяют так же, как оболочку.
Перед проверкой оболочки кабелей образцы должны достичь приблизительно комнатной температуры, затем их погружают в горячую воду, после чего оболочку разрезают в направлении оси кабеля.
Примечание - Температура горячей воды от 40 °C до 50 °C включительно.
Затем осматривают внутреннюю и наружную поверхности оболочки и изоляции. Изоляцию кабелей с оболочкой осматривают только с наружной стороны.
4.6. Оценка результатов
Ни на одном из трех испытанных образцов не должно быть трещин, видимых без применения увеличительных приборов.
Если на одном из трех образцов имеются трещины, испытание повторяют на трех других образцах, и если ни на одном из них нет трещин, то образцы считают выдержавшими испытание. Если же на каком-либо из этих трех образцов имеются трещины, образцы считают не выдержавшими испытание.
5. Протокол испытаний
Протокол испытаний должен соответствовать требованиям IEC 60811-100.
Приложение ДА
(справочное)
СВЕДЕНИЯ О СООТВЕТСТВИИ ССЫЛОЧНЫХ МЕЖДУНАРОДНЫХ СТАНДАРТОВ
МЕЖГОСУДАРСТВЕННЫМ СТАНДАРТАМ
Таблица ДА.1
Обозначение ссылочного международного стандарта
Степень соответствия
Обозначение и наименование соответствующего межгосударственного стандарта
IEC 60811-100:2012
IDT
ГОСТ IEC 60811-100-2015 "Кабели электрические и волоконно-оптические. Методы испытаний неметаллических материалов. Часть 100. Общие положения"
Примечание - В настоящей таблице использовано следующее условное обозначение степени соответствия стандарта:
- IDT - идентичный стандарт.
БИБЛИОГРАФИЯ
IEC 60811-1-4:1985
Common test methods for insulating and sheathing materials of electric cables - Part 1: Methods for general application - Section 4: Tests at low temperature (Общие методы испытаний материалов изоляции и оболочек электрических кабелей. Часть 1. Методы общего применения. Раздел 4. Испытание при низкой температуре) (отменен)