Главная // Актуальные документы // ГОСТ (Государственный стандарт)СПРАВКА
Источник публикации
М.: Стандартинформ, 2016
Примечание к документу
Документ включен в
Перечень международных и региональных (межгосударственных) стандартов, а в случае их отсутствия - национальных (государственных) стандартов, содержащих правила и методы исследований (испытаний) и измерений, в том числе правила отбора образцов, необходимые для применения и исполнения требований технического
регламента Таможенного союза "О безопасности низковольтного оборудования" (ТР ТС 004/2011) и осуществления оценки соответствия объектов технического регулирования (
Решение Коллегии Евразийской экономической комиссии от 11.05.2023 N 55).
Документ включен в
Перечень национальных стандартов, содержащих правила и методы исследований (испытаний) и измерений, в том числе правила отбора образцов, необходимых для применения и исполнения Федерального
закона от 22.07.2008 N 123-ФЗ "Технический регламент о требованиях пожарной безопасности" и осуществления оценки соответствия (
Распоряжение Правительства РФ от 10.03.2009 N 304-р).
Документ
введен в действие с 1 января 2017 года.
Название документа
"ГОСТ IEC 60754-1-2015. Межгосударственный стандарт. Испытания материалов конструкции кабелей при горении. Часть 1. Определение количества выделяемых газов галогенных кислот"
(введен в действие Приказом Росстандарта от 28.06.2016 N 715-ст)
"ГОСТ IEC 60754-1-2015. Межгосударственный стандарт. Испытания материалов конструкции кабелей при горении. Часть 1. Определение количества выделяемых газов галогенных кислот"
(введен в действие Приказом Росстандарта от 28.06.2016 N 715-ст)
агентства по техническому
регулированию и метрологии
от 28 июня 2016 г. N 715-ст
МЕЖГОСУДАРСТВЕННЫЙ СТАНДАРТ
ИСПЫТАНИЯ МАТЕРИАЛОВ КОНСТРУКЦИИ КАБЕЛЕЙ ПРИ ГОРЕНИИ
ЧАСТЬ 1
ОПРЕДЕЛЕНИЕ КОЛИЧЕСТВА ВЫДЕЛЯЕМЫХ ГАЗОВ ГАЛОГЕННЫХ КИСЛОТ
Test on gases evolved during combustion of materials
from cables. Part 1. Determination of the halogen acid
gas content
(IEC 60754-1:2011, IDT)
ГОСТ IEC 60754-1-2015
Дата введения
1 января 2017 года
Цели, основные принципы и основной порядок проведения работ по межгосударственной стандартизации установлены
ГОСТ 1.0-92 "Межгосударственная система стандартизации. Основные положения" и
ГОСТ 1.2-2009 "Межгосударственная система стандартизации. Стандарты межгосударственные, правила и рекомендации по межгосударственной стандартизации. Правила разработки, принятия, применения, обновления и отмены"
1 ПОДГОТОВЛЕН Открытым акционерным обществом "Всероссийский научно-исследовательский, проектно-конструкторский и технологический институт кабельной промышленности" (ОАО "ВНИИКП") на основе собственного перевода на русский язык англоязычной версии стандарта, указанного в
пункте 5
2 ВНЕСЕН Межгосударственным техническим комитетом по стандартизации МТК 46 "Кабельные изделия"
3 ПРИНЯТ Межгосударственным советом по стандартизации, метрологии и сертификации по результатам голосования (протокол от 27 октября 2015 г. N 81-П)
За принятие проголосовали:
Краткое наименование страны по МК (ISO 3166) 004-97 | Код страны по МК (ISO 3166) 004-97 | Сокращенное наименование национального органа по стандартизации |
Армения | AM | Минэкономики Республики Армения |
Беларусь | BY | Госстандарт Республики Беларусь |
Казахстан | KZ | Госстандарт Республики Казахстан |
Киргизия | KG | Кыргызстандарт |
Молдова | MD | Молдова-Стандарт |
Россия | RU | Росстандарт |
Таджикистан | TJ | Таджикстандарт |
4
Приказом Федерального агентства по техническому регулированию и метрологии от 28 июня 2016 г. N 715-ст межгосударственный стандарт ГОСТ IEC 60754-1-2015 введен в действие в качестве национального стандарта Российской Федерации с 1 января 2017 г.
5 Настоящий стандарт идентичен международному стандарту IEC 60754-1:2011 "Испытания по газам, выделяемым при горении материалов конструкции кабелей. Часть 1. Определение количества выделяемых газов галогенных кислот" ("Test on gases evolved during combustion of materials from cables - Part 1: Determination of the halogen acid gas content", IDT).
Международный стандарт IEC 60754-1:2011 разработан техническим комитетом TC 20 "Электрические кабели" Международной электротехнической комиссии (IEC).
Официальные экземпляры международного стандарта, на основе которого подготовлен настоящий межгосударственный стандарт, и международных стандартов, на которые даны ссылки, имеются в Федеральном информационном фонде технических регламентов и стандартов.
При применении настоящего стандарта рекомендуется использовать вместо ссылочных международных стандартов соответствующие им межгосударственные стандарты, сведения о которых приведены в дополнительном
приложении ДА
7 Некоторые элементы настоящего стандарта могут быть объектом патентного права. IEC не несет ответственность за установление подлинности каких-либо или всех таких патентных прав
Информация об изменениях к настоящему стандарту публикуется в ежегодном информационном указателе "Национальные стандарты", а текст изменений и поправок - в ежемесячном информационном указателе "Национальные стандарты". В случае пересмотра (замены) или отмены настоящего стандарта соответствующее уведомление будет опубликовано в ежемесячном информационном указателе "Национальные стандарты". Соответствующая информация, уведомление и тексты размещаются также в информационной системе общего пользования - на официальном сайте Федерального агентства по техническому регулированию и метрологии в сети Интернет (www.gost.ru)
Серия стандартов ГОСТ IEC 60754 состоит из следующих частей под общим заголовком "Испытания материалов конструкции кабелей при горении":
- Часть 1: Определение количества выделяемых газов галогенных кислот;
- Часть 2: Определение степени кислотности выделяемых газов измерением pH и удельной проводимости.
ГОСТ IEC 60754-1 был разработан вследствие необходимости контроля количества кислотных газов, выделяемых при горении изоляции, оболочки и других материалов конструкций некоторых кабелей, так как образующаяся кислота может приводить к значительным повреждениям электрического и электронного оборудования, которое не подверглось горению.
В настоящем стандарте приведен метод определения количества кислотных газов, выделяемых при горении элементов конструкции кабеля, с целью установления его предельного допускаемого значения в стандартах или технических условиях на конкретные кабельные изделия. Так как настоящее испытание проводят не на образце готового кабеля, то для оценки риска выделения недопустимо большого количества кислотных газов следует учитывать реальный объем материала в конструкции кабеля.
Настоящий стандарт устанавливает требования к испытательному оборудованию и порядку определения количества газов галогенных кислот, кроме фтористоводородной кислоты, выделяемых при горении компаундов на основе галогенсодержащих полимеров или имеющих галогеносодержащие добавки, отобранных от элементов конструкции электрического или оптического кабеля.
Примечания
1 Настоящий метод не подходит для определения количества фтористоводородной кислоты. Соответствующий метод приведен в IEC 60684-2.
2 Настоящий метод можно применять для испытания материалов, используемых при изготовлении кабелей/проводов, но заявление о характеристиках кабелей/проводов не должно основываться на таком испытании.
3 Элементы конструкции кабеля/провода, подлежащие проверке (испытанию), должны быть указаны в стандартах или технических условиях на конкретные кабельные изделия.
4 В настоящем стандарте термин "электрический кабель" распространяется на кабельные изделия с изолированными металлическими токопроводящими жилами, предназначенные для передачи электроэнергии или сигналов.
Метод, приведенный в настоящем стандарте, предназначен для испытаний отдельных элементов конструкции кабеля/провода. Применение этого метода позволит подтвердить соответствие требованиям к отдельным элементам конструкции кабеля, установленным в стандартах или технических условиях на конкретные кабельные изделия.
Примечание 5 - По согласованию между изготовителем и заказчиком (потребителем) метод, приведенный в настоящем стандарте, может быть применен для испытания комбинаций материалов, используемых в конструкциях кабелей/проводов, но заявление о характеристиках кабелей/проводов по настоящему стандарту не должно основываться на таком испытании. Сведения о таком методе приведены в
приложении А.
В целях достижения необходимой точности измерений настоящий метод не рекомендуется применять, если количество выделяющейся галогенной кислоты менее 5 мг на 1 г испытуемого образца.
Для применения настоящего стандарта необходимы следующие ссылочные документы. Для датированных ссылок применяют только указанное издание ссылочного документа, для недатированных ссылок применяют последнее издание ссылочного документа (включая все его изменения):
ISO 385 Laboratory glassware - Burettes (Посуда лабораторная стеклянная. Бюретки)
ISO 1042 Laboratory glassware - One-mark volumetric flasks (Посуда лабораторная стеклянная. Колбы мерные с одной меткой)
ISO 3696 Water for analytical laboratory use - Specification and test methods (Вода для лабораторного анализа. Технические требования и методы испытаний)
В настоящем стандарте применен следующий термин с соответствующим определением:
3.1 содержание газов галогенных кислот (halogen acid gas content): Количество выделяемых газов галогенных кислот, кроме фтористоводородной кислоты, выраженное в миллиграммах соляной кислоты на грамм всего испытуемого образца.
Испытуемый материал нагревают в потоке сухого воздуха, а выделяющиеся газы абсорбируют в 0,1 М
<*> растворе гидроксида натрия в промывочном сосуде. Затем определяют количество галогенных кислот путем подкисления раствора азотной кислотой с добавлением измеренного количества 0,1 М раствора азотнокислого серебра и обратного титрования избытка 0,1 М раствором тиоцианата аммония, используя в качестве индикатора сернокислый аммоний, содержащий трехвалентное железо.
Примечания
1 Допускается проведение испытания другим равноценным методом, имеющим не меньшую точность получения результатов, однако в случае разногласий необходимо использовать метод, указанный в настоящем стандарте.
2 Хотя данный аналитический метод позволяет обнаруживать как хлористый водород, так и бромистый водород, содержание галогенных кислот указывают в отчете, полагая, что все галогенные кислоты представляют собой хлористый водород.
--------------------------------
<*> Сокращенная форма записи единицы молярной концентрации, М = моль/л.
5. Испытательное оборудование
Схемы испытательного оборудования приведены на рисунках 1 -
5.
1 - искусственный или сжатый воздух, отфильтрованный
и осушенный; 2 - стеклянная трубка; 3 - термопара;
4 - трубка из кварцевого стекла; 5 - образец;
6 - стержневые магниты; 7 - платиновая проволока;
8 - лодочка для сжигания; 9 - стандартное притертое
соединение, размер которого соответствует диаметру трубки
из кварцевого стекла; 10 - печь
Рисунок 1 - Устройство для ввода лодочки с образцом
в трубку для сжигания
1 - магнитная мешалка; h - от 100 до 120 мм
Рисунок 2 - Пример промывочного сосуда
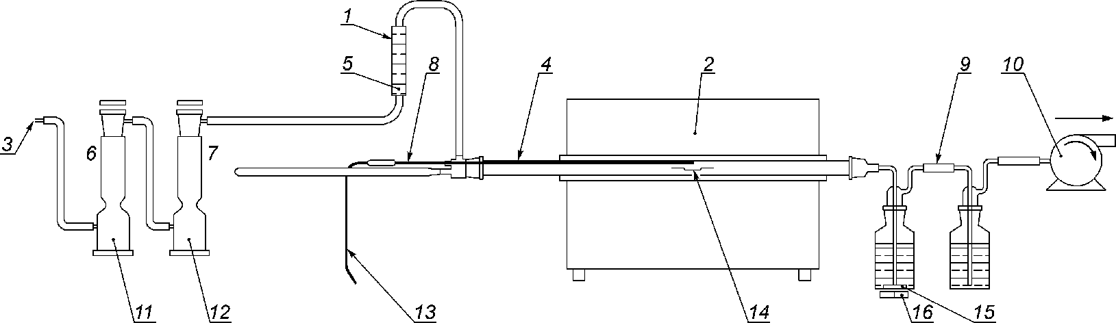
1 - редуктор; 2 - ротаметр; 3 - трубка из кварцевого стекла;
4 - печь; 5 - игольчатый вентиль; 6 - термопара;
7 - промывочные сосуды; 8 - искусственный воздух;
9 - устройство для ввода лодочки для сжигания с испытуемым
образцом; 10 - лодочка для сжигания с испытуемым образцом;
11 - магнитная мешалка; 12 - стержень магнитной мешалки
Рисунок 3 - Испытательное устройство для
способа 1
с использованием искусственного или сжатого воздуха,
подаваемого из баллона
1 - редуктор; 2 - ротаметр; 3 - трубка из кварцевого стекла;
4 - печь; 5 - сжатый воздух; 6 - игольчатый вентиль;
7 - активированный уголь; 8 - силикагель; 9 - термопара;
10 - промывочные сосуды; 11 - воздушный фильтр;
12 - осушитель воздуха; 13 - устройство для ввода лодочки
для сжигания с испытуемым образцом; 14 - лодочка
для сжигания с испытуемым образцом; 15 - стержень
магнитной мешалки; 16 - магнитная мешалка
Рисунок 4 - Испытательное устройство для
способа 2
с использованием сжатого воздуха из сосуда, подаваемого
из лабораторной установки
1 - ротаметр; 2 - печь; 3 - воздух окружающей среды;
4 - трубка из кварцевого стекла; 5 - игольчатый вентиль;
6 - активированный уголь; 7 - силикагель; 8 - термопара;
9 - промывочные сосуды; 10 - всасывающий насос;
11 - воздушный фильтр; 12 - осушитель воздуха;
13 - устройство для ввода лодочки для сжигания с испытуемым
образцом; 14 - лодочка для сжигания с испытуемым образцом;
15 - стержень магнитной мешалки; 16 - магнитная мешалка
Рисунок 5 - Испытательное устройство для
способа 3
с использованием атмосферного воздуха, подаваемого
всасывающим насосом
Все элементы испытательного оборудования должны быть герметичными. Соединения между трубкой из кварцевого стекла и первым промывочным сосудом, и между последующими промывочными сосудами должны быть как можно короче. Для этих соединений следует использовать трубки из стекла или кремнийорганической резины.
Примечания
1 На выходе из трубки из кварцевого стекла, по возможности ближе к ее концу, допускается помещать пробку из кварцевой пряжи для сбора конденсата.
2 Третий пустой сосуд одинакового размера с промывочным сосудом, размещаемый перед промывочным сосудом, может быть использован для повышения безопасности, т.е. для предотвращения обратного всасывания воды в трубку из кварцевого стекла.
Рабочая длина нагревательной зоны печи должна составлять от 480 до 620 мм, а ее внутренний диаметр - от 38 до 62 мм. Печь должна иметь регулируемую электрическую нагревательную систему.
5.3. Трубка из кварцевого стекла
Для проведения испытания внутри трубчатой печи должна быть установлена трубка из кварцевого стекла. Трубку располагают приблизительно концентрично относительно печи. Трубка должна быть устойчивой к воздействию коррозионных газов.
Внутренний диаметр трубки должен быть от 30 до 46 мм. Со стороны входа в печь конец трубки должен выступать на длину от 60 до 200 мм, со стороны выхода - на длину от 60 до 100 мм. Для компенсации теплового расширения допускается первоначальный зазор в соединениях. Для проведения измерений длины выступов конца трубки трубку рассматривают как часть постоянного диаметра.
Примечание - Наружный диаметр трубки выбирают с учетом внутреннего диаметра трубчатой печи.
Перед проведением каждого испытания трубка должна быть очищена по всей длине прокаливанием при температуре около 950 °C.
5.4. Лодочки для сжигания
Лодочки для сжигания должны быть изготовлены из фарфора, плавленого кварца или талькового камня и иметь следующие размеры:
- наружная длина - от 45 до 100 мм;
- наружная ширина - от 12 до 30 мм;
- внутренняя глубина - от 5 до 10 мм.
Примечание - Размеры лодочки следует выбирать с учетом внутреннего диаметра кварцевой трубки.
Рекомендуемый способ ввода лодочки для сжигания в трубку из кварцевого стекла приведен на
рисунке 1.
Перед проведением каждого испытания лодочку для сжигания промывают и прокаливают в муфельной печи при температуре около 950 °C в течение 4 ч, после чего лодочку помещают в сушильный шкаф и охлаждают до температуры окружающей среды. Затем лодочку для сжигания взвешивают с точностью до 0,1 мг. Полученный вес (m1) регистрируют.
5.5. Устройства для пропускания газов
После выхода из трубки газы проходят через два промывочных сосуда
(рисунок 2), каждый из которых содержит не менее 220 мл 0,1 М раствора гидроксида натрия.
Для обеспечения турбулентного движения и лучшей абсорбции газов сгорания в первый промывочный сосуд помещают магнитную мешалку. Для лучшей абсорбции концы трубок в промывочных сосудах должны иметь внутренний диаметр не более 5 мм.
Уровень жидкости над концом трубки в каждом сосуде должен быть (110 +/- 10) мм.
Примечание - Для выполнения этого требования используют стандартный лабораторный стеклянный сосуд с внутренним диаметром около 50 мм.
5.6. Система подачи воздуха
Для обеспечения горения используют воздух.
Расход воздуха, вводимого в трубку из кварцевого стекла, регулируют в зависимости от фактического внутреннего сечения трубки таким образом, чтобы скорость потока воздуха, проходящего через образец, составляла около 20 мл/мм2/ч.
Скорость потока воздуха регулируют через расход воздуха. Расход воздуха должен быть 0,0157D2 л/ч с допускаемым отклонением +/- 10%.
Примечание - Расчет расхода воздуха

, мл/мм
2/ч, для установленной скорости потока воздуха проводят по формуле

(1)
где V - скорость потока воздуха, мл/мм2/ч;
D - внутренний диаметр трубки, мм.
Подачу воздуха регулируют и контролируют с помощью игольчатого вентиля, а расход воздуха контролируют соответствующим ротаметром.
Подачу воздуха осуществляют одним из трех следующих способов.
Используют искусственный или сжатый воздух из баллона. Воздух подают на вход трубки из кварцевого стекла, как показано на
рисунке 3.
Используют сжатый воздух, полученный в лаборатории. Воздух подают на вход трубки из кварцевого стекла, как показано на
рисунке 4. Перед подачей воздух фильтруют и просушивают.
Используют воздух, находящийся в лаборатории. Воздух фильтруют и просушивают. В этом случае смесь воздуха и газов сгорания прокачивают насосом, как показано на
рисунке 5.
Погрешность весов не должна быть более +/- 0,1 мг.
5.8. Лабораторное оборудование
Для титрирования необходимо следующее лабораторное оборудование:
- пипетка 20 мл;
- пипетка 100 мл;
- одномерная колба емкостью не менее 1000 мл по ISO 1042;
- коническая колба емкостью от 250 до 500 мл;
- бюретка по ISO 385.
Для проведения анализа необходимо использовать следующие реактивы соответствующего аналитического качества. Деминерализованная или дистиллированная вода должна иметь третью степень чистоты по ИСО 3696.
a) Концентрированная (около 65%) азотная кислота с удельной плотностью

приблизительно 1,40 г/мл.
b) Азотная кислота концентрации приблизительно 6 М.
c) 0,1 М раствор азотнокислого серебра.
d) Нитробензол, толуол или изоамиловый спирт.
e) Водный раствор сернокислого аммония, содержащего трехвалентное железо, массовой/объемной долей приблизительно 40%.
f) 0,1 М раствор тиоцианата аммония.
Примечание - Нитробензол считается высокотоксичным веществом. Толуол или изоамиловый спирт являются более безопасными альтернативами.
Готовят два образца из материала, предназначенного для испытания, массой (750 +/- 250) мг каждый. Образцы разрезают на несколько небольших кусочков.
Примечание - Кусочки образцов максимальным размером 3 мм считаются подходящими для проведения испытания.
6.2. Кондиционирование образцов
Образцы кондиционируют в течение не менее 16 ч при температуре (23 +/- 2) °C и относительной влажности воздуха (50 +/- 5)%.
Лодочку для сжигания взвешивают (m
1) с точностью до 0,1 мг (см.
5.4). После кондиционирования образец помещают в лодочку для сжигания и равномерно располагают на дне лодочки, затем взвешивают лодочку вместе с помещенным в нее образцом (m
2) с точностью до 0,1 мг. Вес m
2 регистрируют.
Массу образца m, г, рассчитывают по формуле
m = m2 - m1, (2)
где m2 - масса лодочки с образцом, г;
m1 - масса лодочки для сжигания, г.
Примечание - Современное оборудование для взвешивания с автоматической установкой на нуль позволяет проводить непосредственное измерение m.
Испытание проводят на каждом образце.
7.2. Испытательное оборудование
Испытание по настоящему разделу проводят с использованием испытательного оборудования, указанного в
разделе 5.
7.3.1 Определение режима нагрева
Пустую лодочку для сжигания помещают в трубку из кварцевого стекла и располагают приблизительно в центре трубчатой печи.
Расход воздуха устанавливают с помощью игольчатого клапана на уровне, указанном в
5.6, и поддерживают постоянным в течение всего испытания.
Термопару или другое аналогичное устройство для измерения температуры (соответствующим образом защищенное от коррозии) помещают на место образца в пустой лодочке для сжигания. Лодочку для сжигания нагревают с постоянной скоростью нагрева в течение (40 +/- 5) мин до достижения температуры (800 +/- 10) °C, регистрируемой термопарой, после чего выдерживают при установившейся температуре в течение (20 +/- 1) мин.
По этому испытанию определяют режим нагрева, который позволяет обеспечить требуемую скорость и температуру нагрева образца.
Лодочку для сжигания с образцом помещают в трубку из кварцевого стекла и располагают приблизительно в центре трубчатой печи.
Расход воздуха устанавливают с помощью игольчатого вентиля на уровне, указанном в
5.6, и поддерживают постоянным на протяжении всего испытания.
Образец нагревают в соответствии с
7.3.1.
Примечание - Оператор должен принимать меры предосторожности, например использовать защиту для глаз и соответствующую защитную одежду, так как определенные материалы легко воспламеняются и могут вызвать обратный поток горячих газов. Следует также принять меры, чтобы не допустить избыточного давления в системе и обеспечить вытяжную вентиляцию для выходящих газов. Руководство, как избежать возникновения обратного потока горячих газов, приведено в
5.1 (примечание 2).
После проведения процедуры нагрева все используемые промывочные сосуды разъединяют, а их содержимое сливают в колбу емкостью не менее 1000 мл. Промывочные сосуды, соединительные трубки и, после охлаждения, выходную часть трубки из кварцевого стекла, включая кварцевую пряжу (если она используется), промывают дистиллированной или деминерализованной водой, которую после промывки сливают в колбу, содержимое которой доводят до 1000 мл.
7.5. Определение содержания галогенной кислоты
7.5.1 Контрольное испытание
Перед испытанием на испытуемом образце проводят контрольное испытание по
7.3.2, но без испытуемого образца в лодочке для сжигания.
После охлаждения до комнатной температуры 200 мл полученного раствора с помощью соответствующей пипетки отмеряют в коническую колбу с последовательным добавлением следующих реактивов:
a) приблизительно 4 мл концентрированной азотной кислоты;
b) 20 мл 0,1 М раствора азотнокислого серебра;
c) приблизительно 3 мл нитробензола, толуола или изоамилового спирта.
Содержимое колбы хорошо перемешивают для получения полного осадка коллоидного серебра, образованного в результате реакции.
Затем добавляют 1 мл 40%-ного (по массе/объему) водного раствора сернокислого аммония, содержащего трехвалентное железо, и несколько капель 6 М раствора азотной кислоты и перемешивают. Затем раствор титрируют 0,1 М раствором тиоцианата аммония, используя бюретку, и энергично встряхивают и перемешивают. После титрирования раствор должен иметь красную окраску.
Объем B 0,1 М раствора тиоцианата аммония регистрируют.
Примечание - Контрольное испытание рекомендуется проводить перед каждой серией испытаний и перед началом использования новых партий раствора гидроксида натрия, раствора азотнокислого серебра, раствора тиоцианата аммония или дистиллированной, или деминерализованной воды.
7.5.2 Испытание материалов
Испытание по
7.3.2 проводят на испытуемом образце в лодочке для сжигания.
После охлаждения до комнатной температуры 200 мл полученного раствора с помощью соответствующей пипетки отмеряют в коническую колбу с последовательным добавлением следующих реактивов:
a) приблизительно 4 мл концентрированной азотной кислоты;
b) 20 мл 0,1 М раствора азотнокислого серебра;
c) приблизительно 3 мл нитробензола, толуола или изоамилового спирта.
Содержимое колбы хорошо перемешивают для получения полного осадка коллоидного серебра, образованного в результате реакции.
Затем добавляют 1 мл 40%-ного (по массе/объему) водного раствора сернокислого аммония, содержащего трехвалентное железо, и несколько капель 6 М раствора азотной кислоты. Все это перемешивают. Затем раствор титрируют 0,1 М раствором тиоцианата аммония, используя бюретку, и энергично встряхивают и перемешивают. После титрирования раствор должен иметь красную окраску.
Объем A 0,1 М раствора тиоцианата аммония регистрируют.
7.5.3 Определение содержания галогенной кислоты
Количество галогенной кислоты C выражают в миллиграммах соляной кислоты на грамм массы взятого образца и определяют по формуле

(3)
где 36,5 - молярная масса хлористого водорода;
B - объем 0,1 М раствора тиоцианата аммония, использованного при контрольном испытании;
A - объем 0,1 М раствора тиоцианата аммония, использованного при испытании на образце;
M - молярность раствора тиоцианата аммония;
m - масса образца, г.
8. Обработка результатов испытания
Содержание газов галогенных кислот в материале Cm определяют как среднее значение результатов испытаний на двух образцах.
Отдельные значения не должны отличаться от среднего значения более чем на +/- 10% при содержании газов галогенных кислот 5 мг/г и более.
Регистрируют значение C = 5, если количество галогенной кислоты менее 5 мг/г.
9. Требование к характеристике
Настоящий стандарт не содержит каких-либо требований, соответствие которым необходимо подтверждать.
В отчете об испытании должно быть указано:
a) полное описание испытуемого материала;
b) обозначение настоящего стандарта;
c) содержание газов галогенных кислот в материале Cm;
d) аналитический метод, использованный для определения содержания газов галогенных кислот (если он отличается от метода, указанного в настоящем стандарте);
| | ИС МЕГАНОРМ: примечание. В официальном тексте документа, видимо, допущена опечатка: реактивы 3) и 6) отсутствуют в пункте 5.9. Возможно, имеются в виду реактивы c) и f). | |
e) справочный материал заказчика, использованный для
реактивов 3) и
6) (согласно
5.9);
f) тип используемого испытательного оборудования (
способ 1,
2 или
3).
(справочное)
ОПРЕДЕЛЕНИЕ КОЛИЧЕСТВА ВЫДЕЛЯЕМЫХ ГАЗОВ ГАЛОГЕННЫХ КИСЛОТ
ДЛЯ ТИПОВОГО ОБРАЗЦА КОНСТРУКЦИИ КАБЕЛЯ
По согласованию между изготовителем и заказчиком (потребителем) в качестве испытуемого образца может быть использован типовой образец для всех неметаллических элементов конструкции кабеля.
Типовой образец подготавливают следующим способом.
Образец длиной от 15 до 25 мм после удаления всех металлических элементов конструкции кабеля разрезают на маленькие кусочки. Образец должен иметь достаточную длину для обеспечения требуемого веса в соответствии с
6.1. Для разрезания образца на маленькие кусочки, удовлетворяющие требованию
6.1, используют острый нож или лезвие бритвы.
Кусочки хорошо перемешивают и отбирают необходимое число образцов, соответствующих
6.1, для испытания.
(справочное)
СВЕДЕНИЯ О СООТВЕТСТВИИ ССЫЛОЧНЫХ МЕЖДУНАРОДНЫХ СТАНДАРТОВ
МЕЖГОСУДАРСТВЕННЫМ СТАНДАРТАМ
Таблица ДА.1
Обозначение ссылочного международного стандарта | Степень соответствия | Обозначение и наименование соответствующего межгосударственного стандарта |
ISO 385 | MOD | ГОСТ 29251-91 (ИСО 385-1-84) "Посуда лабораторная стеклянная. Бюретки. Часть 1. Общие требования" |
IDT | ГОСТ 29252-91 (ИСО 385-2-84) "Посуда лабораторная стеклянная. Бюретки. Часть 2. Бюретки без установленного времени ожидания" |
IDT | ГОСТ 29253-91 (ИСО 385-3-84) "Посуда лабораторная стеклянная. Бюретки. Часть 3. Бюретки с временем ожидания 30 с" |
ISO 1042 | MOD | ГОСТ 1770-74 (ИСО 1042-83, ИСО 4788-80) "Посуда мерная лабораторная стеклянная. Цилиндры, мензурки, колбы, пробирки. Общие технические условия" |
ISO 3696 | - | <*> |
<*> Соответствующий межгосударственный стандарт отсутствует. Действует ГОСТ Р 52501-2005 (ИСО 3696:1987) "Вода для лабораторного анализа. Технические условия". Примечание - В настоящей таблице использованы следующие условные обозначения степени соответствия стандартов: - IDT - идентичные стандарты; - MOD - модифицированные стандарты. |
IEC 60684-2 Flexible insulating sleeving - Part 2: Methods of test (Трубки электроизоляционные гибкие. Часть 2. Методы испытаний)
IEC Guide 104 The preparation of safety publications and the use of basic safety publications and group safety publications (Подготовка публикаций по безопасности и использование основополагающих и групповых публикаций по безопасности)