Главная // Актуальные документы // ГОСТ (Государственный стандарт)СПРАВКА
Источник публикации
М.: Стандартинформ, 2016
Примечание к документу
Документ
введен в действие с 1 июня 2016 года.
Название документа
"ГОСТ EN/TS 16415-2015. Межгосударственный стандарт. Система стандартов безопасности труда. Средства индивидуальной защиты от падения с высоты. Анкерные устройства для использования более чем одним человеком одновременно. Общие технические требования. Методы испытаний"
(введен в действие Приказом Росстандарта от 10.06.2015 N 624-ст)
"ГОСТ EN/TS 16415-2015. Межгосударственный стандарт. Система стандартов безопасности труда. Средства индивидуальной защиты от падения с высоты. Анкерные устройства для использования более чем одним человеком одновременно. Общие технические требования. Методы испытаний"
(введен в действие Приказом Росстандарта от 10.06.2015 N 624-ст)
агентства по техническому
регулированию и метрологии
от 10 июня 2015 г. N 624-ст
МЕЖГОСУДАРСТВЕННЫЙ СТАНДАРТ
СИСТЕМА СТАНДАРТОВ БЕЗОПАСНОСТИ ТРУДА
СРЕДСТВА ИНДИВИДУАЛЬНОЙ ЗАЩИТЫ ОТ ПАДЕНИЯ С ВЫСОТЫ.
АНКЕРНЫЕ УСТРОЙСТВА ДЛЯ ИСПОЛЬЗОВАНИЯ БОЛЕЕ
ЧЕМ ОДНИМ ЧЕЛОВЕКОМ ОДНОВРЕМЕННО
ОБЩИЕ ТЕХНИЧЕСКИЕ ТРЕБОВАНИЯ.
МЕТОДЫ ИСПЫТАНИЙ
Occupational safety standards system. Personal fall
protection equipment. Anchor devices. Anchor devices
for use by more than one person simultaneously.
General technical requirements. Test methods
(EN/TS 16415:2012, IDT)
ГОСТ EN/TS 16415-2015
Дата введения
1 июня 2016 года
Цели, основные принципы и основной порядок проведения работ по межгосударственной стандартизации установлены в
ГОСТ 1.0-92 "Межгосударственная система стандартизации. Основные положения" и
ГОСТ 1.2-2009 "Межгосударственная система стандартизации. Стандарты межгосударственные, правила и рекомендации по межгосударственной стандартизации. Правила разработки, принятия, применения, обновления и отмены"
1 ПОДГОТОВЛЕН Рабочей группой подкомитета ПК-7 Технического комитета по стандартизации средств индивидуальной защиты ТК 320 "СИЗ" на основе собственного аутентичного перевода на русский язык европейского регионального документа, указанного в
пункте 4
2 ВНЕСЕН Федеральным агентством по техническому регулированию и метрологии (Росстандарт)
3 ПРИНЯТ Межгосударственным советом по стандартизации, метрологии и сертификации (протокол от 27 февраля 2015 г. N 75-П)
За принятие проголосовали:
Краткое наименование страны по МК (ИСО 3166) 004-97 | Код страны по МК (ИСО 3166) 004-97 | Сокращенное наименование национального органа по стандартизации |
Армения | AM | Минэкономики Республики Армения |
Беларусь | BY | Госстандарт Республики Беларусь |
Киргизия | KG | Кыргызстандарт |
Россия | RU | Росстандарт |
Таджикистан | TJ | Таджикстандарт |
4
Приказом Федерального агентства по техническому регулированию и метрологии от 10 июня 2015 г. N 624-ст межгосударственный стандарт ГОСТ EN/TS 16415-2015 введен в действие в качестве национального стандарта Российской Федерации с 1 июня 2016 г.
5 Настоящий стандарт идентичен европейскому региональному документу EN/TS 16415:2012 Personal fall protection equipment - Anchor devices - Recommendations for anchor devices for use by more than one person simultaneously (Персональное защитное оборудование от падения. Анкерные устройства. Рекомендации для анкерных устройств для одновременного использования более чем одним человеком).
Европейский документ разработан Европейским комитетом по стандартизации (CEN) в соответствии с мандатом, предоставленным Европейской ассоциацией свободной торговли (EFTA), и реализует существенные требования безопасности Директивы 89/686/EEC.
Перевод с английского (en).
Официальный экземпляр европейского документа, на основе которого подготовлен настоящий межгосударственный стандарт, имеется во ФГУП "СТАНДАРТИНФОРМ".
Наименование настоящего стандарта изменено относительно наименования указанного международного стандарта для приведения в соответствие с ГОСТ 1.5
(подраздел 3.6).
Сведения о соответствии межгосударственных стандартов ссылочным европейским региональным стандартам приведены в дополнительном
приложении ДА.
Степень соответствия - идентичная (IDT)
6 ВВЕДЕН ВПЕРВЫЕ
Информация об изменениях к настоящему стандарту публикуется в ежегодном информационном указателе "Национальные стандарты", а текст изменений и поправок - в ежемесячном информационном указателе "Национальные стандарты". В случае пересмотра или отмены настоящего стандарта соответствующее уведомление будет опубликовано в информационном указателе "Национальные стандарты". Соответствующая информация, уведомление и тексты размещаются также в информационной системе общего пользования - на официальном сайте Федерального агентства по техническому регулированию и метрологии в сети Интернет
Надежное анкерное устройство является одним из наиболее важных компонентов системы индивидуальной защиты от падения с высоты.
Настоящий стандарт, в котором представлено минимальное количество функциональных требований, разработан в дополнение к существующим стандартам, относящимся к компонентам, которые используются в системе индивидуальной защиты от падения с высоты.
Область применения и требования основаны на том, что анкерные устройства подразделяют на категории относительно их способности выдерживать максимальную динамическую нагрузку, возникающую при падении с высоты массой одного или более человек, включая любое снаряжение. Испытания на статическое усилие основаны на минимальном факторе безопасности для двух человек. Для того чтобы оборудование не было использовано ненадлежащим образом в дальнейшем, настоящий стандарт содержит требования и методы испытаний для анкерных устройств, которые применяют в оборудовании для индивидуальной защиты от падения с высоты в соответствии с EN 363, даже если их используют для удержания.
Очень важно, чтобы анкерные устройства были разработаны и изготовлены таким образом, чтобы в предполагаемых условиях использования, для которых они предназначены, пользователь имел возможность выполнять работу, связанную с риском, и при этом был защищен надлежащим образом. Производители должны учесть эти моменты при принятии решения относительно фактического исполнения своей продукции.
Настоящий стандарт устанавливает общие технические требования, методы испытаний, требования к маркировке и к информации, предоставляемой изготовителями анкерных устройств, которые предназначены для использования одновременно более чем одним пользователем, а также к оборудованию для испытаний.
Настоящий стандарт не применяют:
- для анкерных устройств, которые предназначены исключительно для одного пользователя в одно и то же время, соответствующих EN 795;
- анкерных устройств, которые используют в качестве товаров для спорта и отдыха;
- оборудования, разработанного в соответствии с EN 516 или EN 517;
- элементов или части конструкций, предназначенных для использования не в качестве точек крепления или анкерных устройств, например балок, швеллеров и т.д.;
- структурных анкеров.
Примечание - Требования, методы испытаний, маркировка и информация, предоставляемая изготовителем анкерных устройств для одного пользователя, - в соответствии с EN 795.
В настоящем стандарте использованы нормативные ссылки на следующие стандарты:
EN 364:1992, Personal protective equipment against falls from a height - Test methods (Оборудование индивидуальной защиты от падения с высоты. Методы испытаний)
EN 795:2012, Personal fall protection equipment - Anchor devices (Оборудование индивидуальной защиты от падения с высоты. Анкерные устройства)
В настоящем стандарте применены следующие термины с соответствующими определениями:
3.1 анкерная система (anchor system): Система для использования в качестве части оборудования индивидуальной защиты от падения с высоты, включающая в себя точку или точки крепления, и/или анкерное устройство, и/или элемент, и/или фиксирующий элемент, и/или структурный анкер (см.
рисунок 1).
Примечание - Анкерные системы, которые не могут быть отсоединены от структуры (конструкции), в настоящем стандарте не рассматриваются (см.
рисунок 2).
Рисунок 1a
Рисунок 1b
Рисунок 1c
Рисунок 1d
Рисунок 1 - Примеры анкерных систем, которые включают в себя
анкерное устройство (1 из 2)
Рисунок 1e
1 - точка крепления; 2 - структура (не является частью
анкерного устройства); 3 - фиксирующий элемент; 4 - анкерное
устройство; 5 - структурный анкер (не является частью
анкерного устройства); 6 - элемент; 7 - стационарная
фиксация (например, полимерная связка)
Рисунок 1 - Примеры анкерных систем, которые включают в себя
анкерное устройство (2 из 2)
1 - точка крепления; 2 - структура; 3 - стационарная
фиксация (например, штифтовое соединение, винты, заклепки,
сварки или полимерная связка); 4 - структурный анкер;
5 - бетонное, изоляционное или иное покрытие
Рисунок 2 - Примеры анкерных систем, которые не должны
соответствовать настоящему стандарту
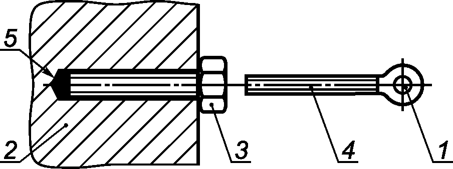
3.2 анкерное устройство (anchor device): Элементы в сборе, представляющие собой часть анкерной системы, используемой в качестве средства индивидуальной защиты от падения с высоты, которая может быть отсоединена от конструкции и включает в себя одну или несколько точек крепления, которые могут иметь фиксирующий элемент к конструкции.
3.2.1 анкерное устройство типа A (type A anchor device): Анкерное устройство с одной или несколькими стационарными точками крепления во время их использования, а также с необходимостью наличия анкера(ов) или фиксирующего(их) элемента(ов) для фиксации к структуре (см.
рисунки 3 и
4).
Примечание - Точки крепления могут вращаться или поворачиваться во время использования, если они разработаны с таким назначением.
3.2.2 анкерное устройство типа B (type B anchor device): Анкерное устройство с одной или более стационарными точками крепления без необходимости наличия структурного анкера(ов) или фиксирующего(их) элемента(ов) для их фиксации к структуре (см.
рисунок 5).
3.2.3 анкерное устройство типа C (type C anchor device): Анкерное устройство с гибкой анкерной линией, которая отклоняется от горизонтали не более чем на 15° (при измерении между крайними и промежуточными анкерами в любой точке вдоль ее длины) (см.
рисунок 6).
3.2.4 анкерное устройство типа D (type D anchor device): Анкерное устройство с жесткой анкерной линией, которая отклоняется от горизонтали не более чем на 15° (при измерении между крайними и промежуточными анкерами в любой точке вдоль ее длины) (см.
рисунок 7).
3.2.5 анкерное устройство типа E (type E anchor device): Анкерное устройство для использования на поверхностях с углом наклона не более 5° от горизонтали, функционирование которого зависит исключительно от массы грузов и силы трения между устройством и поверхностью (см.
рисунок 8).
3.3 структурный анкер (structural anchor): Элемент или элементы, разработанные для использования со средствами индивидуальной защиты от падения с высоты и которые на постоянной основе должны быть частью структуры.
Примечания
1 Структурный анкер не является частью анкерного устройства.
2 Примером структурного анкера является анкер, соединенный при помощи сварки или полимерной связки со структурой.
3.4 фиксирующий элемент (fixing element): Элемент или элементы, используемые для присоединения/фиксации анкерного устройства к структуре и которые могут быть отсоединены от структуры.
3.5 элемент (element): Часть анкерной системы или анкерного устройства.
3.6 точка крепления (anchor point): Место на анкерной системе, для присоединения средства индивидуальной защиты от падения с высоты.
3.7 крайний анкер (extremity anchor): Элемент, присоединяющий конец гибкой анкерной линии или жесткой анкерной линии к структуре.
3.8 промежуточный анкер (intermediate anchor): Элемент, расположенный между крайними анкерами, соединяющий гибкую анкерную линию или жесткую анкерную линию со структурой.
Примечание - Промежуточные опоры, например, направляющая гибкой анкерной линии, которые не предназначены для удержания нагрузки, промежуточными анкерами не являются.
3.9 мобильная точка крепления (mobile anchor point): Элемент с точкой крепления, предназначенный для перемещения по анкерной линии.
3.10 гибкая анкерная линия (flexible anchor line): Гибкая линия между крайними анкерами, к которой может быть присоединено средство индивидуальной защиты от падения с высоты непосредственно с помощью соединителя или через мобильную точку крепления.
Примечание - Гибкой анкерной линией может являться трос, канат или лента.
3.11 жесткая анкерная линия (rigid anchor line): Жесткая анкерная линия между крайними анкерами, к которой может быть присоединено средство индивидуальной защиты от падения с высоты непосредственно с помощью соединителя или через мобильную точку крепления.
Примечание - Жесткой анкерной линией может являться жесткий профиль, например жесткая труба или рельс.
1 - точка крепления; 2 - структура; 3 - фиксирующий элемент;
4 - анкерное устройство; 5 - элемент
Рисунок 3 - Пример анкерного устройства типа A
с фиксирующим элементом
1 - точка крепления; 2 - структура; 3 - структурный анкер;
4 - анкерное устройство; 5 - стационарная фиксация
Рисунок 4 - Пример анкерного устройства типа A
со структурным анкером
1 - точка крепления; 2 - анкерное устройство; 3 - структура
Рисунок 5 - Примеры анкерных устройств типа B
1 - крайний анкер; 2 - промежуточный анкер; 3 - мобильная
точка крепления; 4 - гибкая анкерная линия
Рисунок 6 - Пример анкерного устройства типа C
1 - крайний или промежуточный анкер; 2 - мобильная точка
крепления; 3 - неподвижная деталь жесткой анкерной линии;
4 - жесткая анкерная линия
Рисунок 7 - Пример анкерного устройства типа D
1 - точка крепления; 2 - груз
Рисунок 8 - Пример анкерного устройства типа E
Анкерные устройства, предназначенные для использования более чем одним человеком одновременно, должны соответствовать EN 795.
4.2.1 Анкерные устройства типа A
4.2.1.1 При испытаниях по
5.2.2 (испытания на динамическую прочность и целостность) анкерное устройство не должно отпускать жесткий испытательный груз, и он при этом не должен касаться поверхности.
4.2.1.2 При испытаниях по
5.2.3 (испытания на статическую прочность) анкерное устройство должно удерживать груз.
4.2.2 Анкерные устройства типа B
4.2.2.1 При испытаниях по
5.3.2 (испытания на динамическую прочность и целостность) анкерное устройство не должно отпускать жесткий испытательный груз, и он при этом не должен касаться поверхности.
4.2.2.2 При испытаниях по
5.3.3 (испытания на статическую прочность) анкерное устройство должно удерживать груз.
4.2.3 Анкерные устройства типа C - однопролетные
4.2.3.1 При испытаниях по
5.4.2 (испытания на динамическую прочность и целостность) анкерное устройство не должно отпускать жесткий испытательный груз, и он при этом не должен касаться поверхности. Ни одна из частей анкерного устройства не должна выйти из строя.
4.2.3.2 При испытаниях по
5.4.2 (испытания на динамическую прочность и целостность) максимальная нагрузка, измеряемая на крайнем анкере, не должна превышать 50% минимального разрывного усилия гибкой анкерной линии, указанного изготовителем (см.
раздел 7).
4.2.3.3 При испытаниях по
5.4.2 (испытания на динамическую прочность и целостность) значения по краям и максимальный прогиб при динамической нагрузке гибкой анкерной линии не должны отличаться более чем на +/- 20% от прогнозируемых значений.
4.2.3.4 При испытаниях по
5.4.3 (испытания на статическую прочность) анкерное устройство должно удерживать груз.
4.2.4 Анкерные устройства типа C - многопролетные
4.2.4.1 При испытаниях по
5.4.4 (испытания на динамическую прочность и целостность) анкерное устройство не должно отпускать жесткий испытательный груз, и он при этом не должен касаться поверхности. Ни одна из частей анкерного устройства не должна выйти из строя.
4.2.4.2 При испытаниях по
5.4.4 (испытания на динамическую прочность и целостность) максимальная нагрузка, измеряемая на крайнем анкере, не должна превышать 50% минимального разрывного усилия гибкой анкерной линии, указанного изготовителем (см.
раздел 7).
4.2.4.3 При испытаниях по
5.4.4 (испытания на динамическую прочность и целостность) значения по краям и максимальный прогиб от динамической нагрузки гибкого анкера не должны отличаться более чем на +/- 20% от прогнозируемых значений.
4.2.4.4 При испытаниях по
5.4.5 (испытания на статическую прочность) анкерное устройство должно удерживать груз.
4.2.4.5 При испытаниях по
5.4.5 (испытания на статическую прочность) анкерное устройство должно удерживать груз на мобильной(ых) точке(ах) крепления, которая(ые) находится (находятся) в непосредственной близости к крайнему анкеру, на промежуточном анкере, на угловом анкере, на входных/выходных деталях анкерной линии и на соединениях гибкой анкерной линии, где все эти элементы являются частью анкерного устройства, а также груз должны удерживать все элементы анкерного устройства, несущие нагрузку, включая гибкие анкерные линии, соединения и окончания линии (например, обжимающие соединения, замкнутые петли, сращенные окончания).
4.2.4.6 Если гибкая анкерная линия является фиксированной в промежуточном или угловом анкере (т.е. промежуточный или угловой анкеры становятся крайними анкерами), многопролетные анкерные устройства должны пройти такие же испытания, как для однопролетных анкерных устройств.
4.2.5 Анкерные устройства типа D
4.2.5.1 При испытаниях по
5.5.2 (испытания на динамическую прочность и целостность) анкерное устройство не должно отпускать жесткий испытательный груз, и он при этом не должен касаться поверхности.
4.2.5.2 При испытаниях по
5.5.3 (испытания на статическую прочность) анкерное устройство должно удерживать груз.
4.2.5.3 При испытаниях по
5.5.3 (испытания на статическую прочность) все элементы, являющиеся несущими для груза, включая мобильные точки крепления, жесткие анкерные линии, соединения жестких анкерных линий, разъемы и окончания (например, сварные соединения, скрепленные болтами окончания), должны удерживать груз.
4.2.5.4 При испытаниях по
5.5.2 и
5.5.3 мобильная точка крепления не должна отсоединяться от жесткой анкерной линии.
4.2.6 Анкерные устройства типа E
4.2.6.1 При испытаниях по
5.6.2 (испытания на динамические характеристики) анкерное устройство не должно отпускать жесткий испытательный груз, и он при этом не должен касаться поверхности. Перемещение
L переднего края анкерного устройства не должно быть более 1000 мм, и анкерное устройство должно оставаться неподвижным. Смещения
L и
H должны быть зарегистрированы (см.
рисунок 19).
4.2.6.2 Испытания, описанные в
5.6.2 (испытания на динамические характеристики), проводят с указанным изготовителем максимальным углом наклона не более 5°, по каждому из наихудших условий, учитывая тип поверхности и условия на месте.
4.2.6.3 Испытания, описанные в
5.6.2 (испытания на динамические характеристики), проводят повторно для каждого критического направления, в котором может быть приложена сила.
4.2.6.4 При испытаниях по
5.6.3 (испытание на удержание после приложения силы) передняя кромка анкерного устройства, которая контактирует с поверхностью, не должна перемещаться на расстояние более 10,0 мм по истечении 3 мин, а устройство должно оставаться неподвижным.
4.2.6.5 При испытаниях по
5.6.4 (испытания на статическую прочность) анкерное устройство должно удерживать груз.
4.3. Маркировка и информация
4.3.1 Маркировка должна быть выполнена в соответствии с
разделом 6.
4.3.2 Информация должна быть предоставлена вместе с анкерным устройством в соответствии с
разделом 7.
5.1. Оборудование для испытаний
Оборудование для испытаний должно соответствовать EN 795 (5.2).
Для использования двумя лицами одновременно следует увеличить массу испытательного груза до (200 +/- 1) кг и определить расстояние свободного падения, требуемое для создания падающим грузом усилия 12+0,5 кН при использовании испытательного стропа со сшитыми окончаниями и сокращением общей длины стропа до 1 000+50 мм.
Рисунок 9 - Строп для испытаний на динамическую
прочность для испытательного груза массой 200 кг
5.2. Анкерное устройство типа A
5.2.1 Общие требования
5.2.1.1 В соответствии с рекомендациями изготовителя анкерное устройство устанавливают (фиксируют) в оборудование для испытаний. При необходимости установку проводят с использованием образца конструкции.
5.2.1.2 Проверяют каждую точку крепления в соответствии с
5.2.2 и
5.2.3.
5.2.2 Динамическая прочность и целостность
5.2.2.1 Проводят одно испытание с использованием стропа для испытаний по
5.1, который присоединяют к испытательному грузу массой 200 кг.
5.2.2.2 Присоединяют датчик нагрузки к точке крепления. Присоединяют один конец стропа для испытаний к датчику нагрузки при помощи соединителя, а другой конец стропа для испытаний при помощи соединителя присоединяют к испытательному грузу.
5.2.2.3 Присоединяют устройство быстрого расцепления к испытательному грузу. Перемещают испытательный груз вниз до тех пор, пока строп для испытаний не будет его удерживать. Затем поднимают испытательный груз на расстояние свободного падения, определенное по
5.1, при этом отклонение по горизонтали точки присоединения испытательного груза от анкерной точки оборудования должно быть не более 300 мм.
5.2.2.4 Отпускают испытательный груз для испытаний и фиксируют, был ли остановлен жесткий испытательный груз и удерживается ли он на расстоянии от поверхности. Записывают пиковую нагрузку на точке крепления.
5.2.2.5 Оставляют испытательный груз массой 200 кг подвешенным на анкерном устройстве или прикладывают эквивалентную статическую нагрузку, повторяют динамическое испытание для каждого дополнительного пользователя, используя испытательный груз для испытаний массой 100 кг и строп для испытаний по EN 795 (п. 5.2.1) и расстояние свободного падения, требуемое для создания падающим грузом усилия 9+0,5 кН при его остановке и удержании. При каждом испытании испытательный(ые) груз(ы) предыдущего(их) испытания(ий) оставляют подвешенным(и) на анкерном устройстве или прикладывают статическую нагрузку.
Примечание - Во избежание столкновений подвешенный(ые) испытательный(ые) груз(ы) может (могут) быть опущен(ы) ниже или приподнят(ы).
5.2.2.6 После динамических испытаний для двух пользователей увеличивают массу испытательного груза до 600 кг или эквивалентную нагрузку на анкерное устройство и удерживают в течение 3+0,25 мин. Если количество пользователей более двух, увеличивают массу испытательного груза или эквивалентную нагрузку на 150 кг из расчета на каждого пользователя (например, для четырех пользователей масса должна быть 900 кг) и удерживают груз или эквивалентную нагрузку в течение 3+0,25 мин. Убеждаются в том, что жесткий испытательный груз находится в подвешенном состоянии над поверхностью.
5.2.3 Статическая прочность
Устанавливают анкерное устройство в оборудование для статических испытаний, указанное в EN 364 (п. 4.1), и прикладывают к точке крепления статическую нагрузку для каждого дополнительного пользователя (12+1 + 1+0,1) кН (например, четыре пользователя = 15 кН) или если несущий нагрузку элемент изготовлен из неметаллического(их) материала(ов) и если изготовителем не представлены доказательства прочности, то для каждого дополнительного пользователя (18+1,0 + 1+1,0) кН. Наблюдают, выдерживает ли анкерное устройство данную нагрузку в течение 3+0,25 мин.
5.3. Анкерное устройство типа B
5.3.1 Общие требования
5.3.1.1 Анкерное устройство в соответствии с рекомендациями производителя устанавливают (фиксируют) в оборудование для испытаний. При необходимости установку производят с использованием образца конструкции.
5.3.1.2 Испытания проводят на каждой точке крепления в соответствии с
5.3.2 и
5.3.3.
5.3.2 Динамическая прочность и целостность
5.3.2.1 Анкерные устройства без ног
5.3.2.1.1 Присоединяют датчик нагрузки к точке крепления. Подсоединяют один конец стропа для испытаний (см.
5.1) к датчику нагрузки при помощи соединителя, а другой конец стропа для испытаний при помощи соединителя присоединяют к жесткому испытательному грузу. Подсоединяют устройство быстрого расцепления к испытательному грузу массой 200 кг.
5.3.2.1.2 Опускают испытательный груз до тех пор, пока строп для испытаний не будет удерживать данный испытательный груз. Затем поднимают испытательный груз на расстояние свободного падения, рассчитанное по
5.1, при этом отклонение по горизонтали точки присоединения испытательного груза от анкерной точки оборудования должно быть не более 300 мм.
5.3.2.1.3 Отпускают жесткий испытательный груз и фиксируют, был ли остановлен испытательный груз и удерживается ли он на расстоянии от поверхности. Записывают пиковую нагрузку на точке крепления, смещение анкерного устройства и перемещение точки крепления. Если анкерное устройство оборудовано индикатором падения, проверяют, отображает ли данный индикатор факт падения.
5.3.2.1.4 Оставляют жесткий испытательный груз массой 200 кг подвешенным на анкерном устройстве или прикладывают эквивалентную статическую нагрузку, повторяют динамическое испытание для каждого дополнительного пользователя, используя жесткий испытательный груз массой 100 кг и строп для испытаний в соответствии с EN 795 (5.2.1) и расстоянием свободного падения, требуемым для создания падающим грузом усилия 9+0,5 кН при его остановке и удержании. При каждом испытании испытательный(ые) груз(ы) предыдущего испытания(ий) оставляют подвешенным(и) на анкерном устройстве или прикладывают статическую нагрузку.
Примечание - Во избежание столкновений подвешенный(ые) испытательный(ые) груз(ы) может (могут) быть опущен(ы) ниже или приподнят(ы).
5.3.2.1.5 После динамических испытаний для двух пользователей увеличивают массу груза до 600 кг или эквивалентную нагрузку на анкерное устройство и удерживают в течение 3+0,25 мин. Если количество пользователей более двух, увеличивают массу груза на 150 кг из расчета на каждого пользователя или прикладывают эквивалентную нагрузку (например, для четырех пользователей масса груза должна быть 900 кг) и удерживают ее или эквивалентную нагрузку в течение 3+0,25 мин. Убеждаются в том, что жесткий испытательный груз находится в подвешенном состоянии над поверхностью.
5.3.2.2 Анкерные устройства с ногами и точкой(ами) крепления не на ногах
5.3.2.2.1 Для анкерных устройств с ногами, например, в которых используется штатив на трех или четырех ногах и в которых точка(и) крепления расположены не на ноге, выполняют процедуры в соответствии с 5.3.2.2.2 -
5.3.2.2.7.
5.3.2.2.2 Раздвигают ноги анкерного устройства на максимальную возможную длину. Присоединяют датчик нагрузки к точке крепления. Присоединяют соединительную линию к датчику нагрузки (см.
рисунок 10). Присоединяют один конец стропа для испытаний (см.
5.1) к свободному концу соединительной линии. Соединяют другой конец стропа при помощи соединителя к жесткому испытательному грузу массой 200 кг и присоединяют устройство быстрого расцепления к испытательному грузу.
5.3.2.2.3 Перемещают жесткий груз для испытаний вниз до тех пор, пока строп для испытаний не будет его удерживать. Затем поднимают груз для испытаний на расстояние свободного падения, рассчитанное по
5.1, при этом отклонение по горизонтали точки присоединения испытательного груза от анкерной точки оборудования должно быть не более 300 мм, но в пределах площади ног.
5.3.2.2.4 Отпускают жесткий груз для испытаний и наблюдают, будет ли груз остановлен и находиться в подвешенном состоянии над поверхностью, и стабильное состояние анкерного устройства. Записывают пиковую нагрузку на точке крепления, отклонение анкерного устройства и перемещение точки крепления. Если анкерное устройство оборудовано индикатором падения, проверяют, отображает ли данный индикатор факт падения.
5.3.2.2.5 Оставляют жесткий груз массой 200 кг подвешенным на анкерном устройстве или прикладывают эквивалентную статическую нагрузку, повторяют динамическое испытание для каждого дополнительного пользователя, используя испытательный груз массой 100 кг и строп для испытаний в соответствии с EN 795 (5.2.1) и расстоянием свободного падения, требуемым для создания падающим грузом усилия 9+0,5 кН при его остановке и удержании. При каждом испытании испытательный(ые) груз(ы) предыдущего(их) испытания(ий) оставляют подвешенным(и) на анкерном устройстве или прикладывают статическую нагрузку.
Примечание - Во избежание столкновений подвешенный(ые) испытательный(ые) груз(ы) может (могут) быть опущен(ы) ниже или приподнят(ы).
5.3.2.2.6 После динамических испытаний для двух пользователей увеличивают массу груза до 600 кг или эквивалентную нагрузку на анкерное устройство и удерживают в течение 3+0,25 мин. Если пользователей более двух, увеличивают массу груза на 150 кг из расчета на каждого пользователя или эквивалентную нагрузку (например, для четырех пользователей масса груза должна быть 900 кг) и удерживают ее или эквивалентную нагрузку в течение 3+0,25 мин. Убеждаются в том, что жесткий испытательный груз находится в подвешенном состоянии над поверхностью.
5.3.2.2.7 Если изготовителем установлена дифференциальная регулировка для неровных поверхностей, проводят испытания анкерного устройства при максимальном разрешенном дифференциальном регулировании.
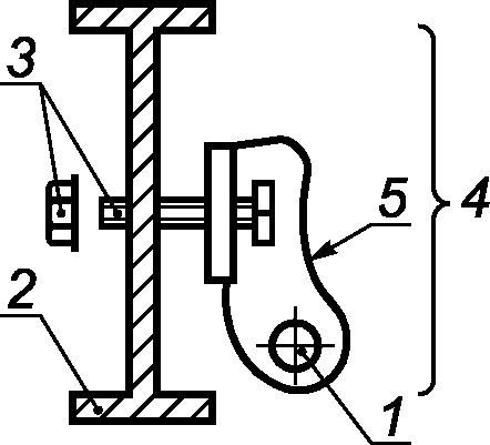
1 - тренога; 2 - точка(и) крепления не на ноге; 3 - датчик
нагрузки; 4 - соединительная линия; 5 - строп для испытаний;
6 - положение испытательного груза перед отпусканием;
7 - положение испытательного груза после отпускания
Рисунок 10 - Динамические испытания для анкерных устройств
типа B с ногами (например, тренога) и точкой(ами)
крепления не на ноге
5.3.2.3 Анкерные устройства с ногами и точкой крепления на ноге
5.3.2.3.1 Если изготовителем установлена точка крепления на ноге, например для присоединения устройства втягивающегося типа, соответствующего EN 360, выполняют требования 5.3.2.3.2 -
5.3.2.3.7.
5.3.2.3.2 Раздвигают ноги анкерного устройства на максимальную возможную длину. Присоединяют соединительную линию к точке крепления, расположенной на ноге анкерного устройства (см.
рисунок 11). Проводят соединительную линию вокруг ролика. Присоединяют датчик нагрузки к свободному концу соединительной линии. Один конец испытательного стропа (см.
5.1) при помощи соединителя присоединяют к датчику нагрузки. Присоединяют другой конец стропа при помощи соединителя к жесткому грузу массой 200 кг, а затем устройство быстрого расцепления к жесткому грузу.
1 - тренога; 2 - ролик; 3 - точка крепления;
4 - соединительная линия; 5 - датчик нагрузки;
6 - строп для испытаний; 7 - жесткий испытательный
груз перед отпусканием; 8 - жесткий испытательный
груз после отпускания
Рисунок 11 - Динамические испытания для анкерного
устройства типа B с ногами (например, треноги)
и точкой крепления на ноге
5.3.2.3.3 Опускают испытательный груз вниз до тех пор, пока строп для испытаний не будет его удерживать. Затем поднимают испытательный груз на расстояние свободного падения, рассчитанное по
5.1, при этом отклонение по горизонтали точки присоединения испытательного груза от анкерной точки оборудования должно быть не более 300 мм.
5.3.2.3.4 Отпускают испытательный груз и наблюдают, будет ли груз удержан и находиться в подвешенном состоянии над поверхностью, и стабильность состояния анкерного устройства. Записывают пиковую нагрузку на точке крепления, отклонение анкерного устройства и перемещение точки крепления. Если анкерное устройство оборудовано индикатором падения, проверяют, отображает ли данный индикатор факт падения.
5.3.2.3.5 Оставляют груз массой 200 кг подвешенным на анкерном устройстве или прикладывают эквивалентную статическую нагрузку, повторяют динамическое испытание для каждого дополнительного пользователя, используя жесткий груз массой 100 кг и строп для испытаний в соответствии с EN 795 (5.2.1) и расстоянием свободного падения, требуемым для создания падающим грузом усилия 9+0,5 кН при его остановке и удержании. При каждом испытании испытательный(ые) груз(ы) предыдущего(их) испытания(ий) оставляют подвешенным(и) на анкерном устройстве или прикладывают статическую нагрузку.
Примечание - Во избежание столкновений подвешенный(ые) испытательный(ые) груз(ы) может (могут) быть опущен(ы) ниже или приподнят(ы).
5.3.2.3.6 После динамических испытаний для двух пользователей увеличивают массу груза до 600 кг или эквивалентную нагрузку на анкерное устройство и удерживают в течение 3+0,25 мин. Если количество более двух, увеличивают массу груза на 150 кг из расчета на каждого пользователя или эквивалентную нагрузку (например, для четырех пользователей масса груза должна быть 900 кг) и удерживают ее или эквивалентную нагрузку в течение 3+0,25 мин. Убеждаются в том, что жесткий испытательный груз находится в подвешенном состоянии над поверхностью.
5.3.2.3.7 Если изготовителем установлена дифференциальная регулировка для неровных поверхностей, проводят испытания анкерного устройства при максимально разрешенном дифференциальном регулировании.
5.3.3 Испытания на статическую прочность
5.3.3.1 Анкерное устройство без ног
Устанавливают анкерное устройство в оборудование для статических испытаний, указанное в EN 364 (4.1), и прикладывают к точке крепления статическую нагрузку для каждого дополнительного пользователя (12+1 + 1+1) кН (например, четыре пользователя = 15 кН), или если несущий нагрузку элемент изготовлен из неметаллического(их) материала(ов) и если изготовителем не представлены доказательства прочности, то для каждого дополнительного пользователя (18+1,0 + 1+1,0) кН. Наблюдают, выдерживает ли анкерное устройство данную нагрузку в течение 3+0,25 мин.
5.3.3.2 Анкерные устройства с ногами и точкой крепления не на ноге
Устанавливают анкерное устройство в оборудование для статических испытаний, указанное в EN 364 (4.1). Раздвигают ноги анкерного устройства на максимально возможную длину. Соединительную линию подсоединяют к точке крепления и к оборудованию для статических испытаний (см.
рисунок 12). Прикладывают к точке крепления статическую нагрузку для каждого дополнительного пользователя (12
+1 + 1
+1,0) кН (например, четыре пользователя = 15 кН), или если несущий нагрузку элемент изготовлен из неметаллического материала(ов) и если изготовителем не представлены доказательства прочности, то для каждого дополнительного пользователя (18
+1,0 + 1
+1,0) кН.
1 - тренога; 2 - точка крепления; 3 - соединительная линия;
4 - оборудование для статических испытаний
Рисунок 12 - Испытания на статическую прочность для анкерных
устройств типа B с ногами (например, тренога) и точкой(ами)
крепления не на ноге
Наблюдают, выдерживает ли анкерное устройство данную нагрузку в течение 3+0,25 мин.
5.3.3.3 Анкерные устройства с ногами и точкой (точками) крепления на ноге
Устанавливают анкерное устройство в оборудование для статических испытаний, указанное в EN 364 (4.1). Раздвигают ноги анкерного устройства на максимально возможную длину. Присоединяют соединительную линию к точке крепления, установленной на ноге. Проводят соединительную линию вокруг ролика и подсоединяют ее к оборудованию для статических испытаний (см.
рисунок 13). Прикладывают к точке крепления статическую нагрузку для каждого дополнительного пользователя (12
+1 + 1
+0,1) кН (например, четыре пользователя = 15 кН), или если несущий нагрузку элемент изготовлен из неметаллического материала(ов) и если изготовителем не представлены доказательства прочности, то для каждого дополнительного пользователя (18
+1,0 + 1
+1,0) кН.
Наблюдают, выдерживает ли анкерное устройство данную нагрузку в течение 3+0,25 мин.
1 - тренога; 2 - ролик; 3 - точка крепления;
4 - соединительная линия; 5 - оборудование
для статических испытаний
Рисунок 13 - Испытание на статическую прочность
для анкерного устройства типа B с ногами и точками
крепления на ноге (например, тренога)
5.4. Анкерное устройство типа C
5.4.1 Общие требования
5.4.1.1 Для конфигураций анкерных устройств, применяемых по
5.4.1.3, должны быть представлены прогнозируемые рабочие характеристики, основанные на расчетах или результатах испытаний, и включена следующая информация:
a) максимальное отклонение мобильной точки(ек) крепления;
b) максимальную нагрузку, применяемую к крайнему анкеру и к тем промежуточным или угловым элементам, которые считаются деталями линии. Как вариант, для устройств, которые не содержат крайние анкеры, например для круговых устройств, указывают максимальную нагрузку на анкерную линию;
c) количество пользователей, разрешенное изготовителем.
5.4.1.2 Устанавливают крайний или промежуточный анкер(ы) в оборудование для испытаний, по возможности в соответствии с информацией, предоставленной изготовителем, горизонтально с углом не более +/- 3°, при соответствующей фиксации конструкции, рекомендованной изготовителем. Если рекомендовано изготовителем, то установку проводят на образце материала(ов) конструкции.
5.4.1.3 Устанавливают конфигурацию(и) для испытаний, учитывая следующее:
a) используемые направления приложения нагрузки (например, промежуточные или крайние анкера, установленные в стене, на крыше или на нижней поверхности);
b) длину пролета.
Примечание - Длина пролета равняется расстоянию между фиксаторами гибкой анкерной линии, например крайним анкером и промежуточным анкером;
c) углы (внутренние и внешние углы, максимальное отклонение);
d) виды и комбинации компонентов, например амортизатор(ы) энергии, окончания, промежуточные анкеры, мобильные точки крепления, гибкая(ие) анкерная(ые) линия(и).
5.4.1.4 Если анкерное устройство не имеет мобильной точки крепления, используют соединение, которое указано в информации, предоставленной изготовителем.
5.4.1.5 В тех случаях, когда промежуточный анкер и угловой анкер гибкой анкерной линии не позволяют мобильной точке крепления поворачиваться в направлении нагрузки, которое может быть применено, проводят испытания на статическую прочность, указанные в
5.4.3 или
5.4.5, в параллельном и перпендикулярном направлениях к болтам крепления промежуточного анкера и углового анкера.
5.4.2 Однопролетные устройства
5.4.2.1 Испытания на динамическую прочность и целостность
5.4.2.1.1 Перед проведением испытаний следует учитывать расчетные данные относительно максимальной динамической нагрузки на крайний анкер и максимального отклонения гибкой анкерной линии, предоставленные изготовителем в соответствии с
5.4.1.1.
5.4.2.1.2 Устанавливают максимальную разрешенную длину однопролетного анкерного устройства в соответствии с информацией, предоставленной изготовителем.
5.4.2.1.3 Присоединяют датчики нагрузки к каждому концу гибкой анкерной линии для измерения натяжения на крайних точках.
5.4.2.1.4 Проводят одно испытание с использованием испытательного стропа по
5.1 и жесткого испытательного груза массой 200 кг.
5.4.2.1.5 Присоединяют датчик нагрузки к мобильной точке крепления. Один конец испытательного стропа присоединяют к датчику нагрузки при помощи соединителя, а другой конец стропа при помощи соединителя - к жесткому испытательному грузу. Размещают мобильную точку крепления в центре пролета (см.
рисунок 14).
5.4.2.1.6 Присоединяют устройство быстрого расцепления к жесткому испытательному грузу. Опускают груз вниз до тех пор, пока строп для испытаний не будет его удерживать. Снимают нагрузку до тех пор, пока гибкая анкерная линия не вернется в свое естественное положение. С этой точки поднимают жесткий испытательный груз на расстояние свободного падения, определенное по
5.1, при этом отклонение по горизонтали точки присоединения испытательного груза от анкерной точки оборудования должно быть не более 300 мм.
1 - наибольшая/наименьшая длина пролета; D - динамическое
отклонение;

- направление нагрузки;

- датчик нагрузки;

- амортизатор энергии (при наличии);

- крайний анкер
Рисунок 14 - Пример организации испытаний для однопролетного
анкерного устройства типа C
5.4.2.1.7 Отпускают жесткий испытательный груз, наблюдают и записывают, удержан ли груз. Измеряют и записывают максимальную нагрузку на каждом конце гибкой анкерной линии и на мобильной точке крепления. Также измеряют и записывают максимальное динамическое отклонение на мобильной точке крепления (например, при помощи видеозаписи с большой скоростью или датчика смещения).
5.4.2.1.8 Убеждаются в том, что мобильная точка крепления не отсоединяется от гибкой анкерной линии и/или не отпускает жесткий испытательный груз, и груз не касается поверхности. Записывают результат.
5.4.2.1.9 Оставляют жесткий испытательный груз массой 200 кг подвешенным на гибкой анкерной линии, или прикладывают эквивалентную статическую нагрузку, повторяют динамическое испытание для каждого дополнительного пользователя, используя груз массой 100 кг и строп для испытаний в соответствии с EN 795 (5.2.1) и другую мобильную точку крепления и с расстоянием свободного падения, требуемым для создания падающим грузом усилия 9+0,5 кН при его остановке и удержании. При каждом испытании испытательный(ые) груз(ы) предыдущего(их) испытания(ий) оставляют подвешенным(и) на анкерном устройстве или прикладывают статическую нагрузку.
Примечание - Во избежание столкновений подвешенный(ые) испытательный(ые) груз(ы) может (могут) быть опущен(ы) ниже или приподнят(ы).
5.4.2.1.10 После динамических испытаний для двух пользователей увеличивают массу груза до 600 кг или эквивалентную нагрузку на анкерное устройство и удерживают в течение 3
+0,25 мин. Если пользователей более двух, увеличивают массу груза на 150 кг из расчета на каждого пользователя или эквивалентную нагрузку (например, для четырех пользователей масса груза должна быть 900 кг) и удерживают груз или эквивалентную нагрузку в течение 3
+0,25 мин. Проверяют, что жесткий испытательный груз находится в подвешенном состоянии над поверхностью.
5.4.2.1.11 Устанавливают однопролетное анкерное устройство разрешенной минимальной длины в соответствии с информацией, предоставленной изготовителем, и проводят испытания в соответствии с
5.4.2.1.3 -
5.4.2.1.10.
5.4.3 Испытания на статическую прочность
Используют такие же конфигурации и положения для испытаний, которые применялись для испытаний на динамическую прочность и целостность, описанные в 5.4.2.1, прикладывают к точке крепления статическую нагрузку для каждого дополнительного пользователя (12+1 + 1+0,1) кН (например, четыре пользователя = 15 кН), или если несущий нагрузку элемент изготовлен из неметаллического(их) материала(ов) и если изготовителем не представлены доказательства прочности, то для каждого дополнительного пользователя (18+1,0 + 1+1,0) кН.
Наблюдают, выдерживает ли анкерное устройство данную нагрузку в течение 3+0,25 мин.
5.4.4 Многопролетные устройства
5.4.4.1 Испытания на динамическую прочность и целостность
5.4.4.1.1 Перед проведением испытаний следует учитывать расчетные данные относительно максимальной динамической нагрузки на крайний анкер и максимального отклонения гибкой анкерной линии, предоставленные изготовителем по
5.4.1.1.
5.4.4.1.2 Устанавливают гибкую анкерную линию, которая включает в себя три пролета: один пролет с наибольшей разрешенной длиной пролета на одном конце гибкой анкерной линии, при этом остальные два пролета должны иметь наименьшую разрешенную длину в соответствии с информацией изготовителя.
5.4.4.1.3 Присоединяют датчик нагрузки на каждом конце гибкой анкерной линии таким образом, чтобы можно было измерить натяжение по краям.
5.4.4.1.4 Проводят одно испытание с использованием стропа для испытаний по
5.1 с присоединенным жестким испытательным грузом массой 200 кг.
5.4.4.1.5 Присоединяют датчик нагрузки к мобильной точке крепления. Один конец стропа для испытаний присоединяют к датчику нагрузки при помощи соединителя, а другой конец стропа при помощи соединителя - к жесткому испытательному грузу. Помещают мобильную точку крепления в центре наиболее длинного пролета (см. рисунок 15).
1 - наиболее длинный пролет; 2 - наиболее короткий пролет;
D - динамическое отклонение;

- датчик нагрузки;

- промежуточный анкер;

- мобильная точка крепления;

- направление действия нагрузки;

- амортизатор энергии
(при наличии);

- крайний анкер
Рисунок 15 - Пример организации испытаний многопролетного
анкерного устройства типа C без углового анкера
5.4.4.1.6 Присоединяют устройство быстрого расцепления к жесткому испытательному грузу. Опускают груз вниз до тех пор, пока строп для испытаний не будет его удерживать. Уменьшают нагрузку до тех пор, пока гибкая анкерная линия не вернется в свое естественное положение. С этой точки поднимают груз на расстояние свободного падения, определенное по
5.1, при этом отклонение по горизонтали точки присоединения испытательного груза от анкерной точки оборудования должно быть не более 300 мм.
5.4.4.1.7 Отпускают жесткий испытательный груз, наблюдают и записывают, удержан ли жесткий испытательный груз. Измеряют и записывают максимальную нагрузку на каждом конце гибкой анкерной линии и на мобильной точке крепления. Также измеряют и записывают максимальное динамическое отклонение мобильной точки крепления (например, при помощи видеозаписи с большой скоростью или датчика смещения).
5.4.4.1.8 Убеждаются в том, что мобильная точка крепления не отсоединяется от гибкой анкерной линии и/или не отпускает жесткий испытательный груз, и груз не касается поверхности. Записывают результат.
5.4.4.1.9 Оставляют жесткий испытательный груз массой 200 кг подвешенным на гибкой анкерной линии или прикладывают эквивалентную статическую нагрузку, повторяют динамическое испытание для каждого дополнительного пользователя, используя жесткий испытательный груз массой 100 кг и строп для испытаний в соответствии с EN 795 (5.2.1), другую мобильную точку крепления и с расстоянием свободного падения, требуемым для создания падающим грузом усилия 9+0,5 кН при его остановке и удержании. При каждом испытании испытательный(ые) груз(ы) предыдущего(их) испытания(ий) оставляют подвешенным(и) на анкерном устройстве или прикладывают статическую нагрузку.
Примечание - Во избежание столкновений подвешенный(ые) испытательный(ые) груз(ы) может (могут) быть опущен(ы) ниже или приподнят(ы).
5.4.4.1.10 После динамических испытаний для двух пользователей увеличивают массу груза до 600 кг или эквивалентную нагрузку на анкерное устройство и удерживают в течение 3+0,25 мин. Если пользователей более двух, увеличивают массу груза на 150 кг из расчета на каждого пользователя или эквивалентную нагрузку (например, для четырех пользователей масса груза должна быть 900 кг) и удерживают его или эквивалентную нагрузку в течение 3+0,25 мин.
Убеждаются в том, что жесткий испытательный груз находится в подвешенном состоянии над поверхностью.
5.4.4.1.11 Если в гибкой анкерной линии имеется угловой анкер, проводят испытания на динамическую прочность и целостность с мобильной точкой крепления, расположенной на угловом анкере (см. рисунок 16).
1 - наиболее длинный пролет; 2 - наиболее короткий пролет;
D - динамическое отклонение;

- датчик нагрузки;

- промежуточный анкер;

- угловой анкер;

- направление
действия нагрузки;

- амортизатор энергии (при наличии);

- крайний анкер;

- мобильная точка крепления
Рисунок 16 - Пример организации испытаний многопролетного
анкерного устройства типа C с угловым анкером
5.4.4.1.12 В тех местах, где имеются входные/выходные детали линии или звенья, проводят испытания на динамическую прочность и целостность с мобильной точкой крепления, размещенной в этих местах.
5.4.4.1.13 Повторяют испытания в соответствии с
5.4.4.1.3 - 5.4.4.1.12 для наименее короткого пролета между промежуточными анкерами (см.
рисунок 15).
5.4.5 Испытание на статическую прочность
Используют такие же конфигурации и положения для испытаний, которые применялись для испытаний на динамическую прочность и целостность в соответствии с 5.4.2.1, прикладывают к точке крепления статическую нагрузку для каждого дополнительного пользователя (12+1 + 1+0,1) кН (например, четыре пользователя = 15 кН), или если несущий нагрузку элемент изготовлен из неметаллического(их) материала(ов) и если изготовителем не представлены доказательства прочности, то для каждого дополнительного пользователя (18+1,0 + 1+1,0) кН.
Наблюдают, выдерживает ли анкерное устройство данную нагрузку в течение 3+0,25 мин.
5.5. Анкерное устройство типа D
5.5.1 Общие требования к испытаниям
5.5.1.1 Устанавливают крайний и промежуточный анкер(ы) в оборудование для испытаний, по возможности в соответствии с информацией, предоставленной изготовителем, горизонтально с допустимым уклоном +/- 3°, при соответствующей фиксации конструкции, рекомендованной изготовителем. Если рекомендовано изготовителем, то установку производят в (или на) образец материала(ов) конструкции.
5.5.1.2 Подготавливают конфигурацию(ии) для испытаний, учитывая следующее:
a) используемые направления приложения нагрузки (например, промежуточные или крайние анкера, установленные в стене, на крыше или на нижней поверхности);
b) наибольшую длину пролета и максимально разрешенное консольное расстояние.
Примечание - Пролет равен расстоянию между фиксаторами жесткой анкерной линии, например крайним анкером и промежуточным анкером;
c) углы (внутренние и внешние углы, максимальное отклонение);
d) типы и комбинации компонентов, например упоры на конце, промежуточные анкеры, мобильная точка крепления, соединение или разветвление жесткой анкерной линии.
5.5.1.3 Если анкерное устройство не имеет мобильной точки крепления, используют соединение, указанное в информации, предоставленной изготовителем.
5.5.2 Испытания на динамическую прочность и целостность
5.5.2.1 Устанавливают жесткую анкерную линию с наиболее длинным пролетом и максимальным консольным расстоянием
d, разрешенным изготовителем, по
5.5.1 и информацией, предоставленной изготовителем.
5.5.2.2 Если производитель предлагает угол(ы) в качестве опции для устройства, то выбирают угол с наибольшим внутренним радиусом закругления между двумя пролетами, разрешенный изготовителем.
5.5.2.3 Проводят одно испытание с использованием стропа для испытаний по
5.1 с жестким испытательным грузом массой 200 кг.
5.5.2.4 Присоединяют датчик нагрузки к мобильной точке крепления. Один конец испытательного стропа присоединяют при помощи соединителя к датчику, а другой конец испытательного стропа при помощи соединителя - к испытательному грузу. Помещают мобильную точку крепления в центре пролета (см.
рисунок 17).
5.5.2.5 Присоединяют устройство быстрого расцепления к испытательному грузу. Опускают груз вниз до тех пор, пока строп для испытаний не будет его удерживать. Затем поднимают испытательный груз на расстояние свободного падения, определенное по
5.1, при этом отклонение по горизонтали точки присоединения испытательного груза от анкерной точки оборудования должно быть не более 300 мм.
5.5.2.6 Отпускают испытательный груз, наблюдают и записывают, удержан ли испытательный груз. Записывают максимальную нагрузку на мобильной точке крепления, отклонение анкерного устройства и перемещение точки крепления от ее первоначальной позиции до позиции, полученной после испытания.
5.5.2.7 Проверяют, что мобильная точка крепления не отсоединяется от жесткой анкерной линии и жесткий испытательный груз не касается поверхности. Записывают результат.
5.5.2.8 Оставляют испытательный груз массой 200 кг подвешенным на жесткой анкерной линии или прикладывают эквивалентную статическую нагрузку, повторяют динамическое испытание для каждого дополнительного пользователя, используя жесткий испытательный груз массой 100 кг, строп для испытаний в соответствии с EN 795 (5.2.1), другую мобильную точку крепления и с расстоянием свободного падения, требуемым для создания падающим грузом усилия 9+0,5 кН при его остановке и удержании. При каждом испытании испытательный(ые) груз(ы) предыдущего(их) испытания(ий) оставляют подвешенным на анкерном устройстве или прикладывают статическую нагрузку.
5.5.2.9 После динамических испытаний для двух пользователей увеличивают массу груза до 600 кг или эквивалентную нагрузку на анкерное устройство и удерживают в течение 3+0,25 мин. Если пользователей более двух, увеличивают массу груза на 150 кг из расчета на каждого пользователя или эквивалентную нагрузку (например, для четырех пользователей масса груза должна быть 900 кг) и удерживают ее или эквивалентную нагрузку в течение 3+0,25 мин. Проверяют, находится ли жесткий испытательный груз в подвешенном состоянии над поверхностью.

- датчик нагрузки;

- фиксация жесткой анкерной линии;

направление действия нагрузки;

- конечный упор;

- мобильная точка крепления;
d - консольное расстояние
Рисунок 17 - Пример организации испытаний анкерного
устройства типа D с консольной балкой
5.5.2.10 Если размеры консольной балки установлены изготовителем, повторяют испытания при максимальном консольном расстоянии (см. рисунок 17). Наблюдают и записывают максимальное отклонение анкерной линии и мобильной точки крепления. Проверяют, что мобильная точка крепления не отсоединяется от жесткой анкерной линии, и жесткий испытательный груз не касается поверхности. Записывают результат.
5.5.2.11 Повторяют испытания на динамическую прочность и целостность на всех направлениях, где может быть применена нагрузка на различных фиксаторах жесткой анкерной линии, например на крайнем анкере, промежуточном анкере, в центре угла, соединениях и разветвлениях жесткой анкерной линии, конечном упоре (см. рисунок 18).

- датчик нагрузки;

- фиксация жесткой анкерной линии;

- направление действия нагрузки;

- конечный упор;

- мобильная точка крепления;

- соединение или
разветвление жесткой анкерной линии
Рисунок 18 - Пример организации испытаний для анкерного
устройства типа D, содержащего соединение или разветвление
жесткой анкерной линии или угловой анкер
5.5.3 Испытания на статическую прочность
Используют такие же конфигурации для испытаний, которые применялись для испытаний в соответствии с
5.5.2, прикладывают к мобильной точке крепления статическую нагрузку для каждого дополнительного пользователя (12
+1,0 + 1
+1,0) кН (например, четыре пользователя = 15 кН), или если несущий нагрузку элемент изготовлен из неметаллического(их) материала(ов) и если изготовителем не представлены доказательства прочности, то для каждого дополнительного пользователя (18
+1,0 + 1
+1,0) кН.
Наблюдают, выдерживает ли анкерное устройство данную нагрузку в течение 3+0,25 мин.
5.6. Анкерное устройство типа E
5.6.1 Общие требования к испытаниям
5.6.1.1 Устанавливают анкерное устройство на оборудование для испытаний на динамические характеристики на типичные образцы материалов поверхности при определенных условиях, для применения в которых устройство предназначено изготовителем (например, в сухой среде и влажной среде, минимальной и максимальной температурах окружающей среды, наклоне поверхности).
5.6.1.2 Проверяют каждую точку крепления в соответствии с
5.6.2 -
5.6.4.
5.6.2 Динамические характеристики
5.6.2.1 Проводят одно испытание с использованием стропа для испытаний по
5.1 и жесткого испытательного груза массой 200 кг.
5.6.2.2 При испытаниях во влажной среде перед установкой анкерного устройства типа E, поверхность для испытаний не менее чем за 30 мин до отпускания испытательного груза смачивают водой объемом 0,5 дм3/м2 и температурой от 10 °C до 25 °C, чтобы поверхность для испытаний была влажной.
5.6.2.3 Присоединяют устройство быстрого расцепления к жесткому испытательному грузу, опускают груз до тех пор, пока строп для испытаний не будет его удерживать. Затем поднимают груз для испытаний на расстояние свободного падения в соответствии с
5.1, при этом отклонение по горизонтали точки присоединения испытательного груза от анкерной точки оборудования должно быть не более 300 мм.
5.6.2.4 Непосредственно перед тем, как отпустить груз для испытаний, добавляют еще воды, чтобы поверхность для испытаний была влажной.
5.6.2.5 Отпускают груз для испытаний в течение 2 мин после повторного смачивания водой и измеряют оба перемещения L и H, сразу же после удержания груза и еще раз через 15 мин.
Проверяют, что груз для испытаний удерживается и не касается поверхности (см.
рисунок 19).
Примечание - Перемещение H может быть использовано для определения высоты над поверхностью для пользователя.
1 - жесткий испытательный груз; 2 - строп для испытаний;
3 - линия соединения; H, L - перемещение жесткого
испытательного груза; 4 - ролики;
5 - поверхность для испытаний
Рисунок 19 - Пример оборудования для испытания динамических
характеристик для анкерных устройств типа E
5.6.2.6 Оставляют груз для испытаний массой 200 кг подвешенным на анкерном устройстве, повторяют испытание на динамическую прочность и целостность для каждого дополнительного пользователя, используя жесткий испытательный груз массой 100 кг, строп для испытаний в соответствии с EN 795 (5.2.1), и с расстоянием свободного падения, требуемым для создания падающим грузом усилия 9+0,5 кН при его остановке и удержании. При каждом испытании испытательный(ые) груз(ы) предыдущего(их) испытания(ий) оставляют подвешенным(й) на анкерном устройстве или прикладывают статическую нагрузку.
Примечание - Во избежание столкновений подвешенный(ые) испытательный(ые) груз(ы) может (могут) быть опущен(ы) ниже или приподнят(ы).
5.6.3 Испытания на удержание после останова жесткого испытательного груза
5.6.3.1 Выполняют испытания на динамические характеристики по
5.6.2 с анкерным устройством типа E, размещенном на поверхности с наибольшим перемещением
L, которое было зафиксировано в ходе испытаний на динамические характеристики, указанном в
5.6.2.
5.6.3.2 Без снижения натяжения троса в течение 5 мин увеличивают массу груза для испытаний до (600 +/- 3) + (100 +/- 3) кг на каждого дополнительного пользователя (например, четыре пользователя = 800 кг) и далее проводят смачивание водой анкерного устройства в соответствии с EN 795 (5.7.2.2), оставляя груз для испытаний подвешенным в течение 3+0,25 мин.
5.6.3.3 Измеряют смещение передней кромки анкерного устройства, которая контактирует с поверхностью.
5.6.4 Статическая прочность
Устанавливают анкерное устройство в оборудование для статических испытаний, указанное в
5.1, путем фиксации анкерного устройства по необходимости напрямую к оборудованию для испытаний (например, прикрутив его с помощью болтов или установив барьер) и прикладывают в каждом критическом направлении статическую нагрузку, разрешенную изготовителем в предоставленной информации в (12
+1,0 + 1
+1,0) кН для каждого дополнительного пользователя (например, четыре пользователя = 15 кН), или в тех случаях, когда несущий нагрузку элемент изготовлен из неметаллического(их) материала(ов) и если изготовителем не представлены доказательства прочности (18
+1,0 + 1
+1,0) кН для каждого дополнительного пользователя. Наблюдают, удерживает ли анкерное устройство данный груз в течение 3
+0,25 мин.
Маркировка анкерного устройства должна соответствовать разделу 6 EN 795, за исключением перечисления a), и, в дополнение, должна включать максимальное количество одновременно допускаемых пользователей.
7. Информация, предоставляемая изготовителем
Информация, предоставляемая изготовителем, должна соответствовать разделу 7 EN 795, за исключением перечисления a), и, в дополнение, должна включать максимальное количество одновременно допускаемых пользователей, а для анкерных устройств типа C - минимальную разрывную прочность для гибкой анкерной линии.
(справочное)
СВЕДЕНИЯ О СООТВЕТСТВИИ МЕЖГОСУДАРСТВЕННЫХ СТАНДАРТОВ
ССЫЛОЧНЫМ МЕЖДУНАРОДНЫМ СТАНДАРТАМ
Таблица ДА.1
Обозначение и наименование европейского регионального стандарта | Степень соответствия | Обозначение и наименование соответствующего межгосударственного стандарта |
EN 364:1992 Оборудование индивидуальной защиты от падения с высоты. Методы испытаний | - | |
EN 795:2012 Оборудование индивидуальной защиты от падения с высоты. Анкерные устройства | IDT | ГОСТ EN 795-2014 Система стандартов безопасности труда. Средства индивидуальной защиты от падения с высоты. Устройства анкерные. Общие технические требования. Методы испытаний |
<*> Соответствующий национальный стандарт отсутствует. До его утверждения рекомендуется использовать перевод на русский язык данного европейского регионального стандарта. Перевод данного международного стандарта находится в Федеральном информационном фонде технических регламентов и стандартов. Примечание - В настоящей таблице использовано следующее условное обозначение степени соответствия стандартов: - IDT - идентичные стандарты. |
[1] | EH 360 | Personal protective equipment against falls from a height - Retractable type fall arresters (Индивидуальное средство защиты от падения с высоты. Стопорные устройства втягивающего типа) |
[2] | EN 363 | Personal protective equipment against falls from a height - Fall arrest systems (Оборудование индивидуальной защиты от падения с высоты. Индивидуальные системы защиты от падения) |
[3] | EN 516 | Prefabricated accessories for roofing - Installations for roof access - Walkways, treads and steps (Вспомогательное оборудование для крыш. Дорожки, поверхности и ступени) |
[4] | EN 517 | Prefabricated accessories for roofing - Roof safety hooks (Вспомогательное оборудование для крыш. Крюки для безопасности) |