Главная // Актуальные документы // ГОСТ (Государственный стандарт)СПРАВКА
Источник публикации
М.: Стандартинформ, 2015
Примечание к документу
Документ
введен в действие с 1 октября 2015 года.
Название документа
"ГОСТ EN 14707-2011. Межгосударственный стандарт. Изделия теплоизоляционные, применяемые для инженерного оборудования зданий и промышленных установок. Метод определения максимальной рабочей температуры цилиндров заводского изготовления"
(введен в действие Приказом Росстандарта от 09.04.2015 N 243-ст)
"ГОСТ EN 14707-2011. Межгосударственный стандарт. Изделия теплоизоляционные, применяемые для инженерного оборудования зданий и промышленных установок. Метод определения максимальной рабочей температуры цилиндров заводского изготовления"
(введен в действие Приказом Росстандарта от 09.04.2015 N 243-ст)
агентства по техническому
регулированию и метрологии
от 9 апреля 2015 г. N 243-ст
МЕЖГОСУДАРСТВЕННЫЙ СТАНДАРТ
ИЗДЕЛИЯ ТЕПЛОИЗОЛЯЦИОННЫЕ, ПРИМЕНЯЕМЫЕ ДЛЯ ИНЖЕНЕРНОГО
ОБОРУДОВАНИЯ ЗДАНИЙ И ПРОМЫШЛЕННЫХ УСТАНОВОК
МЕТОД ОПРЕДЕЛЕНИЯ МАКСИМАЛЬНОЙ РАБОЧЕЙ ТЕМПЕРАТУРЫ
ЦИЛИНДРОВ ЗАВОДСКОГО ИЗГОТОВЛЕНИЯ
Thermal insulating products for building equipment
and industrial installations. Method for determination
of maximum service temperature for preformed pipe insulation
(EN 14707:2005, IDT)
ГОСТ EN 14707-2011
Дата введения
1 октября 2015 года
Цели, основные принципы и основной порядок работ по межгосударственной стандартизации установлены
ГОСТ 1.0-92 "Межгосударственная система стандартизации. Основные положения" и
ГОСТ 1.2-2009 "Межгосударственная система стандартизации. Стандарты межгосударственные, правила и рекомендации по межгосударственной стандартизации. Правила разработки, принятия, применения, обновления и отмены".
1. Подготовлен Некоммерческим партнерством "Производители современной минеральной изоляции "Росизол" на основе аутентичного перевода на русский язык европейского регионального стандарта, указанного в
пункте 5.
2. Внесен Техническим комитетом по стандартизации ТК 465 "Строительство".
3. Принят Межгосударственной научно-технической комиссией по стандартизации, техническому нормированию и оценке соответствия в строительстве (Протокол от 8 декабря 2011 г. N 39).
За принятие проголосовали:
Краткое наименование страны по МК (ИСО 3166) 004-97 | Код страны по МК (ИСО 3166) 004-97 | Сокращенное наименование национального органа государственного управления строительством |
Азербайджан | AZ | Государственный комитет градостроительства и архитектуры |
Армения | AM | Министерство градостроительства |
Казахстан | KZ | Агентство по делам строительства и жилищно-коммунального хозяйства |
Киргизия | KG | Госстрой |
Молдова | MD | Министерство строительства и регионального развития |
Россия | RU | Министерство регионального развития |
Таджикистан | TJ | Агентство по строительству и архитектуре при Правительстве |
Узбекистан | UZ | Госархитектстрой |
4.
Приказом Федерального агентства по техническому регулированию и метрологии от 9 апреля 2015 г. N 243-ст межгосударственный стандарт ГОСТ EN 14707-2011 введен в действие в качестве национального стандарта Российской Федерации с 1 октября 2015 г.
5. Настоящий стандарт идентичен европейскому региональному стандарту EN 14707:2005 Thermal insulating products for building equipment and industrial installations - Determination of the maximum service temperature for preformed pipe insulation (Теплоизоляционные изделия, применяемые для инженерного оборудования зданий и промышленных установок. Определение максимальной рабочей температуры цилиндров заводского изготовления).
Наименование настоящего стандарта изменено по отношению к наименованию европейского регионального стандарта для приведения в соответствие с ГОСТ 1.5
(подраздел 3.6).
Перевод с английского языка (en).
Сведения о соответствии межгосударственных стандартов ссылочным европейским региональным стандартам приведены в дополнительном
Приложении ДА.
Степень соответствия - идентичная (IDT).
6. Введен впервые.
Информация об изменениях к настоящему стандарту публикуется в ежегодном информационном указателе "Национальные стандарты", а текст изменений и поправок - в ежемесячном информационном указателе "Национальные стандарты". В случае пересмотра (замены) или отмены настоящего стандарта соответствующее уведомление будет опубликовано в ежемесячном информационном указателе "Национальные стандарты". Соответствующая информация, уведомление и тексты размещаются также в информационной системе общего пользования - на официальном сайте Федерального агентства по техническому регулированию и метрологии в сети Интернет.
Настоящий стандарт устанавливает требования к средствам испытания и методике определения максимальной рабочей температуры цилиндров заводского изготовления, применяемых для инженерного оборудования зданий и промышленных установок.
В настоящем стандарте использованы ссылки на следующие европейские региональные стандарты:
EN 13467:2001 Thermal insulating products for building equipment and industrial installations - Determination of the dimensions, squareness and linearity of preformed pipe insulation (Теплоизоляционные изделия, применяемые для инженерного оборудования зданий и промышленных установок. Определение размеров, отклонений от прямоугольности и прямолинейности цилиндров заводского изготовления)
EN 14706:2005 Thermal insulating products for building equipment and industrial installations - Determination of maximum service temperature (Теплоизоляционные изделия, применяемые для инженерного оборудования зданий и промышленных установок. Определение максимальной рабочей температуры).
В настоящем стандарте применен следующий термин с соответствующим определением:
3.1.
Максимальная рабочая температура: наиболее высокая температура, при которой теплоизоляционное изделие заданной толщины, предназначенное для конкретного применения, будет продолжать функционировать в установленных пределах эксплуатационных характеристик. |
Примечания.
1. К эксплуатационным характеристикам изделия могут быть отнесены: стабильность размеров, теплофизические или механические свойства, изменение внешнего вида и сопротивляемость к появлению опасных явлений, например внутренний разогрев (см.
Приложения A и
C), а также возможные требования в стандартах или технических условиях на изделия конкретных видов.
2. В соответствии с методом, приведенным в настоящем стандарте, образец подвергается воздействию температур, начиная от температуры окружающей среды до максимальной рабочей температуры. Данный метод может не отражать реальных условий применения изделия, когда изделие подвергается воздействию температур с обеих лицевых поверхностей, например в многослойных системах, или когда изделие имеет покрытие, ограничивающее его максимальную рабочую температуру.
Измеряют толщину и длину образца после одностороннего термического воздействия при заданной скорости подъема температуры до максимальной рабочей температуры в течение заданного времени. Толщину образца измеряют в процессе термического воздействия, длину - после остывания образца до температуры окружающей среды.
Примечание. Процедура может быть итерационным процессом.
Дополнительные требования по оценке максимальной рабочей температуры конкретного изделия описаны в приложениях к настоящему стандарту или могут быть приведены в стандартах или технических условиях на изделие конкретного вида.
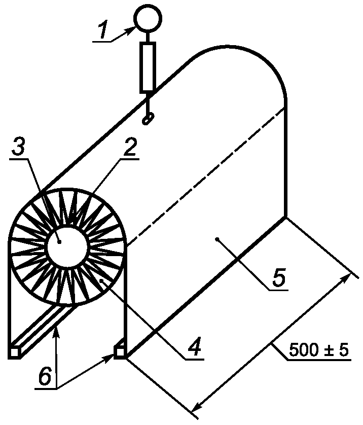
Устройство для проведения испытаний приведено на
рисунке 1. Устройство включает в себя:
5.1. Нагревательную трубу с равномерным распределением температуры и одномерным тепловым потоком в зоне измерения, проходящим перпендикулярно к поверхности трубы (применяют две трубы диаметрами, позволяющими выполнять требования, приведенные в
6.1). Отклонение нагревательной трубы от прямолинейности в зоне измерений при окружающей температуре не должно превышать 1 мм.
1 - прибор для измерения толщины, например
электромеханический прибор; 2a - длина зоны измерения
образца; 2b - охранные зоны образца; 3 - теплоизоляция
торцов образца; 4 - зазор; 5 - стык по окружности
между зоной измерения и охранными зонами; 6 - термопары;
7 - нагревательная труба; 8 - регулятор температуры
a) Общая схема
1 - прибор для измерения толщины, например
электромеханический прибор; 2 - термопара;
3 - нагревательная труба; 4 - образец; 5 - гибкая
металлическая фольга; 6 - пригруз
b) Схема создания нагрузки на образец
Рисунок 1. Схема испытания по определению
максимальной рабочей температуры
Температура нагревательной трубы должна быть регулируемой с точностью +/- 10 °C или +/- 2% заданной температуры (выбирают меньшее значение) на той части трубы, которая составляет не менее 60% общей длины трубы и расположена в ее центральной зоне. Нагревательная труба должна нагреваться со скоростью 50 °C/ч и/или 300 °C/ч.
5.2. Теплоизоляцию торцов трубы с наименьшим возможным зазором (например, <= 3 мм), обеспечивающим свободное перемещение образца в процессе испытаний.
5.3. Температурные датчики (например, термопары) для измерения температуры нагревательной трубы с точностью +/- 1% или +/- 1 °C, устанавливаемые в канавках нагревательной трубы.
5.4. Три листа гибкой металлической фольги (например, латунной) для создания равномерно распределенной нагрузки 500 Па на наружную поверхность образца: один лист длиной (500 +/- 5) мм для зоны измерений и два листа длиной по (250 +/- 5) мм каждый для двух охранных зон образца (см.
рисунок 1). Нагрузку рассчитывают с учетом площади зоны измерения (произведение длины зоны измерений на диаметр нагревательной трубы).
5.5. Прибор, например электромеханический, для измерения толщины образца в процессе испытаний с точностью до 0,1 мм.
При определении толщины образца следует учитывать изменение размеров деталей прибора вследствие термического расширения (например, кварцевого стержня) до достижения максимальной рабочей температуры.
Длина: образец длиной (1000 +/- 10) мм разрезают под прямым углом к его длине на три части: две охранные зоны длиной (250 +/- 5) мм каждая и зона измерений образца длиной (500 +/- 5) мм.
Толщина образца 100 мм или наибольшая возможная толщина, если толщина изделия менее 100 мм.
Внутренний диаметр: испытывают образцы двух диаметров: в интервалах между 25 и 65 мм и между 85 и 220 мм.
Дополнительные требования к размерам образцов указаны в
Приложениях A -
C к настоящему стандарту или приведены в стандарте или технических условиях на изделие конкретного вида.
Примечания.
1. В случае отсутствия стандарта или технических условий на изделие размеры могут быть согласованы между заинтересованными сторонами.
2. С целью создания реальных условий применения изделий испытания могут быть проведены для многослойных систем, в которых применяют эти изделия.
Если цилиндр вырезают из однородного изотропного плоского изделия, его максимальную рабочую температуру определяют на образце плоского изделия с аналогичными характеристиками в соответствии с требованиями EN 14706.
6.2. Число образцов
Число образцов указывают в стандарте или технических условиях на изделие. Если число образцов не указано, то испытывают по одному образцу каждого размера.
Примечание. В случае отсутствия стандарта или технических условий на изделие число образцов может быть согласовано между заинтересованными сторонами.
6.3. Кондиционирование образцов
Образцы перед испытанием выдерживают не менее 6 ч при температуре (23 +/- 5) °C. В случае разногласий образцы выдерживают при температуре (23 +/- 2) °C и относительной влажности воздуха (50 +/- 5)% в течение времени, указанного в стандарте или технических условиях на изделие, но не менее 24 ч.
7. Методика проведения испытаний
7.1. Условия проведения испытаний
Начальная температура образца и нагревательной трубы должна быть (23 +/- 5) °C.
7.2. Проведение испытаний
Измеряют длину l0, внутренний диаметр Di и толщину d0 образца с точностью до 0,5 мм в соответствии с EN 13467.
Три части образца (две охранные зоны и зону измерений) устанавливают на нагревательную трубу, обеспечивая тепловой контакт между наружной поверхностью нагревательной трубы и образцом. В образце не допускаются продольные зазоры и зазоры между охранными зонами и зоной измерений образца. Порядок установки образца на нагревательную трубу должен быть аналогичным порядку, который указан в стандарте или технических условиях на изделие.
Два листа гибкой металлической фольги длиной (250 +/- 5) мм каждый укладывают на две охранные зоны и с помощью пригруза создают нагрузку 500 Па (см.
5.4).
Третий лист гибкой металлической фольги длиной (500 +/- 5) мм укладывают на зону измерений образца и с помощью пригруза создают нагрузку 500 Па (см.
5.4).
Примечание. Для изделий из полиэтилена и эластичной пенорезины см.
Приложение B.
Измеряют толщину образца d1 с точностью до 0,1 мм.
Образец нагревают со скоростью 50 °C/ч или 300 °C/ч в соответствии со стандартом или техническими условиями на изделие или Приложениями к настоящему стандарту.
По достижении заданной ожидаемой максимальной рабочей температуры нагрев прекращают и поддерживают достигнутую температуру нагревательной трубы в течение 72 ч с точностью +/- 2% достигнутой температуры или +/- 10 °C (выбирают меньшее значение).
Непрерывно с точностью до 0,1 мм фиксируют толщину образца в процессе испытания и толщину d2 через 72 ч после установления максимальной рабочей температуры.
Образец охлаждают, не снимая с нагревательной трубы, до температуры не выше 35 °C и измеряют его толщину d3 с точностью до 0,1 мм, если в стандарте или технических условиях на изделие или в Приложениях к настоящему стандарту не указано иное.
Визуально осматривают образец и фиксируют все изменения, произошедшие с образцом при испытании.
Дополнительные требования, указанные в стандарте или технических условиях на изделие или в Приложениях к настоящему стандарту, в части визуальных наблюдений и/или испытаний должны быть выполнены.
8. Обработка и представление результатов испытаний
8.1. Изменение толщины во времени
Строят график зависимости изменения толщины образца и температуры нагревательной трубы от времени (см. рисунок 2).
1 - период нагревания; 2 - период испытания;

- изменение толщины, %;

- температура
нагревательной трубы, °C; t - время, ч
Рисунок 2. Пример графика изменения толщины образца
и температуры нагревательной трубы во времени
Изменение толщины

, %, рассчитывают по формуле

, (1)
где d1 - толщина образца, измеренная в устройстве до нагревания, мм;
d2 - толщина образца, измеренная в устройстве после его выдержки в течение 72 ч при постоянной температуре, мм;
d3 - толщина образца, измеренная после его охлаждения до температуры не выше 35 °C, мм.
Если изменение толщины, рассчитанное по
формуле (1) с использованием значения толщины d
3, больше, чем при использовании значения толщины d
2, то толщина d
3 должна применяться при обработке результатов испытаний.
Результат испытания рассчитывают как среднеарифметическое значений изменения толщины

, %, округленных до ближайших 0,5% результатов испытаний каждого образца.
Если среднеарифметическое значение изменения толщины превышает значение, заданное в стандарте или технических условиях на изделие, то испытания следует повторять при меньших температурах до получения результатов, соответствующих требованиям стандарта или технических условий на это изделие. В этом случае достигнутую температуру считают максимальной рабочей температурой изделия (см. рисунок 3), если обеспечивается выполнение требований
8.2 и
8.3.

- изменение толщины, %;

- температура
нагревательной трубы, °C;
1 - максимальное изменение толщины, заданное
стандартом или техническими условиями на изделие, %;
2 - максимальная рабочая температура, °C
Рисунок 3. Пример определения максимальной
рабочей температуры (через 72 ч)
Шаг максимальной рабочей температуры должен быть задан в стандарте или технических условиях на изделие. Если шаг не задан, то максимальную рабочую температуру декларируют с шагом не менее 5 °C для температур менее 100 °C и с шагом 10 °C - для температур свыше 100 °C.
Примечание. Не допускается сравнивать результаты испытаний изделий разной толщины и/или с разными нагрузками при испытаниях.
8.2. Дополнительные испытания и/или наблюдения
Результаты визуальных наблюдений должны фиксироваться.
Если Приложения к настоящему стандарту и/или стандарт, или технические условия на изделие содержат какие-либо дополнительные требования, то они должны учитываться при расчетах и/или визуальных наблюдениях.
Явление внутреннего разогрева наблюдается в случае, когда температура образца в любой момент испытания превышает температуру нагревательной трубы.
Методика испытаний по определению наличия внутреннего разогрева приведена в Приложениях к настоящему стандарту.
Примечание. Настоящий стандарт не содержит данных о точности метода, однако при последующем его пересмотре такие данные будут в него включены.
Отчет об испытаниях должен включать в себя:
a) ссылку на настоящий стандарт;
b) идентификацию изделия:
1) наименование изделия, предприятия-изготовителя или поставщика,
2) код маркировки изделия,
3) вид изделия,
4) вид упаковки,
5) форму поставки изделия в лабораторию,
6) дополнительную информацию (если необходимо), например номинальные размеры, номинальную плотность;
c) методику проведения испытаний:
1) подготовку к испытанию и порядок отбора образцов, например, кто и в каком месте проводил отбор образцов,
2) условия кондиционирования образцов,
3) любые отклонения от требований, приведенных в
разделах 6 и
7 (если необходимо),
4) дату проведения испытаний,
5) размеры и число образцов,
6) выбранную скорость повышения температуры,
7) общую информацию об испытаниях,
8) обстоятельства, которые могли бы повлиять на результаты испытаний.
Примечание. Сведения об оборудовании и о лаборанте, проводившем испытание, должны находиться в лаборатории, однако в отчете их не указывают;
d) результаты испытаний:
1) все графики отдельных испытаний зависимости изменения размеров и температуры от времени,
2) все единичные и среднеарифметические значения изменений размеров. Указывают вид изменения размеров: расширение или усадка,
3) все единичные и среднеарифметические значения максимальной рабочей температуры,
4) результаты визуальных наблюдений,
5) дополнительные результаты, требуемые в соответствии с
Приложениями A -
C к настоящему стандарту, стандартом или техническими условиями на изделие.
(обязательное)
ИЗМЕНЕНИЯ И ДОПОЛНЕНИЯ К ОБЩЕМУ МЕТОДУ ИСПЫТАНИЙ
ДЛЯ ИЗДЕЛИЙ ИЗ МИНЕРАЛЬНОЙ ВАТЫ
A.1. Введение
Для изделий из минеральной ваты в метод испытаний, приведенный в настоящем стандарте, должны быть внесены следующие дополнительные требования.
A.2. Размеры образцов
Установочная толщина образца (толщина, измеренная в приборе до нагревания) не должна отличаться от толщины d0 более чем на 5 мм. Обкладки с образца не удаляют.
A.3. Методика проведения испытаний
A.3.1. Условия испытаний
Испытания начинают при начальных температурах образца и нагревательной трубы от 20 °C до 50 °C. В случае разногласий выбирают температуру (23 +/- 5) °C.
A.3.2. Проведение испытаний
Образец нагревают со скоростью 300 °C/ч.
Толщину образца d3 после его охлаждения до температуры не выше 35 °C не измеряют.
A.4. Дополнительные испытания и/или наблюдения
После измерения толщины d2 и охлаждения до температуры не выше 35 °C образец извлекают из устройства, разрезают посередине и осматривают поверхности среза с целью установления признаков разрушения волокнистой структуры образца. Если появились пустоты или образец разрушился, то результат испытания считают неудовлетворительным.
Испытание повторяют при более низкой температуре.
Примечание. Любое органическое вещество, как правило, выгорает в какой-либо части образца при температуре около 250 °C, что не ухудшает теплофизических свойств изделия, поэтому результат испытания не может считаться неудовлетворительным.
A.5. Испытание на наличие внутреннего разогрева
Если необходимо, проводят испытание в целях определения наличия внутреннего разогрева образцов. В середине образца (по его толщине) размещают дополнительную термопару. Температура

в середине образца (по толщине) под прибором для измерения толщины в процессе испытаний не должна превышать температуру нагревательной трубы

. Оценку результатов испытания проводят по графикам на рисунках A.1a) - A.1c). Результат испытания считают неудовлетворительным, если

[см. рисунок A.1c) - обширный внутренний разогрев]. В этом случае испытание повторяют при более низкой температуре.
1 - температура, °C; 2 - время, ч
Рисунок A.1. Типовые температурные графики
испытаний на внутренний разогрев
(обязательное)
ИЗМЕНЕНИЯ И ДОПОЛНЕНИЯ К ОБЩЕМУ МЕТОДУ ИСПЫТАНИЙ ДЛЯ ИЗДЕЛИЙ
ИЗ ПЕНОПОЛИЭТИЛЕНА (PEF) И ЭЛАСТИЧНОЙ ПЕНОРЕЗИНЫ (FEF)
B.1. Введение
Для изделий из пенополиэтилена и эластичной пенорезины в метод испытаний, приведенный в настоящем стандарте, должны быть внесены следующие дополнительные требования.
B.2. Средства испытаний
Один конец стальной нагревательной трубы закрепляют в изолированном держателе, другой конец должен свободно опираться на теплоизолированную подставку (для свободного термического расширения).
Расстояние между держателем и подставкой должно быть: 320 мм для нагревательной трубы диаметром не более 30 мм и 1020 мм - для нагревательной трубы большего диаметра (см. рисунок B.1).
1 - прибор для бесконтактного измерения толщины; 2 - пленка
из полиэтилена высокой плотности (HDPE) толщиной 200 мкм;
3 - образец; 4 - термопара; 5 - нагревательная труба;
6 - пригруз
Рисунок B.1. Схема испытания по определению
максимальной рабочей температуры изделий
из пенополиэтилена и эластичной пенорезины
B.3. Размеры образцов
Длина образцов внутренним диаметром не более 30 мм должна быть 300 мм, длина образцов

диаметров - 1000 мм.
B.4. Проведение испытаний
При испытании изделий из пенополиэтилена и эластичной пенорезины определяют только изменение толщины.
Измеряют толщину d
1 при температуре окружающей среды и через 24 ч после воздействия нагрузки, прикладываемой для разглаживания поверхности образца (при комнатной температуре 23 °C). Толщину d
2 определяют в соответствии с
7.2. Толщину d
3 не определяют.
Образец устанавливают в устройство. На образец по его длине укладывают пленку из полиэтилена высокой плотности (HDPE) толщиной 200 мкм и с помощью пригруза прикладывают нагрузку 50 Па для образца из эластичной пенорезины и 250 Па - для образца из пенополиэтилена. Образец оставляют на 24 ч для разглаживания всех незначительных неровностей его поверхности, после чего измеряют толщину d1.
Образец нагревают со скоростью 50 °C/ч.
Температуру, ожидаемую в качестве максимальной рабочей температуры, поддерживают с нагреваемой стороны в течение 72 ч с точностью +/- 2% этой температуры или +10 °C (выбирают меньшее значение).
Фиксируют толщину образца d2 в процессе испытания и через 72 ч после достижения максимальной рабочей температуры с точностью до 0,1 мм (интервалы между измерениями должны быть не менее: 0; 0,5; 1; 6; 24; 48; 72 ч).
Примечание. Вследствие термического расширения газа в порах образца во время нагревания от начальной температуры до максимальной рабочей температуры (газовый закон) толщина образца может увеличиться (см. график на рисунке B.2).
1 - условия окружающей среды с приложением нагрузки; 2 -
период нагревания; 3 - период испытания; 4 - дополнительный
период охлаждения и повторного нагревания (только
для иллюстрации);

- изменение толщины образца, %;

- температура нагревательной трубы, °C; t - время, ч
Рисунок B.2. Типовой пример графиков зависимости
изменения толщины образца и температуры
нагревательной трубы от времени
B.5. Изменение толщины
Изменение толщины образца в зависимости от температуры рассчитывают по
формуле (1).
Примечание. Толщина стенки образца d3 при комнатной температуре не является значимой для данного вида изделий, т.к. снижение температуры вызывает снижение давления газа в порах материала, которое приводит к обратимому уменьшению толщины стенки. При повторном нагреве восстанавливается толщина, близкая к той, которая была ранее при температурной нагрузке.
(обязательное)
ИЗМЕНЕНИЯ И ДОПОЛНЕНИЯ К ОБЩЕМУ МЕТОДУ ИСПЫТАНИЙ
ДЛЯ ИЗДЕЛИЙ ИЗ ФЕНОЛЬНОГО ПЕНОПЛАСТА
C.1. Введение
Для изделий из фенольного пенопласта в метод испытаний, приведенный в настоящем стандарте, должны быть внесены следующие дополнительные требования.
C.2. Методика проведения испытаний
Образец нагревают со скоростью 50 °C/ч до температуры, декларируемой производителем как максимальная рабочая температура.
C.3. Дополнительные испытания и/или наблюдения
Если необходимо, проводят испытание по определению наличия внутреннего разогрева. В этом случае в середине образца (по его толщине) размещают дополнительную термопару. Температура

в середине образца (по его толщине) под прибором для измерения толщины в процессе испытаний не должна превышать температуру нагревательной пластины

. Оценку результатов испытаний проводят по графикам на рисунках C.1a) - C.1c). Результат испытания считают неудовлетворительным, если

[см. рисунок C.1c) - обширный внутренний разогрев]. В этом случае испытание повторяют при более низкой температуре.
Примечание. Обесцвечивание или изменение цвета образца не ухудшает теплофизических свойств изделия, поэтому не может считаться неудовлетворительным результатом испытания.
1 - температура, °C; 2 - время, ч
Рисунок C.1. Типовые температурные графики
испытаний на внутренний разогрев
(справочное)
СВЕДЕНИЯ О СООТВЕТСТВИИ МЕЖГОСУДАРСТВЕННЫХ СТАНДАРТОВ
ССЫЛОЧНЫМ ЕВРОПЕЙСКИМ РЕГИОНАЛЬНЫМ СТАНДАРТАМ
Таблица ДА.1
Обозначение и наименование ссылочного европейского регионального стандарта | Степень соответствия | Обозначение и наименование межгосударственного стандарта |
EN 13467:2001 Теплоизоляционные изделия, применяемые для инженерного оборудования зданий и промышленных установок. Определение размеров, отклонений от прямоугольности и прямолинейности цилиндров заводского изготовления | IDT | ГОСТ EN 13467-2011 Изделия теплоизоляционные, применяемые для инженерного оборудования зданий и промышленных установок. Методы определения размеров, отклонений от прямоугольности и прямолинейности цилиндров заводского изготовления |
EN 14706:2005 Теплоизоляционные изделия, применяемые для инженерного оборудования зданий и промышленных установок. Определение максимальной рабочей температуры | MOD | ГОСТ 32312-2011 (EN 14706:2005) Изделия теплоизоляционные, применяемые для инженерного оборудования зданий и промышленных установок. Метод определения максимальной рабочей температуры |
Примечание. В настоящей таблице использовано следующее условное обозначение степени соответствия стандартов: - IDT - идентичные стандарты; - MOD - модифицированные стандарты. |