Главная // Актуальные документы // ГОСТ (Государственный стандарт)
СПРАВКА
Источник публикации
М.: Стандартинформ, 2016
Примечание к документу
Документ введен в действие с 1 июня 2016 года.
Название документа
"ГОСТ EN 14052-2015. Межгосударственный стандарт. Система стандартов безопасности труда. Высокоэффективные защитные каски. Общие технические требования. Методы испытаний"
(введен в действие Приказом Росстандарта от 10.06.2015 N 623-ст)

"ГОСТ EN 14052-2015. Межгосударственный стандарт. Система стандартов безопасности труда. Высокоэффективные защитные каски. Общие технические требования. Методы испытаний"
(введен в действие Приказом Росстандарта от 10.06.2015 N 623-ст)


Содержание


Введен в действие
Приказом Федерального
агентства по техническому
регулированию и метрологии
от 10 июня 2015 г. N 623-ст
МЕЖГОСУДАРСТВЕННЫЙ СТАНДАРТ
СИСТЕМА СТАНДАРТОВ БЕЗОПАСНОСТИ ТРУДА
ВЫСОКОЭФФЕКТИВНЫЕ ЗАЩИТНЫЕ КАСКИ
ОБЩИЕ ТЕХНИЧЕСКИЕ ТРЕБОВАНИЯ.
МЕТОДЫ ИСПЫТАНИЙ
Occupational safety standards system. High performance
safety helmets. General technical requirements. Test methods
(EN 14052:2012+A1:2012, IDT)
ГОСТ EN 14052-2015
МКС 13.340.20
Дата введения
1 июня 2016 года
Предисловие
Цели, основные принципы и основной порядок проведения работ по межгосударственной стандартизации установлены в ГОСТ 1.0-92 "Межгосударственная система стандартизации. Основные положения" и ГОСТ 1.2-2009 "Межгосударственная система стандартизации. Стандарты межгосударственные, правила и рекомендации по межгосударственной стандартизации. Правила разработки, принятия, применения, обновления и отмены".
Сведения о стандарте
1 ПОДГОТОВЛЕН Рабочей группой подкомитета ПК-7 Технического комитета по стандартизации средств индивидуальной защиты ТК 320 "СИЗ" на основе собственного перевода на русский язык англоязычной версии европейского стандарта, указанного в пункте 5
2 ВНЕСЕН Федеральным агентством по техническому регулированию и метрологии (Росстандарт)
3 ПРИНЯТ Межгосударственным советом по стандартизации, метрологии и сертификации (протокол от 27 февраля 2015 г. N 75-П)
За принятие проголосовали:
Краткое наименование страны по МК (ИСО 3166) 004-97
Код страны по МК (ИСО 3166) 004-97
Сокращенное наименование национального органа по стандартизации
Армения
AM
Минэкономики Республики Армения
Беларусь
BY
Госстандарт Республики Беларусь
Киргизия
KG
Кыргызстандарт
Россия
RU
Росстандарт
Таджикистан
TJ
Таджикстандарт
4 Приказом Федерального агентства по техническому регулированию и метрологии от 10 июня 2015 г. N 623-ст межгосударственный стандарт ГОСТ EN 14052-2015 введен в действие в качестве национального стандарта Российской Федерации с 1 июня 2016 г.
5 Настоящий стандарт идентичен европейскому региональному стандарту EN 14052:2012+A1:2012 High performance industrial helmets (Высокоэффективные шлемы промышленные).
Европейский стандарт разработан Европейским комитетом по стандартизации (CEN) в соответствии с мандатом, предоставленным Европейской комиссией и Европейской ассоциацией свободной торговли (EFTA), и реализует существенные требования безопасности Директивы 89/686/ЕЕС.
Перевод с английского языка (en).
Официальный экземпляр европейского стандарта, на основе которого подготовлен настоящий межгосударственный стандарт, имеется во ФГУП "СТАНДАРТИНФОРМ".
Сведения о соответствии межгосударственных стандартов ссылочным европейским стандартам приведены в дополнительном приложении ДА.
Степень соответствия - идентичная (IDT)
6 ВВЕДЕН ВПЕРВЫЕ
Информация об изменениях к настоящему стандарту публикуется в ежегодном информационном указателе "Национальные стандарты" (по состоянию на 1 января текущего года), а текст изменений и поправок - в ежемесячном информационном указателе "Национальные стандарты". В случае пересмотра или отмены настоящего стандарта соответствующее уведомление будет опубликовано в информационном указателе "Национальные стандарты". Соответствующая информация, уведомление и тексты размещаются также в информационной системе общего пользования - на официальном сайте Федерального агентства по техническому регулированию и метрологии в сети Интернет.
Введение
Прогресс в области создания новых материалов и методов разработки позволил разработать защитные каски более высокой надежности в отличие от других основных типов касок, используемых в промышленности.
Соответствующие стандарты предлагают набор приспособлений для защиты головы для основного промышленного использования:
- защитная каскетка в соответствии с требованиями EN 812;
- защитная каска в соответствии с требованиями EN 397;
- высокоэффективная защитная каска высокой степени надежности в соответствии с требованиями настоящего стандарта.
Защитные каскетки предназначены для обеспечения защиты пользователя, от удара головой о тяжелые неподвижные объекты серьезного уровня опасности, которые могут причинить рваные раны или иные внешние повреждения. Они не предназначены для обеспечения защиты от вреда вследствие падающих или выбрасываемых объектов, либо движущихся и подвешенных грузов. В дополнение к обязательным требованиям, защитные каскетки могут иметь свойства энергии поглощения удара при очень низких температурах, обладать огнестойкостью и электроизоляционными свойствами.
Защитные каски в основном предназначены для обеспечения защиты пользователя от падающих объектов и не предназначены для обеспечения защиты головы от воздействия на каску сзади, спереди и с боков. Обязательные требования для защитных касок также включают наличие свойств огнестойкости. В дополнение к обязательным требованиям, защитные каски могут иметь свойства поглощения энергии удара при очень низких и очень высоких температурах, иметь защитные свойства по электроизоляции и по боковой деформации, а также обеспечивать защиту от брызг расплавленного металла.
Высокоэффективные защитные каски высокой степени надежности обеспечивают более надежную защиту от падающих объектов, защиту головы от воздействий сзади, спереди и с боков, а также защиту от проникновения ударной части плоского лезвия. Они также имеют в наличии систему креплений, которая соответствует обязательным требованиям относительно отсоединения системы и свойствам эффективности системы. Эти защитные каски имеют аналогичные свойства огнестойкости, как и обычные защитные каски, и такую же защиту от других рисков, за исключением боковой деформации.
Технический комитет CEN/TC 158, который подготовил настоящий стандарт, понимает важность механической упругости для безопасности пользователя. Во время подготовки настоящего стандарта не существовало признанных действительных методов испытания механической упругости. По этой причине не приведены методы испытаний относительно механической упругости.
Разработчикам рекомендуется дополнять конструкцию защитной каски функциями защиты органов зрения, слуха и дыхания, когда это требуется. В тех случаях, когда разработка и исполнение таких дополнительных защитных функций представляется возможной, дополнительные защитные устройства должны соответствовать стандарту для данной продукции. Если соответствие требованиям стандарта не выполнено, то производитель должен указать на допущенные компромиссы в информации, поставляемой с защитной каской.
Использование защитной каски, соответствующей требованиям настоящего стандарта, снижает, но не исключает полностью вероятность травмы головы. Существуют пределы степени защиты, которые могут быть обеспечены. Ответственность за оценку того, насколько на рабочем месте та или иная защитная каска подходит для ее определенного использования, возлагается на работодателя.
1. Область применения
Настоящий стандарт устанавливает общие технические требования к физическим свойствам, производственному исполнению высокоэффективных защитных касок, а также методы их испытаний и требования к маркировке.
Высокоэффективные защитные каски высокой степени надежности в соответствии с настоящим стандартом предназначены для обеспечения защиты от падающих объектов и от воздействий на голову сзади, спереди и с боков, а также для обеспечения соответствующей защиты от черепно-мозговых травм и травм шеи.
Настоящий стандарт включает в себя обязательные требования, которые распространяются на все высокоэффективные защитные каски, а также дополнительные требования, относящиеся к производственному исполнению касок, которые применяют только в тех случаях, когда они специально заявлены изготовителем касок.
2. Нормативные ссылки
В настоящем стандарте использованы нормативные ссылки на следующие стандарты:
EN 960:2006, Headforms for use in the testing of protective helmets (Макеты головы для использования при испытании защитных касок)
EN 13087-1, Protective helmets - Test methods - Part 1: Conditions and conditioning (Защитные каски. Методы испытаний. Часть 1. Условия и кондиционирование)
EN 13087-2, Protective helmets - Test methods - Part 2: Shock absorption (Защитные каски. Методы испытаний. Часть 2. Амортизация ударов)
EN 13087-3, Protective helmets - Test methods - Part 3: Resistance to penetration (Защитные каски. Методы испытаний. Часть 3. Устойчивость к проникновению)
EN 13087-5:2012 Protective helmets - Test methods - Part 5: Retention system strength (Защитные каски - Методы испытаний - Часть 5: Прочность системы фиксации)
EN 13087-7 Protective helmets - Test methods - Part 7: Flame resistance (Защитные каски. Методы испытаний. Часть 7. Огнестойкость)
EN 13087-8 Protective helmets - Test methods - Part 8: Electrical properties (Защитные каски. Методы испытаний. Часть 8. Электрические свойства)
EN 13087-10 Protective helmets - Test methods - Part 10: Resistance to radiant heat (Защитные каски. Методы испытаний. Часть 10. Устойчивость к тепловому излучению)
EN ISO 472 Plastics - Vocabulary (ISO 472:1999) [(Пластмассы. Словарь терминов (ISO 472:1999)]
EN ISO 9185:2007 Protective clothing - Assessment of resistance of materials to molten metal splash (ISO 9185:2007) [Защитная спецодежда. Оценка устойчивости материалов к брызгам расплавленного металла (ISO 9185:2007)]
3. Термины и определения
В настоящем стандарте применены следующие термины с соответствующими определениями:
3.1 высокоэффективные защитные каски (high performance industrial helmet): Средство защиты головы (далее - защитная каска), в первую очередь предназначенное для обеспечения защиты от падающих объектов и от воздействий на голову сзади, спереди и с боков.
Примечание - Защитная каска может обладать дополнительными защитными свойствами.
3.2 система фиксации (retention system): Набор принадлежностей, при помощи которых защитная каска удерживается в положении на голове, включающий любые приспособления для регулировки системы или для достижения удобства для пользователя.
Примечание - Система фиксации может включать подбородочный ремень.
3.3 подбородочный ремень (chin strap): Часть системы фиксации, включающая ремень, который располагается под подбородком, для устойчивого крепления защитной каски на голове.
3.4 вершина (crown): Область на верхней внешней поверхности корпуса защитной каски, находящаяся в пределах телесного угла в 30° с вершиной в точке G (в соответствии с 2.12 EN 960), лежащей на центральной вертикальной оси макета головы, на который надевают защитную каску.
3.5 неотъемлемая дополнительная защитная функция (integral additional protective function): Часть(и) защитной каски, предназначенная(ые) для защиты пользователя, не предусмотренная(ые) настоящим стандартом, которая(ые) не может быть удалена(ы) пользователем, за исключением случаев ухода за каской.
3.6 дополнительная защитная функция, не являющаяся неотъемлемой (non-integral additional protective function): Дополнительное(ые) защитное(ые) устройство(а), которое(ые) может(гут) быть присоединено(ы) к защитной каске или удалено(ы) с нее пользователем, которое(ые) не является(ются) обязательным(и) для соответствия защитной каски настоящему стандарту.
3.7 вспомогательные приспособления защитной каски (helmet accessory): Дополнительное(ые) устройство(а), которое(ые) может(гут) быть присоединено(ы) к защитной каске или удалено(ы) с каски пользователем, но которое(ые) не обеспечивает(ют) защитную функцию для пользователя.
3.8 тип защитной каски (helmet type): Категория защитных касок, которые не отличаются по материалам для изготовления, размерам, или по конструкции защитной каски, или ее системе фиксации.
4. Требования к физическим свойствам
4.1. Общие требования
Указанные в настоящем стандарте значения являются номинальными, за исключением температурных режимов, значения которых не являются минимальными или максимальными и могут иметь допуски в пределах +/- 5%.
Если стандарт не устанавливает требований по температурным значениям, то они должны соответствовать EN 13087-1.
4.2. Материалы и конструкция
4.2.1 Отсутствие токсичности
Для изготовления частей защитной каски, контактирующих с поверхностью кожи, не должны использовать материалы, вызывающие раздражение кожи либо оказывающие вредное воздействие на здоровье. Рекомендуемые вещества для очистки, обслуживания или дезинфекции, применяемые в соответствии с инструкциями изготовителя защитной каски (7.2.2, перечисление f), не должны оказывать вредного воздействия как на пользователя, так и на защитную каску.
Информацию об отсутствии вредного воздействия изделия проверяют в следующем объеме:
a) характеристики материалов;
b) данные о безопасности используемых материалов;
c) информация, подтверждающая возможность применения данных материалов для использования с продуктами питания, в медицинских устройствах и другого соответствующего применения;
d) информация о токсикологических, аллергенных, канцерогенных свойствах материалов, токсичности для репродуктивной функции или мутагенных исследованиях материала.
4.2.2 Визуальный контроль
Все части защитной каски не должны иметь острых углов, неровностей или выступающих частей, которые находятся или могут находиться в контакте с пользователем при ношении защитной каски и которые могут причинить повреждения пользователю.
Любая из частей защитной каски, которая может регулироваться или отсоединяться пользователем в целях замены в соответствии с инструкциями изготовителя (7.2), должна быть разработана и изготовлена таким образом, чтобы регулировка, отсоединение и присоединение могли быть выполнены без использования инструментов. Любая система регулирования, являющаяся частью защитной каски, должна быть разработана и изготовлена таким образом, чтобы она не могла быть неправильно отрегулирована без ведома пользователя в предусмотренных условиях применения.
Примечание - Рекомендации, позволяющие повысить удобство ношения каски для пользователя, приведены в приложении A.
4.3. Подбородочный ремень
Подбородочный ремень, поставляемый с защитной каской, в ненатянутом состоянии должен иметь ширину не менее 10 мм.
Примечание - Если подбородочный ремень, удерживающий каску на голове, является неотъемлемой частью защитной каски, то это должно быть указано в информации изготовителя, а на каске должна быть нанесена соответствующая маркировка (раздел 7).
5. Эксплуатационные требования
5.1. Общие требования
Защитные каски испытывают со всеми их неотъемлемыми дополнительными защитными функциями (3.5). Если каска имеет дополнительные защитные функции (3.6) или вспомогательные приспособления (3.7), то защитная каска должна соответствовать требованиям настоящего стандарта и без наличия таковых функций у испытуемой защитной каски.
5.2. Обязательные требования
5.2.1 Амортизация удара
При испытании защитной каски в соответствии с 6.4, передаваемое усилие на макет головы не должно превышать 5,0 кН при воздействии на вершину, а торможение бойка не должно превышать 300g при воздействии на каску сзади, спереди и с боков.
5.2.2 Устойчивость к проникновению
При испытании защитной каски в соответствии с 6.5, боек с плоским лезвием не должен контактировать с макетом головы. Усилие, передаваемое на макет головы, не должно превышать 5,0 кН при воздействии на вершину или 15,0 кН при воздействии на каску сзади, спереди и с боков.
5.2.3 Отсоединение системы фиксации
Если защитная каска имеет подбородочный ремень в качестве неотъемлемой части, то испытания проводят в соответствии с 6.6. Искусственная челюсть должна отсоединяться при усилии не менее 150 Н и не более 250 Н.
5.2.4 Эффективность системы фиксации
Защитная каска должна оставаться на макете головы после испытания на амортизацию ударов и устойчивость к проникновению (6.4 и 6.5). При испытании по 6.7 защитная каска не должна спадать с головы более чем у двух испытателей.
5.2.5 Огнестойкость
При испытании в соответствии с 6.8 материалы, из которых изготовлена каска, через 5 с после извлечения из пламени не должны гореть с образованием пламени.
5.2.6 Этикетка
Этикетка(и), прикрепляемая(ые) к защитной каске в соответствии с 7.1.2, должна(ы) оставаться прикрепленной(ыми) и легко читаться на каждом образце защитной каски, соответствующей требованиям 6.2.2, или, где это применимо, требованиям 6.2.6, 6.2.3, или, где это применимо, требованиям 6.2.7, 6.2.4, 6.2.5, и, где это применимо, требованиям 6.2.8.
5.3. Дополнительные требования
5.3.1 Характеристики в условиях низких температур
При испытании на амортизацию по 6.4, требованию 5.2.1 должны удовлетворять две защитные каски, кондиционированные в соответствии с 6.2.6.
При испытании на проникновение по 6.5, требованию 5.2.2 должны удовлетворять две защитные каски, кондиционированные в соответствии с 6.2.6.
Защитные каски, соответствующие требованиям по амортизации и проникновению при низких температурах, должны иметь соответствующую маркировку на защитной каске в соответствии с 7.1.2.
5.3.2 Характеристики в условиях высоких температур
При испытании на амортизацию по 6.4, требованию 5.2.1 должны удовлетворять две защитные каски, прошедшие термообработку в соответствии с 6.2.7.
При испытании на проникновение по 6.5, требованию 5.2.2 должны удовлетворять две защитные каски, прошедшие термообработку в соответствии с 6.2.7.
Защитные каски, удовлетворяющие этим требованиям, снабжают этикеткой, закрепленной на каске и содержащей текст, подтверждающий этот факт, в соответствии с 7.1.2.
5.3.3 Стойкость к тепловому излучению
При испытании на амортизацию ударов по 6.4, требованию 5.2.1 должны удовлетворять две защитные каски, прошедшие испытания в соответствии с 6.2.8.
При испытании на проникновение по 6.5, требованию 5.2.2 должны удовлетворять две защитные каски, прошедшие испытания в соответствии с 6.2.8.
Кроме этого, температура, измеренная на поверхности макета головы, не должна подняться выше температуры окружающей среды в лаборатории более чем на 25 °C. Ни одна из частей защитной каски не должна расплавиться до такой степени, чтобы вызвать капание материала. Любое повреждение или деформация защитной каски не должны отрицательно сказаться на ее рабочих характеристиках.
Защитные каски, удовлетворяющие этим требованиям, снабжают этикеткой, закрепленной на каске и содержащей текст, подтверждающий этот факт, в соответствии с 7.1.2.
5.3.4 Электрические свойства
При испытании в соответствии со всеми тремя методами, приведенными в 6.10, ток утечки не должен превышать 1,2 мА.
Примечания
1 Данное требование имеет своей целью обеспечение защиты пользователя при кратковременном случайном контакте с электрическими проводниками, находящимися под напряжением до 440 В переменного тока.
2 Испытание 1 имеет своей целью моделирование ситуации, близкой к рабочей, - ток утечки передается на пользователя каски от находящегося под напряжением проводника, соприкасающегося с внешней поверхностью корпуса каски.
3 Испытание 2 зависит от сопротивления корпуса защитной каски в поперечном сечении. Это эффективно предотвращает использование металла в пределах и за пределами отверстий, проходящих через сечение (корпуса) защитной каски.
4 Результат испытания 3 зависит только от сопротивления поверхности защитной каски и эффективно предотвращает использование проводящей поверхности (например, металлизированной).
Это испытание считается необходимым для исключения опасности в том случае, если пользователь каски попытается снять каску, соприкасающуюся с проводником, находящимся под напряжением.
Защитные каски, удовлетворяющие этим требованиям (по всем трем испытаниям на электрические свойства), снабжают этикеткой, закрепленной на каске и содержащей текст, подтверждающий этот факт, в соответствии с 7.1.2.
5.3.5 Брызги расплавленного металла
При испытании в соответствии с 6.11 не допускается:
a) проникновение расплавленного металла сквозь каску;
b) деформация более 10 мм, измеряемая под прямым углом к базисной плоскости каски;
c) горение каски с образованием пламени через 5 с после прекращения литья на каску расплавленного металла.
Защитные каски, удовлетворяющие этим требованиям, снабжают этикеткой, закрепленной на каске и содержащей текст, подтверждающий этот факт, в соответствии с 7.1.2.
6. Испытания
6.1. Образцы
Защитные каски предоставляют для испытания в том состоянии, в котором они поступают в продажу, включая все необходимые отверстия и другие крепежные приспособления для устройства (устройств), определенного(ых) в 3.6 или 3.7.
Если любые из устройств, указанные в 3.6 и 3.7, предоставляют вместе с защитной каской для испытания, то защитную каску испытывают вместе со всеми присоединенными устройствами, а также и без них.
Примечание - Образцы защитных касок, подвергнутые испытанию, не должны выставляться на продажу.
Минимальное количество образцов и условия испытаний для каждого типа защитных касок:
(i) Обязательные испытания:
две защитные каски для испытания на амортизацию (6.4) при плюс 50 °C;
две защитные каски для испытания на амортизацию (6.4) при минус 10 °C;
две защитные каски для испытания на амортизацию (6.4) после погружения в воду;
две защитные каски для испытания на амортизацию (6.4) после искусственного старения;
две защитные каски для испытания на стойкость к проникновению (6.5) при температуре плюс 50 °C;
две защитные каски для испытания на стойкость к проникновению (6.5) при температуре минус 10 °C;
две защитные каски для испытания на стойкость к проникновению (6.5) после погружения в воду;
две защитные каски для испытания на стойкость к проникновению (6.5) после искусственного старения.
Если в инструкции изготовителя указано, что подбородочный ремень является неотъемлемой частью защитной каски, то каждую каску испытывают на амортизацию удара или на стойкость к проникновению с зафиксированным подбородочным ремнем;
одна защитная каска для испытания на отсоединение системы фиксации (6.6) (по возможности) при температуре плюс 50 °C;
одна защитная каска для испытания на отсоединение системы фиксации (6.6) (по возможности) при температуре минус 10 °C;
одна защитная каска каждого размера для испытания на эффективность системы фиксации (6.7);
одна защитная каска для испытания на огнестойкость (6.8).
(ii) Дополнительные испытания:
две защитные каски на амортизацию (6.4) и две защитные каски на стойкость к проникновению (6.5) и (при возможности) одна защитная каска на отсоединение системы фиксации (6.6), для испытаний после воздействия низких температур (минус 20 °C, минус 30 °C или минус 40 °C в соответствующих случаях) (6.2.6);
две защитные каски на амортизацию (6.4) и две защитные каски на стойкость к проникновению (6.5) и (при возможности) одна защитная каска на отсоединение системы фиксации (6.6), для испытаний после воздействия высоких температур (6.2.7);
две защитные каски на амортизацию (6.4) и две защитные каски на стойкость к проникновению (6.5) и (при возможности) одна защитная каска на отсоединение системы фиксации (6.6), для испытаний после воздействия теплового излучения (6.2.8);
одна защитная каска для всех трех видов испытания на электрические свойства (последнее испытание на изоляцию влажной защитной каски) (6.10);
одна защитная каска для испытания на брызги расплавленного металла (6.11).
6.2. Условия и кондиционирование при испытаниях
6.2.1 Общие требования
Условия окружающей среды при проведении испытаний и кондиционирование касок устанавливают в соответствии с EN 13087-1.
Перед испытанием каждая защитная каска должна пройти очистку и дезинфекцию пять раз в соответствии с инструкциями изготовителя.
Перед испытанием защитную каску, в соответствующих случаях, подвергают одному из видов кондиционирования или подготовки, указанных в 6.2.2 - 6.2.8.
Если каска изначально подготовлена в соответствии с требованиями 6.2.2 - 6.2.4 или 6.2.6, то перед выполнением второго испытания по 6.4 и 6.5 ту же каску помещают обратно в камеру для повторного кондиционирования как минимум на 1 ч.
6.2.2 Низкая температура
Кондиционирование проводят при температуре минус 10 °C.
6.2.3 Высокая температура
Кондиционирование проводят при температуре плюс 50 °C.
6.2.4 Погружение в воду
Температура воды должна быть не выше 27 °C.
6.2.5 Искусственное старение
Искусственное старение проводят в соответствии с EN 13087-1.
6.2.6 Очень низкая температура
Кондиционирование проводят при температуре минус 20 °C, минус 30 °C или минус 40 °C.
Примечание - При необходимости кондиционирование проводят при температуре минус 50 °C.
6.2.7 Очень высокая температура
6.2.7.1 Оборудование
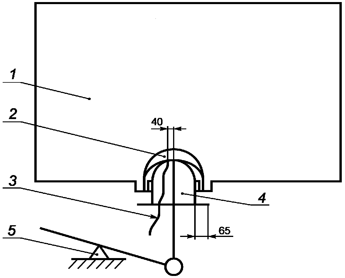
Упрощенное изображение оборудования термообработки представлено на рисунке 1.
1 - термокамера; 2 - испытуемый образец; 3 - термопара;
4 - термомакет; 5 - подъемное устройство
Рисунок 1 - Упрощенное изображение
оборудования для термообработки
Термокамера представляет собой теплоизолированный резервуар с металлическим основанием толщиной 1 мм, в котором выполнены отверстия, размер которых указан на рисунке 2. Внутреннее пространство камеры нагревают до температуры (150 +/- 5) °C.
Рисунок 2 - Размеры отверстия в нижней части термокамеры
Термомакет представляет собой полое тело, изготовленное из медной пластины толщиной 1,5 мм, размеры которого соответствуют размерам макета головы - эквивалент кода G в соответствии с EN 960 (EN 960:2006 - эквивалент кода G EN 960:1994). Внутреннее пространство термомакета охлаждают при помощи вводимой в него среды (воздух или вода).
На основании термомакета установлено кольцо, подсоединенное к подъемному устройству. Внутреннюю часть термомакета нагревают до температуры (50,0 +/- 2,5) °C. Температуру в районе вершины термомакета измеряют при помощи термопары. Подъемное устройство предназначено для ввода термомакета головы в термокамеру до тех пор, пока его нижние края не коснутся основания камеры.
6.2.7.2 Метод испытания
Вводят термомакет головы в термокамеру до тех пор, пока его нижние края не коснутся основания камеры. Каску нагревают в термокамере в течение (60 +/- 2) мин.
6.2.8 Тепловое излучение
Испытание на тепловое излучение проводят в соответствии с EN 13087-10, но с возможностью выбора 7 или 14 кВ·м-2.
6.3. Макеты головы
6.3.1 Конструкция
Макеты головы, используемые для испытания, должны соответствовать следующим требованиям EN 960:
материалы - 3.1;
размеры - 2.2 и 3.2 (в зависимости от испытания);
маркировка - 3.3.
6.3.2 Выбор размера
В настоящем стандарте определены пять размеров макета головы: 495, 535, 575, 605 и 625 в соответствии с EN 960, которые эквивалентны кодам A, E, J, M и O по EN 960.
Защитные каски испытывают на макетах головы подходящих размеров (из размеров, обозначенных как 495, 535, 575, 605 и 625), осуществив регулировку защитной каски для наибольшего и наименьшего размеров в пределах регулирования.
6.4. Амортизация ударов
Испытания проводят в соответствии с EN 13087-2.
В дополнение применяют следующие предварительные условия:
a) для воздействия на вершину каски применяют метод падающей массы с использованием полусферического бойка;
b) для воздействия сзади, спереди и по бокам также применяют метод падающей массы, но с изменениями, указанными ниже в перечислениях c) и e) 6.4;
c) направляющая система должна обеспечивать только направляемое падение. Свободное падение не допускается. Однокомпонентный акселерометр надежно прикрепляют к бойку и устанавливают таким образом, чтобы его ось чувствительности совпадала с центральной вертикальной осью макета головы, установленного прямо, и центральной вертикальной осью бойка. Акселерометр должен выдерживать без повреждений максимальное торможение 5000g. Макет головы прочно закрепляют с надлежащим углом наклона таким образом, чтобы ось бойка проходила через точку G полной модели головы или точки A 3/4 макета головы (EN 960). Жесткость крепления макета головы считают достаточной, если при проведении поверочного испытания по перечислению e) 6.4, максимальное торможение для наклоненного макета головы находится в пределах 10% от полученного значения торможения для установленного прямо макета головы;
d) макеты головы должны быть либо полными макетами (обычно прикрепленные к основанию "шеи") или макеты головы 3/4 (обычно закрепленные на расположенном в центре шаровом соединении). В ином случае форма макета головы должна соответствовать разделам EN 960 (определение размеров 495, 535, 575, 605, 625). В случаях использования 3/4 макетов головы должны быть обеспечены дополнительные условия для фиксации подбородочного ремня защитной каски (при наличии) в порядке, определяемом изготовителем защитной каски.
Для воздействия сзади, спереди и по бокам макет головы должен иметь возможность быть наклоненным на угол в 15°, 30°, 45° и 60° по вертикали;
e) при поверочных испытаниях для каждой из двух конструкций макета головы вместо полукруглого бойка к несущей части бойка присоединяют модульный эластомерный механизм (МЕР) или аналогичное связующее звено (для защиты макета головы). Удар наносят на вертикально установленный макет головы при номинальном торможении 300g. Следующий удар с теми же параметрами наносят на макет головы, установленный под углом 60° от вертикали. Сравнивают данные двух значений торможения. Для 3/4 макета головы сравнительные испытания проводят таким образом, чтобы ударный механизм оказывал воздействие на то же самое место. Для полного макета головы сравнительные испытания проводят с имитатором макета головы, который имеет одинаковый контур в точке воздействия как для вертикального положения имитатора макета головы, так и для его наклонного положения.
Примечание - Для имитатора макета головы считается подходящим номинальный сферический радиус 65 мм. Это представляет поверхность для воздействия с контуром, приближенным к поверхности верхней части макета головы размера A;
f) наносят два удара на каждую защитную каску и испытывают две защитные каски при каждом из условий. Один удар наносят на вершину защитной каски, а другой - сзади, спереди или по бокам. Ось нанесения удара должна пройти через точку G полного макета головы (EN 960) или точку A 3/4 макета головы (EN 960). Точки нанесения удара сзади, спереди или по бокам определяют по углу наклона центральной вертикальной оси макета головы относительно точки G (или точки A). Угол наклона макета головы составляет значение между 15° и 60° от вертикали;
g) энергия удара на вершину каски составляет (100,0 +/- 0,5) Дж. Энергия удара на каску сзади, спереди или по бокам составляет (50,0 +/- 0,25) Дж. Точки нанесения удара разносят не менее чем на 75 мм;
h) точки нанесения удара на каску сзади, спереди или сбоку должны быть различными для каждой из восьми защитных касок, которые испытывают при обязательных испытаниях (высокие температуры, низкие температуры, погружение в воду, искусственное старение).
Примечание - Например, передняя часть, левая сторона, задняя часть и правая сторона каски;
i) места воздействия на каску сзади, спереди или по бокам включают как минимум один удар при наклоне 60° от вертикали и один удар в точку, находящуюся как можно ближе к вершине.
6.5. Стойкость к проникновению
Испытания проводят в соответствии с EN 13087-3 с использованием бойка с плоским лезвием. Масса бойка - (1000 +/- 15) г.
В дополнение должны соблюдать следующие условия:
a) два удара на одну защитную каску и две защитные каски для каждого из условий испытаний;
b) для каждой защитной каски - один удар по вершине каски плюс один удар на любое другое место. Это место должно находиться между 15° и 60° от вертикали. Ось нанесения удара проходит через точку G макета головы;
c) высота падения при ударе по вершине каски составляет (2500 +/- 12) мм;
d) высота падения при ударах спереди, сзади и по бокам каски составляет (2000 +/- 10) мм;
e) расстояние между точками нанесения удара - не менее 75 мм;
f) точки нанесения удара на каску сзади, спереди или сбоку должны быть различными для каждой из восьми защитных касок, которые испытывают при обязательных испытаниях (высокие температуры, низкие температуры, погружение в воду, искусственное старение).
Примечание - Например, передняя часть, левая сторона, задняя часть и правая сторона каски;
g) места воздействия на каску сзади, спереди или по бокам должны включать как минимум один удар при наклоне 60° от вертикали и один удар в точку, находящуюся как можно ближе к вершине.
6.6. Отсоединение системы фиксации
Испытания проводят в соответствии с EN 13087-5.
В дополнение должны быть соблюдены следующие условия:
- метод 5.2.3.1a) EN 13087-5 (опора макета головы, возрастающая нагрузка).
6.7. Эффективность системы фиксации
Десять испытателей выбирают каждый по образцу защитной каски подходящего размера. Каждый испытатель надевает и регулирует защитную каску, следуя инструкциям изготовителя, таким образом, чтобы каска была надежно и удобно закреплена.
Подбородочный ремень используют для этого испытания только в том случае, если подбородочный ремень поставляют вместе с защитной каской и если в инструкции изготовителя указано, что подбородочный ремень является неотъемлемой частью защитной каски и предназначен для удержания защитной каски на голове.
Если испытание проводят с использованием подбородочного ремня, то перед испытанием каждый ремень кондиционируют в течение от 4 до 24 ч последовательно по каждому из 6.2.2 - 6.2.5 (т.е. в общей сложности не менее 16 ч и не более 96 ч), при необходимости, кондиционируют также и по 6.2.6.
Затем каждый испытатель выполняет следующие упражнения:
a) медленно наклоняется вбок до тех пор, пока голова не будет находиться в горизонтальном положении;
b) медленно сгибается вперед до тех пор, пока голова и защитная каска не будут находиться в положении вниз головой;
c) медленно откидывает голову назад до тех пор, пока испытатель не будет смотреть вверх.
Если во время любого из упражнений защитная каска частично смещается со своего места, испытатель заново регулирует защитную каску и выполняет испытание (только один раз). Однако такая регулировка не должна приводить к неудобству в ношении защитной каски.
Если в любом из случаев испытания сообщают о дискомфорте или регулировка каски не выполнена в соответствии с 4.2.2, значит, защитная каска не прошла испытание.
Каждый испытатель сообщает также о падении защитной каски с головы в течение любого из упражнений.
6.8. Огнестойкость
Испытание проводят в соответствии с EN 13087-7.
В дополнение должны быть соблюдены следующие условия:
a) воздействие огнем продолжают в течение (10 +/- 1) с;
b) местом воздействия может быть любая точка на внешней поверхности защитной каски, находящаяся в области вершины каски (3.4).
6.9. Устойчивость к тепловому излучению
Испытание проводят в соответствии с EN 13087-10, при использовании номинально 7 или 14 кВ·м-2.
6.10. Электрические свойства
Испытание проводят в соответствии с EN 13087-8.
В дополнение должны быть соблюдены следующие условия:
- проводят все три испытания (испытание на изоляцию влажной защитной каски проводят в последнюю очередь).
6.11. Брызги расплавленного металла
6.11.1 Принцип
На защитную каску выливают расплавленный металл, затем оценивают повреждения.
6.11.2 Оборудование
Оборудование в соответствии с EN ISO 9185 модифицировано путем введения соответствующей модели головы и испытуемой защитной каски. Используемый металл должен соответствовать приложению A EN ISO 9185.
6.11.3 Метод испытания
Испытания проводят в соответствии с EN ISO 9185, используя металл массой (150 +/- 10) г.
Помещают защитную каску на макет головы таким образом, чтобы точка воздействия жидким металлом находилась в пределах круга радиусом 50 мм с центром в верхней части защитной каски.
После испытания проверяют выполнение требований 5.3.5.
7. Маркировка и информация, предоставляемая изготовителем
7.1. Маркировка на защитной каске
7.1.1 Каждая защитная каска должна иметь четкую, разборчивую, читаемую и недвусмысленную литую или тисненную маркировку с указанием следующей информации:
a) номер и год настоящего стандарта;
b) наименование и торговая марка изготовителя;
c) год и квартал изготовления;
d) модель защитной каски (обозначение изготовителя). Маркировка должна быть выполнена изготовителем на защитной каске и любых частях, замена которых может быть осуществлена пользователем;
e) размер или диапазон размеров, см. Маркировку наносят на внешней стороне защитной каски и на системе фиксации;
f) масса защитной каски (в г, округленной до 50 г), за исключением любых элементов, указанных в 3.6 или 3.7;
g) сокращенное наименование материала защитной каски (если каска изготовлена из пластмассы) в соответствии с EN ISO 472 (например, ABS, PC, HDPE, PS);
h) буквы KS, если подбородочный ремень поставляется вместе с защитной каской в соответствии с 4.3.
7.1.2 Каждая защитная каска должна иметь четкую, легко читаемую и недвусмысленную литую или тисненную маркировку или износоустойчивую (5.2.6) самоклеящуюся этикетку с указанием соответствия дополнительным требованиям:
дополнительное требование................
маркировка/этикетка;
очень низкая температура....................
-20 °C, -30 °C или -40 °C, при соответствии;
очень высокая температура.................
150 °C;
устойчивость к тепловому излучению (7 или 14 кВ·м-2).........................................
7 или 14, при соответствии;
электрические свойств.........................
440 В (А.С.);
брызги расплавленного металла.........
ММ.
7.2. Дополнительная информация, предоставляемая изготовителем
7.2.1 Информация, которая должна быть предоставлена на этикетке
К каждой защитной каске должна быть прикреплена этикетка, предоставляющая следующую информацию на языке страны, в которой осуществляется продажа:
a) использование данной защитной каски не всегда может предотвратить смерть или долговременное увечье;
b) защитная каска:
1) должна быть заменена после любого механического воздействия, при этом нанесенный ущерб не всегда может быть видимым,
2) должна хорошо подходить пользователю при ношении,
3) должна быть использована только с запасными частями и вспомогательными приспособлениями, рекомендованными изготовителем защитной каски,
4) не должна подвергаться покраске, иметь прикрепленные этикетки (кроме этикеток изготовителя защитной каски) или подвергаться очистке с использованием нерекомендованных веществ,
5) не должна модифицироваться никаким способом,
6) при наличии маркировки KS, каска должна быть использована только с подбородочным ремнем.
7.2.2 Дополнительная информация
Следующая информация должна быть предоставлена с каждой защитной каской:
a) наименование и адрес изготовителя или его уполномоченного представителя;
b) номера телефонной и/или факсимильной связи и/или адрес электронной почты изготовителя или его уполномоченного представителя;
c) модель защитной каски (обозначение изготовителя);
d) значимость информации, предоставленной на маркировке в соответствии с 7.1.2;
e) при необходимости утверждение, что данная защитная каска с подбородочным ремнем соответствует настоящему стандарту в том случае, если подбородочный ремень поставляется вместе с защитной каской, носится и регулируется в соответствии с данными инструкциями;
f) инструкции или рекомендации в отношении правильной комплектации и регулирования, использования, проверки, очистки, дезинфекции, обслуживания и хранения, морального износа и транспортирования пользователем;
g) подробности относительно подходящих вспомогательных приспособлений и надлежащих запасных частей;
h) утверждение "Срок службы настоящей защитной каски зависит от использованного в его конструкции типа(ов) материала и среды, в которой защитная каска используется и хранится. Указания можно получить от изготовителя";
i) утверждение "Защитные каски поглощают энергию ударов путем частичного разрушения или повреждения защитной каски. Даже если такое повреждение не является очевидным, любая защитная каска, которая подверглась серьезному воздействию, должна быть заменена".
Приложение A
(справочное)
УДОБСТВО НОШЕНИЯ
Комфорт является очень субъективной оценкой. Однако широко известным фактом является то, что чем комфортнее средство индивидуальной защиты, тем с большей вероятностью его носит пользователь.
В то время как голову можно классифицировать по окружности или размеру, вполне справедливым является утверждение о том, что нет двух одинаковых голов. В связи с этим очевидно, что защитные каски должны изготавливать таким образом, чтобы они подходили к головам разных размеров и формы и чтобы все они удерживались на голове пользователя.
Защитная каска должна обеспечивать оптимальное размещение для контура головы пользователя. Кроме того, опыт также показывает, что дизайн каски должен обеспечивать возможность максимальной регулировки.
Наличие внутренней прокладки, покрывающей, как минимум, переднюю внутреннюю поверхность защитной каски (несущей ленты) и изготовленную из впитывающих и легко моющихся материалов, не раздражающих кожу пользователя, как доказано, также увеличивает комфорт.
Очень важно, при наличии лямок, расположение лямок и их фиксация, а также материалы, из которых они сделаны, должны учитывать диапазон размеров форм головы предполагаемого пользователя.
Вес является важным фактором, однако расположение центра тяжести также не менее важно в отношении комфорта пользователя.
В то же самое время настоящий стандарт был подготовлен при отсутствии признанного метода для измерения вентиляционных возможностей защитной каски. Однако они оказывают важный эффект на комфорт и должны учитываться при выборе.
Если предусмотрена возможность для фиксации вспомогательных приспособлений, таких как противошумные наушники, лицевые щитки и т.д., то вышеуказанные рекомендации должны быть учтены в отношении как дизайна, так и расположения мест фиксации.
Приложение B
(справочное)
РЕЗУЛЬТАТЫ ИСПЫТАНИЙ, НЕОПРЕДЕЛЕННОСТЬ ИЗМЕРЕНИЙ
B.1. Неопределенность измерения
Для каждого из измерений, проводимого в соответствии с настоящим стандартом, рассчитывают соответствующую оценку неопределенности измерения U. Данную оценку применяют в соответствии с B.2 и приводят в протоколе испытаний для того, чтобы пользователь мог оценить достоверность результатов испытаний.
B.2. Интерпретация результатов
Следующий протокол в отношении неопределенности измерений применяют к результатам испытаний.
Если среднее значение результата из данных испытаний плюс/минус неопределенность измерений U попадает между верхним и нижним предельными значениями данного параметра, установленными применимыми техническими условиями, например EN ISO 20345, тогда результат считают прямым соответствием (см. рисунок B.1).
R - результат измерений; S - диапазон допустимых значений;
LSL - нижнее предельное значение; USL - верхнее предельное
значение; U - неопределенность измерений
Рисунок B.1 - Прямое соответствие результата
Если среднее значение результата из данных испытаний плюс/минус неопределенность измерений U попадает за пределы верхнего и нижнего предельных значений данного параметра, установленных применимыми техническими условиями, например EN ISO 20345, тогда результат считают прямым несоответствием (см. рисунок B.2).
R - результат измерений; S - диапазон допустимых значений;
LSL - нижнее предельное значение; USL - верхнее предельное
значение; U - неопределенность измерений
Рисунок B.2 - Прямое несоответствие результата
Если среднее значение результата из данных испытаний попадает между верхним и нижним предельным значениями данного параметра, установленными применимыми техническими условиями, например EN ISO 20345, но неопределенность измерений U попадает за пределы верхнего или нижнего предельных значений, тогда результат считают несоответствием (см. рисунок B.3).
R - результат измерений; S - диапазон допустимых значений;
LSL - нижнее предельное значение; USL - верхнее предельное
значение; U - неопределенность измерений
Рисунок B.3 - Несоответствие результата
B.3. Расчет неопределенности измерений
Рассчитывают неопределенность измерений. Для этого используют два следующих метода:
- статистический метод, например в соответствии с ISO 5725-2;
- математический метод, например в соответствии с ENV 13005 (GUM).
Приложение ДА
(справочное)
СВЕДЕНИЯ О СООТВЕТСТВИИ МЕЖГОСУДАРСТВЕННЫХ СТАНДАРТОВ
ССЫЛОЧНЫМ ЕВРОПЕЙСКИМ СТАНДАРТАМ
Таблица ДА.1
Обозначение и наименование европейского стандарта
Степень соответствия
Обозначение и наименование межгосударственного стандарта
EN 960:2006 Макеты головы для использования при испытании защитных касок
-
EN 13087-1 Защитные каски. Методы испытаний. Часть 1. Условия и кондиционирование
-
EN 13087-2 Защитные каски. Методы испытаний. Часть 2. Амортизация ударов
-
EN 13087-3 Защитные каски. Методы испытаний. Часть 3. Устойчивость к проникновению
-
EN 13087-5:2012 Защитные каски - Методы испытаний - Часть 5: Прочность системы фиксации
-
EN 13087-7 Защитные каски. Методы испытаний. Часть 7. Огнестойкость
-
EN 13087-8 Защитные каски. Методы испытаний. Часть 8. Электрические свойства
-
EN 13087-10 Защитные каски. Методы испытаний. Часть 10. Устойчивость к тепловому излучению
-
EN ISO 472 Пластмассы. Словарь терминов
-
EN ISO 9185:2007 Защитная спецодежда. Оценка устойчивости материалов к брызгам расплавленного металла
-
<*> Соответствующий национальный стандарт отсутствует. До его утверждения рекомендуется использовать перевод на русский язык данного международного стандарта.
БИБЛИОГРАФИЯ
[1]
EN 397, Industrial safety helmets (Промышленные защитные каски)
[2]
EN 812, Industrial bump caps (Промышленные защитные каскетки)
[3]
ENV 13005, Guide to the expression of uncertainty in measurement (Руководство по интерпретации неточности измерений)
[4]
EN ISO 20345, Personal protective equipment - Safety footwear (Средства индивидуальной защиты. Защитная обувь)
[5]
ISO 5725-2, Accuracy (trueness and precision) of measurement methods and results - Part 2: Basic method for the determination of repeatability and reproducibility of a standard measurement method (Точность (достоверность и четкость) методов измерения и результатов. Часть 2. Основные методы определения повторяемости и воспроизводимости стандартного метода измерений)