Главная // Актуальные документы // ГОСТ (Государственный стандарт)СПРАВКА
Источник публикации
М.: Стандартинформ, 2015
Примечание к документу
Документ включен в
Перечень стандартов, в результате применения которых на добровольной основе обеспечивается соблюдение требований технического
регламента Таможенного союза "Безопасность автомобильных дорог" (ТР ТС 014/2011) (
Решение Коллегии Евразийской экономической комиссии от 18.09.2012 N 159).
Документ
введен в действие с 1 декабря 2015 года с правом досрочного применения.
Название документа
"ГОСТ 33152-2014. Межгосударственный стандарт. Дороги автомобильные общего пользования. Классификация тоннелей"
(введен в действие Приказом Росстандарта от 21.07.2015 N 921-ст)
"ГОСТ 33152-2014. Межгосударственный стандарт. Дороги автомобильные общего пользования. Классификация тоннелей"
(введен в действие Приказом Росстандарта от 21.07.2015 N 921-ст)
агентства по техническому
регулированию и метрологии
от 21 июля 2015 г. N 921-ст
МЕЖГОСУДАРСТВЕННЫЙ СТАНДАРТ
ДОРОГИ АВТОМОБИЛЬНЫЕ ОБЩЕГО ПОЛЬЗОВАНИЯ
КЛАССИФИКАЦИЯ ТОННЕЛЕЙ
Automobile roads of general use. Classification of tunnels
ГОСТ 33152-2014
Дата введения
1 декабря 2015 года
с правом досрочного применения
Цели, основные принципы и основной порядок проведения работ по межгосударственной стандартизации установлены
ГОСТ 1.0-92 "Межгосударственная система стандартизации. Основные положения" и
ГОСТ 1.2-2009 "Межгосударственная система стандартизации. Стандарты межгосударственные, правила и рекомендации по межгосударственной стандартизации. Порядок разработки, принятия, применения, обновления и отмены"
1 РАЗРАБОТАН Федеральным государственным унитарным предприятием "Российский дорожный научно-исследовательский институт" Министерства транспорта Российской Федерации (ФГУП "РОСДОРНИИ"), Межгосударственным техническим комитетом по стандартизации МТК 418 "Дорожное хозяйство"
2 ВНЕСЕН Федеральным агентством по техническому регулированию и метрологии (Росстандарт)
3 ПРИНЯТ Межгосударственным советом по стандартизации, метрологии и сертификации (протокол от 5 декабря 2014 г. N 46)
За принятие проголосовали:
Краткое наименование страны по МК (ИСО 3166) 004-97 | Код страны по МК (ИСО 3166) 004-97 | Сокращенное наименование национального органа по стандартизации |
Азербайджан | AZ | Азстандарт |
Армения | AM | Минэкономики Республики Армения |
Беларусь | BY | Госстандарт Республики Беларусь |
Казахстан | KZ | Госстандарт Республики Казахстан |
Киргизия | KG | Кыргызстандарт |
Россия | RU | Росстандарт |
Узбекистан | UZ | Узстандарт |
Таджикистан | TJ | Таджикстандарт |
4
Приказом Федерального агентства по техническому регулированию и метрологии от 21 июля 2015 г. N 921-ст межгосударственный стандарт ГОСТ 33152-2014 введен в действие в качестве национального стандарта Российской Федерации с 1 декабря 2015 г.
5 ВВЕДЕН ВПЕРВЫЕ
Информация об изменениях к настоящему стандарту публикуется в ежегодном информационном указателе "Национальные стандарты", а текст изменений и поправок - в ежемесячном информационном указателе "Национальные стандарты". В случае пересмотра (замены) или отмены настоящего стандарта соответствующее уведомление будет опубликовано в ежемесячном информационном указателе "Национальные стандарты". Соответствующая информация, уведомление и тексты размещаются также в информационной системе общего пользования - на официальном сайте Федерального агентства по техническому регулированию и метрологии в сети Интернет
Настоящий стандарт устанавливает признаки и порядок классификации тоннелей на автомобильных дорогах общего пользования (далее - тоннели), типовые конструктивно-технологические решения, требования к строительным материалам и изделиям, устройствам и системам обеспечения безопасной эксплуатации тоннелей.
Настоящий стандарт не распространяется на пешеходные тоннели, путепроводы тоннельного типа, а также сооружения, при проектировании и строительстве которых используются принципиально новые конструктивные решения и технологии, которые не прошли проверку в практике строительства и эксплуатации.
Классификация предназначается для обозначения тоннелей при их проектировании, строительстве, реконструкции, капитальном ремонте (далее - строительство) и эксплуатации.
В настоящем стандарте использованы ссылки на следующие межгосударственные стандарты:
ГОСТ 1412-85 Чугун с пластинчатым графитом для отливок. Марки
ГОСТ 5781-82 Сталь горячекатаная для армирования железобетонных конструкций. Технические условия
ГОСТ 24451-80 Тоннели автодорожные. Габариты приближения строений и оборудования
ГОСТ 30547-97 Материалы рулонные кровельные и гидроизоляционные. Общие технические условия
ГОСТ 32759-2014 Дороги автомобильные общего пользования. Дорожные тумбы. Технические требования
ГОСТ 32830-2014 Дороги автомобильные общего пользования. Материалы для дорожной разметки. Технические требования
ГОСТ 32843-2014 Дороги автомобильные общего пользования. Столбики сигнальные дорожные. Технические требования
ГОСТ 32848-2014 Дороги автомобильные общего пользования. Изделия для дорожной разметки. Технические требования
ГОСТ 32866-2014 Дороги автомобильные общего пользования. Световозвращатели дорожные. Технические требования
ГОСТ 32945-2014 Дороги автомобильные общего пользования. Знаки дорожные. Технические требования
ГОСТ 32953-2014 Дороги автомобильные общего пользования. Разметка дорожная. Технические требования
ГОСТ 32959-2014 Дороги автомобильные общего пользования. Габариты приближения
ГОСТ 33128-2014 Дороги автомобильные общего пользования. Ограждения дорожные. Технические требования
ГОСТ 33153-2014 Дороги автомобильные общего пользования. Проектирование тоннелей. Общие требования
ГОСТ 33385-2015 Дороги автомобильные общего пользования. Дорожные светофоры. Технические требования
Примечание - При пользовании настоящим стандартом целесообразно проверить действие ссылочных стандартов в информационной системе общего пользования - на официальном сайте Федерального агентства по техническому регулированию и метрологии в сети Интернет или по ежегодному информационному указателю "Национальные стандарты", который опубликован по состоянию на 1 января текущего года, и по выпускам ежемесячного информационного указателя "Национальные стандарты" за текущий год. Если ссылочный стандарт заменен (изменен), то при пользовании настоящим стандартом следует руководствоваться заменяющим (измененным) стандартом. Если ссылочный стандарт отменен без замены, то положение, в котором дана ссылка на него, применяется в части, не затрагивающей эту ссылку.
В настоящем стандарте применены следующие термины с соответствующими определениями:
3.1 автодорожный тоннель: Подземное (или подводное) инженерное (искусственное) сооружение для пропуска транспортных средств в местах пересечения автомобильной дороги с естественным или искусственным препятствием.
3.2 глубина заложения тоннеля: Расстояние, измеряемое от уровня земной или водной поверхности до верха тоннеля.
3.3 горный тоннель: Подземное инженерное (искусственное) сооружение для пропуска транспортных средств в местах пересечения автомобильной дороги с высотным препятствием.
3.4 длина тоннеля: Расстояние между наружными гранями въездных и выездных порталов или оголовков, отсчитываемое вдоль оси тоннеля.
3.5 длинный тоннель: Тоннель, который имеет длину более 300 м.
3.6 закрытый способ строительства: Строительство тоннеля без вскрытия поверхности земли.
3.7 зона безопасности: Отделенное противопожарными преградами помещение (отсек) в объеме тоннеля или притоннельное сооружение, приспособленное для временного пребывания людей во время пожара в транспортной зоне или другой части тоннеля.
3.8 короткий тоннель: Тоннель, который имеет длину до 300 м.
3.9 обделка: Постоянная несущая конструкция, воспринимающая внешние нагрузки, ограждающая тоннель и образующая его внутреннюю поверхность.
3.10 оголовок тоннеля: Архитектурно оформленная конструкция входной части тоннеля, состоящая из усиленного звена тоннельной обделки и обеспечивающая устойчивость лобового откоса.
3.11 открытый способ строительства: Строительство тоннеля со вскрытием поверхности земли.
3.12 подводный тоннель: Подводное инженерное (искусственное) сооружение для пропуска транспортных средств в местах пересечения автомобильной дороги с водным препятствием.
3.13 портал тоннеля: Архитектурно оформленная конструкция входной части тоннеля, состоящая из усиленного звена тоннельной обделки и подпорных стен и обеспечивающая устойчивость лобового и боковых откосов и отвод воды.
3.14 притоннельное сооружение: Подземное или наземное сооружение, в котором расположены технологические или эксплуатационные устройства, предназначенные для функционирования систем жизнеобеспечения тоннеля и примыкающие к основному тоннелю, или расположенное на припортальных площадках и технологически связанное с тоннелем.
3.15 проезжая часть тоннеля: Конструктивный элемент тоннеля, предназначенный для движения транспортных средств.
3.16 равнинный тоннель: Подземное инженерное (искусственное) сооружение для пропуска транспортных средств в местах пересечения автомобильной дороги с искусственным препятствием.
3.17 рампа: Заглубленный ниже уровня поверхности земли съезд или выезд автотранспортных средств, которые расположены на припортальных участках тоннеля неглубокого заложения.
3.18 сервисный тоннель: Тоннель, располагаемый, как правило, параллельно основному тоннелю и предназначенный для его обслуживания (прокладки коммуникаций, подачи или удаления воздуха, устройства эвакуационных выходов и т.п.).
3.19 специальный способ строительства: Способ строительства тоннеля, при котором до начала строительных работ выполняется комплекс мероприятий, обеспечивающих предварительную подготовку пород (грунтов) или обделки.
3.20 тоннель глубокого заложения: Тоннель с глубиной заложения более 15 м.
3.21 тоннель мелкого заложения: Тоннель с глубиной заложения до 15 м включительно.
3.22 транспортная зона: Основная часть объема тоннеля, заключенная между наружными гранями въездных и выездных порталов или оголовков, с расположенными в ней проезжей частью, другими элементами строительных конструкций, а также с эксплуатационным оборудованием, необходимым для использования тоннеля в качестве транспортного сооружения.
4.1.1 Тоннели различают по общим показателям, показателям конструктивного исполнения и техническим показателям.
В группу общих показателей входят: расположение по отношению к рельефу земной поверхности; сейсмичность района строительства; глубина заложения; способ строительства; схема организации дорожного движения.
В группу показателей конструктивного исполнения входят: количество ярусов и пролетов; форма поперечного сечения; вид обделки и въезда-выезда.
В группу технических показателей входят: размеры поперечного сечения; длина; продольный профиль; профиль в плане; общее число полос; ширина полосы движения.
4.1.2 В зависимости от расположения по отношению к рельефу тоннели подразделяют на горные, подводные и равнинные.
4.1.3 Горные тоннели в зависимости от высоты пересечения подразделяют на вершинные, промежуточные и базисные.
4.1.4 Подводные тоннели в зависимости от расположения относительно дна водотока могут быть целиком заглубленные в грунтовый массив, тоннели на дамбах или отдельных опорах и "плавающие" тоннели с анкерным креплением тросовых оттяжек в русловое ложе.
4.1.5 В зависимости от сейсмичности района строительства тоннели разделяют на тоннели вне зоны или в зоне сейсмических или иных опасных воздействий: сейсмичностью 7; 8; 9 и 10 баллов.
4.1.6 В зависимости от глубины заложения тоннели подразделяют на мелкого заложения и глубокого заложения.
4.1.7 В зависимости от способа строительства: закрытым способом, открытым способом и специальным способом.
4.1.7.1 Открытые способы применяют при строительстве тоннелей мелкого заложения. Предусматривают возведение подземных конструкций в предварительно вскрытых с поверхности земли котлованах или с сооружением стен в траншеях.
4.1.7.2 Закрытые способы, без вскрытия поверхности земли, применяют для строительства тоннелей как мелкого, так и глубокого заложения. Разновидности: горный, щитовой и способ продавливания. Тоннели глубокого заложения строят преимущественно горным и щитовым способами, тоннели мелкого заложения - щитовым и способом продавливания.
4.1.7.3 Специальные способы работ, выполняемые в сложных инженерно-геологических условиях, предусматривают использование искусственного водопонижения, замораживания или химического закрепления неустойчивых пород. К специальным способам также относятся способы опускных секций и тоннелей-кессонов.
4.1.8 В зависимости от схемы организации дорожного движения тоннели подразделяют на тоннели с односторонним и двухсторонним движением.
4.1.9 В зависимости от количества ярусов тоннели подразделяют на одно-, двух- и многоярусные.
4.1.10 В зависимости от количества пролетов тоннели подразделяют на одно-, двух- и многопролетные.
4.1.11 В зависимости от формы поперечного сечения различают тоннели сводчатого, кругового, эллиптического (или овального) и прямоугольного очертания.
4.1.12 В зависимости от вида обделки различают тоннели с монолитной бетонной, монолитной железобетонной, сборной железобетонной, сталебетонной композитной, тюбинговой, блочной, набрызг-бетонной, анкерной, решетчатой арочной, комбинированной обделками и без обделки.
4.1.13 В зависимости от вида укрепления и оформления входной части различают тоннели с порталом, оголовком и рампой.
4.1.14 В зависимости от длины тоннели разделяют на длинные и короткие.
4.1.15 В зависимости от размеров поперечного сечения тоннели разделяют на тоннели малого сечения (до 20 м2 включительно), среднего (от 20 до 50 м2 включительно), большого (свыше 50 м2).
4.1.16 В зависимости от очертания продольного профиля тоннели подразделяют на тоннели с односкатным профилем, двускатным выпуклым (горные тоннели) и двускатным вогнутым (подводные и равнинные тоннели).
4.1.17 В зависимости от очертания профиля в плане тоннели различают на тоннель на прямой и криволинейной в плане трассе.
Горные тоннели в зависимости от способа развития трассы разделяют на спиральные тоннели - при угле поворота кривой 360°; петлевые тоннели - с углом поворота кривой более 180°; мысовые тоннели - на кривых до 180°; перевальные тоннели - на прямых участках.
4.1.18 В зависимости от числа полос движения различают тоннели для двух-, трех-, четырех-, шести- и восьмиполосного движения.
4.1.19 В зависимости от ширины полосы движения различают тоннели с шириной полосы 3; 3,5; 3,75 м.
Основные показатели тоннелей и их разновидности определяются в соответствии с
приложением А.
4.2 Система классификации тоннелей
4.2.1 Система классификации устанавливает подразделение тоннелей по типам, классам, видам и группам в соответствии с местом расположения, конструктивным исполнением и технической характеристикой.
4.2.2 Классификация предусматривает подразделение тоннелей до уровня, позволяющего идентифицировать строительные, конструктивные и технические характеристики.
4.2.3 Классификация тоннелей на автомобильных дорогах общего пользования включает в себя категории, выделяемые по следующим признакам:
- тип - расположение по отношению к рельефу земной поверхности;
- класс - по сейсмичности района строительства;
- вид - по глубине заложения;
- группу - по конструктивному исполнению.
4.2.4 Типоразмеры тоннелей определяют в соответствии с таблицей 4.1 по параметрам технической характеристики: длине и габариту приближения по ширине, приведенным в
приложении Б.
Обозначение тоннелей осуществляется в соответствии с
приложением В.
Таблица 4.1
Типоразмеры тоннелей
Типоразмер | Количество полос | Ширина полосы, м |
| 2 | 3,00 |
Г-8,50 (8,00) | 2 | 3,50 |
Г-9,00 (8,50) | 2 | 3,75 |
Г-12,00 (11,50) | 3 | 3,50 |
Г-12,75 (12,25) | 3 | 3,75 |
Г-15,50 (15,00) | 4 | 3,50 |
Г-17,00 (16,50) | 4 | 3,50 |
Г-16,50 (16,00) | 4 | 3,75 |
Г-18,00 (17,50) | 4 | 3,75 |
Г-24,00 (23,50) | 6 | 3,50 |
Г-25,50 (25,00) | 6 | 3,75 |
Г-33,00 (32,50) | 8 | 3,75 |
<*> В скобках указаны значения для длинных тоннелей. |
5. Типовые конструктивно-технологические решения
5.1.1 Конструкция тоннеля должна отвечать требованиям прочности, эксплуатационной надежности, долговечности, огнестойкости и устойчивости к различным видам агрессивного воздействия внешней среды.
5.1.2 Конструкцию обделки следует определять исходя из рельефа и сейсмичности района строительства, глубины заложения, инженерно-геологических условий, ожидаемых нагрузок и технологии производства строительно-монтажных работ в соответствии с
ГОСТ 33153.
5.1.3 Тоннели могут приниматься кругового, сводчатого, эллиптического (овального) или прямоугольного очертания.
5.2 Конструкции обделок тоннелей, сооружаемых открытым способом
5.2.1 Обделки тоннелей при открытом способе работ следует предусматривать в виде одно-, двух-, трех- или многопролетных замкнутых рам прямоугольного очертания либо в виде сводчатых конструкций из монолитного
(рисунок 5.1), сборного
(рисунок 5.2) или сборно-монолитного железобетона (
рисунки 5.3,
5.4).
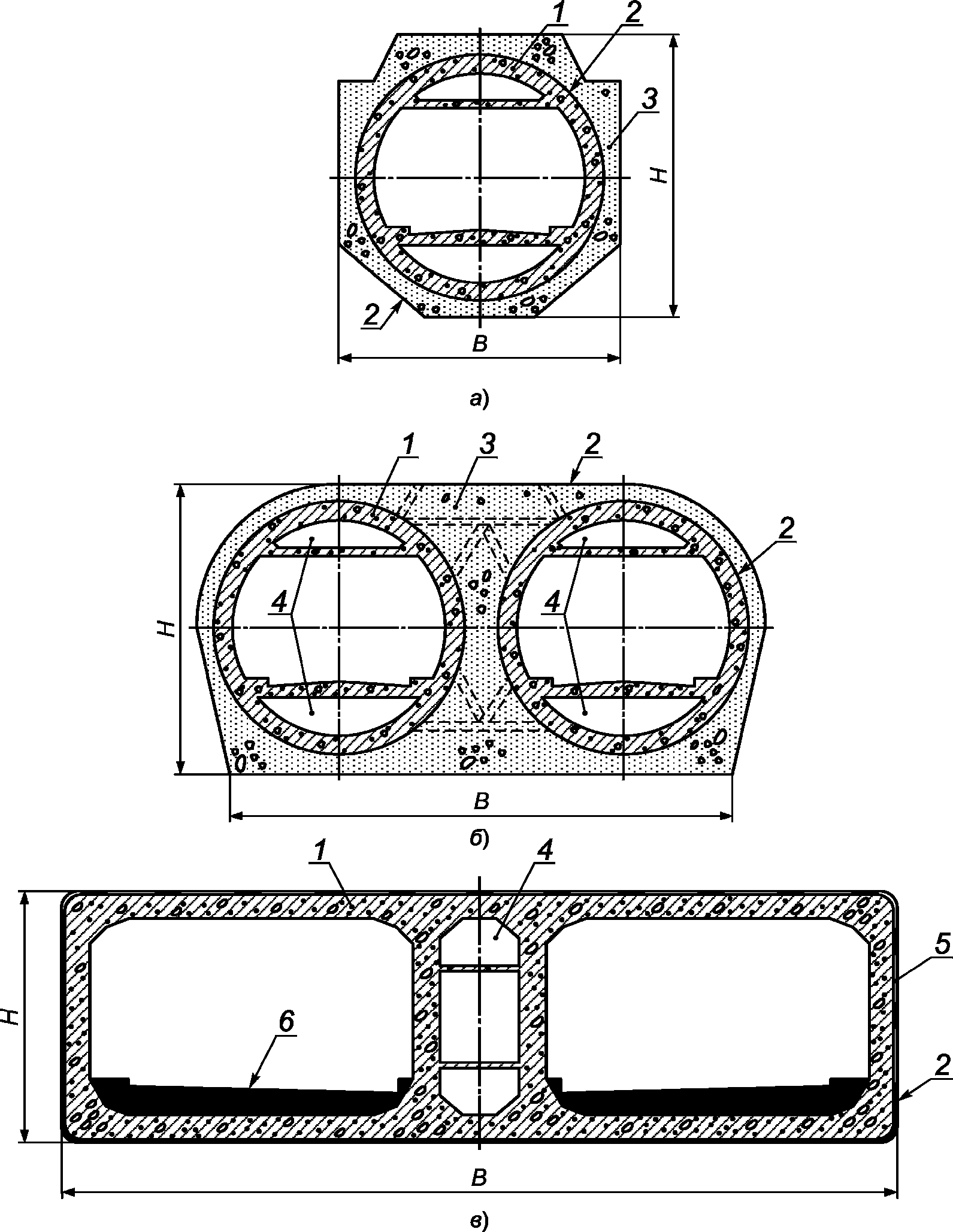
а) прямоугольное сечение
б) односводчатое сечение
в) двухпролетная замкнутая рама
H - высота по оси тоннеля; h1 - высота свода; h2 - высота
стен; Hс - высота сваи; B - ширина тоннеля; Bс - расстояние
между сваями; 1 - проезжая часть; 2 - обделка;
3 - гидроизоляция; 4 - буровые сваи; 5 - песчаная отсыпка
Рисунок 5.1, лист 1 - Конструкции автотранспортных тоннелей
из монолитного железобетона (при котлованном способе работ)
г) со свайным фундаментом
Рисунок 5.1, лист 2 - Конструкции автотранспортных тоннелей
из монолитного железобетона (при котлованном способе работ)
H - высота по оси тоннеля; B - ширина тоннеля; 1 - блок
перекрытия; 2 - стеновой блок; 3 - фундаментный блок;
4 - лотковый блок; 5 - подколонник; 6 - колонна;
7 - прогон; 8 - омоноличивающая обвязка стыков блоков;
9 - проезжая часть; 10 - гидроизоляция
Рисунок 5.2 - Типовая конструкция автотранспортного
тоннеля из сборных железобетонных элементов
(при котлованном способе работ)
H - высота по оси тоннеля; Hск - высота крайней стены;
B - ширина тоннеля; 1 - стеновая панель; 2 - монолитная
обвязка; 3 - гидроизоляция; 4 - блок перекрытия; 5 - лоток;
6 - проезжая часть; 7 - цементно-глинистый раствор
Рисунок 5.3 - Конструкция тоннеля с траншейными стенами
из сборного и сборно-монолитного железобетона
(при траншейном способе работ)
H - высота по оси тоннеля; Hсп - высота промежуточной
стены; Hск - высота крайней стены; B - ширина тоннеля;
Bп - ширина блока перекрытия; Bс - расстояние между
стенами;

- величина зазора; 1 - монолитная стена;
2 - гидроизоляция; 3 - блок перекрытия;
4 - лоток; 5 - проезжая часть
Рисунок 5.4 - Конструкция тоннеля с траншейными
стенами из монолитного железобетона
(при траншейном способе работ)
5.3 Конструкции обделок тоннелей, сооружаемых закрытым способом
5.3.1 При сооружении тоннелей закрытым способом преимущественно для двух и трех полос движения применяют обделки сводчатого или кругового очертания.
5.3.2 При сооружении тоннелей горным способом применяют обделки сводчатого очертания, устраиваемые из набрызг-бетона, монолитного железобетона, из сборных элементов или комбинированные: монолитный (
рисунки 5.5 -
5.8) и сборный железобетон
(рисунок 5.9).
а) в виде пологого свода, опирающегося на породу;
б) со сводом подъемистой формы, вертикальными
и прямолинейными стенами и плоским лотком; в) в виде
незамкнутой конструкции без обратного свода; г) со стенами
криволинейного внутреннего очертания и обратным сводом;
H - высота по оси тоннеля; h1 - высота свода; h2 - высота
стен; h3 - высота обратного свода; B - ширина тоннеля;
R1 - радиус свода внутренний; R2 - радиус свода внешний;
R3 - радиус стен криволинейного внутреннего очертания;
R4 - радиус обратного свода;
1 - монолитный бетон; 2 - проезжая часть
Рисунок 5.5 - Конструкции монолитных обделок
сводчатого очертания, сооружаемых горным способом
а) двухслойная обделка замкнутого очертания, усиленная
анкерами или стальными арками; б) ребристая обделка тоннеля
из набрызг-бетона с решетчатыми арками; H - высота по оси
тоннеля; h1 - высота свода; h2 - высота стен; h3 - высота
обратного свода; B - ширина тоннеля; R1 - радиус свода
внутренний; 1 - монолитный бетон; 2 - проезжая часть;
3 - набрызг-бетон; 4 - анкеры; 5 - решетчатые арки;
6 - внутренние ребра
Рисунок 5.6 - Конструкции обделок сводчатого очертания,
сооружаемых горным способом
5.3.3 При увеличении числа полос до четырех или более целесообразно устройство двухсводчатой конструкции (рисунок 5.7) с общей средней опорой - стеной или системой колонн и прогонов, либо двухъярусной обделки в виде подъемистого свода
(рисунок 5.8), высота которого превышает пролет.
H - высота по оси тоннеля; h1 - высота свода; h2 - высота
стен; h3 - высота обратного свода; B - ширина тоннеля;
R1 - радиус свода внутренний; R2 - радиус обратного свода;
1 - свод; 2 - проезжая часть; 3 - опорный блок; 4 - колонна
Рисунок 5.7 - Обделка автодорожного тоннеля
из монолитного бетона двухсводчатой конструкции
H - высота по оси тоннеля; h1 - высота свода; h2 - высота
обратного свода; B - ширина тоннеля; R1 - радиус свода
внутренний; R2 - радиус стен криволинейного внутреннего
очертания верхнего яруса; R3 - радиус стен криволинейного
внутреннего очертания нижнего яруса; R4 - радиус
обратного свода; 1 - свод; 2 - проезжая
часть; 3 - перекрытие из железобетонных плит
Рисунок 5.8 - Обделка автодорожного тоннеля
из монолитного бетона двухъярусной конструкции
а) в виде полого свода, опирающегося на породу; б) в виде
подъемистого свода с бетонными стенами с уширенной пятой;
в) в виде подъемистого свода с плоским лотком; г) в виде
арки, опирающейся на бетонные или железобетонные
фундаменты; H - высота по оси тоннеля; h1 - высота свода;
h2 - высота стен; h3 - высота обратного свода; B - ширина
тоннеля; R1 - радиус свода внутренний; R2 - радиус
обратного свода;

- суммарный угол блоков;
1 - набрызг-бетон; 2 - ключевой блок; 3 - смежный блок;
4 - нормальный блок; 5 - опорный блок; 6 - проезжая
часть; 7 - стена из монолитного бетона
Рисунок 5.9 - Конструкции сборных обделок сводчатого
очертания, сооружаемых горным способом
5.3.4 При сооружении тоннелей щитовым способом тоннельная обделка имеет круговое поперечное очертание. Обделки кругового очертания выполняют из металла, сборного железобетона и монолитно-прессованного бетона.
5.3.5 Сборные обделки состоят из отдельных колец и собираются из одинаковых элементов сплошного или ребристого сечения: тюбингов (
рисунок 5.10, а), б)) или блоков (
рисунок 5.10, в)).
5.3.6 В обоснованных случаях применяют шарнирно-изменяемые обделки без связей растяжения (
рисунок 5.10, г)) и железобетонные предварительно-напряженные сборные обделки; обделки, обжатые в породу (
рисунок 5.10, д)).
а) из чугунных тюбингов; б) из железобетонных тюбингов;
в) из железобетонных блоков; г) предварительно-напряженная
шарнирно-изменяемая из чугунных тюбингов;
д) предварительно-напряженная обжатая в породу
из железобетонных тюбингов; Dвн - внутренний диаметр
обделки;
Dн - наружный диаметр обделки;

- центральный
угол нормальных элементов;

- угол клина замыкающего
элемента;

- суммарный угол двух смежных и ключевого
блоков; H - тюбинг нормального типа; 1 - тюбинг (блок)
ключевого (замкового) типа клиновидной формы; 2 - тюбинг
(блок) смежного типа скошенной формы; 3 - тюбинг (блок)
нормального типа; 4 - лотковый блок; 5 - вкладыш
Рисунок 5.10 - Конструкции сборных обделок,
сооружаемых при щитовом способе
5.4 Конструкции обделок тоннелей, сооружаемых специальными способами
5.4.1 При сооружении подводных тоннелей кроме горного способа или щитовой проходки применяют метод готовых (заводных) секций, опускных тоннелей-кессонов и открытый метод работ. Применяют, как правило, обделки в виде замкнутых рам с плоским перекрытием из монолитного железобетона, стальные или из сталежелезобетона.
5.4.2 Конструкции тоннельных секций, применяемых при сооружении тоннелей методами готовых (заводных) секций, опускных тоннелей-кессонов и т.п., устраивают кругового поперечного сечения из стальной оболочки с внутренней железобетонной обделкой и наружной бетонной обоймой (
рисунок 5.11, а), б)) и прямоугольного поперечного сечения из обычного или предварительно напряженного железобетона с наружной гидроизоляцией (
рисунок 5.11, в)).
а) кругового сечения; б) бинокулярного сечения;
в) прямоугольного сечения; H - высота по оси тоннеля;
B - ширина тоннеля; 1 - железобетонная обделка;
2 - стальной лист; 3 - бетонная обойма; 4 - вентиляционный
канал; 5 - оклеечная гидроизоляция; 6 - проезжая часть
Рисунок 5.11 - Конструкции тоннельных секций
при специальном способе строительства
5.4.3 При применении кессонных работ, закреплении грунтов специальными растворами методом глубоких скважин используют эллиптическую (овальную, вытянутую вдоль горизонтальной оси) форму сечения тоннеля.
6. Требования к строительным материалам и изделиям,
устройствам и системам обеспечения безопасной эксплуатации
6.1.1 Материалы для обделок и их гидроизоляции, для внутренних строительных конструкций, а также отделочные материалы должны отвечать требованиям прочности, долговечности, пожарной безопасности, устойчивости к химической агрессивности грунтовых вод, другим видам агрессивного воздействия внешней среды, в том числе воздействию микроорганизмов, не должны выделять токсичных соединений в условиях строительства и эксплуатации сооружений.
6.1.2 Бетонные и железобетонные несущие конструкции следует предусматривать из тяжелых бетонов по
ГОСТ 26633.
6.1.3 Классы бетона по прочности на сжатие для обделок, их элементов и внутренних бетонных и железобетонных конструкций следует принимать на основании необходимой по расчетам несущей способности, но не ниже указанных в таблице 6.1.
Таблица 6.1
Классы бетона по прочности на сжатие
Вид конструкции | Класс бетона |
Высокоточные железобетонные блоки обделок из водонепроницаемого бетона для закрытого способа работ, предварительно напряженные железобетонные элементы конструкций | B40 |
Железобетонные элементы обделок для закрытого способа работ | B30 |
Железобетонные элементы обделок для открытого способа работ (включая опускные цельносекционные), закрытого способа работ, несущих конструкций "стен в грунте" | B25 |
Железобетонные и бетонные монолитные несущие "стены в грунте", бетонные монолитно-прессованные обделки | B20 |
Порталы, оголовки, набрызг-бетонные обделки, "стены в грунте" для крепления котлованов, внутренние монолитные железобетонные конструкции, бетонные подготовки под гидроизоляцию | B15 |
Бетон внутренних конструкций | B5 |
Бетон для водоотводящих и кабельных лотков | B7,5 |
6.1.4 Проектные марки бетона по морозостойкости следует назначать по
ГОСТ 26633. Для обделок и внутренних конструкций, а также конструкций рамп в зонах знакопеременных температур - не ниже F300, а для конструкций транспортных зон, находящихся в контакте с антиобледенителями, - F300 в солях. При отсутствии знакопеременных температур проектные марки бетона обделок по морозостойкости не должны быть ниже F100.
Для конструкций, контактирующих с сильноминерализованными водами с содержанием солей более 1% массы, засоленными грунтами, растворами солей-антиобледенителей и подвергающихся циклическому замораживанию и оттаиванию, марку бетона по морозостойкости следует назначать и контролировать как для бетона дорожных покрытий.
6.1.5 Проектную марку бетона обделок по водонепроницаемости принимать по таблице 6.2.
Таблица 6.2
Марка бетона обделок и внутренних
конструкций по водонепроницаемости
Степень агрессивного воздействия среды | Марка бетона по водонепроницаемости, не менее |
в зоне обводнения без гидроизоляции | в зоне обводнения с гидроизоляцией в необводненной зоне |
Неагрессивная | W8 | W6 |
Слабоагрессивная | W8 | W6 |
Среднеагрессивная | W10 | W8 |
Сильноагрессивная | W12 | W8 |
6.1.6 Железобетонные обделки, возводимые в обводненных грунтах и не имеющие сплошной наружной или внутренней гидроизоляции, должны проектироваться из водонепроницаемого бетона (W >= 12) с разработкой специального регламента на производство бетонных работ. Во всех остальных случаях бетоны для обделок должны иметь марку по водонепроницаемости не ниже W8.
6.1.7 Для армирования железобетонных конструкций используется горячекатаная сталь по
ГОСТ 5781. Допускается применение других арматурных сталей, имеющих соответствующие технические условия и сертификаты.
6.1.8 Прочностные характеристики чугуна тюбинговых обделок из серого литейного чугуна должны соответствовать
ГОСТ 1412, из высокопрочного чугуна -
ГОСТ 7293.
6.1.9 Материалы для гидроизоляции обделок назначаются в соответствии с принятой системой водозащиты тоннельных сооружений, величины гидростатического давления грунтовых вод на обделку, их агрессивности, других особенностей их воздействия на обделку, возможного диапазона температурных изменений и других особенностей работы тоннельной обделки в процессе эксплуатации сооружения.
Гидроизоляцию из битумно-полимерных и полимерных материалов (наплавляемую, распыляемую, оклеечную, мембранного типа и др.) при открытом способе производства работ следует предусматривать из материалов, соответствующих требованиям
ГОСТ 30547.
6.1.10 Материалы и изделия, применяемые для организации дорожного движения, должны соответствовать требованиям
ГОСТ 32953,
ГОСТ 32830,
ГОСТ 32848,
ГОСТ 32945,
ГОСТ 32843,
ГОСТ 32759,
ГОСТ 32866,
ГОСТ 33128,
ГОСТ 33385.
6.2 Устройства и системы обеспечения безопасной эксплуатации
6.2.1 Тоннели должны быть оборудованы устройствами и системами противопожарной защиты, электроснабжения и электроосвещения, вентиляции, водопровода и водоотвода, организации и безопасности дорожного движения, управления комплексом инженерных систем, связи (телефонная и радиосвязь), громкоговорящего оповещения, часофикации и безопасности.
6.2.2 Система противопожарной защиты должна включать как профилактические меры, предотвращающие возможность возникновения пожара в тоннеле, так и меры по скорейшей локализации и тушению возникшего пожара, эффективному дымоудалению и безопасной эвакуации людей из тоннеля, а при необходимости и спасения людей.
6.2.3 Тоннели протяженностью 300 м и более должны оборудоваться системами противопожарной защиты, а тоннели протяженностью 500 м и более должны иметь дополнительные выходы в зоны безопасности, а также обеспеченные пути доступа аварийно-спасательных служб.
6.2.4 При проектировании, строительстве, реконструкции и капитальном ремонте тоннелей необходимо проводить обоснование и обеспечение требуемых пределов огнестойкости и классов пожарной опасности отдельных строительных конструкций, отделки элементов конструкций, подземных притоннельных сооружений и зон безопасности.
6.2.5 Для транспортных зон тоннелей следует предусматривать дублированные средства обнаружения и извещения о пожаре: дистанционные, визуальные и автоматические.
6.2.6 Для обеспечения безопасной эвакуации людей тоннель, подземные притоннельные сооружения, служебно-технические и вспомогательные помещения, эвакуационные межтоннельные проходы, сервисные тоннели, эвакуационные галереи, галереи доступа аварийно-спасательных служб, кабельные коллекторы должны быть обеспечены эвакуационными путями и выходами. Галереи доступа аварийно-спасательных служб, межтоннельные переходы, сервисные тоннели и эвакуационные галереи следует считать зонами безопасности тоннеля.
6.2.7 Размещаемые в тоннелях приборы и оборудование должны иметь необходимую степень защиты от воздействия агрессивных факторов воздушной среды тоннелей, повышенной влажности, перепада температур, а также от повреждений при механизированной мойке стеновых конструкций или попытках их умышленной порчи.
6.2.8 Срок службы основных эксплуатационных устройств, устанавливаемых в тоннеле и на подходах к нему, должен быть не менее 10 лет.
6.2.9 Питание электроустановок тоннелей предусматривают от региональных или собственных трансформаторных подстанций.
6.2.10 Транспортная зона, служебно-технические и вспомогательные помещения тоннеля, а также притоннельные сооружения должны иметь искусственное стационарное рабочее и аварийное освещение, включающее освещение безопасности и эвакуационное освещение.
6.2.11 Необходимость устройства механической вентиляции тоннеля определяется расчетом. В длинных тоннелях устройство механической вентиляции является обязательным.
6.2.12 Вентиляция должна обеспечивать необходимую чистоту и температуру, давление, влажность и скорость движения воздуха в тоннеле, нормируемое содержание вредных веществ в транспортной зоне и в удаляемом из тоннеля воздухе в зонах расположения воздуховыпускных устройств (киосков), способствовать быстрой локализации продуктов горения, дымоудалению и эвакуации людей в случае возникновения пожара.
6.2.13 Водоснабжение должно обеспечивать поливочно-моечные и противопожарные нужды тоннелей и технологических помещений, а также бытовые нужды диспетчерского пункта и службы эксплуатации.
6.2.14 В тоннелях должна быть предусмотрена система самотечного сбора и отвода в водоприемные устройства воды, поступающей с рамповых участков, при промывке тоннелей, при тушении пожара, а также из грунта в случае нарушения водонепроницаемости обделки. Подлежат удалению с промывочной водой заносимая транспортными средствами уличная грязь, продукты износа шин и покрытия дорожной одежды, а также масла, бензин и другие нефтепродукты и вещества, остающиеся в тоннеле в случаях аварий и других непредвиденных ситуаций.
6.2.15 Управление движением транспортных средств, контроль работы технических устройств и другие виды оперативного руководства работой осуществляются из диспетчерского помещения. Системы, обеспечивающие организацию и безопасность дорожного движения, должны соответствовать требованиям
ГОСТ 33153.
6.2.16 Для информации обслуживающего персонала о текущем времени служебно-технологические помещения должны быть оборудованы первичными и вторичными электрочасами.
6.2.17 Тоннели должны быть оборудованы системами безопасности, в состав которых входят:
- система автоматической охранной сигнализации;
- система контроля и управления доступом;
- система охранного видеонаблюдения.
(обязательное)
ПОКАЗАТЕЛИ И РАЗНОВИДНОСТИ ТОННЕЛЕЙ
Показатели и их разновидности, характеризующие тоннели, представлены в таблице А.1.
Таблица А.1
Показатели тоннелей
Показатель | Разновидность |
Общие показатели |
По отношению к рельефу земной поверхности | горный |
подводный |
равнинный |
По сейсмичности района строительства | вне зоны |
в зоне сейсмических или иных опасных воздействий |
По глубине заложения | мелкого заложения |
глубокого заложения |
По способу строительства | закрытый: горный; щитовой; продавливание |
открытый: котлованный; траншейный; щитовой |
специальный: опускных секций, кессонов, искусственного закрепления пород, водопонижения и т.д. |
По направлению движения | одностороннее |
двухстороннее |
Показатели конструктивного исполнения |
По количеству ярусов | одноярусный |
двухъярусный |
многоярусный |
По количеству пролетов | однопролетный |
двухпролетный |
многопролетный |
По форме поперечного сечения (очертанию) | сводчатое (с прямыми, с прямыми и обратными сводами) |
круговое |
эллиптическое |
прямоугольное |
По виду обделки | монолитная железобетонная или бетонная |
сборная железобетонная |
сталебетонная композитная |
набрызг-бетонная |
тюбинговая |
блочная |
решетчатая арка |
анкерная |
без обделки |
По виду укрепления и оформления входной части | портал |
оголовок |
рампа (наклонная, спиральная, комбинированная) |
Технические показатели |
По длине | короткие - до 300 м включительно |
длинные - более 300 м |
По размерам поперечного сечения | малые тоннели - до 20 м2 включительно |
средние - от 20 до 50 м2 включительно |
большие - свыше 50 м2 |
По продольному профилю | односкатный |
двускатный |
По профилю в плане | прямолинейный |
криволинейный: - до 180° - на кривых; - от 180° до 360° - петлевой; - 360° и более - спиральный |
По общему числу полос | 2-полосные |
3-полосные |
4-полосные |
6-полосные |
8-полосные и более |
По ширине полосы движения | 3 м |
3,5 м |
3,75 м |
(рекомендуемое)
ГАБАРИТЫ ПРИБЛИЖЕНИЯ ТОННЕЛЯ ПО ШИРИНЕ
Габариты по ширине (Г), приведенные в таблице Б.1, определены в соответствии с
ГОСТ 32959.
Таблица Б.1
Габарит по ширине (Г) между боковыми
ограждающими устройствами
Категория автомобильной дороги | Общее число полос движения n, ед. | Ширина полосы движения b, м | Ширина полосы безопасности ПБ, м, при длине тоннеля | Ширина разделительной полосы C, м, не менее | Габарит по ширине (Г) между боковыми ограждающими устройствами, м, при длине тоннеля |
до 300 м | более 300 м | до 300 м | более 300 м |
IА | 8 | 3,75 | 0,75 | 0,50 | 1,50 | | |
6 | 3,75 | 0,75 | 0,50 | 1,50 | 2 x (12,75)/25,50 | 2 x (12,25)/25,00 |
4 | 3,75 | 0,75 | 0,50 | 1,50 | 2 x (9,00)/18,00 | 2 x (8,50)/17,50 |
IБ | 6 | 3,75 | 0,75 | 0,50 | 1,50 | 2 x (12,75)/25,50 | 2 x (12,25)/25,00 |
| 0,75 | 0,50 | 1,50 | 2 x (12,00)/24,00 | 2 x (11,50)/23,50 |
4 | 3,75 | 0,75 | 0,50 | 1,50 | 2 x (9,00)/18,00 | 2 x (8,50)/17,50 |
| 0,75 | 0,50 | 1,50 | 2 x (8,50)/17,00 | 2 x (8,00)/16,50 |
IВ | 6 | 3,75 | 0,75 | 0,50 | 1,50 | 2 x (12,75)/25,50 | 2 x (12,25)/25,00 |
3,50 | 0,75 | 0,50 | 1,50 | 2 x (12,00)/24,00 | 2 x (11,50)/23,50 |
4 | 3,75 | 0,75 | 0,50 | 1,50 | 2 x (9,00)/18,00 | 2 x (8,50)/17,50 |
3,50 | 0,75 | 0,50 | 1,50 | 2 x (8,50)/17,00 | 2 x (8,00)/16,50 |
II | 4 | 3,50 | 0,75 | 0,50 | - | 2 x (8,50)/15,50 | 2 x (8,00)/15,00 |
2 | 3,75 | 0,75 | 0,50 | - | 9,00 | 8,50 |
3,50 | 0,75 | 0,50 | - | 8,50 | 8,00 |
III | 2 | 3,50 <1> | 0,75 | 0,50 | - | 8,50 | 8,00 |
3,00 | 0,75 | 0,50 | - | 7,50 | 7,00 |
IV | 2 | 3,00 | 0,75 | 0,50 | - | 7,50 | 7,00 |
<1> Параметры приняты в Республике Беларусь. <2> При устройстве раздельных тоннелей (отдельных ярусов или пролетов) для каждого из направлений движения. <3> При устройстве единого тоннеля для обоих направлений движения по ГОСТ 24451. Примечание - В Республике Казахстан категория IВ отсутствует. |
(обязательное)
УСЛОВНЫЕ ОБОЗНАЧЕНИЯ ТОННЕЛЕЙ.
СТРУКТУРНАЯ СХЕМА ИХ ОБОЗНАЧЕНИЯ
В.1 Обозначение типов тоннелей:
АТ-Г - автодорожный тоннель горный;
АТ-П - автодорожный тоннель подводный;
АТ-Р - автодорожный тоннель равнинный.
В.2 Обозначение класса тоннеля в зависимости от сейсмичности района строительства:
НС - несейсмический район;
Сx - сейсмический район, x - баллы (7; 8; 9 и 10 баллов).
В.3 Обозначение вида тоннеля по глубине его заложения. В скобках указывается конкретная глубина заложения, м:
М (xxxxx) - мелкого заложения;
Г (xxxxx) - глубокого заложения.
В.4 Обозначение группы тоннеля в зависимости от конструктивного исполнения:
x - количество ярусов;
x/x ... /x - количество пролетов в каждом ярусе, начиная с верхнего.
В.5 Обозначение типоразмера тоннеля по его длине. В скобках указывается конкретная длина, м:
К (xxxxx) - короткий тоннель;
Д (xxxxx) - длинный тоннель.
В.6 Обозначение типоразмера тоннеля по габариту приближения (согласно
таблице Б.1 (приложение Б)):
Г-xx,xx - габарит приближения тоннеля по ширине.
При количестве ярусов или пролетов более одного габарит указывается отдельно для каждого пролета слева направо, начиная с верхнего яруса.
В.7 Дополнительное обозначение тоннеля по материалу конструкции обделки:
МБ - монолитная бетонная;
ЖБ - сборная железобетонная;
СБ - сталебетонная;
НБ - набрызг-бетонная;
ТЧ - тюбинговая, из чугунных тюбингов;
ТБ - тюбинговая, из железобетонных тюбингов;
ББ - блочная, из железобетонных блоков;
РА - решетчатая арка;
АК - анкерное крепление;
БО - без обделки.
В.8 В конце обозначения может быть указан учетный номер автомобильной дороги и участок расположения тоннеля, км.
Структурная схема условного обозначения тоннеля на автомобильной дороге общего пользования представлена на
рисунке В.1.
XX X XX X X X X X
─┬─ ─┬─ ─┬─ ─┬─ ─┬─ ─┬─ ─┬─ ─┬─ ┌─────────────────────────────────────┐
│ │ │ │ │ │ │ └─────┤ Обозначение типоразмера │
│ │ │ │ │ │ │ │ по габариту приближения │
│ │ │ │ │ │ │ └─────────────────────────────────────┘
│ │ │ │ │ │ │ ┌─────────────────────────────────────────┐
│ │ │ │ │ │ └─────┤ Обозначение типоразмера по длине │
│ │ │ │ │ │ └─────────────────────────────────────────┘
│ │ │ │ │ │ ┌────────────────────────────────────────────┐
│ │ │ │ │ └──────┤ Обозначение количества пролетов │
│ │ │ │ │ └────────────────────────────────────────────┘
│ │ │ │ │ ┌────────────────────────────────────────────┐
│ │ │ │ └──────────┤ Обозначение количества ярусов │
│ │ │ │ └────────────────────────────────────────────┘
│ │ │ │ ┌────────────────────────────────────────────┐
│ │ │ └──────────────┤ Обозначение вида по глубине заложения │
│ │ │ └────────────────────────────────────────────┘
│ │ │ ┌───────────────────────────────────────────────────┐
│ │ └───────────┤ Обозначение класса по сейсмичности │
│ │ │ района строительства │
│ │ └───────────────────────────────────────────────────┘
│ │ ┌───────────────────────────────────────────────────┐
│ └───────────────┤ Обозначение типа в зависимости от расположения │
│ │ относительно рельефа │
│ └───────────────────────────────────────────────────┘
│ ┌───────────────────────────────────────────────────┐
└───────────────────┤ Обозначение назначения - │
│ Автодорожный тоннель │
└───────────────────────────────────────────────────┘
Рисунок В.1 - Схема условного обозначения тоннеля
В.9 Пример условного обозначения автодорожного тоннеля горного типа, расположенного в районе сейсмичностью 8 баллов, глубокого заложения (глубина заложения 900 м), двухъярусного, с двумя пролетами на верхнем ярусе и одним на нижнем, длинного (длиной 4303 м), с габаритами Г-11,50 для каждого пролета на верхнем ярусе, Г-8,50 - для пролета на нижнем ярусе и обделкой из монолитного бетона:
Тоннель АТ-Г - С8 - Г(900) - 2 - 2/1 - Д(4303) - Г-11,50/Г-11,50/Г-8,50 - МБ.
Пример условного обозначения (с учетом
В.8) автодорожного тоннеля горного типа, расположенного в несейсмическом районе, глубокого заложения (глубина заложения 204 м), одноярусного, однопролетного, длинного (длиной 425 м), с габаритом Г-8,50 и обделкой из монолитного бетона, находящегося на автомобильной дороге общего пользования федерального значения Адлер - Красная Поляна на участке км 24 + 200 - км 24 + 625:
Тоннель АТ-Г - НС - Г(204) - 1 - 1 - Д(425) - Г-8,50 - МБ - А-149 (км 24 + 200 - км 24 + 625).