Главная // Актуальные документы // ГОСТ (Государственный стандарт)СПРАВКА
Источник публикации
М.: Стандартинформ, 2015
Примечание к документу
Текст данного документа приведен с учетом
поправки, введенной в действие с 12.10.2021, опубликованной в "ИУС", N 3, 2022.
Документ включен в
Перечень международных и региональных (межгосударственных) стандартов, а в случае их отсутствия - национальных (государственных) стандартов, в результате применения которых на добровольной основе обеспечивается соблюдение требований технического
регламента Таможенного союза "О безопасности машин и оборудования" (ТР ТС 010/2011) и в
Перечень международных и региональных (межгосударственных) стандартов, а в случае их отсутствия - национальных (государственных) стандартов, содержащих правила и методы исследований (испытаний) и измерений, в том числе правила отбора образцов, необходимые для применения и исполнения требований технического
регламента Таможенного союза "О безопасности машин и оборудования" (ТР ТС 010/2011) и осуществления оценки соответствия объектов технического регулирования (
Решение Коллегии Евразийской экономической комиссии от 09.03.2021 N 28).
Документ
введен в действие с 01.01.2016.
Название документа
"ГОСТ 33006.2-2014 (ISO 10407-2:2008). Межгосударственный стандарт. Нефтяная и газовая промышленность. Оборудование для роторного бурения. Часть 2. Контроль и классификация применяемых элементов бурового инструмента. Общие технические требования и методы контроля"
(введен в действие Приказом Росстандарта от 12.08.2015 N 1138-ст)
"ГОСТ 33006.2-2014 (ISO 10407-2:2008). Межгосударственный стандарт. Нефтяная и газовая промышленность. Оборудование для роторного бурения. Часть 2. Контроль и классификация применяемых элементов бурового инструмента. Общие технические требования и методы контроля"
(введен в действие Приказом Росстандарта от 12.08.2015 N 1138-ст)
агентства по техническому
регулированию и метрологии
от 12 августа 2015 г. N 1138-ст
МЕЖГОСУДАРСТВЕННЫЙ СТАНДАРТ
НЕФТЯНАЯ И ГАЗОВАЯ ПРОМЫШЛЕННОСТЬ
ОБОРУДОВАНИЕ ДЛЯ РОТОРНОГО БУРЕНИЯ
ЧАСТЬ 2
КОНТРОЛЬ И КЛАССИФИКАЦИЯ
ПРИМЕНЯЕМЫХ ЭЛЕМЕНТОВ БУРОВОГО ИНСТРУМЕНТА
ОБЩИЕ ТЕХНИЧЕСКИЕ ТРЕБОВАНИЯ И МЕТОДЫ КОНТРОЛЯ
Petroleum and natural gas industries. Rotary drilling
equipment. Part 2. Inspection and classification of used
drill stem elements. General technical requirements
and control methods
(ISO 10407-2:2008, MOD)
ГОСТ 33006.2-2014
(ISO 10407-2:2008)
Дата введения
1 января 2016 года
Цели, основные принципы и основной порядок проведения работ по межгосударственной стандартизации установлены
ГОСТ 1.0-92 "Межгосударственная система стандартизации. Основные положения" и
ГОСТ 1.2-2009 "Межгосударственная система стандартизации. Стандарты межгосударственные, правила и рекомендации по межгосударственной стандартизации. Правила разработки, принятия, применения, обновления и отмены"
1 ПОДГОТОВЛЕН Обществом с ограниченной ответственностью "ТЕХНОНЕФТЕГАЗ" (ООО "ТЕХНОНЕФТЕГАЗ") на основе собственного аутентичного перевода на русский язык стандарта, указанного в
пункте 5
2 ВНЕСЕН Межгосударственным техническим комитетом по стандартизации МТК 523 "Нефтяная и газовая промышленность"
3 ПРИНЯТ Межгосударственным советом по стандартизации, метрологии и сертификации (протокол от 5 декабря 2014 г. N 46)
За принятие проголосовали:
Краткое наименование страны по МК (ИСО 3166) 004-97 | Код страны по МК (ИСО 3166) 004-97 | Сокращенное наименование национального органа по стандартизации |
Казахстан | KZ | Госстандарт Республики Казахстан |
Киргизия | KG | Кыргызстандарт |
Россия | RU | Росстандарт |
Таджикистан | TJ | Таджикстандарт |
Узбекистан | UZ | Узстандарт |
Украина | UA | Минэкономразвития Украины |
4
Приказом Федерального агентства по техническому регулированию и метрологии от 12 августа 2015 г. N 1138-ст межгосударственный стандарт ГОСТ 33006.2-2014 (ISO 10407-2:2008) введен в действие в качестве национального стандарта Российской Федерации с 1 января 2016 г.
5 Настоящий стандарт модифицирован по отношению к международному стандарту ISO 10407-2:2008, Cor.1:2009 Petroleum and natural gas industries - Rotary drilling equipment - Part 2: Inspection and classification of used drill stem elements (Нефтяная и газовая промышленность. Оборудование для роторного бурения. Часть 2. Контроль и классификация применяемых элементов бурового инструмента) с технической поправкой 1, выделенной в тексте жирной вертикальной чертой. Дополнительные положения и требования, а также сноски, включенные в текст настоящего стандарта для учета потребностей национальной экономики и особенностей российской национальной стандартизации, выделены курсивом.
Международный стандарт разработан техническим комитетом по стандартизации ISO/TC 67 "Материалы, оборудование и морские сооружения для нефтяной, нефтехимической и газовой промышленности", подкомитетом SC 4 "Буровое и добывающее оборудование".
Перевод с английского языка (en).
Официальные экземпляры европейского регионального стандарта, на основе которого подготовлен настоящий межгосударственный стандарт, имеются в ФГУП "Стандартинформ".
Наименование настоящего стандарта изменено относительно наименования европейского регионального стандарта в связи с неточностью перевода.
Сведения о соответствии межгосударственных стандартов ссылочным международным стандартам приведены в дополнительном
приложении ДА.
Степень соответствия - модифицированная (MOD)
6 ВВЕДЕН ВПЕРВЫЕ
Информация об изменениях к настоящему стандарту публикуется в ежегодном информационном указателе "Национальные стандарты" (по состоянию на 1 января текущего года), а текст изменений и поправок - в ежемесячном информационном указателе "Национальные стандарты". В случае пересмотра (замены) или отмены настоящего стандарта соответствующее уведомление будет опубликовано в ежемесячном информационном указателе "Национальные стандарты". Соответствующая информация, уведомление и тексты размещаются также в информационной системе общего пользования - на официальном сайте Федерального агентства по техническому регулированию и метрологии в сети Интернет
Настоящий стандарт устанавливает требования по контролю для каждого уровня проверок (
таблицы B.1 -
B.15) и процедуры для контроля и испытаний элементов бурильной колонны, бывших в эксплуатации. В соответствии с настоящим стандартом бурильная колонна включает следующие элементы: тело бурильной трубы, резьбовое упорное соединение, утяжеленную и толстостенную бурильные трубы, переводники бурильной колонны.
Кроме приведенных выше элементов в компоновку низа бурильной колонны (КНБК) могут включаться калибраторы, центраторы, стабилизаторы, расширители, промежуточные опоры для УБТ, обратные клапаны, фильтры, шламометаллоуловители, амортизаторы, протекторные кольца, средства наклонно-направленного бурения, керноприемные устройства и другое специальное оборудование.
Настоящий стандарт содержит рекомендации для практических процедур и стандартных технологий, применяемых при проверках.
Практические процедуры, содержащиеся в настоящем стандарте, являются рекомендованными для проверок и/или диагностических испытаний, и их не следует трактовать как обязательные к применению со стороны организаций или владельцев, или они могут являться дополнением к другим методикам, расширяя существующие методы.
Настоящий стандарт содержит требования к квалификации персонала, проводящего проверки, методам для проведения проверок и калибровке оборудования, а также методики поверок. В проекте также приведена процедура для оценки дефектов и маркировки проверенных элементов колонны бурильных труб.
Настоящий стандарт содержит требования к изготовителям оригинального оборудования с минимально необходимой информацией для проверок оборудования, перечисленного в
приложении A.
В настоящем стандарте использована нормативная ссылка на следующий межгосударственный стандарт:
Примечание - При пользовании настоящим стандартом целесообразно проверить действие ссылочных стандартов в информационной системе общего пользования - на официальном сайте Федерального агентства по техническому регулированию и метрологии в сети Интернет или по ежегодному информационному указателю "Национальные стандарты", который опубликован по состоянию на 1 января текущего года, и по выпускам ежемесячного информационного указателя "Национальные стандарты" за текущий год. Если ссылочный стандарт заменен (изменен), то при пользовании настоящим стандартом следует руководствоваться заменяющим (измененным) стандартом. Если ссылочный стандарт отменен без замены, то положение, в котором дана ссылка на него, применяется в части, не затрагивающей эту ссылку.
Для целей настоящего стандарта применяются термины и определения, приведенные в
ГОСТ ISO 9000 (для терминов по системе контроля качества, не приведенных ниже).
В настоящем стандарте применены следующие термины с соответствующими определениями:
3.1 армирование/наплавка твердым сплавом (hard-banding/hard-facing): Нанесение твердосплавного материала на наружную поверхность замка для уменьшения его износа.
3.2 безмуфтовый резьбовой конец (pin end): Элемент резьбового упорного соединения элемента бурильной колонны с наружной резьбой.
3.3 бесшовная труба (seamless pipe): Трубное изделие из деформируемой стали, изготовленное без сварного шва.
3.4 бурильная колонна (drill stem): Все составляющие элементы между вертлюгом или верхним силовым приводом и корпусом долота, включая буровую штангу. Бурильная колонна состоит из ведущей трубы, тонкостенных стальных бурильных труб и утяжеленных бурильных труб, к нижней части которых присоединяется буровое долото. В зависимости от условий бурения вблизи долота устанавливаются центрирующие, калибрующие, стабилизирующие и расширяющие устройства. Верхняя труба бурильной колонны соединена с вертлюгом, который с помощью крюка, талевого блока и каната подвешен на кронблоке, установленном в верхней части буровой вышки.
3.5
бурильная труба (drill pipe): Тело бурильной трубы с замками, приваренными методом сварки трением
(рисунок 1).
3.6 виток резьбы (lead): Часть выступа резьбы, соответствующая одному полному обороту точек винтовой поверхности резьбы относительно оси резьбы.
3.7 ведущая, или рабочая труба (kelly): Толстостенная стальная труба, имеющая в сечении квадратную или шестигранную форму.
3.8 верхний шаровой клапан ведущей штанги (upper kelly cock): Клапан, находящийся непосредственно на ведущей трубе, который может быть закрыт для герметизации трубного пространства колонны бурильных труб.
3.9 владелец (owner): Физическое лицо, юридическое лицо или организация, обладающие правом собственности на оборудование.
3.10 вмятина (gall): Дефект поверхности в виде произвольно расположенных углублений различной формы, образовавшихся вследствие повреждения и ударов поверхности при транспортировке, правке, складировании и других операциях.
3.11 внутренняя резьба (box thread): Внутренняя резьба резьбового упорного соединения.
3.12 высаженный конец трубы (upset): Кованый конец бурильной трубы, используемый для повышения толщины стенки.
Примечание - Это участок на конце тела трубы с увеличенной толщиной стенки и наружным и/или внутренним диаметрами, отличающимися от диаметра тела трубы, полученный способом горячего прессования. Высадка может быть наружной (наружный диаметр высадки больше наружного диаметра тела трубы), внутренней (внутренний диаметр высадки меньше внутреннего диаметра тела трубы) или комбинированной (наружный диаметр высадки больше, а внутренний меньше соответствующих диаметров тела трубы).
3.13 гибкая лента (pi tape): Гибкая стальная лента для измерения наружного диаметра трубы.
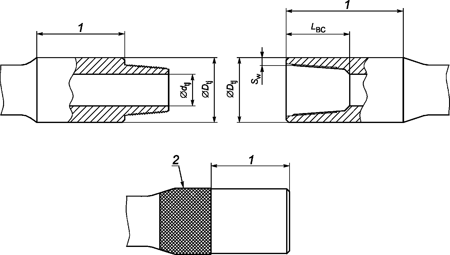
3.14 диаметр фаски замка (bevel diameter): Наружный диаметр упорных уплотнительных поверхностей (торца муфты и уступа ниппеля) резьбового упорного соединения замка.
3.15 допуск (tolerance): Поле, ограниченное наибольшим и наименьшим предельными размерами и определяемое величиной допуска и его положением относительно номинального размера.
3.16 заводская маркировка на трубе (mill slot): Отшлифованная поверхность на наружном диаметре замка бурильной трубы для обозначения марки материала, массы и серийного номера.
3.17
зажимаемый роторными клиньями участок трубы (slip area): Часть тела трубы, на которой видно, что при подъеме и спуске бурильного инструмента клиновой захват неоднократно зажимается в одном и том же месте
(рисунок 4).
Примечание - В верхнем конце зажимаемый роторными клиньями участок трубы, как правило, находится приблизительно на расстоянии 560 мм (22 дюйма) от заплечика муфты соединения труб под трубным элеватором и с этой отметки продолжается на расстояние примерно в 660 мм (26 дюймов) в сторону безмуфтового резьбового конца. Его местонахождение может меняться в зависимости от применяемого оборудования для спуско-подъемных операций и типа буровой установки. Он не включает временный зажим клиновой плашки в других участках в результате ловильных работ, тестирования в бурильной колонне и аналогичных операций.
3.18 зазубрина (dent): Изменение контура поверхности, вызванное механическим воздействием, не сопровождающееся сильными дефектами металла.
3.19 заточка (grind, noun): Место, где металл был снят с помощью точильного колеса в процессе оценки или устранения дефекта.
3.20 измерение (measure): Определение величины размера и указание ее в рабочем журнале.
3.21 индикатор типа A (A-scan): Дисплей ультразвукового прибора, на котором расстояние отображается на горизонтальной оси, сила сигнала - на вертикальной оси.
3.22 калибровка (calibration): Совокупность операций, устанавливающих соотношение между значением величины, полученным с помощью данного средства измерений, и соответствующим значением величины, определенным с помощью эталона, с целью определения действительных метрологических характеристик этого средства измерений.
3.23 класс 2 (class 2): Второй класс в иерархии классификации эксплуатации бурильных труб, бывших в употреблении, не соответствующих требованиям премиум-класса.
3.24 класс 3 (class 3): Третий класс в иерархии классификации эксплуатации бурильных труб, бывших в употреблении, не соответствующих требованиям класса 2.
3.25 код массы трубы на единицу длины (weight code): Безразмерное условное обозначение массы единицы длины тел бурильных труб. Код массы используют при оформлении заказов на бурильные трубы, а также при их маркировке.
3.26 колонна бурильных труб (drill string): Соединение нескольких секций или звеньев бурильной трубы с бурильными замками.
3.27 контроль/осмотр (inspection): Процесс замера, осмотра, шаблонирования, проверки или другие способы подтверждения соответствия изделия установленным требованиям.
3.28 коррозия (corrosion): Изменения или разрушения материала под влиянием среды.
3.29 коэффициент прочности на изгиб (КПИ) [bending-strength ratio (BSR)]: Отношение момента сопротивления внутренней резьбы и наружной резьбы на последнем витке.
3.30
критическая область (critical area): Зона от основания упорного заплечика бурильного замка до поверхности, удаленной на 660 мм (26 дюймов), или у окончания вмятин от клиньев, в зависимости от того, что находится на большем расстоянии
(рисунок 4).
Примечание - Применительно к рабочей зоне колонны бурильных труб критическая область располагается от конца трубы до поверхности на расстоянии 508 мм (20 дюймов) или до места расположения вмятин, образованных клиньями, в зависимости от того, что находится ближе.
3.31 лаборатория (agency): Организация (в том числе лаборатория неразрушающего контроля), которая согласно условиям контракта должна произвести осмотр/контроль элементов бурильных колонн, бывших в употреблении, руководствуясь указанными критериями и требованиями.
3.32 ловильная головка (fish neck): Область с уменьшенным диаметром, расположенная у верхнего края буровой штанги, которую захватывает ловильный инструмент.
3.33 маркировка (label): Минимальная отшлифованная поверхность для нанесения обозначения размера трубы, ее массы на единицу длины или размеры и тип резьбового упорного соединения.
3.34 монтажный заплечик муфты (make-up shoulder): Уплотнительный заплечик муфты на резьбовом упорном соединении.
3.35 муфта бурильного замка (box end): Резьбовое соединение бурильного замка с внутренней резьбой.
3.36 надрез (cut): Зарубина, не оставляющая глубоких следов на металле, как правило, вследствие воздействия острых объектов.
3.37 нижний клапан ведущей бурильной трубы (задвижка-переводник ведущей трубы) [lower kelly valve (kelly cock)]: Полнопроходной клапан, установленный под ведущей бурильной трубой, с наружным диаметром, равным наружному диаметру замка бурильной трубы.
3.38 основание штифта (pin base): Поверхность безрезьбового типа на штифтовом соединении большого диаметра, прилежащего к выступу муфты.
3.39 отказ (failure): Событие, заключающееся в нарушении работоспособного состояния объекта.
3.40 переводник (sub): Короткая резьбовая деталь трубы, используемая для соединения частей компоновки бурильной колонны в следующих случаях: например, при пересечении с другим соединением или для предотвращения изнашивания дорогостоящих элементов компоновки.
3.41 переводник долота (bit sub): Переводник, как правило, с двумя муфтами, используется для соединения долота с бурильной колонной.
3.42 переходной переводник (bottleneck sub): Переводник с двумя различными наружными диаметрами.
3.43 поверка (standardization): Совокупность операций, выполняемых в целях подтверждения соответствия средств измерений метрологическим требованиям.
3.44 пользователь (user): Физическое лицо или компания, эксплуатирующие оборудование или материал, либо использующее стандарты.
3.45
последний находящийся в зацеплении виток резьбы (last engaged thread): Последний виток резьбы на ниппеле бурильного замка, находящийся в зацеплении с муфтой соединительного замка или на муфте соединительного замка, находящегося в зацеплении с ниппелем бурильного замка
(рисунок 2).
3.46 премиум-класс (premium class): Наивысший класс в иерархии классификации эксплуатации бурильных труб, бывших в употреблении, качественнее классов 2 и 3.
3.47 программа обеспечения качества (quality programme): Утвержденная задокументированная система по обеспечению качества.
3.48 проверка (check): Определение годен/не годен для измерений в критической области.
3.49 профиль резьбы (thread form): Профиль выступа и канавки резьбы в плоскости осевого сечения резьбы.
3.50 прямой переводник (straight sub): Переводник с постоянным наружным диаметром.
3.51 резьба на полную глубину (full-depth thread): Резьба, впадина которой лежит на меньшей конической насадке наружной резьбы или на большей конической насадке внутренней резьбы.
3.52 резьбовое упорное соединение (rotary shouldered connection): Резьбовое соединение элементов бурильной колонны, имеющее коническую резьбу и упорные поверхности (уступ ниппельного конца и торец муфтового конца), создающие уплотнение в соединении.
3.53 стабилизатор (stabilizer): Часть компоновки бурильной колонны, используемой для центрирования или контроля нижней ее части.
3.54
тело бурильной трубы (drill-pipe body): Бесшовная стальная труба с высаженными концами
(рисунок 1).
3.55 тело трубы (pipe body): Бесшовная труба без высадки и переходных участков, измененных при высадке.
3.56 тепловые повреждения (heat checking): Образование поверхностных трещин вследствие быстрого нагревания и охлаждения детали.
3.57 толстостенная бурильная труба (ТБТ) [heavy-weight drill pipe (HWDP)]: Труба с утолщенными стенками, используемая в переходной зоне для снижения износа и уменьшения осевой нагрузки на буровое долото в наклонных скважинах.
3.58 ударный яс (освобождающий инструмент) (jar): Механическое или гидравлическое устройство, используемое в ударной штанге буровой установки для передачи ударной нагрузки другому элементу ударной штанги, в особенности если этот элемент прихвачен в скважине.
3.59 усталость (fatigue): Процесс постепенного накопления повреждения материала под действием переменных напряжений, приводящих к изменению свойств: образованию трещин, их развитию и разрушению.
3.60 усталостная трещина (fatigue crack): Трещина, вызванная усталостью материала.
3.61 усталостное разрушение (fatigue failure): Разрушение материала нагружаемого объекта до полной потери его прочности или работоспособности вследствие распространения усталостной трещины.
3.62 утяжеленная бурильная труба (drill collar): Толстостенная труба или труба для обеспечения сплошности или плотности по массе на или около режущей части долота.
3.63 фильтрованный двухполупериодный переменный ток (ДППТ) (filtered FWAC): Двухполупериодный переменный ток, выпрямляемый путем пропускания через электрический конденсатор или другое электрическое устройство с целью устранения колебаний, вызванных переменным током.
3.64 царапина (gouge): Дефект поверхности, представляющий собой углубление неправильной формы и произвольного направления, образующегося в результате механических повреждений, в том числе при складировании и транспортировании.
3.65 шаг резьбы (pitch): Расстояние по линии, параллельной оси резьбы, между средними точками ближайших одноименных боковых сторон профиля резьбы, лежащими в одной осевой плоскости по одну сторону от оси резьбы.
Примечание - При прохождении одного оборота резьбы шаг равняется витку.
3.66 шаблон (drift): Цилиндрический измерительный прибор, используемый для определения минимального внутреннего диаметра.
3.67 язвина (pit): Углубление, являющееся результатом коррозии или удаления инородных частиц, попавших на поверхность в процессе производства.
1 - бурильная труба; 2 - корпус бурильного замка;
3, 5 - тело бурильной трубы; 4 - ниппель замка;
6 - сварной шов
Рисунок 1 - Система обозначений бурильной трубы
1 - последний находящийся в зацеплении виток
резьбы - ниппель; 2 - последний находящийся в зацеплении
виток резьбы - тело; 3 - диаметр упорного торца резьбы, DF;
4 - уплотнение
Рисунок 2 - Последний находящийся в зацеплении виток резьбы
4 Обозначения и сокращения
В настоящем стандарте используются следующие обозначения:
ACS | - | площадь поперечного сечения; |
D | - | наружный диаметр; |
Dcb | - | диаметр зенковки; |
DF | - | диаметр упорного торца резьбы; |
DFR | - | диаметр уступа проточки под обратный клапан; |
DL | - | диаметр основания штифта; |
DLTorq | - | диаметр зенковки с малым вращающимся моментом; |
DRG | - | диаметр разгрузочной канавки; |
Dtj | - | наружный диаметр бурильного замка; |
dtj | - | внутренний диаметр бурильного замка; |
le | - | глубина канавки под элеватор; |
ls | - | глубина канавки клиновой плашки; |
LBC | - | длина соединения муфты; |
Lbr | - | длина уступа перегородки; |
LBT | - | длина, измеряемая от заплечика до безнапорной стороны на корпусе резьбы на полную глубину; |
Lc | - | минимальная длина полнопрофильной резьбы; |
LCyl | - | длина, измеряемая от последней риски до начала плавного волнового перехода проточки; |
Leg | - | длина канавки под элеватор; |
Lfn | - | длина ловильной головки; |
LPC | - | длина ниппельной резьбы; |
Lpb | - | длина основы штифта; |
Lqc | - | длина зенковки; |
LR | - | длина заплечика проточки под обратный клапан; |
ZRG | - | длина разгрузочной канавки; |
Lsg | - | длина канавки клиновой плашки; |
LTpr | - | длина плавного волноводного перехода проточки; |
Lx | - | длина, измеряемая от заплечика до последней риски проточного цилиндра; |
Qc | - | диаметр зенковки; |
rEG | - | радиус канавки под элеватор; |
rSG | - | радиус канавки клиновой плашки; |
Sw | - | ширина заплечика; |
t | - | средняя толщина стенки. |
В настоящем стандарте используются следующие сокращения:
БТБУ (UDP) | - | бурильная труба, бывшая в употреблении; |
БРСО (SOBM) | - | буровой раствор на синтетической основе; |
БРУО (OBM) | - | буровой раствор на углеводородной основе; |
ВКТ (EUE) | - | высаженный конец трубы; |
ВД (ID) | - | внутренний диаметр; |
ВПН (NI) | - | витки под напряжением; |
ДППТ (FWAC) | - | фильтрованный двухполупериодный переменный ток; |
ЗС (TJ) | - | замковое соединение; |
ИПБ (MWD) | - | измерения в процессе бурения; |
ИБТ (UDP) | - | использованные бурильные трубы; |
КНБК (BHA) | - | компоновка низа бурильной колонны; |
ККПЖ (PT) | - | контроль/осмотр количества проникающей жидкости; |
КПИ (BSR) | - | коэффициент прочности на изгиб; |
ЛТ (FF) | - | лицевой торец; |
МКМ (LT) | - | малый крутящий момент; |
МПД (MPI) | - | магнитнопорошковая дефектоскопия; |
НК (NDT) | - | неразрушающий контроль; |
НД (OD) | - | наружный диаметр; |
ПТ (DC) | - | постоянный ток; |
ИОО (OEM) | - | изготовитель оригинального оборудования; |
ПТ (AC) | - | переменный ток; |
ППУД (FLUT) | - | полная поперечная ультразвуковая дефектоскопия; |
ПВ (FSH) | - | полноэкранная высота; |
ППТ (HWAC) | - | полуфазный переменный ток; |
РВО (WBM) | - | раствор на водной основе; |
ССП (S/N) | - | соотношение сигнал/помеха; |
СНП (SRG) | - | снятие напряжения паза; |
СВШ (SWBM) | - | синтетический водный шлам; |
ТБТ (HWDP) | - | толстостенная бурильная труба; |
ТО | - | техническое обслуживание; |
УБТ (DC) | - | утяжеленные бурильные трубы; |
УК (UT) | - | ультразвуковой контроль/осмотр; |
ЧИ (PD) | - | частота импульсов; |
ЭДЛ (EBW) | - | эффективная длина луча; |
| | ИС МЕГАНОРМ: примечание. Сокращения даны в соответствии с официальным текстом документа. | |
|
ЭД (EMI) | - | электромагнитная дефектоскопия; |
ЭМИ (EMI) | - | электромагнитный импульс; |
дБ | - | децибелы; |
мкВт | - | микроватт. |
5 Заключение о соответствии
5.1 Условия проведения контроля/осмотра
5.1.1 Общие сведения
Настоящий стандарт содержит инструкции по проведению контроля и осмотра, оценки и классификации элементов бурильной колонны, бывших в употреблении. Рекомендации по определению вида контроля и осмотра для пользователей приведены в
приложении E.
Проверки на каждом уровне контроля и осмотра приведены в
приложении B; данные инструкции могут распространяться на:
a) проверки, проводящиеся при стандартном осмотре, определяют минимальные требования к контролю элементов бурильной колонны согласно требованиям стандартного осмотра;
b) проверки, проводящиеся при среднем осмотре, определяют минимальные требования к контролю элементов бурильной колонны согласно требованиям среднего осмотра;
c) проверки, проводящиеся при обязательном осмотре, определяют минимальные требования к контролю элементов бурильной колонны согласно требованиям обязательного осмотра;
d) проверки, не являющиеся обязательными, обычно проводятся в зависимости от условий бурения.
5.1.2 Таблицы, необходимые при проведении контроля/осмотра (приложение B)
В таблицах, приведенных в
приложении B, представлен список необходимых проверок для каждого из вышеперечисленных уровней контроля/осмотра. Ниже представлен список элементов бурильной колонны, приведенных в
приложении B.
- в
таблице B.1 (приложение B) приведены допустимые проверки и определены необходимые проверки для каждого уровня контроля и осмотра тел бурильных труб, бывших в употреблении, включая дополнительное обслуживание оборудования;
- в
таблице B.2 (приложение B) приведены допустимые проверки и необходимые проверки для каждого уровня контроля и осмотра бурильных замков, бывших в употреблении, включая дополнительное обслуживание оборудования;
- в
таблице B.3 (приложение B) приведены допустимые проверки и необходимые для каждого уровня контроля и осмотра соединений КНБК, бывших в употреблении, включая дополнительное обслуживание оборудования;
- в
таблице B.4 (приложение B) приведены допустимые проверки и необходимые проверки для каждого уровня контроля и осмотра элементов бурильной колонны и КНБК, включая дополнительное обслуживание оборудования;
- в
таблице B.15 (приложение B) приведены допустимые проверки и необходимые проверки для каждого уровня контроля и осмотра спусковых колонн и насосно-компрессорных труб, бывших в употреблении.
5.2 Стабильность результатов
Результатом проведения неразрушающего контроля и проведения измерений являются переменчивые показатели измерений. Факторы, влияющие на переменчивость, перечислены ниже:
a) возможность выбора инструкций по проведению контроля/осмотра характерных особенностей оборудования;
b) возможность выбора эталонного образца;
c) возможны различия при проектировании механического и электронного оборудования, которое используется заводом-изготовителем и организациями, проводящими неразрушающий контроль;
d) недостаточная стабильность результатов в рамках работоспособности единичной системы неразрушающего контроля.
5.3 Упорядочивание информации
При применении настоящего стандарта во время контроля и осмотра элементов бурильной колонны, бывших в употреблении, владельцу оборудования следует установить требования к порядку проведения работ по каждому размеру и типу элемента:
a) проводимый контроль и осмотр;
b) исходный образец при его наличии;
c) инструкции по маркировке;
d) принятый критерий.
Лаборатория
<*>, проводящая эксплуатационный контроль, должна осуществлять и поддерживать программу обеспечения контроля качества. Данная программа должна включать письменные процедуры осуществляемого контроля и осмотра (методики, функции управления и документацию), а также должна быть задокументирована в письменном виде.
--------------------------------
<*>
Лаборатория на территории Российской Федерации и Таможенного союза должна быть аттестована в соответствии с ПБ 03-372-00. Переаттестация лаборатории должна проводится не реже одного раза в три года.
Лабораторная программа обеспечения качества должна предусматривать поверку применяемого измерительного оборудования. Частота, порядок, точность калибровки, функции управления и документация также должны учитываться.
Программа обеспечения качества лаборатории должна включать записи, подтверждающие технические характеристики системы контроля, которая определяет необходимые индикаторы исходного положения. Подтверждение технических характеристик системы контроля качества должно проводиться по 6.2 -
6.6.
6.2 Поверка и эксплуатация оборудования
Поверка должна проводиться в зависимости от типа оборудования. Письменная процедура должна, как минимум, включать минимальные показатели индикатора исходного положения и допустимый предел соотношения сигнал - шум.
В письменном виде методика эксплуатации оборудования должна включать поэтапную настройку, предельные значения параметров, например, использование специальных электронных схем, детекторной матрицы и диапазон скоростей.
Данная методика должна подтверждать, что все проверяемое и контролируемое оборудование и материалы используются в определенном температурном режиме и пределе влажности, установленном изготовителем.
6.3 Описание оборудования
Оборудование, которое используют при проведении контроля и осмотра, необходимо детально описать и показать, что оно отвечает всем требованиям.
6.4 Степень квалификации персонала
Программа обеспечения качества работы лаборатории должна включать условия, определяющие образование, обучение и квалификацию персонала, осуществляющего контроль, в соответствии с настоящим стандартом.
Документы, определяющие степень квалификации персонала службы технического контроля, должны соответствовать требованиям
раздела 7.
6.5 Данные по динамическому контролю/осмотру, определяющие технические характеристики системы по расчетному показателю
Существует множество способов определения технических характеристик системы, например:
a) технические характеристики системы контроля могут определяться статистическими методами оценки проведения контроля и осмотра. Установив заданные параметры системы контроля и амплитуду реагирования дефектов, эти данные будут использоваться для распределения амплитуды реагирования. Эти данные далее станут основой при определении характеристик системы контроля;
b) технические характеристики системы контроля также могут использоваться для демонстрации каждого порядка контроля и осмотра посредством образцовой меры с необходимыми расчетными показателями индикатора. После поверки системы в соответствии с методиками тестовый образец проверяется для установления показателя надежности во всех секторах.
Отчет должен включать устанавливаемые параметры системы контроля качества, отражать носитель информации, обеспечивать единство измерения при калибровке/поверке и включать описание эталонного образца.
7 Квалификация персонала службы технического контроля
Данный пункт определяет минимальные требования по квалификации и аттестации (при их применении) персонала, осуществляющего промысловые испытания элементов бурильной колонны, бывших в употреблении.
7.2 Письменное тестирование
Персонал лаборатории, осуществляющий контроль и осмотр элементов бурильной колонны, бывших в употреблении, в соответствии с настоящим стандартом должен проходить обучение, письменное тестирование и обладать необходимым опытом и квалификацией.
Письменное тестирование устанавливает следующее:
a) административные обязанности и ответственность за выполнение процедуры;
b) требования к квалификации персонала;
c) документы, подтверждающие квалификацию.
7.3 Квалификация: ответственность и требования
Лаборатория несет ответственность за соблюдение требований по квалификации и ее повышение персоналом службы технического контроля. Требования к каждой квалификации включают следующий минимум:
a) обучение и опыт, соответствующие уровню квалификации оператора;
b) письменный и практический экзамены с удовлетворительными оценками;
c) внешняя проверка;
d) применение настоящего стандарта и соответствующих разделов в промышленности.
Весь квалифицированный персонал должен получить письменно заверенное заключение о законченном обучении, проведенном в полной мере и разработанном специально для каждого уровня квалификации. Обучение может проводиться лабораторией или другой сторонней организацией. Программа должна включать следующее:
a) особенности каждого используемого метода контроля;
b) последовательность процедур проведения каждого метода контроля, в том числе поверку и эксплуатацию контрольного оборудования;
c) соответствующие разделы, перечисленные в промышленных стандартах.
Экзамены могут проводиться лабораторией или любой другой организацией. Весь персонал службы технического контроля должен успешно пройти следующие испытания:
a) письменные экзамены, оценивающие знания общих и специализированных применяемых методов контроля и осмотра, программы контроля и проверка знания стандартов ISO, API и ASTM <*>;
--------------------------------
<*>
На территории Российской Федерации перечисленные стандарты в области неразрушающего контроля не действуют. Необходимо сослаться на ПБ 03-440-02 "Правила аттестации персонала в области неразрушающего контроля".
b) практические занятия или производственный экзамен, которые должны включать сборку оборудования, его поверку, методы контроля, требования к эксплуатации, а также анализ результатов и подготовку отчета;
c) ежегодная проверка зрения (природное и скорректированное зрение). Чтения букв J-2 на тест-таблице Jaeger N 2 на расстоянии от 305 мм (12 дюймов) до 381 мм (15 дюймов); аналогичные тесты, например, способность воспринимать цифру Титмус 8, формулу Снеллена 20/25 (0,8), или проверка зрения квалифицированным врачом при помощи оптического прибора.
Все кандидаты на получение квалификации должны иметь необходимый опыт для прохождения письменного тестирования.
Требования по переквалификации должны определяться письменным тестированием. Переквалификацию всего персонала необходимо проводить не реже одного раза в пять лет <*>.
--------------------------------
<*>
В Российской Федерации в соответствии с ПБ 03-440-02 переаттестация должна проводиться не реже одного раза в три года.
Если меняется работодатель или персонал не выполняет свои обязанности в полном объеме (на протяжении 12 мес.), то необходимо проводить его переквалификацию. Минимальными требованиями по переквалификации являются:
a) необходимость получения допустимого балла на письменном экзамене, который проверяет знания текущих процедур контроля и осмотра, а также промышленных стандартов;
b) представить доказательство достаточного опыта практической работы.
По всем программам повышения квалификации необходимо вести и хранить документацию. Минимальным требованием является хранение следующих документов:
a) данные обо всем квалифицированном персонале (информация об окончании программы обучения и опыте работы);
b) результаты экзаменов, хранящиеся в лаборатории и доступные для просмотра;
c) данные о каждом квалифицированном специалисте, хранящиеся не менее одного года после даты аннулирования степени квалификации;
d) все степени квалификации и относящиеся к ним документы должны быть утверждены уполномоченным персоналом лаборатории.
Программа по аттестации персонала, осуществляющего неразрушающий контроль, должна быть разработана соответствующей лабораторией. В качестве руководства может быть использован
[2].
Примечание - Для этих целей рекомендуется документ, аналогичный
[2],
[3].
За проведение аттестации персонала, осуществляющего неразрушающий контроль, несет ответственность соответствующая лаборатория.
8 Процедуры общего контроля
Данный раздел настоящего стандарта рассматривает общие процедуры, которые проводятся для всех методов контроля.
8.2 Требования к рабочему месту владельца/оператора при проведении контроля качества
Владелец/оператор должен обеспечить доступ к рабочему месту лицу, осуществляющему контроль качества, или перенести оборудование к месту проверки на специализированных подставках или столах подходящей высоты. Трубы, муфты и другие детали должны располагаться на одном уровне и находиться в свободном доступе для обеспечения вращения вокруг своей оси (полный оборот) при проведении проверки. При невыполнении данных требований проводить контроль качества в соответствии с настоящим стандартом не допускается. Трубы должны снабжаться предохранительными резьбозащитными кольцами.
8.3 Паспорт рабочего места
Нормативные документы, определяющие состояние рабочего места, должны быть легкодоступны. По запросу инспектора, осуществляющего контроль, могут быть представлены любые другие документы в соответствии с действующей системой менеджмента качества.
8.4 Процедуры, которые проводятся перед контролем и осмотром
8.4.1 Эксплуатационная пригодность оборудования
Каждая проверка начинается с определения эксплуатационной пригодности испытательного оборудования и теста его в рабочих условиях.
8.4.2 Идентификация
Перед проведением контроля бурильной колонны лаборатория должна провести ее идентификацию. При этом производится сравнение данных производственного заказа с маркировкой на элементах бурильной колонны (маркировка, размер, внутренний диаметр, код массы трубы на единицу длины, качество, изготовитель, характеристики и соединение).
8.4.3 Маркировка и регистрация
Во время контроля и осмотра необходимо маркировать и регистрировать серийными номерами каждый элемент бурильной колонны. Номер должен наноситься на коническую часть конца бурильной трубы, расположенную под углом 35° (или, если предусмотрено, 18°).
При продолжительной эксплуатации колонны бурильных труб могут быть сформированы путем замены или дополнения другими трубами. Поэтому серийный номер последней проверки должен быть нанесен на коническую часть конца бурильной трубы вместе с номерами предыдущих проверок. Каждая нумерация должна сопровождаться значением, определяющим последовательность проверок и изменений в оборудовании. Это показано на
рисунке 3. Как правило, маркировка производится ударным клеймом и определяет классификацию, месяц/год и знак лаборатории, которая проводила контроль. Колонна бурильных труб должна быть промаркирована только после завершения необходимых проверок.
Изготовитель/владелец должен маркировать как бурильные трубы, так и колонну бурильных труб в целом. По соглашению владельца и проверяющей организации возможно использовать постоянный идентификационный номер (по необходимости) вместо стандартной нумерации. Также при соглашении с владельцем любому элементу оборудования без действительного и разборчивого серийного номера должен быть присвоен такой номер.
Необходимо следить, чтобы новые серийные номера не были поставлены на то же самое место, где стояли старые. Серийные номера должны ставиться в местах, где риск износа и других повреждений минимален.
8.4.4 Причина приостановления проверки
При осуществлении проверки колонны бурильных труб необходимо классифицировать все ее элементы (классы второй, третий или премиум). Проведение классификации может быть приостановлено при выявлении дефектов, не подлежащих ремонту (трещин, выбоин, щелей и т.п.). Прекращение проверки при выявлении неприемлемого состояния оборудования должно быть согласовано проверяющей организацией с владельцем оборудования.
8.5 Маркировка классификации бурильных труб и бурильных замков
8.5.1 Постоянный(ые) знак(и)
Постоянный(ые) знак(и), обозначающие классификацию трубы, должны быть нанесены следующим образом:
a) на 35° или 18° наклонном заплечике бурильного замка с безмуфтовым резьбовым концом, как показано на
рисунке 3;
b) на других участках бурильного замка, не подверженных сильным деформациям и напряжениям, где маркировка не стирается после операции.
Необходимо избегать холодной стальной штамповки на наружной поверхности тела трубы. Один кернер обозначает премиум-класс, два - класс 2, три - класс 3 и четыре - металлические отходы.
8.5.2 Цветная маркировка
Цветная маркировка, обозначающая состояние бурильной трубы и бурильного замка, должна применяться:
a) если бурильный замок идентичного класса или выше, то маркируется только труба;
b) если класс бурильного замка ниже класса бурильного замка трубы, то маркируется только бурильный замок;
c) бурильные замки, резьбу и уплотнения которых необходимо отремонтировать, маркируются в соответствии с
рисунком 3 и
таблицей 1.
1 - маркировка состояния бурильного замка; 2 - цветная
маркировка классификации бурильной трубы; 3 - шаблон/штамп
для постоянной маркировки классификации тела бурильной трубы
Рисунок 3 - Идентификационный код цвета бурильной трубы
Классификация бурильного замка и бурильной трубы | Число и цвет маркировки | Состояние бурильного замка | Цвет маркировки |
Премиум-класс | Два белых | Ремонт в мастерской или отходы | Красный |
Класс 2 | Один желтый | - | Зеленый |
Класс 3 | Один оранжевый | - | - |
Отходы | Один красный | - | - |
8.6 Процедуры, которые проводят после контроля/осмотра
8.6.1 Классификация
Каждый участок трубы, бурильного замка и элемента бурильной колонны забойного двигателя должен классифицироваться в соответствии с
разделом 10.
8.6.2 Очистка
Удаляют все магнитные частицы, жидкий пенетрант и очищающий материал с соединений.
8.6.3 Вычисление длин
Рассчитывают сумму длины всех категорий оборудования и его элементов. Проверяют их общее количество после первого подсчета.
8.6.4 Защита резьбы
После проверки убеждаются, что резьба сухая и чистая. Наносят на резьбу смазку для роторного заплечика, сделанную в соответствии с
[4] или по решению владельца/оператора. Наносят ее на весь резьбовой участок по контуру, в том числе заплечики и канавки резьбы. В районе с холодным климатом необходимо предварительно нагреть смазку при нанесении на элементы резьбы до использования оборудования. Многокомпонентные смазки для резьбы нельзя разбавлять растворителем. Если необходимо, устанавливают чистый колпачок для предохранения резьбы, а затем туго его затягивают.
Примечание - Следует изучить справочник по безопасному использованию волокнистого материала. Необходимо хранить и размещать контейнеры с неиспользованными смазочными материалами в соответствии с правилами.
8.6.5 Таблица контрольных проверок рабочего места
Перед тем как покинуть рабочее место, представитель лаборатории должен убедиться, что выполнены следующие действия:
a) трубный подсвечник: лаборатория должна убедиться, что каждый ряд труб покрыт кожухами и защищен, что не осталось свободно движущихся труб, которые могли бы упасть с рабочих стеллажей. Также запрещается оставлять трубы на земле;
b) устранение обломков: с рабочего места необходимо убрать после работы все обломки;
c) утилизация растворителя: очищающий растворитель должен быть полностью устранен с рабочего места.
Примечание - Растворители, очистители, неочищенный парафин и производственные отходы могут содержать опасные вещества. При использовании таких материалов сначала надо изучить справочник по безопасному использованию материала. Должны быть предусмотрены хранение, транспортировка, эксплуатация и утилизация производственных отходов и контейнеров. Необходимо следовать соответствующим инструкциям по утилизации растворителей и производственных отходов, бывших в употреблении.
8.6.6 Контрольная маркировка
8.6.6.1 Общие сведения
В данном пункте представлено руководство по единой контрольной маркировке элементов бурильной колонны, бывших в употреблении.
8.6.6.2 Полномочия
Классификация каждого проверенного интервала должна осуществляться только квалифицированным персоналом. Однако любой член бригады может быть направлен на проведение необходимых описаний, маркировки по образцу и цветной маркировки.
8.6.6.3 Бурильная труба
а) Порядковый номер
Каждый отрезок испытанной бурильной трубы должен иметь уникальный номер, отштампованный на 35° наклонного заплечика ниппеля бурильного замка. Порядковый номер должен стоять после месяца и года проверки, маркировки классификации и названия/марки организации, которая проводила контроль (см.
рисунок 3). Размер штампов должен быть не больше 10 мм (3/8 дюйма). Если на оборудование нанесены трассируемые серийные номера, то штамп порядкового номера можно и не ставить. А остальные штампы должны обязательно стоять на местах. Маркировка классификации должна ставиться только после завершения всех необходимых проверок. Она должна показывать самый низкий показатель классификации трубы и бурильного замка.
б) Цветная маркировка
Тело трубы
| | ИС МЕГАНОРМ: примечание. Текст дан в соответствии с официальным текстом документа. | |
Каждый отрезок тела трубы должен быть отмечен цветной маркировкой для бурильной трубы в соответствии с
таблицей B.18 (приложение B) и для насосно-компрессорной трубы в соответствии с
таблицей B.19 (приложение B), бывших в употреблении. Цветная маркировка должна находиться на расстоянии 0,5 мм (18 дюймов) от конической части конца бурильной трубы, расположенной под углом 35°. Ширина цветной маркировки должна равняться 51 мм (2 дюйма).
Все развинченные трубы должны иметь 25-миллиметровую (1 дюйм) полосу по диаметру трубы, которая показывает и изолирует поврежденную часть трубы. Цвет маркировки должен выбираться в соответствии с классификацией дефектов. Причина отказа работы бурильной трубы должна быть отмечена рядом с полосой цветной или другой несмываемой маркировкой.
Замки бурильных труб
Каждый бурильный замок, не соответствующий требованиям по минимальному наружному диаметру, внутреннему диаметру или ширине заплечика, приведенным в
таблице C.6 (таблице D.6) (приложения C и D), должен быть помечен цветной полосой в центре бурильного замка. Эта цветная полоса показывает, что на бурильный замок не воздействует крутящий момент, равный как минимум 80% требуемого крутящего момента тела трубы.
Состояние бурильного замка
Все поврежденные части бурильного замка должны иметь 25,4-миллиметровую (1 дюйм) красную полосу, находящуюся на наружном диаметре смежного с заплечиком уплотнения. При наличии такой полосы оборудование необходимо ремонтировать в мастерской в соответствии с
рисунком 3. Причина отказа оборудования должна быть отмечена рядом с красной полосой цветной или любой другой отметкой, которая не сотрется во время ремонтных работ. Эти маркировки должны быть удалены после ремонта.
Все соединения, не отремонтированные до проведения проверки и осмотра оборудования, должны иметь 25,4-миллиметровую (1 дюйм) зеленую полосу на наружном диаметре соединения смежного с заплечиком уплотнения в соответствии с
рисунком 3. Причина отказа оборудования должна быть отмечена рядом с зеленой полосой или любой другой отметкой, которая не сотрется во время ремонтных работ. Эти маркировки должны быть удалены после ремонта.
Необязательная цветная маркировка
Цветная маркировка, показывающая дополнительную информацию об оборудовании, может быть нанесена на тело трубы рядом с маркировкой классификации. Необязательная цветная маркировка может использоваться для обозначения лаборатории, порядкового номера деталей, уровня проверки, дополнительной проверки, времени выполнения проверки (месяц/год). Надпись должна равняться не менее 25,4 мм (1 дюйм) в длину.
Цветная шаблонная маркировка спусковой бурильной колонны должна быть нанесена на минимальную остаточную стенку оборудования в качестве акцента.
8.6.6.4 Утяжеленные бурильные трубы и другие элементы бурильной колонны
а) Белая маркировка
Белая маркировка, находящаяся близко к заплечику ниппеля, должна обозначать испытательную лабораторию, порядковый номер деталей, контроль, осмотр, необязательные проверки и время проведения проверок (месяц/год).
б) Цветная маркировка
Тело звена компоновки низа бурильной колонны (КНБК)
На каждое звено КНБК должна быть нанесена белая маркировка. Она должна находиться на расстоянии 152,6 мм (6 дюймов) от заплечика ниппеля. Каждый участок с трещиной или отходами должен быть отмечен красной полосой вокруг поврежденной части. Причина отказа работы оборудования должна быть написана рядом с красной полосой несмываемым маркером.
Состояние соединения
Все поврежденные соединения, которые необходимо ремонтировать в мастерской, должны быть отмечены 25,4-миллиметровой (1 дюйм) красной полосой, расположенной на наружном диаметре рядом с заплечиком уплотнения. Причина отказа оборудования должна быть написана рядом с красной полосой несмываемым маркером. Данные маркировки необходимо удалить после ремонта.
Все соединения, не отремонтированные на месте до проведения проверки и осмотра, должны быть отмечены 25,4-миллиметровой (1 дюйм) зеленой полосой, расположенной на наружном диаметре рядом с заплечиком уплотнения. Причина отказа работы оборудования должна быть написана рядом с зеленой полосой несмываемым маркером. Данные маркировки должны быть удалены после ремонта.
8.6.7 Документация. Заключение по результатам проведения локальной проверки
Заключение по результатам проведения локальной проверки элементов КНБК должно включать:
- описание проверенной детали;
- серийный номер проверенной детали;
- тип проверки и осмотра;
- результаты проверки и осмотра;
- даты проверки и осмотра;
- описание условий, из-за которых может возникнуть отказ работы оборудования.
9 Общие требования к методу неразрушающего контроля
В
разделе 9 перечислены возможные требования, описания и необходимое оборудование, с помощью которого проводится контроль и осмотр элементов бурильной трубы, бывшей в употреблении, и оборудования КНБК.
9.2.1 Общие сведения
Данные требования должны распространяться на оборудование для визуального и пространственного контроля и осмотра элементов бурильной колонны, бывших в употреблении.
9.2.2 Штангенинструмент (микрометр, штангенциркуль, циферблатный штангенциркуль)
Штангенинструмент должен быть откалиброван в соответствии с лабораторной программой обеспечения качества. Калибровка должна регистрироваться на штангенинструменте и в журнале с датой проведения калибровки, сроком сдачи и инициалами лица, проводившего проверку.
9.2.3 Нерегулируемые приборы для измерения длины и диаметра
Приборы для измерения длины и диаметра состоят из стальных линеек, мерных лент и других нерегулируемых измерительных приборов. Точность прибора определяется программой по обеспечению контроля качества лаборатории.
9.2.4 Глубиномер
Инструмент должен быть откалиброван в соответствии с программой обеспечения контроля качества лаборатории. Калибровка должна регистрироваться на штангенинструменте и в журнале с датой проведения калибровки, сроком сдачи и инициалами лица, проводившего проверку.
9.3.1 Освещение наружной поверхности
9.3.1.1 Направленное естественное освещение
При наличии направленного естественного освещения не требуется проводить проверку освещения поверхности.
9.3.1.2 Ночное освещение и освещение закрытого пространства
Уровень освещенности проверяемых поверхностей должен равняться не менее 538 лк (50 FC).
Освещение объектов в закрытых, ограниченных пространствах должно проводиться в соответствии с программой обеспечения контроля качества лаборатории. Проверка должна быть зарегистрирована в журнале с датой, показаниями приборов и инициалами лица, осуществляющего проверку. Данная запись должна быть доступна на рабочем месте.
9.3.1.3 Ночное освещение с переносным оборудованием
Уровень освещенности на проверяемых поверхностях должен равняться не менее 538 лк (50 FC).
Показатели освещения должны проверяться в начале рабочего дня. Они должны доказать, что переносное оборудование, установленное на проверяемых поверхностях, используется правильно. Освещение должно проверяться также во время рабочего дня, при перестановке осветительных приборов и изменениях интенсивности потока света, направленного на проверяемые поверхности.
Люксометр, используемый для измерения освещенности, должен быть откалиброван в соответствии с программой обеспечения контроля качества лаборатории. Данные по калибровке люксометра должны быть зарегистрированы на измерительном приборе и в журнале с датой калибровки, сроком сдачи и инициалами лица, проводившего проверку.
9.3.2 Освещение внутренних поверхностей
9.3.2.1 Зеркала, используемые для освещения
В качестве отражающей поверхности должно использоваться нетонированное (неокрашенное) зеркало, показывающее неискаженное изображение. Отражающая поверхность должна быть плоской и чистой.
9.3.2.2 Переносные лампы
Переносную лампу, обеспечивающую освещенность более 1076 лк (100 FC), находящуюся на максимальном контролируемом расстоянии, можно использовать для освещения внутренних поверхностей.
9.3.2.3 Другие источники освещения
Сертифицированный источник освещения, обеспечивающий требуемую освещенность, может использоваться для освещения внутренних поверхностей. Защитное стекло источника освещения должно быть чистым.
9.3.2.4 Прибор оптического контроля
Разрешение бороскопа, видео и другие оптические приспособления внутреннего контроля должны быть протестированы перед началом работ. А затем необходимо собрать весь прибор (или одну его часть). Цена деления шкалы не должна превышать 1,016 мм (0,040 дюйма) в высоту, или в качестве альтернативы используются буквы J-4 Jaeger размером 101,6 мм (4 дюйма), расположенные на линзе объектива. Они должны хорошо просматриваться через смонтированный прибор оптического контроля.
9.4 Оборудование для магнитнопорошковой дефектоскопии
9.4.1 Источники тока намагничивания
У источников тока намагничивания должен быть амперметр. Амперметры (считывающие параметры намагничивания тока) должны быть откалиброваны в соответствии с программой обеспечения контроля качества лаборатории. Калибровка должна быть зарегистрирована измерительным прибором и рабочим журналом, в котором должны быть записаны дата калибровки, срок сдачи и инициалы лица, выполняющего ее.
9.4.2 Катушки
При размещении катушки рядом с материалом и местом, создающим ток, появляется продольное магнитное поле. Число поворотов катушки должно быть отмечено на катушке.
Катушки должны тестироваться на целостность внутренних проволочных витков в соответствии с программой обеспечения контроля качества лаборатории. Это делается путем сравнивания значений сопротивления и магнитного потока с первоначальными показателями (когда катушка была новой).
Проверка должна регистрироваться в рабочем журнале с датой проведения калибровки оборудования, сроком сдачи и инициалами лица, выполнившего ее.
9.4.3 Внутренний проводник
При включении изолированного проводника в материал и завершении цепи электропитания возникает круговое магнитное поле. При этом активируется цепь тока в соответствии с
таблицей C.2 (таблица D.2) (приложение C, приложение D). Слышимый или видимый сигнализатор может использоваться в качестве дополнительного оборудования для амперметра для определения несоответствующих показателей тока.
Проводник должен быть изолирован от поверхности материала для предотвращения электрического замыкания или образования горящей дуги.
9.4.4 Магнитные клещи
Магнитные клещи - переносные устройства намагничивания, используемые для обнаружения дефектов на той же самой поверхности, на которой располагаются клещи. У клещей есть либо фиксированные, либо шарнирные опоры. Они активируются переменным или постоянным током. Для дефектоскопии неровных поверхностей используются регулируемые опоры, их можно регулировать для сохранения контакта с контролируемой поверхностью, независимо от контура.
Клещи, активирующиеся переменным током, должны поднимать вес, равный 4,5 кг (10 фунтов), при максимально разрешенном расстоянии между бурильными колоннами.
Клещи, активирующиеся постоянным током, должны поднимать вес, равный 18 кг (40 фунтов), при максимально разрешенном расстоянии между бурильными колоннами.
Клещи тестируются на грузоподъемность с помощью стальной арматуры, пластины подходящей массы или откалиброванного магнитно-массового испытательного стержня. Частота проведения испытаний на грузоподъемность должна соответствовать программе обеспечения контроля качества. Калибровка оборудования должна быть задокументирована на клещах и в рабочем журнале с датой проведения калибровки, сроком сдачи и инициалами лица, проводившего проверку.
9.4.5 Схема прерывания защитного заземления
При использовании магнитных клещей и катушек с магнитнопорошковой дефектоскопией (суспензия порошка в масле) силовой контур должен включать схему прерывания защитного заземления.
9.4.6 Индикаторы магнитного поля
Подходящие индикаторы магнитного поля (разделенные прокладки, стрипсы, индикаторы кругового поля) должны удерживать магнитные частицы в самом поле приблизительно 5 Гс. Индикаторы магнитного поля показывают только наличие внешнего магнитного поля с флюксоидами в воздухе, а не в материале.
9.4.7 Магнитометры и измерители магнитной индукции
9.4.7.1 Общие положения
Магнитометры и измерители магнитной индукции используются для определения относительной силы внешнего магнитного поля. Оба прибора могут показывать только измерения внешних магнитных полей. Они точно показывают аналогичную силу магнитного поля. Если магнитное поле на двух концах трубы равно, а индикатор напряженности поля находится в одинаковом положении, можно сделать вывод, что магнитные поля в обеих трубах равны.
9.4.7.2 Измерители магнитной индукции
Измерители магнитной индукции, используемые для определения относительной силы магнитного поля, должны быть откалиброваны в соответствии с программой обеспечения контроля качества лаборатории. Калибровка должна регистрироваться на измерителе и в рабочем журнале с датой калибровки, сроком сдачи и инициалами лица, проводившего проверку.
9.4.7.3 Магнитометры
Магнитометры должны проверяться на точность в соответствии с программой обеспечения контроля качества лаборатории. Калибровка должна регистрироваться на магнитометре и в рабочем журнале с датой калибровки, сроком сдачи и инициалами лица, выполнившего проверку.
9.4.8 Магнитные частицы
9.4.8.1 Общие положения
Магнитные частицы определяют недостатки, вызывающие рассеивание магнитного потока. Частицы могут быть сухими или влажными (в виде суспензии).
9.4.8.2 Сухие магнитные частицы
Сухие магнитные частицы должны контрастировать с поверхностью материала. Они не должны использоваться повторно. Смесь должна состоять из частиц различных размеров: не менее 75% массовой доли - более 150 мкм и не менее 15% - более 45 мкм. Смесь частиц не должна содержать загрязнители (сырость, грязь, песок). В качестве дополнения возможна проверка и поставка партии или отдельных частиц высокой магнитной проницаемости и низкой остаточной намагниченности.
9.4.8.3 Влажные флуоресцентные магнитные частицы
Флуоресцентные магнитные частицы находятся в растворе. Раствор должен быть маловязким (м2/с) (5 cSt или менее), нефлуоресцентным, с пределом горения выше 93 °C (200 °F). Он должен полностью увлажнять поверхность. Частицы накаляются и светятся, если на них воздействует ультрафиолетовое излучение. Влажные флуоресцентные частицы используются низкоскоростным потоком для предотвращения вымывания слабо прикрепленных индикаторов. Для правильной работы оборудования необходимо использовать рециркуляционные системы, емкости распылителя или другие средства.
Раствор необходимо смешивать в соответствии с инструкциями изготовителя и непрерывно или периодически встряхивать. Объемная доля концентрации должна равняться от 0,1 до 0,4%. Контроль растворения веществ длится 1 ч для смазанного тела и 30 мин. - на водяной основе. Тесты растворения должны проводиться в безвибрационной, немагнитной среде. Тест партии изготовителя может проводится вместо теста на расслоение частиц в аэрозольных баллончиках.
Концентрация раствора должна быть проверена до использования. Концентрация раствора в рециркулирующих системах должна проверяться как минимум один раз в течение каждой смены.
9.4.8.4 Черные магнитные частицы на белом фоне (покрытие)
Белый фон покрытия должен производиться изготовителем/поставщиком влажной черной магнитной частицы или определяться в качестве частицы, сочетаемой с частицей, производимой изготовителем/поставщиком. Суммарная толщина всех покрытий во время контроля и осмотра не должна превышать 0,05 мм (0,002 дюйма). Черные частицы находятся в растворе. Раствор должен обладать малой вязкостью (5 cSt или менее), пределом горения, равном более 93 °C (200 °F). Он должен полностью увлажнять поверхность. Частицы используются низкоскоростным потоком для предотвращения вымывания слабо прикрепленных индикаторов. Для правильной работы оборудования необходимо использовать рециркуляционные системы, емкости распылителя или другие средства.
9.4.8.5 Ультрафиолетовый свет
Ультрафиолет используется для освещения флуоресцентно окрашенных магнитных частиц. Тщательно очищенная ртутная дуговая лампа или другой источник света должны обеспечивать оборудование ультрафиолетовым излучением. Длина волны должна равняться примерно 365 нм, а минимальная напряженность на проверяемой поверхности при эксплуатационных условиях - 1000 мкВт/см2. Напряженность должна измеряться датчиком ультрафиолетового излучения, который размещен на проверяемой поверхности и направлен на источник ультрафиолетового излучения. Напряженность видимого света во время проверки не должна превышать 21,5 лк (2 FC).
Измерители, использующиеся для проверки ультрафиолетового или видимого освещения, должны калиброваться в соответствии с программой обеспечения контроля качества лаборатории. Калибровка должна регистрироваться измерителем, данные должны быть записаны в рабочем журнале с датой калибровки, сроком сдачи и инициалами лица, выполнившего проверку.
9.5.1 Калибр для измерения толщины
9.5.1.1 Линейность измерительного прибора
Линейка измерительного прибора должна калиброваться в соответствии с программой обеспечения контроля качества лаборатории. Калибровка должна регистрироваться прибором, данные записываться в рабочий журнал, где указываются дата калибровки, срок сдачи и инициалы лица, выполняющего калибровку.
9.5.1.2 Проверка чувствительности
Необходимо использовать ультразвуковой измерительный прибор для определения размеров стенки, находящейся выше внутреннего поверхностного дефекта. Этот прибор должен выявить плоскодонное отверстие 0,79 мм (0,031 дюйма), находящееся на расстоянии как минимум 9,6 мм (0,38 дюйма) от передней части поверхности, параллельной испытательному блоку. Измеренная толщина стенки равняется +/- 0,25 мм (+/- 0,010 дюйма). Проверка может являться частью периодической лабораторной калибровки. Если проверка проводится во время калибровки, то это необходимо отметить в рабочем журнале.
9.5.2 Ультразвуковые дефектоскопы
Приборы управления дефектоскопами должны быть откалиброваны в соответствии с программой обеспечения контроля качества лаборатории.
Необходимо откалибровать линейность и масштаб дисплея самописца в соответствии с программой обеспечения контроля качества лаборатории.
Снятия показаний с приборов, определяющих частоту вращения и линейную скорость/контрольную скорость механизма, если он использовался для контроля профилирования, должны также быть откалиброваны в соответствии с программой обеспечения качества лаборатории.
Калибровка должна регистрироваться на индикаторе типа A или самописце, в рабочем журнале определяются дата проведения калибровки, дата проведения контроля/осмотра и инициалы и фамилия лица, выполняющего калибровку.
9.6 Оборудование для электромагнитной дефектоскопии
9.6.1 Амперметр
Амперметр должен быть откалиброван (поверен) в соответствии с графиками калибровки/поверки средств измерения. Дата калибровки/поверки должна быть отражена на самом амперметре. Информацию о калибровке/поверке необходимо фиксировать в регистрационном журнале с указанием даты калибровки/поверки, срока выполнения работ и фамилии лица, выполняющего калибровку/поверку.
9.6.2 Катушка
Катушки должны быть проверены на соответствие с требованиями программы обеспечения контроля качества лаборатории. Данная проверка осуществляется путем сравнения сопротивления или величины магнитного потока с их изначальными показателями (первичное использование катушки).
Все результаты проверки должны быть зафиксированы в журнале с указанием даты калибровки, срока выполнения и инициалов человека, выполнившего проверку.
9.6.3 Вращательная или линейная скорость прибора
Считывание показателей прибора, определяющего вращательную или линейную скорость, или прибор, контролирующий скорость, при его наличии, должны калиброваться в соответствии с требованиями программы обеспечения контроля качества лаборатории.
9.6.4 Образец электромагнитной дефектоскопии
Реагирование каждого образцового индикатора на образец (с более чем одним индикатором) должно быть одинаковым (средний показатель +/- 10%). Это должно быть проверено во время производства и в дальнейшем как минимум раз в два года.
10 Контроль и классификация бурильной колонны
10.1 Тело трубы. Визуальный контроль всей длины
10.1.1 Описание
Необходимо проводить визуальный контроль всей длины наружной поверхности от одного высаженного конца трубы до другого в соответствии с
рисунком 1 (тело трубы) для обнаружения трещин, надрезов, зазубрин, зарезов, вмятин, дроблений, сужений, ленточной торпеды (линейный взрыв), заточек, погнутостей и других визуально обнаруживаемых дефектов. Необходимо осмотреть внутреннюю поверхность с каждого конца для выявления зарезов, эрозии и прорезей каротажной проволоки. Также при наличии внутреннего покрытия необходимо провести его оценку.
10.1.2 Подготовка поверхности
Проверяемые поверхности должны быть очищены от загрязнений, смазочного материала, коррозии, шелушащейся краски, волокнистой пыли, а также других материалов, которые ограничивают или препятствуют точности контроля и осмотра.
10.1.3 Оборудование
Стираемым маркером, например мелом, необходимо обозначить проверяемые поверхности. Любой другой маркер может повлиять на качество электромагнитной дефектоскопии. Необходимо соблюдать все требования
9.3, касающиеся источников освещения.
10.1.4 Освещение
Наружное (уличное) освещение должно соответствовать требованиям
9.3.
10.1.5 Процедура контроля и осмотра
Наружную поверхность каждой трубы необходимо визуально проверить на наличие дефектов. Этот контроль и осмотр может проводиться в качестве отдельной процедуры или в процессе измерения наружного диаметра в соответствии с требованиями
10.2. Прокатка всей длины трубы, ее измерение и осмотр поверхности являются обязательными требованиями. Также необходимо проверить оборудование на наличие очевидных дефектов.
Освещаемую внутреннюю поверхность необходимо тщательно изучить с каждого конца на наличие дефектов. Также необходимо проверить состояние внутреннего покрытия.
10.1.6 Алгоритм оценки
Все внешние дефекты должны быть помечены стирающимся маркером для облегчения их дальнейшей идентификации во время электронного контроля.
Дефекты, которые могут повлиять на классификацию оборудования, должны быть отмечены и оценены в зависимости от типа дефекта в соответствии с
10.13.
Состояние внутреннего покрытия должно определяться по всей длине соединенных труб. Состояние внутреннего покрытия трубы не влияет на ее классификацию.
Примечание - Состояние внутреннего покрытия не влияет на эксплуатационные ограничения бурильной трубы. Поэтому не влияет на ее классификацию. Владельцу необходимо сообщить о состоянии внутреннего покрытия в информационном запросе.
Труба, погнутая или искривленная более чем на 76,2 мм (3 дюйма) по всей длине или на диапазон от 12,7 мм (0,5 дюйма) до 1,5 м (0,5 футов) от любого конца, не подлежит контролю и осмотру. Все выпрямленные трубы должны быть проверены непосредственно после выпрямления. Бурильные трубы с установленными резиновыми насадками не осматриваются.
10.2 Тело трубы. Измерение наружного диаметра
10.2.1 Описание
Необходимо проверить каждую трубу от одного высаженного конца до другого и измерить наружный диаметр с целью выявления его уменьшения. Трубу необходимо прокручивать, когда измеритель наружного диаметра будет проходить вдоль всей поверхности. В течение проверки 1,5 м (5 футов) трубы она должна быть прокручена на 360°. Измерение наружного диаметра лазером, видеоаппаратурой или другим устройством возможно при соблюдении минимальных требований, перечисленных в
10.2.
Стандартное устройство, измеряющее наружный диаметр, - это переносное/непереносное оборудование, используемое для обнаружения уменьшения наружного диаметра трубы. Упорный стержень измерительного устройства устанавливается на расстоянии 0,79 мм (0,031 дюйма) от наружного диаметра трубы [
таблица C.4,
таблица C.5 (
таблица D.4,
таблица D.5)] (приложение C, приложение D). Если измерительное устройство не насаживается на трубу, то необходимо уменьшить диаметр на 0,78 мм (0,031 дюйма). Это устройство обеспечивает быстрое сканирование трубы в тех местах, где ее наружный диаметр равняется 0,78 мм (0,031 дюйма) и более. Штангенциркуль измеряет длину стандартного образца бурильной колонны.
10.2.3 Состояние поверхности
Наружный диаметр тела бурильной трубы (бура) должен быть очищен от накипи (коррозии), бурового раствора. Очистка проводится, если это необходимо для измерения наружного диаметра.
10.2.4 Поверка
10.2.4.1 Общие положения
С помощью кронциркуля необходимо проверить длину стандартного образца, которая должна равняться 0,79 мм с допуском +/- 0,13 мм (0,031 дюйма с допуском +/- 0,005 дюйма), что меньше определенного наружного диаметра трубы [
таблица C.4,
таблица C.5 (
таблица D.4,
таблица D.5)] (приложение C, приложение D). С помощью стандартного образца при необходимости можно проверить и настроить стержни измерительных устройств либо вручную, либо с помощью гидравлического устройства (например, в виде поршня). Стержни измерительных устройств должны располагаться параллельно, а стандартный образец должен плотно прилегать к обоим концам упорного стержня. Затем убеждаются, что все болты закреплены. Проверка штыревого индикатора осуществляется с помощью стандартного образца, приведенного в действие поршнем насоса, и установленной на нем необходимой насадки.
10.2.4.2 Частота проведения поверки
Поверка оборудования, осуществляющего контроль, должна проводиться перед началом работ. Периодичность поверок проводится в следующих случаях:
a) перед каждым контролем и осмотром, после перестановки и отказа работы оборудования;
b) как минимум раз в час во время непрерывной работы оборудования или после проверки 25 бурильных штанг (в зависимости от того, что произойдет раньше);
c) при смене оператора;
d) если на устройство, измеряющее наружный диаметр, будет воздействовать аномальный механический удар;
e) для предотвращения отказа работы оборудования во время работы;
f) для возобновления работы оборудования после ремонта или настройки;
g) перед отключением оборудования в конце работы.
10.2.4.3 Проверка с выявлением неприемлемых результатов
Все трубы, которые проверялись в период между проверкой с неудовлетворительным результатом и успешной проверкой, должны быть снова осмотрены для получения более точного результата.
10.2.5 Алгоритм проведение проверок
Необходимо измерить наружный диаметр тела трубы по всей длине (от одного высаженного конца трубы до другого). Во время измерения необходимо прокручивать трубу на 180° каждые 0,8 м (2,5 фута). Убедитесь, что во время работы все упорные стержни плотно зафиксированы в соответствии с
10.2.2.
Перед считыванием показателей индикатора необходимо убедиться, что упорный стержень, расположенный напротив поршня насоса, находится на поверхности трубы (если измерительное устройство проходит через наружный диаметр). Труба должна прокручиваться на 180° для обеспечения максимально точных показателей индикатора. Осмотрите обе стороны трубы по направлению оси для определения максимального уменьшения наружного диаметра.
Необходимо обозначить область или точку максимального уменьшения наружного диаметра буквой "X". Маркировка должна стоять рядом с каждым параллельным упорным стержнем. Определите причину уменьшения диаметра: из-за износа или механической деформации (под действием напряжений).
10.2.6 Износ
Если уменьшение наружного диаметра произошло вследствие износа, то определение классификации будет проводиться в зависимости от толщины остаточных стенок в соответствии с
10.13.5.
10.2.7 Уменьшение или увеличение диаметра под действием напряжений
Если наружный диаметр уменьшается под действием напряжений (дробление, сжатие, зазубрины и затирание), то он рассчитывается в соответствии с
10.13.6.
Если наружный диаметр увеличивается под действием напряжений, то он рассчитывается в соответствии с
10.13.7.
10.3 Тело трубы. Ультразвуковое измерение толщины стенок
10.3.1 Описание
Эта методика является руководством по ультразвуковому измерению стенок и определению минимальной толщины в центре трубы или в точке, где наружный диаметр начинает уменьшаться. Для бурильной трубы данные измерения проводят в одном месте, но могут также и в нескольких дополнительных точках.
10.3.2 Оборудование
10.3.2.1 Ультразвуковой прибор, измеряющий толщину
Ультразвуковой прибор используется для определения толщины стенок наружного диаметра. Измерительный прибор состоит из ультразвукового преобразователя (дефектоскопа), соединительного кабеля и прибора, питающегося от батареи, с цифровым, электроннолучевым или метрическим устройством считывания. Преобразователь должен быть двухэлементным. Его диаметр не должен превышать 9,52 мм (0,375 дюйма). Прибор должен считывать толщину параллельных поверхностей исследуемых образцов. Возможны отклонения от действительной толщины объекта [+/- 0,025 мм (+/- 0,001 дюйма)]. При измерении других стенок выше внутренних дефектов прибор должен соответствовать требованиям
9.5.1.2.
10.3.2.2 Контактная смазка
Контактная смазка используется для увлажнения поверхности трубы и передачи ультразвука от преобразователя к проверяемой трубе. Контактная смазка должна быть очищена от примесей, которые будут негативно воздействовать на точность измерений и считывание результатов. Контактная смазка состоит из ингибиторов коррозии, водоумягчителей, глицерина, антифриза или увлажняющих веществ, если они не приносят вреда поверхности труб. Контактная смазка должна быть достаточно вязкая для обеспечения вакуумных соединений (лучше без необходимости не воздействовать избыточным давлением на преобразователь).
10.3.3 Состояние поверхности
Поверхность, на которую устанавливается преобразователь, должна быть очищена от раздробленных частиц, грязи, примесей, смазочных или любых других веществ, которые воздействуют на точку отсчета поверхности трубы, точность проверки или считывание результатов.
10.3.4 Калибровка
Ультразвуковые приборы измерения толщины должны калиброваться в соответствии с
9.5.1.
10.3.5 Поверка
10.3.5.1 Общая информация
Если результаты считывания тензодатчика на испытательном стенде нестабильны, то измерительный прибор работает неисправно. Его необходимо отрегулировать или заменить до начала поверки или контроля и осмотра.
Все эталонные образцы, используемые для поверки, должны обладать виброскоростью и скоростными характеристиками такими же, как и у исследуемого образца. Перед началом работ для уменьшения вероятности поломок эталонные образцы необходимо нагреть (в течение 30 мин.) до температуры наружной части вещества. Помещение эталонного образца на поверхность трубы и увеличение их контактирующих областей могут уменьшить время нагрева до 10 мин.
Линия контакта между излучающим и приемным преобразователем должна быть перпендикулярна эталонному образцу или оси трубы. Если линия контакта двухэлементного преобразователя расположена под углом меньше 90° относительно продольной оси, показания ультразвукового измерительного прибора могут быть больше действительной толщины трубы. Чем меньше диаметр трубы, тем больше погрешность.
Эталонные образцы должны обладать таким же радиусом кривизны наружного диаметра, как и наружный диаметр измеренного образца, за исключением тех случаев, когда используются эталонные образцы с плоской поверхностью при измерении специфического диаметра труб [более 88,9 мм (3,5 дюйма)].
Поверка всех измерительных приборов должна проводиться в соответствии с заводской инструкцией, в которой говорится о двух видах стандартной толщины. В первом случае она должна быть на 1,27 мм (0,050 дюйма) тоньше, чем минимальная толщина труб второго класса. А во втором случае на 1,27 мм (0,050 дюйма) толще стенок исследуемого образца. Толщина эталонного образца должна измеряться микрометром. Погрешность при измерении толщины (в обоих случаях) может равняться +/- 0,025 мм (+/- 0,001 дюйма) от толщины материала.
Если у эталонного образца радиус искривления наружной поверхности отличается от исследуемого образца, необходимо перепроверить ультразвуковую точку отсчета, находящуюся на поверхности искривления заданной толщины (в соответствии с эталонным прибором электромагнитного контроля).
Если ультразвуковой измерительный прибор поверяется на больший радиус изгиба, чем у исследуемого объекта, то вогнутая поверхность преобразователя может стать причиной того, что стенка трубы будет тоньше необходимого. Если ультразвуковой измерительный прибор поверяется на меньший радиус изгиба, чем у исследуемого объекта, то вогнутая поверхность преобразователя может стать причиной того, что стенка трубы будет толще необходимого. При износе, истирании, заточке и других изменениях диаметра необходимо проверить поверхность преобразователя (она должна быть плоской). Перед контролем и осмотром необходимо проверить преобразователь на изнашивание путем сравнения точности прибора на искривленных и ровных эталонных образцах с одинаковой скоростью. Если прибор не изношен, показатели будут точны в обоих случаях. Изношенные преобразователи должны быть заменены.
10.3.5.2 Частота проведения поверки
Периодическая поверка оборудования должна проводиться в следующих случаях:
a) перед началом каждого контроля и осмотра;
b) после контроля/осмотра или проведения непрерывных замеров 25 областей оборудования;
c) после каждого сбоя подачи электроэнергии или смене электропитания (батарея или зарядное устройство);
d) при смене оператора (дефектоскопа);
e) перед отключением оборудования во время работы;
f) перед возобновлением работ после ремонта или смены системного компонента, влияющего на производительность;
g) при замене преобразователя, кабеля или контактной смазки;
h) перед отключением измерительного прибора в конце рабочего дня;
i) когда перед наклоном оборудования на измерительном приборе появляются показания, равные 0,25 мм (0,010 дюйма) от минимальной допустимой толщины остаточной стены.
10.3.5.3 Выявление недопустимых результатов
Если погрешность показаний измерительного прибора во время поверки более 0,05 мм (0,002 дюйма) от первоначальных показателей, то этот измерительный прибор необходимо перенастроить. Все бурильные трубы, которые тестировались в период между поверкой с выявлением недопустимого результата и последней успешной поверкой, должны быть снова перепроверены.
10.3.6 Руководство по ультразвуковому измерению толщины
Необходимо сделать достаточное количество замеров толщины стенок трубы для определения их минимальной толщины (места истончения). Если таких показателей нет, то за минимальную толщину принимается центр бурильной трубы.
Необходимо очистить от примесей и грязи каждую измеряемую область и смазать контактной смазкой, так как загрязненные поверхности мешают точности измерений толщины стенок.
При проведении измерений необходимо сначала зафиксировать считывающий индикатор, а затем сравнить показания с минимальной допустимой толщиной стенки. Постоянными показателями считаются те, которые колеблются на величинах +/- 0,025 мм (+/- 0,001 дюйма) в течение 3 с.
При использовании высокочувствительного измерительного прибора необходимо убедиться, что включения механических примесей и расслоение материала не принимаются за уменьшение толщины стенки. Включения механических примесей и расслоение не учитываются при классификации оборудования.
При появлении краевой границы считывания необходимо изучить ее самые низкие показатели для выявления дальнейшего уменьшения толщины стенок. Повторяйте осмотр поверхностей с наименьшими показателями, пока трубу нельзя будет классифицировать.
При проведении замера возможно случайное уменьшение толщины стенок, для избежания этого необходимо проверить состояние поверхности и очистить ее от сколов и рыхлой окалины (без удаления основного материала). Проведите поверку измерительного прибора и перепроверьте измерения толщины. Конечные показатели измерительного прибора будут использоваться для классификации труб (в соответствии с критериями износа, перечисленными в
10.13.5).
10.4 Тело трубы. Электромагнитная дефектоскопия
10.4.1 Описание
Оборудование, определяющее утечку магнитного потока, работает на мощном магнитном поле, направленном к месту трубы, расположенному под датчиками, и создающем поля рассеивания (при наличии специализированных разрывов). Датчики выявляют поле рассеивания магнитного потока, расположенное на наружной поверхности трубы, в местах поперечных или волюметрических (объемных) дефектов.
10.4.2 Оборудование
Оборудование для электромагнитной дефектоскопии в соответствии с настоящим стандартом включает приборы оптимизации и обнаружения рассеивания магнитного потока, измерительную катушку или датчик Холла. Обнаружение дефектов происходит, когда намагниченная труба проходит через зафиксированный на месте круглый сканер или круглый сканер, двигающийся по всей длине намагниченной трубы. Количество поверок будет зависеть от размеров трубы.
10.4.3 Подготовка поверхности
Наружный диаметр трубы (от одного высаженного конца трубы до другого) должен быть очищен от окалин, бурового и грунтового растворов, так как они препятствуют движению детектора и трубы или дефектоскопа.
10.4.4 Калибровка
Электромагнитные дефектоскопы, индуктивные катушки и эталонные образцы должны быть откалиброваны в соответствии с
9.6.
10.4.5 Поверка
10.4.5.1 Эталонные образцы
Эталонные образцы для проведения электромагнитной дефектоскопии используются для определения общих показателей чувствительности; эталонные индикаторы, так же как и толщина стенок, не учитываются в этом случае. Поверхность эталонного образца должна соответствовать требованиям
10.4.3. Наружный диаметр эталонного образца должен равняться наружному диаметру проверяемой трубы. Эталонный образец может состоять из одного или нескольких эталонных индикаторов. Эталонные индикаторы - это отверстия диаметром 1,5 мм (1/16 дюйма), просверленные в стенке трубы. При наличии нескольких отверстий-индикаторов каждое из них должно располагаться независимо друг от друга. Эталонные образцы с несколькими отверстиями должны тестироваться в соответствии с
9.6.4.
10.4.5.2 Регулировка чувствительности детектора
Каждый эталонный образец должен быть протестирован на рабочей скорости для выработки образцового сигнала детектора. Для этого необходимо многократно пройти через щели эталонного индикатора. Оборудование должно быть настроено на получение показаний амплитуды, которая равняется или является больше 25% всего измерительного диапазона. Эта амплитуда должна легко определяться, несмотря на фоновые помехи каждого детектора. Все детекторы должны быть настроены на одинаковый сигнал, равный +/- 10% среднего показателя амплитуды. Нельзя использовать индикаторы измерительного диапазона, так как они мешают определению положительного отклонения.
10.4.5.3 Соотношение "сигнал-помеха"
Оборудование должно обеспечивать соотношение "шум-помеха" 3:1 (минимальное) для эталонных индикаторов.
10.4.5.4 Частота проведения поверок
Поверка электромагнитных дефектоскопов должна проводиться перед началом работ.
Периодическая поверка должна проводиться в следующих случаях:
a) перед началом каждого контроля и осмотра;
b) после контроля/осмотра или проведения непрерывных замеров 50 длин;
c) после каждого перерыва в электроснабжении;
d) перед каждым отказом работы оборудования в течение рабочего дня;
e) перед возобновлением работы после ремонта или смены отдельных частей оборудования, которые могут повлиять на производительность;
f) при замене индикатора, разъема или настройки подачи тока;
g) перед отключением оборудования в конце рабочего дня.
10.4.5.5 Поверка с выявлением недопустимых результатов
При проведении поверки эталонного образца все сигналы должны колебаться в пределах 20% эталонной амплитуды. Если периодическая поверка не соответствует данным требованиям, то все трубы, тестированные в период между поверкой с выявлением недопустимого результата и последней успешной поверкой, должны быть перепроверены.
10.4.6 Контроль и осмотр
10.4.6.1 Бурильная труба с передвижной головкой
При использовании дефектоскопов с передвижной головкой бурильные замки на обоих концах трубы должны амортизироваться ведущими индикаторами (при несоблюдении всех технических условий, перечисленных в
6.5 b). Устанавливают головку дефектоскопа на трубе снаружи от бурильного замка на расстоянии 0,91 м (3 фута) от ближайшего бурильного замка. Также устанавливают катушку над передвижной головкой. Проверяют заданное расстояние [0,91 м (3 фута)], продвигая головку к бурильному замку, пока она непосредственно не коснется бурильного замка. Поворачивают передвижную головку вокруг своей оси, возвращают катушку на свое прежнее место и аналогичным способом проверяют расстояние до дальнего бурильного замка.
10.4.6.2 Неподвижный узел
При наличии неподвижного узла необходимо пропустить все отрезки трубы через электромагнитные дефектоскопы.
10.4.6.3 Скорость
Если отклонения скорости от эталонных показателей более 10%, то необходимо перепроверить полученные результаты.
10.4.6.4 Определение критического уровня
Сигнальная амплитуда, для которой необходимо найти критический уровень, определяется в соответствии с эксплуатационными условиями. Она не должна превышать эталонные показатели. Показания сигнальной амплитуды, превышающие критический уровень, должны быть отмечены и маркированы на наружной поверхности оборудования. Проведите анализ всех маркировок в соответствии с
10.13.
10.4.6.5 Протокол осмотра
Должны осуществляться следующие процедуры: выявление дефектных показателей измерительных приборов и составление протоколов контроля/осмотра. Эти документы должны находиться в лаборатории не менее одного года.
Примечание - В большинстве случаев одного года хранения документов вполне достаточно. При необходимости более долгого хранения документов требуется направить запрос владельцу/оператору и лаборатории.
10.5 Тело трубы. Ультразвуковой поперечный контроль/осмотр всей длины трубы и измерение толщины стенок
10.5.1 Общие положения
В 10.5 перечислены требования к оборудованию и порядок проведения ультразвукового контроля всех тел бурильных труб и высаженных концов трубы. Этот контроль/осмотр проводится для выявления поперечных дефектов на внутренней и наружной поверхности трубы. Данный метод контроля/осмотра также отслеживает толщину стенок всех проверяемых поверхностей.
10.5.2 Оборудование
Ультразвуковые приборы должны быть эхоимпульсными с индикатором типа A. Увеличение коэффициента усиления не должно превышать 0,5 дБ. Оборудование должно быть оснащено как звуковым, так и визуальным сигналом тревоги. Приборы должны быть оборудованы ленточным самописцем или цифровой системой сбора и вывода данных, которая фиксирует и хранит информацию по результатам проведенного контроля. Система отображения данных показывает индивидуальную информацию с каждого преобразователя. Система отбраковки, при ее наличии, не должна использоваться, если она воздействует на линейность.
Должны использоваться преобразователи с частотой от 2,25 до 10 МГц.
Контактная смазка должна обеспечивать рабочий акустический контакт между лучами преобразователя и поверхностью трубы. Поверхность необходимо очистить от примесей, влияющих на точность измерений показания приборов. Ингибиторы коррозии, водоумягчители, глицерин, антифриз или увлажняющие вещества могут входить в состав контактной смазки при условии, что они не вредят поверхности труб. Также проводится текущая проверка рабочей акустической контактной смазки.
Отдельные звуковые лучи должны использоваться для выявления пересечений и определения толщины стенок. Сочетание вращательной и линейной скорости материала и/или сканирующего дефектоскопа должно полностью охватывать области, распространяющиеся на эффективную ширину луча преобразователя и расстояние между последовательными импульсами (плотность импульсов) каждого канала прибора. Вещество может быть частично/полностью погружено в воду или увлажнено для осуществления процесса сканирования. Контактная смазка должна обеспечивать рабочий акустический контакт между лучами преобразователя и поверхностью трубы. Лаборатория определяет эффективную ширину луча и плотность импульсов.
Звуковые пучки поперечных волн распространяются как минимум в одном продольном направлении. Они выявляют дефекты, расположенные перпендикулярно основной оси. Чувствительные системы должны обнаруживать, отображать и фиксировать поперечные и пространственные дефекты (трещины, вмятины).
Звуковые волны сжатия-расширения, распространяющиеся по материалу стандартным способом, должны замерять толщину стенок.
10.5.3 Подготовка поверхности
Все проверяемые поверхности бурильных труб необходимо очистить от рыхлых окалин, примесей, смазочных и других веществ, которые могут повлиять на точность измерений и анализ показателей дефектоскопа.
10.5.4 Калибровка
Ультразвуковые дефектоскопы должны быть откалиброваны в соответствии с
9.5.2.
Датчики и счетчики приборов, проверяющие покрытия оборудования (вальцовщиков, ротаторов), необходимо калибровать каждые 6 мес.
Дисплеи регуляторов усиления (дБ) должны калиброваться на линейность хотя бы один раз в 6 мес.
10.5.5 Эталонные образцы
Эталонные образцы для проведения периодического динамического контроля должны обладать достаточной длиной, одинаковым наружным диаметром и схожими с проверяемой трубой акустическими характеристиками.
На поверхности эталонных образцов должны находиться внутренние и наружные поперечные надрезы (метки). Эти надрезы (метки) должны соответствовать следующим требованиям:
- максимальная длина: 12,7 мм (0,5 дюйма);
- максимальная глубина: 5% толщины стенки;
- максимальная ширина: 1 мм (0,040 дюйма).
Воздействие надрезов (меток) на сигнальную амплитуду должно проверяться методом сравнения максимальной амплитуды обоих концов рефлектора. Амплитуда, зафиксированная на одном конце надреза, должна быть не меньше 79% (2 дБ) амплитуды другого конца.
Новые бурильные трубы должны производиться в соответствии с
[5] <*>. В соответствии с настоящим стандартом 5% надрезы (метки) на бурильных трубах делаются для своевременного выявления усталостных трещин (появляющихся во время износа оборудования). Проверки по 5% надрезам проводятся в соответствии с
[5] <*>.
--------------------------------
<*>
На территории Российской Федерации действует ГОСТ Р 54383-2011 (ИСО 1196:2008).
Надрезы (метки) должны находиться на расстоянии друг от друга. Показания каждого отрезка индивидуальны. Они должны отличаться от других погрешностей и торцевых эффектов.
Эталонный образец толщины стенки может быть как отдельным образцом, так и образцом, входящим в состав стандартного надреза (метки). Эталонный образец толщины стенки должен равняться не менее двух толщин.
Такая стандартная толщина позволяет регулировать показания приборов и приводить их в норму, в соответствии с толщинами стенок проверяемого материала. Эталонная толщина должна измеряться микрометром или откалиброванным ультразвуковым прибором.
В первом случае толщина должна равняться или быть более толщины проверяемой трубы. Во втором случае толщина должна составлять не менее 70% толщины проверяемой трубы. Счетчик измерительного прибора должен быть настроен на снятие показаний эталонной толщины, равной до 0,25 мм (0,010 дюйма) или 2% установленной толщины стенки, которая должна быть меньше.
10.5.6 Статическая поверка
Область действия дисплея индикатора типа A должна быть настроена как минимум на полуторный шаг.
Оборудование должно вырабатывать эталонную сигнальную амплитуду, составляющую не менее 60% всего измерительного диапазона преобразователя.
Сигнал, поступающий от каждого преобразователя, должен равняться 10% усредненного уровня сигнала (длины) всех преобразователей такой же направленности.
Критический уровень должен определяться в соответствии с лабораторной техникой эксплуатации эталонных образцов и не должен превышать 60% эталонного уровня. Внутренние и наружные впускные клапаны (поверхностные) должны пропускать все сигналы, которые поступают с внутренних и наружных поверхностей соответственно.
Регулятор усиления и критический уровень оборудования должны гарантировать минимальное соотношение "сигнал-помеха" (3:1).
10.5.7 Динамическая поверка
Во вращательных механизмах для повторения всех сигналов в пределах 2 дБ достаточно использовать одну спираль.
Динамическая поверка осуществляется для обеспечения стабильности работы оборудования посредством поверки эталонных образцов на рабочей скорости два раза подряд. Если амплитуда надреза (метки) при одном режиме работы равняется менее 79% (2 дБ) амплитуды другого режима работы (с таким же надрезом и расположением), то оборудование необходимо отрегулировать, а динамическую поверку повторить.
10.5.8 Контрольная поверка ультразвуковых дефектоскопов
10.5.8.1 Поверка ультразвуковых дефектоскопов должна проводиться перед началом работы.
Дополнительная контрольная поверка должна проводиться в следующих случаях:
a) перед началом каждой проверки;
b) один раз в 4 ч при непрерывной работе оборудования или после проверки 50 труб (зависит от того, что произойдет первым);
c) после перерыва в электроснабжении;
d) перед отключением оборудования в течение рабочего дня;
e) перед возобновлением работы после ремонта или замены отдельных элементов, влияющих на производительность оборудования;
f) при замене преобразователя, кабеля или при механической настройке преобразователя;
g) перед отключением оборудования в конце рабочего дня.
10.5.8.2 Параметры поверки при выявлении недопустимых результатов
Следующие параметры являются обязательной частью поверки при выявлении недопустимых результатов:
a) проводится контроль изменения эталонных показателей более чем на 2 дБ;
b) проводится поверка контрольных точек, если они сдвинулись более чем на 5% от первоначальных показателей.
Все области, протестированные в период между поверкой с выявлением недопустимого результата и последней успешной поверкой, должны быть протестированы.
10.5.9 Процедуры контроля/осмотра
Проверяют всю трубу, включая зоны контроля/осмотра между высаженными концами трубы. Приборы с одинаковыми поперечными детекторами должны сканировать последние 914,4 мм (36 дюймов) каждого конца преобразователя, расположенного на высаженном конце трубы и бурильного замка. Последовательность проведения контроля/осмотра разными дефектоскопами не определена. Однако каждый из них должен выполнить свою функцию, не принося ущерба другому оборудованию. Для определения более точного местоположения дефектов необходимо использовать дополнительное оборудование для усиления работы дефектоскопов.
Превышение показателей эталонной сигнальной амплитуды, выбранной в соответствии с
10.5.6, должно быть отмечено на наружной поверхности оборудования. Проведите оценку отмеченных показателей прибора в соответствии с
10.13.
Необходимо выявить дефектные показатели и проанализировать, задокументировать результаты контроля/осмотра. Эти документы должны храниться в лаборатории в течение как минимум одного года.
Примечание - В большинстве случаев одного года хранения документов вполне достаточно. При необходимости более долгого хранения документов требуется направить запрос владельцу/оператору и лаборатории.
10.6 Тело трубы. Ультразвуковой продольный и поперечный осмотр всей длины трубы и измерение толщины ее стенок
10.6.1 Общие положения
В
10.6 описываются требования к оборудованию и процедуры, необходимые для осуществления ультразвукового контроля всех тел бурильных труб (от одного высаженного конца трубы до другого). Этот контроль/осмотр должен выявлять продольные и поперечные дефекты внутренней и наружной поверхности трубы. Также необходимо определить толщину стенок всех проверяемых поверхностей.
10.6.2 Оборудование
Ультразвуковые приборы должны быть эхоимпульсными с индикатором типа A. Увеличение коэффициента усиления не должно превышать 0,5 дБ. Оборудование должно быть оснащено как звуковым, так и визуальным сигналом тревоги. Приборы должны быть оборудованы ленточным самописцем или цифровой системой сбора и вывода данных, которая фиксирует и хранит информацию по результатам проведенного контроля. Система отображения данных показывает индивидуальную информацию с каждого преобразователя. Система отбраковки, при ее наличии, не должна использоваться, если она воздействует на линейность.
Должны использоваться преобразователи с частотой от 2,25 до 10 МГц.
Контактная смазка должна обеспечивать рабочий акустический контакт между лучами преобразователя и поверхностью трубы. Поверхность необходимо очистить от примесей, влияющих на точность измерений показания приборов. Ингибиторы коррозии, водоумягчители, глицерин, антифриз или увлажняющие вещества могут входить в состав контактной смазки при условии, что они не вредят поверхности труб. Также проводится текущая проверка рабочей акустической контактной смазки.
Определенные звуковые лучи должны использоваться для выявления продольных и поперечных дефектов и измерения толщины стенок. Сочетание вращательной и линейной скорости материала и/или сканирующего дефектоскопа должно полностью охватывать области, распространяющиеся на эффективную ширину луча преобразователя и расстояние между последовательными импульсами (плотность импульсов) каждого канала прибора. Вещество может быть частично/полностью погружено в воду или увлажнено для осуществления процесса сканирования. Контактная смазка должна обеспечивать рабочий акустический контакт между лучами преобразователя и поверхностью трубы. Лаборатория определяет эффективную ширину луча и плотность импульсов.
10.6.3 Контроль/осмотр
10.6.3.1 Контроль/осмотр продольных дефектов
Звуковые пучки поперечных волн направляются преобразователями (два и более) по часовой стрелке и против часовой. Благодаря высокочувствительному оборудованию можно обнаруживать и фиксировать дефекты, параллельные основной оси (швы, нахлесты и трещины).
Контролируемый угол отражения поперечных волн должен совпадать с местом пересечения с внутренней поверхностью материала.
10.6.3.2 Контроль/осмотр поперечных дефектов
Звуковые пучки поперечных волн распространяются в продольном направлении для обнаружения дефектов, которые поперечны основной оси. Благодаря высокочувствительному оборудованию можно обнаружить и зафиксировать поперечные и пространственные дефекты (трещины и вмятины).
10.6.3.3 Контроль/осмотр толщины стенки
Волна сжатия-расширения, направленная на поверхность материала, используется для измерения толщины стенок.
10.6.4 Подготовка поверхности
Все поверхности бурильных труб необходимо очистить от рыхлых окалин, примесей, смазочных и других веществ, которые могут повлиять на точность и показания дефектоскопа.
10.6.5 Калибровка
Ультразвуковые дефектоскопы должны быть откалиброваны в соответствии с
9.5.2.
Датчики и счетчики приборов, проверяющие покрытия оборудования (вальцовщиков, ротаторов), необходимо калибровать каждые 6 мес.
Дисплеи регуляторов усиления (дБ) должны калиброваться на линейность хотя бы один раз в 6 мес.
10.6.6 Эталонные образцы
Эталонные образцы для проведения периодического динамического контроля должны обладать достаточной длиной, одинаковым наружным диаметром и схожими с проверяемой трубой акустическими характеристиками.
На поверхности эталонных образцов должны находиться внутренние и наружные поперечные надрезы (метки). Эти надрезы (метки) должны соответствовать следующим требованиям:
- максимальная длина: 12,7 мм (0,5 дюйма);
- максимальная глубина: 5% толщины стенки;
- максимальная ширина: 1 мм (0,040 дюйма).
Воздействие надрезов (меток) на сигнальную амплитуду должно проверяться методом сравнения максимальной амплитуды обоих концов рефлектора. Амплитуда, зафиксированная на одном конце надреза, должна быть не меньше 79% (2 дБ) амплитуды другого конца.
Новые бурильные трубы должны производиться в соответствии с
[5] <*>. В соответствии с настоящим стандартом 5% надрезы (метки) на бурильных трубах делаются для своевременного выявления усталостных трещин (появляющихся во время износа оборудования). Проверки по 5% надрезам проводятся в соответствии с
[5] <*>.
--------------------------------
<*>
На территории Российской Федерации действует ГОСТ Р 54383-2011 (ИСО 1196:2008).
Надрезы (метки) должны находиться на расстоянии друг от друга. Показания каждого отрезка индивидуальны. Они должны отличаться от других погрешностей и торцевых эффектов.
Эталонный образец толщины стенки может быть как отдельным образцом, так и образцом, входящим в состав стандартного надреза (метки). Эталонный образец толщины стенки должен равняться не меньше двух толщин.
Такая стандартная толщина позволяет регулировать показания приборов и приводить их в норму, в соответствии с толщинами стенок проверяемого материала. Эталонная толщина должна измеряться микрометром или откалиброванным ультразвуковым прибором. В первом случае толщина должна равняться или быть больше толщины проверяемой трубы. Во втором случае толщина должна составлять не менее 70% толщины проверяемой трубы. Счетчик измерительного прибора должен быть настроен на снятие показаний эталонной толщины, равной до 0,25 мм (0,010 дюйма) или 2% установленной толщины стенки, которая должна быть меньше.
10.6.7 Статическая поверка
Область действия дисплея индикатора типа A должна быть настроена как минимум на полуторный шаг. Оборудование должно вырабатывать эталонную сигнальную амплитуду, составляющую не менее 60% всего измерительного диапазона преобразователя. Сигнал, поступающий от каждого преобразователя, должен равняться 10% усредненного уровня сигнала (длины) всех преобразователей такой же направленности. Регулятор усиления и критический уровень оборудования должны гарантировать минимальное соотношение "сигнал-помеха" (3:1).
10.6.8 Динамическая поверка
10.6.8.1 Общие положения
Во вращательных механизмах для повторения всех сигналов в пределах 2 дБ достаточно использовать одну спираль.
Динамическая поверка осуществляется для обеспечения стабильности работы оборудования посредством поверки эталонных образцов на рабочей скорости два раза подряд. Если амплитуда надреза (метки) при одном режиме работы равняется менее 79% (2 дБ) амплитуды другого режима работы (с таким же надрезом и расположением), то оборудование необходимо отрегулировать, а динамическую поверку повторить.
10.6.8.2 Контрольная поверка ультразвуковых дефектоскопов
Поверка ультразвуковых дефектоскопов должна проводиться перед началом работы.
Дополнительная контрольная поверка должна проводиться в следующих случаях:
a) перед началом каждой поверки;
b) один раз в 4 ч при непрерывной работе оборудования или после проверки 50 труб (зависит от того, что произойдет первым);
c) после перерыва в электроснабжении;
d) перед отключением оборудования в течение рабочего дня;
e) перед возобновлением работы после ремонта или замены отдельных элементов, влияющих на производительность оборудования;
f) при замене преобразователя, кабеля или при механической настройке преобразователя;
g) перед отключением оборудования в конце рабочего дня.
10.6.8.3 Параметры поверки при выявлении недопустимых результатов
Следующие параметры являются обязательной частью поверки при выявлении недопустимых результатов:
a) проводится контроль изменения эталонных показателей более чем на 2 дБ;
b) проводится поверка контрольных точек, если они сдвинулись более чем на 5% от первоначальных показателей.
Все области, протестированные в период между поверкой с выявлением недопустимого результата и последней успешной поверкой, должны быть протестированы.
10.6.9 Проведение поверки
Проверяют всю трубу, включая зоны контроля/осмотра между высаженными концами трубы. Последовательность проведения контроля/осмотра разными дефектоскопами не определена. Однако каждый из них должен выполнить свою функцию, не принося ущерба другому оборудованию. Для определения более точного местоположения дефектов необходимо использовать дополнительное оборудование для усиления работы дефектоскопов.
Превышение показателей эталонной сигнальной амплитуды, выбранной в соответствии с
10.5.6, должно быть отмечено на наружной поверхности оборудования. Проводят оценку отмеченных показателей прибора в соответствии с
10.13.
Для определения более точного местоположения дефектов допускается использование дополнительного сканирующего оборудования.
Необходимо снимать показания приборов, определяющие дефекты, и записывать эти показания для дальнейшего анализа. Эти документы должны храниться в лаборатории в течение как минимум одного года.
Примечание - В большинстве случаев одного года хранения документов вполне достаточно. При необходимости более долгого хранения документов требуется направить запрос владельцу/оператору и лаборатории.
10.7 Тело бурильной трубы. Наружная магнитнопорошковая дефектоскопия критических областей
10.7.1 Общие положения
В
10.7 представлены требования к оборудованию, описания и методы проведения сухой магнитнопорошковой дефектоскопии наружной поверхности критической области бурильных труб. Влажный магнитный порошок или белые и черные (фоновые) частицы могут быть заменены на сухой магнитный порошок. Эта проверка проводится для выявления поперечных трещин на наружной поверхности диаметра трубы. Данная проверка проводится и для толстостенных бурильных труб, частей бурильной штанги КНБК, для контроля отдельных частей трубы или при полноразмерной проверке оборудования.
В соответствии с настоящим стандартом критическая область - это зона от основания конического заплечика бурильного замка до плоскости, расположенной на расстоянии 660,4 мм (26 дюймов) или до вмятины, образованной клиньями, в зависимости от того, что больше. Это показано на
рисунке 4. У толстостенных бурильных труб обычно проверяется расстояние, отсчитанное с каждой стороны изношенной накладки. Оно должно равняться 457,2 мм (18 дюймов).
10.7.2 Оборудование
10.7.2.1 Продольное поле
Для данной проверки используются магнитные клещи или катушка, работающие на переменном или постоянном токе (однополупериодном переменном токе, двухполупериодном переменном токе, фильтрованном однополупериодном токе или пульсирующем постоянном токе). На катушке должна быть маркировка количества витков.
10.7.2.2 Магнитный порошок (сухой способ)
Магнитный порошок (сухой способ) должен соответствовать требованиям
9.4.8.2. Необходимо использовать порошковый термопатрон для выявления магнитных частиц в рассеянном свете.
10.7.2.3 Магнитный порошок (влажный способ)
а) Флуоресцентная дефектоскопия
Флуоресцентный магнитный порошок, соответствующий требованиям
9.4.8.3, может использоваться в качестве альтернативы. При флуоресцентной дефектоскопии необходимо следующее оборудование: источник ультрафиолетового света, флуоресцентный магнитный порошок, центрифужная пробирка объемом 100 мл (со шкалой 0,05 мл) и ультрафиолетовый люксметр. Если порошок находится в аэрозольном виде, то наличие центрифужной пробирки необязательно.
б) Белый и черный фоновые магнитные порошки
Аэрозоли белого и черного (фонового) магнитных порошков, использующиеся во время контроля оборудования (влажным способом), должны быть одного изготовителя или быть совместимыми в соответствии с требованиями изготовителя.
10.7.3 Освещение
Освещение проверяемых поверхностей при визуальном контроле/осмотре и магнитнопорошковой дефектоскопии при определенном освещении должно соответствовать требованиям
9.3.2.
Освещение поверхностей при флуоресцентной магнитнопорошковой дефектоскопии должно соответствовать требованиям
9.4.8.5.
10.7.4 Подготовка поверхности
Проверяемые области должны быть очищены от смазки, резьбового герметика, примесей и других инородных веществ, которые негативно воздействуют на подвижные части оборудования и показания измерительных приборов. При магнитнопорошковой дефектоскопии (сухой способ) все проверяемые поверхности должны быть сухими.
10.7.5 Калибровка
Калибровка оборудования проводится в соответствии с
разделом 9.
10.7.6 Поверка
10.7.6.1 Катушка постоянного тока
Выбирают трубу из бурильной колонны для проведения контроля/осмотра. Располагают катушку на трубе так, чтобы осевая линия находилась примерно на расстоянии 304,8 мм (12 дюймов) от конического упорного заплечика. Подают напряжение к катушке для образования остаточного продольного магнитного поля. При помощи остаточного продольного поля воздействуют магнитными частицами на обе стороны катушки. Проверяют наличие скопления (накипи) магнитных частиц по краю тестируемой области, равной 304,8 мм (12 дюймов), с обеих сторон катушки. Если магнитнопорошковое скопление отсутствует, то необходимо увеличить силу магнитного поля и повторно воздействовать магнитными частицами. Если магнитнопорошковое скопление появилось, необходимо перевернуть катушку и немного уменьшить подачу тока. Повторяют данные действия, пока не появится большое магнитнопорошковое скопление на тестируемой области. Надо отметить, что для создания магнитного поля необходима амперная нагрузка, которая определяет уровень магнитного поля.
Для магнитнопорошковой дефектоскопии (мокрый способ) магнитные частицы двигаются на расстоянии 304,8 мм (12 дюймов) от обеих сторон катушки. Если магнитные частицы продолжают двигаться не более 10 с, необходимо увеличить мощность магнитного поля и повторить все действия. Если магнитные частицы зависают в постоянном положении в течение не менее 6 с, переворачивают катушку и уменьшают подачу тока. Продолжают, пока подвижность магнитных частиц не увеличится с 6 до 10 с. Надо отметить, что для создания магнитного поля необходима амперная нагрузка, которая определяет уровень магнитного поля.
Примечание - Избыточные ампер-витки (неиндуктивные) могут синтезировать осадок сухих магнитных частиц, который образуется на наружной поверхности. Это, в свою очередь, может стать причиной изменения показаний прибора. Избыточные ампер-витки (неиндуктивные) могут стать причиной неподвижности влажных частиц, что приведет к увеличению фонового шума и снижению точности показаний.
10.7.6.2 Катушка переменного тока
Выбирают трубу из бурильной колонны для проверки. Располагают катушку на трубе так, чтобы осевая линия находилась примерно на расстоянии 304,8 мм (12 дюймов) от конического упорного заплечика. Подают напряжение к катушке и воздействуют магнитными частицами на обе ее стороны. Оценивают, на какое расстояние частицы приблизятся к магнитному полю [от 76,2 мм (3 дюйма) до 101,6 мм (4 дюйма)]. Это расстояние называется зоной контроля/осмотра.
10.7.7.1 Этапы проведения контроля/осмотра
В
10.7.7 перечислены минимальные требования для проведения контроля/осмотра. Они могут колебаться в зависимости от состояния бурильной трубы и других параметров, согласованных между владельцем и лабораторией.
Этапы проведения контроля/осмотра:
a) необходимо проверить критическую область на наличие визуально обнаруживаемых дефектов;
b) необходимо установить катушку на первую тестируемую область;
c) для катушки (постоянного тока) максимальная зона охвата равняется 304,6 мм (12 дюймов), отсчитанных с обеих сторон осевой линии;
d) для катушки (переменного тока) расстояние, указанное в
10.7.6.2, является максимальной областью контроля/осмотра;
e) для проверки всех критических областей необходимо установить несколько катушек.
10.7.7.2 Катушка постоянного тока
Необходимо подать напряжение к катушке (в течение минимум 1 с), равное текущему уровню магнитного поля, зафиксированного во время поверки.
Этапы проведения контроля/осмотра:
a) необходимо отключить катушку;
b) убирают катушку; проводят магнитнопорошковую дефектоскопию, учитывая всю зону контроля/осмотра [304,8 мм (12 дюймов) с каждой стороны осевой линии катушки] трубы; уделяют внимание разрезам, зарезам, трещинам, точечной коррозии и/или зарубинам на клиновой плашке;
c) повторяют первую процедуру, на этот раз включая зону охвата вокруг трубы, равную 50,8 мм (2 дюйма);
d) необходимо удалить магнитный порошок после окончания поверки.
10.7.7.3 Катушка переменного тока
Устанавливают катушку переменного тока на проверяемую поверхность и подают напряжение.
Этапы проведения контроля/осмотра:
a) необходимо подать ток и провести проверку трубы, включая зону охвата вокруг трубы, область, прилегающую к высаженному ее концу, разрезы, трещины, зарезы, точечную коррозию и/или зарубины на клиновой плашке;
b) необходимо повторить первую процедуру, на этот раз включая зону охвата вокруг трубы, равную 25,4 мм (1 дюйм);
c) необходимо удалить магнитный порошок после окончания поверки.
10.7.8 Анализ и оценка
Необходимо проанализировать все дефекты в соответствии с
10.13.
10.8 Тело бурильной трубы. Двунаправленная наружная магнитнопорошковая дефектоскопия критической области
10.8.1 Общие положения
В
10.7 представлены требования к оборудованию, описания и методы проведения сухой магнитнопорошковой проверки наружной поверхности критической области бурильных труб. Влажный магнитный порошок или белые и черные (фоновые) частицы могут быть заменены на сухой магнитный порошок. Эта проверка проводится для выявления поперечных трещин на наружной поверхности диаметра трубы. Данная проверка проводится и для толстостенных бурильных труб, частей бурильной штанги КНБК, для контроля отдельных частей трубы или при полноразмерной проверке оборудования. У толстостенных бурильных труб обычно проверяется расстояние, отсчитанное с каждой стороны изношенной накладки. Оно должно равняться 457,2 мм (18 дюймов).
В соответствии с настоящим стандартом критическая область - это зона от основания конического заплечика бурильного замка до плоскости, расположенной на расстоянии 660,4 мм (26 дюймов) или до вмятины, образованной от клиньев, в зависимости от того, что больше. Это показано на
рисунке 4.
1 - отрезок критической зоны, равный 660,4 мм (26 дюймов);
2 - от основания конического упорного заплечика бурильного
замка или до основания вмятины от клиньев, какая из них
больше; 3 - изнашивание высаженного конца трубы
Рисунок 4 - Ультразвуковой краевой осмотр. Эффективная длина
10.8.2 Оборудование
10.8.2.1 Продольное поле
Для данной проверки используются магнитные клещи или катушка, работающие на переменном или постоянном токе (однополупериодном переменном токе, двухполупериодном переменном токе, фильтрованном однополупериодном токе или пульсирующем постоянном токе). На катушке должна быть маркировка количества витков.
10.8.2.2 Поперечное/круговое поле
Может использоваться следующее оборудование: магнитные клещи, работающие на переменном токе, или внутренний проводник. Подача тока к внутреннему проводнику может быть осуществлена при помощи источника питания постоянного тока, трехфазового направленного переменного тока или разряда конденсатора. Источник питания должен соответствовать требованиям амперной нагрузки [
таблица C.2,
таблица D.2 (приложение C, приложение D)]. В
таблице C.4 (таблице D.4) указана номинальная линейная масса [масса на метр (фут)] труб разных размеров.
10.8.2.3 Магнитный порошок (влажный способ)
Флуоресцентный магнитный порошок, соответствующий требованиям
9.4.8.3, может использоваться в качестве альтернативы. При флуоресцентной дефектоскопии необходимо следующее оборудование: источник ультрафиолетового света, флуоресцентный магнитный порошок, центрифужная пробирка объемом 100 мл (со шкалой 0,05 мл) и ультрафиолетовый люксметр. Если порошок находится в аэрозольном виде, то наличие центрифужной пробирки необязательно.
а) Белый и черный магнитные порошки
Аэрозоли белого и черного (фонового) магнитных порошков, использующиеся во время контроля оборудования (влажным способом), должны быть одного изготовителя или быть совместимыми в соответствии с требованиями изготовителя.
10.8.3 Освещение
Освещение проверяемых поверхностей при визуальном контроле/осмотре и магнитнопорошковой дефектоскопии при определенном освещении должно соответствовать требованиям
9.3.2.
Освещение поверхностей при флуоресцентной магнитнопорошковой дефектоскопии должно соответствовать требованиям
9.4.8.5.
10.8.4 Подготовка поверхности
Проверяемые области должны быть очищены от смазки, резьбового герметика, примесей и других инородных веществ, которые негативно воздействуют на подвижные части оборудования, увлажнение поверхности частиц и показания измерительных приборов.
Поверхностное покрытие (краска), а также белое покрытие (при наличии белых и черных магнитных порошков) должны быть гладкими. Его толщина не должна превышать 0,05 мм (0,002 дюйма).
10.8.5 Калибровка
Калибровка оборудования проводится в соответствии с
разделом 9.
10.8.6 Поверка
10.8.6.1 Катушка постоянного тока
Выбирают трубу из бурильной колонны для проведения контроля/осмотра. Располагают катушку на трубе так, чтобы осевая линия находилась примерно на расстоянии 304,8 мм (12 дюймов) от конического упорного заплечика. Подают напряжение к катушке для образования остаточного продольного магнитного поля. Если магнитные частицы продолжают двигаться не более 10 с, необходимо увеличить мощность магнитного поля и повторить все действия. Если магнитные частицы зависают в постоянном положении в течение не менее 6 с, переворачивают катушку и уменьшают подачу тока. Продолжают, пока подвижность магнитных частиц не увеличится с 6 до 10 с. Следует отметить, что для создания магнитного поля необходима амперная нагрузка, которая определяет уровень магнитного поля.
Примечание - Избыточные ампер-витки (неиндуктивные) могут стать причиной неподвижности влажных частиц, что приведет к увеличению фонового шума и снижению точности показаний.
10.8.6.2 Катушка переменного тока
Выбирают трубу из бурильной колонны для проверки. Располагают катушку на трубе так, чтобы осевая линия находилась примерно на расстоянии 304,8 мм (12 дюймов) от конического упорного заплечика. Подают напряжение к катушке и воздействуют магнитными частицами на обе ее стороны. Оценивают, на какое расстояние частицы приблизятся к магнитному полю [от 76,2 мм (3 дюйма) до 101,6 мм (4 дюйма)]. Это расстояние называют зоной контроля/осмотра.
10.8.6.3 Магнитные клещи, работающие на переменном токе
Выбирают трубу для проверки и прикладывают к ее поверхности ножки магнитных клещей для максимизации контакта.
10.8.6.4 Намагничивающая штанга
Намагничивающая штанга должна быть полностью изолирована от трубы. Необходимо выполнить требования
таблиц C.2 и
D.2 (приложения C, D) касательно источника тока. Ток, в соответствии с этими таблицами, является уровнем магнитного поля, которое используется при продольной проверке.
10.8.7 Контроль/осмотр
10.8.7.1 Визуальный контроль/осмотр
Необходимо проверить критическую область на наличие визуально обнаруживаемых дефектов.
10.8.7.2 Флуоресцентный метод
а) Общие положения
Проверяемая область должна тестироваться продольным и поперечным/круговым магнитным полем в соответствии с
10.8.7.2.б),
10.8.7.2.в),
10.8.7.2.г). Данная проверка должна проводиться в затемненном помещении (максимальный видимый свет - 21,5 люкс). Чтобы глаза оператора адаптировались к темноте, до начала проверки ему надо побыть в темноте, как минимум минуту. Затемненные или фотохромные линзы запрещено использовать при проведении проверки.
На проверяемую критическую область бурильной трубы, находящуюся в затемненном помещении, необходимо установить магнитные клещи (поперек наружного диаметра трубы на расстоянии 12,7 мм (0,5 дюйма) от конического заплечика. Подают напряжение на магнитные клещи и, не прекращая подачу тока, распыляют магнитные частицы или направляют их потоком сквозь трубу к намагниченной области. Фиксируют показания индикатора в течение 3 с, а затем, продолжая подавать электрический ток, снова осматривают критическую область с помощью ультрафиолетового света.
Если зафиксировать показания дефектоскопа не удается, то перемещают магнитные клещи (возможна нахлестка), а затем повторяют все вышеуказанные действия. Продолжают тестировать критическую область, пока она полностью не будет исследована на наличие продольных дефектов.
Помещают ножки магнитных клещей продольно трубе. Проверяют всю критическую область, выполнив все действия, указанные выше. Распыляют магнитные частицы или направляют их потоком сквозь трубу к намагниченной области. Фиксируют показания индикатора в течение 3 с, а затем снова осматривают критическую область с помощью ультрафиолетового света. Продолжают эти действия, пока вся критическая зона не будет проверена на наличие поперечных дефектов.
На проверяемую критическую область бурильной трубы, находящуюся в затемненном помещении, необходимо установить катушку [на наружном диаметре трубы на расстоянии 30,8 мм (12 дюймов) от бурильного замка с коническим заплечиком]. Намагничивают критическую зону и распыляют магнитные частицы или направляют их потоком сквозь трубу к намагниченной области. Фиксируют показания индикатора в течение 3 с, а затем осматривают критическую область с помощью ультрафиолетового света.
Для проведения кольцевой проверки необходимо вращать трубу и продвигать катушку вдоль всей ее длины, пока все критические области, расположенные на наружном диаметре, не будут протестированы на наличие поперечных дефектов [нахлест зон должен быть минимальным; он должен равняться 25,4 мм (1 дюйм)].
г) Намагничивающая штанга
Намагничивают трубу. Помещают бурильный замок в затемненном помещении, а затем распыляют магнитные частицы или направляют их потоком по всей длине критической области. Фиксируют показания индикатора в течение 3 с, а затем осматривают критическую область ультрафиолетовым светом на наличие продольных дефектов.
Вращают бурильный замок. Поочередно проверяют все области, пока все критические области, расположенные на наружном диаметре, не будут протестированы.
10.8.7.3 Метод контроля/осмотра белым и черным магнитными порошками (мокрый способ)
Проверяемая область должна тестироваться продольным и поперечным круговым магнитным полем в соответствии с
10.8.7.2.б),
10.8.7.2.в),
10.8.7.2.г). Данная проверка должна проводиться в светлом помещении (минимальный видимый свет - 538 люкс). Использовать затемненные или фотохромные линзы при проведении проверки не допускается.
При ярком свете не допускается использовать белое резко контрастирующее покрытие всей критической области наружного диаметра трубы. При работе (до завершения дефектоскопии) не повреждают первоначальное покрытие критической области.
| | ИС МЕГАНОРМ: примечание. Обозначения пунктов даны в соответствии с официальным текстом документа. | |
б) Магнитные клещи
На проверяемую критическую область бурильной трубы, находящуюся в светлом помещении, необходимо установить магнитные клещи [поперек наружного диаметра трубы на расстоянии 12,7 мм (0,5 дюйма) от конического заплечика]. Подают напряжение на магнитные клещи и, не прекращая подачу тока, распыляют магнитные частицы или направляют их потоком сквозь трубу к намагниченной области. Фиксируют показания индикатора в течение 3 с, а затем, продолжая подавать электрический ток, снова осматривают критическую область с помощью ультрафиолетового света.
Если зафиксировать показания дефектоскопа не удается, то перемещают магнитные клещи (возможна нахлестка), а затем повторяют все вышеуказанные действия. Продолжают тестировать критическую область, пока она полностью не будет исследована на наличие продольных дефектов.
Помещают ножки магнитных клещей продольно трубе. Проверяют всю критическую область, выполнив все действия, указанные выше.
в) Катушка
На проверяемую, освещенную критическую область бурильной трубы необходимо установить катушку [на наружном диаметре трубы на расстоянии 304,8 мм (12 дюймов) от бурильного замка с коническим заплечиком]. Намагничивают критическую зону и распыляют магнитные частицы или направляют их потоком сквозь трубу к намагниченной области. Фиксируют показания индикатора в течение 3 с, а затем осматривают область на наличие поперечных дефектов.
Вращают бурильный замок, поочередно осматривая все критические области, расположенные на наружном диаметре.
г) Намагничивающая штанга
Намагничивают трубу. Помещают трубу в достаточно освещенное помещение, а затем распыляют магнитные частицы или направляют их потоком по всей длине намагниченной области. Фиксируют показания индикатора в течение 3 с, а затем осматривают критическую область на наличие продольных дефектов.
Вращают трубу. Поочередно проверяют все области, пока все критические зоны, расположенные на наружном диаметре, не будут протестированы.
д) Последующий контроль/осмотр
После завершения проверки не следует оставлять на поверхности трубы магнитный порошок или очищающие вещества. Заказчик/пользователь устанавливает требования по удалению с поверхности проверяемой области белых и черных магнитных частиц.
10.8.8 Анализ и оценка
Проводят анализ и оценку всех дефектов в соответствии с
10.13.
10.9 Тело трубы. Полный контроль/осмотр остаточной толщины стенок
10.9.1 Общие положения
В
10.9 описываются два метода контроля/осмотра остаточной толщины стенок трубы: гамма-лучевое оборудование или датчик магнитного поля эффекта Холла. С помощью данных методов толщина стенок не измеряется. Они используются для измерения изменений толщины стенок. И гамма-лучевое оборудование, и датчик магнитного поля эффекта Холла определяют критические области. При необходимости эти методы могут являться неотъемлемой частью электромагнитного контроля/осмотра. Поэтому они не используются в качестве отдельного вида контроля/осмотра.
10.9.2 Применение
Классификация основана на минимальной допустимой остаточной толщине стенок. Полный контроль/осмотр остаточной толщины стенок при необходимости может быть задокументирован.
10.9.3 Оборудование и материалы
10.9.3.1 Гамма-лучевое оборудование
Оборудование состоит из гамма-лучевого излучателя, датчика и индикаторной панели. Оперативный контроль и проверка осуществляются по винтовой траектории вдоль всей длины. Охват поверхности менее 100%. Скорость вращения трубы и излучателя и размер радиационного пучка определяют зону распространения гамма-лучей.
10.9.3.2 Оборудование эффекта Холла
Оборудование состоит из датчиков эффекта Холла, расположенных между внутренней стороной намагниченной катушки и наружной поверхностью трубы. Охват поверхности может быть менее 100%. Он зависит от количества, направления и расположения датчиков. Датчики Холла показывают изменение плотности магнитного потока, вызванное истончением большого количества стенок, и/или в рассеянии магнитного потока, вызванное разрывом стенок тела трубы.
Значительные изменения толщины стенок (износ наружного диаметра) приводят к изменению плотности магнитного потока. Изменение плотности потока распространяется по всей длине трубы, даже если истончение стенки было зарегистрировано только в одном месте. Невозможно определить отдельный отрезок трубы с истонченными стенками.
Области локального истончения стенок (точечная коррозия/эрозия) могут стать причиной локального рассеяния магнитного потока. Локальное рассеяние магнитного потока (отклонение от нормы) может использоваться для определения конкретного отрезка трубы из всей ее длины.
10.9.3.3 Эталонные образцы
Для гамма-лучевого оборудования используется стальной эталонный образец с двумя известными толщинами стенок. Его наружный диаметр и толщина стенок должны равняться соответствующим величинам проверяемой трубы.
Для оборудования эффекта Холла используется стальной эталонный образец с одинаковыми величинами наружных диаметров. У эталонного образца стенки должны быть уменьшены примерно на 5% стандартной толщины (гладкий, пологий скос между сужающейся стенкой и номинальным наружным диаметром, моделирующим износ диаметра).
10.9.4 Калибровка
Индикаторная панель гамма-лучевого оборудования, считывающая вращательную и линейную скорости дефектоскопа, при охвате зоны контроля должна быть откалибрована в соответствии с
9.6.3.
10.9.5 Поверка
10.9.5.1 Гамма-излучение
Поверка гамма-лучевого оборудования должна осуществляться в соответствии со следующим:
a) усилитель оборудования должен быть настроен так, что считываемые показатели соответствуют по величине двум известным толщинам стенок эталонного образца;
b) усилитель оборудования должен быть настроен так, что считываемые показатели соответствуют по величине измеренной толщине стенки периферического звена эталонного образца (наружный диаметр и толщина стенок которого равняются соответствующим параметрам проверяемой трубы);
c) минимальная и максимальная толщина периферического звена определяется микрометром или ультразвуковым дефектоскопом. Индикаторная панель оборудования, измеряющего толщину стенок, должна быть проверена в соответствии с заданным масштабом. Минимальная толщина, указанная на индикаторной панели, должна колебаться в пределах +/- 0,25 мм (+/- 0,010 дюйма) от минимальной толщины эталонного образца. Максимальная толщина должна фиксироваться на индикаторной панели.
10.9.5.2 Эффект Холла
Оборудование, работающее на эффекте Холла, определяет уменьшения толщины стенок, оценивает их и анализирует с помощью ультразвукового дефектоскопа. Поверка не является количественной характеристикой. Эталонный образец с уменьшенной стенкой (показывает износ наружного диаметра) используется для обнаружения фактических истонченных стенок. Отрезок трубы эталонного образца должен пройти через датчик стены. При проверке эталонных образцов на толщину стенок все показания приборов должны быть в пределах 20% эталонной амплитуды.
10.9.5.3 Частота проведения поверки
Поверка должна проводиться перед началом каждой работы. Дополнительная поверка проводится в следующих случаях:
a) перед началом каждого контроля/осмотра;
b) после измерения или контроля/осмотра 50 длин труб, в зависимости от того, что произойдет первым;
c) после каждого перерыва в электроснабжении;
d) перед отключением оборудования во время рабочего дня;
e) перед возобновлением работы после ремонта или замены деталей оборудования, которые могут повлиять на производительность;
f) при замене преобразователя, кабеля или при осуществлении механической настройки преобразователя;
g) перед отключением оборудования в конце работы.
10.9.5.4 Поверка с выявлением недопустимых результатов
При каждой поверке эталонного образца все сигналы должны находиться в пределах 20% эталонной амплитуды. Если периодические поверки не соответствуют этому требованию, то трубы, проверенные в период между поверкой с выявлением недопустимого результата и последней успешной поверкой, должны быть перепроверены.
10.9.6 Контроль/осмотр
Каждый отрезок трубы должен быть проверен в соответствии с
10.4. Критический уровень показателей устанавливается в соответствии с эксплуатационной техникой лаборатории.
Для соблюдения требований
10.3 для оборудования эффекта Холла показатели толщины стенок должны быть рассчитаны для всех областей, где были зафиксированы значительные отклонения от нормы.
10.9.7 Анализ и оценка
Поверхность труб в областях с предполагаемым уменьшением толщины стенок должна быть маркирована стираемым маркером. Анализируют и оценивают все отмеченные области в соответствии с
10.13.
10.10 Тело трубы. Ультразвуковой контроль/осмотр критической области
В
10.10 перечислены требования к оборудованию и процедуры, используемые при ультразвуковом контроле критической области, расположенной на теле бурильной трубы. Данная проверка используется для выявления поперечных трещин на внутренней и наружной поверхностях бурильной трубы. Оборудование, используемое при этой проверке, определяет толщину стенки трубы, поэтому оно не обследует зоны швов и места сварки. Этот вид контроля/осмотра также используется для толстостенных бурильных труб.
Критическая область - зона от основания конического заплечика бурильного замка до плоской поверхности, расположенной на расстоянии 660,4 мм (26 дюймов) или до основания вмятины, образованной клиньями, в зависимости от того, что больше, как показано на
рисунке 4. У толстостенных бурильных труб проверяется область, равная 457,2 мм (18 дюймов), от каждой стороны центральной изношенной накладки.
Необходимо использовать ультразвуковые эхоимпульсные приборы с индикатором типа A. Мощность регуляторов не должна превышать 0,5 дБ. Оборудование должно быть оснащено звуковым и визуальным сигналом тревоги. При осуществлении поверки автоматическим оборудованием (без ручной настройки) одноэлементный преобразователь является фиксатором результатов поверки и показаний других приборов, являющихся частью контролирующего оборудования. Использовать выбраковку запрещено. Частота передатчиков должна колебаться от 2,25 до 10 мГц. Режущие клинья или другие поворотные (угловые) преобразователи должны использоваться для создания поперечных волн на поверхности проверяемого материала.
Примечание - Угол преломления обычно равняется 45°.
Жидкая контактная смазка обычно используется для увлажнения поверхности трубы и обеспечения прохождения сигнала преобразователя на поверхность трубы. Поверхность необходимо очистить от примесей, влияющих на точность и анализ показаний приборов. Ингибиторы коррозии, водоумягчители, антифриз или увлажняющие вещества могут включаться в состав контактной смазки при условии, что они не вредят поверхности труб.
10.10.3 Подготовка поверхности
Проверяемые поверхности бурильных труб необходимо очистить от рыхлой окалины, примесей, смазок и других веществ, которые могут повлиять на точность и оценку показаний дефектоскопа.
10.10.4 Калибровка
Ультразвуковые дефектоскопы должны быть калиброваны согласно требованиям
9.5.2.
Эталонные образцы и проверяемая бурильная труба должны обладать достаточной длиной для проведения периодичного динамического контроля, одинаковыми наружным диаметром, толщиной стенок и акустическими характеристиками.
На поверхности эталонных образцов должны находиться внутренние и наружные надрезы (метки). Эти метки должны соответствовать следующим требованиям:
- максимальная длина - 12,7 мм (0,5 дюйма);
- максимальная глубина - 5% толщины стенки;
- максимальная ширина - 1,0 мм (0,040 дюйма).
Воздействие надрезов (меток) на сигнальную амплитуду должно проверяться методом сравнения максимальной амплитуды обоих концов рефлектора. Амплитуда, зафиксированная на одном конце надреза, должна быть не меньше 79% (2 дБ) амплитуды другого конца.
Новые бурильные трубы должны производиться в соответствии с
[5] <*>. В соответствии с настоящим стандартом 5% надрезы (метки) на бурильных трубах делаются для своевременного выявления усталостных трещин (появляющихся во время износа оборудования). Проверки по 5% надрезам проводятся в соответствии с
[5] <*>.
--------------------------------
<*>
На территории Российской Федерации действует ГОСТ Р 54383-2011 (ИСО 1196:2008).
Надрезы (метки) должны находиться на расстоянии друг от друга. Показания каждого отрезка индивидуальны. Они должны отличаться от других погрешностей и торцевых эффектов.
10.10.6 Статическая поверка
Область действия дисплея индикатора типа A должна быть настроена как минимум на полуторный шаг.
Оборудование должно вырабатывать эталонную сигнальную амплитуду, составляющую не менее 60% всего измерительного диапазона преобразователя. Сигнал, поступающий от каждого преобразователя, должен равняться 10% от усредненного уровня сигнала (длины) всех преобразователей такой же направленности.
Критический уровень определяется в соответствии с эксплуатационной техникой лаборатории и не должен превышать эталонных показателей. Внутренние и наружные поверхностные клапаны должны размещаться так, чтобы они полностью охватывали сигналы, получаемые внутренней и наружной поверхностями.
Регулятор усиления и критический уровень оборудования должны гарантировать минимальное соотношение "сигнал-помеха" (3:1).
10.10.7 Динамическая поверка
Динамическая поверка осуществляется для обеспечения стабильности работы оборудования посредством проверки эталонных образцов на рабочей скорости два раза подряд.
Если амплитуда надреза (метки) при одном режиме работы равняется менее 79% (2 дБ) амплитуды другого режима работы (с таким же надрезом и расположением), то оборудование необходимо отрегулировать, а динамическую поверку повторить. Необходимо фиксировать все результаты поверок, за исключением поверок ручного, одноэлементного оборудования.
10.10.8 Поверка оборудования
10.10.8.1 Общие положения
Поверка оборудования должна проводиться перед началом каждого рабочего дня.
Дополнительная поверка должна проводиться в следующих случаях:
a) перед началом каждой процедуры контроля/осмотра;
b) для проведения поверки механическими приборами - при непрерывной работе оборудования - один раз в 2 ч; после проведения контроля/осмотра 50 концов труб (в зависимости от того, что произойдет первым) или для проведения поверки вручную - после проведения контроля/осмотра каждых 25 областей при непрерывной работе оборудования;
c) после перерыва в электроснабжении или замене источника питания (батареи на зарядное устройство);
d) при каждой смене оператора (дефектоскописта);
e) перед отключением оборудования во время рабочего дня;
f) перед возобновлением работы оборудования после ремонта или смены частей оборудования, влияющих на производительность;
g) при замене преобразователя, кабеля, режущего клина или вида контактной смазки;
h) перед отключением оборудования в конце рабочего дня.
10.10.8.2 Поверки с выявлением недопустимых результатов
При проведении поверки могут быть выявлены недопустимые результаты в следующих случаях:
a) поверка с использованием эталонного образца, изменение критического уровня выше 2 дБ;
b) поверка с использование эталонного образца, начальная точка отсчета изменила свое положение более чем на 5% первоначальных показателей.
Все области, проверенные в период между поверкой с выявлением недопустимого результата и последней успешной поверкой, должны быть перепроверены.
10.10.9 Алгоритм (методика) проведения контроля/осмотра
Сканирующее устройство должно поэтапно продвигаться по проверяемой области и охватывать ее целиком. Звуковые пучки и движение сканера должны направляться к высаженным концам трубы. Сканирование должно продолжаться, пока соединение между высаженным концом трубы и бурильным замком с коническим заплечиком не будет прервано. Каждый сканер (преобразователь), если их больше одного, должен выполнять свою функцию и не мешать работе других сканеров.
Проводят ультразвуковой контроль/осмотр необходимой области тела трубы, начиная с ее концов (в соответствии с
10.10.1).
Винтовая спираль вращающегося оборудования должна обеспечивать повторяемый сигнал, равный 2 дБ.
При использовании клинового оборудования нахлесты последующих шагов должны совпадать с центральными лучами внешних преобразователей.
Для более точного определения расположения дефектов можно использовать дополнительное оборудование (оборудование усиления) при сканировании.
10.10.10 Оценка/анализ
У трещин не должно быть допустимых отклонений. Необходимо оценить все четко выраженные показатели, напоминающие такие трещины.
Показатели сигналов, превышающие критическую величину, должны быть отмечены на наружной поверхности оборудования. Анализируют все отмеченные показатели прибора в соответствии с
10.13.
Приборы, оборудованные ленточной диаграммой самописцев, должны выявлять и документировать дефекты. Эти документы должны храниться в лаборатории на протяжении одного года.
Необходимо постоянно выявлять и фиксировать все дефекты (в письменном виде), за исключением ручного одноэлементного оборудования. Эти документы должны храниться в лаборатории на протяжении как минимум года.
10.11 Тело трубы. Расчет площади поперечного сечения
10.11.1 Описание
Фактическая площадь поперечного сечения трубы бурильной колонны может быть полезной, если на подъемный крюк воздействуют большие нагрузки. Данный контроль/осмотр рассчитывает площадь поперечного сечения, если была проведена проверка ультразвуковым оборудованием в соответствии с
10.3 или прибором непосредственного расчета, который обладает точностью до 2% при контроле/осмотре отрезка трубы, практически равного целой длине трубы.
Примечание - Нельзя точно быть уверенными, что область, для которой рассчитывается площадь поперечного сечения, является минимальной площадью поперечного сечения, пока не будет проведен полный осмотр оборудования в соответствии с
10.5,
10.6 или
10.9.
10.11.2 Процедуры контроля/осмотра
Требования
10.3 необходимо соблюдать, только если толщина стенок определяется ультразвуковым прибором. Требования к оборудованию, которое считывает показатели напрямую, устанавливаются соглашением между подрядной лабораторией и организацией, проводящей контроль/осмотр.
При использовании ультразвукового оборудования, измеряющего толщину стенок, показатели приборов, взятые на расстоянии 25,4 мм (1 дюйм) друг от друга по диаметру трубы, будут использоваться для определения средней толщины стенки данного отрезка трубы. Все показатели толщины стенок должны суммироваться, а затем необходимо вычислить среднее значение, которое и будет средней толщиной стенки.
Средний диаметр измеряют рулеткой с шагом

по всей длине окружности.
Используя среднюю толщину стенки и средний диаметр, площадь поперечного сечения Acs, м2, вычисляют по формуле:

(1)
где
D - средний диаметр, определенный гибкой лентой с шагом

, м;
t - средняя толщина стенки, определенная с помощью расчета средних ультразвуковых показателей, м;

- постоянная величина, равная 3,1416.
10.11.3 Оценка/анализ и классификация
Результаты контроля/осмотра носят информативный характер. Площадь поперечного сечения не используется при определении класса трубы.
10.12 Тело трубы. Ознакомление с документами (отслеживаемость)
На составные части оборудования должна быть нанесена информация по температуре каления и термообработке номера партии. Данная информация должна наноситься на поверхность оборудования вне зависимости от материала, из которого оно изготовлено. Информация должна наноситься в течение всего производства оборудования, начиная с изготовления и заканчивая выводом в эксплуатацию бурильной колонны или ее отдельных блоков. Отслеживаемость задокументированных требований изготовителя заключается в маркировке, замене уже сделанной маркировки на новую и фиксировании результатов проверок. Элементы бурильных штанг КНБК должны соответствовать требованиям по материалам, из которых изготавливают утяжеленные бурильные трубы.
Полный пакет документов должен включать:
- заводской серийный номер изделия;
- серийный номер замененного изделия;
- величину температуры каления и термообработки;
- требования к материалам;
- отчет по проведенным испытаниям сертифицированного материала.
Не все оборудование может иметь полный набор документов. Это касается элементов бурильной колонны, изготовленных в соответствии с требованиями, перечисленными выше, и касается компонентов, которые осматриваются в течение всего срока эксплуатации.
10.13 Тело трубы. Оценка/анализ и классификация
10.13.1 Общие положения
В
10.13 приводятся оценка/анализ и классификация дефектов и искривлений, выявленных с помощью методов, описанных в настоящем стандарте. Так как класс оборудования определяется в зависимости от дефектов (например, износ наружного диаметра, остаточная стенка, находящаяся во впадине), классификация на отдельные категории проводится за счет разницы в анализе и оценке информации, которая предоставляется заинтересованными сторонами.
10.13.2 Применение
Оценка и анализ, описанные в
10.13, распространяются на все бурильные трубы, за исключением тех, которые по результатам проверки классифицированы как трубы премиум-класса.
10.13.3 Оборудование
Оборудование для проведения анализа и оценки включает, но не ограничивается следующими приборами:
a) глубиномеры;
b) выверочная линейка;
c) линейки жесткие и пластичные;
d) переносное ультразвуковое контрольно-измерительное оборудование;
e) магнитнопорошковое контрольно-измерительное оборудование;
f) штангенциркуль для измерения наружного диаметра.
10.13.4 Калибровка и поверка
Все оборудование и материалы, используемые для определения дефектов, должны регулярно проверяться и калиброваться в соответствии с лабораторной программой обеспечения контроля качества.
Кроме этого, должны выполняться следующие виды поверки:
a) ультразвуковое измерение плотности (см.
10.3 для поверки);
b) ультразвуковое оборудование, измеряющее поперечные волны (см.
10.10 для поверки);
c) сварочное оборудование и материалы (
раздел 9 для поверки).
10.13.5 Оценка/анализ износа наружного диаметра бурильной трубы
При обнаружении износа наружного диаметра трубы ультразвуковым калибромером, проверенным в соответствии с
10.3, необходимо определить на окружности трубы место наибольшего износа. Оно и будет считаться местом наименьшей толщины стенки.
Изучают окружающую область для обнаружения наименьшей толщины стенки, определяют, становится ли стенка тоньше вдоль оси трубы в каждом направлении или по диагонали.
Убеждаются, что обнаружена наименьшая толщина стенки, ее значения будут использоваться для определения класса трубы в соответствии с параметрами износа наружного диаметра, как показано в
таблицах B.18,
B.19 (приложение B).
Определение класса бурильной трубы проводится в соответствии с толщиной стенки, изменяющейся из-за износа наружного диаметра, в соответствии с
таблицами C.4,
B.4 (приложение C, приложение B), и
таблицами C.5,
D.5 (приложение C, приложение D) - для трубы бурильной колонны.
Требования по прочностным характеристикам новых бурильных труб премиум-, 2, 3 классов бурильных труб устанавливаются в нормативной документации изготовителя по согласованию с заказчиком:
a) для премиум-класса толщина имеющейся стенки не должна быть меньше 80% от новой указанной стенки;
b) для второго класса толщина имеющейся стенки не должна быть меньше 70% от новой указанной стенки;
c) для третьего класса толщина стенки меньше, чем минимум, определяемый требованиями для второго класса.
10.13.6 Анализ/оценка уменьшения диаметра бурильной трубы из-за внешних или внутренних напряжений
Уменьшение наружного диаметра без соответствующего уменьшения толщины стенки происходит из-за возникновения внешних или внутренних напряжений. Причиной этого являются вмятины, зазубрины или изменения величины наружного диаметра.
Примечания
1 Растяжение трубы вызывает уменьшение толщины стенки, равное половине процентного уменьшения наружного диаметра. Таким образом, на бурильных трубах с маркировкой 1, 5 и 2, 19, 50, толщина стенок которых равна 9,19 мм (0,362 дюйма), 5% уменьшение наружного диаметра вызвало бы 2,5% утоньшение стенки, что составило бы 0,22 мм (0,009 дюйма) вместо ожидаемых 3,17 мм (0,125 дюйма) износа наружного диаметра.
2 Растянутая шейка трубы показывает, что труба подверглась деформации (нагрузке) такой же сильной, как предельное напряжение сдвига бурильной трубы.
С помощью штангенциркуля измеряют наружный диаметр, изучают области уменьшения наружного диаметра для определения его минимальной величины.
Устанавливают штангенциркуль на наружный диаметр трубы, где он минимален, и, используя стальную линейку, измеряют диаметр.
Фиксируют значение уменьшенного диаметра в рабочем журнале. Полученное значение и будет диаметром, используемым для классификации труб (в соответствии с показателями, определяющими уменьшенный из-за воздействия напряжений диаметр).
Классификация бурильных труб проводится в соответствии с
таблицей B.18 (бурильные трубы) и
таблицей B.19 (определение необходимого размера трубы и толщины стенки) (приложение B). Фиксируют классификацию. Определение класса трубы по наружному диаметру проводится в соответствии с
таблицей C.4,
таблицей D.4 (приложение C, приложение D) для бурильных труб и
таблицей C.5,
таблицей D.5 (приложение C, приложение D) для спусковой колонны.
10.13.7 Анализ/оценка увеличения диаметра бурильной трубы из-за напряжений
Увеличение диаметра обычно происходит из-за линейного взрыва.
С помощью штангенциркуля определяют место наибольшего наружного диаметра.
Устанавливают штангенциркули на диаметр трубы, где он максимален, и, используя стальную линейку, измеряют диаметр.
Фиксируют значение полученного диаметра в рабочем журнале. Полученное значение и будет диаметром, который используется для классификации труб (в соответствии с показателями, определяющими увеличенный из-за воздействия напряжений диаметр).
10.13.8 Оценка/анализ тела трубы с пространственными внешними дефектами
10.13.8.1 Общие сведения
Данный метод применяется при обнаружении на наружном диаметре (по всей длине бурильной трубы) таких дефектов, как бороздки, насечки, вмятины, зарезы. Оценка/анализ вмятин, бороздок, насечек и зарезов осуществляется визуально без использования специального измерительного инструмента.
10.13.8.2 Измерение глубины дефекта
Следует установить глубиномер на плоскую поверхность и настроить его на отметку ноль. С помощью него измеряют глубину дефекта. Перед началом измерений необходимо убрать все, что может помешать. Снимают показания непосредственно с циферблата прибора. Если при снятии показаний с прибора, он находится под наклоном, необходимо заново настроить его на нулевую отметку и снять с него показатели.
Если контур (профиль) трубы неправильный или на нем имеются зазубрины, глубиномер должен быть настроен на ноль и установлен рядом с дефектом вместе с поршнем, смежным с самой глубокой точкой. Следует передвинуть глубиномер на другую сторону и проверить отметку ноль; если есть разница, следует отрегулировать "ноль", оставив в запасе половину этой разницы. Снова замеряют глубину дефекта.
10.13.8.3 Определение средней толщины смежной по диаметру стенки
Замеряют толщину стенки (с каждой стороны дефекта), смежной с самым глубоким местом, проверенным ультразвуковым толщиномером. Средняя величина двух показателей будет численной мерой средней толщины стенки.
10.13.8.4 Определение глубины разрезов и трещин в процентном соотношении смежной стенки (требования для участка, зажимаемого роторными клиньями, для разрезов, трещин, зарезов поверхности скольжения)
Необходимо разделить показатель глубины разреза (трещины, зарезы) на средний показатель смежной стенки, а затем умножить полученную величину на сто. В результате получаем глубину разреза или трещины в процентном соотношении к смежной стенке.
10.13.8.5 Расчет оставшейся толщины стенки
Необходимо вычесть средний показатель оставшейся толщины стенки из показателя, определяющего глубину дефекта.
10.13.8.6 Определение класса внешних дефектов тел труб
а) Разрезы, трещины, зарезы на поверхности, зажимаемой роторными клиньями
Разрезы и зарезы, расположенные на поверхности, зажимаемой роторными клиньями, должны отвечать требованиям процентного соотношения к смежной стенке, и требованиям к области, зажимаемой роторными клиньями, с дефектами (разрезы, зарезы), приведенным в
таблице B.18,
таблице B.19 (приложение B). Труба не может относиться к классу 2 (только по толщине остаточной стенки), если на ней присутствуют поперечные разрезы и зарезы. Условия, необходимые для определения второго класса и премиум-класса, одинаковые. Размерные величины для определения класса в соответствии с остаточной стенкой приведены в
таблице C.4,
таблице D.4 (приложение C, приложение D) для бурильной трубы и
таблице C.5,
таблице D.5 (приложение C, приложение D) для спусковой колонны.
Условия, при которых наклонная труба может быть выровнена с помощью шлифовки (полировки), должны соответствовать требованиям к толщине остаточной стенки, поврежденной вследствие износа, и если шлифовальное оборудование входит в состав наружного профиля трубы.
б) Разрезы и зарезы участка, зажимаемого роторными клиньями, и коррозийные язвы, расположенные по всему наружному диаметру
Толщина остаточной стенки должна соответствовать требованиям
таблиц B.18,
B.19 (приложение B), определяющим класс. Размерные величины, определяющие класс остаточной стенки, приведены в
таблице C.4,
таблице D.5 (приложение C, приложение D) и
таблице C.5,
таблице D.5 (приложение C, приложение D).
Величины для определения класса приведены в
таблицах C.4 -
C.5 и
таблицах D.4 -
D.5 (приложение C, приложение D) и выбираются в соответствии со следующим:
a) коррозирующая остаточная стенка должна равняться не меньше 80%, чтобы считаться премиум-классом, и 70%, чтобы считаться вторым классом;
b) остаточная стенка с продольными разрезами и зарезами должна равняться не меньше 80%, чтобы считаться премиум-классом, и 70%, чтобы считаться вторым;
c) остаточная стенка с поперечными разрезами и зарезами должна равняться 80%, чтобы считаться премиум- и вторым классом.
Примечание - Поперечные разрезы и зарезы не могут относиться ко второму классу, так как условия определения второго класса и премиум-класса идентичны.
10.13.9 Оценка/анализ объемных внутренних дефектов тела трубы
Оценка и анализ проводятся, если дефекты (точечная коррозия, эрозия) находятся на внутреннем диаметре тела бурильной трубы.
Дефекты должны быть осторожно локализованы и устранены имеющимся оборудованием.
Изучают необходимую область ультразвуковым толщиномером и определяют толщину стенки с точечной коррозией и эрозией. Ультразвуковой толщиномер, оценивающий дефекты, должен соответствовать требованиям
9.5.2. Минимальные величины толщины стенки должны равняться толщине остаточной стенки.
10.13.10 Анализ и оценка трещин
10.13.10.1 Общие сведения
Трещина - это линейный разрыв на поверхности трубы.
Трещина должна быть:
a) достаточной длины, которая проверяется с помощью магнитнопорошковой дефектоскопии;
b) заметна методом визуального осмотра на наружной поверхности трубы и/или определяться ультразвуковым контролем/осмотром, который проводится с помощью поперечных волн.
10.13.10.2 Оценка и анализ трещин
Оценка и анализ (далее - оценка/анализ показаний, обнаруженных во время сканирования) осуществляются с помощью магнитнопорошковой дефектоскопии и визуальной/ультразвуковой дефектоскопии в соответствии с
перечислением b), указанным ниже. Наружный диаметр должен контролироваться/осматриваться в первую очередь, так как это легче всего. Сначала визуально осматривается область на наличие трещин; если они не определяются визуально, необходимо использовать катушку или вилкообразный хомут и магнитные частицы для проведения повторного контроля области. Если обнаружена хоть одна трещина, исследуемая труба считается металлоломом (отбросами). Не допускается образование трещин в трубе. Независимо от глубины трещины труба при ее наличии автоматически причисляется к металлолому. Не допускается использование заточек в качестве способа сглаживания трещин. Если на наружном диаметре трещины не обнаружились, необходимо продолжить контроль/осмотр внутренней части трубы. Также используются методы визуальной дефектоскопии/магнитнопорошковой дефектоскопии.
a) визуальная дефектоскопия/магнитнопорошковая дефектоскопия. После очистки поверхности необходимо воздействовать на нее сухими магнитными частицами (с неферромагнитным желобом) и подать катушкой постоянного тока напряжение; в результате труба начнет вращаться. Оптимальная оценка может быть проведена в том случае, если используется внутренний оптический прибор и приемлемый источник света;
| | ИС МЕГАНОРМ: примечание. Текст дан в соответствии с официальным текстом документа. | |
b) ультразвуковая дефектоскопия (поперечные колебания). Для оценки поперечных волн, воздействующих на трубу, необходимо использовать специальную поисковую единицу с широким пучком лучей и клином соответствующих величин от 2,25 до 5 МГц, от 0,635 до 0,0127 мм (от 0,25 до 0,5 дюйма). Угол преломления равен 45°, но необходимо убедиться, что он пересекает внутреннюю поверхность трубы. При определении продольных дефектов режущий клин должен быть механически окунтурен относительно наружной поверхности трубы. Также могут использоваться отдельный переносной дефектоскоп с индикатором типа A или приборы, описанные в
10.10.2;
c) прибор должен быть поверен в соответствии с эталонным образцом
(10.10.5). Поверка должна проводиться в соответствии с
10.10.6;
d) необходимо просканировать область показателей сигналов. При обнаружении отражающих поверхностей он описывается как "двухмерный" или "объемный".
Следующие четыре характеристики различают трещины и коррозийные язвины:
- трещина поперечна по направлению; язвина объемна. Усталостная трещина отражает звук только в двух направлениях; язвина же отражает звук во всех направлениях;
- усталостная трещина обычно радиальна (стандартное положение относительно поверхности). Отражение от такой трещины обычно имеет такую же амплитуду колебаний, как и у базисной линии (относительно ее обеих сторон). Язвина никогда не демонстрирует таких характеристик;
- сигнал, отраженный от усталостной трещины, обычно четкий и ясный с регулярным периодом нарастания и спада. Сигнал, отраженный от язвины, обычно неровный, колеблющийся, с достаточно широкой опорной точкой;
- в целом показатели толщины могут указывать на наличие язвины на поверхности трубы, а усталостная трещина не может быть обнаружена таким способом.
10.14.1 Общие сведения
В
10.14 приведены сведения о визуальном контроле/осмотре муфты и ниппеля бурильного замка. Он должен охватывать скошенные поверхности, уплотнения, резьбы, гладкие заплечики, код массы трубы на единицу длины и бурильный замок наружного диаметра.
10.14.2 Описание
Необходимо провести визуальный контроль/осмотр бурильного замка на наличие механических повреждений и коррозии. Также необходимо проверить маркировку, нанесенную на основание штифта и желобка (при наличии) (
рисунки 5,
6), для подтверждения точности кода массы трубы на единицу длины, как указано в
таблице C.4,
таблице D.4 (приложение C, приложение D), и желобка, как указано в
таблице B.16 (приложение B). Дефектоскопия должна проводиться в четырех областях: наружная поверхность, запаечный рант, резьба и внутренний диаметр.
Рисунок 5 - Маркировка идентификации на основании штифта
a) стандартное расположение желобка и заводская маркировка
на трубе стандартной массы класса E;
b) стандартное расположение желобка и заводская маркировка
на трубе класса E;
c) стандартное расположение желобка и заводская маркировка
на трубе стандартной массы
d) стандартное расположение желобка и заводская маркировка
на трубе высокопрочной тяжеловесной
1 - расположение заводской маркировки для кода класса трубы;
2 - расположение заводской маркировки для кода массы трубы
на единицу длины; 3 - расположение заводской маркировки
для дополнительного серийного номера
Рисунок 6 - Отверстие для бурильного замка и система
маркировки желобка
10.14.3 Подготовка поверхности
Перед контролем/осмотром поверхности должны быть очищены во избежание попадания инородных веществ и материалов.
10.14.4 Оборудование
Необходимо следующее оборудование: стальная линейка со шкалой с шагом 0,39 мм (1/64 дюйма), закаленный измерительный прибор, устройство, измеряющее наземный профиль, прибор, измеряющий шаг резьбы и зоны контакта поверхностей (в соответствии с эталоном). Также необходимо наличие досмотрового зеркала и оборудования внутреннего освещения (портативный фонарик или зеркало).
10.14.5 Калибровка
Шагомер должен калиброваться не реже чем раз в полгода, иначе нестандартные воздействия (толчки), которые воздействуют на них, могут повлиять на точность прибора.
10.14.6 Освещение
Освещение должно отвечать требования
9.3.2.
10.14.7 Проведение дефектоскопии
Следует провернуть продукт бурильной колонны как минимум на один оборот. Необходимо проверить уплотнение, резьбу и фаску на наличие повреждений, таких как язвины, зазубрины, вмятины, царапины, истирание металла, и других механических повреждений.
Необходимо осмотреть запаечные ранты и резьбу на наличие дефектов (поверхностное повреждение резьбы, вмятины, зазубрины, раздробленные материалы), так как из-за них на уплотняющей поверхности могут образовываться металлические выступы. Улучшение процесса выявления дефектов может осуществляться за счет притирания металлической шкалы и трения ногтя по поверхности материала.
Необходимо осмотреть поверхность запаечных рантов на наличие вмятин, которые могут стать причиной утечки.
Размер фаски должен равняться не менее 0,79 мм (1/32 дюйма) для полного охвата трубы. Если у бурильных замков есть дефектные фаски, их необходимо заново обрезать или забраковать.
Необходимо проверить плоскость заплечиков. Расположить поверочную линейку на закрытой головке поперек заплечика или на самой муфте поперек пояса заплечика. Прокрутить линейку и еще раз проверить показатели - заплечик не должен быть плоским.
Впадины резьбы должны быть изучены на наличие впадин, насечек, зарезов. Все обнаруженные дефекты должны быть оценены/проанализированы в соответствии с
10.14.8.2.в).
Прибор, измеряющий профиль резьбы, должен использоваться при осмотре/контроле ниппеля и муфты на наличие износа. Дефектоскопист должен найти видимое излучение между измеряющим устройством и боковой поверхностью профиля резьбы, основанием и ее вершиной. Для каждого соединения необходимо провести две проверки (профиль резьбы должен находиться под углом 90°). Все выявленные дефекты/зазоры профиля резьбы должны быть маркированы в соответствии с
10.14.8.2.г).
Необходимо осмотреть наружную поверхность бурильного замка на наличие повреждений, включая, но не ограничиваясь зазубринами, язвинами, царапинами, вмятинами, трещинами и другими механическими дефектами. Следует расположить поверочную линейку на наружном диаметре трубы для проверки деформаций муфты. Если линейка поднимается возле фаски, то необходимо проверить диаметр раззенкованной части в соответствии с
10.15. Следует осмотреть внутреннюю часть бурильного замка на наличие эрозии или износа; если таковые имеются, необходимо измерить внутренний диаметр в соответствии с
10.23.
Осмотрите маркировку, нанесенную на основание штифта (код массы трубы на единицу длины/класса). Маркировка должна соответствовать трубе, выбранной в наряде на работу. В соответствии с
рисунком 5, с
таблицей B.16,
B.17,
таблицей C.4,
таблицей D.4 (приложение B, приложение C, приложение D) определяется эталонное основание штифта. В акте осмотра необходимо отразить отсутствие маркировки (при наличии).
Необходимо проверить маркировочный паз и заводскую маркировку на трубе, которая должна быть нанесена на наружный диаметр бурильного замка, как показано на
рисунке 6. Убедитесь, что маркировка соответствует типу трубы, который определяется нарядом на работу.
10.14.8 Оценка и классификация
10.14.8.1 Запаечный рант
а) Общие сведения
Торец заплечика может снабжаться только одним уплотнением, расположенным на резьбовом упорном соединении. Эти условия могут соблюдаться при наличии разных дефектов.
Необходимо осмотреть запаечные ранты на наличие дефектов уплотняющих поверхностей, из-за которых образуются металлические выступы. Все уплотняющие поверхности с выступами будут считаться бракованными.
Если на поверхности бурильного замка существуют видимые неровности, его нельзя использовать, пока проблема не будет устранена.
г) Вмятины (зарезы)
Необходимо осмотреть поверхность запаечных рантов на наличие вмятин (зарезов), которые могут вызвать утечку. Допустимыми являются вмятины, находящиеся на расстоянии не менее 1,57 мм (0,062 дюйма) от фаски наружного диаметра или фаски зенковки. Допустимыми считаются вмятины, не охватывающие 50% радиальной ширины уплотнительной поверхности или не распространяющиеся более 0,635 мм (0,025 дюйма) в периферии. Все остальные вмятины (зарезы) необходимо устранить.
д) Повторная шлифовка уплотняющей поверхности
Поверхности, отбракованные из-за жидкостной эрозии, утечек, дубильных орешков, сварочных швов, вмятин или выпирающего над поверхностью металла, должны быть повторно отшлифованы или выведены из эксплуатации. При каждой повторной шлифовке необходимо удалять минимум материала. Максимальное количество удаленного материала из ниппеля или муфты должно равняться 0,78 мм (0,031 дюйма) и не более 1,57 мм (0,062 дюйма) в общей сложности. Если что-то указывает, что приведенные выше нормы не соблюдаются, то соединение будет отбраковано. После повторной шлифовки необходимо убедиться, что поверхность заплечиков ровная и гладкая. Следует расположить поверочную линейку на конце муфты поперек запаечного ранта или на ниппеле поперек пояса запаечного ранта. Необходимо прокрутить линейку и убедиться, что заплечик ровный. Любые визуально обнаруживаемые неровности поверхности будут мешать дальнейшему использованию бурильного замка, пока проблема не будет устранена.
Примечание - Без сравнительных тестов затруднительно определить заранее результаты повторной шлифовки. Существуют два показателя, в соответствии с которыми максимум равняется 0,15 мм (0,006 дюйма) и выходит за пределы соединений (
[6] и
[7]).
a) длина основания штифта от первой отметки высоты профиля резьбы должна превышать 14,27 мм (0,562 дюйма);
b) раззенкованная часть муфты должна быть менее 14,27 мм (0,562 дюйма).
Соответствие данным требованиям не гарантирует, что требования по общей повторной шлифовке не были превышены.
После восстановления поверхность должна быть осмотрена в соответствии с
10.14.7.
10.14.8.2 Поверхности резьбы
а) Выступы
Поверхность резьбы должна быть осмотрена на наличие металлических выступов. Вмятины и зазубрины являются причиной образования выступов. Резьба с выступами должна быть отбракована. Поверхности с выступами, которые были отбракованы, можно восстановить шлифовальным кругом. После восстановления необходимо осмотреть профиль резьбы, он должен соответствовать требованиям
10.14.8.2.г) или соединения будут выведены из эксплуатации.
б) Истирание металла (вмятины)
Вся стертая резьба должна быть отбракована.
в) Язвины, царапины и вмятины, зарезы
Допускается наличие язвин, царапин, зарезов и вмятин на боковых и верхних частях резьбы, если они не превышают по длине 38,1 мм (1,5 дюйма). Последний находящийся в зацеплении виток резьбы, в нижней части которого находятся язвины, царапины, зарезы и вмятины, считается бракованным, если дефект присутствует в двух и более витках резьбы. Язвины, царапины, зарезы и вмятины, находящиеся в нижней части профиля резьбы, не должны быть в глубину более 0,78 мм (0,031 дюйма).
Прибор, измеряющий профиль резьбы, используется для проверки его состояния, а также для определения износа муфты и ниппеля. Дефектоскопист должен найти видимое глазом излучение между измерительным прибором и профилем резьбы (самой низкой точкой и ее вершиной). Если видимая щель между прибором и профилем больше 0,78 мм (0,031 дюйма) на протяжении четырех витков резьбы или больше 1,5 мм (0,06 дюйма) на протяжении двух витков, соединение необходимо отбраковать. Если также есть видимая щель между прибором и боковой поверхностью профиля, равная более 0,4 мм (0,016 дюйма), то такое соединение необходимо отбраковать. При наличии растяжения необходимо оценить ошибку его шага в соответствии с
10.15. Класс растяжения выбирается в соответствии с
10.15.6.2. Согласно
10.21 все растянутые ниппели должны проверяться на наличие трещин.
10.14.8.3 Поверхность наружного и внутреннего диаметров
На поверхностях наружного и внутреннего диаметров, за исключением зон армирования/наплавки твердым сплавом, не должны присутствовать видимые трещины.
10.14.8.4 Заводские маркировки кода массы трубы на единицу длины и ее класса
Заводская маркировка и маркировка кода массы трубы на единицу длины и ее класса, расположенная на основании штифта, должны совпадать. Если этого не происходит, то труба считается непригодной к работе. Если маркировка не соответствует наряду на работу, то труба также считается непригодной и должна быть выведена из эксплуатации. Отсутствие маркировок с кодом массы трубы на единицу длины и ее классом должно быть отражено в акте осмотра.
10.14.9 Ремонт бракованных бурильных замков
Ремонт бракованных бурильных замков необходимо проводить в соответствии с
10.16.
10.15 Бурильные замки. Выявление деформации муфты и растяжения ниппеля
10.15.1 Описание
Величина чрезмерного крутящего момента определяется деформацией муфты и растяжением ниппеля, в зависимости от того, что слабее при кручении.
10.15.2 Подготовка плоскости
Необходимо очистить все проверяемые плоскости во избежание попадания инородных веществ.
10.15.3 Оборудование
Необходимо следующее оборудование: стальная линейка длиной 250 мм со шкалой 0,5 мм (или 12-дюймовая линейка с делениями 1/64 дюйма), штангенциркули, измеряющие наружный диаметр, шагомер, измеряющий профиль резьбы от крайней высшей точки до самой низшей, как показано на
рисунке 14, и эталонный образец, устанавливающий шаг резьбы, угол наклона и профиль резьбы. Дополнительно используется штангенциркуль с циферблатом. Стальная линейка и циферблатный штангенциркуль должны соответствовать требованиям
9.2.2. В
таблице C.3,
таблице D.3 (приложение C, приложение D) приведены размеры шарикового контакта для шагомера, который используется для определения стандартной длины шага и для измерения параллели, проведенной к делительному конусу.
10.15.4 Калибровка шагомера
Точность прибора должна проверяться микрометром или другим прибором, измеряющим шаг, равный 0,0025 мм (0,0001 дюйма). Следует определить количество действий микрометра, необходимых для нахождения шагомером погрешности, равной 0,25 мм (0,01 дюйма) шкалы прибора. Эти расчеты показывают размеры стола ротора буровой установки и его аккумулятивную погрешность, которая определяет шаг шкалы шагомера.
Точность интервального измерения и повторных показаний приборов должна приблизительно равняться 0,005 мм (0,0002 дюйма).
Приборы должны калиброваться не реже одного раза в полгода, так как ненормированное воздействие (удары) могут повлиять на точность прибора.
10.15.5 Поверка
10.15.5.1 Освещение
Освещение должно соответствовать требованиям
9.3.2.
10.15.5.2 Шагомер
Перед началом использования оборудования расстояние между шариковыми контактами должно равняться 50,8 мм (2 дюйма), а индикатор должен быть установлен на нуле (когда устройство поверено эталонным образцом и настроено). Необходимо сбросить показания прибора, когда исходной точкой становится ноль, а само устройство поворачивается вокруг закрепленного шарообразного наконечника по дугам обеих сторон правильной линии измерения.
10.15.5.3 Частота проведения поверки
Поверка оборудования, измеряющего резьбу, должна проводиться перед началом каждой работы.
Периодическая поверка и ее контроль проводятся в следующих случаях:
a) в начале каждой смены, осуществляющей контроль/осмотр;
b) если не менее 25 погонных метров труб были измерены/осмотрены;
c) вне зависимости от смены дефектоскописта;
d) после контроля/осмотра последнего соединения;
e) вне зависимости от того, обнаружены неверные показания или нет;
f) перед возобновлением работы после ремонта или замены оборудования (или его частей).
10.15.5.4 Недопустимые поверки
Все трубы, осмотренные между недопустимой поверкой и наиболее поздней допустимой поверкой, необходимо снова осмотреть.
10.15.6 Проведение дефектоскопии
10.15.6.1 Утолщение (деформация) муфты
С помощью точной линейки или циферблатного штангенциркуля необходимо измерить диаметр отверстия
Qc в двух местах, находящихся под углом 90°, в соответствии с
рисунком 10. Измерение необходимо делать со стороны спроектированного пересечения раззенкованной части муфты, а не внутренней фаски. Размер диаметров не должен превышать величин, приведенных в
таблице C.7,
таблице D.7 (приложение C, приложение D).
В качестве дополнительной проверки необходимо осмотреть наружный диаметр, чтобы определить утолщения муфты (ее деформацию). Предупреждение - износ наружного диаметра может стать причиной погрешностей измерений. С помощью штангенциркуля замеряют наружный диаметр рядом с фаской, а затем на расстоянии 50,8 мм (2 дюйма) от фаски. Если наружный диаметр возле фаски больше 0,79 мм (1/32 дюйма), то соединение считается бракованным.
10.15.6.2 Растяжение ниппеля
С помощью шагомера располагают подвижный контакт на резьбе на полную глубину с заплечиком, как показано на
рисунке 7, а затем фиксируют его в желобке на необходимом расстоянии. Следует убедиться, что подвижный контакт соединен с профилем резьбы. Шагомер должен вращаться вокруг неподвижного контакта по дуге (с двух сторон линии измерения). Минимальное быстрое "плюс" или максимальное медленное "минус" считывание показаний шагомера является погрешностью измерительного прибора. Второе измерение должно проводиться после передвижения шагомера на 90° против часовой стрелки. Показатель шага резьбы должен равняться не более 0,152 мм (от 0,006 дюйма) до 50,8 мм (2 дюйма).
Рисунок 7 - Прибор, измеряющий шаг ниппельной резьбы
10.15.7 Оценка (анализ) и классификация
Все растянутые ниппели должны быть осмотрены с помощью магнитнопорошковой дефектоскопии в соответствии с
10.21. Резьба с трещинами должна быть отбракована. Эти требования распространяются на ниппели, растянутые меньше 0,0152 мм (0,006 дюйма).
Ниппели, шаг резьбы которых превышает диапазон от 0,152 мм (0,006 дюйма) до 50,8 мм (2 дюйма), должны быть отбракованы.
10.16 Ремонт бракованных бурильных замков
Возможно проведение ремонта (в цеху) и возобновление эксплуатации некоторых соединений бракованных бурильных замков, если это допускают характеристики корпуса замка и минимальная высота места установки ключа. Зоны с трещинами должны быть отсечены еще до начала ремонта. Все соединения, нарезанные вторично, должны соответствовать требованиям к новым соединениям и пройти магнитнопорошковую дефектоскопию вторичной нарезки ниппеля
(10.21) и вторичной нарезки муфты
(10.22).
10.17 Бурильные замки. Контроль/осмотр ниппеля, наружного диаметра муфты и внецентренного износа
10.17.1 Описание
Наружный диаметр муфты бурильного замка регулирует предел прочности кручения муфты замка. Минимальный наружный диаметр каждого класса - это замковый диаметр, от которого требуется: для муфты замка - 80% прочность кручения трубы с минимальным размером стенки. Наружный диаметр ниппеля должен соответствовать этим же характеристикам. Заплечик муфты должен быть визуально проверен на наличие внецентренного износа; а ширина минимального заплечика проверяется в том случае, если внецентренный износ сразу заметен.
10.17.2 Подготовка поверхности
Все проверяемые поверхности должны быть очищены во избежание попадания инородных веществ.
10.17.3 Оборудование
Необходимо использовать следующее оборудование: 250-миллиметровую стальную линейку с шагом 0,5 мм (или 12-дюймовую линейку с шагом 1/64 дюйма) и штангенциркуль наружного диаметра. Стальная линейка может быть заменена циферблатным штангенциркулем. Циферблатный штангенциркуль и стальная линейка должны соответствовать требованиям
раздела 9. Также необходима дополнительная линейка для измерения износа заплечиков.
10.17.4 Поверка
10.17.4.1 Освещение
Освещение должно отвечать требованиям
9.3.2.
10.17.4.2 Поверка
Поверка проводится при помощи стальной линейки или циферблатного штангенциркуля. Следует установить штангенциркуль на минимальный наружный диаметр бурильного замка для определения премиум-класса размера трубы, класса и соединения в соответствии с
таблицей C.6,
таблицей D.6 (приложение C, приложение D).
10.17.4.3 Частота проведения поверки
Поверка штангенциркуля наружного диаметра должна проводиться перед началом каждого рабочего дня.
Периодическая поверка должна проводиться в следующих случаях:
a) в начале каждой смены, осуществляющей контроль/осмотр;
b) если не менее 25 погонных метров труб были измерены/осмотрены;
c) вне зависимости от смены дефектоскописта;
d) после контроля/осмотра последнего соединения;
e) вне зависимости от того, обнаружены неверные показания или нет;
f) перед возобновлением работы после ремонта или замены оборудования (или его частей).
10.17.4.4 Недопустимые поверки
Все трубы, осмотренные между недопустимой поверкой и наиболее поздней допустимой поверкой, необходимо снова осмотреть.
10.17.5 Проведение дефектоскопии
Необходимо визуально проверить заплечик на внецентренный износ. При сильной изношенности бурильного замка необходимо проанализировать состояние заплечика в соответствии с
10.17.6.2.
Следует проверить наружный диаметр бурильной трубы приблизительно на расстоянии 25,4 мм (1 дюйм) от запаечного ранта (на ниппеле и муфте), чтобы определить, равен диаметр или более минимума, необходимого для премиум-класса, как показано на
таблице C.6,
таблице D.6 (приложение C, приложение D).
Необходимо проверить наружный диаметр каждой части оборудования как минимум в двух зонах, расположенных на угле в 90°.
Бурильные замки, не соответствующие требованиям премиум-класса, необходимо проанализировать в соответствии с 10.17.6.
10.17.6 Оценка и классификация
10.17.6.1 Наружный диаметр
У бурильных замков, не соответствующих требованиям премиум-класса, необходимо измерить минимальный наружный диаметр на расстоянии 25,4 мм (1 дюйм) от запаечного ранта. Значение минимального диаметра должно заноситься в акт осмотра, а класс бурильного замка выбирается в соответствии с
таблицей C.6,
таблицей D.6 (приложение C, приложение D).
Примечание - Бурильные замки, у которых наружный диаметр меньше минимальных показателей, могут использоваться, пока рассчитывается крутящий момент.
10.17.6.2 Внецентренный износ
Ширина заплечика муфт замка с визуальной нецентрированностью должна быть минимальна. Ширина заплечика вычисляется благодаря проекции наружного диаметра, которая проецируется на раззенкованную область отверстия заплечика под углом в 90°, как показано на
рисунке 8. Если ширина заплечика бурильного замка менее минимально необходимой для премиум-класса, то такому заплечику должен быть присвоен второй класс (если у него соответствующая ширина), иначе бурильному замку будет присвоен третий класс. Минимальная ширина заплечика указана в
таблице C.6,
таблице D.6 (приложение C, приложение D).
1 - место установки ключа; 2 - армирование/наплавка
твердым сплавом
Рисунок 8 - Измерения классификации бурильного замка
10.18 Бурильные замки. Измерение ниппеля замка, наружного диаметра муфты бурильного замка и определение наличия внецентренного износа
10.18.1 Описание
Наружный диаметр муфты бурильного замка определяет ее предел прочности при кручении. Минимальный наружный диаметр для премиум- и второго классов зависит от коэффициента кручения бурильного замка трубы, равного по меньшей мере 80%. Минимальные величины стенок трубы каждого класса используются для вычисления предела прочности при кручении. Наружные диаметры муфты должны обладать теми же характеристиками. Измерения наружных диаметров муфты и ниппеля должны быть занесены в акт осмотра. Необходимо визуально проверить заплечик на наличие внецентренного износа; при необходимости измерения минимальной ширины заплечика износ очевиден.
10.18.2 Подготовка поверхности
Все проверяемые поверхности должны быть очищены во избежание попадания инородных веществ.
10.18.3 Оборудование
Необходимо использовать следующее оборудование: 250-миллиметровую стальную линейку с шагом 0,5 мм (или 12-дюймовую линейку с шагом 1/64 дюйма) и штангенциркуль наружного диаметра. Стальная линейка может быть заменена циферблатным штангенциркулем. Циферблатный штангенциркуль должен соответствовать требованиям
9.2.2 и
9.2.3. Также необходима дополнительная линейка для измерения износа заплечиков.
10.18.4 Освещение
Освещение должно соответствовать требованиям
9.3.2.
10.18.5 Проведение дефектоскопии
Следует визуально проверить заплечик на внецентренный износ. При сильной изношенности бурильного замка необходимо проанализировать состояние заплечика в соответствии с
10.18.6.
Используя подходящий штангенциркуль, необходимо проверить наружный диаметр бурильной трубы приблизительно на расстоянии 25,4 мм (1 дюйм) от запаечного ранта (на ниппеле и муфте). Как только определен минимальный наружный диаметр, следует отрегулировать штангенциркуль по нему.
При помощи стальной линейки и штангенциркуля измеряют расстояние между контактами штангенциркулей.
10.18.6 Оценка и определение класса
Размер минимального наружного диаметра должен быть отражен в акте осмотра; а размер бурильного замка выбирается в соответствии с главной нормой классификации, приведенной в
таблице C.6,
таблице D.6 (приложение C, приложение D).
Примечание - Бурильные замки, у которых наружный диаметр меньше минимальной величины, могут использоваться, пока определяются пределы крутящего момента.
Муфты бурильных замков с визуальной нецентрированностью требуют минимальной ширины заплечика. Ширина заплечика замеряется от крайней точки спроектированного наружного диаметра до раззенкованной части отверстия заплечика, расположенного на 90°, как показано на
рисунке 8. Если ширина заплечика бурильных замков меньше минимальной (для премиум-класса), то этот заплечик должен переклассифицироваться во второй класс (ширина заплечика должна соответствовать минимальной величине второго класса), иначе бурильный замок должен относиться к третьему классу. Минимальная ширина заплечика указана в
таблице C.6,
таблице D.6 (приложение C, приложение D).
10.19 Бурильные замки. Контроль/осмотр ниппеля бурильного замка и места на замке для захвата ключом
10.19.1 Описание
Характеристики, определяющие минимальное место на замке для захвата ключом (для бурильных труб), должны зависеть от безопасного и эффективного проведения работ по закреплению на полу буровой вышки самого ключа, в первую очередь при использовании машинных ключей. В этом случае места для установки ключа должно быть достаточно для включения сухарей раскрепителя верхнего привода и для свободного свинчивания и развинчивания уплотняющих заплечиков и других соединений (проверяется визуально бурильщиком или третьим помощником бурильщика). Минимальные требования для места установки ключа, указанные в настоящем стандарте, выбираются в соответствии с руководством по машинным ключам.
Рекомендуется, чтобы все зоны армирования/наплавки твердым сплавом места установки ключей муфты и ниппеля были исключены из области закрепления плашки ключа, как указано выше, при выявлении минимального места установки ключа. Данный метод обеспечивает оптимальный захват и минимальное повреждение ключа. Если наружный диаметр бурильного замка изнашивается до практически полного удаления начального армирования/наплавки твердым сплавом, то пользователь может сделать данную область определяющей минимальное место для установки ключа.
Использование других видов ключей и приспособлений, спроектированных для свинчивания и развинчивания соединений, требует минимального места для установки ключа (оно отличается от минимального места для машинных ключей). В этом случае минимальное место должно быть согласовано с владельцем/пользователем. Пользователь должен обеспечить необходимые условия для соблюдения этой инструкции.
10.19.2 Подготовка поверхности
Все контролируемые поверхности должны быть очищены во избежание попадания инородных веществ.
10.19.3 Оборудование
Необходимо следующее оборудование: 250-миллиметровая стальная линейка с шагом 0,5 мм (или 12-дюймовая линейка с шагом 1/64 дюйма).
10.19.4 Освещение
Освещение должно соответствовать
9.3.2.
10.19.5 Процедура дефектоскопии
Необходимо убедиться, что расстояние от места установки ключа на муфте (торцевой поверхности замка) до угла конического заплечика и наружный диаметр бурильного замка равны или превышают минимальную величину места установки ключа. При наличии армирования/наплавки твердым сплавом необходимо проверить торцевую сторону замка до края армированной поверхности бурильного замка, как показано на
рисунке 8.
Необходимо убедиться, что место установки ключа от ниппеля, расположенного на торцевой поверхности замкового соединения, до угла конического заплечика и наружный диаметр бурильного замка равны или превышают минимальную длину места, где крепится ключ. При наличии армирования/наплавки твердым сплавом необходимо проверить расстояние от торцевой поверхности замка до армированного края бурильного замка, как показано на
рисунке 8.
10.19.6 Оценка и классификация
Если пользователь не выдвигает особых требований, то минимальный размер места установки ключа (на ниппеле) должен равняться 75% от наружного диаметра бурильного замка и быть не менее 101,6 мм (4 дюймов); а размер места установки ключа (на муфту) не должен быть меньше
LBC [
таблица C.7,
таблица D.7 (приложение C, приложение D)] плюс 25,4 мм (1 дюйм). Бурильные замки, не соответствующие требованиям, согласованным с владельцем/пользователем, будут считаться негодными.
10.20 Бурильные замки. Измерение ниппеля бурильного замка и определение размера места установки ключа на муфте
10.20.1 Описание
Характеристики, определяющие минимальное место на замке для захвата ключом (для бурильных труб), должны зависеть от безопасного и эффективного проведения работ по закреплению на полу буровой вышки самого ключа, в первую очередь при использовании машинных ключей. В этом случае места для установки ключа должно быть достаточно для закрепления плашки ключа; также бурильщик или третий помощник бурильщика должен визуально удостовериться, что соединительные заплечики свободно передвигаются и могут быть легко свинчены и развинчены. Минимальные требования для места установки ключа, указанные в настоящем стандарте, выбираются в соответствии с руководством по машинным ключам.
Рекомендуется, чтобы все зоны армирования/наплавки твердым сплавом места установки ключей муфты и ниппеля были исключены из области закрепления плашки ключа, как указано выше, при выявлении минимального места установки ключа. Данный метод обеспечивает оптимальный захват и минимальное повреждение ключа. Если наружный диаметр бурильного замка изнашивается до практически полного удаления начального армирования/наплавки твердым сплавом, то пользователь может сделать данную область определяющей минимальное место для установки ключа.
Использование других видов ключей и приспособлений, спроектированных для свинчивания и развинчивания соединений, требует минимального места для установки ключа (оно отличается от минимального места для машинных ключей). В этом случае минимальное место должно быть согласовано с владельцем/пользователем. Пользователь должен обеспечить необходимые условия для соблюдения этой инструкции.
10.20.2 Подготовка поверхности
Все осматриваемые поверхности должны быть очищены во избежание попадания инородных веществ, мешающих измерениям.
10.20.3 Оборудование
Необходимо следующее оборудование: 250-миллиметровая стальная линейка с шагом 0,5 мм (или 12-дюймовая линейка с шагом 1/64 дюйма).
10.20.4 Освещение
Освещение должно соответствовать
9.3.2.
10.20.5 Процедура дефектоскопии
Измеряют место установки ключа на муфте и ниппеле с торцевой стороны замка до угла конического заплечика, а также наружный диаметр бурильного замка, как показано на
рисунке 8. При наличии армирования измеряют торцевую поверхность замка до армированного края бурильного замка. Данные о месте установки ключа (муфты и ниппеля) должны фиксироваться в акте осмотра.
Требуемую операцию для классификации см. 10.20.6.
10.20.6 Оценка и классификация
Если пользователь не выдвигает особых требований, то минимальный размер места установки ключа (на ниппеле) должен равняться 75% наружного диаметра бурильного замка и быть не менее 101,6 мм (4 дюймов); а размер места установки ключа (на муфту) не должен быть меньше
LBC как показано в
таблице C.7,
таблице D.7 (приложение C, приложение D) плюс 25,4 мм (1 дюйм). Бурильные замки, не соответствующие требованиям, согласованным с владельцем/пользователем, будут считаться негодными.
10.21 Бурильные замки. Магнитнопорошковая дефектоскопия ниппельной резьбы
10.21.1 Общие сведения
В
10.21 приведены требования к оборудованию, описание и процедура магнитнопорошковой дефектоскопии (мокрый способ) наружной поверхности ниппельной резьбы замков бурильных труб, бывших в употреблении. Данный контроль осуществляется для обнаружения поперечных трещин на канавках резьбы. Необходимо обратить особое внимание на последний находящийся в зацеплении виток резьбы.
Резьба начинается от малого конца ниппеля до основания штифта.
10.21.2 Оборудование
10.21.2.1 Продольное поле
Для контроля/осмотра может использоваться катушка переменного/постоянного тока (двухполупериодный переменный ток, однополупериодный переменный ток, однофазным выпрямлением или двухполупериодным однофазным выпрямлением с фильтрацией или пульсирующим постоянным током). Количество витков катушки должно указываться на катушке.
10.21.2.2 Магнитнопорошковая дефектоскопия
Раствор флуоресцентных магнитных частиц должен соответствовать
9.4.8.3. Необходимы источник ультрафиолетового излучения, флуоресцентные магнитные частицы, центрифужная пробирка объемом 100 мл (со шкалой 0,05 мл) и прибор, измеряющий ультрафиолетовое излучение. Если частицы находятся в виде аэрозоля, то центрифужная пробирка не требуется.
10.21.2.3 Дополнительное оборудование
Дополнительное оборудование включает магнитометр или флюксметр.
10.21.3 Освещение
Освещение осматриваемых поверхностей (флуоресцентными магнитными частицами) должно соответствовать
9.4.8.5.
10.21.4 Подготовка поверхности
Зоны контроля/осмотра должны быть очищены от смазки, резьбовой смазки, загрязнений и других инородных веществ, препятствующих подвижности частиц; завершают подготовку поверхности, смочив ее с помощью контейнера частиц и индикатора обнаружения.
Плоскости, обработанные, например, веществом, предупреждающим истирания (вмятины), должны быть гладкими и иметь толщину, равную или менее 0,05 мм (0,002 дюйма).
10.21.5 Калибровка
Требования к калибровке оборудования приведены в
разделе 9.
10.21.6 Поверка
10.21.6.1 Поверка интенсивности ультрафиолетового излучения
Необходимо проверить интенсивность ультрафиолетового излучения в рабочих условиях. Интенсивность должна равняться не менее 1000 мкВт/см2.
10.21.6.2 Катушка постоянного тока или пульсирующего постоянного тока
Выбирают из бурильной колонны стандартный замок для контроля/осмотра. Расположите катушку постоянного тока на бурильном замке рядом с запаечным заплечиком. Подают ток на катушку для создания остаточного продольного поля. При помощи этого поля направляют поток магнитных частиц на контролируемую область; необходимо проследить за подвижностью частиц. Если магнитные частицы продолжают двигаться в течение 10 с, необходимо усилить напряжение магнитного поля и снова направить поток магнитных частиц. Если магнитные частицы преждевременно выходят из суспензии (раньше 6 с), то необходимо перенаправить ток катушки (подавать его меньше). Продолжать процедуру, пока магнитные частицы не будут двигаться от 6 до 10 с после подачи тока.
После выбора магнитного поля, в зависимости от подвижности частиц, необходимо замерить поле в конечной части соединения с помощью флюксметра или магнитометра. Поле каждого последующего соединения должно равняться 10% установленной напряженности поля.
Примечание - Лишние ампер-витки (безындуктивные) могут привести к малой подвижности мокрых частиц; в свою очередь, это вызовет усиление фонового шума и снижение яркости.
10.21.6.3 Катушка переменного тока
Выбирают для осмотра из бурильной колонны стандартную трубу. Располагают катушку постоянного тока на трубе рядом с уплотнительным заплечиком. Подают на катушку ток и ультрафиолетовое излучение, затем на обе стороны катушки поливают раствором из магнитных частиц и измеряют расстояние, где частицы перемещаются под воздействием магнитного поля [от 76,2 мм (3 дюйма) до 101,6 мм (4 дюйма)]. Это расстояние является тестовым для каждого положения катушки переменного тока. Могут требоваться разные расположения катушек на резьбе.
10.21.7 Процедура дефектоскопии
В 10.21.7 определены минимальные требования по процедуре дефектоскопии; она может меняться в зависимости от состояния бурильной трубы и других дополнительных условий, оговоренных между владельцем и лабораторией. Контроль/осмотр резьбы при свете, описанный в
10.14, должен проводиться до контроля ультрафиолетовым излучением.
Следующая процедура предназначена для проведения дефектоскопии в затемненной зоне (максимальное видимое излучение равняется 21,5 лк). Дефектоскопист должен находиться в затемненной зоне по крайней мере в течение минуты до начала контроля/осмотра, так как глаза должны привыкнуть к темноте. Не допускается надевать темные/фотохромные линзы.
Следует установить катушку на осматриваемый заплечик наружной резьбы. Для катушки постоянного тока данное размещение требует подачи соответствующего магнитного поля, распространяющегося на всю зону резьбы. Для катушки переменного тока расстояние, отмеченное в
10.21.6.2, является максимальным тестовым расстоянием. Для осмотра всей длины ниппеля требуются разные расположения.
Подают напряжение на катушки постоянного тока; намагничивают поток частиц как минимум на 1 с (в соответствии с требованиями поверки). Выключают подачу тока. Убирают катушку и измеряют поле на конце бурильного замка в соответствии с
10.21.6.2. Присоединяют катушку, если необходимо получить соответствующее магнитное поле. Контроль/осмотр катушек переменного тока должен проводиться при помощи активного поля.
При использовании раствора осторожно распыляют его и распределяют суспензию по всей резьбе. С помощью ультрафиолетового излучения (в затемненной зоне) осматривают сечение резьбы вокруг трубы, обращая особое внимание на канавку последнего находящегося в зацеплении витка резьбы. Повторное использование частиц необходимо, если секция, находившаяся на дне, переместилась выше.
Для катушек переменного тока: помещают катушку так, чтобы ее действие охватывало всю необходимую область, а затем повторяют все действия.
Повторяют процедуры как минимум с охватом, равным 25,4 мм (1 дюйм), пока не будет задействована вся осматриваемая область.
После проведения дефектоскопии необходимо убрать магнитные частицы и очищающие вещества.
10.21.8 Оценка и классификация
Если на резьбе бурильного замка есть трещины, независимо от их глубины, она будет считаться непригодной.
Если необходимо различить трещины от следов обработки в канавках резьбы и отшлифовать их, используется высокоскоростной мягкий шлифовальный круг. Шлифование не избавляет от трещин.
10.21.9 Ремонт бракованных бурильных замков
В
10.16 перечислены требования по ремонту бракованных бурильных замков.
10.22 Бурильные замки. Магнитнопорошковая дефектоскопия внутренней резьбы
10.22.1 Общие сведения
Необходимо провести контроль/осмотр для обнаружения поперечных трещин в канавке резьбы, особое внимание необходимо уделить последнему находящемуся в зацеплении витку резьбы.
Область внутренней резьбы начинается от конца труб большого диаметра раззенкованной части и заканчивается концом канавки резьбы малого диаметра замковой муфты.
10.22.2 Оборудование
10.22.2.1 Продольное поле
Для осмотра может быть использована катушка переменного или постоянного тока (с однополупериодным, двухполупериодным однофазным выпрямлением или двухполупериодным однофазным выпрямлением с фильтрацией или пульсирующим постоянным током). Количество витков катушки должно быть указано на катушке.
10.22.2.2 Осмотр магнитнопорошковой дефектоскопией
Раствор флуоресцентных магнитных частиц должен соответствовать требованиям
9.4.8.3. Необходимо следующее оборудование: источник ультрафиолетового излучения, флуоресцентные магнитные частицы, центрифужная пробирка объемом 100 мл (со шкалой делений 0,05 мл) и прибор, измеряющий ультрафиолетовое излучение. Если частицы находятся в виде аэрозоля, центрифужная пробирка не требуется.
10.22.2.3 Дополнительное оборудование
Дополнительное оборудование включает в себя магнитометр или флюксметр.
10.22.3 Освещение
Освещение поверхностей во время проведения дефектоскопии флуоресцентными магнитными частицами должно соответствовать требованиям
9.4.8.5.
10.22.4 Подготовка поверхности
Зоны контроля/осмотра должны быть очищены от смазки, резьбовой смазки, загрязнений и других инородных веществ, препятствующих подвижности частиц; завершают подготовку поверхности, намочив ее с помощью контейнера частиц и индикатора обнаружения.
Плоскости, обработанные, например, веществом, предупреждающим истирания (вмятины), должны быть гладкими и иметь толщину, равную или меньшую 0,05 мм (0,002 дюйма).
10.22.5 Калибровка
Данные по калибровке оборудования приведены в
разделе 9.
Для проведения контроля/осмотра необходимо выбрать стандартный бурильный замок. Следует расположить катушку постоянного тока на бурильном замке рядом с резьбой. В соответствии с
таблицей C.1,
таблицей D.1 (приложение C, приложение D) подают ток на катушку, на наружный диаметр соединения муфты. При помощи остаточного магнитного поля направляют поток частиц в контролируемую область, необходимо проследить за подвижностью частиц. Следует отрегулировать поле и установить его как можно выше, нельзя допускать преждевременного вывода магнитных частиц из суспензии, находящейся в области резьбы. Частицы должны двигаться не менее 6 с.
После установления необходимого магнитного поля (выбирается в соответствии с подвижностью частиц) измеряют поле в конце соединения при помощи флюксметра или магнитометра. Поле каждого последующего соединения должно равняться 10% установленной напряженности поля.
10.22.7 Процедура дефектоскопии
Определяют минимальные требования по процедуре дефектоскопии; она может меняться в зависимости от состояния бурильной трубы и других дополнительных условий, оговоренных между владельцем и лабораторией. Контроль/осмотр резьбы при свете, описанный в
10.14, должен проводиться до контроля ультрафиолетовым излучением.
Следующая процедура предназначена для проведения дефектоскопии в затемненной зоне (максимальное видимое излучение равняется 21,5 лк). Дефектоскопист должен находиться в затемненной зоне по крайней мере в течение минуты до начала контроля/осмотра, так как глаза должны привыкнуть к темноте. Запрещается надевать темные/фотохромные линзы.
Для муфты устанавливают катушку на бурильном замке, на самом сечении резьбы. Подают на катушку ток и намагничивают ее (она должна быть намагничена в течение не менее 1 с). Выключают ток. Измеряют поле на конце бурильного замка, в соответствии с
10.22.6. Регулируют катушку, если необходимо определенное магнитное поле.
При использовании раствора необходимо осторожно его распылить и распределить суспензию по всей резьбе. С помощью ультрафиолетового излучения и зеркала для контроля/осмотра изучают верхнюю часть сечения резьбы, уделяют особое внимание последнему находящемуся в зацеплении витку резьбы. Следует повернуть бурильный замок на 180° и перенаправить поток магнитных частиц. Повторяют процедуру, описанную выше.
После проведения дефектоскопии необходимо убрать магнитные частицы.
10.22.8 Оценка
Если на резьбе бурильного замка есть трещины, независимо от их глубины она будет считаться непригодной.
Если необходимо отличить трещины от следов обработки в канавках резьбы и отшлифовать их, используется высокоскоростной мягкий шлифовальный круг. Шлифование не избавляет от трещин.
10.22.9 Ремонт бракованных бурильных замков
Для ремонта бракованных бурильных замков см.
10.16.
10.23 Бурильные замки. Измерение внутреннего диаметра ниппеля бурильного замка
10.23.1 Описание
Внутренний диаметр бурильного замка определяет предел прочности кручения ниппеля замка. Максимальный внутренний диаметр является основной величиной ниппеля, соответствующей коэффициенту кручения соединения бурильного замка и трубы (должно равняться не менее 80%). Число вращений зависит от минимальных значений стенки трубы соответствующего класса. Поскольку новые внутренние диаметры бурильного замка обычно соответствуют наивысшим требованиям к новым трубам - 80% и эти диаметры обычно остаются постоянными, данный осмотр проводится, только если проблема обнаружена визуально или при необходимости сервисного обслуживания.
10.23.2 Подготовка поверхности
Все осматриваемые поверхности должны быть очищены во избежание попадания инородных веществ, препятствующих контролю/осмотру.
10.23.3 Оборудование
Необходимо следующее оборудование: 250-миллиметровая стальная линейка с шагом 0,5 мм (или 12-дюймовая линейка с шагом 1/64 дюйма) и штангенциркуль внутреннего диаметра. Циферблатный штангенциркуль может быть заменен стальной линейкой. Циферблатный штангенциркуль и стальная линейка должны соответствовать требованиям
9.2.2 и
9.2.3.
10.23.4 Освещение
Освещение должно соответствовать
9.3.2.
10.23.5 Процедура дефектоскопии
Необходимо визуально проверить внутренний диаметр на износ, эрозию или другие повреждения.
Проверяют внутренний диаметр штангенциркулем на наличие утолщенных областей. Если таковые не обнаружены, проверяют полную глубину диаметра в типичной области с резьбой на полную глубину, как показано на
рисунке 8.
С помощью штангенциркуля или стальной линейки измеряют расстояние между контактами калибров.
10.23.6 Оценка и классификация
Размер максимального внутреннего диаметра должен быть зафиксирован в акте контроля/осмотра, а данные по бурильному замку классифицированы в соответствии с требованиями высокого классификационного стандарта, которые указаны на
рисунке 8, в
таблице C.6,
таблице D.6 (приложение C, приложение D).
10.24 Магнитнопорошковая дефектоскопия соединения наружного диаметра на наличие тепловых трещин
10.24.1 Общие сведения
Вся наружная поверхность муфты и ниппеля бурильного замка без учета армирования/наплавки твердым сплавом должна проверяться на наличие продольных дефектов. Бурильные замки и любое другое скважинное оборудование, вращающееся с помощью сильного бокового усилия против движения породы (пласта), может быть повреждено в результате тепловых повреждений (при трении). Если радиальное боковое давление высокое, то на поверхности могут появляться тепловые повреждения (при наличии бурового раствора). При вращении арматура поочередно нагревается и остывает. Из-за чего появляются многочисленные беспорядочные тепловые трещины, часто сопровождающиеся длинными осевыми трещинами, которые иногда растягиваются на все сечение замка.
10.24.2 Оборудование
10.24.2.1 Поперечное поле
Для проведения данного контроля/осмотра используются магнитные клещи на сочлененных ножках.
10.24.2.2 Сухие магнитные частицы
Сухие магнитные частицы должны отвечать требованиям
9.4.8.2. Рекомендуется использовать порошковую колбу (лампочку) для нанесения светового опыления на магнитные частицы.
10.24.3 Освещение
Освещение поверхностей при визуальном контроле/осмотре и магнитнопорошковой дефектоскопии должно соответствовать
9.3.2.
10.24.4 Подготовка поверхности
Проверяемые поверхности должны быть очищены от смазки, резьбовой смазки, загрязнений и других инородных веществ, препятствующих подвижности частиц и дефектоскопии. Все осматриваемые/контролируемые поверхности должны быть сухими.
Защитные покрытия (краска и другие вещества) должны наноситься ровным слоем. Их толщина должна равняться 0,05 мм (0,002 дюйма) или менее.
10.24.5 Калибровка
Требования по калибровке приведены в
разделе 9.
10.24.6.1 Магнитные клещи
Выбирают из бурильной колонны замковое соединение, которое будет служить образцом; прикрепляют к нему ножки магнитных клещей для максимизации поверхностей, контактирующих с замковым соединением (клещи располагаются перпендикулярно к оси замка).
10.24.6.2 Процедура дефектоскопии
В
10.24.6 перечислены минимальные требования для проведения дефектоскопии; эти требования зависят от состояния бурильной трубы и условий, оговоренных между владельцем и лабораторией.
При проведении дефектоскопии в освещенной зоне (538 лк - минимальное видимое излучение) запрещается надевать темные или фотохромные линзы.
a) располагают магнитные клещи поперек соединения наружного диаметра на расстоянии 12,7 мм (0,5 дюйма) от заплечика;
b) активируют магнитные клещи и, пока идет подача тока, направляют сухие магнитные частицы на световое облако, расположенное между ножками клещей (скорость должна быть почти нулевой);
c) первые признаки должны появиться минимум через 3 с; необходимо осмотреть поверхность повторно направленным потоком тока.
Если первые признаки так и не появились, выключают магнитные клещи и перемещают замок (разрешается захлестывание слоев друг на друга), повторяют
пункты a) -
c). Продолжают осматривать и перемещать магнитные клещи до завершения контроля/осмотра всего наружного диаметра замков или расстояния от заплечика до других элементов бурильной колонны (за исключением армирования/наплавки твердым сплавом), которое равняется 254 мм (10 дюймов).
Необходимо осмотреть наружный диаметр ниппеля и муфты бурильного замка.
10.24.7 Оценка и классификация
Тепловые трещины на муфте заплечика, равные 50,8 мм (2 дюйма) или глубже 0,5 мм (0,020 дюйма) не подлежат ремонту; оборудование с такими трещинами считается бракованным. Тепловые трещины, глубина которых равняется 0,5 мм (0,020 дюйма) или меньше, должны быть устранены, в противном случае бурильный замок считается бракованным.
10.25 Двусторонняя магнитнопорошковая дефектоскопия соединения наружного диаметра [наличие тепловых трещин (мокрый способ)]
10.25.1 Общие сведения
Необходимо проверить наружную поверхность муфты и ниппеля бурильного замка (за исключением армирования/наплавки твердым сплавом) на наличие продольных дефектов. Бурильные замки и любое другое скважинное оборудование, которое вращается благодаря боковому усилию, направленному против движения породы (пласта), может быть повреждено в результате тепловых повреждений (при трении). Если радиальная нагрузка достаточно высока, то на поверхности могут появляться тепловые повреждения (при наличии бурового раствора). При вращении арматура поочередно то нагревается, то остывает. Это является причиной многочисленных беспорядочных тепловых повреждений и длинных осевых трещин, которые тянутся по всему сечению замка.
10.25.2 Оборудование
10.25.2.1 Продольное поле
Для контроля/осмотра используются магнитные клещи, катушка переменного или постоянного тока (с однополупериодным, двухполупериодным однофазным выпрямлением или двухполупериодным однофазным выпрямлением с фильтрацией или пульсирующим постоянным током). Количество витков указывается непосредственно на самой катушке.
10.25.2.2 Поперечное/круговое поле
Могут использоваться магнитные клещи или внутренний проводник. Внутренний проводник должен обеспечиваться постоянным током, трехфазовым ректифицированным блоком питания переменного тока или блоком питания разряда конденсатора. Блок питания должен работать с определенной силой тока, как показано в
таблице C.2,
таблице D.2 (приложение C, приложение D). В
таблице C.17,
таблице D.17 (приложение C, приложение D) указаны значения массы/метр (фут) для различных комбинаций наружных/внутренних диаметров бурильных замков. В
таблице C.18,
таблице D.18 (приложение C, приложение D) указаны значения массы/метр (фут) для различных комбинаций наружных/внутренних диаметров утяжеленных бурильных труб.
10.25.2.3 Магнитные частицы (мокрый способ)
а) Дефектоскопия флуоресцентными частицами
Раствор флуоресцентных магнитных частиц должен соответствовать требованиям
9.4.8.3. Он должен состоять из следующего: источник ультрафиолетового излучения, флуоресцентные магнитные частицы, центрифужная пробирка объемом 100 мл (со шкалой деления по 0,05 мл) и прибор для измерения ультрафиолетового излучения. Если частицы находятся в виде аэрозоля, наличие центрифужной пробирки необязательно.
б) Белые и черные магнитные порошки
Аэрозольные вещества, использующиеся при дефектоскопии белым/черным магнитным порошком (мокрый способ), должны быть одного изготовителя, быть совместимыми и использоваться в соответствии с требованиями изготовителя.
10.25.2.4 Дополнительное оборудование
Если при намагничивании используется катушка постоянного тока, то наличие магнитометра и флюксметра является обязательным.
10.25.3 Освещение
Освещение при проведении визуальной дефектоскопии и дефектоскопии черным магнитным порошком должно соответствовать требованиям
9.3.2. Освещение поверхностей, которые подвергаются дефектоскопии флуоресцентным магнитным порошком, должно соответствовать требованиям
9.4.8.5.
10.25.4 Подготовка поверхности
Проверяемые поверхности должны быть очищены от смазки, резьбовой смазки, загрязнений и других инородных веществ, препятствующих подвижности частиц и дефектоскопии. Все осматриваемые/контролируемые поверхности должны быть сухими.
Защитные покрытия (краска и другие вещества) должны наноситься ровным слоем. Их толщина должна равняться 0,05 мм (0,002 дюйма) или меньше.
10.25.5 Калибровка
Требования по калибровке приведены в
разделе 9.
10.25.6 Поверка
10.25.6.1 Магнитные клещи
Выбирают из бурильной колонны трубу, которая будет служить образцом, прикрепляют к ней ножки магнитных клещей для максимизации поверхностей, контактирующих с трубой (во время дефектоскопии).
10.25.6.2 Катушки постоянного тока
Выбирают из колонны бурильный замок, который будет служить образцом при проведении контроля/осмотра. Располагают катушку постоянного тока в центре бурильного замка. Подают на катушку ток для создания остаточного продольного поля. С помощью остаточного поля направляют поток магнитных частиц на контролируемую зону; следят за подвижностью частиц. Если магнитные частицы находятся в движении более 10 с, необходимо усилить напряжение магнитного поля и перенаправить поток магнитных частиц. Если магнитные частицы преждевременно выводятся из суспензии (раньше 6 с), необходимо изменить направление тока катушки и уменьшить его. Проводят операцию, пока продолжительность движения магнитных частиц не будет равняться от 6 до 10 с после начала подачи тока.
После настройки магнитного поля, зависящего от подвижности частиц, необходимо измерить величину поля в конечной части соединения (флюксметром/магнитометром). Поле в каждом следующем соединении должно равняться 10% определенного показателя напряжения.
10.25.6.3 Катушки переменного тока
Выбирают из бурильной колонны трубу, которая будет служить образцом для проведения контроля/осмотра. Располагают катушку постоянного тока на трубе недалеко от центра бурильного замка. Подают на катушку ток и ультрафиолетовое излучение, затем обе стороны катушки обрабатывают раствором из магнитных частиц; измеряют область, где частицы перемещаются под воздействием магнитного поля. Обычно эта область равняется от 76,2 мм (3 дюйма) до 101,6 мм (4 дюйма). Это расстояние является тестовым для каждого положения катушки переменного тока. Могут потребоваться и другие тестовые положения катушки на резьбе.
10.25.6.4 Намагниченный стержень
Намагниченный стержень должен быть изолирован от контролируемой зоны. Блок питания должен соответствовать требованиям, указанным в
таблице C.2,
таблице D.2 (приложение C, приложение D); величина массы/метр (фут) для бурильного замка. Показатель тока, определенный таблицей, является намагничивающим током при проведении продольной дефектоскопии. В
таблице C.17,
таблице D.17 (приложение C, приложение D) указаны значения массы/метр (фут) для различных комбинаций наружных и внутренних диаметров бурильных замков. В
таблице C.18,
таблице D.18 (приложение C, приложение D) указаны значения массы/метр (фут) для различных комбинаций наружных и внутренних диаметров утяжеленных бурильных труб.
10.25.7 Процедура дефектоскопии
10.25.7.1 Общие сведения
Выбранная область должна контролироваться/осматриваться продольным и поперечным/круговым электромагнитным полем (в соответствии с
10.25.7.2,
10.25.7.3). Процедура дефектоскопии, описанная в
10.25.7, включает в себя минимальные требования, может меняться в зависимости от состояния бурильной трубы и любых других условий, оговоренных между владельцем и лабораторией.
10.25.7.2 Флуоресцентный метод
а) Общие сведения
Данная процедура проводится в затемненной зоне (максимальное видимое излучение - 21,5 лк). Дефектоскопист должен находиться в затемненной зоне не менее минуты до начала контроля/осмотра, его глаза должны привыкнуть к темноте. Запрещается надевать темные или фотохромные линзы.
Продольная дефектоскопия может проводиться с помощью магнитных клещей в соответствии с
10.25.7.2.б) или при помощи намагничивающего стержня и блока питания, работающего на постоянном токе, в соответствии с
10.25.7.2.г). Необходимо поместить бурильный замок в затемненную зону; расположить магнитные клещи поперек соединения наружного диаметра на расстоянии 12,7 мм (0,5 дюйма) от заплечика. Активируют магнитные клещи и во время подачи тока воздействуют на контролируемую область раствором, распределив суспензию по наружному диаметру замка (по его намагниченной области). Первые признаки появятся через 3 с; направляют на исследуемую область ток и, используя ультрафиолетовое излучение, осматривают ее.
Если не обнаружится никаких признаков, выключают магнитные клещи и перемещают замок (допускается образование нахлестов); повторяют все процедуры. Продолжают контроль и перемещение до завершения осмотра наружного диаметра замков или расстояния от заплечика до других элементов бурильной штанги [оно должно равняться 254 мм (10 дюймов), за исключением армирования/наплавки твердым сплавом].
Дефектоскопия поперечного магнитного поля проводится с помощью магнитных клещей или катушки
(10.25.7.2.в). С помощью ножек магнитных клещей (расположенных в продольном направлении) необходимо осмотреть область, а затем выполнить процедуры, описанные выше. Раствор распыляют и распределяют по наружному диаметру бурильного замка (его намагниченная часть). Первые признаки должны появиться через 3 с, направляют ток на исследуемую область, осматривают ее ультрафиолетовым излучением. Продолжают эти процедуры, пока не исследуют весь наружный диаметр на наличие продольных дефектов.
Помещают бурильный замок в затемненную зону, располагают катушку на середине бурильного замка. Намагничивают замок и распыляют раствор, распределив его по всей поверхности замка. Первые признаки появятся через 3 с. Далее с помощью ультрафиолетового излучения осматривают всю зону.
Следует перевернуть бурильный замок и обследовать весь его наружный диаметр.
г) Намагничивающий стержень
Необходимо намагнитить трубу. Помещают бурильный замок в затемненную зону; распыляют раствор по всей поверхности замка. Первые признаки появятся через 3 с; с помощью ультрафиолетового излучения осматривают исследуемую область.
Следует перевернуть бурильный замок и обследовать весь его наружный диаметр.
10.25.7.3 Дефектоскопия белым/черным магнитным порошком (мокрый способ)
а) Общие сведения
Процедуры 10.25.7.3.б) -
10.25.7.3.г) должны проводиться в освещенных зонах (минимальное видимое излучение равно 538 лк). Не рекомендуется надевать затемненные или фотохромные линзы. Белый контрастный порошок должен использоваться при контроле/осмотре наружного диаметра замка (также обшивки) при свете, за исключением армирования/наплавки твердым сплавом. Необходимо избежать повреждений фонового покрытия.
Необходимо поместить бурильный замок в затемненную зону; расположить магнитные клещи поперек соединения наружного диаметра на расстоянии 12,7 мм (0,5 дюйма) от заплечика. Следует активировать магнитные клещи и во время подачи тока воздействовать на контролируемую область раствором, распределив суспензию по наружному диаметру замка (по его намагниченной области). Первые признаки появятся через 3 с; осматривают область на наличие продольных дефектов.
Если не обнаружится никаких признаков, выключают магнитные клещи и перемещают замок (допускается образование нахлестов); повторяют все процедуры. Продолжают контроль и перемещение до завершения осмотра наружного диаметра замков или расстояния от заплечика до других элементов бурильной штанги [оно должно равняться 254 мм (10 дюймов), за исключением армирования/наплавки твердым сплавом].
Ножками магнитных клещей (расположенных в продольном направлении) исследуют контролируемую область на наличие поперечных дефектов.
в) Катушка
Помещают бурильный замок в затемненную зону, располагают катушку на середине бурильного замка. Намагничивают замок и распыляют раствор, распределив его по всей поверхности замка. Первые признаки появятся через 3 с. Далее с помощью ультрафиолетового излучения осматривают всю зону.
Необходимо перевернуть бурильный замок и обследовать весь его наружный диаметр.
г) Намагничивающий стержень
Необходимо намагнитить трубу. Бурильный замок помещают в затемненную зону, распыляют раствор по всей поверхности замка. Первые признаки появятся через 3 с; с помощью ультрафиолетового излучения необходимо осмотреть исследуемую область.
Необходимо перевернуть бурильный замок и обследовать весь его наружный диаметр.
10.25.8 Оценка и классификация
Тепловые трещины на муфте заплечика, равные 50,8 мм (2 дюйма) или глубже 0,5 мм (0,020 дюйма) не подлежат ремонту; оборудование с такими трещинами считается бракованным. Тепловые трещины, глубина которых равняется 0,5 мм (0,020 дюйма) или меньше, должны быть устранены, в противном случае бурильный замок считается бракованным.
10.26 Бурильные замки. Измерение глубины зенковки, длины основания штифта и ширины уплотнения
10.26.1 Описание
В зависимости от показателей, полученных при измерении глубины раззенкованной части и длины штифта, выбирается метод проведения повторной шлифовки. При проверке плоскости заплечика могут быть выявлены вмятины и неровности торцовой поверхности; они могут стать причиной дефектов уплотнения. Под ширину уплотнения попадает торцовая область; металл торцовой поверхности не должен деформироваться при воздействии крутящего момента.
Примечание - Повторно шлифованные бурильные замки могут обладать некоторыми допустимыми дефектами глубины раззенкованной области и длины основания штифта.
10.26.2 Подготовка поверхности
Все осматриваемые поверхности должны быть очищены во избежание попадания инородных веществ, препятствующих проведению проверок.
10.26.3 Оборудование
Необходимо следующее оборудование: 250-миллиметровая стальная линейка с шагом 0,5 мм (или 12-дюймовая линейка с шагом 1/64 дюйма), угломер с транспортиром, наземные профили резьбы. Циферблатный штангенциркуль может быть заменен стальной линейкой. Циферблатный штангенциркуль и стальная линейка должны соответствовать требованиям
9.2.2 и
9.2.3. Необходима дополнительная линейка для проверки внецентренного износа заплечиков.
10.26.4 Освещение
Освещение должно соответствовать
9.3.2.
10.26.5 Процедура дефектоскопии
Измеряют длину раззенкованной части. Располагают линейку так, чтобы ее конец находился на пересечении раззенкованной части, а начало - у заостренного конца; измеряют полученное расстояние. Минимальная длина раззенкованной части указана в
таблице C.7,
таблице D.7 (приложение C, приложение D). Муфты, длина раззенкованной части которых менее приведенных в
таблице C.7,
таблице D.7 (приложение C, приложение D), будут считаться бракованными.
Измеряют длину основания штифта
Lpb, как показано на
рисунке 9. Используя резьбовое лекало, определяют глубину витка резьбы, ближайшего к уплотнительному заплечику. Располагают линейку так, чтобы ее конец находился напротив торцовой поверхности; измеряют расстояние от пересечения основания штифта до профиля резьбы на полную глубину. Максимальная длина основания штифта указана в
таблице C.7,
таблице D.7 (приложение C, приложение D); штифт, основание которого имеет большую длину, считается бракованным.
Рисунок 9 - Область измерения штифта
Ширина уплотнения измеряется от угла наружной фаски уплотняющей поверхности до угла внутренней фаски торцевой поверхности. Измерения проводятся там, где толщина уплотнения минимальна, как показано на
рисунке 2. Ширина уплотнения не должна быть менее 1,19 мм (0,047 дюйма) от минимальной ширины заплечика, указанной в
таблице C.6,
таблице D.6 (приложение C, приложение D).
Располагают линейку на 18° относительно заплечика; необходимо измерить диаметр в трех местах. Осматривают зазоры между линейкой и заплечиком на 18°; фиксируют минимальный. Используют угломер для определения угла заплечика, равного 18°; фиксируют эти данные, если они не соответствуют требованиям владельца/пользователя. Если владельцы/пользователи не выдвигают никаких требований, то необходимо задокументировать данные бурильных замков, углы заплечиков которых равны от 16° до 20°.
10.27 Соединение КНБК. Визуальный контроль скосов, уплотнений, резьбы и частей оборудования, снимающих остаточное напряжение
10.27.1 Описание
Контроль/осмотр включает визуальное изучение соединений КНБК. Контроль/осмотр распространяется на четыре области: фаска, уплотнительные заплечики, резьба и части оборудования, снимающие остаточное напряжение (при наличии).
Контроль/осмотр проводится в освещенной зоне (минимальное видимое излучение равняется 538 лк) и распространяется на следующее:
a) проверка диаметра фаски (по окружности);
b) контроль/осмотр уплотнения на наличие дефектов (выступов), которые появляются в результате механических воздействий и повреждений (например, вмятины, зарезы, царапины, язвины, зазубрины, любые визуально обнаруживаемые дефекты). Заплечик также необходимо проверить на плоскость;
c) на резьбовое упорное соединение роторного заплечика должно быть нанесено помехоустойчивое покрытие. Для обнаружения неровностей и сбоев в резьбе необходимо использовать профиль резьбы;
d) части оборудования, снимающие остаточное напряжение, должны быть с гладкой (ровной) поверхностью, так как она облегчает распространение циклического напряжения. В этом случае должны отсутствовать любые концентраторы напряжения. Дефектоскопия выявляет и оценивает концентратор напряжения.
10.27.2 Подготовка
Все осматриваемые поверхности должны быть очищены от инородных веществ, препятствующих дефектоскопии. Проверяемые изделия должны располагаться так, чтобы во время контроля/осмотра они свободно поворачивались на 360°.
10.27.3 Оборудование
Необходимо следующее оборудование: стальная линейка с шагом 0,5 мм (или 1/64 дюйма), наземный профиль (резьбовое лекало), контролирующее зеркало, шагомер, соответствующий нормам по установке, портативный фонарь или зеркало для освещения внутренних поверхностей.
10.27.4 Калибровка
Приборы, измеряющие резьбу, должны калиброваться не реже чем раз в полгода; нетипичные воздействия, которым они подвергаются, влияют на точность прибора.
10.27.5 Освещение
Освещение должно соответствовать
9.3.2.
10.27.6 Поверка
Шагомер и его поверхности должны обладать определенным диаметром [+/- 0,05 мм (+/- 0,002 дюйма)] [(
таблица C.3,
таблица D.3) (приложение C, приложение D)] и интервалом шага, равным 50,8 мм (2 дюйма). Прибор должен поверяться в соответствии с эталонами (во время дуговых колебаний нулевая отметка должна равняться нулю).
10.27.7 Процедура дефектоскопии
Фаска должна располагаться на диаметре окружности и равняться 0,79 мм (1/32 дюйма). Если на детали присутствует накладной сварной шов, она считается бракованной.
На поверхности заплечика находится одна уплотнительная часть, расположенная со стороны резьбового упорного соединения. Это требование выполняется, если поверхность самого заплечика гладкая и плоская. Осматривают заплечик и его уплотнительную часть с помощью визуальной дефектоскопии. Кнопочным переключателем или линейкой исследуют поверхность на наличие впадин и выступов (дополнительная к визуальной дефектоскопии процедура). При соблюдении всех процедур, описанных выше, необходимо провести повторную шлифовку и ремонт. При обнаружении дефектов, таких как язвины, зарезы, царапины, вмятины, полости, они должны классифицироваться в соответствии с
10.27.8.1.
Необходимо визуально осмотреть замковую муфту на наличие отклонений по соосности. Если муфта не центрирована, необходимо определить, находится ли проходное отверстие в ее середине. Если ось резьбы и проходного отверстия смещены от центра более 1,52 мм (0,06 дюйма), то оборудование должно быть промаркировано владельцем/пользователем для дальнейшего правильного использования (скважинное оборудование, что не центрировано).
Для проверки заплечика на плоскость необходимо расположить линейку поперек торца штанги (со стороны внутренней резьбы) и основания штифта. Заплечик будет считаться бракованным, если будут обнаружены малейшие отклонения от плоскости.
Резьба не должна обладать резкими углублениями, находящимися между наиболее глубокой или круглодонной впадиной; если область ржавления конусообразной впадины резьбы больше 0,78 мм (0,031 дюйма), то считается, что на резьбе присутствует коррозия. Если эти требования соблюдаются, то необходимо провести ремонт оборудования.
Поверхности резьбы должны быть осмотрены на наличие металлических выступов. Зазубрины и раздробленные части являются причиной появления металлических выступов. Резьба также должна проверяться на наличие царапин, язвин, зарезов, зазубрин и впадин. Для контроля/осмотра состояния резьбы муфты и ниппеля (на наличие износа) используется шагомер. Дефектоскопист должен определить визуально обнаруживаемые зазоры между боковой поверхностью профиля резьбы, шагомером, впадиной и верхней точкой резьбы. Необходимо дважды проводить контроль/осмотр профиля резьбы, который должен находиться под углом 90°. Если при контроле/осмотре обнаружен видимый зазор и выявлены отклонения от эталонного образца, то они должны измеряться шагомером (при наличии растяжки резьбы).
Располагают линейку на муфте (на вершине ее резьбы), чтобы убедиться, что все вершины находятся на одном уровне. Если линейка находится в неустойчивом положении, деталь считается бракованной.
10.27.8 Оценка и классификация
10.27.8.1 Уплотнительные заплечики
Все поверхности с бугорками считаются бракованными.
Все уплотнительные заплечики, у которых обнаружены признаки истирания (вмятины), считаются бракованными.
Необходимо осмотреть поверхность уплотнительных заплечиков на наличие трещин и вмятин, которые являются причиной утечек. Те вмятины и трещины, которые находятся на расстоянии не меньше 1,5 мм (0,06 дюйма) от фаски наружного диаметра или фаски зенковки, являются допустимыми. Допустимыми являются те вмятины и трещины, которые не занимают более 50% радиальной ширины уплотнения или более 6,3 мм (0,25 дюйма) по окружности. Все остальные вмятины и трещины необходимо устранить.
10.27.8.2 Повторная шлифовка бракованных уплотняющих поверхностей
Поверхности, которые считаются бракованными из-за жидкостной эрозии, утечек, дубильных орешков, вмятин, пластин или отслоившегося металла, должны быть повторно отшлифованы для исправления вышеперечисленных дефектов. Также учитывается следующее:
a) максимальное количество удаленного при шлифовке материала (с ниппеля, муфты) должно равняться 0,78 мм (0,031 дюйма);
b) быть не больше 1,57 мм (0,062 дюйма) в общем количестве. Во время шлифовки должно быть убрано минимальное количество материала. При превышении утвержденных норм по количеству удаленного материала соединение будет считаться бракованным.
Примечание - Без сравнительного анализа с эталонным образцом невозможно определить результат повторной шлифовки.
После исправления всех дефектов необходимо повторно осмотреть поверхность в соответствии с
10.27.7.
10.27.8.3 Поверхность резьбы
а) Выступы
Резьба с выступами считается бракованной. Поверхность с выступами может быть отремонтирована с помощью заточки напильником. После заточки необходимо проверить профиль резьбы. Он должен соответствовать требованиям
10.27.8.3.г); в противном случае детали считаются бракованными.
б) Истирание металла (вмятины)
Вся стертая резьба считается бракованной.
в) Вмятины, язвины, царапины, зарезы
Вмятины, зарезы, язвины и царапины, из-за которых появляются небольшие углубления на верхней и боковой части резьбы, допустимы, если их длина не превышает 38,1 мм (1,5 дюйма). Профиль резьбы с острокильными дефектами является бракованной деталью. Резьба, если в последнем находящемся в зацеплении витке резьбы находятся язвины, царапины, зарезы, вмятины, считается бракованной. Язвины, царапины и вмятины, находящиеся в основании витков резьбы, по глубине не должны превышать 0,78 мм (0,031 дюйма).
Шагомер должен определять состояние и износ резьбы муфты и ниппеля. Дефектоскопист должен определить видимый зазор между шагомером и профилем резьбы (ее нижней и наивысшей частью). Соединение считается бракованным, если видимый зазор между шагомером и профилем резьбы больше 0,78 мм (0,031 дюйма) (проводятся измерения четырех последовательных витков) или больше 1,5 мм (0,06 дюйма) (проводятся измерения двух последовательных витков). Соединения с видимым зазором больше 0,4 мм (0,016 дюйма) являются бракованными. Любые показатели растяжения резьбы должны контролироваться/оцениваться и классифицироваться в соответствии с
10.15.6.2.
10.27.8.4 Приборы, снимающие остаточные напряжения
На цилиндрической части разгрузочного желобка не должно быть коррозии, язвин, царапин, маркировок или других концентраторов напряжений, превышающих размер 0,78 мм (0,031 дюйма), а также дефектов, глубина которых больше 1,5 мм (0,06 дюйма). Области, пораженные коррозией, могут быть ликвидированы с помощью полировки наждачной бумагой или лепестковым шлифовальным кругом. Разгрузочный паз, проштампованный методом холодной штамповки, считается бракованным.
10.27.9 Ремонт бракованных соединений КНБК
Ремонт и возобновление эксплуатации бракованных соединений КНБК возможны, если соблюдаются требования по длине оборудования и высоте места установки ключа бурильного замка. Область, на которой выявлены трещины, должна быть ликвидирована до проведения ремонта. Все ликвидированные (сточенные) соединения должны отвечать требованиям к новому оборудованию и должны осматриваться в соответствии с
10.31 (удаление ферромагнитных частиц с КНБК) и
10.32 (удаление неферромагнитных компонентов КНБК).
10.28 КНБК. Измерение наружного диаметра муфты, внутреннего диаметра ниппеля, диаметра раззенкованной части и определение расположения тестового образца (при наличии)
10.28.1 Описание
Необходимо измерить наружный диаметр муфты и внутренний диаметр ниппеля. Полученные величины необходимо задокументировать для дальнейшего вычисления коэффициента прочности на изгиб (КПИ) уплотнительного элемента. У колонны утяжеленных бурильных труб необходимо измерить внутренний диаметр муфты и определить минимальный наружный диаметр, соответствующий минимальному коэффициенту прочности на изгиб (КПИ). Определяют максимальный наружный диаметр, соответствующий максимальному коэффициенту прочности на изгиб (КПИ). На диаметр утяжеленных труб, находящийся в пределах минимального и максимального коэффициента прочности на изгиб (КПИ), не влияет порядок сборки оборудования. Если диаметр утяжеленных труб больше допустимого, они должны маркироваться владельцем/пользователем для их дальнейшего контроля/осмотра. Диаметры раззенкованной части измеряются для определения деформации муфты. При наличии тестовых образцов необходимо замерить расположение соседней к нему уплотняющей поверхности.
10.28.2 Подготовка поверхности
Все осматриваемые поверхности должны быть очищены во избежание попадания инородных веществ, препятствующих измерениям.
10.28.3 Оборудование
Необходимо следующее оборудование: 250-миллиметровая стальная линейка с шагом 0,5 мм (или 12-дюймовая линейка с шагом 1/64 дюйма) и штангенциркуль для измерения наружного и внутреннего диаметра. Циферблатный штангенциркуль можно заменить стальной линейкой. Циферблатный штангенциркуль и стальная линейка должны соответствовать требованиям
9.2.2 и
9.2.3.
10.28.4 Освещение
Освещение должно соответствовать
9.3.2.
10.28.5 Процедура дефектоскопии
Измеряют наружный диаметр соединения штангенциркулем, определяют минимальный диаметр муфты: он должен равняться примерно 101,6 мм (4 дюйма) от запаечного ранта. После вычисления минимального наружного диаметра необходимо отрегулировать штангенциркуль в соответствии с этим диаметром.
Используя стальную линейку или штангенциркуль, измеряют расстояние между контактами штангенциркуля.
Необходимо задокументировать значение величины минимального наружного диаметра.
Необходимо отрегулировать штангенциркуль, внутренний диаметр муфты должен совпадать с внутренним диаметром ниппеля и должен равняться 76,2 мм (3 дюйма) от конца ниппеля.
Используя стальную линейку или штангенциркуль, необходимо измерить расстояние между контактами штангенциркуля.
Необходимо задокументировать значение максимального внутреннего диаметра.
Используя прецизионную линейку или циферблатный штангенциркуль, измеряют диаметр раззенкованной части
Qc или раззенкованную часть с малым вращающим моментом
DL Torq, как показано на
рисунках 10 и
11; измерения проводятся в двух местах под углом 90°. Измерения проводят со стороны спроектированного пересечения раззенкованного отверстия с концом торца штанги и внутренней резьбой (а не со стороны внутренней фаски). Диаметры не должны превышать величины, приведенные в
таблицах C.9 и
C.10,
таблицах D.9 и
D.10 (приложение C, приложение D).
a - скос
Рисунок 10 - Области для измерений. Муфта
Рисунок 11 - Малый крутящий момент соединения
При наличии тестовых образцов необходимо измерить расстояние от него до поверхности. Если расстояние показывает, что больше 1,5 мм (0,06 дюйма) поверхности было удалено повторной шлифовкой, то соединение считается бракованным. Документирование данных показателей не требуется.
10.28.6 Оценка и классификация
10.28.6.1 Коэффициент прочности на изгиб (КПИ)
При определении коэффициента прочности на изгиб (КПИ) допуск определяется владельцем/пользователем. При отсутствии других требований лаборатория должна фиксировать показатели наружного и внутреннего диаметра без оценок.
При определении допуска для коэффициента прочности на изгиб (КПИ) необходимо найти наименьший и наибольший внутренний диаметр колонны. Наименьший внутренний диаметр используется для определения размеров наименьшего наружного диаметра, который входит в состав колонны [должен соответствовать коэффициенту прочности на изгиб (КПИ)]. Наибольший внутренний диаметр используется для определения размеров наибольшего наружного диаметра, который входит в состав колонны [должен соответствовать коэффициенту прочности на изгиб (КПИ)]. Эти предельные значения считаются допустимыми для диаметров КНБК.
В
таблице C.12,
таблице D.12 (приложение C, приложение D) перечислены значения наружных и внутренних диаметров стандартных резьбовых упорных соединений; эти значения соответствуют коэффициентам прочности на изгиб (КПИ). Различия между измеренным внутренним диаметром, приведенным в
таблице C.12,
таблице D.12 (приложение C, приложение D), незначительны; выбирают внутренний диаметр, соответствующий измеренному.
Коэффициенты прочности на изгиб (КПИ) могут использоваться в качестве инструкции для определения соответствующих допустимых значений:
a) КНБК меньше 152,4 мм (6 дюймов): от 1,90 до 2,50;
b) КНБК от 152,4 до 203,2 мм (от 6 до 8 дюймов): от 2,25 до 2,75;
c) КНБК больше 203,2 мм (8 дюймов): от 2,50 до 3,20.
Для определения коэффициента прочности на изгиб (КПИ) для соединений необходимо предварительно изучить инструкции изготовителя.
10.28.6.2 Диаметр раззенкованного отверстия
Муфта считается бракованной, если диаметр раззенкованного отверстия более максимального диаметра, выбранного в соответствии с
таблицами C.9 и
C.10,
таблицами D.9 и
D.10 (приложение C, приложение D).
10.29 КНБК. Контроль/осмотр диаметра упорного торца резьбы
10.29.1 Описание
Диаметр упорного торца резьбы влияет на силу крепления заплечиков при определенном моменте скручивания. От этого зависит способность заплечиков оставаться скрепленными вместе и уплотненными при моменте изгиба наклонной скважины.
10.29.2 Подготовка поверхности
Все осматриваемые поверхности должны быть очищены во избежание попадания инородных веществ, препятствующих измерениям.
10.29.3 Оборудование
Необходимо следующее оборудование: 250-миллиметровая стальная линейка с шагом 0,5 мм (или 12-дюймовая линейка с шагом 1/64 дюйма) и штангенциркуль наружного диаметра. Циферблатный штангенциркуль может заменяться стальной линейкой. Циферблатный штангенциркуль и стальная линейка должны соответствовать требованиям
9.2.2 и
9.2.3.
10.29.4 Освещение
Освещение должно соответствовать
9.3.2.
10.29.5 Процедура дефектоскопии
Следует отрегулировать штангенциркуль по максимальному диаметру упорного торца резьбы для нахождения части КНБК и наружного диаметра, как указано в
таблице C.11,
таблице D.11 (приложение C, приложение D).
Необходимо изучить все диаметры упорного торца резьбы; измеренный диаметр должен быть менее максимального показателя. Данная проверка осуществляется в двух местах каждого соединения под углом 90°.
Необходимо отрегулировать штангенциркуль по минимальному наружному диаметру упорного торца резьбы для нахождения части КНБК и наружного диаметра.
Следует изучить все диаметры фаски; измеренный диаметр должен быть более минимального. Данная проверка осуществляется в двух местах каждого соединения под углом 90°.
10.29.6 Оценка и классификация
Необходимо измерить диаметры упорного торца резьбы, не входящие в установленные пределы, в соответствии с
10.30.
10.30 КНБК. Измерение диаметра упорного торца резьбы
10.30.1 Описание
Диаметр упорного торца резьбы воздействует на напряжение смятия, с помощью которого закреплены заплечики (при заданном моменте скручивания). При этом заплечики остаются закрепленными и уплотненными при воздействии момента изгиба наклонной скважины.
10.30.2 Подготовка поверхности
Все осматриваемые поверхности должны быть очищены во избежание попадания инородных веществ, препятствующих измерениям.
10.30.3 Оборудование
Необходимо следующее оборудование: 250-миллиметровая стальная линейка с шагом 0,5 мм (или 12-дюймовая линейка с шагом 1/64 дюйма) и штангенциркуль наружного диаметра. Циферблатный штангенциркуль можно заменить стальной линейкой. Измерения могут проводиться только циферблатным штангенциркулем. Циферблатный штангенциркуль и стальная линейка должны соответствовать требованиям
9.2.2 и
9.2.3.
10.30.4 Освещение
Освещение должно соответствовать
9.3.2.
10.30.5 Процедура дефектоскопии
Штангенциркуль устанавливают на пересечении фаски и заплечика.
Диаметр измеряется стальной линейкой или циферблатным штангенциркулем.
10.30.6 Оценка и классификация
Величина диаметра упорного торца резьбы должна входить в пределы, определенные
таблицей C.11,
таблицей D.11 (приложение C, приложение D). Диаметры упорного торца резьбы, не отвечающие требованиям, должны быть повторно сточены, иначе элемент КНБК будет считаться бракованным.
10.31 КНБК. Магнитнопорошковая дефектоскопия внутренней и внешней резьбы
10.31.1 Общие сведения
В
10.31 перечислены требования, описание процедуры и методы для проведения магнитнопорошковой дефектоскопии (влажный метод) наружных поверхностей внутренней и внешней резьбы (для элементов КНБК). Дефектоскопия распространяется на детали, снимающие остаточное напряжение (при наличии). Дефектоскопия осуществляется с целью обнаружения поперечных трещин в резьбе и деталях, снимающих остаточное напряжение (особое внимание надо уделить последнему находящемуся в зацеплении витку резьбы).
Внешняя резьба охватывает область от малого конца ниппельной резьбы до пересечения основания штифта или разгрузочной канавки заплечика. Внутренняя резьба охватывает область от синюжного края раззенкованного отверстия до основания резьбовой впадины малого конца муфты/малого скошенного края муфты.
10.31.2 Оборудование
10.31.2.1 Катушка
Для контроля/осмотра используется катушка переменного или постоянного тока (с однополупериодным, двухполупериодным однофазным выпрямлением или двухполупериодным однофазным выпрямлением с фильтрацией или пульсирующим постоянным током). Количество витков катушки должно быть указано на катушке.
10.31.2.2 Дефектоскопия методом флуоресцентных частиц
Раствор флуоресцентных магнитных частиц должен соответствовать требованиям
9.4.8.3. Необходим источник ультрафиолетового излучения, флуоресцентные магнитные частицы, центрифужная пробирка объемом 100 мл (со шкалой деления по 0,05 мл) и прибор для измерения ультрафиолетового излучения. Если частицы используются в форме аэрозоля, центрифужная пробирка не нужна.
10.31.2.3 Дополнительное оборудование
В состав дополнительного оборудования входит магнитометр (или флюксметр).
10.31.3 Освещение
Освещение поверхностей, которые подвергаются флуоресцентной дефектоскопии, должно соответствовать требованиям
9.4.8.5.
10.31.4 Подготовка поверхности
Контролируемые/осматриваемые поверхности должны очищаться от резьбовой смазки, загрязнений и других инородных веществ, которые мешают подвижности частиц; влажное очищение поверхности следует заканчивать проведением замеров.
Покрытия, нанесенные на поверхность, например покрытия, препятствующие вмятинам, должны быть гладкими, их толщина должна равняться или быть менее 0,05 мм (0,002 дюйма).
10.31.5 Калибровка
10.31.6 Поверка
10.31.6.1 Катушка постоянного тока на штифтовом соединении
Выбирают для контроля/осмотра типичный образец КНБК из бурильной колонны. Располагают катушку внизу бурильной колонны КНБК рядом с заплечиком. Полярность катушки утяжеленных бурильных труб должна равняться остаточной полярности утяжеленной трубы. Включают катушку для определения остаточного продольного магнитного поля. При помощи него направляют поток магнитных частиц на контролируемую область; необходимо проследить за подвижностью частиц. Если магнитные частицы подвижны более 10 с, необходимо усилить напряжение магнитного поля и перенаправить поток магнитных частиц. Если магнитные частицы преждевременно извлекаются из суспензии (раньше 6 с), необходимо изменить направление и количество тока катушки. Продолжают эту процедуру, пока подвижность магнитных частиц не будет продолжаться от 6 до 10 с после начала подачи тока.
Примечание - В коротких переводниках может не быть достаточно большой области для проведения дефектоскопии остаточным магнитным полем. Если при использовании максимально возможной магнитной силы не достигается необходимая подвижность частиц, необходимо создать активное магнитное поле с критериями, указанными выше.
После создания необходимого магнитного поля, зависящего от подвижности частиц, необходимо измерить его флюксметром или магнитометром в конечной соединительной части. Для многих частей оборудования с одинаковыми характеристиками поле каждого последующего соединения должно составлять около 10% установленного напряжения магнитного поля.
10.31.6.2 Катушка постоянного тока на соединительной муфте
Выбирают для контроля/осмотра типичный образец КНБК из бурильной колонны. Располагают катушку на соединительной части КНБК рядом с резьбой. Подают на катушку ток в соответствии с
таблицей C.1,
таблицей D.1 (приложение C, приложение D), в которой перечислены наружные диаметры соединительной муфты. Остаточное магнитное поле направляет поток магнитных частиц на резьбовое сечение; проследите за подвижностью частиц. Необходимо откорректировать расположение поля: оно должно быть как можно выше, чтобы не допустить преждевременного извлечения магнитных частиц из суспензии. Подвижность частиц должна продолжаться не менее 6 с.
После создания необходимого магнитного поля, зависящего от подвижности частиц, необходимо измерить его флюксметром или магнитометром в конечной соединительной части. Для многих частей оборудования с одинаковыми характеристиками поле каждого последующего соединения должно составлять около 10% установленного напряжения магнитного поля.
10.31.7 Процедура дефектоскопии
10.31.7.1 Общие сведения
Процедура дефектоскопии, описанная в
10.31.7, является минимальным требованием; она может меняться в зависимости от состояния соединения и дополнительных условий, оговоренных владельцем и лабораторией. Контроль/осмотр резьбы видимым излучением
(10.27) должен проводиться до контроля/осмотра ультрафиолетовым излучением.
Следующая процедура предназначена для проведения контроля/осмотра в затемненной области (21,5 лк - максимальное видимое излучение). Дефектоскопист должен находиться в затемненной области по крайней мере в течение минуты до начала контроля/осмотра, так как глаза должны привыкнуть к темноте. Не допускается надевать затемненные или фотохромные линзы.
10.31.7.2 Дефектоскопия ниппельной резьбы
Перед проведением дефектоскопии располагают катушку на заплечике ниппеля.
С помощью намагниченного тока активируют катушку и доводят ее до определенного уровня, определенного ранее поверкой (как минимум на 1 с). Выключают катушку. Убирают ее и измеряют поле на конце нижней части КНБК в соответствии с
10.31.6.1. При необходимости следует отрегулировать катушку для создания соответствующего магнитного поля.
Используют раствор магнитных частиц, распыляют его и распределяют по резьбе. Обследуют резьбовое сечение трубы, особое внимание необходимо уделить последнему находящемуся в зацеплении витку резьбы. Повторное нанесение частиц необходимо, если часть оборудования, находящаяся внизу, перемещается наверх.
10.31.7.3 Дефектоскопия внутренней резьбы
Перед проведением дефектоскопии расположите катушку внизу КНБК рядом с резьбой. С помощью намагниченного тока активируют катушку и доводят ее до определенного уровня, определенного ранее поверкой (как минимум на 1 с). Выключают катушку. Убирают ее и измеряют поле на конце нижней части КНБК в соответствии с
10.31.6.1. При необходимости следует отрегулировать катушку для создания соответствующего магнитного поля.
Используют раствор магнитных частиц, распыляют его и распределяют по резьбе. С помощью зеркала необходимо обследовать сечение резьбы верхней части соединения, особое внимание необходимо уделить последнему находящемуся в зацеплении витку резьбы. Необходимо повернуть нижнюю часть КНБК на 180° и воздействовать на нее магнитными частицами. С помощью зеркала необходимо осмотреть резьбовое сечение верхней части соединения, особое внимание необходимо уделить последнему находящемуся в зацеплении витку резьбы.
После проведения дефектоскопии необходимо удалить все магнитные частицы и очищающие вещества.
10.31.8 Оценка
КНБК, содержащие трещины, будут считаться бракованными и негодными для дальнейшей эксплуатации.
10.32 Соединение КНБК. Капиллярная дефектоскопия внутренней и внешней резьбы
10.32.1 Общие сведения
В
10.32 перечислены требования к оборудованию, описание и процедуры, которые проводятся при капиллярной дефектоскопии внутренней и внешней резьбы и соединений КНБК. Дефектоскопия осуществляется с целью обнаружения трещин в сечении резьбы, особое внимание необходимо уделить последнему находящемуся в зацеплении витку резьбы.
Область ниппельной резьбы распространяется от малого конца ниппеля до пересечения основания штифта/разгрузочной канавки/заплечика. Область внутренней резьбы распространяется от внешнего края раззенкованной части отверстия до нижней части впадины резьбы малого конца муфты или до конечного скошенного края муфты.
10.32.2 Оборудование
Необходимо использовать следующее оборудование:
a) пенетрант (индикаторная жидкость) может удаляться как растворителем, так и водой;
b) очистители/жидкости для удаления пенетранта, жидкого пенетранта и пропитывающего пенетранта должны быть одного изготовителя или быть совместимы друг с другом;
c) досмотровое зеркало (требуется для соединений муфты);
d) безворсовый материал для очищения одежды;
e) зеркало или переносное осветительное устройство для осмотра/контроля внутренних поверхностей.
10.32.3 Освещение
Освещение осматриваемых/контролируемых поверхностей должно соответствовать требованиям
9.3.2.
10.32.4 Подготовка поверхности
Области контроля/осмотра должны быть очищены от резьбовой смазки, загрязнений и других инородных веществ, которые мешают проведению капиллярной дефектоскопии. Очищение поверхностей проводится с помощью пара, уайт-спирита или промышленного очистителя от пенетранта. Если очистка проводится другими средствами, то финальная очистка должна быть сделана промышленным очистителем от пенетранта (так как необходимо удалить остатки чистящих средств).
10.32.5 Калибровка
Калибровка не требуется.
10.32.6 Поверка
Температура соединения при проведении капиллярной дефектоскопии должна находиться в пределах, установленных изготовителем для всех контрольных процессов.
Если в лаборатории используется система рециркуляции пенетранта, то у данной лаборатории должны быть задокументированные результаты проверки технических характеристик для сравнения с новым пенетрантом. Данное требование допускается не выполнять при однократном использовании.
10.32.7 Процедура дефектоскопии
Необходимо провести визуальный осмотр всех поверхностей, на которых были замечены трещины и любые другие повреждения. Такая поверхность должна быть осмотрена методом капиллярной дефектоскопии перед проверкой всего сечения резьбы. При выявлении трещин соединение считается бракованным. Рекомендуется провести дополнительный контроль/осмотр, если требуется определить размеры дефектной области, которая в будущем должна быть удалена.
Если после визуального осмотра и капиллярной дефектоскопии не было обнаружено трещин, то на изучаемую область необходимо воздействовать пенетрантом. Не допускается использовать пенетрант при сушке во время остановки процесса. Время остановки выбирается в соответствии с требованиями изготовителя касательно пенетранта.
Следует удалить лишний пенетрант растворителем, затем вытереть поверхности чистым, безворсовым материалом для полного очищения от пенетранта. Оставшиеся следы следует убрать чистым, безворсовым материалом, смоченным очистителем. Для проверки качества очистки внутренней резьбы используется зеркало.
Растворитель удаляют крупнокапельной струей воды, подаваемой под давлением на контролируемые/осматриваемые поверхности [давление не должно превышать 280 кПа (40 psi)]. Следует избавиться от избытка воды. Для проверки качества очистки внутренней резьбы используется зеркало.
Растворитель не должен распыляться или применяться любым другим способом напрямую на контролируемые/осматриваемые поверхности. На точность контроля/осмотра влияет количество проведенных очисток, а не количество ликвидированного пенетранта.
На поверхность воздействуют суспензией в течение 5 мин. для устранения остатков пенетранта. Суспензия применяется таким образом, что ее тонкий слой должен остаться на резьбе и деталях, снимающих остаточное напряжение. Обработка суспензией начинается, когда она полностью высыхает. Время обработки поверхности суспензией зависит от рекомендаций изготовителя пенетранта.
Первоначальный контроль/осмотр поверхностей должен проводиться в течение минуты после применения суспензии. После необходимого времени обработки, не более 1 ч после полного высыхания суспензии, необходимо провести окончательный контроль/осмотр.
После проведения контроля/осмотра необходимо удалить и суспензию, и пенетрант.
10.32.8 Оценка
Необходимо осмотреть поверхность на наличие трещин.
10.32.9 Классификация
В состав КНБК не могут входить трещины.
10.33 КНБК. Определение размеров деталей, снимающих остаточное напряжение
10.33.1 Описание
В
10.33 описываются процедуры, которые проводятся для определения размеров разгрузочных канавок и других деталей. Размеры разгрузочных деталей муфты и канавок ниппеля не влияют на эксплуатацию всего оборудования. Если данный контроль/осмотр проводился ранее, нет необходимости снова проверять все соединение.
10.33.2 Подготовка поверхности
Все контролируемые/осматриваемые поверхности необходимо очистить во избежание попадания инородных веществ.
10.33.3 Оборудование
Необходимо использовать следующее оборудование:
a) зеркало или прожектор для освещения внутренних поверхностей;
b) 250-миллиметровую стальную линейку с шагом 0,5 мм (или 12-дюймовую линейку с шагом 1/64 дюйма);
c) прецизионные штангенциркули, подходящие для измерения диаметра разгрузочных канавок;
d) телескопическое устройство или микрометр, подходящий для измерения диаметра проточки.
Примечание - Циферблатный штангенциркуль может быть заменен стальной линейкой.
Циферблатный штангенциркуль, микрометр и стальная линейка должны соответствовать требованиям
9.2.2 и
9.2.3.
10.33.4 Освещение
Освещение должно соответствовать
9.3.2.
10.33.5 Процедура дефектоскопии
Необходимо прокрутить нижнюю часть КНБК и найти точку пересечения разгрузочной канавки и вершины резьбы.
Линейкой или циферблатным штангенциркулем измеряют длину разгрузочной канавки от заплечика до пересечения канавки с вершиной резьбы, как показано на
рисунке 12. Записывают измерения в акт осмотра.
Прецизионным штангенциркулем измеряют диаметр разгрузочной канавки (в ее центре), DRG, как показано на рисунке 12. Записывают измерения в акт осмотра.
Рисунок 12 - Разгрузочная канавка
Размещают телескопическое устройство поперек диаметра проточки на расстоянии приблизительно 12,7 мм (0,5 дюйма) от задней части последней риски проточки (см.
рисунок 13). Необходимо убедиться, что телескопическое устройство расположено поперек диаметра и находится в нормальном положении относительно оси резьбы. Телескопическое устройство фиксируют запирающим винтом. Извлекают телескопическое устройство и измеряют диаметр циферблатным штангенциркулем. Записывают результаты измерений в акт осмотра.
Размещают последнюю риску резьбы на муфтовом соединении. Измеряют расстояние от заплечика до последней резьбовой риски (см.
рисунок 13,
LX). Записывают измерения в акт осмотра.
Измеряют расстояние LCyl до конца цилиндрической области проточки (см. рисунок 13).
Рисунок 13 - Проточка муфты
10.33.6 Оценка и классификация
Длина разгрузочной канавки LRG не должна быть менее предела величин от 24,6 мм (0,97 дюйма) и не должна быть более 26,1 мм (1,03 дюйма). Резервная канавка длиной от 19,0 мм (0,75 дюйма) до 31,7 мм (1,25 дюйма) может использоваться по соглашению об инструментах, взятых в аренду, и о других инструментах краткосрочного пользования.
Диаметр разгрузочной канавки
DRG не должен быть менее минимальной и превышать максимальную величину, приведенную в
таблице C.10,
таблице D.10 (приложение C, приложение D).
Длина проточки
LX от заплечика до последней риски должна соответствовать требованиям, указанным в
таблице C.10,
таблице D.10 (приложение C, приложение D), в противном случае соединение считается бракованным.
Длина LCyl цилиндра проточки не должна быть менее 25,4 мм (1 дюйм), или соединение будет считаться непригодным.
Диаметр цилиндра проточки
Dcb не должен быть менее минимального значения и не должен превышать максимальное значение, приведенное в
таблице C.10,
таблице D.10 (приложение C, приложение D).
10.34 Измерения длины раззенкованной части, ниппеля и шейки ниппеля
10.34.1 Описание
Замеренные значения длины раззенкованной части отверстия, длины ниппеля и длины шейки ниппеля (распространяется на детали, снимающие напряжение) являются неокончательными значениями, так как они получены до общего предела в 0,15 мм (0,006 дюйма). Повторная шлифовка - единственное, что влияет на эти длины. Если длина раззенкованной части отверстия не превышает минимума в 16 мм (0,63 дюйма) и меньше 14,2 мм (0,56 дюйма) при последующем контроле/осмотре, то соединение было повторно отшлифовано с превышением пределов. Если раззенкованная часть была больше минимума еще в новом состоянии, то пределы повторной шлифовки будут превышены до достижения размера в 14,2 мм (0,56 дюйма). Контроль/осмотр по тестовому образцу - единственный способ точно оценить качество повторной шлифовки.
10.34.2 Подготовка поверхности
Все контролируемые/осматриваемые поверхности должны быть очищены во избежание попадания инородных веществ.
10.34.3 Оборудование
Необходимо использовать следующее оборудование:
a) 250-миллиметровую стальную линейку с шагом 0,5 мм (или 12-дюймовую линейку с шагом 1/64 дюйма);
Примечание - Циферблатный штангенциркуль может быть заменен металлической линейкой.
b) наземный профиль;
c) стальную линейку, микрометры и циферблатные штангенциркули, соответствующие требованиям
раздела 9.
10.34.4 Освещение
Освещение должно соответствовать
9.3.2.
10.34.5 Процедура дефектоскопии
Необходимо измерить расстояние от поверхности до пересечения с раззенкованной частью отверстия и фаской внутреннего диаметра с резьбой, параллельной оси. Длина не должна быть менее значения, приведенного в
таблице C.9,
таблице C.10,
таблице D.9,
таблице D.10 (приложение C, приложение D).
Необходимо измерить длину ниппеля от уплотнительного заплечика до поверхности ниппеля, параллельного оси резьбы. Длина ниппеля не должна превышать максимальную величину или быть менее минимального значения, приведенного в
таблицах C.9 и
C.10,
таблицах D.9 и
D.10 (приложение C, приложение D).
С помощью профильного калибра следует расположить конечную точку глубины полной резьбы рядом с уплотнительным заплечиком ниппеля. Это будет сделано, если профильный калибр резьбы будет передвигаться к уплотнительному заплечику, пока меньшая глубина крайней впадины резьбы не поднимет профильный калибр (см.
рисунки 14,
15). Отмечают точку на основании штифта. Измеряют расстояние от заплечика до пересечения с основанием штифта (в этом расположении). Если расстояние больше максимальной длины в соответствии с
таблицей C.9,
таблицей D.9 (приложение C, приложение D), соединение будет считаться бракованным.
1 - профильный калибр; 2 - резьба на полную глубину;
3 - резьба на неполную глубину
Рисунок 14 - Расположение последнего витка резьбы
на полную глубину
1 - конечная резьба на полную глубину; 2 - длина
основания штифта
Рисунок 15 - Длина основания штифта
10.34.6 Оценка и классификация
Значения должны соответствовать требованиям
таблиц C.9 и
C.10,
таблиц D.9 и
D.10 (приложение C, приложение D), иначе соединение будет считаться бракованным.
10.35 Утяжеленная бурильная труба. Визуальный полноразмерный контроль/осмотр наружного и внутреннего диаметра, маркировки, длины ловильной головки и места установки ключа
10.35.1 Описание
Вся внутренняя и наружная поверхность утяжеленной бурильной колонны проверяется на наличие дефектов и эрозии. Проверяются маркировки, записывается серийный номер. При необходимости измеряется место установки ключа, расстояние между уплотнительным заплечиком и армированием/наплавкой твердым сплавом. Армированные области/области, образованные наплавкой твердым сплавом, необходимо визуально осмотреть при их наличии.
10.35.2 Подготовка поверхности
Все контролируемые/осматриваемые поверхности должны быть очищены во избежание попадания инородных веществ. УБТ должны быть расположены так, чтобы они могли совершить полный оборот.
10.35.3 Оборудование
Необходимым оборудованием считается следующее:
a) зеркало или переносной фонарь для освещения внутренних поверхностей;
b) рулетка или линейка для измерения всей длины и места установки ключа (при наличии);
c) линейка с шагом 0,5 мм (или 12-дюймовая линейка с шагом 1/64 дюйма).
10.35.4 Освещение
Освещение должно соответствовать
9.3.2. Зеркало или переносной фонарь должны использоваться для освещения внутренних поверхностей.
10.35.5 Процедура дефектоскопии
Измеряют и записывают длину между уплотнительными заплечиками утяжеленной бурильной колонны.
Осматривают поверхность наружного диаметра УБТ на повреждения, включая, но не ограничиваясь язвинами, царапинами, зазубринами, трещинами и другими механическими дефектами. Располагают линейку вдоль наружного диаметра, чтобы удостовериться в отсутствии деформации муфты. Если линейка приподнимается в зоне рядом с фаской, то необходимо измерить диаметр выточки в соответствии с
10.28.5 и
10.28.6.
Используя зеркало или переносной фонарь, необходимо осветить внутреннюю поверхность УБТ, осмотреть ее на наличие коррозии и других дефектов.
Проверяют правильность маркировки; записывают серийный номер УБТ в акт осмотра.
Измеряют длину ловильной головки, расположив линейку вдоль наружного диаметра верхней части соединения и предварительно измерив расстояние от уплотняющей поверхности до места изменения величины сечения.
10.35.6 Оценка и классификация
Поверхность оборудования с дефектами глубже 3,17 мм (0,125 дюйма) должна быть изучена на наличие трещин
(10.13.10.2) с помощью методов магнитнопорошковой дефектоскопии (ферромагнитным материалом) или капиллярной дефектоскопии
(10.32) (неферромагнитным материалом). Дефекты глубже 3,17 мм (0,125 дюйма), расположенные на внутреннем диаметре резьбы, на разгрузочной канавке или на наружном диаметре внутренней резьбы муфты, на проточке являются причиной бракованного оборудования. Если на элементах КНБК бурильной колонны, тело которой глубже 6,35 мм (0,25 дюйма), есть острокильные, глубокие поперечные царапины/вмятины и зарезы, то такие части оборудования необходимо маркировать для дальнейшей ограниченной эксплуатации. Остальные характеристики должны быть зафиксированы в акте осмотра для продолжения контроля/осмотра.
Внутренние поверхности дефектов, глубоких вмятин, зарезов должны быть осмотрены ультразвуковым оборудованием (поперечными волнами) на наличие мелких трещин. Элементы бурильной колонны с трещинами будут считаться бракованными.
Длина ловильной головки не должна быть менее 254 мм (10 дюймов).
10.36 Магнитнопорошковая дефектоскопия элеваторной канавки УБТ и буртика бурильной трубы
10.36.1 Общие сведения
В
10.36 описана реверсивная дефектоскопия флуоресцентными магнитными частицами элеваторных канавок УБТ и буртика бурильной трубы.
10.36.2 Оборудование
10.36.2.1 Продольное поле
Магнитные клещи или катушка переменного/постоянного тока (с однополупериодным, двухполупериодным однофазным выпрямлением или двухполупериодным однофазным выпрямлением с фильтрацией или пульсирующим постоянным током) может использоваться в данном случае. Количество витков катушки должно указываться на катушке.
10.36.2.2 Поперечное поле
Для данного контроля/осмотра должны использоваться магнитные клещи на сочлененных ножках.
10.36.2.3 Дефектоскопия флуоресцентными частицами
Раствор флуоресцентных магнитных частиц должен отвечать требованиям
9.4.8.3. Требуется следующее оборудование: источник ультрафиолетового излучения, флуоресцентные магнитные частицы, центрифужная пробирка объемом 100 мл (со шкалой 0,05 мл) и прибор, измеряющий ультрафиолетовое излучение. Если используются аэрозольные частицы, то наличие центрифужной пробирки не требуется.
10.36.3 Освещение
Освещение контролируемых поверхностей должно соответствовать
9.3.2. Освещение поверхностей при контроле/осмотре флуоресцентными магнитными частицами должно соответствовать
9.4.8.5.
10.36.4 Подготовка поверхности
Зоны контроля/осмотра должны быть очищены от резьбовой смазки, загрязнений и других инородных веществ, препятствующих подвижности частиц и дефектоскопии; завершает смачивание поверхности с помощью контейнера частиц и индикатора обнаружения.
Защитные покрытия (краска и другие) должны быть нанесены ровным слоем и иметь толщину, равную или менее 0,05 мм (0,002 дюйма).
10.36.5 Калибровка
Данные о калибровке оборудования представлены в
разделе 9.
10.36.6 Поверка
10.36.6.1 Магнитные клещи
Выбирают для контроля/осмотра типичный образец УБТ из бурильной колонны; устанавливают ножки магнитных клещей для максимизации контакта с поверхностью замка.
10.36.6.2 Катушки постоянного тока
Выбирают для контроля/осмотра типовой образец УБТ из бурильной колонны. Располагают катушку постоянного тока на трубе рядом с осевой линией приблизительно в 304,8 мм (12 дюймов) от элеваторного заплечика. Подают ток на катушку и создают остаточное продольное поле. С помощью него направляют поток магнитных частиц в сторону области, равную 304,8 мм (12 дюймов) от каждой стороны катушки. Если магнитные частицы находятся в движении более 10 с, то необходимо усилить напряжение магнитного поля и заново воздействовать на типовой образец магнитными частицами. Если магнитные частицы преждевременно извлекаются из суспензии (раньше 6 с), необходимо изменить направление и количество подаваемого катушкой тока. Проводят эти процедуры, пока продолжительность движения магнитных частиц не будет равняться от 6 до 10 с после начала подачи тока.
После создания необходимого магнитного поля, которое зависит от подвижности частиц, необходимо измерить силу тока. Это значение будет считаться показателем силы тока оставшихся труб (+/- 10%).
10.36.6.3 Катушки переменного тока
Выбирают для контроля/осмотра типовой образец УБТ из бурильной колонны. Располагают катушку посередине элеваторной зоны паза. Подают на катушку ток и воздействуют раствором магнитных частиц на обе стороны катушки; измеряют расстояние, которое преодолевают частицы под влиянием магнитного поля [от 76,2 мм (3 дюйма) до 101,6 мм (4 дюйма)]. Данное расстояние является тестовым для каждого расположения катушки переменного тока.
10.36.7 Процедура дефектоскопии
10.36.7.1 Общие сведения
Выбранная зона должна быть осмотрена продольным и поперечным/круговым магнитным полем. Процедура дефектоскопии, описанная в
10.36.7, является минимальным требованием и может меняться в зависимости от состояния УБТ и других дополнительных условий, оговоренных между владельцем и лабораторией. Клещи должны использоваться для контроля/осмотра продольных дефектов. Катушка постоянного/переменного тока или клещи должны использоваться для контроля/осмотра поперечных дефектов.
Процедуры, описанные
10.36.7.2 и
10.36.7.3, проводятся в затемненной области (21,5 лк - максимальное видимое излучение). Дефектоскопист должен находиться в затемненной зоне по крайней мере в течение минуты до начала контроля/осмотра, так как глаза должны привыкнуть к темноте. Не следует надевать темные или фотохромные линзы.
10.36.7.2 Магнитные клещи
При использовании клещей в дефектоскопии необходимо выполнить следующее:
a) с помощью элеватора и буртика бурильной трубы располагают клещи (в затемненной зоне) перпендикулярно канавке/выточке наружного диаметра на расстоянии 12,7 мм (0,5 дюйма) от заплечика. Подают напряжение на клещи; пока идет ток, воздействуют раствором на исследуемый образец, распыляют его, распределяют суспензию по всей поверхности канавки/выточки намагниченной области. Первые признаки должны появиться через 3 с; изучают намагниченную область с помощью направленного тока и ультрафиолетового излучения. Особое внимание необходимо уделить краю элеваторного заплечика и поверхности канавки под элеватор;
b) если признаки не были выявлены, необходимо выключить магнитные клещи и переместить образец (возможно положение внахлест); повторяют процедуру
10.36.7.2 a). Процедура будет продолжаться, пока вся поверхность канавки и буртика не будет изучена на наличие продольных дефектов;
c) обследуют всю область ножками магнитных клещей, расположенных в продольном направлении, и выполняют все процедуры, описанные выше. Воздействуют на обследуемую поверхность раствором, распыляют его и распределяют суспензию между ножками клещей. Первые признаки должны появиться через 3 с; изучают намагниченную область с помощью направленного тока и ультрафиолетового излучения. Необходимо продолжать процедуру и перемещать клещи, пока вся поверхность буртика и канавки не будет осмотрена на наличие поперечных дефектов. Особое внимание необходимо уделить краю элеваторного заплечика и поверхности канавки под элеватор.
При использовании катушки в дефектоскопии необходимо выполнить следующее:
a) с помощью элеватора и буртика бурильной колонны располагают катушку (в затемненной зоне) на наружном диаметре трубы в середине канавки. Подают ток на трубу в соответствии с требованиями поверки. Воздействуют на контролируемый объект раствором, необходимо распылить его и распределить суспензию по поверхности канавки. Первые признаки должны появиться через 3 с, затем снова осматривают контролируемую область направленным током и ультрафиолетовым излучением;
b) следует прокрутить трубу и провести полный контроль/осмотр наружного диаметра поверхности канавки и буртика. Особое внимание необходимо уделить элеваторному краю заплечика и поверхности элеваторной канавки.
10.36.8 Оценка и классификация
Наличие трещин является причиной брака оборудования. Трещины не могут быть удалены.
10.37 Определение размеров элеваторной канавки УБТ и буртика бурильной трубы
10.37.1 Описание
Трубы УБТ с разгружающими канавками могут сократить время спуско-подъемной операции; они также являются опасным объектом при проведении любых операций на буровой площадке. Жесткий контроль/осмотр снижает вероятность этих опасностей.
10.37 описывает процедуры, необходимые при проведении контроля/осмотра канавки и буртика бурильной трубы.
10.37.2 Подготовка поверхности
Все контролируемые поверхности должны быть очищены во избежание попадания инородных веществ. Трубы должны располагаться так, чтобы они совершали один полный оборот.
10.37.3 Оборудование
Необходимо следующее оборудование: 250-миллиметровая стальная линейка с шагом 0,5 мм (или 12-дюймовая линейка с шагом 1/64 дюйма), штангенциркуль наружного диаметра и радиусный шаблон, определяющий максимальный радиус, равный 3,17 мм (0,125 дюйма), и минимальный радиус, равный 25,4 мм (1 дюйм). Стальная линейка должна соответствовать
9.2.3.
10.37.4 Освещение
Освещение должно соответствовать
9.3.2.
10.37.5 Процедура дефектоскопии
Измеряют наружный диаметр утяжеленной трубы на расстоянии 25,4 мм (1 дюйм) от элеваторного заплечика. Необходимо зафиксировать значения в акте осмотра. Значение минимального диаметра является указанным наружным диаметром за минусом 1,5 мм (0,06 дюйма).
Проверяют длину Leg элеваторной канавки от заплечика до плоского конца профиля. Длина не должна быть менее 406,4 мм (16 дюймов).
Проверяют длину Lsg буртика бурильной трубы от пересечения наружного диаметра и до начала радиуса канавки/плоского конца профиля. Длина не должна быть менее 457,2 мм (18 дюймов) (см. рисунок 16).
Рисунок 16 - Элеваторная канавка и канавка клиновой плашки
Измеряют глубину элеваторной канавки и клиновой плашки линейкой для расширения наружного диаметра, а также расстояние от линейки до плоского профиля канавки. Измеряют самую тонкую часть заплечика. Глубина должна колебаться в пределах, указанных в
таблице C.13,
таблице D.13 (приложение C, приложение D).
С помощью радиусного шаблона измеряют внешний угол элеваторного заплечика. Радиус не должен превышать 3,17 мм (0,125 дюйма).
С помощью радиусного шаблона измеряют внутренний радиус верхней части канавки клиновой плашки. Радиус не должен быть меньше 25,4 мм (1 дюйм).
Проверяют элеваторный заплечик на плоскость. Уровень уклона должен быть меньше 5°.
Если контроль/осмотр
(10.36) не был проведен, необходимо осмотреть углы каждой пазовой зоны методом магнитнопорошковой дефектоскопии в соответствии с
10.7 или методом капиллярной дефектоскопии в соответствии с
10.32; особое внимание необходимо уделить углу элеваторного заплечика.
10.37.6 Оценка/измерение и классификация
Трубы с трещинами считаются бракованными. Трубы, не соответствующие значениям, приведенным в
таблице C.13,
таблице D.13 (приложение C, приложение D), должны классифицироваться как для ограниченной эксплуатации с подъемными переводниками.
10.38 Переводники. Визуальный полноразмерный контроль/осмотр наружного и внутреннего диаметра, длины ловильной головки, радиальных изменений сечений и маркировки
10.38.1 Описание
Проверяют внутреннюю и наружную поверхности переводника на наличие повреждений и коррозии. Проверяют маркировку и фиксируют серийный номер.
10.38.2 Подготовка поверхности
Все контролируемые поверхности должны быть очищены во избежание попадания инородных веществ. Переводники должны располагаться таким образом, чтобы они могли совершить один полный оборот.
10.38.3 Оборудование
Необходимое оборудование включает:
a) зеркало или переносной фонарь, освещающий все внутренние поверхности;
b) рулетку или линейку для измерения всей длины и длины проблемного участка (при наличии);
c) радиусный шаблон размером 38,1 мм (1,5 дюйма) и 50,8 мм (2 дюйма), необходимый для контроля/осмотра переходной переводник.
10.38.4 Освещение
Освещение должно соответствовать
9.3.2. В необходимое оборудование входит зеркало или переносной фонарь для освещения внутренних поверхностей.
10.38.5 Процедура дефектоскопии
Осматривают поверхность наружного диаметра переводника на наличие дефектов, включая, но не ограничиваясь язвинами, царапинами, вмятинами, зазубринами и другими механическими повреждениями. Располагают линейку вдоль наружного диаметра, чтобы удостовериться в отсутствии деформации муфты. Если линейка приподнимается рядом с фаской, необходимо измерить диаметр выточки в соответствии с
10.28.5 и
10.28.6.
Зеркалом/переносным фонарем необходимо осветить внутреннюю поверхность и осмотреть ее на наличие коррозии и других дефектов, расположенных с обеих сторон.
Измеряют и фиксируют в акте осмотра данные наружного диаметра 101,6 мм (4 дюйма) от заплечика каждого муфтового соединения до внутреннего диаметра 76,2 мм (3 дюйма) конца ниппеля каждого ниппельного соединения.
Измеряют длину переводника и длину ловильной головки. Фиксируют значения в акте осмотра. Длины коротких утяжеленных бурильных труб, бывших в употреблении, должны измеряться от заплечика к заплечику, а не от конца к концу.
Проверяют радиус изменения участка переходного переводника радиусным шаблоном. Радиус должен быть более 38,1 мм (1,5 дюйма) и менее 50,8 мм (2 дюйма) радиусного шаблона.
Проверяют правильность маркировок; фиксируют серийный номер переходника в журнал проверки.
10.38.6 Оценка и классификация
Поверхности, на которых есть участки с дефектами глубже 3,17 мм (0,125 дюйма), необходимо изучить на наличие трещин с помощью магнитных частиц (ферромагнитные материалы)
(10.13.10.2) или с помощью проникающей жидкости (неферромагнитные материалы)
(10.32). Дефекты глубже 3,17 мм (0,125 дюйма), расположенные на внутреннем диаметре резьбы/на разгрузочной канавке/на наружной поверхности муфтовой резьбы/на проточке, считаются причиной брака. Если у переходников есть острокильные поперечные царапины/вмятины/зарезы на теле и они глубже 6,3 мм (0,25 дюйма), то необходимо маркировать короткие УБТ и сообщить о браке владельцу/оператору. Другие свойства должны записываться в журнал проверки для дальнейшего мониторинга.
Дефекты, располагающиеся на внутренней поверхности (например, глубокие вмятины, зарезы), необходимо осмотреть поперечной ультразвуковой волной на наличие трещин. Переводники с трещинами должны быть забракованы.
Минимальная длина ненарезного переходника (резьба ниппель - муфта) - 609,6 мм (24 дюйма). Минимальная длина ненарезного переходника (резьба ниппель - муфта) - 406,4 мм (16 дюймов). Минимальная длина ненарезного переходника (резьба муфта - муфта) - 305,4 мм (12 дюймов). Минимальная длина переходного переходника - 914,4 мм (36 дюймов), в данном случае длина ловильной головки должна быть не менее 457,2 мм (18 дюймов). Минимальная длина переводников вертлюга - 177,8 мм (7 дюймов). Переводники, не соответствующие требованиям, считаются бракованными.
Переходной переводник с радиусом сектора, измененным менее 38,1 мм (1,5 дюйма) и более 50,8 мм (2 дюйма), должен быть забракован.
10.39 Измерение выступа проточки под обратный клапан
10.39.1 Описание
Если в состав переходников входит механически обработанная проточка под обратный клапан, то такое оборудование необходимо изучить на размерное соответствие поплавочного клапана (он должен располагаться в соответствующем месте).
10.39.2 Подготовка поверхности
Необходимо очистить буровое долото и поплавочный клапан. Особое внимание необходимо уделить остаткам высохшего бурового раствора, шкале, окисной пленке, смазке, солидолу, резьбовой смазке и верхним покрытиям бурового долота и поплавочного клапана.
10.39.3 Оборудование
Необходимо следующее оборудование:
a) 250-миллиметровая стальная линейка с шагом 0,5 мм (или 12-дюймовая линейка с шагом 1/64 дюйма), подходящая для измерения длины углубления от шейки долота переходника;
b) телескопическое устройство/внутренний микрометр, подходящий для измерения диаметра;
c) механический штангенциркуль дальней досягаемости и внутреннего диаметра, который может использоваться вместо телескопического устройства и внутреннего микрометра.
Стальная линейка, микрометры и штангенциркуль должны соответствовать требованиям
раздела 9.
10.39.4 Поверка
Освещение должно соответствовать
9.3.2. Зеркало или переносной фонарь должны подходить для освещения внутренних поверхностей.
10.39.5 Порядок проведения контроля/осмотра
Определяют диаметр клапанного блока, длину и размер, которые входят в состав исследуемого переводника долота.
Таблица C.14,
таблица D.14 (приложение C, приложение D) и
рисунок 17 используются для определения типичных размеров клапанного блока и соединения бурового долота. Помещают металлическую линейку в выточенный желобок, пока она не опустится до задней стенки заплечика. Фиксируют расстояние
Lr (см.
рисунок 17) от задней стенки заплечика до конца переходника на внешнем ребре соединения бурового долота. Сравнивают полученную величину
Lr с длинами, указанными в
таблице C.14,
таблице D.14 (приложение C, приложение D). Длина заплечика должна соответствовать допустимым значениям, указанным в
таблице C.14,
таблице D.14 (приложение C, приложение D), и должна подходить для эксплуатации оборудования.
a) с муфтой в обсадной трубе с перегородкой;
b) без муфты в обсадной трубе с перегородкой
Рисунок 17 - Проточка под обратный клапан
Помещают устройство, измеряющее внутренний диаметр, в специальный желобок, пока оно не достигнет задней стенки заплечика. Фиксируют измерения наружного диаметра в одной точке, проводят еще два измерения длины под углом 90°, чтобы убедиться, что размер диаметра соответственный. Повторяют эти измерения около внешнего края пробуренной поверхности глухого отверстия. Сопоставляют полученные величины с длиной
Dfr, указанной в
таблице C.14,
таблице D.14 (приложение C, приложение D). Диаметр отверстия должен соответствовать допустимым значениям, представленным в
таблице C.14,
таблице D.14 (приложение C, приложение D), и должен подходить для эксплуатации оборудования.
Необходимо провести визуальный контроль/осмотр углубления под отверстие, чтобы определить состояние отверстия. Перед проведением визуального контроля/осмотра необходимо удалить высохшую/затвердевшую жидкость, окисную пленку и другие наружные покрытия. Видимые механические повреждения, коррозия, эрозия, протертые поверхности или другие дефекты, которые препятствуют работе гидравлического уплотнения с обратным клапаном и отверстием, считаются причиной отказа работы оборудования. Их наличие не допускается.
Допускаются небольшие вариации и различные сочетания переходника долота, размеров бурового долота и размеров клапанного блока [см.
рисунок 17,
таблицу C.14,
таблицу B.14 (приложение C, приложение B)]. В этих случаях приемлемые величины измерения клапанного блока обсуждаются между владельцем/пользователем.
10.40 Магнитнопорошковая дефектоскопия переходников. Определение полной, внутренней и наружной длины
10.40.1 Описание
В 10.40.1 описывается проведение контроля/осмотра влажным, флуоресцентным магнитнопорошковым методом для внутренней/наружной поверхности. Данный метод выявляет продольные, поперечные, необъемные и те дефекты, которые расположены на поверхности оборудования.
10.40.2 Оборудование
10.40.2.1 Продольное поле
Для проведения контроля/осмотра может использоваться переменный ток клещей или катушки, либо переменный ток или постоянный ток, однополупериодный переменный ток, двухполупериодный переменный ток или пульсирующий постоянный ток. Необходимо также точно знать количество витков на катушке.
10.40.2.2 Поперечное/круговое поле
В данном случае необходимо использовать внутренний проводник с соответствующей мощностью. На внутренний проводник необходимо подавать постоянный ток, трехфазный измененный по мощности переменный ток или мощный разряд конденсатора. Мощность должна соответствовать требованиям к амперной нагрузке, указанной в
таблице C.2,
таблице D.2 (приложение C, приложение D). В
таблице C.18,
таблице D.18 (приложение C, приложение D) представлены измерения массы на метр (фут) для различных наружных и внутренних комбинаций диаметров для переходников УБТ.
10.40.2.3 Контроль люминесцирующими частицами
Флуоресцентные магнитнопорошковые растворы должны соответствовать требованиям
9.4.8.3. Необходимо следующее оборудование: источник ультрафиолетового излучения, флуоресцентный магнитный порошок, центрифужная пробирка объемом 100 мл (с делением 0,05 мл) и прибор, измеряющий УФ-излучение. Если частицы находятся в виде аэрозоля, то центрифужная пробирка не требуется.
10.40.2.4 Дополнительное оборудование
Дополнительное оборудование включает в себя магнитометр/флюксметр и контрольное зеркало/переносной фонарь/отражатель для освещения внутренних поверхностей.
10.40.2.5 Освещение
Освещение осматриваемых поверхностей должно соответствовать
9.3.2. Освещение поверхностей при проведении контроля/осмотра люминесцентными магнитными частицами должно соответствовать требованиям
9.4.8.5.
10.40.3 Подготовка поверхности
Контролируемая поверхность должна быть очищена от солидола, резьбовой смазки, грязи и других веществ, которые препятствуют движению частиц и полному смачиванию поверхности.
Поверхностное покрытие (например, краска) должно быть гладким; его толщина должна равняться 0,05 мм (0,002 дюйма) или менее.
10.40.4 Калибровка
Оборудование для проведения калибровки представлено в
разделе 9.
10.40.5 Поверка
Выбирают для контроля/осмотра переходник. Располагают на нем катушку постоянного тока на расстоянии 228,6 мм (9 дюймов) от конца внутренней резьбы или наружной резьбы (двухмуфтовая труба). Подают ток на катушку, чтобы создать остаточное продольное поле. Используя остаточное продольное поле, воздействуют на переходник магнитными частицами и наблюдают за их движением. Необходимо отрегулировать поле: оно должно быть как можно выше и без магнитных частиц, преждевременно извлеченных. Частицы должны находиться в движении не меньше 6 с. После создания правильного магнитного поля, которое зависит от подвижности магнитных частиц, необходимо зафиксировать значение силы тока, которое требуется для создания этого поля. Данная величина будет эталонным показателем силы тока при проведении контроля/осмотра.
Примечание - Возможно, что переходники и другие части оборудования не создают необходимого магнитного поля для контроля/осмотра остаточного магнитного поля. Если используется максимально допустимая сила тока и намагничивающая сила, но необходимая подвижность частиц так и не была получена, то необходимо создать магнитное поле, как указано выше.
Намагничивающий стержень необходимо отделить от переходника. Необходимо соблюдать требования к подаче силы тока в соответствии с
таблицей C.2,
таблицей D.2 (приложение C, приложение D). Величины тока, установленные таблицей, соответствуют намагничивающему току продольного поля. В
таблице C.18,
таблице D.18 (приложение C, приложение D) представлены величины измерений масса на метр (фут) для различных наружных и внутренних диаметров.
10.40.6 Порядок проведения контроля/осмотра
Порядок для проведения контроля/осмотра, описанный в
10.40.6, - это минимальные требования (определяются владельцем/лабораторией); они могут варьироваться в зависимости от свойств и характеристик переходника.
Необходимо провести полноразмерный визуальный контроль/осмотр внутренней и наружной поверхности для обнаружения вмятин, зарезов, порезов, язвин, зазубрин, дробления и других видимых дефектов.
Для выявления поперечных дефектов необходимо использовать катушку постоянного тока. Для выявления продольных дефектов необходимо использовать намагничивающий стержень.
Контроль/осмотр необходимо проводить в затемненном месте (21,5 лк максимально видимого света). Оператор должен находиться в затемненном месте не менее минуты до начала контроля/осмотра, так как его глаза должны адаптироваться. Не допускается надевать затемненные или фотохромные линзы.
Порядок проведения контроля/осмотра следующий:
a) необходимо положить катушку на переходник. Контролируемая область не должна превышать расстояния, равного 228,6 мм (9 дюймов), с двух сторон от катушки (при любом ее положении). Следует расположить катушку на расстоянии 228,6 мм (9 дюймов) от конца переходника. Подают на трубу ток (как указано в поверке). Воздействуют на оборудование раствором магнитных частиц, распыляют его и распределяют по контролируемой поверхности (внутри и снаружи). Оставляют раствор на контролируемой области на 6 с минимум; далее воздействуют на поверхность ультрафиолетовым излучением для дальнейшего формирования и образования поперечного поля магнитных частиц (внутри и снаружи проверяемой области). Прокручивают переходник, проверяя всю поверхность в месте расположения катушки;
b) последующее местоположение катушки и контроль/осмотр необходимы при проверке полномерного покрытия;
c) помещают внутренний проводник (намагниченный стержень или кабель) внутри переходника. Подают ток в соответствии с требованиями поверки. Воздействуют на исследуемую поверхность раствором магнитных частиц, распыляют его по всей поверхности (внутри и снаружи). Необходимо оставить раствор на контролируемой области на 6 с минимум; далее воздействуют на поверхность ультрафиолетовым излучением для дальнейшего формирования и образования поперечного поля магнитных частиц (внутри и снаружи проверяемой области). Необходимо прокрутить переходник, проверяя всю поверхность.
10.40.7 Оценка и классификация
Любые трещины являются причиной отбраковки детали. Нельзя их удалять или ремонтировать.
10.41 Толстостенные бурильные трубы (ТБТ). Визуальный контроль/осмотр, определение полноразмерного наружного и внутреннего диаметра, маркировки и места установки ключа
10.41.1 Описание
Необходимо проверить всю поверхность ТБТ (наружную и внутреннюю) на наличие повреждений и коррозии. Необходимо также проверить маркировку, серийный номер (при наличии) и зафиксировать показатели. Необходимо провести замеры места установки ключа. Необходимо измерить центральную часть износной накладки с ее минимальной высотой и отклонением от соосности.
10.41.2 Подготовка поверхности
Все осматриваемые поверхности должны быть очищены от инородных материалов, препятствующих дефектоскопии. ТБТ должны свободно располагаться, чтобы они могли делать один полный оборот.
10.41.3 Оборудование
Необходимо следующее оборудование:
a) отражатель/зеркало или переносной фонарь для освещения внутренних поверхностей;
b) рулетка или линейка для измерения места установки ключа;
c) линейка с шагом 0,5 мм (1/64 дюйма).
10.41.4 Освещение
Освещение должно соответствовать
9.3.2.
10.41.5 Порядок проведения проверки
Осматривают наружный диаметр ТБТ на наличие дефектов, включая язвины, порезы, вмятины, зазубрины, трещины и другие механические повреждения. Располагают линейку вдоль наружного диаметра муфты бурильного замка для проверки ее на деформацию. Если линейка приподнимется в каких-то областях, то необходимо измерить диаметр расточенного отверстия в соответствии с
10.28.5 и
10.28.6.
С помощью отражателя/зеркала или переносного фонаря изучают внутреннюю поверхность на наличие коррозии и других повреждений (оба ее конца).
Проверяют правильность маркировки, фиксируют серийный номер (при его наличии) в журнале контроля/осмотра.
Измеряют величину места установки ключа. Располагают линейку на головном контакте наружного диаметра и измеряют расстояние от торцевого уплотнения до армирования/наплавки твердым сплавом.
10.41.6 Оценка и классификация
Необходимо осмотреть области с дефектами глубже 3,17 мм (0,125 дюйма) с помощью намагниченных частиц на наличие трещин. Дефекты глубже 3,17 мм (0,125 дюйма), расположенные на внутреннем диаметре резьбы, или на разгрузочной канавке, или на наружной поверхности муфтовой резьбы, или на проточке, считаются причиной отбраковки. Если у ТБТ есть острокильные поперечные царапины/вмятины/зарезы на теле и они глубже 6,3 мм (0,25 дюйма), то необходимо такие трубы отбраковать. Другие свойства ТБТ должны быть зафиксированы в журнале контроля/осмотра для дальнейшего мониторинга. Оценка магнитных частиц должна быть произведена в соответствии с
10.13.10.2.
Для определения минимальной и максимальной высоты центральной износной накладки ТБТ необходимо использовать линейку и растянуть тубус микроскопа. Разница между минимумом и максимумом является эксцентричностью. Если центральная износная накладка обладает неподходящей высотой и эксцентричностью, то это должно быть оговорено с владельцем/пользователем, а само оборудование отбраковано.
Для определения дефектов (вмятин, зарезов) на внутренней поверхности оборудования необходимо использовать ультразвуковую поперечную волну. Ультразвуковая дефектоскопия описана в
10.13.10.2. ТБТ с трещинами должны быть отбракованы.
Длина места установки ключа ТБТ должна быть не менее 254 мм (10 дюймов).
10.42 Визуальный контроль и отчет по характеру износа ведущей или рабочей трубы
10.42.1 Описание
Наружную поверхность ведущей или рабочей трубы необходимо проверить на наличие повреждений, коррозии и износа. Визуально определяют смятый винтообразный изгиб ведущих или рабочих труб. Проверяют маркировку и фиксируют серийный номер. Внутренние поверхности необходимо проверить с помощью отражателя/зеркала или переносного фонаря на наличие коррозии. При необходимости надо измерить длину замка бурильной трубы и области между уплотнительным заплечиком и армированием/наплавкой твердым сплавом. Армирование/наплавка твердым сплавом, при их наличии, осматриваются визуально в соответствии с
10.59. В качестве дополнительной проверки проводится проверка на прямолинейность.
10.42.2 Подготовка поверхности
Все осматриваемые поверхности должны быть очищены от инородных веществ, препятствующих процессу дефектоскопии. Ведущая или рабочая труба должна быть расположена так, чтобы во время контроля/осмотра она свободно вращалась.
10.42.3 Оборудование
Требуется следующее оборудование:
a) отражатель/зеркало или переносной фонарь для освещения внутренней поверхности;
b) рулетка или линейка для измерения длины замка бурильной трубы;
c) линейка с шагом 0,5 мм (1/64 дюйма);
d) угломер-транспортир;
e) грубая свиль (при наличии) при проведении проверки на прямолинейность;
f) 120° V-образные блоки (при наличии) при проведении проверки на прямолинейность ведущей или рабочей трубы шестигранного сечения.
10.42.4 Освещение
Освещение должно соответствовать
9.3.2. Отражатель/зеркало или переносной фонарь должны использоваться при проведении контроля/осмотра внутренних поверхностей.
10.42.5 Порядок проведения контроля/осмотра
Необходимо осмотреть наружный диаметр ведущей или рабочей трубы на наличие дефектов, включая язвины, порезы, вмятины, зазубрины, трещины и другие механические повреждения. Располагают линейку вдоль наружного диаметра муфты бурильного замка для проверки ее на деформацию. Если линейка приподнимется в каких-то областях, то необходимо измерить диаметр расточенного отверстия в соответствии с
10.28.5 и
10.28.6.
С помощью отражателя/зеркала или переносного фонаря изучают внутреннюю поверхность на наличие коррозии и других повреждений (оба ее конца).
Проверяют правильность маркировки, фиксируют серийный номер (при его наличии) в журнале контроля/осмотра.
Измеряют величину места установки ключа. Располагают линейку на головном контакте наружного диаметра и измеряют расстояние от торцевого уплотнения до области армирования.
Определяют характер износа длины и плоскости ведущей или рабочей трубы. Износ ведущей или рабочей трубы, как правило, начинается в точке износа и прогрессирует на всей поверхности, пока не займет примерно одной трети. Износ обычно характеризуется плоскостью, пока переводная муфта не будет обладать необходимым наружным диаметром и расположением. Окружной или навесной характер износа - это показатели, определяющие точку переворачивания. Измеряют угломером угол касания в точке максимальной окатанности или под небольшим углом (см. рисунок 18). Фиксируют результаты в рабочий журнал.
Рисунок 18 - Измерение угла износа ведущей или рабочей трубы
Проверяют ровность ведущей или рабочей трубы. Она определяется при расположении ведущей или рабочей трубы квадратного сечения на одном уровне с держателями (по одному на каждом конце привода): необходимо растянуть грубую свиль от одной вертикальной поверхности трубы до другой; необходимо измерить относительный прогиб при изломе во время вращения ведущей или рабочей трубы на 90°; затем повторяют все процедуры. Для ведущей или рабочей трубы шестигранного сечения используется тот же метод, однако в данном случае ведущая или рабочая труба должна располагаться на 120° V-образного блока так, чтобы боковая поверхность поддерживающей секции была вертикальна; измерения отклонений должны проводиться поочередно на трех сторонах (при вращении ведущей или рабочей трубы на 60°).
10.42.6 Оценка и классификация
Необходимо осмотреть области с дефектами глубже 3,17 мм (0,125 дюйма) с помощью намагниченных частиц на наличие трещин в соответствии с
10.13.10.2. Дефекты глубже 3,17 мм (0,125 дюйма), расположенные на внутренней резьбе, или на разгрузочной канавке, или на наружной поверхности муфтовой резьбы, или на проточке, считаются причиной отбраковки. Другие характеристики должны фиксировать в журнале проверки для продолжения мониторинга.
Внутренние поверхности с дефектами, такими как вмятины, должны быть осмотрены на наличие зарезов поперечной ультразвуковой волной. Ведущие или рабочие трубы с трещинами должны быть отбракованы.
Длина замкового соединения должна быть не менее 254 мм (10 дюймов).
Если измеренный прогиб поддерживающей секции (расстояние между тросом и вертикальной поддерживающей секцией) превышает 38,1 мм (1,5 дюйма) по всей длине данной секции, то ведущая или рабочая труба считается бракованной.
10.43 Магнитнопорошковая дефектоскопия критических областей ведущей или рабочей трубы
10.43.1 Описание
Наружная поверхность от переходника замкового соединения до точки, находящейся на расстоянии 609,6 мм (24 дюйма) от поддерживающей секции, должна проверяться сухой магнитнопорошковой дефектоскопией. Влажная флуоресцентная магнитнопорошковая дефектоскопия (белый фон и черный фон) может заменяться на сухую магнитнопорошковую дефектоскопию. Этот метод контроля/осмотра проводится в первую очередь для обнаружения поперечных трещин на наружном диаметре ведущей или рабочей трубы.
10.43.2 Порядок проведения контроля/осмотра
Данный вид контроля/осмотра проводится в соответствии с
10.7.
10.43.3 Критерии оценки качества
При обнаружении на поверхности ведущей или рабочей трубы трещин она считается непригодной для дальнейшей эксплуатации.
10.44 Магнитнопорошковая полноразмерная дефектоскопия ведущей или рабочей трубы и отдельно каждой ее секции
10.44.1 Описание
Вся наружная поверхность поддерживающей секции должна проверяться сухой магнитнопорошковой дефектоскопией. Влажная флуоресцентная магнитнопорошковая дефектоскопия (белый фон и черный фон) может заменяться на сухую магнитнопорошковую дефектоскопию. Этот метод контроля/осмотра проводится в первую очередь для обнаружения поперечных трещин на наружном диаметре ведущей или рабочей трубы.
10.44.2 Порядок проведения контроля/осмотра
Данный вид контроля/осмотра проводится в соответствии с
10.7, за исключением, когда контроль/осмотр распространяется на всю длину ведущей или рабочей трубы.
10.44.3 Критерии оценки качества
При обнаружении на поверхности ведущей или рабочей трубы трещин она считается непригодной для дальнейшей эксплуатации.
10.45 Стабилизатор бурильной колонны (визуальный контроль/осмотр наружного и внутреннего диаметра), определение длины ловильной головки состояния лопатки, калибра-кольца и маркировки
10.45.1 Описание
Необходимо осмотреть всю поверхность стабилизатора бурильной колонны на наличие повреждений и коррозии (внутри и снаружи). Необходимо также определить высоту лопастей и калибра-кольца. Убеждаются, что длина ловильной головки соответствует минимальным требованиям. Также необходимо провести контроль/осмотр маркировки и зафиксировать серийный номер.
Примечание - Перед проведением полного контроля/осмотра необходимо разобрать регулируемые лопастные стабилизаторы бурильной колонны (для контроля/осмотра отдельных компонентов). Этот вид контроля/осмотра осуществляется в соответствии с программой технического обслуживания в авторизованном сервисе изготовителя оборудования квалифицированным персоналом, также необходимо провести контроль за состоянием оборудования. Этот вид контроля/осмотра не входит в состав настоящего стандарта. Контроль/осмотр этих типов стабилизаторов ограничивается осмотром доступных поверхностей.
10.45.2 Подготовка поверхности
Все осматриваемые поверхности должны быть очищены от инородных веществ, которые препятствуют проведению контроля/осмотра. Стабилизаторы бурильной колонны должны размещаться так, чтобы они могли свободно вращаться.
10.45.3 Оборудование
Необходимо следующее оборудование:
a) отражатель/зеркало или переносной фонарь для освещения внутренних поверхностей;
b) рулетка/линейка для измерения длины ловильной головки;
c) линейка с шагом 0,5 мм (1/64 дюйма);
d) калибр наружного и внутреннего диаметров;
e) линейка, достаточно длинная, чтобы измерить расстояние от лопатки до тела трубы;
f) калибр-кольцо из стали с минимальной толщиной 12,7 мм (0,5 дюйма) и шириной 19 мм (0,75 дюйма) для определения размера стабилизатора бурильной колонны;
g) 25,4-миллиметровый (1-дюймовый) радиусный шаблон, необходимый для стабилизаторов с несъемными фрезерованными лопастями.
10.45.4 Освещение
Освещение должно соответствовать
9.3.2. Отражатель/зеркало или портативный фонарь должны использоваться для освещения внутренних поверхностей.
10.45.5 Калибровка
Внутренний диаметр калибр-кольца должен указываться с учетом допуска +/- 0,12 мм (0,005 дюйма). Его внутренний диаметр должен проверяться внутренним микрометром, соответствующим требованиям по калибровке
раздела 9.
10.45.6 Порядок проведения контроля/осмотра
Необходимо осмотреть наружный диаметр стабилизатора бурильной колонны на наличие повреждений, включая язвины, разрезы, вмятины, зазубрины, трещины и другие механические повреждения. При наличии армирования/наплавки твердым сплавом на лопастях необходимо проверить их состояние.
С помощью отражателя/зеркала или портативного фонаря необходимо осмотреть внутреннюю поверхность оборудования на предмет коррозии и других деформаций (внутри и снаружи).
Измеряют и фиксируют наружный диаметр на расстоянии 101,6 мм (4 дюйма) от заплечика муфтового соединения и внутренний диаметр на расстоянии 76,2 мм (3 дюйма) от ниппельного соединения. Записывают результаты измерения в рабочий журнал.
Измеряют длину стабилизатора бурильной колонны и ловильной головки. Фиксируют значения в рабочем журнале. Длины стабилизаторов измеряются от заплечика до заплечика (а не от конца до конца).
Проверяют верность маркировок и фиксируют серийный номер переводника в журнале проверки. Если данные записи не совпадают с тестовыми образцами, то стабилизатор считается бракованным.
Измеряют высоту лопасти (измерение проводят от наружного диаметра). Располагают линейку в верхней части лопасти параллельно оси стабилизатора и протягивают вдоль тела до конца стабилизатора. Измеряют высоту лезвия от линейки до тела стабилизатора, фиксируют результаты в рабочем журнале. Повторяют процедуру с остальными лопастями.
У стабилизаторов с несъемными фрезерованными лопастями необходимо проверить радиус в месте пересечения лопасти и тела стабилизатора (проверка осуществляется кольцом-калибром). Радиус должен быть не менее 25,4 мм (1 дюйм).
Располагают кольцо-калибр на длине лопасти стабилизатора. Осматривают промежуток между кольцом-калибром и лопастью. Измеряют данный промежуток в точке, где он максимален.
10.45.7 Оценка и классификация
На нижней и верхней частях лопастей стабилизатора не должно быть сварных швов. Если на поверхности стабилизатора обнаружены дефекты глубиной более 3,17 мм (0,125 дюйма), то необходимо провести магнитнопорошковую дефектоскопию
(10.13.10.2) (для ферромагнитных стабилизаторов) или провести жидкостную дефектоскопию
(10.32) (для неферромагнитных стабилизаторов). Дефекты глубиной более 3,17 мм (0,125 дюйма), расположенные на внутреннем диаметре ниппельной резьбы или на разгрузочной канавке, следует считать причиной брака. Стабилизаторы с острокильными, поперечными царапинами, зарезами и зазубринами длиной более 6,3 мм (0,25 дюйма) следует считать бракованными. Другие характеристики должны фиксироваться в рабочем журнале.
Дефекты, расположенные на внутренней поверхности, например глубокие зазубрины, следует осмотреть на наличие внутренних трещин и зарезов. Стабилизаторы с внутренними трещинами и зарезами считают бракованными.
Длина ловильной головки должна равняться не менее 457,2 мм (18 дюймов), если наружный диаметр корпуса стабилизатора равняется или менее 152,4 мм (6 дюймов); если у стабилизаторов наружный диаметр корпуса более 152,4 мм (6 дюймов), то длина ловильной горловины должна равняться не менее 508 мм (20 дюймов). Ловильная горловина стабилизатора (нижнего конца) должна равняться или быть менее 203,2 мм (8 дюймов), если наружный диаметр корпуса стабилизатора равен или менее 241,3 мм (9,5 дюйма); если наружный диаметр корпуса стабилизатора более 152,4 мм (6 дюймов), то длина ловильной горловины не менее 304,8 мм (12 дюймов). Минимальная высота установки ключа для нижней горловины должна равняться не менее 177,8 мм (7 дюймов), исключением являются наддолотный стабилизатор бурильной колонны и стабилизатор с изменяющимся размером. Стабилизаторы, не соответствующие требованиям, следует забраковать.
Армирование/наплавка твердым сплавом, при наличии, не должны занимать более 95% плоской поверхности стабилизатора. На армировании/наплавке твердым сплавом могут находиться линейные отметки, если они нанесены на основную металлическую часть лопастей.
Разница между минимальной и максимальной высотой лопастей не должна превышать 1,5 мм (1/16 дюйма).
Кольцо-калибр должно свободно проходить через всю лопастную часть. Если более 25,4 мм (1 дюйм) лопастной части имеют зазор в 1,5 мм (1/16 дюйма), то стабилизатор необходимо считать бракованным.
Радиус внутренней части лопастей стабилизатора должен равняться 25,4 мм (1 дюйм) или более, в противном случае стабилизатор следует считать бракованным.
10.46 Магнитнопорошковая дефектоскопия лопастей стабилизатора на наличие трещин
10.46.1 Общие сведения
Стабилизатор, вращающийся благодаря боковому усилию в сторону, противоположную движению пласта, может быть поврежден из-за циклических напряжений. Область пересечения основания лопасти и корпуса стабилизатора подвержена появлению трещин по причине циклического напряжения. Контроль/осмотр, как правило, проводится с помощью магнитнопорошковой дефектоскопии, однако также применяется метод флуоресцентного или видимого света, а также жидкостная дефектоскопия (черный и белый магнитный порошок).
10.46.2 Оборудование
10.46.2.1 Поперечное поле
Необходимо использовать магнитные клещи с шарнирными опорами (работают на переменном токе).
10.46.2.2 Магнитный порошок
Магнитный порошок должен соответствовать требованиям
9.4.8.2. Для нанесения порошка тонким слоем необходимо использовать ручной резиновый распылитель.
При проведении контроля/осмотра с флюоресцентной дефектоскопией (белый фон) или жидкостной магнитнопорошковой дефектоскопией (белый и черный фон) следует использовать оборудование, указанное в
10.48.
10.46.3 Освещение
При проведении визуального контроля/осмотра и магнитнопорошковой дефектоскопии освещение должно соответствовать
9.3.2.
10.46.4 Подготовка поверхности
Контролируемую зону необходимо очистить от смазочных материалов, грязи и других веществ, которые препятствуют проведению дефектоскопии. При использовании магнитного порошка контролируемые зоны необходимо предварительно высушить.
Поверхностные покрытия (например, краска) должны быть гладкими, их толщина должна равняться или быть меньше 0,05 мм (0,002 дюйма).
10.46.5 Калибровка
Процедура калибровки оборудования приведена в
разделе 9.
10.46.6 Поверка
10.46.6.1 Магнитные клещи
Необходимо отрегулировать ножки клещей для максимизации контакта с поверхностью стабилизатора и его лопастей, предварительно расположив клещи в необходимом направлении для проведения контроля/осмотра. Ножки клещей необходимо расположить на расстоянии от 101,6 мм (4 дюйма) до 152,6 мм (6 дюймов) друг от друга (если позволяют размеры стабилизатора и лопастей).
10.46.6.2 Процедура проведения контроля/осмотра
Указания по проведению контроля/осмотра приведены в
10.46; минимальные требования могут варьироваться в зависимости от договоренности между владельцем/лабораторией.
10.46.6.3 Область распространения требований по контролю/осмотру
Необходимо провести магнитнопорошковую дефектоскопию внутренних лопастей стабилизатора и области вокруг них. Необходимо провести магнитнопорошковую дефектоскопию по всей длине сварных швов и лопастей (обе стороны). Клещи необходимо расположить так, чтобы магнитное поле находилось поперек основания лопастей.
10.46.6.4 Магнитнопорошковая дефектоскопия
Исследуемая область должна быть освещена (минимум 538 лк видимого света). Проверяющие не должны носить затемненные или фотохроматические линзы. Данный вид контроля/осмотра включает следующие этапы:
a) помещают клещи на стабилизатор/лопасть, максимально усилив контакт между ножками клещей и стабилизатора;
b) подают ток на клещи; во время подачи тока распыляют магнитный порошок на зону между ножками клещей, расположенных на наружном диаметре стабилизатора;
c) ждут минимум 3 с для образования первых признаков;
d) если признаки не появились, выключают подачу тока, перемещают клещи (положение внахлест) и повторяют все снова с
a) по
c).
10.46.7 Оценка и классификация
Любые трещины, за исключением трещин на твердых поверхностях, являются причиной брака. Трещины не могут быть удалены или отремонтированы.
10.47 Функциональная диагностика
10.47.1 Описание
Изготовитель должен иметь оформленную в письменном виде и постоянно пересматриваемую процедуру функциональной диагностики. Функциональная диагностика является подтверждением, что часть оборудования или сборная деталь функционирует в соответствии с предельными техническими характеристиками (заверенными проектом). Функциональная диагностика состоит из двух частей: рабочий режим и поддержание давления.
Минимальное время тестирования оборудования и тестовое давление (для проверки гидравлической нагрузки) должны указываться изготовителем.
Функциональная диагностика имеет двух- или трехступенчатую структуру, включает следующие тестовые отметки:
a) минимальная ожидаемая рабочая нагрузка за вычетом 20%;
b) максимальная ожидаемая рабочая нагрузка;
c) номинальная нагрузка.
Если нет возможности протестировать ожидаемую рабочую нагрузку, то необходимо провести функциональное диагностирование на:
- минимальную номинальную нагрузку;
- максимальную номинальную нагрузку.
Изготовитель оригинального оборудования несет ответственность за разработку инструкций функциональной диагностики как для нового оборудования, так и для бывшего в эксплуатации.
Меры безопасности должны указываться в инструкции по функциональной диагностике.
10.47.2 Оборудование
Изготовитель оригинального оборудования (ИОО) должен указать необходимое оборудование для проведения тестов, указания по калибровке и по поверке и приемочные контрольные пределы.
Оборудование должно соответствовать техническим требованиям и требованиям по калибровке. Любое отклонение от данных требований должно исправляться до проведения функциональной диагностики.
10.47.3 Подготовка/условия
Необходимо изучить инструкцию по проведению контроля/осмотра и убедиться, что соблюдаются все меры безопасности.
Необходимо подтвердить, что контроль/осмотр оборудования проводится в условиях, максимально приближенных к эксплуатационным. При проведении тестов на уплотнительные кольцевые соединения не допускается наличие дополнительных уплотнительных колец.
10.47.4 Проведение контроля/осмотра
Необходимо следовать инструкции по проведению контроля/осмотра, предоставленной ИОО.
10.47.5 Оценка и классификация
Если компонент оборудования хотя бы один раз не будет правильно функционировать, его следует считать бракованным. Если компонент оборудования не работает, как описано в инструкции, его следует считать бракованным. Если в герметичном компоненте оборудования происходит утечка, то его следует считать бракованным.
10.48 Двусторонняя влажная магнитнопорошковая дефектоскопия лопастей стабилизатора (на наличие трещин)
10.48.1 Общие сведения
Стабилизатор, вращающийся благодаря боковому усилию в сторону, противоположную движению пласта, может быть поврежден из-за циклических напряжений. Область пересечения основания лопасти и корпуса стабилизатора подвержена появлению трещин по причине циклического напряжения. В
10.48 приведены указания при проведении контроля/осмотра оборудования на предмет трещин. Контроль/осмотр проводится методом жидкостной люминесцентной дефектоскопии или магнитнопорошковой дефектоскопии (белые и черные частицы). Дополнительные требования можно найти в требованиях ИОО.
10.48.2 Оборудование
10.48.2.1 Общая часть
Необходимым оборудованием считаются магнитные клещи с шарнирными опорами (работают на переменном токе).
10.48.2.2 Контроль/осмотр с использованием флуоресцентных частиц
Вещества, содержащие флуоресцентные магнитные частицы, должны соответствовать требованиям
9.4.8.3. Для проведения контроля/осмотра необходимо следующее оборудование: источник ультрафиолетового света, флуоресцентные магнитные частицы, центрифужная пробирка объемом 100 мл (с шагом 0,05 мл) и метровый фотометр. Если частицы находятся в виде аэрозоля, то в наличии центрифужной пробирки нет необходимости.
10.48.2.3 Белые и черные фоновые магнитные частицы
Аэрозольные частицы для белого и черного фона (метод жидкостной дефектоскопии) должны быть одного изготовителя или соответствовать требованиям изготовителя оборудования и использоваться в соответствии с указаниями изготовителя.
10.48.3 Освещение
При проведении визуального контроля/осмотра и магнитнопорошковой дефектоскопии при видимом свете освещение областей должно соответствовать
9.3.2. При проведении дефектоскопии методом флуоресцентных магнитных частиц освещение должно соответствовать
9.4.8.5.
10.48.4 Подготовка поверхности
Контролируемую зону необходимо очистить от смазочных материалов, грязи и других веществ, которые препятствуют проведению дефектоскопии. При использовании магнитного порошка контролируемые зоны необходимо предварительно высушить.
Поверхностные покрытия (например, краска) должны быть гладкими, их толщина должна равняться или быть менее 0,05 мм (0,002 дюйма).
10.48.5 Калибровка
Проведение процедуры калибровки оборудования приведено в
разделе 9.
10.48.6 Поверка магнитных клещей
Необходимо отрегулировать ножки клещей для максимизации контакта с поверхностью стабилизатора и лопастей, предварительно расположив их в направлении, необходимом для проведения контроля/осмотра.
10.48.7 Проведение контроля/осмотра
10.48.7.1 Общие сведения
Требования по проведению контроля/осмотра приведены в
10.46; это минимальные требования, они могут варьироваться в зависимости от договоренности между владельцем/лабораторией.
10.48.7.2 Требования по пределам, которые охватывают контроль/осмотр
а) Внутренние лопасти стабилизатора
Проводят двустороннюю магнитную дефектоскопию всего корпуса и лопастей, особенно на расстоянии 152,4 мм (6 дюймов) от корпуса (360°) на конце каждой лопасти. Особое внимание необходимо обратить на трещины корпуса (если он сделан из твердых сплавов или основного металла).
б) Стабилизатор с приварными лопастями
Проводят двустороннюю магнитную дефектоскопию всей поверхности корпуса и лопастей на расстоянии 152,4 мм (6 дюймов) (360°) от конца каждой лопасти. Особое внимание необходимо уделить трещинам на сварных швах корпуса, дефектным сварным швам (маленькая степень сплавки) и трещинам на корпусе, которые возникли в результате приварки предыдущих лопастей.
в) Стабилизатор с регулируемыми стальными лопастями
Данный контроль/осмотр нельзя проводить в отсутствие инструкций по эксплуатации (изготовителя). Перед проведением контроля/осмотра стабилизатор со стальными лопастями нужно полностью разобрать. При проведении контроля/осмотра компонентов оборудования следует полностью соблюдать инструкцию по эксплуатации ИОО. Кроме того, все основные компоненты оборудования должны быть осмотрены в порядке, подробно описанном в данном разделе.
Проводят двустороннюю магнитную дефектоскопию на переходных областях, критических зонах и/или швах, расположенных на корпусе шпинделя стабилизатора, верхнего переводника и рукаве стабилизатора (если рукав не резиновый). Во время проведения дефектоскопии особое внимание необходимо уделить трещинам, направленным из швов в рукав стабилизатора, на дефектные швы (низкая степень сплавки) и трещины на рукавах стабилизаторов, появившихся в результате приварки предыдущих лопастей.
г) Стабилизатор с невращающимися лопастями
Данный контроль/осмотр нельзя проводить в отсутствие инструкций по эксплуатации (изготовителя). Перед проведением контроля/осмотра стабилизатора с невращающимися лопастями его нужно полностью разобрать. При проведении контроля/осмотра компонентов оборудования следует полностью соблюдать инструкции по эксплуатации ИОО. Кроме того, все основные компоненты оборудования должны быть осмотрены в порядке, подробно описанном в данном разделе.
Проводят двустороннюю магнитную дефектоскопию на переходных областях, критических зонах и/или швах, расположенных на корпусе шпинделя стабилизатора, верхнего переводника и рукаве стабилизатора (если рукав не резиновый). Во время проведения дефектоскопии особое внимание необходимо уделить трещинам, направленным из швов в рукав стабилизатора, на дефектные швы (низкая степень сплавки) и трещины на рукавах стабилизаторов, появившихся в результате приварки предыдущих лопастей.
10.48.7.3 Флуоресцентный метод
Этот вид контроля/осмотра проводится в затемненных зонах (21,5 лк максимального видимого света). Оператор должен находиться в затемненной области как минимум минуту, так как глаза должны привыкнуть к темноте. Оператор не должен носить затемненные или фотохроматические линзы.
Контроль/осмотр проводится следующим образом:
a) помещают клещи на стабилизатор/лопасть стабилизатора, максимально увеличив контакт между ножками клещей и стабилизатором;
b) подают ток на клещи; распыляют магнитный порошок над контролируемой областью, распределение его между ножками клещей по наружном нельзя проводить в отсутствие инструкций по эксплуатации (изготовителя). Перед проведением контроля/осмотра стабилизатор со стальными лопастями нужно полностью разобрать. При проведении контроля/осмотра компонентов оборудования следует полностью соблюдать инструкции по эксплуатации ИОО. Кроме того, все основные компоненты оборудования должны быть осмотрены в порядке, подробно описанном в данном разделе.
c) необходимо ждать; через 3 с минимум должны появиться первые признаки; изучить область ультрафиолетовым излучением (во время подачи тока);
d) если первые признаки так и не появились, необходимо выключить подачу тока, переместить клещи (возможно, в зону нахлеста), повторить все шаги с
a) по
c);
e) необходимо продолжать контроль/осмотр, пока не будет проведен осмотр всей области;
f) следуя вышеуказанным инструкциям, снова необходимо осмотреть контролируемую область, развернув ножки клещей на 90° от первоначального положения;
g) необходимо прокрутить стабилизатор (на 90°); последовательно осмотреть все положительные области наружного диаметра стабилизатора (в обоих направлениях).
10.48.7.4 Жидкостная дефектоскопия (белый и черный магнитные частицы)
Этот вид контроля/осмотра проводится в хорошо освещенных зонах (538 лк минимального видимого света). Операторы не должны носить затемненные или фотохроматические линзы. Наружный диаметр стабилизатора, за исключением армирования/наплавки твердым сплавом, необходимо покрыть ровным слоем белого контрастного порошка. Предупреждение - нельзя деформировать поверхность из светлых контрастных частиц до окончания контроля/осмотра.
a) помещают клещи на стабилизатор/лопасть стабилизатора, максимально увеличив контакт между ножками клещей и стабилизатором;
b) подают ток на клещи; распыляют магнитный порошок над контролируемой областью, распределяют его между ножками клещей по наружному диаметру стабилизатора;
c) необходимо подождать; через 3 с минимум должны появиться первые признаки; изучают область ультрафиолетовым излучением (во время подачи тока);
d) если первые признаки так и не появились, необходимо выключить подачу тока; переместить клещи (возможно, в зону нахлеста); повторить все шаги с
a) по
c);
e) следует продолжать контроль/осмотр, пока не будет проведен осмотр всей области;
f) следуя вышеуказанным инструкциям, снова необходимо осмотреть контролируемую область, развернув ножки клещей на 90° от первоначального положения;
g) стабилизатор прокручивают (на 90°); последовательно осматривают все положительные области наружного диаметра стабилизатора (в обоих направлениях).
10.48.8 Оценка и классификация
Любые трещины, кроме трещин, расположенных на твердых поверхностях, считают причиной брака. Трещины нельзя ремонтировать или удалять.
10.49 Визуальный контроль/осмотр ударных ясов (бурильных, ловильных), амортизаторов, наддолотных переводников
10.49.1 Описание
Необходимо провести полный контроль/осмотр наружных частей бурильной колонны и легкодоступных внутренних частей на наличие механических повреждений и следов коррозии. Оборудование должно быть визуально осмотрено на наличие повреждений, износа и коррозии. Необходимо зафиксировать серийный номер и маркировку. В требованиях ИОО могут содержаться дополнительные требования к визуальному контролю/осмотру.
Примечание - Для полного контроля/осмотра необходимо разобрать оборудование и провести осмотр отдельных его частей. Данный вид контроля/осмотра проводится в соответствии с техническим регламентом по обслуживанию изготовителем оригинального оборудования в ремонтном цеху квалифицированным персоналом и с использованием процедур по контролю/осмотру, разработанных индивидуально для каждого компонента. На этот вид контроля/осмотра настоящий стандарт не распространяется.
10.49.2 Подготовка поверхности
Все контролируемые поверхности должны быть очищены, чтобы инородные вещества не мешали процедуре контроля/осмотра. Элементы бурильной колонны необходимо расположить так, чтобы они легко вращались вокруг своей оси.
10.49.3 Оборудование
Для проведения контроля/осмотра необходимо следующее оборудование:
a) зеркало либо переносной фонарь для освещения внутренних поверхностей;
b) рулетка для измерения общей длины и длины ловильной головки;
c) стальная линейка с шагом 0,39 мм (1/64 дюйма);
d) штангенциркули для измерения внутреннего/наружного диаметров.
10.49.4 Освещение
Освещение должно соответствовать требованиям
9.3.2.
10.49.5 Процедура контроля/осмотра
Необходимо осмотреть поверхность наружного диаметра оборудования на наличие повреждений, включая (но не ограничиваясь) язвины, царапины, зазубрины, трещины и иные механические повреждения. Если на лопастях есть армирование/наплавка твердым сплавом, необходимо проверить состояние этих поверхностей.
С помощью зеркала или переносного фонаря необходимо осветить внутренние поверхности оборудования. Полностью осматривают их на предмет коррозии и других дефектов.
Следует измерить и зафиксировать величину наружного диаметра на расстоянии 101,6 мм (4 дюйма) от заплечика каждой муфты; измеряют и фиксируют величину внутреннего диаметра от конца ниппельного соединения; результаты фиксируют в рабочем журнале.
Измеряют длину исследуемого оборудования и ловильной головки. Фиксируют показатели измерений в рабочем журнале. Измерение длины использованного оборудования необходимо проводить от заплечика до заплечика, а не от одного конца до другого.
Необходимо убедиться в наличии маркировки керна, зафиксировать серийный номер оборудования в рабочем журнале контроля/осмотра. При отсутствии шаблонной маркировки оборудование считается бракованным.
10.49.6 Оценка и классификация
Любые следы коррозии, зарезов, вмятин или эрозии на уплотнениях считаются причиной брака оборудования. На хромированных поверхностях не должно быть следов отслаивания или шелушения. Остальные дефекты классифицируются в соответствии с требованиями ИОО. Дефекты, не перечисленные в этих требованиях, не принимаются во внимание.
10.50 Контроль/осмотр с целью технического обслуживания
10.50.1 Описание
Изготовитель должен предоставить письменные и пересматриваемые записи по проведенному техническому обслуживанию, а также описание разрешенных ремонтных работ. Журнал учета ремонтных работ должен подтверждать, что деталь оборудования или отдельный элемент был отремонтирован в соответствии со всеми стандартами (правилами), также должна предоставляться запись о разрешенных ремонтных операциях, проведенных на осматриваемом оборудовании. Контроль/осмотр с целью технического обслуживания проводится для того, чтобы определить, было ли отремонтировано оборудование или его часть в соответствии с требованиями оригинального изготовителя.
Изготовитель оригинального оборудования несет ответственность за разработку инструкций по функциональной диагностике как для нового оборудования, так и для бывшего в эксплуатации.
10.50.2 Подготовка/условия
Перед проведением контроля/осмотра оператор должен ознакомиться с требованиями ИОО по техническому обслуживанию оборудования и другими инструкциями о разрешении проведения ремонтных работ. Кроме того, оператор должен получить журнал технических работ, проведенных для контролируемых деталей.
10.50.3 Проведение процедуры контроля/осмотра
Необходимо просмотреть журналы по техническому обслуживанию, убедиться, что они соответствуют требованиям по ТО, что элементы, которые должны быть со временем заменены, были вовремя замещены на запасные части, одобренные ИОО. Следует убедиться, что были проведены все необходимые проверки и не были проведены неразрешенные ремонтные работы.
Следует осмотреть оборудование для выявления неразрешенных ремонтных работ, несоответствующих операций, транспортирования и хранения.
10.50.4 Оценка и классификация
Любые отклонения от инструкций по ремонту оборудования/техническому обслуживанию оборудования/физических дефектов деталей необходимо считать причиной брака.
10.51 Измерения областей износа в соответствии с требованиями ИОО
10.51.1 Описание
Изготовитель должен установить требования к размерам и допуску для всех частей оборудования, износ которых влияет на состояние, характеристики или функционирование компонентов или субкомпонентов оборудования. На траекторию действия нагрузок для элементов определенного оборудования влияют размеры и допустимые пределы величин как новых, так и бывших в употреблении элементов.
Изготовитель оригинального оборудования несет ответственность за разработку требований для приема и контроля/осмотра нового и бывшего в употреблении оборудования.
10.51.2 Оборудование
ИОО должен определить минимальные измерительные приборы, используемые при контроле/осмотре. Калибровка должна проводиться в соответствии с требованиями
раздела 9 или в соответствии с требованиями изготовителя. ИОО должен предоставить подробную инструкцию по поверке и проведению измерений.
10.51.3 Подготовка/условия
Все контролируемые поверхности должны быть очищены от инородных веществ, чтобы они не мешали проведению контроля/осмотра.
10.51.4 Процедура контроля/осмотра
Необходимо зафиксировать все показатели измерений в соответствии с инструкцией ИОО.
10.51.5 Оценка и классификация
Если какие-либо измерения отклоняются от допустимых пределов, то оборудование считается бракованным.
10.52 Контроль/осмотр оборудования, бывшего в употреблении, проводится в соответствии с требования ИОО
10.52.1 Описание
Изготовитель может потребовать провести специализированный, дополнительный контроль/осмотр, чтобы убедиться, что оборудование, бывшее в употреблении, годно для эксплуатации.
Меры безопасности должны быть перечислены в инструкции по эксплуатации оборудования.
10.52.2 Оборудование
ИОО должен предоставить список испытательного оборудования, детальные инструкции по поверке и калибровке оборудования, инструкции по проведению тестов и предельные значения.
10.52.3 Подготовка/условия
Необходимо просмотреть инструкцию по проведению контроля/осмотра, убедиться, что соблюдаются все меры безопасности.
Следует удостовериться, что контроль/осмотр оборудования проводится в условиях, максимально приближенных к эксплуатационным. Во время проведения контроля/осмотра соединений не допускается наличие дополнительных уплотнительных колец.
10.52.4 Процесс проведения контроля/осмотра
Необходимо следовать инструкциям по проведению контроля/осмотра, представленным ИОО.
10.52.5 Оценка и классификация
Если элемент, входящий в состав оборудования, не соответствует требованиям ИОО, его следует считать бракованным.
10.53 Система измерения забойного оборудования в процессе бурения. Каротаж во время бурения. Внешний вид, полная длина наружного и внутреннего диаметров, маркировка, визуальный контроль/осмотр армирования/наплавки твердым сплавом и наружных покрытий
10.53.1 Описание
Наружные поверхности и легкодоступные для контроля/осмотра внутренние поверхности элементов системы замера забойных параметров/каротажной системы следует проверить на наличие механических повреждений и коррозии. Проверяемые компоненты следует осмотреть на наличие повреждений, износа и коррозии. При наличии армирования/наплавки твердым сплавом оборудование необходимо визуально осмотреть в соответствии с
10.59. Следует проверить маркировку и зафиксировать серийный номер. Требования ИОО могут включать и дополнительные требования по визуальному контролю/осмотру.
Примечание - Для проведения полного контроля/осмотра необходимо разобрать оборудование и провести контроль/осмотр отдельных его частей. Данный вид контроля/осмотра проводится в соответствии с регламентом технического обслуживания в лицензионном ремонтном центре изготовителя оригинального оборудования квалифицированным персоналом; процедура контроля/осмотра разрабатывается индивидуально для каждого элемента. Настоящий стандарт не распространяется на этот вид контроля/осмотра.
10.53.2 Подготовка поверхности
Все контролируемые поверхности должны очищаться от инородных веществ, препятствующих проведению контроля/осмотра. Элементы бурильной колонны следует расположить так, чтобы они свободно вращались.
10.53.3 Оборудование
Для проведения контроля/осмотра необходимо следующее оборудование:
a) зеркало либо переносной фонарь для освещения внутренних поверхностей;
b) измерительная лента или линейка для замера высоты установки ключа;
c) поверочная линейка.
10.53.4 Освещение
Освещение контролируемых областей должно соответствовать
9.3.2.
10.53.5 Проведение процедуры контроля/осмотра
Поверхность наружного диаметра оборудования осматривают на наличие повреждений, включая (но не ограничиваясь) язвины, царапины, зазубрины, трещины и другие механические повреждения.
С помощью зеркала или переносного источника света освещают внутренние поверхности оборудования. Исследуют их на наличие коррозии и других дефектов.
Проверяют точность маркировки и фиксируют серийный номер в рабочий журнал контроля/осмотра.
Проверяют длину ловильной головки, поместив линейку/измерительную ленту на наружный диаметр верхнего соединения и измерив расстояние от уплотняющей поверхности до любого перехода сечения.
10.53.6 Оценка и классификация
Поверхности с дефектами, глубина которых больше 3,17 мм (0,125 дюйма), должны осматриваться на наличие трещин; контроль/осмотр проводится с помощью магнитных частиц
(10.13.10.2) на ферромагнитных материалах или с помощью жидкостной дефектоскопии на неферромагнитных материалах. Дефекты глубиной более 3,17 мм (0,125 дюйма), расположенные на внутреннем диаметре резьбы или на разгрузочной канавке на наружной поверхности муфтовой резьбы, считают причиной брака оборудования. Если на элементах, входящих в состав каротажного оборудования, присутствуют острокильные/поперечные дефекты или вмятины/зарезы, глубина которых больше 6,35 мм (0,25 дюйма), то такое оборудование считается бракованным. Другие характеристики оборудования необходимо зафиксировать в рабочем журнале для проведения дальнейшего мониторинга.
Внутренние поверхностные повреждения, например глубокие вмятины/зарезы, следует осмотреть на наличие трещин методом поперечных ультразвуковых волн магнитных частиц (ферромагнитные материалы) или с помощью проникающей жидкости (неферромагнитные материалы). Бурильные колонны с трещинами считаются бракованными.
Длина ловильной головки должна быть не менее 254 мм (10 дюймов).
10.54 Двигатели и турбины. Проведение визуальной дефектоскопии полной длины, наружного/внутреннего диаметров, маркировок, армирования/наплавки твердым сплавом и наружных покрытий
10.54.1 Описание
Наружные и легкодоступные внутренние поверхности оборудования должны проверяться на наличие механических деформаций и коррозии. Армирование/наплавку твердым сплавом, при их наличии, необходимо визуально осмотреть в соответствии с требованиями
10.59. Необходимо проверить маркировку и зафиксировать серийный номер. Требования ИОО могут дополняться требованиями по проведению визуального контроля/осмотра.
Примечание - Для проведения полного контроля/осмотра необходимо разобрать оборудование и провести контроль/осмотр отдельных его частей. Данный вид контроля/осмотра производится в соответствии с техническим регламентом по обслуживанию оборудования в лицензионном ремонтном центре (изготовителя) квалифицированным персоналом. В данном случае могут использоваться индивидуально разработанные процедуры контроля/осмотра. Однако на данный вид контроля/осмотра настоящий стандарт не распространяется.
10.54.2 Подготовка поверхности
Все контролируемые поверхности должны быть очищены от инородных веществ, препятствующих проведению контроля/осмотра. Элементы бурильной колонны должны свободно располагаться и легко вращаться вокруг своей оси.
10.54.3 Оборудование
Для проведения контроля/осмотра необходимо следующее оборудование:
a) зеркало либо переносной источник света для освещения внутренних поверхностей;
b) измерительная лента или линейка для замера высоты установки ключа;
10.54.4 Освещение
Освещение контролируемых областей должно соответствовать
9.3.2.
10.54.5 Процедура контроля/осмотра
Поверхность наружного диаметра оборудования осматривают на наличие повреждений, включая (но не ограничиваясь) язвины, царапины, зазубрины, трещины и другие механические повреждения. С помощью зеркала или переносного источника света освещают внутренние поверхности оборудования. Исследуют их на наличие коррозии и других дефектов. Проверяют точность маркировки и фиксируют серийный номер в рабочий журнал контроля/осмотра. Проверяют длину ловильной головки, поместив линейку/измерительную ленту на наружный диаметр верхнего соединения и измерив расстояние от уплотняющей поверхности до любого перехода сечения.
10.54.6 Оценка и классификация
Поверхности с дефектами, глубина которых более 3,17 мм (0,125 дюйма), должны осматриваться на наличие трещин; контроль/осмотр проводится с помощью магнитных частиц
(10.13.10.2) на ферромагнитных материалах или с помощью жидкостной дефектоскопии на неферромагнитных материалах. Дефекты глубиной более 3,17 мм (0,125 дюйма), расположенные на внутреннем диаметре резьбы или на разгрузочной канавке на наружной поверхности муфтовой резьбы, считают причиной брака оборудования. Если на элементах, входящих в состав каротажного оборудования, присутствуют острокильные/поперечные дефекты или вмятины/зарезы, глубина которых более 6,35 мм (0,25 дюйма), то такое оборудование считается бракованным. Другие характеристики оборудования необходимо зафиксировать в рабочем журнале для проведения дальнейшего мониторинга.
Внутренние поверхностные повреждения, например глубокие вмятины/зарезы, следует осмотреть на наличие трещин методом поперечных ультразвуковых волн магнитных частиц (ферромагнитные материалы) или с помощью проникающей жидкости (неферромагнитные материалы). Бурильные колонны с трещинами считаются бракованными. Длина ловильной головки должна быть не менее 254 мм (10 дюймов).
10.55 Расширительные коронки, скребки, селективный расширитель скважины. Визуальная дефектоскопия полной длины, наружного/внутреннего диаметров, маркировки, армирования/наплавки твердым сплавом и наружных покрытий
10.55.1 Описание
Наружные и легкодоступные внутренние поверхности расширительных коронок, скребков, селективных расширителей скважины должны проверяться на наличие механических деформаций и коррозии. Армирование/наплавку твердым сплавом, при их наличии, необходимо визуально осмотреть в соответствии с требованиями
10.59. Необходимо проверить маркировку и зафиксировать серийный номер. Требования ИОО могут дополняться требованиями по проведению визуального контроля/осмотра.
Примечание - Для проведения полного контроля/осмотра необходимо разобрать оборудование и провести контроль/осмотр отдельных его частей. Данный вид контроля/осмотра производится в соответствии с техническим регламентом по обслуживанию оборудования в лицензионном ремонтном центре (изготовителя) квалифицированным персоналом. В данном случае могут использоваться индивидуально разработанные процедуры контроля/осмотра. Однако на данный вид контроля/осмотра настоящий стандарт не распространяется.
10.55.2 Подготовка поверхности
Все контролируемые поверхности должны быть очищены от инородных веществ, препятствующих проведению контроля/осмотра. Элементы бурильной колонны должны свободно располагаться и легко вращаться вокруг своей оси.
10.55.3 Оборудование
Для проведения контроля/осмотра необходимо следующее оборудование:
a) зеркало либо переносной источник света для освещения внутренних поверхностей;
b) измерительная лента или линейка для замера высоты установки ключа.
10.55.4 Освещение
Освещение контролируемых областей должно соответствовать
9.3.2.
10.55.5 Проведение процедуры контроля/осмотра
Поверхность наружного диаметра оборудования осматривают на наличие повреждений, включая (но не ограничиваясь) язвины, царапины, зазубрины, трещины и другие механические повреждения. С помощью зеркала или переносного источника света освещают внутренние поверхности оборудования. Исследуют их на наличие коррозии и других дефектов. Проверяют точность маркировки и фиксируют серийный номер в рабочем журнале контроля/осмотра.
Проверяют длину ловильной головки, поместив линейку/измерительную ленту на наружный диаметр верхнего соединения и измерив расстояние от уплотняющей поверхности до любого перехода сечения.
10.55.6 Оценка и классификация
Поверхности с дефектами, глубина которых более 3,17 мм (0,125 дюйма), должны осматриваться на наличие трещин; контроль/осмотр проводится с помощью магнитных частиц
(10.13.10.2) на ферромагнитных материалах или с помощью жидкостной дефектоскопии на неферромагнитных материалах. Дефекты глубиной более 3,17 мм (0,125 дюйма), расположенные на внутреннем диаметре резьбы или на разгрузочной канавке на наружной поверхности муфтовой резьбы, считают причиной брака оборудования. Если на элементах, входящих в состав каротажного оборудования, присутствуют острокильные/ поперечные дефекты или вмятины/зарезы, глубина которых более 6,35 мм (0,25 дюйма), то такое оборудование считается бракованным. Другие характеристики оборудования необходимо зафиксировать в рабочем журнале для проведения дальнейшего мониторинга.
Внутренние поверхностные повреждения, например глубокие вмятины, следует осмотреть на наличие зарезов методом поперечных ультразвуковых волн магнитных частиц (ферромагнитные материалы) или с помощью проникающей жидкости (неферромагнитные материалы). Бурильные колонны с трещинами считаются бракованными.
Длина ловильной головки должна быть не менее 254 мм (10 дюймов).
10.56 Станок для роторного бурения. Внешний вид, полная длина наружного и внутреннего диаметров, маркировочные надписи, включая визуальный контроль/осмотр армирования/наплавки твердым сплавом и наружных покрытий
10.56.1 Описание
Наружные и легкодоступные внутренние поверхности станка для роторного бурения должны проверяться на наличие механических деформаций и коррозии. Армирование/наплавку твердым сплавом, при их наличии, необходимо визуально осмотреть в соответствии с требованиями
10.59. Необходимо проверить маркировку и зафиксировать серийный номер. Требования ИОО могут дополняться требованиями по проведению визуального контроля/осмотра.
Примечание - Для проведения полного контроля/осмотра необходимо разобрать оборудование и провести контроль/осмотр отдельных его частей. Данный вид контроля/осмотра производится в соответствии с техническим регламентом по обслуживанию оборудования в лицензионном ремонтном центре (изготовителя) квалифицированным персоналом. В данном случае могут использоваться индивидуально разработанные процедуры контроля/осмотра. Однако на данный вид контроля/осмотра настоящий стандарт не распространяется.
10.56.2 Подготовка поверхности
Все контролируемые поверхности должны быть очищены от инородных веществ, препятствующих проведению контроля/осмотра. Элементы бурильной колонны должны свободно располагаться и легко вращаться вокруг своей оси.
10.56.3 Оборудование
Для проведения контроля/осмотра необходимо следующее оборудование:
a) зеркало либо переносной источник света для освещения внутренних поверхностей;
b) измерительная лента или линейка для замера высоты установки ключа.
10.56.4 Освещение
Освещение контролируемых областей должно соответствовать
9.3.2.
10.56.5 Проведение процедуры контроля/осмотра
Поверхность наружного диаметра оборудования осматривают на наличие повреждений, включая (но не ограничиваясь) язвины, царапины, зазубрины, трещины и другие механические повреждения.
С помощью зеркала или переносного источника света освещают внутренние поверхности оборудования. Исследуют их на наличие коррозии и других дефектов.
Проверяют точность маркировки и фиксируют серийный номер в рабочем журнале контроля/осмотра.
Проверяют длину ловильной головки, поместив линейку/измерительную ленту на наружный диаметр верхнего соединения и измерив расстояние от уплотняющей поверхности до любого перехода сечения.
10.56.6 Оценка и классификация
Поверхности с дефектами, глубина которых более 3,17 мм (0,125 дюйма), должны осматриваться на наличие трещин; контроль/осмотр проводится с помощью магнитных частиц
(10.13.10.2) на ферромагнитных материалах или с помощью жидкостной дефектоскопии на неферромагнитных материалах. Дефекты глубиной более 3,17 мм (0,125 дюйма), расположенные на внутреннем диаметре резьбы или на разгрузочной канавке на наружной поверхности муфтовой резьбы, считают причиной брака оборудования. Если на элементах, входящих в состав каротажного оборудования, присутствуют острокильные/поперечные дефекты или вмятины/зарезы, глубина которых более 6,35 мм (0,25 дюйма), то такое оборудование считается бракованным. Другие характеристики оборудования необходимо зафиксировать в рабочем журнале для проведения дальнейшего мониторинга.
Внутренние поверхностные повреждения, например глубокие вмятины/зарезы, следует осмотреть на наличие трещин методом поперечных ультразвуковых волн магнитных частиц (ферромагнитные материалы) или с помощью проникающей жидкости (неферромагнитные материалы). Бурильные колонны с трещинами считаются бракованными.
Длина ловильной головки должна быть не менее 254 мм (10 дюймов).
10.57 Полноразмерная дефектоскопия отклонения ствола скважины от шаблона
10.57.1 Описание
Данный вид дефектоскопии (дрифт) проводится для обеспечения свободного прохода скважинных снарядов через продукт, при его наличии, в скважине.
Данный контроль/осмотр не применяется к элементам бурильных колонн, в состав которых входит внутреннее функциональное оборудование, препятствующее свободному прохождению иного оборудования через скважину во время бурения.
10.57.2 Оборудование
Необходимо следующее оборудование:
a) шаблон для проверки внутреннего диаметра обсадных труб и НКТ цилиндрической формы с закругленным или трапециевидным ведущим краем (дрифт-шаблон-оправка), обеспечивающим свободный проход в трубу (у шаблона должна быть соответствующая длина и диаметр);
b) высокоточный штангенциркуль, замеряющий проходной диаметр дрифта с точностью до сотых долей миллиметра (тысячных долей дюйма);
c) стальная линейка необходимой длины для измерения длины прохода дрифта.
10.57.3 Калибровка
Микрометр, штангенциркуль и стальная линейка должны калиброваться в соответствии с
разделом 9.
10.57.4 Поверка
Перед началом проведения контроля/осмотра необходимо измерить диаметр дрифт-шаблона-оправки (для проверки внутреннего диаметра обсадных труб и НКТ цилиндрической формы) микрометром или штангенциркулем, определяющим величину с точностью до сотой доли миллиметра (тысячной доли дюйма), и зафиксировать результаты измерений. Измеряют дрифт-шаблон-оправку с отступом в 25,4 мм (1 дюйм) с обоих концов, но не от переходника, соединяющего трубы, делают замеры каждые 203,2 мм (8 дюймов), для каждой точки необходимо проводить два замера с разницей в 90°. Температуры дрифт-шаблона и микрометра во время проведение измерения должны равняться.
Измеряют длину цилиндрической части (за исключением скосов и закругленных концов) дрифт-шаблона-оправки стальной линейкой и фиксируют результаты измерения.
Штанговые и дисковые шаблонные оправки не должны использоваться.
Дополнительная поверка проходного диаметра должна проводиться после каждых 200 соединений и после завершения процедуры контроля/осмотра. Все длины, размеры которых колеблются между допустимыми и недопустимыми значениями, должны быть заново измерены с использованием соответствующих шаблонов.
Величины, выявленные при проведении измерений, должны находиться в пределах величин, определенных требованиями ИОО или соглашением пользователя/владельца.
10.57.5 Проведение процедуры контроля/осмотра
10.57.5.1 Подготовка
Оборудование, проходящее дрифтовую шаблонную оправку, должно быть заранее очищено от инородных материалов и закреплено для предотвращения провисания трубопровода. Температура дрифт-шаблона-оправки должна равняться +/- 11,1 °C (+/- 20 °F) от температуры проверяемой трубы.
10.57.5.2 Проведение процедуры контроля/осмотра
Дрифт-шаблон-оправку необходимо сначала пометить, а потом вытащить, стараясь не повредить резьбовые концы. Резьбовые защитные колпаки следует сохранить, если с помощью них и эталонных образцов можно провести контроль/осмотр.
Дрифт-шаблон-оправку необходимо провести по всей длине, используя действующую силу, не превышающую вес дрифт-шаблона-оправки.
Если дрифт-шаблон-оправка ударится о землю при проведении контроля/осмотра, его необходимо очистить и протестировать на наличие повреждений следующим дрифт-шаблоном-оправкой.
10.57.6 Оценка и классификация
Если дрифт-шаблон-оправка не проходит всю длину трубы, хотя она была предварительно очищена и тщательно закреплена, то такую трубу считают бракованной и ей определяется статус "недрифтовой трубы".
10.58 Контроль/осмотр запатентованного оборудования
10.58.1 Описание
В состав бурильных колонн входит большое количество запатентованного оборудования, включая ударные ясы, разбуриватели ствола скважины, предохранительные клапаны, клапаны противовыбросовых превентеров, промывочные колонны, подвесные хомуты колонны-хвостовика, пакеры, штормовой клапан, цементирующее оборудование, колонковые снаряды, отводящие устройства и другое оборудование. Если международные стандарты не распространяются на данное оборудование, то контроль/осмотр проводится в соответствии с инструкциями ИОО. В инструкциях ИОО должны быть указаны допустимые пределы по повреждениям, износу и коррозии всех частей, которые влияют на эксплуатационные характеристики и дальнейшую пригодность собранных узлов оборудования. При необходимости проведения полного контроля/осмотра оборудование необходимо разобрать в ремонтном цехе и провести полный контроль/осмотр в соответствии с инструкциями ИОО. Контроль/осмотр собранных узлов в процессе эксплуатации ограничивается наружным осмотром оборудования и осмотром легкодоступных внутренних частей, а также проверкой на механические повреждения, износ и коррозию. Кроме того, измеряются и фиксируются величины длины ловильной головки и общая длина оборудования. Проверяется маркировка и фиксируются серийные номера.
10.58.2 Подготовка поверхности
Все контролируемые поверхности должны быть очищены от инородных веществ, препятствующих проведению контроля/осмотра. Элементы бурильной колонны должны свободно располагаться и легко вращаться вокруг своей оси.
10.58.3 Оборудование
Для проведения контроля/осмотра необходимо следующее оборудование:
a) зеркало или переносной источник света для освещения внутренних поверхностей;
b) измерительная лента для замера общей длины и длины ловильной головки;
c) металлическая линейка с шагом 0,39 мм (или 1/64 дюйма);
d) штангенциркули для измерения наружного/внутреннего диаметров.
10.58.4 Освещение
Освещение контролируемых областей должно соответствовать
9.3.2.
10.58.5 Проведение процедуры контроля/осмотра
Поверхность наружного диаметра оборудования осматривают на наличие повреждений, включая (но не ограничиваясь) язвины, царапины, зазубрины, трещины и другие механические повреждения. При наличии на лопастях армирования/наплавки твердым сплавом необходимо проверить состояние их покрытия.
Зеркалом или переносным источником света освещают внутренние поверхности и осматривают их с обоих концов на наличие коррозии, износа и других дефектов.
Измеряют наружный диаметр в 101,6 мм (4 дюйма) от заплечика каждой соединительной муфты; измеряют внутренний диаметр в 76,2 мм (3 дюйма) от конца каждого штифтового соединения; фиксируют результаты в рабочем журнале контроля/осмотра.
Измеряют длину инструмента и ловильной головки. Записывают результаты в рабочий журнал. Для частей оборудования, бывших в употреблении, длина измеряется от заплечика до заплечика, а не от конца до конца.
Проверяют точность маркировок и фиксируют серийный номер в рабочем журнале контроля/осмотра.
10.58.6 Оценка и классификация
Любые следы коррозии, царапин, вмятин/зарезов или эрозии на местах уплотнения следует считать причинами для забраковки. На хромированных поверхностях не должно быть следов отслаивания или шелушения. Остальные дефекты следует классифицировать согласно критериям, предоставленным ИОО. Дефекты, не указанные в инструкции по осмотру, предоставленной ИОО, не следует принимать во внимание.
10.59 Контроль/осмотр армирования/наплавки твердым сплавом
10.59.1 Общая часть
В
10.59 описываются характеристики, по которым принимают или забраковывают области армирования/наплавки твердым сплавом бурильных труб, толстостенных бурильных труб, утяжеленных бурильных труб и других элементов КНБК. Армирование/наплавка твердым сплавом, как правило, не являются встроенными частями бурильной колонны, поэтому принятие или забраковка проводится в соответствии с требованиями владельца/пользователя. Контроль/осмотр включает в себя визуальное обследование поверхностей на наличие повреждений и дефектов, возникших во время эксплуатации. Из-за большого количества материалов, использованных в армировании/наплавке твердым сплавом, и различных видов эксплуатации владельца/пользователя перечисленные выше характеристики являются общими. Отдельные владельцы/пользователи определяют дополнительные критерии к материалам и эксплуатации оборудования. Например, дополнительные методы контроля/осмотра (магнитнопорошковая дефектоскопия).
Карбид-вольфрамное армирование - самый абразивный, износостойкий вид армирования/наплавки твердым сплавом. Данные поверхности армирования/наплавки твердым сплавом не трескаются и не отслаиваются (на бурильных замках). Карбид-вольфрамное армирование/наплавка твердым сплавом используется на невысаженных концах трубы или "приподнято" над этими поверхностями. В обоих случаях карбид-вольфрамное армирование/наплавка твердым сплавом может (как часто делается) применяться поверх другого вида армирования. Нет необходимости удалять остатки старых поверхностей армирования/наплавки твердым сплавом. В этом случае могут появляться трещины и пористость (это редкость и данные характеристики не снижают прочности армирования/наплавки твердым сплавом). Однако высокая пористость является причиной эрозии и вымывания армированных областей.
На самых "дружелюбных" видах армирования/наплавки твердым сплавом допускается присутствие небольшого количества трещин. Однако приемлемость этих трещин варьируется в зависимости от продуктов (вещества) и технических характеристик изготовителя оборудования. На контроль/осмотр армированных поверхностей также влияют специфические критерии фирмы-армировщика (по приему и забраковке). Наиболее эффективный метод - предоставление информации фирмой-армировщиком владельцу/пользователю трубы перед проведением контроля/осмотра; критерии по приему и забраковке должны быть полностью согласованы с владельцем/пользователем. Если вид армирования новых или бывших в употреблении бурильных колонн, ТТТ, УБТ и других элементов КНБК, по каким-то причинам неизвестен, то фирма-армировщик не имеет права предоставить необходимые характеристики для проведения полного контроля/осмотра; в данном случае используются характеристики для приема или забраковки в соответствии с
10.59.2 и
10.59.5 вне зависимости от того, было ли армирование проведено недавно или же в эксплуатации.
Контролируемые области необходимо очистить от грязи, смазки, жира, ржавчины, краски и других инородных веществ, препятствующих проведению контроля/осмотра. Области армирования/наплавки твердым сплавом перед проведением контроля/осмотра необходимо охладить до температуры ниже 50 °C (150 °F).
10.59.3 Оборудование
Для проведения осмотра необходимо следующее оборудование:
a) угломер-транспортир;
b) металлическая линейка с шагом 0,39 мм (или 1/64 дюйма);
c) прямоугольная направляющая линейки и глубиномер с прикрепленным игловым контактом.
Непостоянный (стирающийся) маркер, например мел, используется для выделения контролируемой области.
10.59.4 Освещение
Освещение осматриваемых поверхностей должно соответствовать
9.3.2.
10.59.5 Проведение процедуры контроля/осмотра
Каждую область армирования/наплавки твердым сплавом необходимо визуально осмотреть на наличие дефектов. Данный контроль/осмотр проводится отдельно или вместе с другими необходимыми визуальными проверками элементов бурильной колонны.
Поверхность осматривают на наличие визуально обнаруживаемых дефектов, таких как (но не ограничиваясь) трещины, пористости, пузыри, вмятины, отслоившиеся части карбида, отсутствующие или сломанные части, неправильная форма сварного слоя или неверная глубина канавок между швами.
При обнаружении трещин или отсутствующих частей оборудования необходимо их обследовать и убедиться, что материал, прилегающий к трещине, не отслаивается от основной части детали.
Все выявленные трещины необходимо осмотреть и убедиться, что они заканчиваются на наплавном слое сварного шва и не распространяются на основную часть материала области армирования/наплавки твердым сплавом.
Пористость считается избыточной, если три и более полостей располагаются в области размером 12,7 мм (0,500 дюйма), а расстояние между этими полостями меньше их диаметра. Избыточная пористость считается причиной потери износостойкости армированных областей, эрозии и вымывания частиц из областей армирования/наплавки твердым сплавом. Владелец/пользователь должен быть уведомлен об этом.
Вдобавок к вышеупомянутым процедурам по контролю/осмотру "дружелюбных" областей армирования/наплавки твердым сплавом необходимо особое внимание уделить областям армирования/наплавки твердым сплавом, находящимся на 18° захватной части переходника муфтового замка бурильной трубы и ТБТ, чтобы убедиться, что на них присутствует заплечик с наружным замковым диаметром по всей окружности. Необходимо также проверить данную область армирования/наплавки твердым сплавом на наличие отслаивания поверхности, прилегающей к переходнику, а также для выявления неверного угла заплечика. Для обнаружения отслаивания и неверных углов используется прямоугольная составляющая линейки, которая прикладывается вдоль всей длины.
10.59.6 Процедуры по оценке и классификации
10.59.6.1 Общие сведения
Все виды бурильных труб, ТБТ, утяжеленных бурильных труб (УБТ) или КНБК элементов с армированием/наплавкой твердым сплавом должны иметь соответствующую маркировку (для владельца/пользователя) в случае, если вдруг армированные области окажутся дефектными.
10.59.6.2 Критерии при наличии армирования/наплавки твердым сплавом
Если на поверхности находятся трещины (проникают вглубь поверхности), они являются признаком брака.
Любые области армирования/наплавки твердым сплавом, обслуживаемые неподобающим образом или находящиеся в зонах наплавок, являются причиной брака детали. Эти условия могут быть выявлены методом визуальной дефектоскопии областей с наплавленным металлом, которые показывают небольшие приподнятости над общей поверхностью.
Наружный размер областей армирования/наплавки твердым сплавом необходимо визуально изучить для определения остаточного количества наплавки. Если на областях армирования/наплавки твердым сплавом выявлены признаки износа (вдоль всей длины), необходимо измерить размер исследуемой детали и убедиться, что она находится в допустимых пределах. Если величина находится в допустимых пределах, то в отчете о проведенном контроле необходимо зафиксировать статус детали "изношено". Однако если владелец/пользователь считает, что это недостаточная причина для отбраковки детали, то деталь можно и дальше эксплуатировать.
10.59.6.3 Критерии при наличии зон карбид-вольфрамного армирования/наплавки твердым сплавом
Трещины приемлемы, если они находятся в металлических поверхностях армирования/наплавки твердым сплавом. Отслоение карбида от поверхности армирования/наплавки твердым сплавом считается причиной для отбраковки детали.
Владелец/пользователь может предъявить дополнительные требования/критерии к приемке/забраковке. Сюда могут входить (но не ограничиваются этим):
a) области верхнего покрытия с армированием/наплавкой твердым сплавом;
b) измерения и допустимые величины отслаивания областей армирования/наплавки твердым сплавом с или над прилегающей поверхностью;
c) ширина наплавок, глубина/ширина канавок между швами;
d) вогнутость сварных швов;
e) допустимые поверхностные дефекты (пористость, пузыри, вмятины);
f) размер и форма используемых карбид-вольфрамных частиц;
g) допустимые/недопустимые трещины на поверхности с окончательным слоем армирования/наплавки твердым сплавом.
10.59.6.4 Критерии для контроля/осмотра "дружелюбных" областей армирования/наплавки твердым сплавом
а) Общие сведения
Любые бурильные трубы, ТБТ, УБТ или КНБК с областями армирования/наплавки твердым сплавом могут быть забракованы в соответствии с
10.59.6.4.б) -
10.59.6.4.е). На них следует нанести специальную маркировку и предоставить в распоряжение владельца/пользователя.
Причины забраковки деталей:
- если ширина любой наклонной/продольной трещины более 1 мм (0,040 дюйма);
- если ширина любой поперечной/круговой трещины более 0,2 мм (0,010 дюйма).
в) Пористость
Поры, диаметр и глубина которых более 1,57 мм (0,062 дюйма), необходимо считать причиной отбраковки.
г) Нахлестывание швов и плоскость
Швы должны слегка перекрывать друг друга, это предотвращает образование чрезмерного количества канавок между прилегающими швами. Размер канавок, прилегающих к швам, не должен превышать 1,57 мм (0,062 дюйма) по ширине и 3,17 мм (0,125 дюйма) по глубине; замеры проводят от верхнего края канавки. Форма швов должна быть плоской, чуть выпуклой. Вогнутость в центральной части шва не должна превышать 0,38 мм (0,015 дюйма).
д) Требования владельца/пользователя
Операторы, проводящие контроль/осмотр "дружелюбных" поверхностей армирования/наплавки твердым сплавом, должны согласовать дополнительные требования с владельцем/пользователем касательно армирования/наплавки твердым сплавом и эксплуатационных условий.
Дополнительные требования распространяются на длину и количество трещин. Примеры дополнительных требований:
| | ИС МЕГАНОРМ: примечание. Текст дан в соответствии с официальным текстом документа. | |
a) на поверхности исследуемой поверхности находится более трех продольных трещин, длина которых равняется ширине сварного шва (вне зависимости от ширины трещины), и они сконцентрированы в областях армирования/наплавки твердым сплавом округлой полоски [диаметр 25 мм (0,984 дюйма)];
b) на исследуемой поверхности находятся две продольные трещины, длина которых равна ширине сварного шва, и они расположены на расстоянии 6,35 мм (0,250 дюйма) друг от друга и ширина этих трещин более 0,5 мм (0,020 дюйма);
c) на исследуемой поверхности находится одиночная трещина длиннее 50,8 мм (2 дюйма);
d) на исследуемой области находятся трещины, пересекающиеся с более чем одной продольной/наклонной трещиной;
e) на исследуемой области находятся наклонные трещины, пересекающиеся с продольными/поперечными трещинами.
е) Области армирования/наплавки твердым сплавом, расположенные на 18° элеватора с раструбом (трубы с раструбом), на переходнике соединительного замка муфты и на ТБТ
Требования по приему и забраковке областей армирования/наплавки твердым сплавом:
a) на переходном участке между 18° элеватора с раструбом (трубы с раструбом) и наружным диаметром замка муфты бурильной трубы должен располагаться различимый угол вокруг всей окружности (на нем пересекаются наружный диаметр замка и захватная часть переходника);
b) если во время проведения контроля/осмотра был обнаружен неверный угол наклона, то элеватор с раструбом, находящийся на 18°, необходимо измерить угломером-транспортиром; величины полученных измерений должны входить в допустимые пределы от плюс 2° до 0°, иначе армированная область будет считаться забракованной;
c) область армирования/наплавки твердым сплавом, располагающаяся на 18° элеватора с раструбом (трубы с раструбом), должна промываться струей жидкости со стороны околошовного пространства трубы с раструбом, входить в допустимые пределы от плюс 0,8 до 0 мм (плюс 1/31 до 0 дюйма); в противном случае области армирования/наплавки твердым сплавом считаются бракованными;
d) любые области армирования/наплавки твердым сплавом, которые не прикрепляются/прилегают должным образом к необходимым поверхностям, считаются забракованными.
10.60 Поперечная магнитнопорошковая дефектоскопия наружного/внутреннего диаметров ниппельной резьбы
10.60.1 Общие сведения
В
10.60 описываются необходимое оборудование, требования и методики для проведения влажной, магнитнопорошковой дефектоскопии наружных поверхностей от уплотнительного заплечика до области наружной ниппельной резьбы соединительных замков бурильных труб, бывших в употреблении. Данный вид контроля/осмотра проводится для выявления поперечных трещин.
10.60.2 Оборудование
10.60.2.1 Катушка
Для проведения контроля/осмотра необходимо следующее оборудование: катушка постоянного тока (однополупериодного переменного тока, нормального переменного тока, фильтрующегося однополупериодного переменного тока или пульсирующего постоянного тока). Количество витков должно указываться на катушке.
10.60.2.2 Дефектоскопия магнитными флуоресцентными частицами
Растворы флуоресцентно-магнитных веществ должны соответствовать требованиям
9.4.8.3. Также для проведения контроля/осмотра необходимы источник ультрафиолетового света, флуоресцентные магнитные частицы, центрифужная пробирка (с делениями каждые 0,05 мл) объемом 100 мл и ультрафиолетовый фотометр. Если частицы находятся в виде аэрозоля, то центрифужная пробирка не требуется.
10.60.2.3 Дополнительное оборудование
Необходимо следующее оборудование:
a) магнитометр или прибор Гаусса;
b) зеркало для проведения контроля/осмотра, переносной источник света или зеркало для освещения внутренних поверхностей.
10.60.3 Освещение
Освещение поверхностей, подвергающихся визуальному контролю/осмотру, должно соответствовать
9.3.2. Освещение поверхностей, подвергающихся флуоресцентно-магнитной дефектоскопии, должно соответствовать
9.4.8.5.
10.60.4 Подготовка поверхности
Контролируемую область необходимо очистить от жира, смазки, грязи и других веществ, которые препятствуют движению магнитных частиц, проведению контроля/осмотра, полному смачиванию поверхностей и снятию показаний приборов.
Поверхностное покрытие (краски, лаки) должно быть гладким; его толщина должна равняться 0,05 мм (0,002 дюйма) или менее.
10.60.5 Калибровка
Калибровка оборудования должна проводиться в соответствии с
разделом 9.
10.60.6 Поверка
Выбирают стандартный бурильный замок из числа инспектируемых. Помещают катушку постоянного тока на замок не более чем в 228,6 мм (9 дюймов) от запаечного ранта. Подают питание на катушку, чтобы создать остаточное продольное поле. Используя остаточное поле наносят магнитные частицы на инспектируемую зону и наблюдают за движением частиц. Если частицы продолжают передвигаться более 10 с, увеличивают силу магнитного поля и снова наносят магнитные частицы. Если частицы вытягиваются слишком быстро, то есть быстрее чем за 6 с, необходимо развернуть катушку и применить ток несколько меньшей мощности. Продолжают до тех пор, пока движение частиц не будет длиться от 6 до 10 с после нанесения.
Основываясь на подвижности частиц, следует установить необходимое магнитное поле, измерить поле на конце соединения, используя прибор Гаусса или магнитометр. Поле в каждом последующем соединении должно быть в пределах 10% установленной силы поля.
10.60.7 Проведение процедуры контроля/осмотра
Требования по проведению контроля/осмотра, приведенные ниже, - это минимальные требования, которые могут варьироваться в зависимости от состояния бурильной трубы и договоренностей между владельцем и лабораторией. Перед проведением осмотра/контроля резьбы видимым светом необходимо провести осмотр/контроль ультрафиолетовым светом.
Если обследуются затемненные области (21,5 лк максимального видимого света), необходимо предпринять следующее: перед проведением контроля/осмотра операторам необходимо находиться в затемненной области не менее минуты (глаза должны приспособиться к темноте). Также операторы не должны носить затемненные/фотохромные линзы.
a) необходимо расположить катушку на замке бурильных труб, чтобы прикрыть уплотнительный заплечик;
b) следует подать на катушку намагничивающий поток тока (не менее чем на 1 с); его уровень устанавливается во время поверки. Затем отключить катушку;
c) следует распылить/ровно распределить магнитную суспензию по намагниченной зоне контроля/осмотра. Ультрафиолетовым излучением осмотреть верхнюю часть соединения. Повернуть соединение бурильного замка на 180° и снова воздействовать на исследуемую область суспензией. С помощью ультрафиолетового излучения осмотреть сечение резьбы верхней части соединения;
d) при необходимости следует переместить катушку на следующую осматриваемую область соединения бурильного замка; повторить шаги с
a) по
c).
После проведения контроля/осмотра следует удалить суспензию.
10.60.8 Оценка
Резьбы замков бурильных труб, на которых обнаружены трещины любой глубины (за исключением трещин на областях армирования/наплавки твердым сплавом), следует отбраковать. Армирование/наплавка твердым сплавом должны оцениваться в соответствии с
10.59.
10.60.9 Ремонт отбракованных замков
Требования по проведению ремонта отбракованных замков бурильных труб (см.
10.16).
10.61 Тело трубы. Проведение внутренней магнитной дефектоскопии критических областей
10.61.1 Общие указания
В
10.61 приводятся требования к оборудованию, описание работ и последовательность действий при проведении сухой магнитоскопии внутренних поверхностей критических зон бурильных труб, бывших в употреблении. Данный вид контроля/осмотра проводится для выявления поперечных трещин внутреннего диаметра трубы. Данный вид контроля/осмотра проводится для толстостенных бурильных труб. Данный вид контроля/осмотра также используется для осмотра нижних частей бурильных колонн и их критических зон.
В настоящем стандарте критической зоной является расстояние от основания упорного заплечика бурильного замка до поверхности, удаленной на 660,4 мм (26 дюймов), или расстояния от нижней части вмятин, образованных клиньями (в зависимости, что дальше). На области толстостенных бурильных труб, расположенных около центральной износной накладки, не распространяется зона контроля/осмотра.
10.61.2 Оборудование
10.61.2.1 Катушки
При проведении данного контроля/осмотра используется продольное магнитное поле, которое создает катушка. Катушки постоянного тока (нормального переменного тока, однополупериодного переменного тока, фильтрующегося нормального переменного тока или постоянного тока) используются при проведении контроля/осмотра.
10.61.2.2 Магнитный порошок
Магнитный порошок должен соответствовать требованиям
9.4.8.2. Для распределения магнитных частиц по осматриваемой зоне необходимо использовать неферромагнитную воронку, охватывающую и критическую зону.
10.61.2.3 Приборы для проведения оптического контроля/осмотра
При проведении данного вида контроля/осмотра необходимо следующее оборудование: бороскоп или другой прибор для внутреннего осмотра (должны соответствовать требованиям
9.3.2.4).
10.61.3 Подготовка поверхности
Проверяемую область необходимо очистить от солидола, смазки, грязи и других веществ, которые препятствуют движению магнитных частиц и контролю/осмотру. Все покрытия осматриваемых поверхностей должны быть гладкие; их толщина должна равняться 0,05 мм (0,001 дюйма) или менее.
10.61.4 Калибровка
Калибровка оборудования проводится в соответствии с
разделом 9.
10.61.5 Поверка. Катушка постоянного тока
Выбирают типичный образец бурильной трубы для проведения контроля/осмотра. Располагают катушку на осевой линии примерно на расстоянии 304,8 мм (12 дюймов) от упорного заплечика. Подают ток на катушку в соответствии с
таблицей C.1,
таблицей D.1 (приложение C, приложение D) на наружный диаметр трубы. Наносят магнитный порошок с помощью неферромагнитной воронки; бороскопом осматривают скопления (отложения) магнитного порошка в контролируемых зонах. Если скоплений не обнаружено, необходимо снова подать ток. Если скопление порошка обнаружено, необходимо реверсировать катушку и воздействовать на нее более сильным током. Следует продолжать эту процедуру, пока в контролируемой зоне не будет маленького скопления порошка. Затем фиксируют силу тока, необходимую для создания подходящего магнитного поля; данную силу тока и намагничивания необходимо использовать при проведении контроля/осмотра.
10.61.6 Проведение процедуры контроля/осмотра. Поэтапно
Данные требования для проведения контроля/осмотра являются минимальными; они варьируются в зависимости от состояния бурильной трубы и договоренностей между владельцем и лабораторией.
Этапы:
a) осматривают всю внутреннюю поверхность критических областей, чтобы выявить визуально обнаруживаемые дефекты;
b) располагают катушку на первую осматриваемую область;
c) максимальная зона охвата каждой катушки - 304,8 мм (12 дюймов) во всех направлениях от осевой линии катушки;
d) для полного контроля/осмотра области необходимо несколько раз перемещать катушку по осматриваемой области;
e) как минимум в течение 1 с необходимо подавать на катушку намагничивающий ток, уровень которого был установлен во время поверки;
f) отключают катушку;
g) распределяют магнитный порошок по всей критической зоне с помощью неферромагнитной воронки, вращают трубу для равномерного распределения порошка по окружности;
h) проводят магнитнопорошковую дефектоскопию видимой зоны контроля/осмотра (максимум 304,8 мм (12 дюймов) во всех направлениях от оси катушки) с помощью оптического прибора контроля/осмотра. Поворачивают трубу так, чтобы была заметна область, расположенная ниже линии распределения магнитного порошка на конце трубы. Особое внимание необходимо уделить источникам трещин, зарезов, отверстий и точечной коррозии;
i) повторяют процедуры, обеспечивая как минимум 50,8 мм (2 дюйма) перекрытия зон осмотра/контроля до завершения полного контроля/осмотра;
j) после завершения контроля/осмотра необходимо удалить магнитный порошок.
10.61.7 Оценка
Необходимо оценить все дефекты в соответствии с
10.13.
10.62 Тело трубы. Проведение двусторонней, внутренней магнитной дефектоскопии критических областей
10.62.1 Общие сведения
В
10.61 перечислены требования к оборудованию, описание работ и поэтапные операции для проведения магнитоскопии внутренних поверхностей критических зон бурильных труб, бывших в употреблении. Данный контроль/осмотр проводится для обнаружения поперечных/продольных трещин внутреннего диаметра труб. Этот контроль/осмотр также проводится и для толстостенных бурильных труб. Также эти процедуры проводятся для контроля/осмотра нижних частей забойной компоновки для наклонно-направленного бурения.
В настоящем стандарте критической зоной является расстояние от основания упорного заплечика бурильного замка до поверхности, удаленной на 660,4 мм (26 дюймов), или расстояния от нижней части вмятин, образованных клиньями (в зависимости, что дальше, как показано на
рисунке 4). На области толстостенных бурильных труб, расположенных около центральной износной накладки, не распространяется в зоне контроля/осмотра.
10.62.2 Оборудование
10.62.2.1 Продольное поле
Для проведения контроля/осмотра используются катушки постоянного тока (нормального переменного тока, однополупериодного переменного тока, фильтрующегося нормального переменного тока или пульсирующего постоянного тока). Количество витков должно указываться на катушке.
10.62.2.2 Вращающееся поле
Может быть использован внутренний проводник. Питание внутреннего проводника может быть источником прямого тока, источником с выпрямленным переменным током либо конденсаторным источником питания. Амперная нагрузка источника питания должна соответствовать требованиям, изложенным в
таблице C.2,
таблице D.2 (приложение C, приложение D). В
таблице C.4,
таблице D.4 (приложение C, приложение D) приводится номинальная линейная масса [масса на метр (фут)] для труб различного размера.
10.62.2.3 Магнитный порошок
Используемый магнитный порошок должен соответствовать требованиям
9.4.8.2. Для распределения магнитных частиц по контролируемой области необходимо использовать неферромагнитную воронку, охватывающую и критическую зону.
10.62.2.4 Приборы для визуального осмотра/контроля
В список необходимого оборудования входит бороскоп или другой прибор для проведения внутреннего контроля/осмотра, соответствующий требованиям
9.3.2.4.
10.62.3 Подготовка поверхности
Контролируемую область необходимо очистить от смазки, солидола, грязи и других веществ, которые препятствуют движению магнитных частиц и проведению контроля/осмотра. Покрытие всех контролируемых поверхностей должно быть гладко, его толщина должна равняться 0,05 мм (0,001 дюйма) или менее.
10.62.4 Калибровка
Калибровка оборудования описывается в
разделе 9.
10.62.5 Поверка
10.62.5.1 Катушка постоянного тока
Выбирают типичный образец бурильной трубы для проведения контроля/осмотра. Располагают катушку на осевой линии примерно на расстоянии 304,8 мм (12 дюймов) от упорного заплечика. Подают ток на катушку в соответствии с
таблицей C.1,
таблицей D.1 (приложение C, приложение D) на наружный диаметр трубы. Наносят магнитный порошок с помощью неферромагнитной воронки; бороскопом осматривают скопления (отложения) магнитного порошка в контролируемых зонах. Если скоплений не обнаружено, необходимо снова подать ток. Если скопление порошка обнаружено, необходимо реверсировать катушку и воздействовать на нее более сильным током. Продолжают эту процедуру, пока в контролируемой зоне не будет маленького скопления порошка. Следует зафиксировать силу тока, необходимую для создания подходящего магнитного поля; данную силу тока и намагничивания необходимо использовать при проведении контроля/осмотра.
10.62.5.2 Намагничивающий стержень
Намагничивающий стержень должен быть изолирован от трубы. Источник питания должен соответствовать
таблице C.2,
таблице D.2 (приложение C, приложение D). Уровень тока, указанный в таблице, является намагничивающим током при проведении продольного контроля/осмотра.
При проведении контроля/осмотра с помощью прямого тока намагничивающуюся трубу необходимо заземлить.
10.62.6 Проведение процедуры контроля/осмотра
10.62.6.1 Общие сведения
Всю внутреннюю поверхность критических зон осматривают для выявления визуально обнаруживаемых дефектов.
10.62.6.2 Катушка
Помещают катушку на наружном диаметре трубы, приблизительно в 304,8 мм (12 дюймов) от упорного заплечика.
Далее необходимо намагнитить критическую зону, соблюдая нормы, установленные поверкой; нанести магнитный порошок на критическую область с помощью неферромагнитной воронки; вращать трубу для распределения порошка по всей окружности.
Проводят магнитнопорошковую дефектоскопию видимой области [максимум 304,8 мм (12 дюймов) во всех направлениях от оси катушки] с помощью прибора для оптического осмотра. Поворачивают трубу так, чтобы стали заметны линии распределения магнитного порошка на конце трубы. Особое внимание необходимо обратить на источник трещин, отверстий, зарезов и точечной коррозии.
Повторяют процедуры, обеспечив не менее 50,8 мм (2 дюйма) перекрытия контролируемых областей до полного завершения контроля/осмотра. Проводят процедуру контроля/осмотра, пока не будет изучена вся поверхность внутреннего диаметра критической зоны.
10.62.6.3 Намагничивающий стержень
Намагничивают трубу. С помощью магнитного порошка, который использовался во время поперечного контроля/осмотра, необходимо полностью прокрутить трубу для распределения порошка. Проводят магнитнопорошковую дефектоскопию видимой зоны контроля/осмотра с помощью прибора оптического контроля. Поворачивают трубу так, чтобы стали заметны области, расположенные ниже линии распределения магнитного порошка на конце трубы. Проводят процедуру контроля/осмотра, пока не изучат всю критическую область внутреннего диаметра.
10.62.7 Завершение осмотра
Удаляют магнитный порошок после завершения процедуры контроля/осмотра.
10.62.8 Оценка
Проводят оценку всех дефектов в соответствии с
10.13.
10.63 Наружная проверка API резьбового соединения высаженных концов труб
10.63.1 Общие сведения
В
10.63 описывается процедура визуального контроля/осмотра API наружных высаженных концов труб с круговой резьбой, бывших в употреблении. В контроль/осмотр входят осмотр поверхности, фацета, зоны
Lc и не
Lc областей штифтов и поверхностей, выточка, длина чистой резьбы и незадействованной части резьбы муфты. Кроме того, необходимо измерить машинные крепления муфтового соединения и длину самих соединений.
10.63.2 Оборудование
Для проведения контроля/осмотра необходимо следующее оборудование:
a) металлическая рулетка с шагом 0,39 мм (1/64 дюйма);
b) небольшое ручное (переносное) не увеличивающее зеркало;
c) закаленное наземное лекало;
d) измерительный прибор, соответствующий стандартам, с установленными контактами.
10.63.3 Подготовка поверхности
Перед проведением контроля/осмотра необходимо зачистить все поверхности, убрать все посторонние вещества, мешающие проведению процедуры контроля/осмотра.
10.63.4 Калибровка
Измерительные приборы необходимо калибровать каждые 6 мес. или в случае, если они испытывали большие нагрузки, влияющие на точность измерений.
10.63.5 Освещение
Освещение должно соответствовать
9.3.2.
10.63.6 Проведение процедуры контроля/осмотра
Прокручивают трубу минимум на один оборот; наблюдают за штифтовым соединением. Осматривают поверхность, фаску и резьбы на наличие повреждений, особое внимание (однако не ограничиваясь) надо уделить язвинам, царапинам, зазубринам, вмятинам, поверхностным повреждениям резьбы.
Изучают внутренний диаметр под наружной резьбой на предмет трещин, эрозии, изменений заостренных областей.
Снова прокручивают трубу на один оборот; наблюдают за муфтовым соединением. Осматривают поверхность раззенкованной части и резьбы на наличие повреждений, включая (но не ограничиваясь) язвинами, царапинами, вмятинами, зазубринами, поверхностными повреждениями резьбы.
Осматривают наружную поверхность соединения для выявления сжатий, вмятин, зарезов и следов износа. Дополнительно, если присутствует профиль и он ярко выявлен, необходимо убедиться, что муфтовые соединения соответствует профилю.
Измеряют закрепленное на станке составное оборудование, приложив линейку к внутренней стыковке и замерив дистанцию от поверхности готового штифта до поверхности соединения.
Для контроля/осмотра состояния внутренней и наружной резьбы следует использовать резьбовое лекало. Оператор должен обнаружить видимый свет между измеряемой и боковой стороной профиля резьбы, основанием и вершинным профилем резьбы. Следует провести два контроля/осмотра профиля резьбы каждого соединения, замеры необходимо проводить с разницей в 90°. Все выявленные дефекты или пропуски резьбового лекала необходимо отметить и оценить, используя основное лекало.
Измеряют длину муфтового соединения.
10.63.7 Оценка и классификация
Любые выступы, расположенные на боковой стороне профиля резьбы или вершинах резьбы наружной и внутренней, препятствующие работе резьбового лекала, следует устранить или считать причиной для забраковки. Ремонтные работы должны проводиться только по соглашению между лабораторией и владельцем/пользователем.
Дуговой прожог любой резьбы считается причиной брака.
Lc резьба и абсолютная резьбовая длина муфтового соединения [
таблица C.16,
таблица D.16 (приложение C, приложение D)] не должны содержать дефектов, нарушающих целостность резьбы. Дефектами, нарушающими целостность резьбы, являются язвины, царапины, зазубрины, вмятины, заточки, неровности, раздробленности, обрывающаяся резьба, резьбы с неполным вершинным профилем. Небольшие неровности, разрывы, царапины и другие поверхностные дефекты на вершине профиля или на основании резьбы могут присутствовать на соединениях, бывших в употреблении, и не являются причинами брака, если они не нарушают целостность резьбы.
Lc резьбы или абсолютная резьбовая длина муфтового соединения могут не соответствовать нормативам. Это определяется во время проведения контроля/осмотра с помощью профиля резьбы. Если резьба не соответствует нормативам, ее необходимо забраковать.
10.63.8 Снятие фасок и поверхность
Соединение следует забраковать, если фаска не охватывает 360° окружности, или если резьба располагается на поверхности, а не на фаске, или если фаска несоизмеримо большая и образует острые края на поверхности трубы.
Поверхность штифта и муфтового соединения и расточка этих соединений не должны содержать заусенцев, в противном случае эти соединения считаются бракованными.
Закрепленное на станке составное оборудование должно соответствовать пределам, приведенным в
таблице C.16,
таблице D.16 (приложение C, приложение D). В противном случае муфтовое соединение считается бракованным.
Длина муфтового соединения должна быть размером не менее минимальной длины, приведенной в
таблице C.16,
таблице D.16 (приложение C, приложение D). В противном случае муфтовое соединение считается бракованным.
(справочное)
ИЗГОТОВИТЕЛЯ ОРИГИНАЛЬНОГО ОБОРУДОВАНИЯ (ИОО)
A.1 Требования ИОО для специализированных приборов
Целью данного приложения является определение минимальных требований изготовителей оборудования для осмотра и оценки их приборов. Фактическая документация ИОО должна превышать данные требования.
A.2 Требования к размерам и допуску
A.2.1 Общие сведения
Требуются схематический профиль и список инспекционных требований к размерам и допуску, которые могут повлиять на состояние, пригодность и функциональность компонента и субкомпонента.
A.2.2 Обозначение пути нагружения
Приборы, которые несут нагрузку колонн, инспектируются в соответствии с заводской инструкцией (документами по ремонту и техническому обслуживанию).
Для осмотра данных компонентов необходимы инспекционные требования к размерам и допуску.
A.2.3 Соединения
A.2.3.1 Общие сведения
Все API или запатентованные соединения должны быть снабжены требованиями к размерам, включая допуск для нового и бывшего в употреблении оборудования.
A.2.3.2 Сточенные API соединения
Все сточенные концы соединений должны соответствовать требованиям из последней редакции
[8].
Примечание - В целях данного положения API спецификация 7-1 эквивалентна
[8].
A.2.3.3 Внутренние или/и запатентованные соединения
Все внутренние и запатентованные соединения должны соответствовать размерным требованиям изготовителя для элементов бурильной колонны критической зоны.
A.2.4 Испытания под давлением и функциональная диагностика
При осуществимости испытания под давлением и функциональная диагностика должны быть включены для оценки возможности прибора нормально функционировать и/или способности выдерживать нагрузки.
A.3 Требования поставщика/продавца к специализированным приборам
Целью данного пункта является определение минимальных ожиданий продавца или поставщика оборудования для осмотра и оценки их приборов. Фактическая документация продавца/поставщика должна превышать требования настоящего стандарта.
Минимальная документация продавца/поставщика должна включать:
- у продавца/поставщика должна быть копия документации ИОО, указанной в
A.2, для рассмотрения во время оценочных и инспекционных процессов для каждого специализированного прибора или компонента;
- для арендуемых или заново используемых приборов продавец/поставщик должен отслеживать историю каждого компонента или субкомпонента в специализированном приборе, история должна быть доступна для инспекторов;
- продавец/поставщик должен снабдить пользователей инструкцией по эксплуатации;
- продавец/поставщик должен снабдить представителей компании-перевозчика верными инструкциями по перевозке и эксплуатации.
(справочное)
ОБЯЗАТЕЛЬНЫЕ И ДОПОЛНИТЕЛЬНЫЕ ПРОЦЕДУРЫ
КОНТРОЛЯ/ОСМОТРА ОБОРУДОВАНИЯ И КЛАССИФИКАЦИЯ УСЛУГ
Требуемые и дополнительные процедуры контроля по продукту и классификации услуг приведены в таблицах с
B.1 по
B.19.
Примечание - Из-за дополнительного оборудования, квалификации инспектора и времени, необходимого для проведения осмотра, средняя и обязательная инспекции, как правило, требуют дополнительных затрат по сравнению со стандартным осмотром.
Таблица B.1
Эксплуатационный осмотр тела, проводимый для бывших
в употреблении бурильных труб (ИБТ)
Осмотр | Процедура | Стандартный осмотр | Средний осмотр | Обязательный осмотр | Дополнительные услуги |
Визуальный по всей длине трубы | | X | X | X | - |
Измерение наружного диаметра | | X | X | X | - |
УЗВ-измерение стенок | | | | - | - |
Электромагнитная дефектоскопия по всей длине трубы | | | | - | - |
Ультразвуковой осмотр (поперечный и для толщины стен) по всей длине трубы | | | | - | - |
Обязательный ультразвуковой осмотр (поперечный, продольный и толщины стенок) по всей длине трубы | | - | - | X | - |
Магнитоскопия критических зон | | X | X | - | - |
Магнитоскопия критических зон, наружная, двусторонняя | | - | - | X | - |
Мониторинг стен по всей длине трубы | | - | X | X | - |
Ультразвуковое обследование критических зон <d> | | - | | - | - |
Вычисление минимальной межсекционных зон | | - | - | - | X |
Просмотр документации | | - | - | - | X |
Магнитная дефектоскопия критических зон, внутренняя | | - | - | - | X |
Магнитоскопия критических зон, внутренняя, двусторонняя | | - | - | - | X |
<a> Не требуется при проведении ультразвукового измерения стенок по всей длине трубы. <b> Для стен толщиной 12,7 мм (0,500 дюйма) и менее может использоваться либо ЭМИ. <c> Не требуется при проведении процедур 10.5 или 10.6. <d> По соглашению процедуры 10.61 или 10.62 можно заменить. |
Таблица B.2
Доступные эксплуатационные осмотры бывших в употреблении
замков бурильных труб
<a>
Осмотр | Процедура | Стандартный осмотр | Средний осмотр | Обязательный осмотр | Дополнительные услуги |
Визуальный осмотр конических фасок, уплотнений, резьбы, кода массы трубы на единицу длины маркировочных надписей и наружного диаметра | | X | X | X | - |
Осмотр армирования/наплавки твердым сплавом | | X | X | X | - |
Выявление деформации муфт и штифтов | | X | X | X | - |
Проверка наружных диаметров муфт и штифтов и проверка нецентрального износа | | X | X | - | - |
Измерение наружных диаметров муфт и штифтов и проверка нецентрального износа | | - | - | X | - |
Проверка штифтов и высоты установки ключа на муфте замка | | X | X | - | - |
Измерение штифтов и высоты установки ключа на муфте замка | | - | - | X | - |
Магнитоскопия наружной резьбы | | - | X | X | - |
Магнитоскопия внутренней резьбы | | - | - | X | - |
Измерение внутреннего диаметра штифта | | - | - | X | - |
Магнитоскопия для выявления тепловых трещин | | - | X | - | - |
Магнитоскопия для выявления тепловых трещин, двусторонняя, только влажная | | - | - | X | - |
Поперечная магнитоскопия наружного и внутреннего диаметров бурильных замков под наружной резьбой | | - | - | X | - |
Измерение глубины расточки, длины основания штифта, ширины уплотнения и проверка плоскости заплечика, проверка угла конического заплечика и области контакта с элеватором | | - | - | - | X |
<a> Использованные проприетарные соединения осматриваются согласно инспекционным инструкциям изготовителя. Общие указания для двухзаплечиковых соединений и соединений с профилем резьбы "ласточкин хвост" приводятся в приложении F. |
Таблица B.3
Доступные эксплуатационные осмотры соединений КНБК
Осмотр | Процедура | Стандартный осмотр | Средний осмотр | Обязательный осмотр | Дополнительные услуги |
Визуальный осмотр конических фасок, уплотнений, резьбы и разгрузочных приспособлений | | X | X | X | - |
Измерение внутреннего диаметра штифта, наружного диаметра муфты, диаметра расточки и расположения маркировки | | X | X | X | - |
Проверка диаметра упорного торца резьбы | | X | X | - | - |
Измерение диаметра конической фаски | | - | - | X | - |
Магнитоскопия наружной и внутренней резьбы | | | | | - |
Капиллярная дефектоскопия наружной и внутренней резьбы | | | | | - |
Размерное измерение разгрузочных приспособлений | | - | - | X | X |
Измерение глубины расточки, длины штифта | | - | - | - | X |
<a> Для немагнетических элементов бурильной колонны заменить "проникающую жидкость" (10.32) на "магнитные частицы". |
Таблица B.4
Доступная инспекция УБТ, кроме соединений
<a>
Осмотр | Процедура | Стандартный осмотр | Средний осмотр | Обязательный осмотр | Дополнительные услуги |
Визуальный осмотр полной длины, места установки ключа, длины ловильной головки и маркировочных надписей | | X | X | X | - |
Осмотр армирования/наплавки твердым сплавом | | X | X | X | - |
Магнитоскопия для выявления тепловых трещин, двусторонняя, только влажная | | - | - | | X |
Магнитоскопия канавки под элеватор и опорного буртика | | - | X | X | - |
Размерное измерение канавки под элеватор и опорного буртика | | - | X | X | - |
Просмотр документации (возможность контроля) | | - | - | X | X |
<a> Осмотр соединений, требуемый согласно таблице B.3, будет проведен в дополнение к КНБК-осмотру, указанному в данной таблице. <b> Для немагнетических элементов бурильной колонны заменить "проникающую жидкость" (10.32) на "магнитные частицы". |
Таблица B.5
Доступные инспекции переходников, кроме соединений
<a>
Осмотр | Процедура | Стандартный осмотр | Средний осмотр | Обязательный осмотр | Дополнительные услуги |
Визуальная инспекция полной длины, ловильной головки и радиуса перехода секций | | X | X | X | - |
Осмотр армирования/наплавки твердым сплавом | | X | X | X | - |
Магнитоскопия наружного диаметра для выявления тепловых трещин, двусторонняя, только влажная | | - | - | | - |
Размерный осмотр проточек под обратный клапан | | - | X | X | - |
Магнитоскопия по всей длине трубы внутренних и наружных диаметров переходников с секционными переходами | | - | - | | - |
Магнитоскопия по всей длине трубы наружных диаметров для поперечных | | - | - | - | X |
Магнитоскопия по всей длине трубы внутренних диаметров для поперечных | | - | - | - | X |
Просмотр документации (возможность контроля) | | - | - | X | X |
<a> Осмотр соединений, требуемый согласно таблице B.3, будет проведен в дополнение к КНБК-осмотру, указанному в данной таблице. <b> Для немагнетических элементов бурильной колонны заменить "проникающую жидкость" (10.32) на "магнитные частицы". |
Таблица B.6
Доступная инспекция ТБТ, кроме соединений
<a>
Осмотр | Процедура | Стандартный осмотр | Средний осмотр | Обязательный осмотр | Дополнительные услуги |
Визуальный осмотр полной длины наружного диаметра замка труб, центральной износной накладки и места установки ключа | | X | X | X | - |
Осмотр армирования/наплавки твердым сплавом | | X | X | X | - |
Магнитоскопия критической зоны | | X | X | X | - |
Магнитоскопия наружного диаметра замков для выявления тепловых трещин, двусторонняя, только влажная | | - | - | X | - |
Ультразвуковой тест критических зон | | - | - | X | - |
Просмотр документации (возможность контроля) | | - | - | X | X |
<a> Осмотр соединений, требуемый согласно таблице B.3, будет проведен в дополнение к КНБК-осмотру, указанному в данной таблице. |
Таблица B.7
Доступные инспекции привода/вершины ведущей
или рабочей трубы, кроме соединений
<a>
Осмотр | Процедура | Стандартный осмотр | Средний осмотр | Обязательный осмотр | Дополнительные услуги |
Визуальный осмотр полной длины и отчет по характеру износа и опциональная проверка прямоты | | X | X | X | - |
Магнитоскопия критических зон | | X | X | X | - |
Магнитоскопия полной длины приводной секции | | - | X | X | - |
Просмотр документации (возможность контроля) | | - | - | - | X |
<a> Осмотр соединений, требуемый согласно таблице B.3, будет проведен в дополнение к КНБК-осмотру, указанному в данной таблице. |
Таблица B.8
Доступные инспекции стабилизатора, кроме соединений
<a>
Осмотр | Процедура | Стандартный осмотр | Средний осмотр | Обязательный осмотр | Дополнительные услуги |
Визуальный осмотр полной длины, длины ловильной головки, кольцевого калибра и проверка износа лопастей | | X | X | X | - |
Магнитоскопия основания лопастей | | X | X | - | - |
Функциональная диагностика регулируемых лопастей, ИОО | | - | - | X | - |
Магнитоскопия основания лопастей, двусторонняя, влажная | | - | - | X | - |
Просмотр документации (возможность контроля) | | - | - | X | - |
<a> Осмотр соединений, требуемый согласно таблице B.3, будет проведен в дополнение к КНБК-осмотру, указанному в данной таблице. |
Таблица B.9
Доступная инспекция ударных ясов (бурильных и ловильных),
Осмотр | Процедура | Стандартный осмотр | Средний осмотр | Обязательный осмотр | Дополнительные услуги |
Визуальный осмотр полной длины | | X | X | X | - |
Осмотр с целью техобслуживания согласно требованиям ИОО | | - | X | X | - |
Функциональная диагностика согласно требованиям ИОО | | - | X | X | - |
Измерения зон износа согласно требованиям ИОО | | - | X | X | - |
Все назначенные ИОО тесты для оборудования, бывшего в употреблении | | - | - | X | - |
Просмотр документации (возможность контроля) | | - | - | X | X |
<a> Осмотр соединений, требуемый согласно таблице B.3, будет проведен в дополнение к КНБК-осмотру, указанному в данной таблице. |
Таблица B.10
Доступная инспекция каротажных приборов,
Осмотр | Процедура | Стандартный осмотр | Средний осмотр | Обязательный осмотр | Дополнительные услуги |
Визуальный осмотр полной длины | | X | X | X | - |
Осмотр с целью техобслуживания согласно требованиям ИОО | | - | X | X | - |
Функциональная диагностика согласно требованиям ИОО | | - | - | X | - |
Измерения зон износа согласно требованиям ИОО | | - | X | X | - |
Все назначенные ИОО тесты для оборудования, бывшего в употреблении | | - | - | X | - |
Просмотр документации (возможность контроля) | | - | - | X | X |
<a> Осмотр соединений, требуемый согласно таблице B.3, будет проведен в дополнение к КНБК-осмотру, указанному в данной таблице. |
Таблица B.11
Доступный осмотр двигателя и турбины, кроме соединений
<a>
Осмотр | Процедура | Стандартный осмотр | Средний осмотр | Обязательный осмотр | Дополнительные услуги |
Визуальный осмотр полной длины | | X | X | X | - |
Осмотр с целью техобслуживания согласно требованиям ИОО | | - | X | X | - |
Функциональная диагностика согласно требованиям ИОО | | - | - | X | - |
Измерения зон износа согласно требованиям ИОО | | - | X | X | - |
Все назначенные ИОО тесты для оборудования, бывшего в употреблении | | - | - | X | - |
Просмотр документации (возможность контроля) | | - | - | X | X |
<a> Осмотр соединений согласно таблице B.3 будет проведен в дополнение к КНБК-осмотру, указанному в данной таблице. |
Таблица B.12
Доступный осмотр расширительных коронок, скребков,
расширителей ствола скважины, кроме соединений
<a>
Осмотр | Процедура | Стандартный осмотр | Средний осмотр | Обязательный осмотр | Дополнительные услуги |
Визуальный осмотр полной длины | | X | X | X | - |
Осмотр с целью техобслуживания согласно требованиям ИОО | | - | X | X | - |
Функциональная диагностика согласно требованиям ИОО | | - | - | X | - |
Измерения зон износа согласно требованиям ИОО | | - | X | X | - |
Все назначенные ИОО тесты для оборудования, бывшего в употреблении | | - | - | X | - |
Просмотр документации (возможность контроля) | | - | - | X | X |
<a> Контроль/осмотр соединений согласно таблице B.3 будет проведен в дополнение к КНБК-инспектированию, указанному в данной таблице. |
Таблица B.13
Доступное инспектирование управляемого станка
роторного бурения, кроме соединений
<a>
Осмотр | Процедура | Стандартный осмотр | Средний осмотр | Обязательный осмотр | Дополнительные услуги |
Визуальный осмотр полной длины, длины ловильной головки, маркировочных надписей и проверка износа лопастей | | X | X | X | - |
Осмотр с целью техобслуживания согласно требованиям ИОО | | - | X | X | - |
Функциональная диагностика согласно требованиям ИОО | | - | - | X | - |
Измерения зон износа согласно требованиям ИОО | | - | X | X | - |
Все назначенные ИОО тесты для оборудования, бывшего в употреблении | | - | - | X | - |
Просмотр документации (возможность контроля) | | - | - | X | X |
<a> Инспектирование соединений, требуемое согласно таблице B.3, будет проведено в дополнение к КНБК-инспектированию, указанному в данной таблице. |
Таблица B.14
Доступное инспектирование проприетарного оборудования,
Проверка специализированного прибора | Процедура | Стандартный осмотр | Средний осмотр | Обязательный осмотр | Дополнительные услуги |
Визуальный осмотр полной длины, длины ловильной головки, маркировочных надписей и проверка износа лопастей | | X | X | X | - |
Магнитоскопия основания лопастей | | X | - | - | - |
Двусторонняя магнитоскопия лопастей и лопастных зон влажным методом | | - | X | X | - |
Магнитоскопия полной длины | | - | - | X | X |
Магнитоскопия полной длины, двусторонняя | | - | - | X | X |
Измерение стен ультразвуком согласно требованиям ИОО | | X | X | X | - |
Шаблонирование по всей длине трубы согласно требованиям ИОО | | X | X | X | - |
Инспектирование армирования/наплавки твердым сплавом | | X | X | X | - |
Осмотр с целью техобслуживания согласно требованиям ИОО | | - | X | X | - |
Функциональная диагностика согласно требованиям ИОО | | X | X | X | - |
Измерения зон износа согласно требованиям ИОО | | - | X | X | - |
Все назначенные ИОО тесты для оборудования, бывшего в употреблении | | - | - | X | - |
Просмотр документации (возможность контроля) | | - | X | X | X |
<a> Инспектирование соединений, требуемое согласно таблице B.3, будет проведено в дополнение к КНБК-инспектированию, указанному в данной таблице. |
Таблица B.15
Колонна бурильных труб, бывших в употреблении
<a>
Проверка специализированного прибора | Процедура | Стандартный осмотр | Средний осмотр | Обязательный осмотр | Дополнительные услуги |
Визуальный осмотр полной длины | | X | X | X | - |
Измерение наружного диаметра | | X | X | X | - |
УЗВ-измерение стен | | | X | | - |
Электромагнитная инспекция (ЭМИ) по всей длине трубы | | X | X | - | - |
УЗВ-осмотр (поперечный и толщины стен) по всей длине трубы | | | | - | - |
Обязательный УЗВ-осмотр (поперечный, продольный и толщины стен) по всей длине трубы | | - | - | X | - |
Магнитоскопия критических зон | | - | X | X | - |
Мониторинг стен по всей длине трубы | | - | - | - | X |
Шаблонирование по всей длине трубы | | X | X | X | - |
Осмотр ВНК-соединений | | X | X | X | - |
УЗВ-осмотр критических зон | | - | - | - | X |
<a> Использованная, проприетарная колонна бурильных труб инспектируется в соответствии с инспекционными требованиями изготовителя, общие положения приводятся в приложении G. <b> Не требуется при проведении полного УЗВ-измерения стен. |
Таблица B.16
Система обозначений основания штифта
Обозначение | Пример значения |
1 Символ изготовителя бурильного замка | ZZ означает Компанию ZZ (пример) |
2 Месяц спайки | 3 означает Март |
3 Год спайки | 02 означает 2002 |
4 Символ изготовителя трубы | N означает United States Steel Company |
5 Символ класса бурильной трубы | |
6 Код массы трубы на единицу длины | |
<a> Используются следующие символы для бурильных труб: |
| Символ | Класс | Символ | Класс | |
E | E75 | S | S135 |
X | X95 | Z | Z-140 |
G | G105 | V | V-150 |
|
Таблица B.17
Символы изготовителя трубы и перерабатывающих предприятий
Изготовители труб (трубопрокатные заводы или перерабатывающие заводы) |
Активные | Символ | Неактивные | Символ |
Трубопрокатный завод | | Трубопрокатный завод | |
Algoma | X | Armco | A |
British Steel | - | American Seamless | AI |
Seamless Tubes LTD | B | B&W | W |
Dalmine | D | CF&I | C |
Kawasaki | H | J&L | J |
Nippon | I | Lone Star | L |
NKK | K | Mannesmann | M |
Reynolds Aluminium | RA | Ohio | 0 |
Sumidomo | S | Republic | R |
Siderca | SD | TI | Z |
Tamsa | T | Tubemuse | TU |
US Steel | N | Vallourec | V |
Vallourec & Mannesmann | VM | Voest | VA |
Used | U | Wheeling Pittsburgh | P |
| | Youngsdown | Y |
Перерабатывающие заводы | | Перерабатывающие заводы | |
Grant Prideco | GP | Grant TFW | TFW |
Omsco | OMS | Prideco | PI |
Texas Steel Conversion | TSC | | |
Примечание - В Российской Федерации обозначения изготовителей бурильных труб идентифицируются товарными знаками изготовителя (например, ОАО "СинТЗ", ОАО "ТАГМЕТ", ОАО "ОМЗ"). |
Таблица B.18
Классификация бурильных труб, бывших в употреблении
Классификация условий | Высший класс: две белые полосы | Класс 2: одна желтая полоса | Класс 3: одна оранжевая полоса |
Внешнее состояние |
Износ наружного диаметра | Остаточные стенки не менее 80% | Остаточные стенки не менее 70% | Остаточные стенки не менее 70% |
Зазубрины и раздробленности | Наружный диаметр не менее 97% | Наружный диаметр не менее 96% | Наружный диаметр не менее 96% |
Дробление и сужение поперечного сечения | Наружный диаметр не менее 97% | Наружный диаметр не менее 96% | Наружный диаметр не менее 96% |
Зажимаемый роторными клиньями участок трубы: зарезы и вмятины | Глубина не более 10% от средней прилегающей стенки <a>, остаточная стенка не менее 80% | Глубина не более 20% от средней прилегающей стенки <a>, остаточная стенка не менее 80% для поперечной (70% для продольной) | Глубина не более 20% от средней прилегающей стенки <a> или остаточная стенка не менее 80% для поперечной (70% для продольной) |
Растяжение | Наружный диаметр не менее 97% | Наружный диаметр не менее 96% | Наружный диаметр не менее 96% |
Ленточная торпеда | Наружный диаметр не более 103% | Наружный диаметр не более 104% | Наружный диаметр не более 104% |
Внешняя коррозия | Остаточные стенки не менее 80% | Остаточные стенки не менее 70% | Остаточные стенки не менее 70% |
Продольные зарезы и вмятины | Остаточные стенки не менее 80% | Остаточные стенки не менее 70% | Остаточные стенки не менее 70% |
Поперечные зарезы и вмятины | Остаточные стенки не менее 80% | Остаточные стенки не менее 80% | Остаточные стенки не менее 80% |
Трещины | | | |
Внутреннее состояние |
Образование коррозии | Остаточные стенки не менее 80% | Остаточные стенки не менее 70% | Остаточные стенки не менее 70% |
Эрозия и износ внутренних стенок | Остаточные стенки не менее 80% | Остаточные стенки не менее 70% | Остаточные стенки не менее 70% |
Трещины | | | |
<a> Средняя прилегающая стенка определяется измерением толщины стенок на обеих сторонах от зареза или вмятины, прилегающей к самому глубокому углублению. <b> В любой классификации при обнаружении трещин и вымываний трубу помечают красной полосой и считают более непригодной к дальнейшему эксплуатированию. |
Таблица B.19
Классификация колонн бурильных труб, бывших в употреблении
Классификационные условия | Класс критической зоны: одна белая полоса | Высший класс: две белые полосы | Класс 2: одна желтая полоса | Класс 3: одна оранжевая полоса |
Внешнее состояние |
Износ наружного диаметра | Остаточные стенки не менее 87,5% | Остаточные стенки не менее 80% | Остаточные стенки не менее 70% | Остаточные стенки не менее 70% |
Зазубрины и раздробленности | Наружный диаметр не менее 98% | Наружный диаметр не менее 97% | Наружный диаметр не менее 96% | Наружный диаметр не менее 96% |
Дробление и сужение поперечного сечения | Наружный диаметр не менее 98% | Наружный диаметр не менее 97% | Наружный диаметр не менее 96% | Наружный диаметр не менее 96% |
Зажимаемый роторными клиньями участок трубы: зарезы и вмятины | Глубина не более 10% от средней прилегающей стенки <a>, остаточная стенка не менее 87,5% | Глубина не более 10% от средней прилегающей стенки <a>, остаточная стенка не менее 80% | Глубина не более 20% от средней прилегающей стенки <a>, остаточная стенка не менее 80% для поперечной (70% для продольной) | Глубина не более 20% от средней прилегающей стенки <a> или остаточная стенка не менее 80% для поперечной (70% для продольной) |
Растяжение | Наружный диаметр не менее 98% | Наружный диаметр не менее 97% | Наружный диаметр не менее 96% | Наружный диаметр не менее 96% |
Ленточная торпеда | Наружный диаметр не более 102% | Наружный диаметр не более 103% | Наружный диаметр не более 104% | Наружный диаметр не более 104% |
Внешняя коррозия | Остаточные стенки не менее 87,5% | Остаточные стенки не менее 80% | Остаточные стенки не менее 70% | Остаточные стенки не менее 70% |
Продольные зарезы и вмятины | Остаточные стенки не менее 87,5% | Остаточные стенки не менее 80% | Остаточные стенки не менее 70% | Остаточные стенки не менее 70% |
Поперечные зарезы и вмятины | Остаточные стенки не менее 87,5% | Остаточные стенки не менее 80% | Остаточные стенки не менее 80% | Остаточные стенки не менее 80% |
Трещины | | | | |
Внутреннее состояние |
Образование коррозии | Остаточные стенки не менее 87,5% | Остаточные стенки не менее 80% | Остаточные стенки не менее 70% | Остаточные стенки не менее 70% |
Эрозия и износ внутренних стенок | Остаточные стенки не менее 87,5% | Остаточные стенки не менее 80% | Остаточные стенки не менее 70% | Остаточные стенки не менее 70% |
Шаблон. Наружные высаженные концы труб. Внутренние высаженные концы труб <c> | Не менее чем на 0,78 мм (0,031 дюйма) меньше, чем указанный внутренний диаметр бура | Не менее чем на 0,78 мм (0,031 дюйма) меньше, чем указанный внутренний диаметр бура | Не менее чем на 0,78 мм (0,031 дюйма) меньше, чем указанный внутренний диаметр бура | Менее чем на 0,78 мм (0,031 дюйма) меньше, чем указанный внутренний диаметр бура |
Трещины | | | | |
<a> Средняя прилегающая стенка определяется измерением толщины стенок на обеих сторонах от зареза или вмятины, прилегающей к самому глубокому углублению. <b> В любой классификации при обнаружении трещин и вымываний трубу помечают красной полосой и считают более непригодной к дальнейшему эксплуатированию. <c> Применимо к внутренним высаженным конца труб, которые были пробурены. |
(обязательное)
ЕДИНИЦЫ МЕЖДУНАРОДНОЙ СИСТЕМЫ ИЗМЕРЕНИЙ
Таблица C.1
Продольная намагничивающая сила для осмотра
внутреннего диаметра
| Наружный диаметр, мм | Ампер-витки | Минимальная магнитная индукции в воздухе в центре змеевика |
Катушка с внутренним диаметром в 203 мм | Катушка с внутренним диаметром в 254 мм |
2 3/8 | 60,32 | 6400 | 7400 | 270 |
2 7/8 | 73,02 | 6700 | 7800 | 285 |
3 1/2 | 88,90 | 7200 | 8300 | 305 |
4 | 101,60 | 7600 | 8700 | 320 |
4 1/2 | 114,30 | 7900 | 9100 | 335 |
5 | 127,00 | 8200 | 9600 | 350 |
5 1/2 | 139,70 | 8600 | 10 000 | 365 |
6 5/8 | 168,28 | - | 10 900 | 400 |
<a> Маркировка приведена для информации и помощи при упорядочивании. |
Таблица C.2
Минимальный ток намагничивания при помощи
внутреннего проводника
Частота импульсов | Тип блока электропитания | Разряд компенсатора <a>, ампер на кг/м |
Батарея, ампер на 25,4 мм | Трехфазовый выпрямленный переменный ток, ампер на 25,4 мм |
Один | 300 | 300 | 161 |
Два | Нет данных | Нет данных | 121 |
Три | Нет данных | Нет данных | 98 |
<a> Для определения требуемой силы тока умножьте значение колонки на линейную массу трубы, выраженную в килограммах на метр. |
Таблица C.3
Скомпенсированные длины резьбы и размер точки контакта
для измерения шага витка резьбы, параллельного
конической насадке
Резьба на 25,4 мм | Шаг резьбы | Скос, мм/мм | Размер точки контакта для измерения шага витка резьбы +/- 0,05 мм | Длина резьбы (параллельная резьбовой оси) <a>, мм | Скомпенсированная длина (параллельная конической насадке) <a>, мм |
5 | 5,080 | 1/6 | 2,92 | 25,4 | 25,488 0 |
5 | 5,080 | 1/4 | 2,92 | 25,4 | 25,597 7 |
4 | 6,350 | 1/8 | 3,67 | 25,4 | 25,449 6 |
4 | 6,350 | 1/6 | 3,67 | 25,4 | 25,488 0 |
4 | 6,350 | 1/4 | 3,67 | 25,4 | 25,597 7 |
3,5 | 7,257 | 1/6 | 5,13 | 50,8 | 50,976 1 |
3,5 | 7,257 | 1/4 | 5,13 | 50,8 | 51,195 3 |
3 | 8,467 | 5/48 | 5,99 | 25,4 | 25,434 4 |
<a> Длина резьбы параллельна длине резьбы. Скомпенсированная длина резьбы, параллельная конической насадке, используется для измерений. |
Таблица C.4
Размерные величины для классификации бурильных труб
| | Код массы трубы на единицу длины <b> | Наружный диаметр, мм | Номинальная линейная масса, кг/м | Номинальная толщина стенки, мм | Остаточная стенка в процентном соотношении, мм | Увеличение наружного диаметра в процентном соотношении, мм | Уменьшение наружного диаметра в процентном соотношении, мм | Увеличение наружного диаметра в процентном соотношении, мм |
80% | 70% | 4% | 3% | 3% | 4% |
2 3/8 | 4,85 | 1 | 60,32 | 7,22 | 4,83 | 3,86 | 3,38 | 62,74 | 62,13 | 58,52 | 57,91 |
2 3/8 | 6,65 | 2 | 60,32 | 9,90 | 7,11 | 5,69 | 4,98 | 62,74 | 62,13 | 58,52 | 57,91 |
2 7/8 | 6,85 | 1 | 73,02 | 10,19 | 5,51 | 4,42 | 3,86 | 75,95 | 75,21 | 70,84 | 70,10 |
2 7/8 | 10,40 | 2 | 73,02 | 15,48 | 9,19 | 7,37 | 6,43 | 75,95 | 75,21 | 70,84 | 70,10 |
3 1/2 | 9,50 | 1 | 88,90 | 14,14 | 6,45 | 5,16 | 4,52 | 92,46 | 91,57 | 86,23 | 85,34 |
3 1/2 | 13,30 | 2 | 88,90 | 19,79 | 9,35 | 7,47 | 6,55 | 92,46 | 91,57 | 86,23 | 85,34 |
3 1/2 | 15,50 | 3 | 88,90 | 23,07 | 11,40 | 9,12 | 7,98 | 92,46 | 91,57 | 86,23 | 85,34 |
4 | 11,85 | 1 | 101,60 | 17,63 | 6,65 | 5,33 | 4,65 | 105,66 | 104,65 | 98,55 | 97,54 |
4 | 14,00 | 2 | 101,60 | 20,83 | 8,38 | 6,71 | 5,87 | 105,66 | 104,65 | 98,55 | 97,54 |
4 | 15,70 | 3 | 101,60 | 23,36 | 9,65 | 7,72 | 6,76 | 105,66 | 104,65 | 98,55 | 97,54 |
4 1/2 | 13,75 | 1 | 114,30 | 20,46 | 6,88 | 5,51 | 4,83 | 118,87 | 117,73 | 110,87 | 109,73 |
4 1/2 | 16,60 | 2 | 114,30 | 24,70 | 8,56 | 6,86 | 5,99 | 118,87 | 117,73 | 110,87 | 109,73 |
4 1/2 | 20,00 | 3 | 114,30 | 29,76 | 10,92 | 8,74 | 7,65 | 118,87 | 117,73 | 110,87 | 109,73 |
4 1/2 | 22,82 | 4 | 114,30 | 33,96 | 12,70 | 10,16 | 8,89 | 118,87 | 117,73 | 110,87 | 109,73 |
4 1/2 | 24,66 | 5 | 114,30 | 36,70 | 13,97 | 11,18 | 9,78 | 118,87 | 117,73 | 110,87 | 109,73 |
4 1/2 | 25,50 | 6 | 114,30 | 37,95 | 14,61 | 11,68 | 10,21 | 118,87 | 117,73 | 110,87 | 109,73 |
5 | 16,25 | 1 | 127,00 | 24,18 | 7,52 | 6,02 | 5,26 | 132,08 | 130,81 | 123,19 | 121,92 |
5 | 19,50 | 2 | 127,00 | 29,02 | 9,19 | 7,37 | 6,43 | 132,08 | 130,81 | 123,19 | 121,92 |
5 | 25,60 | 3 | 127,00 | 38,10 | 12,70 | 10,16 | 8,89 | 132,08 | 130,81 | 123,19 | 121,92 |
5 1/2 | 19,20 | 1 | 139,70 | 28,57 | 7,72 | 6,17 | 5,41 | 145,29 | 143,89 | 135,51 | 134,11 |
5 1/2 | 21,90 | 2 | 139,70 | 32,59 | 9,17 | 7,34 | 6,43 | 145,29 | 143,89 | 135,51 | 134,11 |
5 1/2 | 24,70 | 3 | 139,70 | 36,76 | 10,54 | 8,43 | 7,37 | 145,29 | 143,89 | 135,51 | 134,11 |
6 5/8 | 25,20 | 2 | 168,28 | 37,50 | 8,38 | 6,71 | 5,87 | 175,01 | 173,33 | 163,22 | 161,54 |
6 5/8 | 27,70 | 3 | 168,28 | 41,22 | 9,19 | 7,37 | 6,43 | 175,01 | 173,33 | 163,22 | 161,54 |
<a> Индексы приведены для информации и помощи при упорядочивании. <b> Код массы трубы на единицу длины 2 определяет стандартную массу для данного размера трубы. |
Таблица C.5
Размерные величины для классификации спусковых колонн
| | Наружный диаметр, мм | Номинальная линейная масса, кг/м | Номинальная стена, мм | Остаточная стенка в процентном соотношении, мм | Увеличение наружного диаметра в процентном соотношении, мм | Уменьшение наружного диаметра в процентном соотношении, мм |
87,5% | 80% | 70% | 4% | 3% | 2% | 2% | 3% | 4% |
1,050 | 1,20 | 26,67 | 1,79 | 2,87 | 2,51 | 2,30 | 2,01 | 27,74 | 27,47 | 27,20 | 26,14 | 25,87 | 25,60 |
1,050 | 1,50 | 26,67 | 2,23 | 3,91 | 3,42 | 3,13 | 2,74 | 27,74 | 27,47 | 27,20 | 26,14 | 25,87 | 25,60 |
1,315 | 1,80 | 33,40 | 2,68 | 3,38 | 2,96 | 2,70 | 2,37 | 37,74 | 34,40 | 34,07 | 32,73 | 32,39 | 32,06 |
1,315 | 2,25 | 33,40 | 3,35 | 4,55 | 3,98 | 3,64 | 3,18 | 37,74 | 34,40 | 34,07 | 32,73 | 32,39 | 32,06 |
1,660 | 2,40 | 42,16 | 3,57 | 3,56 | 3,12 | 2,85 | 2,49 | 43,85 | 43,43 | 43,00 | 41,32 | 40,90 | 40,47 |
1,660 | 3,02 | 42,16 | 4,49 | 4,85 | 4,24 | 3,88 | 3,40 | 43,85 | 43,43 | 43,00 | 41,32 | 40,90 | 40,47 |
1,660 | 3,24 | 42,16 | 4,82 | 5,03 | 4,40 | 4,02 | 3,52 | 43,85 | 43,43 | 43,00 | 41,32 | 40,90 | 40,47 |
1,900 | 2,90 | 48,26 | 4,32 | 3,68 | 3,22 | 2,94 | 2,58 | 50,19 | 49,71 | 49,23 | 47,29 | 46,81 | 46,33 |
1,900 | 3,64 | 48,26 | 5,42 | 5,08 | 4,44 | 4,06 | 3,56 | 50,19 | 49,71 | 49,23 | 47,29 | 46,81 | 46,33 |
1,900 | 4,19 | 48,26 | 6,24 | 5,56 | 4,86 | 4,45 | 3,89 | 50,19 | 49,71 | 49,23 | 47,29 | 46,81 | 46,33 |
2,063 | 3,25 | 52,40 | 4,84 | 3,96 | 3,46 | 3,17 | 2,77 | 54,47 | 53,97 | 53,49 | 51,35 | 50,83 | 50,30 |
2,063 | 4,50 | 52,40 | 6,70 | 5,72 | 5,00 | 4,58 | 4,00 | 54,47 | 53,97 | 53,49 | 51,35 | 50,83 | 50,30 |
2 3/8 | 4,70 | 60,32 | 6,99 | 4,83 | 4,23 | 3,86 | 3,38 | 62,73 | 62,13 | 61,63 | 59,11 | 58,51 | 57,91 |
2 3/8 | 5,30 | 60,32 | 7,89 | 5,54 | 4,85 | 4,43 | 3,88 | 62,73 | 62,13 | 61,63 | 59,11 | 58,51 | 57,91 |
2 3/8 | 5,95 | 60,32 | 8,86 | 6,45 | 5,64 | 5,16 | 4,52 | 75,49 | 75,21 | 74,48 | 71,56 | 70,83 | 70,01 |
2 3/8 | 7,70 | 60,32 | 11,46 | 8,53 | 7,46 | 6,82 | 5,97 | 75,49 | 75,21 | 74,48 | 71,56 | 70,83 | 70,01 |
2 7/8 | 6,50 | 73,02 | 9,67 | 5,51 | 4,82 | 4,41 | 3,86 | 75,49 | 75,21 | 74,48 | 71,56 | 70,83 | 70,01 |
2 7/8 | 7,90 | 73,02 | 11,76 | 7,01 | 6,13 | 5,61 | 4,91 | 75,94 | 75,21 | 74,48 | 71,56 | 70,83 | 70,01 |
2 7/8 | 8,70 | 73,02 | 12,95 | 7,82 | 6,84 | 6,26 | 5,47 | 75,94 | 75,21 | 74,48 | 71,56 | 70,83 | 70,01 |
2 7/8 | 9,50 | 73,02 | 14,14 | 8,64 | 7,56 | 6,91 | 6,05 | 75,49 | 75,21 | 74,48 | 71,56 | 70,83 | 70,01 |
2 7/8 | 10,70 | 73,02 | 15,92 | 9,96 | 8,71 | 7,97 | 6,97 | 75,49 | 75,21 | 74,48 | 71,56 | 70,83 | 70,01 |
2 7/8 | 11,00 | 73,02 | 16,37 | 10,29 | 9,00 | 8,23 | 7,20 | 75,49 | 75,21 | 74,48 | 71,56 | 70,83 | 70,01 |
3 1/2 | 9,30 | 88,90 | 13,84 | 6,45 | 5,64 | 5,16 | 4,52 | 92,46 | 91,57 | 90,68 | 87,12 | 86,23 | 85,34 |
3 1/2 | 12,80 | 88,90 | 19,05 | 9,35 | 8,18 | 7,47 | 6,54 | 92,46 | 91,57 | 90,68 | 87,12 | 86,23 | 85,34 |
3 1/2 | 12,95 | 88,90 | 19,27 | 9,52 | 8,33 | 7,62 | 6,66 | 92,46 | 91,57 | 90,68 | 87,12 | 86,23 | 85,34 |
3 1/2 | 15,80 | 88,90 | 23,51 | 12,09 | 10,58 | 9,67 | 8,46 | 92,46 | 91,57 | 90,68 | 87,12 | 86,23 | 85,34 |
3 1/2 | 16,70 | 88,90 | 24,85 | 12,95 | 11,33 | 10,36 | 9,06 | 92,46 | 91,57 | 90,68 | 87,12 | 86,23 | 85,34 |
4 1/2 | 15,50 | 114,30 | 23,07 | 8,56 | 7,49 | 6,86 | 5,99 | 118,87 | 117,73 | 112,00 | 116,59 | 110,87 | 109,73 |
4 1/2 | 19,20 | 114,30 | 29,76 | 10,92 | 9,56 | 8,74 | 7,64 | 118,87 | 117,73 | 112,00 | 116,59 | 110,87 | 109,73 |
<a> Индексы приведены для информации и помощи при упорядочивании. |
Таблица C.6
Критерии бурильного замка, бывшего в употреблении
Характеристики трубы | Премиум-класс | Второй класс |
| | Наружный диаметр новой трубы, мм | Номинальная линейная масса, кг/м | Вид труб | Маркировка соединения бурильного замка <a> | Минимальный наружный диаметр бурильного замка Dtj, мм | Максимальный внутренний диаметр бурильного замка dtj, мм | Внецентровой износ минимальной ширины буртика замковой муфты Sw, мм | Минимальный наружный диаметр бурильного замка Dtj, мм | Максимальный внутренний диаметр бурильного замка dtj, мм | Внецентровой износ минимальной ширины буртика замковой муфты Sw, мм |
2 3/8 | 4,85 | 60,33 | 7,22 | E75 | NC26 | 79,38 | 50,01 | 1,19 | 78,58 | 52,39 | 0,79 |
WO | 77,79 | 53,98 | 1,59 | 76,99 | 54,77 | 1,19 |
2 3/8 OHLW | 76,20 | 53,18 | 1,59 | 75,41 | 54,77 | 1,19 |
2 3/8 SL-H90 | 75,41 | 55,56 | 1,59 | 74,61 | 56,36 | 1,19 |
2 3/8 | 6,65 | 60,33 | 9,90 | E75 | 2 3/8 PAC | 70,64 | 34,93 | 3,57 | 69,06 | 40,48 | 2,78 |
NC26 | 80,96 | 53,18 | 1,98 | 80,17 | 54,77 | 1,59 |
2 3/8 SL-H90 | 76,99 | 53,18 | 2,38 | 75,41 | 54,77 | 1,59 |
2 3/8 OHSW | 77,79 | 52,39 | 2,38 | 76,99 | 53,98 | 1,98 |
X95 | NC26 | 82,55 | 50,80 | 2,78 | 81,76 | 53,18 | 2,38 |
G105 | NC26 | 83,34 | 49,21 | 3,18 | 82,55 | 51,59 | 2,78 |
2 7/8 | 6,85 | 73,03 | 10,19 | E75 | NC31 | 93,66 | 64,29 | 1,98 | 92,87 | 68,26 | 1,59 |
2 7/8 WO | 92,08 | 65,88 | 1,98 | 91,28 | 67,47 | 1,59 |
2 7/8 OHLW | 88,90 | 61,91 | 2,78 | 87,31 | 63,50 | 1,98 |
2 7/8 SL-H90 | 88,90 | 65,88 | 2,38 | 87,31 | 66,68 | 1,59 |
2 7/8 | 10,40 | 73,03 | 15,48 | E75 | NC31 | 96,84 | 63,50 | 3,57 | 95,25 | 65,88 | 2,78 |
2 7/8 XH | 94,46 | 61,12 | 3,57 | 92,87 | 63,50 | 2,78 |
NC26 | 85,73 | 43,66 | 4,37 | 84,93 | 46,83 | 3,97 |
2 7/8 OHSW | 91,28 | 57,94 | 3,97 | 90,49 | 60,33 | 2,78 |
2 7/8 SL-H90 | 91,28 | 62,71 | 3,57 | 89,69 | 64,29 | 2,78 |
2 7/8 PAC | 79,38 | 30,96 | 5,95 | 79,38 | 35,72 | 5,95 |
NC31 | 99,22 | 58,74 | 4,76 | 97,63 | 61,91 | 3,97 |
X95 | 2 7/8 SL-H90 | 93,66 | 58,74 | 4,76 | 92,08 | 61,12 | 3,97 |
G105 | NC31 | 100,01 | 57,15 | 5,16 | 98,43 | 60,33 | 4,37 |
S135 | NC31 | 103,19 | 51,59 | 6,75 | 101,60 | 71,44 | 5,95 |
3 1/2 | 9,50 | 8,90 | 14,14 | E75 | NC38 | 111,92 | 80,96 | 3,18 | 110,33 | 57,15 | 2,38 |
3 1/2 OHLW | 108,74 | 78,58 | 3,18 | 107,95 | 80,17 | 2,78 |
3 1/2 SL-H90 | 106,36 | 80,17 | 2,78 | 105,57 | 80,96 | 2,38 |
3 1/2 | 13,30 | 88,90 | 19,79 | E75 | NC38 | 114,30 | 77,79 | 4,37 | 112,71 | 79,38 | 3,57 |
NC31 | 101,60 | 53,98 | 5,95 | 100,01 | 57,94 | 5,16 |
3 1/2 OHSW | 111,92 | 74,61 | 4,76 | 110,33 | 77,79 | 3,97 |
3 1/2 H90 | 115,09 | 84,14 | 3,18 | 114,30 | 85,73 | 2,78 |
X95 | NC38 | 116,68 | 73,03 | 5,56 | 115,09 | 76,20 | 4,76 |
3 1/2 SL-H90 | 111,13 | 73,03 | 5,16 | 109,54 | 75,41 | 4,37 |
3 1/2 H90 | 117,48 | 80,17 | 4,37 | 115,89 | 82,55 | 3,57 |
G105 | NC38 | 118,27 | 70,64 | 6,35 | 116,68 | 73,03 | 5,56 |
S135 | NC40 | 127,00 | 73,82 | 7,14 | 124,62 | 77,79 | 5,95 |
NC38 | 122,24 | 64,29 | 8,33 | 119,86 | 73,82 | 7,14 |
3 1/2 | 15,50 | 88,90 | 23,07 | E75 | NC38 | 115,09 | 75,41 | 4,76 | 113,51 | 78,58 | 3,97 |
X95 | NC38 | 118,27 | 70,64 | 6,35 | 116,68 | 73,82 | 5,56 |
G105 | NC38 | 119,86 | 67,47 | 7,14 | 117,48 | 71,44 | 5,95 |
S135 | NC38 | 124,62 | 59,53 | 7,14 | 121,44 | 65,88 | 7,94 |
G105 | NC40 | 125,41 | 77,79 | 6,35 | 123,03 | 80,96 | 5,16 |
S135 | NC40 | 129,38 | 71,44 | 8,33 | 126,21 | 75,41 | 6,75 |
E75 | NC46 | 132,56 | 102,39 | 2,78 | 130,97 | 103,98 | 1,98 |
4 WO | 132,56 | 102,39 | 2,78 | 130,97 | 103,98 | 1,98 |
E75 | 4 OHLW | 127,00 | 96,04 | 3,57 | 125,41 | 97,63 | 2,78 |
4H90 | 123,83 | 94,46 | 2,78 | 123,03 | 96,04 | 2,38 |
4 | 14,00 | 101,60 | 20,83 | E75 | NC40 | 122,24 | 82,55 | 4,76 | 120,65 | 84,93 | 3,97 |
NC46 | 134,14 | 100,01 | 3,57 | 132,56 | 102,39 | 2,78 |
4 SH | 112,71 | 65,88 | 5,95 | 111,13 | 69,06 | 5,16 |
4 OHSW | 128,59 | 93,66 | 4,37 | 127,00 | 96,04 | 3,57 |
4H90 | 125,41 | 92,87 | 3,57 | 123,83 | 94,46 | 2,78 |
X95 | NC40 | 125,41 | 77,79 | 6,35 | 123,03 | 80,96 | 5,16 |
NC46 | 136,53 | 96,84 | 4,76 | 134,94 | 100,01 | 3,97 |
4H90 | 127,79 | 88,90 | 4,76 | 126,21 | 91,28 | 3,97 |
G105 | NC40 | 127,00 | 74,61 | 7,14 | 124,62 | 78,58 | 5,95 |
NC46 | 138,11 | 95,25 | 5,56 | 135,73 | 97,63 | 4,37 |
4 | 15,70 | 101,60 | 23,36 | 4H90 | 129,38 | 87,31 | 5,56 | 127,79 | 88,11 | 4,76 |
S135 | NC46 | 141,29 | 88,90 | 7,14 | 139,70 | 92,87 | 6,35 |
E75 | NC40 | 123,83 | 79,38 | 5,56 | 121,44 | 83,34 | 4,37 |
NC46 | 134,94 | 99,22 | 3,97 | 133,35 | 100,81 | 3,18 |
4H90 | 126,21 | 91,28 | 3,97 | 124,62 | 92,87 | 3,18 |
X95 | NC40 | 127,00 | 75,41 | 7,14 | 124,62 | 78,58 | 5,95 |
NC46 | 138,11 | 95,25 | 5,56 | 135,73 | 97,63 | 4,37 |
4H90 | 129,38 | 87,31 | 5,56 | 127,79 | 89,69 | 4,76 |
G105 | NC46 | 138,91 | 92,87 | 5,95 | 137,32 | 96,04 | 5,16 |
4H90 | 130,97 | 84,93 | 6,35 | 128,59 | 88,11 | 5,16 |
S135 | NC46 | 143,67 | 86,52 | 8,33 | 140,49 | 90,49 | 6,75 |
4 1/2 | 16,60 | 114,30 | 24,70 | E75 | 4 1/2 FH | 136,53 | 92,08 | 5,16 | 134,14 | 94,46 | 3,97 |
NC46 | 137,32 | 96,04 | 5,16 | 135,73 | 98,43 | 4,37 |
4 1/2 OHSW | 138,11 | 100,01 | 5,16 | 136,53 | 102,39 | 4,37 |
NC50 | 145,26 | 109,54 | 3,97 | 144,46 | 111,92 | 3,57 |
4 1/2 H-90 | 135,73 | 99,22 | 4,76 | 134,14 | 101,60 | 3,97 |
X95 | 4 1/2 FH | 139,70 | 86,52 | 6,75 | 137,32 | 90,49 | 5,56 |
NC46 | 140,49 | 91,28 | 6,75 | 138,11 | 94,46 | 5,56 |
NC50 | 148,43 | 105,57 | 5,56 | 146,84 | 107,95 | 4,76 |
4 1/2 H-90 | 138,9 | 95,25 | 6,35 | 136,53 | 97,63 | 5,16 |
G105 | 4 1/2 FH | 141,29 | 92,87 | 7,54 | 138,91 | 96,04 | 6,35 |
NC46 | 142,08 | 88,90 | 7,54 | 139,70 | 92,08 | 6,35 |
NC50 | 150,02 | 103,19 | 6,35 | 147,64 | 106,36 | 5,16 |
4 1/2 H-90 | 139,70 | 92,87 | 6,75 | 138,11 | 96,04 | 5,95 |
S135 | NC46 | 146,84 | 80,17 | 9,92 | 143,67 | 85,73 | 8,33 |
NC50 | 153,99 | 96,84 | 8,33 | 151,61 | 100,81 | 7,14 |
4 1/2 | 20,00 | 114,30 | 29,76 | E75 | 4 1/2 FH | 138,91 | 88,90 | 6,35 | 136,53 | 92,08 | 5,16 |
NC46 | 139,70 | 92,08 | 6,35 | 137,32 | 95,25 | 5,16 |
NC50 | 147,64 | 106,36 | 5,16 | 146,05 | 109,54 | 4,76 |
4 1/2 H-90 | 137,32 | 96,04 | 5,56 | 135,73 | 98,43 | 4,76 |
X95 | 4 1/2 FH | 142,88 | 81,76 | 8,33 | 140,49 | 85,73 | 7,14 |
NC46 | 143,67 | 86,52 | 8,33 | 141,29 | 90,49 | 7,14 |
NC50 | 150,81 | 101,60 | 6,75 | 149,23 | 104,78 | 5,95 |
4 1/2 | 20,00 | 114,30 | 29,76 | X95 | 4 1/2 H-90 | 141,29 | 90,49 | 7,54 | 138,91 | 94,46 | 6,35 |
G105 | NC46 | 145,26 | 82,55 | 9,13 | 142,88 | 88,11 | 7,94 |
NC50 | 153,19 | 99,22 | 7,94 | 150,02 | 102,39 | 6,35 |
S135 | NC50 | 157,96 | 91,28 | 10,32 | 154,78 | 96,04 | 8,73 |
5 | 19,50 | 127,00 | 29,02 | E75 | NC50 | 149,23 | 103,98 | 5,95 | 147,64 | 107,16 | 5,16 |
X95 | NC50 | 153,19 | 98,43 | 7,94 | 150,81 | 101,60 | 6,75 |
5 H-90 | 148,43 | 97,63 | 7,54 | 146,05 | 92,87 | 6,35 |
G105 | NC50 | 154,78 | 96,04 | 8,73 | 152,40 | 100,01 | 7,54 |
5 H-90 | 150,02 | 95,25 | 8,33 | 147,64 | 98,43 | 7,14 |
S135 | NC50 | 160,34 | 86,52 | 11,51 | 157,16 | 92,08 | 9,92 |
5 1/2 FH | 171,45 | 107,95 | 9,53 | 168,28 | 111,92 | 7,94 |
5 | 25,60 | 127,00 | 38,10 | E75 | NC50 | 153,19 | 99,22 | 7,94 | 150,81 | 102,39 | 6,75 |
5 1/2 FH | 165,10 | 117,48 | 6,35 | 162,72 | 120,65 | 5,16 |
X95 | NC50 | 157,96 | 90,49 | 10,32 | 154,78 | 96,04 | 8,73 |
5 1/2 FH | 169,07 | 111,13 | 8,33 | 166,69 | 115,09 | 7,14 |
G105 | NC50 | 159,54 | 87,31 | 11,11 | 156,37 | 92,87 | 9,53 |
5 1/2 FH | 170,66 | 108,74 | 9,13 | 168,28 | 112,71 | 7,94 |
S135 | 5 1/2 FH | 176,21 | 99,22 | 11,91 | 173,04 | 104,78 | 10,32 |
5 1/2 | 21,90 | 139,70 | 32,59 | E75 | 5 1/2 FH | 164,31 | 117,48 | 5,95 | 162,72 | 120,65 | 5,16 |
X95 | 5 1/2 FH | 168,28 | 110,33 | 7,94 | 165,89 | 115,09 | 6,75 |
5 1/2 H-90 | 157,16 | 100,01 | 8,33 | 154,78 | 105,57 | 7,14 |
G105 | 5 1/2 FH | 170,66 | 108,74 | 9,13 | 167,48 | 112,71 | 7,54 |
S135 | 5 1/2 FH | 176,21 | 100,01 | 11,91 | 173,04 | 105,57 | 10,32 |
5 1/2 | 24,70 | 139,70 | 36,76 | E75 | 5 1/2 FH | 166,69 | 115,09 | 7,14 | 164,31 | 119,06 | 5,95 |
X95 | 5 1/2 FH | 170,66 | 108,74 | 9,13 | 167,48 | 112,71 | 7,54 |
G105 | 5 1/2 FH | 172,24 | 105,57 | 9,92 | 169,86 | 110,33 | 8,73 |
S135 | 5 1/2 FH | 178,59 | 94,46 | 13,10 | 174,63 | 101,60 | 11,11 |
6 5/8 | 25,20 | 168,28 | 37,50 | E75 | 6 5/8 FH | 188,91 | 138,91 | 6,35 | 187,33 | 141,29 | 5,56 |
X95 | 6 5/8 FH | 193,68 | 131,76 | 8,73 | 190,50 | 136,53 | 7,14 |
G105 | 6 5/8 FH | 195,26 | 129,38 | 15,88 | 192,88 | 134,14 | 8,33 |
S135 | 6 5/8 FH | 200,82 | 119,06 | 12,30 | 197,64 | 125,41 | 10,72 |
E75 | 6 5/8 FH | 190,50 | 136,53 | 7,14 | 188,12 | 139,70 | 5,95 |
X95 | 6 5/8 FH | 195,26 | 129,38 | 9,53 | 192,09 | 134,14 | 7,94 |
6 5/8 | 27,70 | 168,28 | 41,22 | G105 | 6 5/8 FH | 196,85 | 125,41 | 10,32 | 194,47 | 130,18 | 9,13 |
S135 | 6 5/8 FH | 203,20 | 115,09 | 13,49 | 199,23 | 121,44 | 11,51 |
<a> Маркировки приведены для информации и помощи при упорядочивании. |
Таблица C.7
Требования к размерам соединения бурильного замка
Размеры в миллиметрах
Маркировка <a> резьбового упорного соединения | Диаметр зенковки Qc max | Длина зенковки Lqc min | Длина ниппельной резьбы LPC min | Длина ниппельной резьбы LPC max | Длина основы штифта Lpb max | Длина внутренней резьбы LBT min | Глубина муфты LBC min |
NC23 | 68,26 | 14,29 | 73,02 | 77,79 | 14,29 | 77,79 | 90,49 |
NC26 | 76,20 | 14,29 | 73,02 | 77,79 | 14,29 | 77,79 | 90,49 |
NC31 | 89,30 | 14,29 | 85,72 | 90,49 | 14,29 | 90,49 | 103,19 |
NC35 | 98,42 | 14,29 | 92,08 | 96,84 | 14,29 | 96,84 | 109,54 |
NC38 | 105,17 | 14,29 | 98,42 | 103,19 | 14,29 | 103,19 | 115,89 |
NC40 | 111,92 | 14,29 | 111,12 | 115,89 | 14,29 | 115,89 | 128,59 |
NC44 | 120,65 | 14,29 | 111,12 | 115,89 | 14,29 | 115,89 | 128,59 |
NC46 | 126,21 | 14,29 | 111,12 | 115,89 | 14,29 | 115,89 | 128,59 |
NC50 | 136,52 | 14,29 | 111,12 | 115,89 | 14,29 | 115,89 | 128,59 |
NC56 | 152,40 | 14,29 | 123,82 | 128,59 | 14,29 | 128,59 | 141,29 |
NC61 | 166,69 | 14,29 | 136,52 | 141,29 | 14,29 | 141,29 | 153,99 |
NC70 | 188,91 | 14,29 | 149,22 | 153,99 | 14,29 | 153,99 | 166,69 |
NC77 | 206,38 | 14,29 | 161,92 | 166,69 | 14,29 | 166,69 | 179,39 |
2 3/8 SH | 65,09 | 14,29 | 69,85 | 74,61 | 14,29 | 77,79 | 90,49 |
2 7/8 SH | 76,20 | 14,29 | 73,02 | 77,79 | 14,29 | 77,79 | 90,49 |
3 1/2 SH | 89,30 | 14,29 | 85,72 | 90,49 | 14,29 | 90,49 | 103,19 |
4 SH | 100,01 | 14,29 | 85,72 | 90,49 | 14,29 | 90,49 | 115,89 |
4 1/2 SH | 105,17 | 14,29 | 98,42 | 103,19 | 14,29 | 115,89 | 127,00 |
2 3/8 PAC | 62,71 | 7,94 | 57,15 | 61,91 | 7,94 | 61,91 | 74,61 |
2 7/8 PAC | 67,07 | 7,94 | 57,15 | 61,91 | 7,94 | 61,91 | 74,61 |
2 3/8 SLH-90 | 71,83 | 14,29 | 69,85 | 73,02 | 6,35 | 74,61 | 87,31 |
2 7/8 SLH-90 | 83,74 | 14,29 | 73,02 | 76,20 | 6,35 | 77,79 | 90,49 |
2 3/8 OH | 72,63 | 14,29 | 57,15 | 61,91 | 7,94 | 61,91 | 74,61 |
2 7/8 OH | 82,95 | 14,29 | 69,85 | 74,61 | 7,94 | 74,61 | 84,14 |
2 7/8 XH | 86,92 | 14,29 | 98,42 | 103,19 | 14,29 | 103,19 | 115,89 |
3 1/2 XH | 100,01 | 14,29 | 85,72 | 90,49 | 14,29 | 90,49 | 103,19 |
4 1/2 FH | 125,41 | 14,29 | 98,42 | 103,19 | 14,29 | 103,19 | 141,29 |
5 1/2 FH | 151,61 | 14,29 | 123,82 | 128,59 | 14,29 | 128,59 | 141,29 |
6 5/8 FH | 175,42 | 14,29 | 123,82 | 128,59 | 14,29 | 128,59 | 141,29 |
2 3/8 IF | 76,20 | 14,29 | 73,02 | 77,79 | 14,29 | 77,79 | 90,49 |
2 7/8 IF | 89,30 | 14,29 | 85,72 | 90,49 | 14,29 | 90,49 | 103,19 |
3 1/2 IF | 105,17 | 14,29 | 98,42 | 103,19 | 14,29 | 103,19 | 115,89 |
5 1/2 IF | 165,50 | 14,29 | 123,82 | 128,59 | 14,29 | 128,59 | 141,29 |
6 5/8 IF | 192,48 | 14,29 | 123,82 | 128,59 | 14,29 | 128,59 | 141,29 |
3 1/2 H-90 | 107,95 | 14,29 | 98,42 | 103,19 | 11,11 | 103,19 | 115,89 |
4 H-90 | 117,48 | 14,29 | 104,78 | 109,54 | 11,11 | 109,54 | 122,24 |
4 1/2 H-90 | 125,81 | 14,29 | 111,12 | 115,89 | 11,11 | 115,89 | 128,59 |
5 H-90 | 132,95 | 14,29 | 117,48 | 122,24 | 11,11 | 122,24 | 134,94 |
5 1/2 H-90 | 139,70 | 14,29 | 117,48 | 122,24 | 11,11 | 122,24 | 134,94 |
6 5/8 H-90 | 155,58 | 14,29 | 123,82 | 128,59 | 11,11 | 128,59 | 141,29 |
<a> Маркировки приведены для информации и помощи при упорядочивании. |
Таблица C.8
Диаметры упорного торца резьбы бурильного замка,
бывшего в употреблении
<a>
Размеры в миллиметрах
Маркировка <b> резьбового упорного соединения | Маркировка <b> съемных резьбовых упорных соединений | Длина наружного диаметра бурильного замка, бывшего в употреблении <c> | Диаметр упорного торца резьбы DF min <c> | Диаметр упорного торца резьбы DF max <d> |
NC26 | 2 3/8 IF | 2 7/8 SH | 82,95 до 85,72 | 82,55 | 86,52 |
NC31 | 2 7/8 IF | 3 1/2 SH | 100,41 до 111,12 | 100,01 | 103,98 |
NC38 | 3 1/2 IF | - | 117,08 до 127,00 | 115,89 | 119,86 |
NC40 | 4 FH | - | 127,40 до 139,70 | 127,00 | 130,97 |
NC46 | 4 IF | 4 1/2 XH | 145,26 до 158,75 | 144,86 | 148,83 |
NC50 | 4 1/2 IF | 5XH | 153,99 до 168,28 | 153,59 | 157,56 |
NC56 | - | - | 171,05 до 177,80 | 170,66 | 174,62 |
3 1/2 FH | - | - | 113,90 до 117,48 | 113,51 | 117,48 |
4 FH | - | - | 127,40 до 139,70 | 127,00 | 130,97 |
4 1/2 FH | - | - | 145,26 до 158,75 | 144,86 | 148,83 |
5 1/2 FH | - | - | 170,66 до 184,15 | 170,26 | 174,23 |
5 1/2 FH | - | - | 180,18 до 190,50 | 179,78 | 183,75 |
6 5/8 FH | - | - | 195,66 до 215,90 | 195,26 | 199,23 |
4 H-90 | - | - | 133,75 до 139,70 | 133,35 | 137,32 |
4 1/2 H-90 | - | - | 144,86 до 152,40 | 144,86 | 148,83 |
2 7/8 SH | NC26 | 2 3/8 IF | 82,95 до 85,72 | 82,55 | 86,52 |
3 1/2 SH | NC31 | 2 7/8 IF | 100,41 до 111,12 | 100,01 | 103,98 |
4 SH | - | - | 111,52 до 117,48 | 109,93 | 113,90 |
3 1/2 XH | - | - | 115,09 до 120,65 | 114,70 | 118,67 |
4 1/2 XH | NC46 | 4 IF | 145,26 до 158,75 | 144,86 | 148,83 |
5XH | NC50 | 4 1/2 IF | 153,99 до 168,28 | 153,59 | 157,56 |
<a> Диаметры упорного торца резьбы бурильного замка относятся к бурильному замку бурильной трубы, нижнему соединению ведущей или рабочей трубы, предохранительным проводникам, ТБТ и другим контактам, составляющим данные соединения. <b> Маркировки приведены для информации и помощи при упорядочивании. <c> Если наружный диаметр становится меньше минимального диаметра упорного торца резьбы, то уменьшенный скос (1/32 дюйма * 45°) должен быть заточен или механически обработан по всему периметру уплотнительной поверхности ниппеля или муфты. Уменьшенный скос не должен стать причиной браковки. <d> Максимальный диаметр упорного торца резьбы используется для соединений, которые были перешлифованы с помощью переносного устройства на буровой установке или складе. Он не распространяется на соединения, механически обработанных в цехе. |
Таблица C.9
Размеры соединений утяжеленной бурильной трубы
(без разгрузочных деталей)
Размеры в миллиметрах
Маркировка <a> резьбового упорного соединения | Диаметр зенковки Qc или DLTorq max | Длина зенковки Lqc min | Длина ниппельной резьбы LPC min | Длина ниппельной резьбы LPC max | Длина основания штифта Lpb max | Длина внутренней резьбы LBT min | Глубина муфты LBC min |
NC23 | 68,26 | 14,29 | 73,02 | 77,79 | 14,29 | 77,79 | 90,49 |
NC26 | 76,20 | 14,29 | 73,02 | 77,79 | 14,29 | 77,79 | 90,49 |
NC31 | 89,30 | 14,29 | 85,72 | 90,49 | 14,29 | 90,49 | 103,19 |
NC35 | 98,42 | 14,29 | 92,08 | 96,84 | 14,29 | 96,84 | 109,54 |
NC38 | 105,17 | 14,29 | 98,42 | 103,19 | 14,29 | 103,19 | 115,89 |
NC40 | 111,92 | 14,29 | 111,12 | 115,89 | 14,29 | 115,89 | 128,59 |
NC44 | 120,65 | 14,29 | 111,12 | 115,89 | 14,29 | 115,89 | 128,59 |
NC46 | 126,21 | 14,29 | 111,12 | 115,89 | 14,29 | 115,89 | 128,59 |
NC50 | 136,52 | 14,29 | 111,12 | 115,89 | 14,29 | 115,89 | 128,59 |
NC56 | 152,40 | 14,29 | 123,82 | 128,59 | 14,29 | 128,59 | 141,29 |
NC61 | 166,69 | 14,29 | 136,52 | 141,29 | 14,29 | 141,29 | 153,99 |
NC70 | 188,91 | 14,29 | 149,22 | 153,99 | 14,29 | 153,99 | 166,69 |
NC77 | 206,38 | 14,29 | 161,92 | 166,69 | 14,29 | 166,69 | 179,39 |
2 3/8 REG | 69,85 | 14,29 | 73,03 | 77,79 | 14,29 | 77,79 | 90,49 |
2 7/8 REG | 79,38 | 14,29 | 85,73 | 90,49 | 14,29 | 90,49 | 103,19 |
3 1/2 REG | 92,08 | 14,29 | 92,08 | 96,84 | 14,29 | 96,84 | 109,54 |
4 1/2 REG | 120,65 | 14,29 | 104,78 | 109,54 | 14,29 | 109,54 | 122,24 |
5 1/2 REG | 143,27 | 14,29 | 117,48 | 122,24 | 14,29 | 122,24 | 134,94 |
6 5/8 REG | 155,58 | 14,29 | 123,83 | 128,59 | 14,29 | 128,59 | 141,29 |
7 5/8 REG FF | 181,77 | 14,29 | 130,18 | 134,94 | 14,29 | 134,94 | 147,64 |
7 5/8 REG LT | 198,44 | 7,94 | 130,18 | 134,94 | 14,29 | 134,94 | 147,64 |
8 5/8 REG FF | 205,98 | 14,29 | 133,35 | 138,11 | 14,29 | 138,11 | 150,81 |
8 5/8 REG LT | 230,19 | 7,94 | 133,35 | 138,11 | 14,29 | 138,11 | 150,81 |
2 3/8 SH | 65,09 | 14,29 | 73,02 | 77,79 | 14,29 | 77,79 | 90,49 |
2 7/8 SH | 76,20 | 14,29 | 73,02 | 77,79 | 14,29 | 77,79 | 90,49 |
3 1/2 SH | 89,30 | 14,29 | 85,72 | 90,49 | 14,29 | 90,49 | 103,19 |
4 SH | 100,01 | 14,29 | 85,72 | 90,49 | 14,29 | 90,49 | 115,89 |
4 1/2 SH | 105,17 | 14,29 | 98,42 | 103,19 | 14,29 | 103,19 | 115,89 |
2 3/8 PAC | 62,71 | 7,94 | 57,15 | 61,91 | 7,94 | 61,91 | 74,61 |
2 7/8 PAC | 67,07 | 7,94 | 57,15 | 61,91 | 7,94 | 61,91 | 74,61 |
3 1/2 PAC | 80,57 | 7,94 | 79,38 | 84,14 | 7,94 | 84,14 | 96,84 |
2 3/8 SLH-90 | 71,83 | 14,29 | 69,85 | 73,02 | 6,35 | 74,61 | 87,31 |
2 7/8 SLH-90 | 83,74 | 14,29 | 73,02 | 76,20 | 6,35 | 77,79 | 90,49 |
2 3/8 OH | 73,02 | 14,29 | 57,15 | 61,91 | 7,94 | 61,91 | 74,61 |
2 7/8 OH | 82,55 | 14,29 | 69,85 | 74,61 | 7,94 | 74,61 | 84,14 |
2 7/8 XH | 86,92 | 14,29 | 98,42 | 103,19 | 14,29 | 103,19 | 115,89 |
3 1/2 XH | 100,01 | 14,29 | 85,72 | 90,49 | 14,29 | 90,49 | 103,19 |
3 1/2 FH | 104,38 | 14,29 | 92,08 | 96,84 | 14,29 | 96,84 | 109,54 |
4 FH | 111,92 | 14,29 | 111,12 | 115,89 | 14,29 | 115,89 | 128,59 |
4 1/2 FH | 125,41 | 14,29 | 98,42 | 103,19 | 14,29 | 103,19 | 141,29 |
5 1/2 FH | 139,30 | 14,29 | 123,82 | 128,59 | 14,29 | 128,59 | 141,29 |
6 5/8 FH | 175,42 | 14,29 | 123,82 | 128,59 | 14,29 | 128,59 | 141,29 |
2 3/8 IF | 76,20 | 14,29 | 73,02 | 77,79 | 14,29 | 77,79 | 90,49 |
2 7/8 IF | 89,30 | 14,29 | 85,72 | 90,49 | 14,29 | 90,49 | 103,19 |
3 1/2 IF | 105,17 | 14,29 | 98,42 | 103,19 | 14,29 | 103,19 | 115,89 |
5 1/2 IF | 165,50 | 14,29 | 123,82 | 128,59 | 14,29 | 128,59 | 141,29 |
6 5/8 IF | 192,48 | 14,29 | 123,82 | 128,59 | 14,29 | 128,59 | 141,29 |
3 1/2 H-90 | 107,95 | 14,29 | 98,42 | 103,19 | 11,11 | 103,19 | 115,89 |
4 H-90 | 117,48 | 14,29 | 104,78 | 109,54 | 11,11 | 109,54 | 122,24 |
4 1/2 H-90 | 125,81 | 14,29 | 111,12 | 115,89 | 11,11 | 115,89 | 128,59 |
5 H-90 | 132,95 | 14,29 | 117,48 | 122,24 | 11,11 | 122,24 | 134,94 |
5 1/2 H-90 | 139,70 | 14,29 | 117,48 | 122,24 | 11,11 | 122,24 | 134,94 |
6 5/8 H-90 | 155,58 | 14,29 | 123,82 | 128,59 | 11,11 | 128,59 | 141,29 |
7 H-90 FF | 168,28 | 14,29 | 136,53 | 141,29 | 11,11 | 141,29 | 153,99 |
7 H-90 LT | 182,56 | 8,73 | 136,53 | 141,29 | 11,11 | 141,29 | 153,99 |
7 5/8 H-90 FF | 190,90 | 14,29 | 152,40 | 157,16 | 11,11 | 157,16 | 169,86 |
7 5/8 H-90 LT | 204,79 | 8,73 | 152,40 | 157,16 | 11,11 | 157,16 | 169,86 |
8 5/8 H-90 FF | 213,12 | 14,29 | 165,10 | 169,86 | 11,11 | 169,86 | 106,36 |
8 5/8 H-90 LT | 239,71 | 8,73 | 165,10 | 169,86 | 11,11 | 169,86 | 106,36 |
<a> Маркировки приведены для информации и помощи при упорядочивании. |
Таблица C.10
Предельный допуск размеров соединений КНБК
с разгрузочными деталями
<a>
Размеры в миллиметрах
Маркировка <b> резьбового упорного соединения | Диаметр зенковки Qc или DLTorq max | Длина зенковки Lqc min | Длина ниппельной резьбы LPC min | Длина ниппельной резьбы LPC max | Диаметр канавки для выхода ниппеля DRG min | Диаметр канавки для выхода ниппеля DRG max | Диаметр проточного цилиндра муфты Dcb min | Диаметр проточного цилиндра муфты Dcb max | Точка схода проточной резьбы муфты Lx |
NC35 | 98,42 | 14,29 | 92,08 | 96,84 | 81,28 | 82,07 | 82,15 | 82,55 | 82,55 |
NC38 | 105,17 | 14,29 | 98,42 | 103,19 | 88,32 | 89,10 | 88,11 | 88,50 | 88,90 |
NC40 | 111,92 | 14,29 | 111,12 | 115,89 | 95,02 | 95,81 | 92,87 | 93,27 | 101,60 |
NC44 | 120,65 | 14,29 | 111,12 | 115,89 | 103,78 | 104,57 | 101,60 | 102,00 | 101,60 |
NC46 | 126,21 | 14,29 | 111,12 | 115,89 | 109,09 | 109,88 | 106,76 | 107,16 | 101,60 |
NC50 | 136,53 | 14,29 | 111,12 | 115,89 | 119,66 | 120,45 | 117,48 | 117,87 | 101,60 |
NC56 | 152,40 | 14,29 | 123,82 | 128,59 | 133,25 | 134,04 | 121,84 | 122,24 | 114,30 |
NC61 | 166,69 | 14,29 | 136,52 | 141,29 | 147,52 | 148,31 | 132,95 | 133,35 | 127,00 |
NC70 | 188,91 | 14,29 | 123,82 | 153,99 | 169,75 | 170,54 | 152,00 | 152,40 | 139,70 |
NC77 | 206,38 | 14,29 | 161,92 | 166,69 | 187,22 | 188,01 | 166,29 | 166,69 | 152,40 |
4 1/2 REG | 120,65 | 14,29 | 104,78 | 109,54 | 101,14 | 101,93 | 94,46 | 94,85 | 95,25 |
5 1/2 REG | 143,27 | 14,29 | 117,48 | 122,24 | 122,89 | 123,67 | 114,30 | 114,70 | 107,95 |
6 5/8 REG | 155,58 | 14,29 | 123,82 | 128,59 | 136,80 | 137,59 | 134,14 | 134,54 | 114,30 |
7 5/8 REG ВП | 181,77 | 14,29 | 130,18 | 134,94 | 160,48 | 161,26 | 148,83 | 145,26 | 120,65 |
7 5/8 REG МКМ | 198,44 | 7,94 | 130,18 | 134,94 | 160,48 | 161,26 | 148,83 | 145,26 | 114,30 |
8 5/8 REG ВП | 205,98 | 14,29 | 133,35 | 138,11 | 184,66 | 185,45 | 172,24 | 172,64 | 123,82 |
8 5/8 REG МКМ | 230,19 | 7,94 | 133,35 | 138,11 | 184,66 | 185,45 | 172,24 | 172,64 | 123,82 |
4 1/2 SH | 105,17 | 14,29 | 98,42 | 103,19 | 88,32 | 89,10 | 88,11 | 88,50 | 88,90 |
3 1/2 FH | 104,38 | 14,29 | 92,08 | 96,84 | 86,12 | 86,92 | 81,76 | 82,15 | 82,55 |
4 FH | 111,92 | 14,29 | 111,12 | 115,89 | 95,02 | 95,81 | 92,87 | 93,27 | 101,60 |
4 1/2 FH | 125,41 | 14,29 | 98,42 | 103,19 | 105,38 | 106,17 | 100,41 | 100,81 | 88,90 |
5 1/2 FH | 139,30 | 14,29 | 123,82 | 128,59 | 132,56 | 133,35 | 129,78 | 130,18 | 114,30 |
6 5/8 FH | 175,42 | 14,29 | 123,82 | 128,59 | 155,97 | 156,77 | 153,59 | 153,99 | 114,30 |
3 1/2 IF | 105,17 | 14,29 | 98,42 | 103,19 | 88,32 | 89,10 | 88,11 | 88,50 | 88,90 |
5 1/2 IF | 177,01 | 14,29 | 123,82 | 128,59 | 148,83 | 149,62 | 144,46 | 144,86 | 114,30 |
6 5/8 IF | 192,48 | 14,29 | 123,82 | 128,59 | 175,82 | 176,61 | 171,45 | 171,85 | 114,30 |
3 1/2 H-90 | 107,95 | 14,29 | 98,42 | 103,19 | 92,08 | 92,87 | 90,49 | 90,88 | 88,90 |
4 H-90 | 117,48 | 14,29 | 104,78 | 109,54 | 101,60 | 102,39 | 98,42 | 98,82 | 95,25 |
4 1/2 H-90 | 125,81 | 14,29 | 111,12 | 115,89 | 109,93 | 110,73 | 106,36 | 106,76 | 101,60 |
5 H-90 | 132,95 | 14,29 | 117,48 | 122,24 | 116,68 | 117,48 | 111,92 | 112,32 | 107,95 |
5 1/2 H-90 | 139,70 | 14,29 | 117,48 | 122,24 | 123,82 | 124,62 | 105,97 | 106,36 | 107,95 |
6 5/8H-90 | 155,58 | 14,29 | 123,82 | 128,59 | 139,70 | 140,49 | 133,75 | 107,95 | 114,30 |
7 H-90 FF | 168,28 | 14,29 | 136,52 | 141,29 | 152,40 | 153,19 | 133,75 | 107,95 | 127,00 |
7 H-90 LT | 182,56 | 8,73 | 136,52 | 141,29 | 152,40 | 153,19 | 133,75 | 107,95 | 127,00 |
7 5/8 H-90 FF | 190,90 | 14,29 | 152,40 | 157,16 | 174,62 | 175,42 | 152,40 | 152,80 | 142,88 |
7 5/8 H-90 LT | 204,79 | 8,73 | 152,40 | 157,16 | 174,62 | 175,42 | 152,40 | 152,80 | 142,88 |
8 5/8 H-90 FF | 213,12 | 14,29 | 165,10 | 169,86 | 196,85 | 197,64 | 171,45 | 171,85 | 155,58 |
8 5/8 H-90 LT | 239,71 | 8,73 | 165,10 | 169,86 | 196,85 | 197,64 | 171,45 | 171,85 | 155,58 |
<a> Соединения КНБК включают в себя все соединения между буровым долотом и бурильной трубой, но не включая их самих. <b> Маркировки приведены для информации и помощи при упорядочивании. |
Таблица C.11
Диаметры упорного торца резьбы утяжеленной бурильной трубы
Размеры в миллиметрах
Маркировка <a> резьбового упорного соединения | Маркировка <a> съемных резьбовых упорных соединений | Длина наружного диаметра утяжеленной бурильной трубы <b> | Диаметр упорного торца резьбы DF min | Диаметр упорного торца резьбы |
NC23 | - | - | От 79,38 до 82,55 | 75,80 | 79,77 |
NC26 | 3 3/8 IF | 2 7/8 SH | От 85,72 до 91,68 | 82,55 | 86,52 |
От 92,08 до 98,03 | 87,31 | 91,28 |
От 98,42 до 101,60 | 92,08 | 96,04 |
NC31 | 2 7/8 IF | - | От 104,78 до 110,73 | 100,01 | 103,98 |
От 111,12 до 117,48 | 104,78 | 108,74 |
NC35 | - | - | От 120,65 до 126,60 | 114,30 | 118,27 |
NC38 | 3 1/2 IF | 4 1/2 SH | От 120,65 до 126,60 | 115,89 | 119,86 |
От 127,00 до 132,95 | 120,65 | 124,62 |
От 133,35 до 139,30 | 125,41 | 103,98 |
NC40 | 4 FH | - | От 133,35 до 139,30 | 127,00 | 130,97 |
От 139,70 до 145,65 | 131,76 | 135,73 |
От 146,05 до 152,00 | 136,52 | 140,49 |
NC44 | - | - | От 146,05 до 152,00 | 139,30 | 143,27 |
От 152,40 до 158,35 | 144,07 | 148,03 |
От 158,75 до 164,70 | 148,83 | 152,80 |
NC46 | 4 IF | 4 1/2 XH | От 152,40 до 158,35 | 144,86 | 148,83 |
От 158,75 до 161,53 | 149,62 | 153,59 |
От 165,10 до 171,05 | 154,38 | 158,35 |
От 171,45 до 177,40 | 159,15 | 163,12 |
NC50 | 4 1/2 IF | 5XH | От 155,58 до 161,53 | 153,59 | 157,56 |
От 161,92 до 167,88 | 154,78 | 158,75 |
От 168,28 до 174,23 | 159,54 | 163,51 |
От 174,62 до 180,58 | 164,31 | 168,28 |
От 180,98 до 186,93 | 169,07 | 173,04 |
NC56 | - | - | От 190,50 до 196,45 | 180,18 | 184,15 |
От 196,85 до 202,80 | 184,94 | 188,91 |
От 203,20 до 209,15 | 189,71 | 193,68 |
NC61 | - | - | От 209,55 до 215,50 | 198,04 | 202,01 |
От 215,90 до 221,85 | 202,80 | 206,77 |
От 222,25 до 228,20 | 207,57 | 211,53 |
От 228,60 до 234,55 | 212,33 | 216,30 |
NC 70 | - | - | От 241,30 до 247,25 | 227,41 | 231,38 |
От 247,65 до 253,60 | 232,17 | 235,74 |
От 254,00 до 259,95 | 236,93 | 240,90 |
NC77 | - | - | От 279,40 до 285,35 | 260,35 | 264,32 |
2 3/8 REG | - | - | От 82,55 до 85,33 | 76,20 | 80,17 |
От 85,72 до 88,90 | 80,96 | 84,93 |
2 7/8 REG | - | - | От 98,42 до 101,60 | 90,49 | 94,46 |
3 1/2 REG | - | - | От 107,95 до 126,21 | 103,19 | 107,16 |
От 114,30 до 117,48 | 107,95 | 119,86 |
4 1/2 REG | - | - | От 142,88 до 145,65 | 134,14 | 138,11 |
От 146,05 до 152,00 | 138,91 | 142,88 |
От 152,40 до 155,58 | 143,67 | 147,64 |
5 1/2 REG | - | - | От 168,28 до 171,05 | 159,15 | 163,12 |
От 171,45 до 177,40 | 163,91 | 167,88 |
От 177,80 до 183,75 | 168,67 | 172,64 |
От 184,15 до 202,41 | 173,43 | 177,40 |
От 190,50 до 193,68 | 178,20 | 182,17 |
6 5/8 REG | - | - | От 190,50 до 196,45 | 180,98 | 184,94 |
От 196,85 до 202,80 | 185,74 | 189,71 |
От 203,20 до 209,15 | 190,50 | 193,68 |
От 209,55 до 212,72 | 195,26 | 199,23 |
7 5/8 REG FF | - | - | От 219,08 до 225,03 | 209,15 | 213,12 |
От 225,42 до 231,38 | 213,92 | 217,88 |
От 231,78 до 237,73 | 218,68 | 222,65 |
От 238,12 до 244,08 | 223,44 | 227,41 |
7 5/8 REG LT | - | - | От 244,48 до 254,00 | 234,55 | 238,52 |
8 5/8 REG FF | - | - | От 244,48 до 247,25 | 231,78 | 235,74 |
От 247,65 до 253,60 | 236,54 | 240,51 |
От 254,00 до 259,95 | 241,30 | 245,27 |
От 260,35 до 266,30 | 246,06 | 250,03 |
От 266,70 до 269,48 | 250,82 | 254,79 |
8 5/8 REG LT | - | - | От 269,88 до 282,58 | 266,30 | 270,27 |
3 1/2 FH | - | - | От 123,82 до 129,78 | 118,27 | 122,24 |
От 130,18 до 136,13 | 123,03 | 127,00 |
4 1/2 FH | - | - | От 146,05 до 152,00 | 140,10 | 144,07 |
От 152,40 до 158,35 | 144,86 | 148,83 |
От 158,75 до 164,70 | 149,62 | 153,59 |
5 1/2 FH | - | - | От 174,62 до 177,40 | 165,50 | 169,47 |
От 177,80 до 183,75 | 170,26 | 174,23 |
От 184,15 до 190,10 | 175,02 | 178,99 |
От 190,50 до 196,45 | 179,78 | 183,75 |
От 196,85 до 202,80 | 184,55 | 188,52 |
От 203,20 до 209,15 | 189,31 | 193,28 |
6 5/8 FH | - | - | От 203,20 до 209,15 | 195,26 | 199,23 |
От 209,55 до 215,50 | 200,02 | 203,99 |
От 215,90 до 221,85 | 204,79 | 208,76 |
От 222,25 до 228,20 | 209,55 | 213,52 |
От 228,60 до 234,55 | 214,31 | 218,28 |
От 234,95 до 241,30 | 219,08 | 223,04 |
2 3/8 SL H-90 | - | - | От 82,55 до 85,72 | 78,98 | 82,95 |
2 7/8 SL H-90 | - | - | От 104,78 до 107,55 | 98,03 | 102,00 |
От 107,95 до 109,54 | 104,38 | 108,35 |
3 1/2 SL H-90 | - | - | От 123,82 до 126,60 | 117,08 | 121,05 |
От 127,00 до 130,18 | 123,43 | 127,40 |
3 1/2 H-90 | - | - | От 127,00 до 132,95 | 121,84 | 125,81 |
От 133,35 до 139,70 | 126,60 | 130,57 |
4 H-90 | - | - | От 152,40 до 155,18 | 139,30 | 143,27 |
От 155,58 до 158,75 | 145,65 | 149,62 |
4 1/2 H-90 | - | - | От 152,40 до 158,35 | 145,65 | 149,62 |
От 158,75 до 167,88 | 152,00 | 155,97 |
От 168,28 до 171,45 | 158,35 | 162,32 |
5 H-90 | - | - | От 165,10 до 171,05 | 155,18 | 159,15 |
От 171,45 до 177,80 | 161,53 | 165,50 |
5 1/2 H-90 | - | - | От 171,45 до 175,02 | 161,53 | 165,50 |
От 174,62 до 190,50 | 167,88 | 171,85 |
6 5/8 H-90 | - | - | От 193,68 до 196,45 | 183,75 | 187,72 |
От 196,85 до 209,55 | 190,10 | 194,07 |
7 H-90 | - | - | От 209,55 до 215,50 | 202,80 | 206,77 |
От 215,90 до 219,08 | 209,15 | 213,12 |
7 H-90 LT | - | - | От 219,08 до 228,20 | 209,15 | 213,12 |
От 228,60 до 231,78 | 218,68 | 222,65 |
7 5/8 H-90 | - | - | 241,30 макс. наружный диаметр <b> | 234,55 | 238,52 |
7 5/8 H-90 LT | - | - | От 247,65 до 250,43 | 234,55 | 238,52 |
От 250,82 до 260,35 | 244,08 | 248,05 |
8 5/8 H-90 | - | - | От 266,70 до 269,88 | 253,60 | 257,57 |
8 5/8 H-90 LT | - | - | От 273,05 до 285,35 | 266,30 | 270,27 |
От 285,75 до 292,10 | 272,65 | 276,62 |
2 3/8 PAC | - | - | От 69,85 до 75,80 | 68,26 | 72,23 |
От 76,20 до 79,38 | 69,45 | 73,42 |
2 7/8 PAC | - | - | От 79,38 до 82,55 | 75,80 | 79,77 |
2 3/8 OH | - | - | От 77,79 до 80,96 | 75,80 | 79,77 |
2 7/8 OH | - | - | От 95,25 до 101,20 | 91,28 | 95,25 |
От 101,60 до 107,95 | 94,85 | 98,82 |
2 3/8 SH | - | - | От 79,38 до 80,96 | 75,01 | 78,98 |
3 1/2 SH | - | - | От 104,78 до 110,73 | 100,01 | 103,98 |
От 111,12 до 114,30 | 104,78 | 108,74 |
4 SH | 3 1/2 XH | - | От 120,65 до 126,60 | 114,70 | 118,67 |
От 127,00 до 130,18 | 119,46 | 123,43 |
2 7/8 XH | 3 1/2 DSL | - | От 104,78 до 110,73 | 97,23 | 101,20 |
От 111,12 до 114,30 | 102,00 | 105,97 |
2 7/8 XH | 3 1/2 DSL | - | От 190,50 до 193,28 | 180,98 | 184,94 |
От 193,68 до 199,63 | 185,74 | 189,71 |
От 200,02 до 205,98 | 190,50 | 194,47 |
От 206,38 до 212,33 | 195,26 | 199,23 |
От 212,72 до 217,49 | 200,02 | 203,99 |
От 219,08 до 225,03 | 204,79 | 208,76 |
От 225,42 до 228,60 | 209,55 | 213,52 |
6 5/8 IF | - | - | От 228,60 до 234,55 | 218,68 | 222,65 |
От 234,95 до 253,21 | 223,44 | 227,41 |
От 241,30 до 247,25 | 228,20 | 232,17 |
От 247,65 до 253,60 | 232,97 | 236,93 |
От 254,00 до 260,35 | 237,73 | 241,70 |
<a> Маркировка приведена для информации и помощи при упорядочивании. <b> Максимальный наружный диаметр для маркировочного соединения может быть слишком большим для данного соединения. Пользователь должен проверить соотношение прочности на изгиб соединения и его крутящегося балансира перед утверждением данного наружного диаметра. <c> Максимальный диаметр упорного торца резьбы используется для соединений, перешлифованных на скважине. Скосы на механически обработанных соединениях должны соответствовать [8]. Примечания 2 Соединения утяжеленной бурильной трубы включают все соединения между буровым долотом, ТБТ и/или бурильной трубой, не включая их самих. |
Таблица C.12
Коэффициент прочности на изгиб (КПИ) для КНБК
Размеры в миллиметрах
Маркировка соединения <a> | | Наружный диаметр при коэффициенте прочности на изгиб <c> |
1,90 | 2,25 | 2,50 | 2,75 | 3,20 |
NC23 | 31,75 | 73,82 | 76,99 | 78,58 | 80,96 | 84,14 |
38,10 | 71,44 | 74,61 | 76,20 | 77,79 | 81,36 |
44,45 | 68,26 | 70,25 | 71,83 | 73,42 | 75,80 |
NC26 | 38,10 | 84,14 | 87,31 | 89,69 | 92,08 | 95,65 |
44,45 | 81,76 | 84,93 | 86,52 | 88,90 | 92,47 |
50,80 | 77,79 | 80,17 | 82,55 | 84,14 | 86,92 |
NC31 | 38,10 | 102,39 | 106,36 | 109,54 | 111,92 | 117,08 |
44,45 | 100,81 | 104,78 | 107,95 | 110,33 | 115,09 |
50,80 | 99,22 | 103,19 | 105,57 | 107,95 | 112,32 |
NC35 | 38,10 | 114,30 | 119,06 | 122,24 | 125,41 | 130,97 |
44,45 | 125,41 | 118,27 | 121,44 | 124,62 | 129,78 |
50,80 | 111,92 | 116,68 | 119,86 | 123,03 | 127,79 |
57,15 | 110,33 | 114,30 | 117,48 | 119,86 | 125,02 |
63,50 | 106,36 | 110,33 | 113,51 | 115,89 | 120,25 |
NC38 | 38,10 | 123,83 | 129,38 | 132,56 | 136,53 | 142,08 |
44,45 | 123,03 | 128,59 | 131,76 | 134,94 | 140,89 |
50,80 | 122,24 | 127,00 | 130,18 | 134,14 | 139,70 |
57,15 | 120,65 | 125,41 | 128,59 | 131,76 | 137,32 |
63,50 | 118,27 | 122,24 | 125,41 | 128,59 | 133,75 |
NC40 | 50,80 | 130,97 | 136,53 | 140,49 | 143,67 | 150,02 |
57,15 | 130,18 | 134,94 | 138,91 | 142,08 | 147,64 |
63,50 | 127,79 | 132,56 | 136,53 | 139,70 | 146,05 |
71,44 | 124,22 | 128,59 | 132,56 | 134,94 | 141,29 |
NC44 | 50,80 | 143,67 | 149,23 | 153,99 | 157,16 | 164,31 |
57,15 | 142,88 | 148,43 | 153,19 | 156,37 | 163,51 |
63,50 | 141,29 | 146,84 | 150,81 | 153,99 | 161,13 |
71,44 | 139,70 | 143,67 | 147,64 | 150,81 | 157,16 |
NC46 | 50,80 | 151,61 | 157,16 | 161,93 | 165,89 | 173,04 |
57,15 | 150,81 | 156,37 | 161,13 | 164,31 | 172,24 |
63,50 | 149,23 | 154,78 | 159,54 | 162,72 | 170,66 |
71,44 | 146,84 | 152,40 | 157,16 | 160,34 | 167,48 |
76,20 | 145,26 | 150,02 | 154,78 | 157,96 | 164,31 |
82,55 | 142,08 | 146,84 | 150,81 | 153,99 | 160,34 |
NC50 | 57,15 | 165,89 | 172,24 | 177,01 | 180,98 | 189,71 |
63,50 | 164,31 | 170,66 | 176,21 | 180,18 | 188,12 |
71,44 | 162,72 | 169,07 | 173,83 | 177,80 | 185,74 |
76,20 | 161,93 | 167,48 | 172,24 | 176,21 | 184,15 |
82,55 | 159,54 | 165,10 | 169,86 | 173,04 | 180,98 |
88,90 | 156,37 | 161,93 | 165,89 | 169,86 | 176,21 |
NC56 | 57,15 | 181,77 | 189,71 | 195,26 | 200,03 | 209,55 |
63,50 | 180,98 | 188,91 | 194,47 | 199,23 | 208,76 |
71,44 | 179,39 | 187,33 | 192,88 | 197,64 | 207,17 |
76,20 | 178,59 | 185,74 | 192,09 | 196,06 | 205,58 |
82,55 | 177,01 | 184,15 | 189,71 | 194,47 | 203,20 |
88,90 | 174,63 | 181,77 | 187,33 | 191,29 | 200,03 |
NC61 | 63,50 | 200,03 | 208,76 | 215,11 | 220,66 | 230,98 |
71,44 | 199,23 | 207,17 | 214,31 | 219,08 | 229,39 |
76,20 | 198,44 | 206,38 | 213,52 | 218,28 | 228,60 |
82,55 | 196,85 | 205,58 | 211,93 | 216,69 | 227,01 |
88,90 | 195,26 | 203,20 | 209,55 | 215,11 | 224,63 |
NC70 | 63,50 | 229,39 | 239,71 | 247,65 | 253,21 | 265,11 |
71,44 | 228,60 | 238,92 | 246,86 | 252,41 | 264,32 |
76,20 | 228,60 | 238,92 | 246,06 | 252,41 | 263,53 |
82,55 | 227,81 | 237,33 | 245,27 | 250,83 | 262,73 |
88,90 | 226,22 | 236,54 | 243,68 | 250,03 | 261,14 |
95,25 | 225,43 | 234,95 | 242,09 | 249,24 | 259,56 |
NC77 | 71,44 | 252,41 | 263,53 | 271,46 | 278,61 | 291,31 |
76,20 | 251,62 | 263,53 | 271,46 | 278,61 | 290,51 |
82,55 | 250,83 | 262,73 | 270,67 | 277,81 | 289,72 |
88,90 | 250,03 | 261,94 | 269,88 | 276,23 | 288,93 |
95,25 | 249,24 | 260,35 | 268,29 | 275,43 | 288,13 |
2 3/8 REG | 31,75 | 72,23 | 75,41 | 77,79 | 79,38 | 83,34 |
38,10 | 69,85 | 73,03 | 74,61 | 76,20 | 80,17 |
2 7/8 REG | 31,75 | 84,93 | 88,11 | 91,28 | 93,66 | 98,43 |
38,10 | 83,34 | 87,31 | 89,69 | 92,08 | 96,84 |
44,45 | 80,96 | 84,14 | 87,31 | 88,90 | 93,66 |
3 1/2 REG | 38,10 | 101,60 | 105,57 | 109,54 | 111,92 | 117,48 |
44,45 | 100,01 | 103,98 | 107,95 | 110,33 | 115,09 |
50,80 | 98,03 | 101,60 | 105,57 | 107,95 | 112,71 |
4 1/2 REG | 50,80 | 138,91 | 145,26 | 150,02 | 153,19 | 160,34 |
57,15 | 138,11 | 143,67 | 148,43 | 151,61 | 159,54 |
63,50 | 136,53 | 142,08 | 146,84 | 150,02 | 157,16 |
| | ИС МЕГАНОРМ: примечание. Значение в графе "Внутренний диаметр" дано в соответствии с официальным текстом документа. | |
|
5 1/2 REG | 5715 | 167,48 | 175,42 | 180,98 | 184,94 | 193,68 |
63,50 | 166,69 | 173,83 | 179,39 | 183,36 | 192,09 |
71,44 | 165,89 | 172,24 | 177,80 | 181,77 | 190,50 |
76,20 | 164,31 | 170,66 | 176,21 | 180,18 | 188,12 |
82,55 | 161,93 | 168,28 | 173,83 | 177,80 | 185,74 |
88,90 | 158,75 | 165,10 | 169,86 | 173,83 | 182,56 |
6 5/8 REG | 63,50 | 188,91 | 196,85 | 202,41 | 207,17 | 216,69 |
71,44 | 188,12 | 195,26 | 200,82 | 205,58 | 215,11 |
76,20 | 187,33 | 194,47 | 200,03 | 204,79 | 213,52 |
82,55 | 185,74 | 192,88 | 198,44 | 203,20 | 211,93 |
88,90 | 184,15 | 190,50 | 196,06 | 201,61 | 208,76 |
7 5/8 REG | 63,50 | 219,08 | 228,60 | 235,74 | 241,30 | 252,41 |
71,44 | 218,28 | 227,81 | 234,16 | 240,51 | 250,83 |
76,20 | 217,49 | 227,01 | 233,36 | 239,71 | 250,03 |
82,55 | 216,69 | 225,43 | 232,57 | 238,92 | 249,24 |
88,90 | 215,11 | 224,63 | 230,98 | 236,54 | 248,44 |
95,25 | 213,52 | 223,04 | 229,39 | 234,95 | 245,27 |
8 5/8 REG | 71,44 | 251,62 | 262,73 | 270,67 | 277,02 | 289,72 |
76,20 | 250,83 | 261,94 | 269,88 | 276,23 | 288,93 |
82,55 | 250,83 | 261,14 | 269,08 | 276,23 | 288,13 |
88,90 | 250,03 | 260,35 | 268,29 | 274,64 | 287,34 |
95,25 | 249,24 | 259,56 | 267,49 | 273,84 | 285,75 |
2 7/8 FH | 38,10 | 106,36 | 111,13 | 114,30 | 117,48 | 123,03 |
44,45 | 105,57 | 109,54 | 112,71 | 115,89 | 121,44 |
50,80 | 103,19 | 107,95 | 111,13 | 113,51 | 119,06 |
3 1/2 FH | 38,10 | 119,06 | 124,62 | 128,59 | 130,97 | 137,32 |
44,45 | 118,27 | 123,03 | 127,00 | 130,18 | 136,53 |
50,80 | 117,48 | 121,44 | 125,41 | 128,59 | 134,94 |
57,15 | 115,09 | 119,86 | 123,83 | 126,21 | 131,76 |
63,50 | 111,92 | 116,68 | 120,65 | 123,03 | 128,59 |
4 1/2 FH | 50,80 | 146,05 | 151,61 | 157,16 | 160,34 | 168,28 |
57,15 | 144,46 | 150,81 | 155,58 | 158,75 | 166,69 |
63,50 | 143,67 | 149,23 | 153,99 | 157,16 | 164,31 |
71,44 | 140,49 | 146,05 | 150,81 | 153,99 | 161,13 |
76,20 | 138,51 | 143,67 | 148,43 | 151,61 | 158,75 |
82,55 | 134,94 | 139,70 | 144,46 | 147,64 | 153,99 |
5 1/2 FH | 57,15 | 184,15 | 191,29 | 196,85 | 201,61 | 210,34 |
63,50 | 183,36 | 190,50 | 196,06 | 200,82 | 209,55 |
71,44 | 181,77 | 188,91 | 194,47 | 199,23 | 207,96 |
76,20 | 180,98 | 188,12 | 193,68 | 197,64 | 206,38 |
82,55 | 179,39 | 187,33 | 192,09 | 196,85 | 203,99 |
88,90 | 177,80 | 184,94 | 188,91 | 193,68 | 201,61 |
6 5/8 FH | 63,50 | 216,69 | 225,43 | 231,78 | 237,33 | 247,65 |
71,44 | 215,90 | 224,63 | 230,98 | 236,54 | 246,86 |
76,20 | 215,11 | 223,84 | 230,19 | 235,74 | 246,06 |
82,55 | 214,31 | 222,25 | 229,39 | 234,16 | 244,48 |
88,90 | 212,73 | 221,46 | 227,81 | 232,57 | 242,89 |
95,25 | 211,14 | 219,08 | 225,43 | 230,98 | 240,51 |
3 1/2 H 90 | 50,80 | 127,79 | 132,56 | 136,53 | 139,70 | 146,05 |
57,15 | 126,21 | 130,18 | 134,94 | 137,32 | 143,67 |
63,50 | 123,83 | 127,79 | 131,76 | 134,94 | 140,49 |
4 H 90 | 50,80 | 140,49 | 146,05 | 150,81 | 153,99 | 161,13 |
57,15 | 139,70 | 144,46 | 149,23 | 152,40 | 159,54 |
63,50 | 138,11 | 142,88 | 147,64 | 150,81 | 157,16 |
71,44 | 134,94 | 139,70 | 144,46 | 147,64 | 153,19 |
4 1/2 H 90 | 50,80 | 152,40 | 157,96 | 163,51 | 166,69 | 174,63 |
57,15 | 151,61 | 157,16 | 161,93 | 165,89 | 173,04 |
63,50 | 150,02 | 155,58 | 160,34 | 164,31 | 171,45 |
71,44 | 147,64 | 153,19 | 157,96 | 161,93 | 168,28 |
76,20 | 146,05 | 151,61 | 155,58 | 159,54 | 165,89 |
82,55 | 142,88 | 148,43 | 152,40 | 155,58 | 161,93 |
5 H 90 | 57,15 | 160,34 | 167,48 | 172,24 | 176,21 | 184,15 |
63,50 | 159,54 | 165,89 | 171,45 | 175,42 | 183,36 |
71,44 | 157,96 | 164,31 | 169,07 | 173,04 | 180,18 |
76,20 | 156,37 | 162,72 | 167,48 | 170,66 | 178,59 |
82,55 | 153,99 | 159,54 | 164,31 | 167,48 | 174,63 |
88,90 | 150,81 | 155,58 | 160,34 | 163,51 | 171,45 |
5 1/2 H 90 | 57,15 | 170,66 | 177,01 | 182,56 | 187,33 | 195,26 |
63,50 | 169,86 | 176,21 | 181,77 | 185,74 | 194,47 |
71,44 | 168,28 | 174,63 | 180,18 | 184,15 | 192,09 |
76,20 | 166,69 | 173,04 | 178,59 | 182,56 | 190,50 |
82,55 | 165,10 | 170,66 | 177,01 | 180,18 | 188,12 |
88,90 | 161,93 | 168,28 | 173,04 | 176,21 | 184,15 |
6 5/8 H 90 | 63,50 | 192,09 | 199,23 | 205,58 | 210,34 | 219,87 |
71,44 | 190,50 | 198,44 | 204,79 | 208,76 | 218,28 |
76,20 | 189,71 | 197,64 | 203,20 | 207,96 | 217,49 |
82,55 | 188,91 | 196,06 | 201,61 | 206,38 | 215,11 |
88,90 | 186,53 | 193,68 | 199,23 | 203,99 | 212,73 |
7 H 90 | 63,50 | 203,20 | 211,93 | 219,08 | 223,84 | 234,95 |
71,44 | 201,61 | 211,14 | 217,49 | 223,04 | 233,36 |
76,20 | 200,82 | 210,34 | 216,69 | 222,25 | 232,57 |
82,55 | 200,03 | 208,76 | 215,11 | 220,66 | 230,98 |
88,90 | 198,44 | 207,17 | 213,52 | 219,87 | 228,60 |
7 5/8 H 90 | 71,44 | 232,57 | 242,89 | 250,03 | 257,18 | 268,29 |
76,20 | 231,78 | 242,09 | 250,03 | 256,38 | 268,29 |
82,55 | 230,98 | 241,30 | 249,24 | 255,59 | 266,70 |
88,90 | 230,19 | 240,51 | 247,65 | 254,00 | 265,91 |
95,25 | 229,39 | 238,92 | 246,06 | 252,41 | 264,32 |
8 5/8 H 90 | 76,20 | 261,94 | 273,84 | 281,78 | 289,72 | 302,42 |
82,55 | 261,14 | 273,05 | 280,99 | 288,93 | 301,63 |
88,90 | 260,35 | 272,26 | 280,99 | 288,13 | 300,83 |
95,25 | 259,56 | 271,46 | 279,40 | 287,34 | 300,04 |
2 3/8 PAC | 31,75 | 71,04 | 73,42 | 75,41 | 76,99 | 80,17 |
38,10 | 68,66 | 70,64 | 72,63 | 73,82 | 76,99 |
44,45 | 64,29 | 65,88 | 67,47 | 68,26 | 70,64 |
2 7/8 PAC | 31,75 | 77,39 | 80,17 | 82,15 | 84,14 | 87,31 |
38,10 | 75,41 | 77,79 | 79,77 | 81,76 | 84,93 |
44,45 | 72,23 | 74,22 | 76,20 | 77,39 | 80,17 |
3 1/2 PAC | 38,10 | 93,66 | 97,23 | 100,01 | 102,39 | 106,76 |
44,45 | 92,08 | 95,65 | 98,03 | 100,41 | 104,38 |
50,80 | 89,30 | 92,47 | 94,85 | 96,84 | 100,41 |
2 3/8 OH | 31,75 | 85,33 | 88,50 | 90,88 | 92,87 | 96,84 |
38,10 | 84,14 | 86,92 | 89,30 | 91,28 | 94,85 |
44,45 | 81,76 | 84,14 | 86,52 | 88,11 | 91,28 |
2 7/8 OH | 38,10 | 98,03 | 101,60 | 104,78 | 106,76 | 111,13 |
44,45 | 96,44 | 100,01 | 102,79 | 105,17 | 109,14 |
50,80 | 94,06 | 97,63 | 100,01 | 102,00 | 105,97 |
3 1/2 OH | 38,10 | 124,22 | 129,38 | 132,95 | 136,13 | 141,68 |
44,45 | 123,83 | 128,59 | 131,76 | 134,94 | 140,49 |
50,80 | 122,63 | 127,40 | 130,57 | 133,75 | 138,91 |
4 OH | 50,80 | 146,45 | 152,40 | 156,77 | 160,34 | 167,08 |
57,15 | 145,65 | 151,61 | 155,58 | 159,15 | 165,89 |
63,50 | 144,07 | 150,02 | 153,99 | 157,56 | 163,91 |
4 1/2 OH | 82,55 | 150,81 | 156,37 | 160,34 | 163,91 | 170,26 |
88,90 | 147,64 | 152,40 | 156,37 | 159,54 | 165,50 |
95,25 | 143,27 | 147,64 | 150,81 | 153,59 | 159,15 |
<a> Маркировка приведена для информации и помощи при упорядочивании. <b> Небольшие различия между измерениями внутреннего диаметра и значениями внутреннего диаметра, указанными в таблицах, незначительны, поэтому используют внутренний диаметр, указанный в таблице, значение которого является наиболее близким к измеренному внутреннему диаметру. <c> При вычислении коэффициента прочности на изгиб действие разгрузочных деталей не учитывается. |
Таблица C.13
Элеваторная канавка утяжеленной бурильной трубы
и буртик бурильной трубы
| | ИС МЕГАНОРМ: примечание. В официальном тексте документа, видимо, допущена опечатка: сноска <а> в таблице C.13 отсутствует. Возможно, имеется в виду второй абзац примечания таблицы C.13. | |
Размеры в миллиметрах
Длина наружного диаметра утяжеленной бурильной трубы | Глубина канавки под элеватор le <a> | Радиус вершины канавки под элеватор rEG | Длина канавки под элеватор Leg с допуском от +25 до 0 | Глубина канавки клиновой плашки ls <a> | Радиус вершины канавки клиновой плашки rSG | Длина канавки клиновой плашки Lsg с допуском от +50 до 0 |
101,60 до 117,48 | 5,56 | 3,18 | 406,40 | 4,76 | 25,40 | 457,20 |
120,65 до 142,88 | 6,35 | 3,18 | 406,40 | 4,76 | 25,40 | 457,20 |
146,05 до 168,28 | 7,94 | 3,18 | 406,40 | 6,35 | 25,40 | 457,20 |
171,45 до 219,08 | 9,52 | 4,76 | 406,40 | 6,35 | 25,40 | 457,20 |
222,25 и более | 11,11 | 6,35 | 406,40 | 6,35 | 25,40 | 457,20 |
Размеры le и ls взяты из номинального наружного диаметра новой утяжеленной бурильной трубы. |
Таблица C.14
Выступ обратного клапана переводника долота
Размеры в миллиметрах
| Длина узла клапана | Маркировка <b> резьбового упорного соединения | Длина выступа обратного клапана LR +/- 1,6 | Длина выступа отбойной перегородки Lbr | Диаметр выступа обратного клапана DFR с допуском от +0,4 до 0 |
42,07 | 149,22 | 2 3/8 REG | 231,78 | 76,20 | 42,86 |
42,07 | 149,22 | NC23 | 231,78 | 76,20 | 42,86 |
48,42 | 158,75 | 2 7/8 REG | 254,00 | 76,20 | 49,21 |
48,42 | 158,75 | NC26 | 241,30 | 76,20 | 49,21 |
61,12 | 165,10 | 3 1/2 REG | 266,70 | 76,20 | 61,91 |
61,12 | 165,10 | NC31 | 260,35 | 76,20 | 61,91 |
71,44 | 254,00 | 3 1/2 FH | 355,60 | 76,20 | 72,23 |
79,38 | 254,00 | NC38 | 361,95 | 76,20 | 80,17 |
88,11 | 211,14 | 4 1/2 REG | 325,44 | 76,20 | 88,90 |
88,11 | 211,14 | NC44 | 331,79 | 76,20 | 88,90 |
92,87 | 304,80 | NC46 | 425,45 | 76,20 | 93,66 |
98,42 | 247,65 | 5 1/2 REG | 374,65 | 76,20 | 99,22 |
98,42 | 247,65 | NC50 | 368,30 | 76,20 | 99,22 |
121,44 | 298,45 | 6 5/8 REG | 431,80 | 76,20 | 122,24 |
121,44 | 298,45 | 5 1/2 IF | 431,80 | 76,20 | 122,24 |
121,44 | 298,45 | 7 5/8 REG | 438,15 | 76,20 | 122,24 |
121,44 | 298,45 | 5 1/2 FH | 431,80 | 76,20 | 122,24 |
121,44 | 298,45 | 8 5/8 REG | 441,33 | 76,20 | 122,24 |
121,44 | 298,45 | NC61 | 444,50 | 76,20 | 122,24 |
144,46 | 371,48 | 8 5/8 REG | 514,35 | 76,20 | 145,26 |
144,46 | 371,48 | 6 5/8 IF | 504,82 | 76,20 | 145,26 |
<a> Внутренний диаметр утяжеленной бурильной трубы или проводника и внутренний диаметр ниппеля бурильного долота должны быть достаточно малы для удержания клапана. <b> Маркировки приведены для информации и помощи при упорядочивании. |
Таблица C.15
Диаметры переводников (бывших в употреблении) долота
и диаметр упорного торца резьбы
Размеры в миллиметрах
Маркировка соединения <a> | Диаметр переводника долота | Диаметр долота |
Не менее | | Не менее | |
1 REG | 36,88 | 37,69 | 37,69 | 38,51 |
1 1/2 REG | 48,67 | 49,48 | 49,48 | 50,27 |
2 3/8 REG | 76,99 | 77,80 | 77,77 | 78,59 |
2 7/8 REG | 91,28 | 92,08 | 92,08 | 84,93 |
3 1/2 REG | 103,98 | 104,78 | 104,78 | 105,57 |
4 1/2 REG | 134,94 | 135,73 | 135,73 | 136,52 |
5 1/2 REG | 164,70 | 165,50 | 165,50 | 180,18 |
6 5/8 REG | 186,53 | 187,32 | 187,32 | 188,12 |
7 5/8 REG | 214,71 | 215,50 | 215,50 | 216,30 |
8 5/8 REG | 242,09 | 242,89 | 242,89 | 243,68 |
<a> Маркировки приведены для информации и помощи при упорядочивании. <b> Максимальный диаметр упорного торца резьбы используется для соединений, перешлифованных на скважине. Они не должны использоваться для новых продуктов. |
Таблица C.16
Критерии АНИ для соединения высаженных концов труб
спусковой колонны
Размеры в миллиметрах
| Длина Lc | Длина стыковки чистой резьбы | Максимальная закрепленная на станке структура | Минимальная закрепленная на станке структура | Минимальная длина стыковки |
1,050 | 7,62 | 26,04 | 46,36 | 59,06 | 82,55 |
1,315 | 8,89 | 29,21 | 49,53 | 62,23 | 89,90 |
1,660 | 12,07 | 32,39 | 52,71 | 65,40 | 95,25 |
1,900 | 13,67 | 33,99 | 54,30 | 67,00 | 98,42 |
2 3/8 | 23,83 | 46,05 | 68,28 | 80,98 | 123,82 |
2 7/8 | 28,58 | 50,80 | 73,02 | 85,72 | 133,35 |
3 1/2 | 34,93 | 57,15 | 79,38 | 92,08 | 146,05 |
4 | 38,10 | 60,33 | 82,55 | 95,25 | 152,40 |
4 1/2 | 41,28 | 63,50 | 85,72 | 98,42 | 158,75 |
<a> Маркировки приведены для информации и помощи при упорядочивании. |
Таблица C.17
Масса на метр бурильного замка для различных комбинаций
наружного и внутреннего диаметров
Размеры в килограммах/метр,
если не предусмотрено иначе
Наружный диаметр, мм | Масса на метр бурильного замка на внутреннем диаметре, мм |
3,5 | 3,8 | 4,1 | 4,4 | 4,8 | 5,1 | 5,4 | 5,7 | 5,5 | 6,2 | 6,4 | 6,5 | 6,7 | 6,8 | 7,0 | 7,1 | 7,3 | 7,6 | 8,3 | 8,7 | 8,8 | 8,9 | 9,2 | 9,5 | 10,2 | 12,1 | 12,7 |
7,3 | 25 | 24 | 22 | - | - | - | - | - | - | - | - | - | - | - | - | - | - | - | - | - | - | - | - | - | - | - | - |
7,9 | 31 | 30 | 28 | 27 | 25 | 23 | 21 | 19 | - | - | - | - | - | - | - | - | - | - | - | - | - | - | - | - | - | - | - |
8,6 | 38 | 36 | 35 | 33 | 31 | 29 | 27 | 25 | - | - | - | - | - | - | - | - | - | - | - | - | - | - | - | - | - | - | - |
8,3 | 34 | 33 | 31 | 30 | 28 | 26 | 24 | 22 | 23 | - | - | - | - | - | - | - | - | - | - | - | - | - | - | - | - | - | - |
9,5 | 48 | 47 | 45 | 44 | 42 | 40 | 38 | 36 | 37 | 32 | 31 | 30 | 28 | 27 | 26 | 24 | 23 | 20 | 14 | 9 | - | - | - | - | - | - | - |
9,8 | - | - | - | 47 | 46 | 44 | 42 | 40 | 41 | 36 | 35 | 34 | 32 | 31 | 30 | 28 | 27 | 24 | 18 | 13 | - | - | - | - | - | - | - |
10,2 | - | - | - | 51 | 50 | 48 | 46 | 43 | 45 | 40 | 39 | 37 | 36 | 35 | 34 | 32 | 31 | 28 | 22 | 17 | - | - | - | - | - | - | - |
10,5 | - | - | - | - | - | 52 | 50 | 47 | 49 | 44 | 43 | 42 | 40 | 39 | 38 | 36 | 35 | 32 | 26 | 21 | - | - | - | - | - | - | - |
10,8 | - | - | - | - | - | 56 | 54 | 52 | 53 | 48 | 47 | 46 | 44 | 43 | 42 | 40 | 39 | 36 | 30 | 25 | - | - | - | - | - | - | - |
11,1 | - | - | - | - | - | 60 | 58 | 56 | 58 | 52 | 51 | 50 | 49 | 47 | 46 | 45 | 43 | 40 | 34 | 29 | - | - | - | - | - | - | - |
11,4 | - | - | - | - | - | 65 | 63 | 60 | 62 | 57 | 56 | 54 | 53 | 52 | 50 | 49 | 48 | 45 | 38 | 34 | - | - | - | - | - | - | - |
11,7 | - | - | - | - | - | 69 | 67 | 65 | 67 | 61 | 60 | 59 | 58 | 56 | 55 | 54 | 52 | 49 | 43 | 38 | - | - | - | - | - | - | - |
12,1 | - | - | - | - | - | 74 | 72 | 70 | 71 | 66 | 65 | 64 | 62 | 61 | 60 | 58 | 57 | 54 | 48 | 43 | 42 | - | - | - | - | - | - |
12,4 | - | - | - | - | - | 79 | 76 | 74 | 76 | 71 | 70 | 68 | 67 | 66 | 64 | 63 | 62 | 59 | 52 | 47 | 47 | - | - | - | - | - | - |
12,7 | - | - | - | - | - | 83 | 81 | 79 | 81 | 76 | 74 | 73 | 72 | 71 | 69 | 68 | 66 | 64 | 57 | 52 | 52 | - | - | - | - | - | - |
13,0 | - | - | - | - | - | - | - | - | 86 | 81 | 80 | 78 | 77 | 76 | 74 | 73 | 72 | 69 | 62 | 57 | 57 | - | - | - | - | - | - |
13,3 | - | - | - | - | - | - | - | - | 91 | 86 | 85 | 83 | 82 | 81 | 79 | 78 | 77 | 74 | 68 | 63 | 62 | - | - | - | - | - | - |
13,7 | - | - | - | - | - | - | - | - | 96 | 91 | 90 | 89 | 87 | 86 | 85 | 83 | 82 | 79 | 73 | 68 | 67 | - | - | - | - | - | - |
14,0 | - | - | - | - | - | - | - | - | - | 97 | 95 | 91 | 93 | 91 | 90 | 89 | 87 | 84 | 78 | 73 | 72 | - | - | - | - | - | - |
14,3 | - | - | - | - | - | - | - | - | - | 102 | 101 | 100 | 98 | 97 | 96 | 94 | 93 | 90 | 84 | 79 | 78 | - | - | - | - | - | - |
14,6 | - | - | - | - | - | - | - | - | - | 108 | 107 | 105 | 104 | 103 | 101 | 100 | 99 | 96 | 89 | 84 | 84 | 83 | 79 | - | - | - | - |
14,9 | - | - | - | - | - | - | - | - | - | 114 | 112 | 111 | 110 | 108 | 107 | 106 | 104 | 101 | 95 | 90 | 89 | 88 | 85 | - | - | - | - |
15,2 | - | - | - | - | - | - | - | - | - | 119 | 118 | 117 | 116 | 114 | 113 | 112 | 110 | 107 | 101 | 96 | 95 | 94 | 91 | - | - | - | - |
15,6 | - | - | - | - | - | - | - | - | - | 125 | 124 | 123 | 122 | 120 | 119 | 118 | 116 | 113 | 107 | 102 | 104 | 100 | 97 | 93 | - | - | - |
15,9 | - | - | - | - | - | - | - | - | - | 132 | 130 | 129 | 128 | 126 | 125 | 124 | 122 | 119 | 113 | 108 | 107 | 107 | 103 | 99 | - | - | - |
16,2 | - | - | - | - | - | - | - | - | - | 138 | 137 | 135 | 134 | 133 | 131 | 130 | 129 | 126 | 119 | 115 | 114 | 113 | 109 | 106 | - | - | - |
16,5 | - | - | - | - | - | - | - | - | - | 144 | 143 | 142 | 140 | 139 | 138 | 136 | 135 | 132 | 126 | 121 | 120 | 119 | 116 | 112 | - | - | - |
16,8 | - | - | - | - | - | - | - | - | - | 151 | 150 | 148 | 147 | 146 | 144 | 143 | 142 | 139 | 132 | 127 | 127 | 126 | 122 | 118 | - | - | - |
17,1 | - | - | - | - | - | - | - | - | - | 157 | 156 | 155 | 154 | 152 | 151 | 150 | 148 | 145 | 139 | 134 | 133 | 132 | 129 | 125 | - | - | - |
17,5 | - | - | - | - | - | - | - | - | - | 164 | 163 | 162 | 160 | 159 | 158 | 156 | 155 | 152 | 146 | 141 | 140 | 139 | 136 | 132 | - | - | - |
17,8 | - | - | - | - | - | - | - | - | - | 171 | 170 | 169 | 167 | 166 | 165 | 163 | 162 | 159 | 153 | 148 | 147 | 146 | 142 | 139 | - | - | - |
18,1 | - | - | - | - | - | - | - | - | - | 178 | 177 | 176 | 174 | 173 | 172 | 170 | 169 | 166 | 160 | 155 | 154 | 153 | 149 | 146 | - | - | - |
18,4 | - | - | - | - | - | - | - | - | - | 185 | 184 | 183 | 181 | 180 | 179 | 177 | 176 | 173 | 167 | 162 | 161 | 160 | 157 | 153 | - | - | - |
18,7 | - | - | - | - | - | - | - | - | - | 192 | 191 | 190 | 189 | 187 | 186 | 185 | 183 | 180 | 174 | 169 | 168 | 167 | 164 | 160 | - | - | - |
19,1 | - | - | - | - | - | - | - | - | - | 200 | 199 | 197 | 196 | 195 | 193 | 192 | 191 | 188 | 182 | 177 | 176 | 175 | 171 | 168 | 160 | 134 | - |
19,4 | - | - | - | - | - | - | - | - | - | 207 | 206 | 205 | 204 | 202 | 201 | 200 | 198 | 195 | 189 | 184 | 183 | 182 | 179 | 175 | 167 | 141 | - |
19,7 | - | - | - | - | - | - | - | - | - | 215 | 214 | 213 | 211 | 210 | 209 | 207 | 206 | 203 | 197 | 192 | 191 | 190 | 186 | 183 | 175 | 149 | - |
20,0 | - | - | - | - | - | - | - | - | - | 223 | 222 | 220 | 219 | 218 | 216 | 215 | 214 | 211 | 204 | 199 | 199 | 198 | 194 | 191 | 183 | 157 | - |
20,3 | - | - | - | - | - | - | - | - | - | - | - | - | - | - | - | - | - | - | - | - | - | 206 | 202 | 198 | 191 | 165 | 155 |
20,6 | - | - | - | - | - | - | - | - | - | - | - | - | - | - | - | - | - | - | - | - | - | - | - | 206 | 199 | 173 | 163 |
21,0 | - | - | - | - | - | - | - | - | - | - | - | - | - | - | - | - | - | - | - | - | - | - | - | 215 | 207 | 181 | 171 |
21,3 | - | - | - | - | - | - | - | - | - | - | - | - | - | - | - | - | - | - | - | - | - | - | - | - | 215 | 189 | 179 |
21,6 | - | - | - | - | - | - | - | - | - | - | - | - | - | - | - | - | - | - | - | - | - | - | - | - | 223 | 197 | 188 |
Таблица C.18
Масса на метр утяжеленной бурильной трубы для различных
комбинаций наружного и внутреннего диаметров
Размеры в килограммах/метр,
если не предусмотрено другое
Наружный диаметр, мм | Масса на метр утяжеленной бурильной трубы на внутреннем диаметре, мм |
2,5 | 3,2 | 3,8 | 4,4 | 5,1 | 5,7 | 6,4 | 7,1 | 7,6 | 8,3 | 8,9 | 9,5 | 10,2 |
7,3 | 29 | 27 | 24 | - | - | - | - | - | - | - | - | - | - |
7,6 | 32 | 30 | 27 | - | - | - | - | - | - | - | - | - | - |
7,9 | 35 | 33 | 30 | - | - | - | - | - | - | - | - | - | - |
8,3 | 38 | 36 | 33 | - | - | - | - | - | - | - | - | - | - |
9,5 | 52 | 50 | 47 | - | - | - | - | - | - | - | - | - | - |
8,9 | 45 | 42 | 40 | - | - | - | - | - | - | - | - | - | - |
9,2 | 48 | 46 | 43 | - | - | - | - | - | - | - | - | - | - |
9,5 | 52 | 50 | 47 | - | - | - | - | - | - | - | - | - | - |
9,8 | 56 | 53 | 51 | - | - | - | - | - | - | - | - | - | - |
10,2 | 60 | 57 | 55 | 51 | 48 | 43 | - | - | - | - | - | - | - |
10,5 | 64 | 61 | 59 | 55 | 52 | 47 | - | - | - | - | - | - | - |
10,8 | 68 | 66 | 63 | 60 | 56 | 52 | - | - | - | - | - | - | - |
11,1 | 72 | 70 | 67 | 64 | 60 | 56 | - | - | - | - | - | - | - |
11,4 | 76 | 74 | 72 | 68 | 65 | 60 | - | - | - | - | - | - | - |
11,7 | - | - | 76 | 73 | 69 | 65 | - | - | - | - | - | - | - |
12,1 | - | - | 81 | 77 | 74 | 70 | 65 | - | - | - | - | - | - |
12,4 | - | - | 85 | 82 | 79 | 74 | 70 | - | - | - | - | - | - |
12,7 | - | - | 90 | 87 | 83 | 79 | 74 | - | - | - | - | - | - |
13,0 | - | - | 95 | 92 | 88 | 84 | 80 | - | - | - | - | - | - |
13,3 | - | - | 101 | 97 | 94 | 89 | 85 | - | - | - | - | - | - |
13,7 | - | - | 106 | 103 | 99 | 95 | 90 | - | - | - | - | - | - |
14,0 | - | - | 111 | 108 | 104 | 100 | 95 | 89 | - | - | - | - | - |
14,3 | - | - | 117 | 114 | 110 | 106 | 101 | 94 | - | - | - | - | - |
14,6 | - | - | 122 | 119 | 115 | 111 | 107 | 100 | 96 | 89 | - | - | - |
14,9 | - | - | 128 | 125 | 121 | 117 | 112 | 106 | 101 | 95 | - | - | - |
15,2 | - | - | 134 | 131 | 127 | 123 | 118 | 112 | 107 | 101 | - | - | - |
15,6 | - | - | 140 | 137 | 133 | 129 | 124 | 118 | 113 | 107 | - | - | - |
15,9 | - | - | 146 | 143 | 139 | 135 | 130 | 124 | 119 | 113 | 107 | - | - |
16,2 | - | - | 153 | 149 | 146 | 141 | 137 | 130 | 126 | 119 | 113 | - | - |
16,5 | - | - | 159 | 156 | 152 | 148 | 143 | 136 | 132 | 126 | 119 | - | - |
16,8 | - | - | 165 | 162 | 158 | 154 | 150 | 143 | 139 | 132 | 126 | - | - |
17,1 | - | - | 172 | 169 | 165 | 161 | 156 | 150 | 145 | 139 | 132 | - | - |
17,5 | - | - | 179 | 176 | 172 | 168 | 163 | 156 | 152 | 146 | 139 | - | - |
17,8 | - | - | 186 | 182 | 179 | 175 | 170 | 163 | 159 | 153 | 146 | 139 | 131 |
18,1 | - | - | 193 | 190 | 186 | 182 | 177 | 170 | 166 | 160 | 153 | 146 | 138 |
18,4 | - | - | 200 | 197 | 193 | 189 | 184 | 177 | 173 | 167 | 160 | 153 | 145 |
18,7 | - | - | 207 | 204 | 200 | 196 | 191 | 185 | 180 | 174 | 167 | 160 | 153 |
19,1 | - | - | 215 | 211 | 208 | 203 | 199 | 192 | 188 | 182 | 175 | 168 | 160 |
19,4 | - | - | 222 | 219 | 215 | 211 | 206 | 200 | 195 | 189 | 182 | 175 | 167 |
19,7 | - | - | 230 | 226 | 223 | 218 | 214 | 207 | 203 | 197 | 190 | 183 | 175 |
20,0 | - | - | 237 | 234 | 230 | 226 | 222 | 215 | 211 | 204 | 198 | 191 | 183 |
20,3 | - | - | 245 | 242 | 238 | 234 | 229 | 223 | 218 | 212 | 206 | 198 | 191 |
20,6 | - | - | 253 | 250 | 246 | 242 | 237 | 231 | 227 | 220 | 214 | 206 | 199 |
21,0 | - | - | 261 | 258 | 255 | 250 | 246 | 239 | 235 | 228 | 222 | 215 | 207 |
21,3 | - | - | 270 | 266 | 263 | 259 | 254 | 247 | 243 | 237 | 230 | 223 | 215 |
21,6 | - | - | 278 | 275 | 271 | 267 | 262 | 256 | 251 | 245 | 238 | 231 | 223 |
22,9 | - | - | 313 | 310 | 306 | 302 | 297 | 290 | 286 | 280 | 273 | 266 | 258 |
23,5 | - | - | 331 | 328 | 324 | 320 | 315 | 308 | 304 | 298 | 291 | 284 | 276 |
24,1 | - | - | 350 | 346 | 343 | 338 | 334 | 327 | 323 | 317 | 310 | 303 | 295 |
24,8 | - | - | 369 | 365 | 362 | 358 | 353 | 346 | 342 | 336 | 329 | 322 | 314 |
25,4 | - | - | 388 | 385 | 381 | 377 | 372 | 366 | 362 | 355 | 349 | 341 | 334 |
26,7 | - | - | 429 | 426 | 422 | 418 | 413 | 407 | 402 | 396 | 389 | 382 | 374 |
27,9 | - | - | 472 | 469 | 465 | 461 | 456 | 449 | 445 | 439 | 432 | 425 | 417 |
29,2 | - | - | 516 | 513 | 510 | 505 | 501 | 494 | 490 | 483 | 477 | 470 | 462 |
30,5 | - | - | 563 | 560 | 556 | 552 | 547 | 541 | 536 | 530 | 523 | 516 | 509 |
(обязательное)
ЕДИНИЦЫ АМЕРИКАНСКОЙ СИСТЕМЫ ИЗМЕРЕНИЙ
Таблица D.1
Продольная намагничивающая сила для проведения
контроля/осмотра внутреннего диаметра
| Наружный диаметр, дюйм | Ампер-витки | Минимальная магнитная индукция в воздухе в центре катушки |
Внутренний диаметр катушки, равный 8 дюймам | Внутренний диаметр катушки, равный 10 дюймам |
2 3/8 | 2 3/8 | 6400 | 7400 | 270 |
2 7/8 | 2 7/8 | 6700 | 7800 | 285 |
3 1/2 | 3 1/2 | 7200 | 8300 | 305 |
4 | 4 | 7600 | 8700 | 320 |
4 1/2 | 4 1/2 | 7900 | 9100 | 335 |
5 | 5 | 8200 | 9600 | 350 |
5 1/2 | 5 1/2 | 8600 | 10 000 | 365 |
6 5/8 | 6 5/8 | N/A | 10 900 | 400 |
<a> Индексы приведены для информации и помощи при упорядочивании. |
Таблица D.2
Минимальная величина тока намагничивания
при помощи внутреннего проводника
Частота импульсов | Тип блока электропитания | |
| Батарея, ампер на дюйм | Трехфазовый выпрямленный переменный ток, ампер на дюйм | ампер/фунт/фут |
Один | 300 | 300 | 240 |
Два | Нет данных | Нет данных | 180 |
Три | Нет данных | Нет данных | 145 |
<a> Для определения требуемой силы тока умножают значение колонки 4 на линейную массу трубы, выраженную в фунтах на фут. |
Таблица D.3
Скомпенсированные длины резьбы и размер точки контакта
для измерения шага резьбы, параллельного конической насадке
Резьба на дюйм | Шаг резьбы | Скос, дюйм/дюйм | Размер точки контакта измерения шага резьбы с допуском от +0,002 до -0,002 дюйма | Длина резьбы (параллельная резьбовой оси) <a>, дюйм | Скомпенсированная длина (параллельная конической насадке) <a>, дюйм |
5 | 0,200 | 1/6 | 0,115 | 1 | 1,003 47 |
5 | 0,200 | 1/4 | 0,115 | 1 | 1,007 78 |
4 | 0,250 | 1/8 | 0,144 | 1 | 1,001 95 |
4 | 0,250 | 1/6 | 0,144 | 1 | 1,003 47 |
4 | 0,250 | 1/4 | 0,144 | 1 | 1,007 78 |
3,5 | 0,285 71 | 1/6 | 0,202 | 2 | 2,006 93 |
3,5 | 0,285 71 | 1/4 | 0,202 | 2 | 2,015 56 |
3 | 0,333 3 | 5/48 | 0,236 | 1 | 1,001 36 |
<a> Длина резьбы параллельна длине резьбы; скомпенсированная длина резьбы, параллельная конической насадке, используется для измерений. |
Таблица D.4
Размерные значения классификации бурильных труб
| | Код массы трубы на единицу длины <b> | Наружный диаметр, дюйм | Номинальная линейная масса, фунт/фут | Номинальная стена, дюйм | Остаточная стенка в процентном соотношении, дюйм | Увеличение наружного диаметра в процентном соотношении, дюйм | Уменьшение наружного диаметра в процентном соотношении, дюйм |
80% | 70% | 4% | 3% | 3% | 4% |
2 3/8 | 4,85 | 1 | 2,375 | 4,85 | 0,190 | 0,152 | 0,133 | 2,470 | 2,446 | 2,304 | 2,280 |
2 3/8 | 6,65 | 2 | 2,375 | 6,65 | 0,280 | 0,224 | 0,196 | 2,470 | 2,446 | 2,304 | 2,280 |
2 7/8 | 6,85 | 1 | 2,875 | 6,85 | 0,217 | 0,174 | 0,152 | 2,990 | 2,961 | 2,789 | 2,760 |
2 7/8 | 10,40 | 2 | 2,875 | 10,40 | 0,362 | 0,290 | 0,253 | 2,990 | 2,961 | 2,789 | 2,760 |
3 1/2 | 9,50 | 1 | 3,500 | 9,50 | 0,254 | 0,203 | 0,178 | 3,640 | 3,605 | 3,395 | 3,360 |
3 1/2 | 13,30 | 2 | 3,500 | 13,30 | 0,368 | 0,294 | 0,258 | 3,640 | 3,605 | 3,395 | 3,360 |
3 1/2 | 15,50 | 3 | 3,500 | 15,50 | 0,449 | 0,359 | 0,314 | 3,640 | 3,605 | 3,395 | 3,360 |
4 | 11,85 | 1 | 4,000 | 11,85 | 0,262 | 0,210 | 0,183 | 4,160 | 4,120 | 3,880 | 3,840 |
4 | 14,00 | 2 | 4,000 | 14,00 | 0,330 | 0,264 | 0,231 | 4,160 | 4,120 | 3,880 | 3,840 |
4 | 15,70 | 3 | 4,000 | 15,70 | 0,380 | 0,304 | 0,266 | 4,160 | 4,120 | 3,880 | 3,840 |
4 1/2 | 13,75 | 1 | 4,500 | 13,75 | 0,271 | 0,217 | 0,190 | 4,680 | 4,635 | 4,365 | 4,320 |
4 1/2 | 16,60 | 2 | 4,500 | 16,60 | 0,337 | 0,270 | 0,236 | 4,680 | 4,635 | 4,365 | 4,320 |
4 1/2 | 20,00 | 3 | 4,500 | 20,00 | 0,430 | 0,344 | 0,301 | 4,680 | 4,635 | 4,365 | 4,320 |
4 1/2 | 22,82 | 4 | 4,500 | 22,82 | 0,500 | 0,400 | 0,350 | 4,680 | 4,635 | 4,365 | 4,320 |
4 1/2 | 24,66 | 5 | 4,500 | 24,66 | 0,550 | 0,440 | 0,385 | 4,680 | 4,635 | 4,365 | 4,320 |
4 1/2 | 25,50 | 6 | 4,500 | 25,50 | 0,575 | 0,460 | 0,402 | 4,680 | 4,635 | 4,365 | 4,320 |
5 | 16,25 | 1 | 5,000 | 16,25 | 0,296 | 0,237 | 0,207 | 5,200 | 5,150 | 4,850 | 4,800 |
5 | 19,50 | 2 | 5,000 | 19,50 | 0,362 | 0,290 | 0,253 | 5,200 | 5,150 | 4,850 | 4,800 |
5 | 25,60 | 3 | 5,000 | 25,60 | 0,500 | 0,400 | 0,350 | 5,200 | 5,150 | 4,850 | 4,800 |
5 1/2 | 19,20 | 1 | 5,500 | 19,20 | 0,304 | 0,243 | 0,213 | 5,720 | 5,665 | 5,335 | 5,280 |
5 1/2 | 21,90 | 2 | 5,500 | 21,90 | 0,361 | 0,289 | 0,253 | 5,720 | 5,665 | 5,335 | 5,280 |
5 1/2 | 24,70 | 3 | 5,500 | 24,70 | 0,415 | 0,332 | 0,290 | 5,720 | 5,665 | 5,335 | 5,280 |
6 5/8 | 25,20 | 2 | 6,625 | 25,20 | 0,330 | 0,264 | 0,231 | 6,890 | 6,824 | 6,426 | 6,360 |
6 5/8 | 27,70 | 3 | 6,625 | 27,70 | 0,362 | 0,290 | 0,253 | 6,890 | 6,824 | 6,426 | 6,360 |
<a> Маркировки приведены для информации и помощи при упорядочивании. <b> Код массы трубы на единицу длины 2 определяет стандартную массу для данного размера трубы. |
Таблица D.5
Размерные значения классификации спусковых колонн
| | Наружный диаметр, дюйм | Номинальная линейная масса, фунт/фут | Номинальная стена, дюйм | Остаточная стенка в процентном соотношении, дюйм | Максимальное увеличение наружного диаметра в процентном соотношении, дюйм | Максимальное уменьшение наружного диаметра в процентном соотношении, дюйм |
87,5% | 80% | 70% | 4% | 3% | 2% | 2% | 3% | 4% |
1,050 | 1,20 | 1,050 | 1,20 | 0,113 | 0,099 | 0,090 | 0,079 | 1,092 | 1,082 | 1071 | 1,029 | 1,018 | 1,008 |
1,050 | 1,50 | 1,050 | 1,50 | 0,154 | 0,135 | 0,123 | 0,108 | 1,092 | 1,082 | 1071 | 1,029 | 1,018 | 1,008 |
1,315 | 1,80 | 1,315 | 1,80 | 0,133 | 0,116 | 0,106 | 0,093 | 1,368 | 1,354 | 1,341 | 1,289 | 1,276 | 1,262 |
1,315 | 2,25 | 1,315 | 2,25 | 0,179 | 0,157 | 0,143 | 0,125 | 1,368 | 1,354 | 1,341 | 1,289 | 1,276 | 1,262 |
1,660 | 2,40 | 1,660 | 2,40 | 0,140 | 0,122 | 0,112 | 0,098 | 1,726 | 1,710 | 1,693 | 1,627 | 1,610 | 1,594 |
1,660 | 3,02 | 1,660 | 3,02 | 0,191 | 0,167 | 0,153 | 0,134 | 1,726 | 1,710 | 1,693 | 1,627 | 1,610 | 1,594 |
1,660 | 3,24 | 1,660 | 3,24 | 0,198 | 0,173 | 0,158 | 0,139 | 1,726 | 1,710 | 1,693 | 1,627 | 1,610 | 1,594 |
1,900 | 2,90 | 1,900 | 2,90 | 0,145 | 0,127 | 0,116 | 0,102 | 1,976 | 1,957 | 1,938 | 1,862 | 1,843 | 1,824 |
1,900 | 3,64 | 1,900 | 3,64 | 0,200 | 0,175 | 0,160 | 0,140 | 1,976 | 1,957 | 1,938 | 1,862 | 1,843 | 1,824 |
1,900 | 4,19 | 1,900 | 4,19 | 0,219 | 0,192 | 0,175 | 0,153 | 1,976 | 1,957 | 1,938 | 1,862 | 1,843 | 1,824 |
2,063 | 3,25 | 2,063 | 3,25 | 0,156 | 0,136 | 0,125 | 0,109 | 2,146 | 2,125 | 2,104 | 2,022 | 2,001 | 1,980 |
2,063 | 4,50 | 2,063 | 4,50 | 0,225 | 0,197 | 0,180 | 0,157 5 | 2,146 | 2,125 | 2,104 | 2,022 | 2,001 | 1,980 |
2 3/8 | 4,70 | 2 3/8 | 4,70 | 0,190 | 0,166 | 0,152 | 0,133 | 2,470 | 2,446 | 2,422 | 2,328 | 2,304 | 2,280 |
2 3/8 | 5,30 | 2 3/8 | 5,30 | 0,218 | 0,191 | 0,174 | 0,153 | 2,470 | 2,446 | 2,422 | 2,328 | 2,304 | 2,280 |
2 3/8 | 5,95 | 2 3/8 | 5,95 | 0,254 | 0,222 | 0,203 | 0,178 | 2,470 | 2,446 | 2,422 | 2,328 | 2,304 | 2,280 |
2 3/8 | 7,70 | 2 3/8 | 7,70 | 0,336 | 0,294 | 0,269 | 0,236 | 2,470 | 2,446 | 2,422 | 2,328 | 2,304 | 2,280 |
2 7/8 | 6,50 | 2 7/8 | 6,50 | 0,217 | 0,190 | 0,174 | 0,152 | 2,990 | 2,961 | 2,933 | 2,818 | 2,789 | 2,760 |
2 7/8 | 7,90 | 2 7/8 | 7,90 | 0,276 | 0,242 | 0,221 | 0,193 | 2,990 | 2,961 | 2,933 | 2,818 | 2,789 | 2,760 |
2 7/8 | 8,70 | 2 7/8 | 8,70 | 0,308 | 0,270 | 0,246 | 0,216 | 2,990 | 2,961 | 2,933 | 2,818 | 2,789 | 2,760 |
2 7/8 | 9,50 | 2 7/8 | 9,50 | 0,340 | 0,296 | 0,272 | 0,238 | 2,990 | 2,961 | 2,933 | 2,818 | 2,789 | 2,760 |
2 7/8 | 10,70 | 2 7/8 | 10,70 | 0,392 | 0,343 | 0,314 | 0,274 | 2,990 | 2,961 | 2,933 | 2,818 | 2,789 | 2,760 |
2 7/8 | 11,00 | 2 7/8 | 11,00 | 0,405 | 0,354 | 0,324 | 0,284 | 2,990 | 2,961 | 2,933 | 2,818 | 2,789 | 2,760 |
3 1/2 | 9,30 | 3 1/2 | 9,30 | 0,254 | 0,222 | 0,203 | 0,178 | 3,640 | 3,605 | 3,570 | 3,430 | 3,395 | 3,360 |
3 1/2 | 12,80 | 3 1/2 | 12,80 | 0,368 | 0,322 | 0,294 | 0,258 | 3,640 | 3,605 | 3,570 | 3,430 | 3,395 | 3,360 |
3 1/2 | 12,95 | 3 1/2 | 12,95 | 0,375 | 0,328 | 0,300 | 0,262 | 3,640 | 3,605 | 3,570 | 3,430 | 3,395 | 3,360 |
3 1/2 | 15,80 | 3 1/2 | 15,80 | 0,476 | 0,416 | 0,381 | 0,333 | 3,640 | 3,605 | 3,570 | 3,430 | 3,395 | 3,360 |
3 1/2 | 16,70 | 3 1/2 | 16,70 | 0,510 | 0,446 | 0,408 | 0,357 | 3,640 | 3,605 | 3,570 | 3,430 | 3,395 | 3,360 |
4 1/2 | 15,50 | 4 1/2 | 15,50 | 0,337 | 0,295 | 0,267 | 0,236 | 4,680 | 4,635 | 4,590 | 4,410 | 4,365 | 4,320 |
4 1/2 | 19,20 | 4 1/2 | 19,20 | 0,430 | 0,376 | 0,344 | 0,301 | 4,680 | 4,635 | 4,590 | 4,410 | 4,365 | 4,320 |
<a> Маркировки приведены для информации и помощи при упорядочивании. |
Таблица D.6
Характеристики бурильного замка, бывшего в употреблении
Характеристики трубы | Премиум-класс | Второй класс |
| | Наружный диаметр новой трубы, дюйм | Номинальная линейная масса, фунт/фут | Сортамент труб | Маркировка <a> соединения бурильного замка | Минимальный наружный диаметр бурильного замка Dtj, дюйм | Максимальный внутренний диаметр бурильного замка dtj, дюйм | Внецентровой износ минимальной ширины буртика замковой муфты Sw, дюйм | Минимальный наружный диаметр бурильного замка Dtj, дюйм | Максимальный внутренний диаметр бурильного замка dtj, дюйм | Внецентровой износ минимальной ширины буртика замковой муфты Sw, дюйм |
2 3/8 | 4,85 | 2 3/8 | 4,85 | E75 | NC26 | 3 1/8 | 1 31/32 | 3/64 | 3 3/32 | 2 1/16 | 1/32 |
WO | 3 1/16 | 2 1/8 | 1/16 | 3 1/32 | 2 5/32 | 3/64 |
23/8 OHLW | 3 | 2 3/32 | 1/16 | 2 31/32 | 2 5/32 | 3/64 |
2 3/8 SL-H90 | 2 31/32 | 2 3/16 | 1/16 | 2 15/16 | 2 7/32 | 3/64 |
2 3/8 | 6,65 | 2 3/8 | 6,65 | E75 | 2 3/8 PAC | 2 25/32 | 1 3/8 | 9/64 | 2 23/32 | 1 19/32 | 7/64 |
NC26 | 3 3/16 | 2 3/32 | 5/64 | 3 5/32 | 2 5/32 | 1/16 |
2 3/8 SL-H90 | 3 1/32 | 2 3/32 | 3/32 | 2 31/32 | 2 5/32 | 1/16 |
2 3/8 OHSW | 3 1/16 | 2 1/16 | 3/32 | 3 1/32 | 2 1/8 | 5/64 |
X95 | NC26 | 3 1/4 | 2 | 7/64 | 3 7/32 | 2 3/32 | 3/32 |
G105 | NC26 | 3 9/32 | 1 15/16 | 1/8 | 3 1/4 | 2 1/32 | 7/64 |
2 7/8 | 6,85 | 2 7/8 | 6,85 | E75 | NC31 | 3 11/16 | 2 17/32 | 5/64 | 3 21/32 | 2 11/16 | 1/16 |
2 7/8 WO | 3 5/8 | 2 19/32 | 5/64 | 3 19/32 | 2 21/32 | 1/16 |
2 7/8 OHLW | 3 1/2 | 2 7/16 | 7/64 | 3 7/16 | 2 1/2 | 5/64 |
2 7/8 SL-H90 | 3 1/2 | 2 19/32 | 3/32 | 3 7/16 | 2 5/8 | 1/16 |
2 7/8 | 10,40 | 2 7/8 | 10,40 | E75 | NC31 | 3 13/16 | 2 1/2 | 9/64 | 3 3/4 | 2 19/32 | 7/64 |
2 7/8 XH | 3 23/32 | 2 13/32 | 9/64 | 3 21/32 | 2 1/2 | 7/64 |
NC26 | 3 3/8 | 1 23/32 | 11/64 | 3 11/32 | 1 27/32 | 5/32 |
2 7/8 OHSW | 3 19/32 | 2 9/32 | 5/32 | 3 9/16 | 2 3/8 | 7/64 |
2 7/8 SL H90 | 3 19/32 | 2 15/32 | 9/64 | 3 17/32 | 2 17/32 | 7/64 |
2 7/8 PAC | 3 1/8 | 1 7/32 | 15/64 | 3 1/8 | 1 13/32 | 15/64 |
X95 | NC31 | 3 29/32 | 2 5/16 | 3/16 | 3 27/32 | 2 7/16 | 5/32 |
2 7/8 SL-H90 | 3 11/16 | 2 5/16 | 3/16 | 3 5/8 | 2 13/32 | 5/32 |
G105 | NC31 | 3 15/16 | 2 1/4 | 13/64 | 3 7/8 | 2 3/8 | 11/64 |
S135 | NC31 | 4 1/16 | 2 1/32 | 17/64 | 4 | 2 13/16 | 15/64 |
3 1/2 | 9,50 | 3 1/2 | 9,50 | E75 | NC38 | 4 13/32 | 3 3/16 | 1/8 | 4 11/32 | 2 1/4 | 3/32 |
3 1/2 OHLW | 4 9/32 | 3 3/32 | 1/8 | 4 1/4 | 3 5/32 | 7/64 |
3 1/2 SL-H90 | 4 3/16 | 3 5/32 | 7/64 | 4 5/32 | 3 3/16 | 3/32 |
3 1/2 | 13,30 | 3 1/2 | 13,3 | E75 | NC38 | 4 1/2 | 3 1/16 | 11/64 | 4 7/16 | 3 1/8 | 9/64 |
NC31 | 4 | 2 1/8 | 15/64 | 3 15/16 | 2 9/32 | 13/64 |
3 1/2 OHSW | 4 13/32 | 2 15/16 | 3/16 | 4 11/32 | 3 1/16 | 5/32 |
3 1/2 H90 | 4 17/32 | 3 5/16 | 1/8 | 4 1/2 | 3 3/8 | 7/64 |
X95 | NC38 | 4 19/32 | 2 7/8 | 7/32 | 4 17/32 | 3 | 3/16 |
3 1/2 SL-H90 | 4 3/8 | 2 7/8 | 13/64 | 4 5/16 | 2 31/32 | 11/64 |
3 1/2 H90 | 4 5/8 | 3 5/32 | 11/64 | 4 9/16 | 3 1/4 | 9/64 |
G105 | NC38 | 4 21/32 | 2 25/32 | 1/4 | 4 19/32 | 2 7/8 | 7/32 |
S135 | NC40 | 5 | 2 29/32 | 9/32 | 4 29/32 | 3 1/16 | 15/64 |
NC38 | 4 13/16 | 2 17/32 | 21/64 | 4 23/32 | 2 29/32 | 9/32 |
31/2 | 15,50 | 3 1/2 | 15,5 | E75 | NC38 | 4 17/32 | 2 31/32 | 3/16 | 4 15/32 | 3 3/32 | 5/32 |
X95 | NC38 | 4 21/32 | 2 25/32 | 1/4 | 4 19/32 | 2 29/32 | 7/32 |
G105 | NC38 | 4 23/32 | 2 21/32 | 9/32 | 4 5/8 | 2 13/16 | 15/64 |
S135 | NC38 | 4 29/32 | 2 11/32 | 9/32 | 4 25/32 | 2 19/32 | 3/16 |
G105 | NC40 | 4 15/16 | 3 1/16 | 1/4 | 4 27/32 | 3 3/16 | 13/64 |
S135 | NC40 | 5 3/32 | 2 13/16 | 21/64 | 4 31/32 | 2 31/32 | 17/64 |
4 | 11,85 | 4 | 11,85 | E75 | NC46 | 5 7/32 | 4 1/32 | 7/64 | 5 5/32 | 4 3/32 | 5/64 |
4 WO | 5 7/32 | 4 1/32 | 7/64 | 5 5/32 | 4 3/32 | 5/64 |
| | ИС МЕГАНОРМ: примечание. Текст в графе "Маркировка соединения бурильного замка" дан в соответствии с официальным текстом документа. | |
|
4 | 11,85 | 4 | 11,85 | E75 | 4 0HLW | 5 | 3 25/32 | 9/64 | 4 15/16 | 3 27/32 | 7/64 |
4H90 | 4 7/8 | 3 23/32 | 7/64 | 4 27/32 | 3 25/32 | 3/32 |
4 | 14,00 | 4 | 14 | E75 | NC40 | 4 13/16 | 3 1/4 | 3/16 | 4 3/4 | 3 11/32 | 5/32 |
NC46 | 5 9/32 | 3 15/16 | 9/64 | 5 7/32 | 4 1/32 | 7/64 |
4 SH | 4 7/16 | 2 19/32 | 15/64 | 4 3/8 | 2 23/32 | 13/64 |
4 OHSW | 5 1/16 | 3 11/16 | 11/64 | 5 | 3 25/32 | 9/64 |
4H90 | 4 15/16 | 3 21/32 | 9/64 | 4 7/8 | 3 23/32 | 7/64 |
X95 | NC40 | 4 15/16 | 3 1/16 | 1/4 | 4 27/32 | 3 3/16 | 13/64 |
NC46 | 5 3/8 | 3 13/16 | 3/16 | 5 5/16 | 3 15/16 | 5/32 |
4H90 | 5 1/32 | 3 1/2 | 3/16 | 4 31/32 | 3 19/32 | 5/32 |
G105 | NC40 | 5 | 2 15/16 | 9/32 | 4 29/32 | 3 3/32 | 15/64 |
NC46 | 5 7/16 | 3 3/4 | 7/32 | 5 11/32 | 3 27/32 | 11/64 |
4H90 | 5 3/32 | 3 7/16 | 7/32 | 5 1/32 | 3 15/32 | 3/16 |
S135 | NC46 | 5 9/16 | 3 1/2 | 9/32 | 5 1/2 | 3 21/32 | 1/4 |
4 | 15,70 | 4 | 15,7 | E75 | NC40 | 4 7/8 | 3 1/8 | 7/32 | 4 25/32 | 3 9/32 | 11/64 |
NC46 | 5 5/16 | 3 29/32 | 5/32 | 5 1/4 | 3 31/32 | 1/8 |
4H90 | 4 31/32 | 3 19/32 | 5/32 | 4 29/32 | 3 21/32 | 1/8 |
X95 | NC40 | 5 | 2 31/32 | 9/32 | 4 29/32 | 3 3/32 | 15/64 |
NC46 | 5 7/16 | 3 3/4 | 7/32 | 5 11/32 | 3 27/32 | 11/64 |
4H90 | 5 3/32 | 3 7/16 | 7/32 | 5 1/32 | 3 17/32 | 3/16 |
G105 | NC46 | 5 15/32 | 3 21/32 | 15/64 | 5 13/32 | 3 25/32 | 13/64 |
4H90 | 5 5/32 | 3 11/32 | 1/4 | 5 1/16 | 3 15/32 | 13/64 |
S135 | NC46 | 5 21/32 | 3 13/32 | 21/64 | 5 17/32 | 3 9/16 | 17/64 |
4 1/2 | 16,60 | 4 1/2 | 16,60 | E75 | 4 1/2 FH | 5 3/8 | 3 5/8 | 13/64 | 5 9/32 | 3 23/32 | 5/32 |
NC46 | 5 13/32 | 3 25/32 | 13/64 | 5 11/32 | 3 7/8 | 11/64 |
4 1/2 OHSW | 5 7/16 | 3 15/16 | 13/64 | 5 3/8 | 4 1/32 | 11/64 |
NC50 | 5 23/32 | 4 5/16 | 5/32 | 5 11/16 | 4 13/32 | 9/64 |
4 1/2 H-90 | 5 11/32 | 3 29/32 | 3/16 | 5 9/32 | 4 | 5/32 |
X95 | 4 1/2 FH | 5 1/2 | 3 13/32 | 17/64 | 5 13/32 | 3 9/16 | 7/32 |
NC46 | 5 17/32 | 3 19/32 | 17/64 | 5 7/16 | 3 23/32 | 7/32 |
NC50 | 5 27/32 | 4 5/32 | 7/32 | 5 25/32 | 4 1/4 | 3/16 |
4 1/2 H-90 | 5 15/32 | 3 3/4 | 1/4 | 5 3/8 | 3 27/32 | 13/64 |
G105 | 4 1/2 FH | 5 9/16 | 3 21/32 | 19/64 | 5 15/32 | 3 25/32 | 1/4 |
NC46 | 5 19/32 | 3 1/2 | 19/64 | 5 1/2 | 3 5/8 | 1/4 |
NC50 | 5 29/32 | 4 1/16 | 1/4 | 5 13/16 | 4 3/16 | 13/64 |
4 1/2 H-90 | 5 1/2 | 3 21/32 | 17/64 | 5 7/16 | 3 25/32 | 15/64 |
S135 | NC46 | 5 25/32 | 3 5/32 | 25/64 | 5 21/32 | 3 3/8 | 21/64 |
NC50 | 6 1/16 | 3 13/16 | 21/64 | 5 31/32 | 3 31/32 | 9/32 |
4 1/2 | 20,00 | 4 1/2 | 20,00 | E75 | 4 1/2 FH | 5 15/32 | 3 1/2 | 1/4 | 5 3/8 | 3 5/8 | 13/64 |
NC46 | 5 1/2 | 3 5/8 | 1/4 | 5 13/32 | 3 3/4 | 13/64 |
NC50 | 5 13/16 | 4 3/16 | 13/64 | 5 3/4 | 4 5/16 | 3/16 |
4 1/2 H-90 | 5 13/32 | 3 25/32 | 7/32 | 5 11/32 | 3 7/8 | 3/16 |
X95 | 4 1/2 FH | 5 5/8 | 3 7/32 | 21/64 | 5 17/32 | 3 3/8 | 9/32 |
NC46 | 5 21/32 | 3 13/32 | 21/64 | 5 9/16 | 3 9/16 | 9/32 |
NC50 | 5 15/16 | 4 | 17/64 | 5 7/8 | 4 1/8 | 15/64 |
4 1/2 | 20,00 | 4 1/2 | 20 | X95 | 4 1/2 H-90 | 5 9/16 | 3 9/16 | 19/64 | 5 15/32 | 3 23/32 | 1/4 |
G105 | NC46 | 5 23/32 | 3 1/4 | 23/64 | 5 5/8 | 3 15/32 | 5/16 |
NC50 | 6 1/32 | 3 29/32 | 5/16 | 5 29/32 | 4 1/32 | 1/4 |
S135 | NC50 | 6 7/32 | 3 19/32 | 13/32 | 6 3/32 | 3 25/32 | 11/32 |
5 | 19,50 | 5 | 19,5 | E75 | NC50 | 5 7/8 | 4 3/32 | 15/64 | 5 13/16 | 4 7/32 | 13/64 |
X95 | NC50 | 6 1/32 | 3 7/8 | 5/16 | 5 15/16 | 4 | 17/64 |
5 H-90 | 5 27/32 | 3 27/32 | 19/64 | 5 3/4 | 3 21/32 | 1/4 |
G105 | NC50 | 6 3/32 | 3 25/32 | 11/32 | 6 | 3 15/16 | 19/64 |
5 H-90 | 5 29/32 | 3 3/4 | 21/64 | 5 13/16 | 3 7/8 | 9/32 |
S135 | NC50 | 6 5/16 | 3 3/32 | 29/64 | 6 3/16 | 3 5/8 | 25/64 |
5 1/2 FH | 6 3/4 | 4 1/4 | 3/8 | 6 5/8 | 4 3/32 | 5/16 |
5 | 25,60 | 5 | 25,6 | E75 | NC50 | 6 1/32 | 3 29/32 | 5/16 | 5 15/16 | 4 1/32 | 17/64 |
5 1/2 FH | 6 1/2 | 4 5/8 | 1/4 | 6 3/32 | 4 3/4 | 13/64 |
X95 | NC50 | 6 7/32 | 3 9/16 | 13/32 | 6 3/32 | 3 25/32 | 11/32 |
5 1/2 FH | 6 21/32 | 4 3/8 | 21/64 | 6 9/16 | 4 17/32 | 9/32 |
G105 | NC50 | 6 9/32 | 3 7/16 | 7/16 | 6 5/32 | 3 21/32 | 3/8 |
5 1/2 FH | 6 23/32 | 4 9/32 | 23/64 | 6 5/8 | 4 7/16 | 5/16 |
S135 | 5 1/2 FH | 6 15/16 | 3 29/32 | 15/32 | 6 13/16 | 4 1/8 | 13/32 |
5 1/2 | 21,90 | 5 1/2 | 21,90 | E75 | 5 1/2 FH | 6 15/32 | 4 5/8 | 15/64 | 6 3/32 | 4 3/4 | 13/64 |
X95 | 5 1/2 FH | 6 5/8 | 4 11/32 | 5/16 | 6 17/32 | 4 17/32 | 17/64 |
5 1/2 H-90 | 6 3/16 | 3 15/16 | 21/64 | 6 3/32 | 4 5/32 | 9/32 |
G105 | 5 1/2 FH | 6 23/32 | 4 9/32 | 23/64 | 6 19/32 | 4 7/16 | 19/64 |
S135 | 5 1/2 FH | 6 15/16 | 3 15/16 | 15/32 | 6 13/16 | 4 5/32 | 13/32 |
5 1/2 | 24,70 | 5 1/2 | 24,70 | E75 | 5 1/2 FH | 6 9/16 | 4 17/32 | 9/32 | 6 15/32 | 4 11/16 | 15/64 |
X95 | 5 1/2 FH | 6 23/32 | 4 9/32 | 23/64 | 6 19/32 | 4 7/16 | 19/64 |
G105 | 5 1/2 FH | 6 25/32 | 4 5/32 | 25/64 | 6 11/16 | 4 11/32 | 11/32 |
S135 | 5 1/2 FH | 7 1/32 | 3 23/32 | 33/64 | 6 7/8 | 4 | 7/16 |
6 5/8 | 25,20 | 6 5/8 | 25,20 | E75 | 6 5/8 FH | 7 7/16 | 5 15/32 | 1/4 | 7 3/8 | 5 9/16 | 7/32 |
X95 | 6 5/8 FH | 7 5/8 | 5 3/16 | 11/32 | 7 1/2 | 5 3/8 | 9/32 |
G105 | 6 5/8 FH | 7 11/16 | 5 3/32 | 5/8 | 7 19/32 | 5 9/32 | 21/64 |
S135 | 6 5/8 FH | 7 29/32 | 4 11/16 | 31/64 | 7 25/32 | 4 15/16 | 27/64 |
| | | | E75 | 6 5/8 FH | 7 1/2 | 5 3/8 | 9/32 | 7 13/32 | 5 1/2 | 15/64 |
X95 | 6 5/8 FH | 7 11/16 | 5 3/32 | 3/8 | 7 9/16 | 5 9/32 | 5/16 |
G105 | 6 5/8 FH | 7 3/4 | 4 15/16 | 13/32 | 7 21/32 | 5 1/8 | 23/64 |
S135 | 6 5/8 FH | 8 | 4 17/32 | 17/32 | 7 27/32 | 4 25/32 | 29/64 |
<a> Маркировка приведена для информации и помощи при упорядочивании. |
Таблица D.7
Требования к размерам соединения бурильного замка
Размеры в дюймах
Маркировка <a> резьбового упорного соединения | Диаметр зенковки Qc max | Длина зенковки Lqc min | Длина ниппельной резьбы LPC min | Длина ниппельной резьбы LPC max | Длина основы штифта LPB max | Длина внутренней резьбы LBT min | Глубина муфты LBC min |
NC23 | 2 11/16 | 9/16 | 2 7/8 | 3 1/16 | 9/16 | 3 1/16 | 3 9/16 |
NC26 | 3 | 9/16 | 2 7/8 | 3 1/16 | 9/16 | 3 1/16 | 3 9/16 |
NC31 | 3 33/64 | 9/16 | 3 3/8 | 3 9/16 | 9/16 | 3 9/16 | 4 1/16 |
NC35 | 3 7/8 | 9/16 | 3 5/8 | 3 3/16 | 9/16 | 3 13/16 | 4 5/16 |
NC38 | 4 9/64 | 9/16 | 3 7/8 | 4 1/16 | 9/16 | 4 1/16 | 4 9/16 |
NC40 | 4 13/32 | 9/16 | 4 3/8 | 4 9/16 | 9/16 | 4 9/16 | 5 1/16 |
NC44 | 4 3/4 | 9/16 | 4 3/8 | 4 9/16 | 9/16 | 4 9/16 | 5 1/16 |
NC46 | 4 31/32 | 9/16 | 4 3/8 | 4 9/16 | 9/16 | 4 9/16 | 5 1/16 |
NC50 | 5 3/8 | 9/16 | 4 3/8 | 4 9/16 | 9/16 | 4 9/16 | 5 1/16 |
NC56 | 6 | 9/16 | 4 7/8 | 5 1/16 | 9/16 | 5 1/16 | 5 9/16 |
NC61 | 6 9/16 | 9/16 | 5 3/8 | 5 9/16 | 9/16 | 5 9/16 | 6 1/16 |
NC70 | 7 7/16 | 9/16 | 5 7/8 | 6 1/16 | 9/16 | 6 1/16 | 6 9/16 |
NC77 | 8 1/8 | 9/16 | 6 3/8 | 6 9/16 | 9/16 | 6 9/16 | 7 1/16 |
2 3/8 SH | 2 9/16 | 9/16 | 2 3/4 | 2 15/16 | 9/16 | 3 1/16 | 3 9/16 |
2 7/8 SH | 3 | 9/16 | 2 7/8 | 3 1/16 | 9/16 | 3 1/16 | 3 9/16 |
3 1/2 SH | 3 33/64 | 9/16 | 3 3/8 | 3 9/16 | 9/16 | 3 9/16 | 4 1/16 |
4 SH | 3 15/16 | 9/16 | 3 3/8 | 3 9/16 | 9/16 | 3 9/16 | 4 9/16 |
4 1/2 SH | 4 9/64 | 9/16 | 3 7/8 | 4 1/16 | 9/16 | 4 9/16 | 5 |
2 3/8 PAC | 2 15/32 | 5/16 | 2 1/4 | 2 7/16 | 5/16 | 2 7/16 | 2 15/16 |
2 7/8 PAC | 2 41/64 | 5/16 | 2 1/4 | 2 7/16 | 5/16 | 2 7/16 | 2 15/16 |
2 3/8 SLH-90 | 2 53/64 | 9/16 | 2 3/4 | 2 7/8 | 1/4 | 2 15/16 | 3 7/16 |
2 7/8 SLH-90 | 3 19/64 | 9/16 | 2 7/8 | 3 | 1/4 | 3 1/16 | 3 9/16 |
2 3/8 OH | 2 55/64 | 9/16 | 2 1/4 | 2 7/16 | 5/16 | 2 7/16 | 2 15/16 |
2 7/8 OH | 3 17/64 | 9/16 | 2 3/4 | 2 15/16 | 5/16 | 2 15/16 | 3 5/16 |
2 7/8 XH | 3 27/64 | 9/16 | 3 7/8 | 4 1/16 | 9/16 | 4 1/16 | 4 9/16 |
3 1/2 XH | 3 15/16 | 9/16 | 3 3/8 | 3 9/16 | 9/16 | 3 9/16 | 4 1/16 |
4 1/2 FH | 4 15/16 | 9/16 | 3 7/8 | 4 1/16 | 9/16 | 4 1/16 | 5 9/16 |
5 1/2 FH | 5 31/32 | 9/16 | 4 7/8 | 5 1/16 | 9/16 | 5 1/16 | 5 9/16 |
6 5/8 FH | 6 29/32 | 9/16 | 4 7/8 | 5 1/16 | 9/16 | 5 1/16 | 5 9/16 |
2 3/8 IF | 3 | 9/16 | 2 7/8 | 3 1/16 | 9/16 | 3 1/16 | 3 9/16 |
2 7/8 IF | 3 33/64 | 9/16 | 3 3/8 | 3 9/16 | 9/16 | 3 9/16 | 4 1/16 |
3 1/2 IF | 4 9/64 | 9/16 | 3 7/8 | 4 1/16 | 9/16 | 4 1/16 | 4 9/16 |
5 1/2 IF | 6 33/64 | 9/16 | 4 7/8 | 5 1/16 | 9/16 | 5 1/16 | 5 9/16 |
6 5/8 IF | 7 37/64 | 9/16 | 4 7/8 | 5 1/16 | 9/16 | 5 1/16 | 5 9/16 |
3 1/2 H-90 | 4 1/4 | 9/16 | 3 7/8 | 4 1/16 | 7/16 | 4 1/16 | 4 9/16 |
4 H-90 | 4 5/8 | 9/16 | 4 1/8 | 4 5/16 | 7/16 | 4 5/16 | 4 13/16 |
4 1/2 H-90 | 4 61/64 | 9/16 | 4 3/8 | 4 9/16 | 7/16 | 4 9/16 | 5 1/16 |
5 H-90 | 5 15/64 | 9/16 | 4 5/8 | 4 13/16 | 7/16 | 4 13/16 | 5 5/16 |
5 1/2 H-90 | 5 1/2 | 9/16 | 4 5/8 | 4 13/16 | 7/16 | 4 13/16 | 5 5/16 |
6 5/8 H-90 | 6 1/8 | 9/16 | 4 7/8 | 5 1/16 | 7/16 | 5 1/16 | 5 9/16 |
<a> Маркировки приведены для информации и помощи при упорядочивании. |
Таблица D.8
Диаметры упорного торца резьбы бурильного замка,
бывшего в употреблении
<a>
Размеры в дюймах
Маркировка <b> резьбового упорного соединения | Маркировка <b> съемных резьбовых упорных соединений | Длина наружного диаметра бурильного замка, бывшего в употреблении <c> | Диаметр упорного торца резьбы | Диаметр упорного торца резьбы |
NC26 | 2 3/8 IF | 2 7/8 SH | 3 17/64 до 3 3/8 | 3 1/4 | 3 13/32 |
NC31 | 2 7/8 IF | 3 1/2 SH | 3 61/64 до 4 3/8 | 3 15/16 | 4 3/32 |
NC38 | 3 1/2 IF | - | 4 39/64 до 5 | 4 9/16 | 4 23/32 |
NC40 | 4 FH | - | 5 1/64 до 5 1/2 | 5 | 5 5/32 |
NC46 | 4 IF | 4 1/2 XH | 5 23/32 до 6 1/4 | 5 45/64 | 5 55/64 |
NC50 | 4 1/2 IF | 5 XH | 6 1/16 до 6 5/8 | 6 3/64 | 6 13/64 |
NC56 | - | - | 6 47/64 до 7 | 6 23/32 | 6 7/8 |
3 1/2 FH | - | - | 4 31/64 до 4 5/8 | 4 15/32 | 4 5/8 |
4 FH | - | - | 5 1/64 до 5 1/2 | 5 | 5 5/32 |
4 1/2 FH | - | - | 5 23/32 до 6 1/4 | 5 45/64 | 5 55/64 |
5 1/2 FH | - | - | 6 23/32 до 7 1/4 | 6 45/64 | 6 55/64 |
5 1/2 FH | - | - | 7 3/32 до 7 1/2 | 7 5/64 | 7 15/64 |
6 5/8 FH | - | - | 7 45/64 до 8 1/2 | 7 11/16 | 7 27/32 |
4 H-90 | - | - | 5 17/64 до 5 1/2 | 5 1/4 | 5 13/32 |
4 1/2 H-90 | - | - | 5 23/32 до 6 | 5 45/64 | 5 55/64 |
2 7/8 SH | NC26 | 2 3/8 IF | 3 17/64 до 3 3/8 | 3 1/4 | 3 13/32 |
3 1/2 SH | NC31 | 2 7/8 IF | 3 61/64 до 4 3/8 | 3 15/16 | 4 3/32 |
4 SH | - | - | 4 25/64 до 4 5/8 | 4 21/64 | 4 31/64 |
3 1/2 XH | - | - | 4 17/32 до 4 3/4 | 4 33/64 | 4 43/64 |
4 1/2 XH | NC46 | 4 IF | 5 23/32 до 6 1/4 | 5 45/64 | 5 55/64 |
5 XH | NC50 | 4 1/2 IF | 6 1/16 до 6 5/8 | 6 3/64 | 6 13/64 |
<a> Диаметры упорного торца резьбы бурильного замка относятся к бурильному замку бурильной трубы, нижнему соединению ведущей или рабочей трубы, предохранительным проводникам, ТБТ и другим контактам, составляющим данные соединения. <b> Маркировки даются для информации и помощи при упорядочивании. <c> Если наружный диаметр становится менее минимального диаметра упорного торца резьбы, то уменьшенный скос (1/32 дюйма * 45°) должен быть заточен или механически обработан по всему периметру уплотнительной поверхности ниппеля или муфты. Уменьшенный скос не должен стать причиной браковки. <d> Максимальный диаметр упорного торца резьбы используется для соединений, которые были перешлифованы с помощью переносного устройства на буровой установке или складе. Он не распространяется на соединения, механически обработанные в цехе. |
Таблица D.9
Размеры соединений утяжеленной бурильной трубы
(без разгрузочных деталей)
Размеры в дюймах
Маркировка <a> резьбового упорного соединения | Диаметр зенковки Qc или DLTorq max | Длина зенковки Lqc min | Длина ниппельной резьбы LPC min | Длина ниппельной резьбы LPC max | Длина основы штифта LPB max | Длина внутренней резьбы LBT min | Глубина муфты LBC min |
NC23 | 2 11/16 | 9/16 | 2 7/8 | 3 1/16 | 9/16 | 3 1/16 | 3 9/16 |
NC26 | 3 | 9/16 | 2 7/8 | 3 1/16 | 9/16 | 3 1/16 | 3 9/16 |
NC31 | 3 33/64 | 9/16 | 3 3/8 | 3 9/16 | 9/16 | 3 9/16 | 4 1/16 |
NC35 | 3 7/8 | 9/16 | 3 5/8 | 3 13/16 | 9/16 | 3 13/16 | 4 5/16 |
NC38 | 4 9/64 | 9/16 | 3 7/8 | 4 1/16 | 9/16 | 4 1/16 | 4 9/16 |
NC40 | 4 13/32 | 9/16 | 4 3/8 | 4 9/16 | 9/16 | 4 9/16 | 5 1/16 |
NC44 | 4 3/4 | 9/16 | 4 3/8 | 4 9/16 | 9/16 | 4 9/16 | 5 1/16 |
NC46 | 4 31/32 | 9/16 | 4 3/8 | 4 9/16 | 9/16 | 4 9/16 | 5 1/16 |
NC50 | 5 3/8 | 9/16 | 4 3/8 | 4 9/16 | 9/16 | 4 9/16 | 5 1/16 |
NC56 | 6 | 9/16 | 4 7/8 | 5 1/16 | 9/16 | 5 1/16 | 5 9/16 |
NC61 | 6 9/16 | 9/16 | 5 3/8 | 5 9/16 | 9/16 | 5 9/16 | 6 1/16 |
NC70 | 7 7/16 | 9/16 | 5 7/8 | 6 1/16 | 9/16 | 6 1/16 | 6 9/16 |
NC77 | 8 1/8 | 9/16 | 6 3/8 | 6 9/16 | 9/16 | 6 9/16 | 7 1/16 |
2 3/8 REG | 2 3/4 | 9/16 | 2 7/8 | 3 1/16 | 9/16 | 3 1/16 | 3 9/16 |
2 7/8 REG | 3 1/8 | 9/16 | 3 3/8 | 3 9/16 | 9/16 | 3 9/16 | 4 1/16 |
3 1/2 REG | 3 5/8 | 9/16 | 3 5/8 | 3 13/16 | 9/16 | 3 13/16 | 4 5/16 |
4 1/2 REG | 4 3/4 | 9/16 | 4 1/8 | 4 5/16 | 9/16 | 4 5/16 | 4 13/16 |
5 1/2 REG | 5 41/64 | 9/16 | 4 5/8 | 4 13/16 | 9/16 | 4 13/16 | 5 5/16 |
6 5/8 REG | 6 1/8 | 9/16 | 4 7/8 | 5 1/16 | 9/16 | 5 1/16 | 5 9/16 |
7 5/8 REG FF | 7 5/32 | 9/16 | 5 1/8 | 5 5/16 | 9/16 | 5 5/16 | 5 13/16 |
7 5/8 REG LT | 7 13/16 | 5/16 | 5 1/8 | 5 5/16 | 9/16 | 5 5/16 | 5 13/16 |
8 5/8 REG FF | 8 7/64 | 9/16 | 5 1/4 | 5 7/16 | 9/16 | 5 7/16 | 5 15/16 |
8 5/8 REG LT | 9 1/16 | 5/16 | 5 1/4 | 5 7/16 | 9/16 | 5 7/16 | 5 15/16 |
2 3/8 SH | 2 9/16 | 9/16 | 2 7/8 | 3 1/16 | 9/16 | 3 1/16 | 3 9/16 |
2 7/8 SH | 3 | 9/16 | 2 7/8 | 3 1/16 | 9/16 | 3 1/16 | 3 9/16 |
3 1/2 SH | 3 33/64 | 9/16 | 3 3/8 | 3 9/16 | 9/16 | 3 9/16 | 4 1/16 |
4 SH | 3 15/16 | 9/16 | 3 3/8 | 3 9/16 | 9/16 | 3 9/16 | 4 9/16 |
4 1/2 SH | 4 9/64 | 9/16 | 3 7/8 | 4 1/16 | 9/16 | 4 1/16 | 4 9/16 |
2 3/8 PAC | 2 15/32 | 5/16 | 2 1/4 | 2 7/16 | 5/16 | 2 7/16 | 2 15/16 |
2 7/8 PAC | 2 41/64 | 5/16 | 2 1/4 | 2 7/16 | 5/16 | 2 7/16 | 2 15/16 |
3 1/2 PAC | 3 11/64 | 5/16 | 3 1/8 | 3 5/16 | 5/16 | 3 5/16 | 3 13/16 |
2 3/8 SLH-90 | 2 53/64 | 9/16 | 2 3/4 | 2 7/8 | 1/4 | 2 15/16 | 3 7/16 |
2 7/8 SLH-90 | 3 19/64 | 9/16 | 2 7/8 | 3 | 1/4 | 3 1/16 | 3 9/16 |
2 3/8 OH | 2 7/8 | 9/16 | 2 1/4 | 2 7/16 | 5/16 | 2 7/16 | 2 15/16 |
2 7/8 OH | 3 1/4 | 9/16 | 2 3/4 | 2 15/16 | 5/16 | 2 15/16 | 3 5/16 |
2 7/8 XH | 3 27/64 | 9/16 | 3 7/8 | 4 1/16 | 9/16 | 4 1/16 | 4 9/16 |
3 1/2 XH | 3 15/16 | 9/16 | 3 3/8 | 3 9/16 | 9/16 | 3 9/16 | 4 1/16 |
3 1/2 FH | 4 7/64 | 9/16 | 3 5/8 | 3 13/16 | 9/16 | 3 13/16 | 4 5/16 |
4 FH | 4 13/32 | 9/16 | Am | 4 9/16 | 9/16 | 4 9/16 | 5 1/16 |
4 1/2 FH | 4 15/16 | 9/16 | 3 7/8 | 4 1/16 | 9/16 | 4 1/16 | 5 9/16 |
5 1/2 FH | 5 31/64 | 9/16 | 4 7/8 | 5 1/16 | 9/16 | 5 1/16 | 5 9/16 |
6 5/8 FH | 6 29/32 | 9/16 | 4 7/8 | 5 1/16 | 9/16 | 5 1/16 | 5 9/16 |
2 3/8 IF | 3 | 9/16 | 2 7/8 | 3 1/16 | 9/16 | 3 1/16 | 3 9/16 |
2 7/8 IF | 3 33/64 | 9/16 | 3 3/8 | 3 9/16 | 9/16 | 3 9/16 | 4 1/16 |
3 1/2 IF | 4 9/64 | 9/16 | 3 7/8 | 4 1/16 | 9/16 | 4 1/16 | 4 9/16 |
5 1/2 IF | 6 33/64 | 9/16 | 4 7/8 | 5 1/16 | 9/16 | 5 1/16 | 5 9/16 |
6 5/8 IF | 7 37/64 | 9/16 | 4 7/8 | 5 1/16 | 9/16 | 5 1/16 | 5 9/16 |
3 1/2 H-90 | 4 1/4 | 9/16 | 3 7/8 | 4 1/16 | 7/16 | 4 1/16 | 4 9/16 |
4 H-90 | 4 5/8 | 9/16 | 4 1/8 | 4 5/16 | 7/16 | 4 5/16 | 4 13/16 |
4 1/2 H-90 | 4 61/64 | 9/16 | 4 3/8 | 4 9/16 | 7/16 | 4 9/16 | 5 1/16 |
5 H-90 | 5 15/64 | 9/16 | 4 5/8 | 4 13/16 | 7/16 | 4 13/16 | 5 5/16 |
5 1/2 H-90 | 5 1/2 | 9/16 | 4 5/8 | 4 13/16 | 7/16 | 4 13/16 | 5 5/16 |
6 5/8 H-90 | 6 1/8 | 9/16 | 4 7/8 | 5 1/16 | 7/16 | 5 1/16 | 5 9/16 |
7 H-90 FF | 6 5/8 | 9/16 | 5 3/8 | 5 9/16 | 7/16 | 5 9/16 | 6 1/16 |
7 H-90 LT | 7 3/16 | 11/32 | 5 3/8 | 5 9/16 | 7/16 | 5 9/16 | 6 1/16 |
7 5/8 H-90 FF | 7 33/64 | 9/16 | 6 | 6 3/16 | 7/16 | 6 3/16 | 6 11/16 |
7 5/8 H-90 LT | 8 1/16 | 11/32 | 6 | 6 3/16 | 7/16 | 6 3/16 | 6 11/16 |
8 5/8 H-90 FF | 8 25/64 | 9/16 | 6 1/2 | 6 11/16 | 7/16 | 6 11/16 | 4 3/16 |
8 5/8 H-90 LT | 9 7/16 | 11/32 | 6 1/2 | 6 11/16 | 7/16 | 6 11/16 | 4 3/16 |
<a> Маркировки приведены для информации и помощи при упорядочивании. |
Таблица D.10
Предельный допуск размеров соединений КНБК с разгрузочными
деталями, бывших в употреблении
<a>
Размеры в дюймах
Маркировка <b> резьбового упорного соединения | Диаметр зенковки Qc или DLTorq max | Длина зенковки Lqc min | Длина ниппельной резьбы LPC min | Длина ниппельной резьбы LPC max | Диаметр канавки для выхода ниппеля DRG min | Диаметр канавки для выхода ниппеля DRG max | Диаметр проточного цилиндра муфты Dcb min | Диаметр проточного цилиндра муфты Dcb max | Точка схода проточной резьбы муфты Lx |
NC35 | 3 7/8 | 9/16 | 3 5/8 | 3 13/16 | 3,2 | 3,231 | 3 15/64 | 3 1/4 | 3 1/4 |
NC38 | 4 9/64 | 9/16 | 3 7/8 | 4 1/16 | 3,477 | 3,508 | 3 15/32 | 3 31/64 | 3 1/2 |
NC40 | 4 13/32 | 9/16 | 4 3/8 | 4 9/16 | 3,741 | 3,772 | 3 21/32 | 3 43/64 | 4 |
NC44 | 4 3/4 | 9/16 | 4 3/8 | 4 9/16 | 4,086 | 4,117 | 4 | 4 1/64 | 4 |
NC46 | 4 31/32 | 9/16 | 4 3/8 | 4 9/16 | 4,295 | 4,326 | 4 13/64 | 4 7/32 | 4 |
NC50 | 5 3/8 | 9/16 | 4 3/8 | 4 9/16 | 4,711 | 4,742 | 4 5/8 | 4 41/64 | 4 |
NC56 | 6 | 9/16 | 4 7/8 | 5 1/16 | 5,246 | 5,277 | 4 51/64 | 4 13/16 | 4 1/2 |
NC61 | 6 9/16 | 9/16 | 5 3/8 | 5 9/16 | 5,808 | 5,839 | 5 15/64 | 5 1/4 | 5 |
NC70 | 7 7/16 | 9/16 | 4 7/8 | 6 1/16 | 6,683 | 6,714 | 5 63/64 | 6 | 5 1/2 |
NC77 | 8 1/8 | 9/16 | 6 3/8 | 6 9/16 | 7,371 | 7,402 | 6 35/64 | 6 9/16 | 6 |
4 1/2 REG | 4 3/4 | 9/16 | 4 1/8 | 4 5/16 | 3,982 | 4,013 | 3 23/32 | 3 47/64 | 3 3/4 |
5 1/2 REG | 5 41/64 | 9/16 | 4 5/8 | 4 13/16 | 4,838 | 4,869 | 4 1/2 | 4 33/64 | 4 1/4 |
6 5/8 REG | 6 1/8 | 9/16 | 4 7/8 | 5 1/16 | 5,386 | 5,417 | 5 9/32 | 5 19/64 | 4 1/2 |
7 5/8 REG FF | 7 5/32 | 9/16 | 5 1/8 | 5 5/16 | 6,318 | 6,349 | 5 55/64 | 5 23/32 | 4 3/4 |
7 5/8 REG LT | 7 13/16 | 5/16 | 5 1/8 | 5 5/16 | 6,318 | 6,349 | 5 55/64 | 5 23/32 | 4 1/2 |
8 5/8 REG FF | 8 7/64 | 9/16 | 5 1/4 | 5 7/16 | 7,27 | 7,301 | 6 25/32 | 6 51/64 | 4 7/8 |
8 5/8 REG LT | 9 1/16 | 9/16 | 5 1/4 | 5 7/16 | 7,27 | 7,301 | 6 25/32 | 6 51/64 | 4 7/8 |
4 1/2 SH | 4 9/64 | 9/16 | 3 7/8 | 4 1/16 | 3,477 | 3,508 | 3 15/32 | 3 31/64 | 3 1/2 |
3 1/2 FH | 4 7/64 | 9/16 | 3 5/8 | 3 13/16 | 3 25/64 | 3 27/64 | 3 7/32 | 3 15/64 | 3 1/4 |
4 FH | 4 13/32 | 9/16 | 4 3/8 | 4 9/16 | 3,741 | 3,772 | 3 21/32 | 3 43/64 | 4 |
4 1/2 FH | 4 15/16 | 9/16 | 3 7/8 | 4 1/16 | 4,149 | 4,18 | 3 61/64 | 3 31/32 | 3 1/2 |
5 1/2 FH | 5 31/64 | 9/16 | 4 7/8 | 5 1/16 | 5 7/32 | 5 1/4 | 5 7/64 | 5 1/8 | 4 1/2 |
6 5/8 FH | 6 29/32 | 9/16 | 4 7/8 | 5 1/16 | 6 9/64 | 6 11/64 | 6 3/64 | 6 1/16 | 4 1/2 |
3 1/2 IF | 4 9/64 | 9/16 | 3 7/8 | 4 1/16 | 3,477 | 3,508 | 3 15/32 | 3 31/64 | 3 1/2 |
5 1/2 IF | 6 31/32 | 9/16 | 4 7/8 | 5 1/16 | 5 55/64 | 5 57/64 | 5 11/16 | 5 45/64 | 4 1/2 |
6 5/8 IF | 7 37/64 | 9/16 | 4 7/8 | 5 1/16 | 6 59/64 | 6 61/64 | 6 3/4 | 6 49/64 | 4 1/2 |
3 1/2 H-90 | 4 1/4 | 9/16 | 3 7/8 | 4 1/16 | 3 5/8 | 3 21/32 | 3 9/16 | 3 37/64 | 3 1/2 |
4 H-90 | 4 5/8 | 9/16 | 4 1/8 | 4 5/16 | 4 | 4 1/32 | 3 7/8 | 3 57/64 | 3 3/4 |
4 1/2 H-90 | 4 61/64 | 9/16 | 4 3/8 | 4 9/16 | 4 21/64 | 4 23/64 | 4 3/16 | 4 13/64 | 4 |
5 H-90 | 5 15/64 | 9/16 | 4 5/8 | 4 13/16 | 4 19/32 | 4 5/8 | 4 13/32 | 4 27/64 | 4 1/4 |
5 1/2 H-90 | 5 1/2 | 9/16 | 4 5/8 | 4 13/16 | 4 7/8 | 4 29/32 | 4 11/64 | 4 3/16 | 4 1/4 |
6 5/8 H-90 | 6 1/8 | 9/16 | 4 7/8 | 5 1/16 | 5 1/2 | 5 17/32 | 5 17/64 | 4 1/4 | 4 1/2 |
7 H-90 ВП | 6 5/8 | 9/16 | 5 3/8 | 5 9/16 | 6 | 6 1/32 | 5 17/64 | 4 1/4 | 5 |
7 H-90 LT | 7 3/16 | 11/32 | 5 3/8 | 5 9/16 | 6 | 6 1/32 | 5 17/64 | 4 1/4 | 5 |
7 5/8 H-90 FF | 7 33/64 | 9/16 | 6 | 6 3/16 | 6 7/8 | 6 29/32 | 6 | 6 1/64 | 5 5/8 |
7 5/8 H-90 LT | 8 1/16 | 11/32 | 6 | 6 3/16 | 6 7/8 | 6 29/32 | 6 | 6 1/64 | 5 5/8 |
8 5/8 H-90 FF | 8 25/64 | 9/16 | 6 1/2 | 6 11/16 | 7 3/4 | 7 25/32 | 6 3/4 | 6 49/64 | 6 1/8 |
<a> Соединения КНБК включают в себя все соединения между буровым долотом и бурильной трубой, но не включая их самих. <b> Маркировки приведены для информации и помощи при упорядочивании. |
Таблица D.11
Диаметры упорного торца резьбы утяжеленной бурильной трубы
Размеры в дюймах
Маркировка <a> резьбового упорного соединения | Маркировка <a> съемных резьбовых упорных соединений | Длина наружного диаметра утяжеленной бурильной трубы <b> | Диаметр упорного торца резьбы DF min | Диаметр упорного торца резьбы DF max <c> |
NC23 | - | - | 3 1/8 к 3 1/4 | 2 63/64 | 3 9/64 |
NC26 | 3 3/8 IF | 2 7/8 SH | 3 3/8 к 3 39/64 | 3 1/4 | 3 13/32 |
3 5/8 к 3 55/64 | 3 7/16 | 3 19/32 |
3 7/8 к 4 | 3 5/8 | 3 25/32 |
NC31 | 2 7/8 IF | - | 4 1/8 к 4 23/64 | 3 15/16 | 4 3/32 |
4 3/8 к 4 5/8 | 4 1/8 | 4 9/32 |
NC35 | - | - | 4 3/4 к 4 63/64 | 4 1/2 | 4 21/32 |
NC38 | 3 1/2 IF | 4 1/2 SH | 4 3/4 к 4 63/64 | 4 9/16 | 4 23/32 |
5 к 5 15/64 | 4 3/4 | 4 29/32 |
5 1/4 к 5 31/64 | 4 15/16 | 4 3/32 |
NC40 | 4 FH | - | 5 1/4 к 5 31/64 | 5 | 5 5/32 |
5 1/2 к 5 47/64 | 5 3/16 | 5 11/32 |
5 3/4 к 5 63/64 | 5 3/8 | 5 17/32 |
NC44 | - | - | 5 3/4 к 5 63/64 | 5 31/64 | 5 41/64 |
6 к 6 15/64 | 5 43/64 | 5 53/64 |
6 1/4 к 6 31/64 | 5 55/64 | 6 1/64 |
NC46 | 4 IF | 4 1/2 XH | 6 к 6 15/64 | 5 45/64 | 5 55/64 |
6 1/4 к 6 23/64 | 5 57/64 | 6 3/64 |
6 1/2 к 6 47/64 | 6 5/64 | 6 15/64 |
6 3/4 к 6 63/64 | 6 17/64 | 6 27/64 |
NC50 | 4 1/2 IF | 5 XH | 6 1/8 к 6 23/64 | 6 3/64 | 6 13/64 |
6 3/8 к 6 39/64 | 6 3/32 | 6 1/4 |
6 5/8 к 6 55/64 | 6 9/32 | 6 7/16 |
6 7/8 к 7 7/64 | 6 15/32 | 6 5/8 |
7 1/8 к 7 23/64 | 6 21/32 | 6 13/16 |
NC56 | - | - | 7 1/2 к 7 47/64 | 7 3/32 | 7 1/4 |
7 3/4 к 7 63/64 | 7 9/32 | 7 7/16 |
8 к 8 15/64 | 7 15/32 | 7 5/8 |
NC61 | - | - | 8 1/4 к 8 31/64 | 7 51/64 | 7 61/64 |
8 1/2 к 8 47/64 | 7 63/64 | 8 9/64 |
8 3/4 к 8 63/64 | 8 11/64 | 8 21/64 |
9 к 9 15/64 | 8 23/64 | 8 33/64 |
NC70 | - | - | 9 1/2 к 9 47/64 | 8 61/64 | 9 7/64 |
9 3/4 к 9 63/64 | 9 9/64 | 9 9/32 |
10 к 10 15/64 | 9 21/64 | 9 31/64 |
NC77 | - | - | 11 к 11 15/64 | 10 1/4 | 10 13/32 |
2 3/8 REG | - | - | 3 1/4 к 3 23/64 | 3 | 3 5/32 |
3 3/8 к 3 1/2 | 3 3/16 | 3 11/32 |
2 7/8 REG | - | - | 3 7/8 к 4 | 3 9/16 | 3 23/32 |
3 1/2 REG | - | - | 4 1/4 к 4 31/32 | 4 1/16 | 4 7/32 |
4 1/2 к 4 5/8 | 4 1/4 | 4 23/32 |
4 1/2 REG | - | - | 5 5/8 к 5 47/64 | 5 9/32 | 5 7/16 |
5 3/4 к 5 63/64 | 5 15/32 | 5 5/8 |
6 к 6 1/8 | 5 21/32 | 5 13/16 |
5 1/2 REG | - | - | 6 5/8 к 6 47/64 | 6 17/64 | 6 27/64 |
6 3/4 к 6 63/64 | 6 29/64 | 6 39/64 |
7 к 7 15/64 | 6 41/64 | 6 51/64 |
7 1/4 к 7 31/32 | 6 53/64 | 6 63/64 |
7 1/2 к 7 5/8 | 7 1/64 | 7 11/64 |
6 5/8 REG | - | - | 7 1/2 к 7 47/64 | 7 1/8 | 7 9/32 |
7 3/4 к 7 63/64 | 7 5/16 | 7 15/32 |
8 к 8 15/64 | 7 1/2 | 7 5/8 |
8 1/4 к 8 3/8 | 7 11/16 | 7 27/32 |
7 5/8 REG FF | - | - | 8 5/8 к 8 55/64 | 8 15/64 | 8 25/64 |
8 7/8 к 9 7/64 | 8 27/64 | 8 37/64 |
9 1/8 к 9 23/64 | 8 39/64 | 8 49/64 |
9 3/8 к 9 39/64 | 8 51/64 | 8 61/64 |
7 5/8 REG LT | - | - | 9 5/8 к 10 | 9 15/64 | 9 25/64 |
8 5/8 REG FF | - | - | 9 5/8 к 9 47/64 | 9 1/8 | 9 9/32 |
9 3/4 к 9 63/64 | 9 5/16 | 9 15/32 |
10 к 10 15/64 | 9 1/2 | 9 21/32 |
10 1/4 к 10 31/64 | 9 11/16 | 9 27/32 |
10 1/2 к 10 39/64 | 9 7/8 | 10 1/32 |
8 5/8 REG LT | - | - | 10 5/8 к 11 1/8 | 10 31/64 | 10 41/64 |
3 1/2 FH | - | - | 4 7/8 к 5 7/64 | 4 21/32 | 4 13/16 |
5 1/8 к 5 23/64 | 4 27/32 | 5 |
4 1/2 FH | - | - | 5 3/4 к 5 63/64 | 5 33/64 | 5 43/64 |
6 к 6 15/64 | 5 45/64 | 5 55/64 |
6 1/4 к 6 31/64 | 5 57/64 | 6 3/64 |
5 1/2 FH | - | - | 6 7/8 к 6 63/64 | 6 33/64 | 6 43/64 |
7 к 7 15/64 | 6 45/64 | 6 55/64 |
7 1/4 к 7 31/64 | 6 57/64 | 7 3/64 |
7 1/2 к 7 47/64 | 7 5/64 | 7 15/64 |
7 3/4 к 7 63/64 | 7 17/64 | 7 27/64 |
8 к 8 15/64 | 7 29/64 | 7 39/64 |
6 5/8 FH | - | - | 8 к 8 15/64 | 7 11/16 | 7 27/32 |
8 1/4 к 8 31/64 | 7 7/8 | 8 1/32 |
8 1/2 к 8 47/64 | 8 1/16 | 8 7/32 |
8 3/4 к 8 63/64 | 8 1/4 | 8 13/32 |
9 к 9 15/64 | 8 7/16 | 8 19/32 |
9 1/4 к 9 1/2 | 8 5/8 | 8 25/32 |
2 3/8 SL H-90 | - | - | 3 1/4 к 3 3/8 | 3 7/64 | 3 17/64 |
2 7/8 SL H-90 | - | - | 4 1/8 к 4 15/64 | 3 55/64 | 4 1/64 |
4 1/4 к 4 5/16 | 4 7/64 | 4 17/64 |
3 1/2 SL H-90 | - | - | 4 7/8 к 4 63/64 | 4 39/64 | 4 49/64 |
5 к 5 1/8 | 4 55/64 | 51/64 |
3 1/2 H-90 | - | - | 5 к 5 15/64 | 4 51/64 | 4 61/64 |
5 1/4 к 5 1/2 | 4 63/64 | 5 9/64 |
4 H-90 | - | - | 6 к 6 7/64 | 5 31/64 | 5 41/64 |
6 1/8 к 6 1/4 | 5 47/64 | 5 57/64 |
4 1/2 H-90 | - | - | 6 к 6 15/64 | 5 47/64 | 5 57/64 |
6 1/4 к 6 39/64 | 5 63/64 | 6 9/64 |
6 5/8 к 6 3/4 | 6 15/64 | 6 25/64 |
5 H-90 | - | - | 6 1/2 к 6 47/64 | 6 7/64 | 6 17/64 |
6 3/4 к 7 | 6 23/64 | 6 33/64 |
5 1/2 H-90 | - | - | 6 3/4 к 6 57/64 | 6 23/64 | 6 33/64 |
6 7/8 к 7 1/2 | 6 39/64 | 6 49/64 |
6 5/8 H-90 | - | - | 7 5/8 к 7 47/64 | 7 15/64 | 7 25/64 |
7 3/4 к 8 1/4 | 7 31/64 | 7 41/64 |
7 H-90 | - | - | 8 1/4 к 8 31/64 | 7 63/64 | 8 9/64 |
8 1/2 к 8 5/8 | 8 15/64 | 8 25/64 |
7 H-90 LT | - | - | 8 5/8 к 8 63/64 | 8 15/64 | 8 25/64 |
9 к 9 1/8 | 8 39/64 | 8 49/64 |
7 5/8 H-90 | - | - | 9 1/2 к 9 5/8 | 9 15/64 | 9 25/64 |
7 5/8 H-90 LT | - | - | 9 3/4 к 9 55/64 | 9 15/64 | 9 25/64 |
9 7/8 к 10 1/4 | 9 39/64 | 9 49/64 |
8 5/8 H-90 | - | - | 10 1/2 к 10 5/8 | 9 63/64 | 10 9/64 |
8 5/8 H-90 LT | - | - | 10 3/4 к 11 15/64 | 10 31/64 | 10 41/64 |
11 1/4 к 11 1/2 | 10 47/64 | 10 57/64 |
2 3/8 PAC | - | - | 2 3/4 к 2 63/64 | 2 11/16 | 2 27/32 |
3 к 3 1/8 | 2 47/64 | 2 57/64 |
2 7/8 PAC | - | - | 3 1/8 к 3 1/4 | 2 63/64 | 3 9/64 |
2 3/8 OH | - | - | 3 1/16 к 3 3/16 | 2 63/64 | 3 9/64 |
2 7/8 OH | - | - | 3 3/4 к 3 63/64 | 3 19/32 | 3 3/4 |
4 к 4 1/4 | 3 47/64 | 3 57/64 |
2 3/8 SH | - | - | 3 1/8 к 3 3/16 | 2 61/64 | 3 7/64 |
3 1/2 SH | - | - | 4 1/8 к 4 23/64 | 3 15/16 | 4 3/32 |
4 3/8 к 4 1/2 | 4 1/8 | 4 9/32 |
4 SH | 3 1/2 XH | - | 4 3/4 к 4 63/64 | 4 33/64 | 4 43/64 |
5 к 5 1/8 | 4 45/64 | 4 55/64 |
2 7/8 XH | 3 1/2 DSL | - | 4 1/8 к 4 23/64 | 3 53/64 | 3 63/64 |
4 3/8 к 4 1/2 | 4 1/64 | 4 11/64 |
5 1/2 IF | - | - | 7 1/2 к 7 39/64 | 7 1/8 | 7 9/32 |
7 5/8 к 7 55/64 | 7 5/16 | 7 15/32 |
7 7/8 к 8 7/64 | 7 1/2 | 7 21/32 |
8 1/8 к 8 23/64 | 7 11/16 | 7 27/32 |
8 3/8 к 8 9/16 | 7 7/8 | 8 1/32 |
8 5/8 к 8 55/64 | 8 1/16 | 8 7/32 |
8 7/8 к 9 | 8 1/4 | 8 13/32 |
6 5/8 IF | - | - | 9 к 9 15/64 | 8 39/64 | 8 49/64 |
9 1/4 к 9 31/32 | 8 51/64 | 8 61/64 |
9 1/2 к 9 47/64 | 8 63/64 | 9 9/64 |
9 3/4 к 9 63/64 | 9 11/64 | 9 21/64 |
10 к 10 1/4 | 9 23/64 | 9 33/64 |
<a> Маркировка приведена для информации и помощи при упорядочивании. <b> Максимальный наружный диаметр для индексового соединения может быть слишком большим для данного соединения. Пользователь должен проверить соотношение прочности на изгиб соединения и его крутящегося балансира перед утверждением данного наружного диаметра. <c> Максимальный диаметр упорного торца резьбы используется для соединений, перешлифованных на скважине. Скосы на механически обработанных соединениях должны соответствовать [8]. Примечания 2 Соединения утяжеленной бурильной трубы включают все соединения между буровым долотом, ТБТ и/или бурильной трубой, не включая их самих. |
Таблица D.12
Коэффициент прочности на изгиб для КНБК
Размеры в дюймах
Маркировка соединения <a> | | Наружный диаметр при коэффициенте прочности на изгиб <c> |
1/90 | 2/25 | 2,50 | 2,75 | 3,20 |
NC56 | 2 1/4 | 7 5/32 | 7 15/32 | 7 11/16 | 7 7/8 | 8 1/4 |
2 1/2 | 7 1/8 | 7 7/16 | 7 21/32 | 7 27/32 | 8 7/32 |
2 13/16 | 7 1/16 | 7 3/8 | 7 19/32 | 7 25/32 | 8 5/32 |
3 | 7 1/32 | 7 5/16 | 7 9/16 | 7 23/32 | 8 3/32 |
3 1/4 | 6 31/32 | 7 1/4 | 7 15/32 | 7 21/32 | 8 |
3 1/2 | 6 7/8 | 7 5/32 | 7 3/8 | 7 17/32 | 7 7/8 |
NC61 | 2 1/2 | 7 7/8 | 8 7/32 | 8 15/32 | 8 11/16 | 9 3/32 |
2 13/16 | 7 27/32 | 8 5/32 | 8 7/16 | 8 5/8 | 9 1/32 |
3 | 7 13/16 | 8 1/8 | 8 13/32 | 8 19/32 | 9 |
3 1/4 | 7 3/4 | 8 3/32 | 8 11/32 | 8 17/32 | 8 15/16 |
3 1/2 | 7 11/16 | 8 | 8 1/4 | 8 15/32 | 8 27/32 |
NC70 | 21/2 | 9 1/32 | 9 7/16 | 9 3/4 | 9 31/32 | 10 7/16 |
2 13/16 | 9 | 9 13/32 | 9 23/32 | 9 15/16 | 10 13/32 |
3 | 9 | 9 13/32 | 9 11/16 | 9 15/16 | 10 3/8 |
3 1/4 | 8 31/32 | 9 11/32 | 9 21/32 | 9 7/8 | 10 11/32 |
3 1/2 | 8 29/32 | 9 5/16 | 9 19/32 | 9 27/32 | 10 9/32 |
3 3/4 | 8 7/8 | 9 1/4 | 9 17/32 | 9 13/16 | 10 7/32 |
NC77 | 2 13/16 | 9 15/16 | 10 3/8 | 10 11/16 | 10 31/32 | 11 15/32 |
3 | 9 29/32 | 10 3/8 | 10 11/16 | 10 31/32 | 11 7/16 |
3 1/4 | 9 7/8 | 10 11/32 | 10 21/32 | 10 15/16 | 11 13/32 |
3 1/2 | 9 27/32 | 10 5/16 | 10 5/8 | 10 7/8 | 11 3/8 |
3 3/4 | 9 13/16 | 10 1/4 | 10 9/16 | 10 27/32 | 11 11/32 |
2 3/8 REG | 1 1/4 | 2 27/32 | 2 31/32 | 3 1/16 | 3 1/8 | 3 9/32 |
1 1/2 | 2 3/4 | 2 7/8 | 2 15/16 | 3 | 3 5/32 |
2 7/8 REG | 1 1/4 | 3 11/32 | 3 15/32 | 3 19/32 | 3 11/16 | 3 7/8 |
1 1/2 | 3 9/32 | 3 7/16 | 3 17/32 | 3 5/8 | 3 13/16 |
1 3/4 | 3 3/16 | 3 5/16 | 3 7/16 | 3 1/2 | 3 11/16 |
3 1/2 REG | 1 1/2 | 4 | 4 5/32 | 4 5/16 | 4 13/32 | 4 5/8 |
1 3/4 | 3 15/16 | 4 3/32 | 4 1/4 | 4 11/32 | 4 17/32 |
2 | 3 55/64 | 4 | 4 5/32 | 4 1/4 | 4 7/16 |
4 1/2 REG | 2 | 5 15/32 | 5 23/32 | 5 29/32 | 6 1/32 | 6 5/16 |
2 1/4 | 5 7/16 | 5 21/32 | 5 27/32 | 5 31/32 | 6 9/32 |
2 1/2 | 5 3/8 | 5 19/32 | 5 25/32 | 5 29/32 | 6 3/16 |
5 1/2 REG | 2 1/4 | 6 19/32 | 6 29/32 | 7 1/8 | 7 9/32 | 7 5/8 |
2 1/2 | 6 9/16 | 6 27/32 | 7 1/16 | 7 7/32 | 7 9/16 |
2 13/16 | 6 17/32 | 6 25/32 | 7 | 7 5/32 | 7 1/2 |
3 | 6 15/32 | 6 23/32 | 6 15/16 | 7 3/32 | 7 13/32 |
3 1/4 | 6 3/8 | 6 5/8 | 6 27/32 | 7 | 7 5/16 |
3 1/2 | 6 1/4 | 6 1/2 | 6 11/16 | 6 27/32 | 7 3/16 |
6 5/8 REG | 2 1/2 | 7 7/16 | 7 3/4 | 7 31/32 | 8 5/32 | 8 17/32 |
2 13/16 | 7 13/32 | 7 11/16 | 7 29/32 | 8 3/32 | 8 15/32 |
3 | 7 3/8 | 7 21/32 | 7 7/8 | 8 1/16 | 8 13/32 |
3 1/4 | 7 5/16 | 7 19/32 | 7 13/16 | 8 | 8 11/32 |
3 1/2 | 7 1/4 | 7 1/2 | 7 23/32 | 7 15/16 | 8 7/32 |
7 5/8 REG | 2 1/2 | 8 5/8 | 9 | 9 9/32 | 9 1/2 | 9 15/16 |
2 13/16 | 8 19/32 | 8 31/32 | 9 7/32 | 9 15/32 | 9 7/8 |
3 | 8 9/16 | 8 15/16 | 9 3/16 | 9 7/16 | 9 27/32 |
3 1/4 | 8 17/32 | 8 7/8 | 9 5/32 | 9 13/32 | 9 13/16 |
3 1/2 | 8 15/32 | 8 27/32 | 9 3/32 | 9 5/16 | 9 25/32 |
3 3/4 | 8 13/32 | 8 25/32 | 9 1/32 | 9 1/4 | 9 21/32 |
8 5/8 REG | 2 13/16 | 9 29/32 | 10 11/32 | 10 21/32 | 10 29/32 | 11 13/32 |
3 | 9 7/8 | 10 5/16 | 10 5/8 | 10 7/8 | 11 3/8 |
3 1/4 | 9 7/8 | 10 9/32 | 10 19/32 | 10 7/8 | 11 11/32 |
3 1/2 | 9 27/32 | 10 1/4 | 10 9/16 | 10 13/16 | 11 5/16 |
3 3/4 | 9 13/16 | 10 7/32 | 10 17/32 | 10 25/32 | 11 1/4 |
2 7/8 FH | 1 1/2 | 4 3/16 | 4 3/8 | 4 1/2 | 4 5/8 | 4 27/32 |
1 3/4 | 4 5/32 | 4 5/16 | 4 7/16 | 4 9/16 | 4 25/32 |
2 | 4 1/16 | 4 1/4 | 4 3/8 | 4 15/32 | 4 11/16 |
3 1/2 FH | 1 1/2 | 4 11/16 | 4 29/32 | 5 1/16 | 5 5/32 | 5 13/32 |
1 3/4 | 4 21/32 | 4 27/32 | 5 | 5 1/8 | 5 3/8 |
2 | 4 5/8 | 4 25/32 | 4 15/16 | 5 1/16 | 5 5/16 |
2 1/4 | 4 17/32 | 4 23/32 | 4 7/8 | 4 31/32 | 5 3/16 |
2 1/2 | 4 13/32 | 4 19/32 | 4 3/4 | 4 27/32 | 5 1/16 |
4 1/2 FH | 2 | 5 3/4 | 5 31/32 | 6 3/16 | 6 5/16 | 6 5/8 |
2 1/4 | 5 11/16 | 5 15/16 | 6 1/8 | 6 1/4 | 6 9/16 |
2 1/2 | 5 21/32 | 5 7/8 | 6 1/16 | 6 3/16 | 6 15/32 |
2 13/16 | 5 17/32 | 5 3/4 | 5 15/16 | 6 1/16 | 6 11/32 |
3 | 5 29/64 | 5 21/32 | 5 27/32 | 5 31/32 | 6 1/4 |
3 1/4 | 5 5/16 | 5 1/2 | 5 11/16 | 5 13/16 | 6 1/16 |
5 1/2 FH | 2 1/4 | 7 1/4 | 7 17/32 | 7 3/4 | 7 15/16 | 8 9/32 |
2 1/2 | 7 7/32 | 7 1/2 | 7 23/32 | 7 29/32 | 8 1/4 |
2 13/16 | 7 5/32 | 7 7/16 | 7 21/32 | 7 27/32 | 8 3/16 |
3 | 7 1/8 | 7 13/32 | 7 5/8 | 7 25/32 | 8 1/8 |
3 1/4 | 7 1/16 | 7 3/8 | 7 9/16 | 7 3/4 | 8 1/32 |
3 1/2 | 7 | 7 9/32 | 7 7/16 | 7 5/8 | 7 15/16 |
6 5/8 FH | 2 1/2 | 8 17/32 | 8 7/8 | 9 1/8 | 9 11/32 | 9 3/4 |
2 13/16 | 8 1/2 | 8 27/32 | 9 3/32 | 9 5/16 | 9 23/32 |
3 | 8 15/32 | 8 13/16 | 9 1/16 | 9 9/32 | 9 11/16 |
3 1/4 | 8 7/16 | 8 3/4 | 9 1/32 | 9 7/32 | 9 5/8 |
3 1/2 | 8 3/8 | 8 23/32 | 8 31/32 | 9 5/32 | 9 9/16 |
3 3/4 | 8 5/16 | 8 5/8 | 8 7/8 | 9 3/32 | 9 15/32 |
3 1/2 H 90 | 2 | 5 1/32 | 5 7/32 | 5 3/8 | 5 1/2 | 5 3/4 |
2 1/4 | 4 31/32 | 5 1/8 | 5 5/16 | 5 13/32 | 5 21/32 |
2 1/2 | 4 7/8 | 5 1/32 | 5 3/16 | 5 5/16 | 5 17/32 |
4 H 90 | 2 | 5 17/32 | 5 3/4 | 5 15/16 | 6 1/16 | 6 11/32 |
2 1/4 | 5 1/2 | 5 11/16 | 5 7/8 | 6 | 6 9/32 |
2 1/2 | 5 7/16 | 5 5/8 | 5 13/16 | 5 15/16 | 6 3/16 |
2 13/16 | 5 5/16 | 5 1/2 | 5 11/16 | 5 13/16 | 6 1/32 |
4 1/2 H 90 | 2 | 6 | 6 7/32 | 6 7/16 | 6 9/16 | 6 7/8 |
2 1/4 | 5 31/32 | 6 3/16 | 6 3/8 | 6 17/32 | 6 13/16 |
2 1/2 | 5 29/32 | 6 1/8 | 6 5/16 | 6 15/32 | 6 3/4 |
2 13/16 | 5 13/16 | 6 1/32 | 6 7/32 | 6 3/8 | 6 5/8 |
3 | 5 3/4 | 5 31/32 | 6 1/8 | 6 9/32 | 6 17/32 |
3 1/4 | 5 5/8 | 5 27/32 | 6 | 6 1/8 | 6 3/8 |
5 H 90 | 2 1/4 | 6 5/16 | 6 19/32 | 6 25/32 | 6 15/16 | 7 1/4 |
2 1/2 | 6 9/32 | 6 17/32 | 6 3/4 | 6 29/32 | 7 7/32 |
2 13/16 | 6 7/32 | 6 15/32 | 6 21/32 | 6 13/16 | 7 3/32 |
3 | 6 5/32 | 6 13/32 | 6 19/32 | 6 23/32 | 7 1/32 |
3 1/4 | 6 1/16 | 6 9/32 | 6 15/32 | 6 19/32 | 6 7/8 |
3 1/2 | 5 15/16 | 6 1/8 | 6 5/16 | 6 7/16 | 6 3/4 |
5 1/2 H 90 | 2 1/4 | 6 23/32 | 6 31/32 | 7 3/16 | 7 3/8 | 7 11/16 |
2 1/2 | 6 11/16 | 6 15/16 | 7 5/32 | 7 5/16 | 7 21/32 |
2 13/16 | 6 5/8 | 6 7/8 | 7 3/32 | 7 1/4 | 7 9/16 |
3 | 6 9/16 | 6 13/16 | 7 1/32 | 7 3/16 | 7 1/2 |
3 1/4 | 6 1/2 | 6 23/32 | 6 31/32 | 7 3/32 | 7 13/32 |
3 1/2 | 6 3/8 | 6 5/8 | 6 13/16 | 6 15/16 | 7 1/4 |
6 5/8 H 90 | 2 1/2 | 7 9/16 | 7 27/32 | 8 3/32 | 8 9/32 | 8 21/32 |
2 13/16 | 7 1/2 | 7 13/16 | 8 1/16 | 8 7/32 | 8 19/32 |
3 | 7 15/32 | 7 25/32 | 8 | 8 3/16 | 8 9/16 |
3 1/4 | 7 7/16 | 7 23/32 | 7 15/16 | 8 1/8 | 8 15/32 |
3 1/2 | 7 11/32 | 7 5/8 | 7 27/32 | 8 1/32 | 8 3/8 |
7 H 90 | 2 1/2 | 8 | 8 11/32 | 8 5/8 | 8 13/16 | 9 1/4 |
2 13/16 | 7 15/16 | 8 5/16 | 8 9/16 | 8 25/32 | 9 3/16 |
3 | 7 29/32 | 8 9/32 | 8 17/32 | 8 3/4 | 9 5/32 |
3 1/4 | 7 7/8 | 8 7/32 | 8 15/32 | 8 11/16 | 9 3/32 |
3 1/2 | 7 13/16 | 8 5/32 | 8 13/32 | 8 21/32 | 9 |
7 5/8 H 90 | 2 13/16 | 9 5/32 | 9 9/16 | 9 27/32 | 10 1/8 | 10 9/16 |
3 | 9 1/8 | 9 17/32 | 9 27/32 | 10 3/32 | 10 9/16 |
3 1/4 | 9 3/32 | 9 1/2 | 9 13/16 | 10 1/16 | 10 1/2 |
3 1/2 | 9 1/16 | 9 15/32 | 9 3/4 | 10 | 10 15/32 |
3 3/4 | 9 1/32 | 9 13/32 | 9 11/16 | 9 15/16 | 10 13/32 |
8 5/8 H 90 | 3 | 10 5/16 | 10 25/32 | 11 3/32 | 11 13/32 | 11 29/32 |
3 1/4 | 10 9/32 | 10 3/4 | 11 1/16 | 11 3/8 | 11 7/8 |
3 1/2 | 10 1/4 | 10 23/32 | 11 1/16 | 11 11/32 | 11 27/32 |
3 3/4 | 10 7/32 | 10 11/16 | 11 | 11 5/16 | 11 13/16 |
2 3/8 PAC | 1 1/4 | 2 51/64 | 2 57/64 | 2 31/32 | 3 1/32 | 3 5/32 |
1 1/2 | 2 45/64 | 2 25/32 | 2 55/64 | 2 29/32 | 3 1/32 |
1 3/4 | 2 17/32 | 2 19/32 | 2 21/32 | 2 11/16 | 2 25/32 |
2 7/8 PAC | 1 1/4 | 3 3/64 | 3 5/32 | 3 15/64 | 3 5/16 | 3 7/16 |
1 1/2 | 2 31/32 | 3 1/16 | 3 9/64 | 3 7/32 | 3 11/32 |
1 3/4 | 2 27/32 | 2 59/64 | 3 | 3 3/64 | 3 5/32 |
3 1/2 PAC | 1 1/2 | 3 11/16 | 3 53/64 | 3 15/16 | 4 1/32 | 4 13/64 |
1 3/4 | 3 5/8 | 3 49/64 | 3 55/64 | 3 61/64 | 4 7/64 |
2 | 3 33/64 | 3 41/64 | 3 47/64 | 3 13/16 | 3 61/64 |
2 3/8 OH | 1 1/4 | 3 23/64 | 3 31/64 | 3 37/64 | 3 21/32 | 3 13/16 |
1 1/2 | 3 5/16 | 3 27/64 | 3 33/64 | 3 19/32 | 3 47/64 |
1 3/4 | 3 7/32 | 3 5/16 | 3 13/32 | 3 15/32 | 3 19/32 |
2 7/8 OH | 1 1/2 | 3 55/64 | 4 | 4 1/8 | 4 13/64 | 4 3/8 |
1 3/4 | 3 51/64 | 3 15/16 | 4 3/64 | 4 9/64 | 4 19/64 |
2 | 3 45/64 | 3 27/32 | 3 15/16 | 4 1/64 | 4 11/64 |
3 1/2 OH | 1 1/2 | 4 57/64 | 5 3/32 | 5 15/64 | 5 23/64 | 5 37/64 |
1 3/4 | 4 7/8 | 5 1/16 | 5 3/16 | 5 5/16 | 5 17/32 |
2 | 4 53/64 | 5 1/64 | 5 9/64 | 5 17/64 | 5 15/32 |
4 OH | 2 | 5 49/64 | 6 | 6 11/64 | 6 5/16 | 6 37/64 |
2 1/4 | 5 47/64 | 5 31/32 | 6 1/8 | 6 17/64 | 6 17/32 |
2 1/2 | 5 43/64 | 5 29/32 | 6 1/16 | 6 13/64 | 6 29/64 |
4 1/2 OH | 3 1/4 | 5 15/16 | 6 5/32 | 6 5/16 | 6 29/64 | 6 45/64 |
3 1/2 | 5 13/16 | 6 | 6 5/32 | 6 9/32 | 6 33/64 |
3 3/4 | 5 41/64 | 5 13/16 | 5 15/16 | 6 3/64 | 6 17/64 |
<a> Маркировки приведены для информации и помощи при упорядочивании. <b> Небольшие различия между измерениями внутреннего диаметра и значениями внутреннего диаметра, указанными в таблицах, незначительны, поэтому используйте внутренний диаметр, указанный в таблице, значение которого является наиболее близким к измеренному внутреннему диаметру. <c> При вычислении коэффициента прочности на изгиб действие разгрузочных деталей не учитывается. |
Таблица D.13
Элеваторная канавка утяжеленной бурильной трубы
и буртик бурильной трубы
Размеры в дюймах
Длины наружного диаметра утяжеленной бурильной трубы | Глубина канавки под элеватор le <a> | Радиус вершины канавки под элеватор rEG | Длина канавки под элеватор Leg с допуском от +1 до 0 | Глубина канавки клиновой плашки ls <a> | Радиус вершины канавки клиновой плашки rSG | Длина канавки клиновой плашки Lsg с допуском от +2 до 0 |
4 к 4 5/8 | 7/32 | 1/8 | 16 | 3/16 | 1 | 18 |
4 3/4 к 5 5/8 | 1/4 | 1/8 | 16 | 3/16 | 1 | 18 |
5 3/4 к 6 5/8 | 5/16 | 1/8 | 16 | 1/4 | 1 | 18 |
6 3/4 к 8 5/8 | 3/8 | 3/16 | 16 | 1/4 | 1 | 18 |
8 3/4 и более | 7/16 | 1/4 | 16 | 1/4 | 1 | 18 |
<a> Размеры le и ls взяты из номинального наружного диаметра новой утяжеленной бурильной трубы. |
Таблица D.14
Уступ обратного клапана переводника долота
Размеры в дюймах
| Длина узла клапана | Маркировка <b> резьбового упорного соединения | Длина уступа обратного клапана Lr +/- 1/16 | Длина уступа отбойной перегородки Lbr | Диаметр уступа обратного клапана Dfr с допуском от +1/64 до 0 |
1 21/32 | 5 7/8 | 2 3/8 REG | 9 1/8 | 3 | 1 11/16 |
1 21/32 | 5 7/8 | NC23 | 9 1/8 | 3 | 1 11/16 |
1 29/32 | 6 1/4 | 2 7/8 REG | 10 | 3 | 1 15/16 |
1 29/32 | 6 1/4 | NC26 | 9 1/2 | 3 | 1 15/16 |
2 13/32 | 6 1/2 | 3 1/2 REG | 10 1/2 | 3 | 2 7/16 |
2 13/32 | 6 1/2 | NC31 | 10 1/4 | 3 | 2 7/16 |
2 13/16 | 10 | 3 1/2 FH | 14 | 3 | 2 27/32 |
3 1/8 | 10 | NC38 | 14 1/4 | 3 | 3 5/32 |
3 15/32 | 8 5/16 | 4 1/2 REG | 12 13/16 | 3 | 3 1/2 |
3 15/32 | 8 5/16 | NC44 | 13 1/16 | 3 | 3 1/2 |
3 21/32 | 12 | NC46 | 16 3/4 | 3 | 3 11/16 |
3 7/8 | 9 3/4 | 5 1/2 REG | 14 3/4 | 3 | 3 29/32 |
3 7/8 | 9 3/4 | NC50 | 14 1/2 | 3 | 3 29/32 |
4 25/32 | 11 3/4 | 6 5/8 REG | 17 | 3 | 4 13/16 |
4 25/32 | 11 3/4 | 5 1/2 IF | 17 | 3 | 4 13/16 |
4 25/32 | 11 3/4 | 7 5/8 REG | 17 1/4 | 3 | 4 13/16 |
4 25/32 | 11 3/4 | 5 1/2 FH | 17 | 3 | 4 13/16 |
4 25/32 | 11 3/4 | 8 5/8 REG | 17 3/8 | 3 | 4 13/16 |
4 25/32 | 11 3/4 | NC61 | 17 1/2 | 3 | 4 13/16 |
5 11/16 | 14 5/8 | 8 5/8 REG | 20 1/4 | 3 | 5 23/32 |
5 11/16 | 14 5/8 | 6 5/8 IF | 19 7/8 | 3 | 5 23/32 |
<a> Внутренний диаметр утяжеленной бурильной трубы или переводника и внутренний диаметр ниппеля бурильного долота должны быть достаточно малы для удержания клапана. <b> Маркировки приведены для информации и помощи при упорядочивании. |
Таблица D.15
Диаметры переводников долота, бывших в употреблении,
и диаметр упорного торца резьбы
Размеры в дюймах
Маркировка соединения <a> | Диаметр наддолотного переводника | Диаметр долота |
min | | min | |
1 REG | 1,452 | 1,484 | 1,484 | 1,516 |
1 1/2 REG | 1,916 | 1,948 | 1,948 | 1,979 |
2 3/8 REG | 3,031 | 3,063 | 3,062 | 3,094 |
2 7/8 REG | 3 19/32 | 3 5/8 | 3 5/8 | 3 11/32 |
3 1/2 REG | 4 3/32 | 4 1/8 | 4 1/8 | 4 5/32 |
4 1/2 REG | 5 5/16 | 5 11/32 | 5 11/32 | 5 3/8 |
5 1/2 REG | 6 31/64 | 6 33/64 | 6 33/64 | 6 35/32 |
6 5/8 REG | 7 11/32 | 7 3/8 | 7 3/8 | 7 13/32 |
7 5/8 REG | 8 29/64 | 8 31/64 | 8 31/64 | 8 33/64 |
8 5/8 REG | 9 17/32 | 9 9/16 | 9 9/16 | 9 19/32 |
<a> Маркировки приведены для информации и помощи при упорядочивании. <b> Максимальный диаметр упорного торца резьбы используется для соединений, перешлифованных на скважине. Они не должны использоваться для новых продуктов. |
Таблица D.16
Критерии АНИ для соединения высаженных концов
спусковой колонны
Размеры в дюймах
| Длина (измеренная с конца ниппеля) Lc | Длина стыковки чистой резьбы | Максимальная закрепленная на станке структура | Минимальная закрепленная на станке структура | Минимальная длина стыковки H |
1,050 | 0,300 | 1,025 | 1,875 | 2,325 | 3,250 |
1,315 | 0,350 | 1,150 | 1,950 | 2,450 | 3,500 |
1,660 | 0,475 | 1,275 | 2,075 | 2,575 | 3,750 |
1,900 | 0,538 | 1,338 | 2,138 | 2,638 | 3,875 |
2 3/8 | 0,938 | 1,813 | 2,688 | 3,188 | 4,875 |
2 7/8 | 1,125 | 2,000 | 2,875 | 3,375 | 5,250 |
3 1/2 | 1,375 | 2,250 | 3,125 | 3,625 | 5,750 |
4 | 1,500 | 2,375 | 3,250 | 3,750 | 6,000 |
4 1/2 | 1,625 | 2,500 | 3,375 | 3,875 | 6,250 |
<a> Маркировки приведены для информации и помощи при упорядочивании. |
Таблица D.17
Масса на фут бурильного замка для различных комбинаций
наружного и внутреннего диаметров
Размеры в фунтах/фут,
если не предусмотрено иначе
Наружный диаметр | Масса на фут бурильного замка на внутреннем диаметре в дюймах |
1 3/8 | 1 1/2 | 1 5/8 | 1 3/4 | 1 7/8 | 2 | 2 1/8 | 2 1/4 | 2 5/32 | 2 7/16 | 2 1/2 | 2 9/16 | 2 5/8 | 2 11/16 | 2 3/4 | 2 13/16 | 2 7/8 | 3 | 3 1/4 | 3 7/16 | 3 15/32 | 3 1/2 | 3 5/8 | 3 3/4 | 4 | 4 3/4 | 5 |
2 7/8 | 17 | 16 | 15 | - | - | - | - | - | - | - | - | - | - | - | - | - | - | - | - | - | - | - | - | - | - | - | - |
3 1/8 | 21 | 20 | 19 | 18 | 17 | 15 | 14 | 13 | - | - | - | - | - | - | - | - | - | - | - | - | - | - | - | - | - | - | - |
3 3/8 | - | 24 | 23 | 22 | 21 | 20 | 18 | 17 | - | - | - | - | - | - | - | - | - | - | - | - | - | - | - | - | - | - | - |
3 1/4 | 26 | 22 | 21 | 20 | 19 | 18 | 16 | 15 | 16 | - | - | - | - | - | - | - | - | - | - | - | - | - | - | - | - | - | - |
3 3/4 | - | 32 | 30 | 29 | 28 | 27 | 25 | 24 | 25 | 22 | 21 | 20 | 19 | 18 | 17 | 16 | 15 | 14 | 9 | 6 | - | - | - | - | - | - | - |
3 7/8 | - | - | - | 3 | 31 | 29 | 28 | 27 | 28 | 24 | 23 | 23 | 22 | 21 | 20 | 19 | 18 | 16 | 12 | 9 | - | - | - | - | - | - | - |
4 | - | - | - | 35 | 33 | 32 | 31 | 29 | 30 | 27 | 26 | 25 | 24 | 23 | 23 | 22 | 21 | 19 | 15 | 11 | - | - | - | - | - | - | - |
4 1/8 | - | - | - | - | - | 35 | 33 | 32 | 33 | 30 | 29 | 28 | 27 | 26 | 25 | 24 | 23 | 21 | 17 | 14 | - | - | - | - | - | - | - |
4 1/4 | - | - | - | - | - | 38 | 36 | 35 | 36 | 32 | 32 | 31 | 30 | 29 | 28 | 27 | 26 | 24 | 20 | 17 | - | - | - | - | - | - | - |
4 3/8 | - | - | - | - | - | 40 | 39 | 38 | 39 | 35 | 34 | 34 | 33 | 32 | 31 | 30 | 29 | 27 | 23 | 20 | - | - | - | - | - | - | - |
4 1/2 | - | - | - | - | - | 43 | 42 | 41 | 42 | 38 | 37 | 37 | 36 | 35 | 34 | 33 | 32 | 30 | 26 | 23 | - | - | - | - | - | - | - |
4 5/8 | - | - | - | - | - | 46 | 45 | 44 | 45 | 41 | 40 | 40 | 39 | 38 | 37 | 36 | 35 | 33 | 29 | 26 | - | - | - | - | - | - | - |
4 3/4 | - | - | - | - | - | 50 | 48 | 47 | 48 | 44 | 44 | 43 | 42 | 41 | 40 | 39 | 38 | 36 | 32 | 29 | - | - | - | - | - | - | - |
4 7/8 | - | - | - | - | - | 53 | 51 | 50 | 51 | 48 | 47 | 46 | 45 | 44 | 43 | 42 | 41 | 39 | 35 | 32 | 31 | - | - | - | - | - | - |
5 | - | - | - | - | - | 56 | 55 | 53 | 54 | 51 | 50 | 49 | 48 | 47 | 47 | 46 | 45 | 43 | 39 | 35 | 35 | - | - | - | - | - | - |
5 1/8 | - | - | - | - | - | - | - | - | 58 | 54 | 53 | 53 | 52 | 51 | 50 | 49 | 48 | 46 | 42 | 39 | 38 | - | - | - | - | - | - |
5 1/4 | - | - | - | - | - | - | - | - | 61 | 58 | 57 | 56 | 55 | 54 | 53 | 52 | 52 | 50 | 45 | 42 | 41 | - | - | - | - | - | - |
5 3/8 | - | - | - | - | - | - | - | - | 65 | 61 | 60 | 60 | 59 | 58 | 57 | 56 | 55 | 53 | 49 | 46 | 45 | - | - | - | - | - | - |
5 1/2 | - | - | - | - | - | - | - | - | - | 65 | 64 | 63 | 62 | 61 | 61 | 60 | 59 | 57 | 53 | 49 | 49 | - | - | - | - | - | - |
5 5/8 | - | - | - | - | - | - | - | - | - | 69 | 68 | 67 | 66 | 65 | 64 | 63 | 62 | 60 | 56 | 53 | 52 | - | - | - | - | - | - |
5 3/4 | - | - | - | - | - | - | - | - | - | 72 | 72 | 71 | 70 | 69 | 68 | 67 | 66 | 64 | 60 | 57 | 56 | 56 | 53 | - | - | - | - |
5 7/8 | - | - | - | - | - | - | - | - | - | 76 | 75 | 75 | 74 | 73 | 72 | 71 | 70 | 68 | 64 | 61 | 60 | 59 | 57 | - | - | - | - |
6 | - | - | - | - | - | - | - | - | - | 80 | 79 | 79 | 7 | 77 | 76 | 75 | 74 | 72 | 68 | 65 | 64 | 63 | 61 | - | - | - | - |
6 1/8 | - | - | - | - | - | - | - | - | - | 84 | 83 | 83 | 82 | 81 | 80 | 79 | 78 | 76 | 72 | 69 | 68 | 67 | 65 | 63 | - | - | - |
6 1/4 | - | - | - | - | - | - | - | - | - | 88 | 88 | 87 | 86 | 85 | 84 | 83 | 82 | 80 | 76 | 73 | 72 | 72 | 69 | 67 | - | - | - |
6 3/8 | - | - | - | - | - | - | - | - | - | 93 | 92 | 91 | 90 | 89 | 88 | 87 | 86 | 84 | 80 | 77 | 76 | 76 | 73 | 71 | - | - | - |
6 1/2 | - | - | - | - | - | - | - | - | - | 97 | 96 | 95 | 94 | 94 | 93 | 92 | 91 | 89 | 85 | 81 | 81 | 80 | 78 | 75 | - | - | - |
6 5/8 | - | - | - | - | - | - | - | - | - | 101 | 101 | 100 | 99 | 98 | 97 | 96 | 95 | 93 | 8 | 86 | 85 | 84 | 82 | 80 | - | - | - |
6 3/4 | - | - | - | - | - | - | - | - | - | 106 | 105 | 104 | 103 | 102 | 101 | 101 | 100 | 98 | 93 | 90 | 90 | 89 | 87 | 84 | - | - | - |
6 7/8 | - | - | - | - | - | - | - | - | - | 110 | 110 | 109 | 108 | 107 | 106 | 105 | 104 | 102 | 98 | 95 | 94 | 93 | 91 | 89 | - | - | - |
7 | - | - | - | - | - | - | - | - | - | 115 | 114 | 113 | 112 | 112 | 111 | 110 | 109 | 107 | 103 | 99 | 99 | 9 | 96 | 93 | - | - | - |
7 1/8 | - | - | - | - | - | - | - | - | - | 120 | 119 | 118 | 117 | 116 | 115 | 114 | 113 | 112 | 107 | 104 | 103 | 103 | 100 | 98 | - | - | - |
7 1/4 | - | - | - | - | - | - | - | - | - | 124 | 124 | 123 | 122 | 121 | 120 | 119 | 118 | 116 | 112 | 109 | 108 | 108 | 105 | 103 | - | - | - |
7 3/8 | - | - | - | - | - | - | - | - | - | 129 | 129 | 128 | 127 | 126 | 125 | 124 | 123 | 121 | 117 | 114 | 113 | 113 | 110 | 108 | - | - | - |
7 1/2 | - | - | - | - | - | - | - | - | - | 134 | 134 | 133 | 132 | 131 | 130 | 129 | 118 | 128 | 122 | 119 | 118 | 117 | 115 | 113 | 107 | 90 | - |
7 5/8 | - | - | - | - | - | - | - | - | - | 139 | 139 | 138 | 137 | 136 | 135 | 134 | 133 | 131 | 127 | 124 | 123 | 123 | 120 | 118 | 113 | 95 | - |
7 3/4 | - | - | - | - | - | - | - | - | - | 145 | 144 | 143 | 142 | 141 | 140 | 139 | 138 | 136 | 132 | 129 | 128 | 128 | 125 | 123 | 118 | 100 | - |
7 7/8 | - | - | - | - | - | - | - | - | - | 150 | 149 | 148 | 147 | 146 | 145 | 144 | 144 | 142 | 137 | 134 | 133 | 133 | 130 | 128 | 123 | 105 | - |
8 | - | - | - | - | - | - | - | - | - | - | - | - | - | - | - | - | - | - | - | - | 139 | 138 | 136 | 133 | 128 | 111 | 104 |
8 1/8 | - | - | - | - | - | - | - | - | - | - | - | - | - | - | - | - | - | - | - | - | - | - | - | 139 | 134 | 116 | 110 |
8 1/4 | - | - | - | - | - | - | - | - | - | - | - | - | - | - | - | - | - | - | - | - | - | - | - | 144 | 139 | 121 | 115 |
8 3/8 | - | - | - | - | - | - | - | - | - | - | - | - | - | - | - | - | - | - | - | - | - | - | - | - | 145 | 127 | 121 |
8 1/2 | - | - | - | - | - | - | - | - | - | - | - | - | - | - | - | - | - | - | - | - | - | - | - | - | 150 | 133 | 126 |
Таблица D.18
Масса на фут утяжеленной бурильной трубы для различных
комбинаций наружного и внутреннего диаметров
Размер в фунтах/фут,
если не предусмотрено иначе
Наружный диаметр, дюйм | Масса на фут утяжеленной бурильной трубы на внутреннем диаметре в дюймах |
1 | 1 1/4 | 1 1/2 | 1 3/4 | 2 | 2 1/4 | 2 1/2 | 2 3/16 | 3 | 3 1/4 | 3 1/2 | 3 3/4 | 4 |
2 7/8 | 19 | 18 | 16 | - | - | - | - | - | - | - | - | - | - |
3 | 21 | 20 | 18 | - | - | - | - | - | - | - | - | - | - |
3 1/8 | 23 | 22 | 20 | - | - | - | - | - | - | - | - | - | - |
3 1/4 | 26 | 24 | 22 | - | - | - | - | - | - | - | - | - | - |
3 3/4 | 35 | 33 | 32 | - | - | - | - | - | - | - | - | - | - |
3 1/2 | 30 | 29 | 27 | - | - | - | - | - | - | - | - | - | - |
3 5/8 | 32 | 31 | 29 | - | - | - | - | - | - | - | - | - | - |
3 3/4 | 35 | 33 | 32 | - | - | - | - | - | - | - | - | - | - |
3 7/8 | 37 | 36 | 34 | - | - | - | - | - | - | - | - | - | - |
4 | 40 | 39 | 37 | 35 | 32 | 29 | - | - | - | - | - | - | - |
4 1/8 | 43 | 41 | 39 | 37 | 35 | 32 | - | - | - | - | - | - | - |
4 1/4 | 46 | 44 | 42 | 40 | 38 | 35 | - | - | - | - | - | - | - |
4 3/8 | 48 | 47 | 45 | 43 | 40 | 38 | - | - | - | - | - | - | - |
4 1/2 | 51 | 50 | 48 | 46 | 43 | 41 | - | - | - | - | - | - | - |
4 5/8 | - | - | 51 | 49 | 46 | 44 | - | - | - | - | - | - | - |
4 3/4 | - | - | 54 | 52 | 50 | 47 | 44 | - | - | - | - | - | - |
4 7/8 | - | - | 57 | 55 | 53 | 50 | 47 | - | - | - | - | - | - |
5 | - | - | 61 | 59 | 56 | 53 | 50 | - | - | - | - | - | - |
5 1/8 | - | - | 64 | 62 | 59 | 57 | 53 | - | - | - | - | - | - |
5 1/4 | - | - | 68 | 65 | 63 | 60 | 57 | - | - | - | - | - | - |
5 3/8 | - | - | 71 | 69 | 66 | 64 | 60 | - | - | - | - | - | - |
5 1/2 | - | - | 75 | 73 | 70 | 67 | 64 | 60 | - | - | - | - | - |
5 5/8 | - | - | 78 | 76 | 74 | 71 | 68 | 63 | - | - | - | - | - |
5 3/4 | - | - | 82 | 80 | 78 | 75 | 72 | 67 | 64 | 60 | - | - | - |
5 7/8 | - | - | 86 | 84 | 81 | 79 | 75 | 71 | 68 | 64 | - | - | - |
6 | - | - | 90 | 88 | 85 | 83 | 79 | 75 | 72 | 68 | - | - | - |
6 1/8 | - | - | 94 | 92 | 89 | 87 | 83 | 79 | 76 | 72 | - | - | - |
6 1/4 | - | - | 98 | 96 | 94 | 91 | 88 | 83 | 80 | 76 | 72 | - | - |
6 3/8 | - | - | 103 | 100 | 98 | 95 | 92 | 87 | 84 | 80 | 76 | - | - |
6 1/2 | - | - | 107 | 105 | 102 | 99 | 96 | 92 | 89 | 85 | 80 | - | - |
6 5/8 | - | - | 111 | 109 | 107 | 104 | 101 | 96 | 93 | 8 | 84 | - | - |
6 3/4 | - | - | 116 | 113 | 111 | 108 | 105 | 101 | 98 | 93 | 89 | - | - |
6 7/8 | - | - | 120 | 118 | 116 | 113 | 110 | 105 | 102 | 98 | 93 | - | - |
7 | - | - | 125 | 123 | 120 | 117 | 114 | 110 | 107 | 103 | 98 | 93 | 88 |
7 1/8 | - | - | 130 | 127 | 125 | 122 | 119 | 114 | 112 | 107 | 103 | 98 | 93 |
7 1/4 | - | - | 134 | 132 | 130 | 127 | 124 | 119 | 116 | 112 | 108 | 103 | 98 |
7 3/8 | - | - | 139 | 137 | 135 | 132 | 129 | 124 | 121 | 117 | 113 | 108 | 103 |
7 1/2 | - | - | 144 | 142 | 140 | 137 | 134 | 129 | 126 | 122 | 117 | 113 | 107 |
7 5/8 | - | - | 149 | 147 | 145 | 142 | 139 | 134 | 131 | 127 | 123 | 118 | 113 |
7 3/4 | - | - | 154 | 152 | 150 | 147 | 144 | 139 | 136 | 132 | 128 | 123 | 118 |
7 7/8 | - | - | 160 | 157 | 155 | 152 | 149 | 144 | 142 | 137 | 133 | 128 | 123 |
8 | - | - | 165 | 163 | 160 | 157 | 154 | 150 | 147 | 143 | 138 | 133 | 128 |
8 1/8 | - | - | 170 | 168 | 166 | 163 | 160 | 155 | 152 | 148 | 144 | 139 | 134 |
8 1/4 | - | - | 176 | 174 | 171 | 168 | 165 | 161 | 158 | 154 | 149 | 144 | 139 |
8 3/8 | - | - | 181 | 179 | 177 | 174 | 171 | 166 | 163 | 159 | 155 | 150 | 145 |
8 1/2 | - | - | 187 | 185 | 182 | 179 | 176 | 172 | 169 | 165 | 160 | 155 | 150 |
9 | - | - | 210 | 208 | 206 | 203 | 200 | 195 | 192 | 188 | 184 | 179 | 174 |
9 1/4 | - | - | 222 | 220 | 218 | 215 | 212 | 207 | 204 | 200 | 196 | 191 | 186 |
9 1/2 | - | - | 235 | 233 | 230 | 27 | 224 | 220 | 217 | 213 | 208 | 203 | 19 |
9 3/4 | - | - | 248 | 246 | 243 | 240 | 237 | 233 | 230 | 226 | 221 | 216 | 211 |
10 | - | - | 261 | 259 | 256 | 253 | 250 | 246 | 243 | 239 | 234 | 229 | 224 |
10 1/2 | - | - | 288 | 286 | 284 | 281 | 278 | 273 | 270 | 266 | 262 | 257 | 252 |
11 | - | - | 317 | 315 | 312 | 310 | 306 | 302 | 299 | 295 | 290 | 286 | 280 |
11 1/2 | - | - | 347 | 345 | 342 | 340 | 336 | 332 | 329 | 325 | 320 | 316 | 310 |
12 | - | - | 378 | 376 | 374 | 371 | 368 | 363 | 360 | 356 | 352 | 347 | 342 |
7 | - | - | 125 | 123 | 120 | 117 | 114 | 110 | 107 | 103 | 98 | 93 | 88 |
7 1/8 | - | - | 130 | 127 | 125 | 122 | 119 | 114 | 112 | 107 | 103 | 98 | 93 |
7 1/4 | - | - | 134 | 132 | 130 | 127 | 124 | 119 | 116 | 112 | 108 | 103 | 98 |
7 3/8 | - | - | 139 | 137 | 135 | 132 | 129 | 124 | 121 | 117 | 113 | 108 | 103 |
7 1/2 | - | - | 144 | 142 | 140 | 137 | 134 | 129 | 126 | 122 | 117 | 113 | 107 |
7 5/8 | - | - | 149 | 147 | 145 | 142 | 139 | 134 | 131 | 127 | 123 | 118 | 113 |
7 3/4 | - | - | 154 | 152 | 150 | 147 | 144 | 139 | 136 | 132 | 128 | 123 | 118 |
7 7/8 | - | - | 160 | 157 | 155 | 152 | 149 | 144 | 142 | 137 | 133 | 128 | 123 |
8 | - | - | 165 | 163 | 160 | 157 | 154 | 150 | 147 | 143 | 138 | 133 | 128 |
8 1/8 | - | - | 170 | 168 | 166 | 163 | 160 | 155 | 152 | 148 | 144 | 139 | 134 |
8 1/4 | - | - | 176 | 174 | 171 | 168 | 165 | 161 | 158 | 154 | 149 | 144 | 139 |
(справочное)
ПО РАЗЛИЧНЫМ ЭТАПАМ КОНТРОЛЯ/ОСМОТРА
E.1 Буровое оборудование
Информация, приведенная ниже, является примерными указаниями в выборе уровня осмотра в соответствии с эксплуатационной средой. Эксплуатационная среда будет рассмотрена во время процесса оценивания качества. При выборе уровня осмотра следует учитывать более высокие затраты, связанные со средним или обязательным сервисным осмотром. Виды осмотра, в которых проводятся измерение и запись результатов измерения намного дороже, чем проверка по принципу "годен - не годен", которая проводится для того, чтобы убедиться в том, что элемент соответствует установленным требованиям.
Таблица E.1
Уровни осмотра
Уровень осмотра | Нагрузка, %, мощность | Проектный риск | Срок службы |
Стандартный | Не менее 40 | Низкий | Краткий |
Средний | От 40 до 70 включ. | Средний | Стандартный |
Обязательный | Св. 70 | Высокий | Долгий |
Предельный | Св. 80 | Очень высокий | Очень долгий |
E.2 Стандартный осмотр
E.2.1 Рабочие условия
Проведение стандартного осмотра требуется при следующих рабочих условиях:
- коррозионная среда: буровой раствор на нефтяной или синтетической основе (низкая коррозионная активность), и бурение не проводится при пониженном гидростатическом давлении в стволе скважины;
- изнашиваемость: мягкие, неабразивные горные породы;
- усталость: низкая вибрация, низкая степень искривления ствола скважины [менее 2,0°/30,5 м (100 футов)], сила боковой нагрузки менее 59,6 кг/м (40 фунтов/дюйм), низкая скорость вращения, менее 120 об/мин, без расширения ствола снизу вверх;
- плотность бурового раствора: ниже 1,44 кг/л (12 фунт/галлон).
E.2.2 Нагрузки
Проведение стандартного осмотра требуется при следующих нагрузках:
- напряжение: ожидаемая максимальная нагрузка не выше 40% осматриваемой категории номинальных параметров;
- крутящий момент: ожидаемая максимальная нагрузка не выше 40% нагрузки крутящего момента при свинчивании;
- ударный яс: не предполагается наличие ударного яса бурильной трубы или яса.
E.2.3 Проектный риск
Проведение стандартного осмотра требуется при следующих условиях проектных рисков:
- расходы на буровую установку: низкие затраты на буровую установку из-за установок наземного бурения;
- природоохранные: суровая окружающая среда, с низким уровнем риска для живой природы и человечества;
- критический процесс: некритический этап или процесс при строительстве скважины; восстановление возможно и не требует высоких затрат.
E.2.4 Суммарное время чистого бурения
Количество часов чистого бурения между процедурами контроля менее 100 ч. Для оборудования, которое не подвергается высоким нагрузкам (бурильные элементы высокой нагрузки включают: стабилизаторы, турбобуры с регулятором угла и горловинные переходники).
E.3 Средний осмотр
E.3.1 Рабочие условия
Проведение среднего осмотра требуется при следующих рабочих условиях:
- коррозионная среда: буровой раствор на водной основе (средняя коррозионная активность), и бурение не проводится при пониженном гидростатическом давлении в стволе скважины;
- изнашиваемость: среднеабразивные горные породы;
- усталость: средняя вибрация, средняя степень искривления ствола скважины [от 2,0° до 4,0°/30,5 м (100 футов)], сила боковой нагрузки от 59,6 до 89,3 кг/м (40 фунтов/дюйм и 60 фунтов/дюйм), средняя скорость вращения (от 120 до 150 об/мин), небольшое расширение ствола снизу вверх, плотность бурового раствора: между 1,44 и 1,92 кг/л (12 и 16 фунт/галлон).
E.3.2 Нагрузки
Проведение среднего осмотра требуется при следующих нагрузках:
- напряжение: ожидаемая максимальная нагрузка от 40 до 70% инспектированной категории номинальных параметров;
- крутящий момент: ожидаемая максимальная нагрузка от 40 до 70% нагрузки крутящего момента при свинчивании;
- ударный яс: предполагается небольшая ударная тряска бурильной трубы или бурильного яса.
E.3.3 Проектный риск
Проведение среднего осмотра требуется при следующих условиях проектных рисков:
- расходы на буровую установку: средние затраты на буровую установку из-за стандартных установок шельфового бурения;
- природоохранные: умеренная окружающая среда, с низким уровнем риска для живой природы и человечества;
- критический процесс: важный этап или процесс при строительстве скважины; восстановление возможно и не требует высоких затрат.
E.3.4 Суммарное время чистого бурения
Количество часов чистого бурения между процедурами контроля от 100 до 200 ч.
E.4 Обязательный осмотр
E.4.1 Рабочие условия
Проведение обязательного осмотра требуется при следующих рабочих условиях:
- коррозионная среда: погружение бурового оборудования в соляной раствор или возможность притока синтетического водного бурового раствора (высокая коррозионная активность) или пластового флюида;
- изнашиваемость: твердые и абразивные горные породы;
- усталость: сильная вибрация, высокая степень искривления ствола скважины [(> 4,0°/30,5 м (100 футов)], сила боковой нагрузки более чем 89,3 кг/м (60 фунт/фут), высокая скорость вращения (> 150 об/мин), проработка ствола скважины снизу вверх;
- плотность бурового раствора: больше чем 1,92 кг/л (16 фунт/галлон).
E.4.2 Нагрузки
Проведение обязательного осмотра требуется при следующих нагрузках:
- напряжение: ожидаемая максимальная нагрузка свыше 70% инспектированной категории номинальных параметров;
- крутящий момент: ожидаемая максимальная нагрузка свыше 70% нагрузки крутящего момента при свинчивании;
- ударный яс: предполагается ударная тряска бурильной трубы или бурильного яса.
E.4.3 Проектный риск
Проведение обязательного осмотра требуется при следующих условиях проектных рисков:
- расходы на буровую установку: высокие затраты на буровую установку из-за установок глубоководного бурения;
- природоохранные: экологически уязвимые районы с высоким уровнем риска для живой природы и человечества;
- критический процесс: критический этап или процесс при строительстве скважины; восстановление невозможно и/или очень дорогостоящее.
E.4.4 Суммарное время чистого бурения
Количество часов чистого бурения между процедурами контроля превышает 300 ч.
E.5 Предельный осмотр при крайне тяжелых условиях эксплуатации
E.5.1 Рабочие условия
Проведение предельного осмотра требуется при следующих рабочих условиях:
- коррозионная среда: погружение бурового оборудования в соляной раствор или возможность притока синтетического водного бурового раствора (высокая коррозионная активность) или пластового флюида;
- изнашиваемость: твердые и абразивные горные породы, соляные пласты;
- усталость: сильная вибрация, высокая степень искривления ствола скважины [> 10,0°/30,5 м (100 футов)], сила боковой нагрузки больше чем 119,1 кг/м (100 фунт/фут), высокая скорость вращения (> 180 об/мин), проработка ствола скважины снизу вверх;
- плотность бурового раствора: больше чем 2,16 кг/л (18 фунт/галлон).
E.5.2 Нагрузки
Проведение предельного осмотра требуется при следующих нагрузках:
- напряжение: ожидаемая максимальная нагрузка свыше 80% инспектированной категории номинальных параметров;
- крутящий момент: ожидаемая максимальная нагрузка свыше 80% нагрузки крутящего момента при свинчивании;
- выпучивание бурильных труб: не предусматривается выпучивание бурильных труб или бурильного яса;
- ударный яс: предполагается, и необходима ударная тряска бурильной трубы или бурильного яса.
E.5.3 Проектный риск
Проведение предельного осмотра требуется при следующих условиях проектных рисков:
- расходы на буровую установку: высокие затраты на буровую установку из-за установок глубоководного бурения;
- природоохранные: экологически уязвимые районы с высоким уровнем риска для живой природы и человечества;
- критический процесс: критический этап или процесс при строительстве скважины; восстановление невозможно и/или очень дорогостоящее.
E.5.4 Суммарное время чистого бурения
Количество часов чистого бурения между процедурами контроля превышает 500 ч.
(справочное)
КОНТРОЛЬ/ОСМОТР СПЕЦИАЛИЗИРОВАННЫХ ЗАМКОВЫХ СОЕДИНЕНИЙ
БУРИЛЬНЫХ КОЛОНН
F.1 Общая часть
Имеется несколько изготовителей, выпускающих и поставляющих специализированные замковые соединения бурильных труб. Большинство таких соединений подразделяется на следующие категории:
a) соединения типа с двойным упорным торцом;
b) безупорный профиль резьбы типа "ласточкин хвост".
В общем случае устойчивость таких соединений к крутящему воздействию обеспечивается элементами или характеристиками, не встречающимися в стандартных резьбовых упорных соединениях. Некоторые из таких специфических соединений оснащены дополнительными элементами, нехарактерными для стандартных замков (например, радиальными уплотнениями "металл-металл"), указанными в настоящем стандарте.
Наличие таких компонентов и характеристик может привести к тому, что способы обследования, указанные в данном разделе, могут оказаться неприменимыми для специализированных замковых соединений.
В общем случае способ обследования таких соединений не зависит от конкретного элемента. Однако поскольку указанные соединения чаще всего характерны для замковых соединений бурильных труб, в данном приложении рассматриваются способы обследования именно этих замковых соединений. При проведении обследования компонентов, отличных от тех, что встречаются в замках бурильных труб, рекомендации настоящего приложения могут оказаться неприменимыми.
Поскольку рассматриваемые соединения целиком контролируются изготовителями, изменение их технических характеристик может происходить без предварительного уведомления. По этой причине перед проведением обследования у изготовителя следует запрашивать сведения об используемых процедурах обследования, допустимых размерах и критериях приемки. В данном приложении описаны только дополнительные обследования, рекомендуемые изготовителем в стандартных ситуациях.
F.2 Замковые соединения с двойным упором
F.2.1 Общая часть
Соединения с двойным упором - это конические резьбовые соединения с упорными торцами по обеим сторонам участка резьбы. Помимо стандартного упорного пояска, расположенного у основания ниппельной части штанги и торца с внутренней резьбой, имеется еще и внутренний упорный поясок, находящийся у начала ниппельной части и задней поверхности муфты. Как правило, герметизирующим является только внешний упорный поясок.
Требования к конструкции замковых соединений с двумя упорами и особенностям их ремонта устанавливаются в нормативной документации изготовителя по согласованию с заказчиком.
Самой важной характеристикой таких соединений является длина ниппеля и соответствующая ей глубина муфты. Данные размеры и их допустимые пределы имеют решающее значение для определения работоспособности таких соединений. При детальном обследовании помимо проведения стандартных измерений резьбовых упорных соединений необходимо измерить и эти параметры.
Кроме длины ниппеля и глубины муфты рассматриваемые соединения отличаются от стандартных также профилем резьбы и конусностью. Для контроля этих параметров могут понадобиться специальные резьбовые калибры, вкладыши для определения шага резьбы, стандарты для его выбора и другие приспособления. По поводу выбора конкретного инструмента для обследования и способа его получения необходимо проконсультироваться у изготовителя.
F.2.2 Наружный осмотр
F.2.2.1 Общая часть
Методики визуального осмотра замковых соединений бурильных труб, приведенные в
10.14, относятся в основном к соединениям "двойного заплечика". В
F.2 описаны только дополнительные виды проверки соединений "двойного заплечика".
F.2.2.2 Внутренний упорный поясок
Внутренний упорный поясок у носовой части ниппеля обычно не несет уплотняющей нагрузки; на нем допускаются зарезы, вмятины, зазубрины и прочие дефекты, появившиеся в процессе эксплуатации, если это не отражается на его эксплуатационных качествах. В случае, если такие дефекты не влияют на общую длину ниппеля, изготовитель может признать их приемлемыми. Некоторые изготовители могут разрешить небольшую шлифовку для устранения неровностей на конце ниппеля. В обоих случаях изготовитель должен предоставить руководство с указанием критериев допустимости для таких дефектов.
Требования к твердосплавным пояскам замковых соединений бурильных труб устанавливаются в нормативной документации изготовителя по согласованию с заказчиком или в национальных стандартах государств, упомянутых в предисловии как проголосовавших за принятие межгосударственных стандартов <*>.
--------------------------------
<*> На территории Российской Федерации действует ГОСТ Р 54383-2011 (ИСО 11961:2008).
Те же критерии действительны в отношении внутреннего упорного пояска на задней части муфты. Этот поясок защищен, поэтому обычно не имеет эксплуатационных дефектов. Тем не менее дефекты встречаются, поэтому данный поясок также подлежит осмотру на предмет дефектов, влияющих на общую глубину муфты.
Соединения, содержащие неприемлемые повреждения наружного упорного пояска, описаны в
10.14.8.1.б) или
10.14.8.1.в) или те, которые имеют неприемлемые дефекты внутреннего пояска, должны быть изъяты из эксплуатации. Изготовитель, однако, может разрешить ремонт или восстановление таких поверхностей. Оборудование и технологии, применяемые для восстановления, должны обеспечивать сохранение минимально допустимой длины между двумя упорными поясками. В связи с этим не следует приступать к восстановлению поверхностей, не получив соответствующих инструкций изготовителя.
F.2.2.3 Резьбовые поверхности
Обследование резьбовых поверхностей выполняется в соответствии с
10.14.8.2.
Изготовители могут использовать разные допуски при накатке, нарезке резьбы, а также для резьбовых калибров. Поэтому перед приемкой/ремонтом любого повреждения необходимо ознакомиться с инструкцией изготовителя по проведению соответствующего обследования. Обычно неприемлемыми являются вмятины на поверхности резьбы всех соединений типа "двойного заплечика".
F.2.2.4 Измерение профиля и шага резьбы
Профиль и шаг резьбы специализированного соединения может значительно отличаться от стандартного. В случае подобных расхождений необходимо связаться с изготовителем и получить у него соответствующие руководства. Допустимые отклонения шага резьбы указываются изготовителем.
F.2.3 Определение размеров
F.2.3.1 Общая часть
Наружный диаметр муфты, внутренний диаметр ниппеля, диаметр упорного торца резьбы, раззенкованная часть муфты, радиус кромки и высота установки ключа на замке измеряются так, как описано в
10.18 и
10.19. Места проведения измерений могут отличаться от тех, которые приняты для стандартных соединений API. Перед выполнением измерений необходимо ознакомиться с указаниями изготовителя. Изготовитель должен также указать критерии приемки для таких размеров.
F.2.3.2 Длина соединения для ниппеля и втулки
Расстояние между наружным и внутренним упорами, а также соответствующие им допуски должны указываться изготовителем. Обычно диапазоны допустимых размеров соединений для ниппеля и втулки слегка различаются.
Используя длинноходный микрометр-глубиномер, измеряют расстояние между наружным и внутренним упорами и заносят результаты измерения длины соединения ниппеля и муфты в протокол обследования.
Измерения, выходящие за минимально допустимые пределы, свидетельствуют о необходимости выбраковки. Для устранения дефекта можно использовать восстановление поверхности, но, как отмечено в
F.2, выбор оборудования и метода восстановления поверхности следует согласовать с изготовителем.
F.2.3.3 Диаметр носовой части ниппеля
Для некоторых соединений типа "двойного заплечика" необходимо проводить измерение диаметра носовой части ниппеля. Они нужны для выявления утолщений носовой части.
Используя цифровой штангенциркуль/микрометр, проверяют диаметр у центра плоского участка носовой части ниппеля.
Измерения, выходящие за допустимые пределы, должны быть занесены в протокол. Главным фактором допуска/выбраковки должна служить длина ниппельного соединения.
F.2.3.4 Диаметр ниппеля у основания
Диаметр основания ниппеля вместе с допустимыми отклонениями может быть указан на чертежах или в указаниях изготовителя, касающихся методики полевых испытаний. При обследовании соединений, бывших в эксплуатации, измерение этого диаметра проводить не следует. По требованию владельца/пользователя такие измерения следует провести, используя цифровой штангенциркуль или микрометр, а затем занести данные в протокол измерений.
F.2.3.5 Повторная смазка соединения
Процедура смазки специализированных соединений "двойного заплечика" отличается от стандартного порядка смазки обычных резьбовых упорных соединений без второго упора.
Для "двойного заплечика" соединений необходимо, чтобы внутренний упорный поясок на дне муфты, а также носовая часть ниппеля были тщательно очищены и смазаны до начала сборки соединения. Эта процедура может быть затруднена, если колонна извлекается из скважины при заедании долота или когда запрещено заполнение колонны пресной водой. При возникновении подобных осложнений лучший результат достигается при выполнении операций очистки и смазки в процессе опускания в скважину. Для соединений "двойного заплечика" также важно нанести строго определенное количество резьбовой смазки. Недостаточная смазка резьбы приводит к контакту "сталь по стали", а ее избыток может привести к заеданию резьбы при сборке соединения и к завышению значений крутящего момента. Для нанесения резьбовой смазки на "двойной заплечик" соединения рекомендуется использовать малярную кисть (в отличие от стандартных соединений, для которых требуется щетка из щетины).
F.2.4 Безупорный профиль резьбы типа "ласточкин хвост"
F.2.4.1 Общая часть
В соединениях этого типа используется коническая резьба, и сопротивление кручению создается за счет схватывания резьбового соединения, а не с помощью упорных поясков. Герметичность обеспечивается за счет схватывания резьбы и смазки. По этой причине повреждения наружной поверхности ниппеля, заплечика наружной резьбы ниппеля, поверхности муфты, заплечика внутренней резьбы муфты необходимо исправлять вручную с тем, чтобы устранить выступы над поверхностью резьбы.
F.2.4.2 Оборудование
Оборудование включает телескопическое измерительное устройство и цифровой микрометр (или микрометр для измерения внутреннего диаметра).
F.2.4.3 Порядок проведения обследования
F.2.4.3.1 Общая часть
Рассматриваемое безупорное резьбовое замковое соединение труб бурильной трубы типа "ласточкин хвост" имеет шероховатую поверхность и не так чувствительно к эксплуатационным повреждениям, как большинство других. В отличие от стандартных упорных замковых соединений резьба типа "ласточкин хвост" обеспечивает сопротивление за счет схватывания конической резьбы с малым шагом, а не за счет упорных поясков. Поскольку резьбовые соединения обеспечивают герметизацию, повреждение внешнего заплечика ниппеля или поверхности муфт не требует восстановления поверхности или выбраковки соединения. Стандартные повреждения, возникающие при подвешивании или спуске колонн, могут быть устранены в полевых условиях. Повреждение поверхности ниппеля и его внешнего заплечика могут быть выправлены вручную с целью устранить наплывы металла, препятствующие навинчиванию сопряженной резьбы. Восстановления поверхности заплечиков не требуется.
Восстановление резьбы проводится по мере необходимости. Профиль резьбы нужно восстановить надфилем или ручным точилом, а затем очистить и просушить. Боковые стороны профиля резьбы, ее впадины и вершины должны иметь сравнительно однородную поверхность.
Проверяют резьбу на предмет наличия:
- выбоин и следов истирания: этот дефект приводит к подъему металла за пределы первоначальной поверхности и мешает полному вхождению ниппеля в муфту; его следует удалить надфилем или ручной шлифовальной машиной;
- значительные вмятины и зазубрины: вмятины, которые приводят к заеданию резьбы или не могут быть устранены с помощью надфиля или ручной шлифовальной машины, препятствуют правильному вхождению ниппеля и являются недопустимыми;
- значительные отклонения от формы окружности: отхождение от круговой формы препятствует созданию соединения. Соединение со значительным отклонением от формы круга не имеет достаточной глубины и преждевременно создает крутящий момент;
- значительная ржавчина или окалина: скопление продуктов коррозии препятствует надлежащему вхождению ниппеля в муфту и должно быть устранено. Такую операцию можно выполнить проволочной щеткой. Маленькие питтинги и незначительная местная коррозия не мешают созданию правильного соединения и не подлежат выбраковке. Тем не менее поверхности должны быть свободны от питтингов и других дефектов, превышающих 1,5 мм (0,06 дюйма) в глубину и 3,18 мм (0,125 дюйма) в диаметре, либо быть более 38 мм (1,5 дюйма) в длину и располагаться вдоль винтовой линии резьбы;
- выступы на резьбе: любые наплывы, поднятые углы или другие повреждения, выступающие над поверхностью резьбы, должны быть устранены вручную и зачищены до однородного состояния.
При обследовании настоящего безупорного резьбового соединения типа "ласточкин хвост" буровые бригады могут самостоятельно определять, требуется ли ремонт соединения. Невысокие требования к гладкости поверхности позволяют проводить ремонт большинства дефектов резьбы в полевых условиях, что приводит к значительной экономии времени и средств в сравнении с повторным нарезанием резьбы замкового соединения.
F.2.4.3.2 Визуальное обследование
Проверяют упорный ободок на наличие признаков контакта "упор-упор", таких как зазубрины, деформации или следы прижогов. При обнаружении признаков контакта резьба подлежит выбраковке.
В конструкции настоящего безупорного профиля резьбы типа "ласточкин хвост" предусмотрен индикатор износа - зазор между поверхностью муфты и внешним заплечиком ниппеля. Этот зазор устраняет поверхностную реакцию при возникновении крутящего момента в стандартных упорных резьбовых соединениях. Однако после нескольких процедур сборки и разборки соединения боковые поверхности резьбы изнашиваются, что позволяет ниппелю слишком далеко входить в муфту. Это ведет к уменьшению зазора около внешнего заплечика и в конечном итоге к контакту между поверхностью муфты и индикатором износа резьбы, выступающим над поверхностью заплечика ниппеля. Индикатор износа сделан выступающим намеренно с тем, чтобы его значительная деформация могла сигнализировать об износе соединения. Индикатор предназначен для того, чтобы обеспечить возможность нескольких восстановительных операций прежде, чем резьбовое соединение окончательно износится и потребуется повторное нарезание резьбы. Когда соединение полностью износится, будет полный контакт между заплечиком ниппеля и поверхностью муфты. После того как индикатор износа резьбы войдет в контакт с муфтой, необходимо провести операцию повторной нарезки резьбы на соединении.
При обследовании проверяют:
- деформацию индикатора износа;
- задиры на заплечике ниппеля и поверхности муфты;
- волосы износа на заплечике резьбы ниппеля и поверхности муфты;
- исчезновение зазора.
В случае присутствия какого-либо из этих признаков на безмуфтовом резьбовом конце ниппеля или втулки этот конец следует повторно нарезать. Проверяют заплечик на наличие повреждений, вызывающих выступы; последние можно удалить ручной правкой.
Восстанавливать поверхность заплечиков не следует.
Проверяют поверхности резьбы на наличие выступов над стандартной поверхностью резьбы.
Обращают особое внимание на участки с выбоинами и износом. Выступы следует устранять правкой вручную; если такое невозможно, соединение подлежит выбраковке.
Скопления продуктов коррозии или окалины могут препятствовать правильному контакту ниппеля и муфты, и их следует устранять. Операцию проводят проволочной щеткой. Маленькие питтинги и незначительная местная коррозия не мешают созданию правильного соединения и не подлежат выбраковке. Тем не менее поверхности должны быть свободны от питтингов и других дефектов, превышающих 1,58 мм (0,062 дюйма) глубины, или 3,17 мм (0,125 дюйма) в диаметре, или превышающих 37,1 мм (1,5 дюйма) вдоль винтовой линии резьбы, которые являются причиной для выбраковки.
Небольшие вмятины допустимы, если их можно устранить с помощью надфиля или шлифовальной машины. Другие дефекты подлежат выбраковке.
Отклонение от окружности, мешающее созданию соединения, является причиной выбраковки.
Отбракованная резьба может быть нарезана повторно.
F.2.4.3.3 Диаметр упорного торца резьбы
Упорный торец резьбы должен идти вокруг всего соединения. Поскольку диаметр упорного торца - это наружный диаметр индикатора износа, его нельзя изменять. Диаметр упорного торца резьбы является показателем износа наружного диаметра замкового соединения. Замковое соединение полностью сохраняет номинальное натяжение крутящего момента, если износ его наружного диаметра не превышает диаметра фаски. Чтобы продлить период эксплуатации бурильной колонны, следует заложить поправку на соответствующий износ наружного диаметра замкового соединения.
При наличии областей армирования/наплавки твердым сплавом может быть использован меньший наружный диаметр замкового соединения. Зачастую наружный диаметр области армирования/наплавки твердым сплавом превышает наружный диаметр замкового соединения. В толстом наплавленном слое концентрируется износ в процессе бурения. Когда диаметр наплавленного слоя уравнивается с наружным диаметром замкового соединения, области армирования/наплавки твердым сплавом необходимо восстановить. В данной системе толстый слой армирования/наплавки твердым сплавом заменяет собой поправку на износ замковых соединений с большим наружным диаметром.
F.2.4.4 Измерение внутреннего диаметра муфты
С помощью телескопического устройства и цифрового штангенциркуля либо микрометра для измерения диаметров глухих отверстий следует измерить диаметр плоского участка под резьбой муфты. Изготовитель должен указать максимально допустимый диаметр для этих измерений. Если изменение превышает данную величину в любом месте, соединение выбраковывается.
F.2.4.5 Резьбовая смазка
Поскольку резьба обеспечивает герметичность лишь в сочетании с резьбовой смазкой, используемая смазка должна соответствовать требованиям изготовителя резьбы. Требуются смазки, содержащие твердые компоненты. Обычно рекомендуются смазки для замковых соединений, содержащие цинк или медь/графит.
Смазку следует наносить равномерно и распределять по всей поверхности контакта ниппеля и втулки. Нет необходимости наносить смазку на внутреннюю резьбу при сборке соединения.
(справочное)
КОНТРОЛЬ/ОСМОТР РЕЗЬБЫ ЗАПАТЕНТОВАННОГО СОЕДИНЕНИЯ
СПУСКОВОЙ КОЛОННЫ, БЫВШЕГО В УПОТРЕБЛЕНИИ
G.1 Область действия
Существует несколько заводов-изготовителей, производящих и продающих запатентованные соединения, использующиеся в монтаже спусковой колонны. Данные запатентованные соединения обладают несколькими особенностями и характеристиками, которые и отличают их и их функционирование. К этим особенностям относятся уплотнительная резьба, неуплотнительная резьба, профиль резьбы типа "ласточкин хвост", уплотнение с металлическими кольцами, заплечик и канавка уплотнительного кольца. Из-за этих характеристик процедуры инспектирования, описанные в настоящем стандарте, не могут применяться или быть пригодными для запатентованного соединения.
Поскольку изготовители сами управляют запатентованным соединением, то изменения в их спецификацию вводятся без уведомления. По этой причине процедуры, направление и критерии приемки инспектирования должны быть получены у изготовителя еще до начала самой процедуры инспектирования. В данном приложении описываются процедуры дополнительного инспектирования, рекомендованные изготовителями.
G.2 Все виды резьбы
Любой выступ на профиле, канавке и вершине резьбы внутренней и наружной резьбы, которые протягиваются до резервного места сочленяющего разъема, должен быть исправлен или это станет причиной выбраковки. Соединения, которые овальны, имеют ржавчину, окалину или с недостающей резьбой, должны быть забракованы. Смятая резьба должна быть также забракована. Ремонт должен проводиться только по соглашению между лабораторией и владельцем/пользователем. Обычно ремонтируется неуплотнительная резьба, и осуществляет это полномочный представитель завода - изготовителя резьбы.
G.3 Уплотнительная резьба
Уплотнительная резьба обеспечивает уплотнение за счет посадки с натягом сопряженных поверхностей наряду с кольцевым напряжением, связанным с компоновкой конической резьбы, создающим высокое контактное давление. Любые проектные зазоры в профиле резьбы, как, например, сопряженные, закрываются смазочным веществом для резьбы и винтовой траекторией вокруг резьбы.
Из-за посадки с натягом любой канал утечки, связанный с формой резьбы, имеет длинную винтовую траекторию. Любой дефект, нарушающий целостность резьбы и создающий канал утечки вдоль оси резьбы, является причиной выбраковки и может быть исправлен только путем вторичного нарезания резьбы. Среди дефектов, нарушающих целостность резьбы: ямки, разрезы, насечки, вмятины, следы вибраций на обработанной поверхности, дробление, сломанная резьба, неполная резьба на вершине и пластическая деформация. Незначительная шероховатость поверхности может не принести ущерб, но необходимо проконсультироваться с изготовителем касательно дефектов, находящихся под вопросом.
G.4 Профиль резьбы типа "ласточкин хвост"
Профиль резьбы типа "ласточкин хвост" использует коническую резьбу, где интерференция резьбы в большей мере, чем контакт с заплечиком, обеспечивает сопротивление крутящему моменту для компоновки. Уплотнение обеспечивается интерференцией резьбы и смазочным материалом. Из-за этого повреждения торца ниппеля, наружного заплечика ниппеля, торца штанги с внутренней резьбой и внутреннего буртика замковой муфты должны быть заправлены вручную для удаления выступов. Насечки и заторы, таким образом, не препятствуют компоновке.
G.5 Уплотнение с металлическими кольцами
Уплотнение с металлическими кольцами используется в различных местах на запатентованном соединении. Печатный материал завода-изготовителя и процедуры инспектирования предоставляют информацию касательно точного расположения резьбы на конкретном соединении.
На уплотнениях с металлическими кольцами не должно быть продольных насечек и царапин вдоль резьбы. На поверхности резьбы не должно быть заусенцев, коррозии, ржавчины, вмятин, окалины, зарубов и заторов. Все вышеперечисленное может стать причиной выбраковки соединения.
Резьба соединения трубы премиум-класса с уплотнителем с металлическими кольцами и/или ограничителем крутящего момента подвергается таким повреждениям, как деформация муфты бурильной трубы и/или торца ниппеля. Это результат перезатягивания соединения и уплотнителя с металлическими кольцами/ограничителя крутящего момента на пределе текучести. Необходимо уделить особое внимание уплотнителю с металлическими кольцами и ограничителю крутящего момента при осуществлении визуального инспектирования соединений такого типа.
G.6 Заплечик
Заплечики, функционирующие как уплотнители, должны быть инспектированы как уплотнители вдобавок к критериям проверки заплечиков.
Наружные заплечики, внутренние заплечики у торца ниппеля, внутренние заплечики у малого конца муфты и другие вспомогательные заплечики не уплотняют заплечики на соединении труб класса премиум. Из-за перемещения буровой установки на заплечиках могут быть зарезы и вмятины, которые не влияют на работу при условии, что эти зарезы и вмятины не повлекли за собой образование выступов, что влияет на длину штифта и способность компоновки. Изготовитель может считать это приемлемым. Некоторые изготовители могут допустить небольшую опиловку для удаления зоны выступа на передней части штифта. Для обоих этих случаев изготовитель имеет руководство по допустимым повреждениям торца ниппеля.
Соединения с неприемлемым повреждением наружного или внутреннего заплечика должны быть сняты с эксплуатации. Изготовитель может позволить осуществить ремонт такого рода повреждения.
G.7 Канавка уплотнительного кольца
На канавке уплотнительного кольца не должно быть следов коррозии, ржавчины или какого-либо механического повреждения, которое может повлиять на изоляцию или правильную установку уплотнительного кольца.
(справочное)
СВЕДЕНИЯ О СООТВЕТСТВИИ МЕЖГОСУДАРСТВЕННЫХ СТАНДАРТОВ
ССЫЛОЧНЫМ МЕЖДУНАРОДНЫМ СТАНДАРТАМ
Таблица ДА.1
Обозначение и наименование международного стандарта | Степень соответствия | Обозначение и наименование межгосударственного стандарта |
ISO 9000:2011 Программы системы качества. Основы и терминология | IDT | |
Примечание - В настоящей таблице использовано следующее условное обозначение степени соответствия стандартов: - IDT - идентичные стандарты. |
[1] | ISO 10407-1 | Petroleum and natural gas industries - Rotary drilling equipment - Part 1: Drill stem design and operating limits (Нефтяная и газовая промышленность. Оборудование для роторного бурения. Часть 1. Конструкция бурильной колонны и срок ее эксплуатации) |
| ISO 11484 | Steel products - Employer's qualification system of non-destructive testing (NDT) personnel (Трубы стальные напорные. Квалификация и аттестация персонала по NDT) |
| ASNT SNT-TC-1A | Recommended Practice - Non-Destructive Testing (Рекомендованная практика. NDT) |
| API RP 7A1 | Testing of Thread Compound for Rotary Shouldered Connections (Испытание смазочного материала резьбового упорного соединения) |
| ISO 11961 | Petroleum and natural gas industries - Steel drill pipe (Нефтяная и газовая промышленность. Стальная буровая труба) |
| ISO 10424-2 | Petroleum and natural gas industries - Rotary drilling equipment - Part 2: Threading and gauging of rotary shouldered thread connections (Нефтяная и газовая промышленность. Оборудование для роторного бурения. Часть 2. Поверка и калибровка роторного заплечика с резьбовым соединением) |
| API Spec 7-2 | Rotary Drilling Equipment - Part 2: Threading and Gauging of Rotary Shouldered Thread Connections (Оборудование для роторного бурения. Часть 2. Поверка и калибровка роторного заплечика с резьбовым соединением) |
| ISO 10424-1 | Petroleum and natural gas industries - Rotary drilling equipment - Part 1: Rotary drill stem Elements (Нефтяная и газовая промышленность. Оборудование для роторного бурения. Часть 1. Роторные элементы бурильной колонны) |
[9] | API Spec 7-1/ISO 10424-1 | Specification for Rotary Drill Stem Elements (Характеристика элементов роторной бурильной колонны) |