Главная // Актуальные документы // ГОСТ (Государственный стандарт)СПРАВКА
Источник публикации
М.: Стандартинформ, 2019
Примечание к документу
Текст данного документа приведен с учетом
поправки, опубликованной в "ИУС", N 8, 2015;
поправки, опубликованной в "ИУС", N 9, 2023.
Документ
введен в действие с 01.01.2015.
Название документа
"ГОСТ ISO 4263-4-2013. Межгосударственный стандарт. Нефть и нефтепродукты. Определение характеристик старения ингибированных масел и жидкостей. Метод TOST. Часть 4. Промышленные трансмиссионные масла"
(введен в действие Приказом Росстандарта от 22.11.2013 N 707-ст)
"ГОСТ ISO 4263-4-2013. Межгосударственный стандарт. Нефть и нефтепродукты. Определение характеристик старения ингибированных масел и жидкостей. Метод TOST. Часть 4. Промышленные трансмиссионные масла"
(введен в действие Приказом Росстандарта от 22.11.2013 N 707-ст)
агентства по техническому
регулированию и метрологии
от 22 ноября 2013 г. N 707-ст
МЕЖГОСУДАРСТВЕННЫЙ СТАНДАРТ
НЕФТЬ И НЕФТЕПРОДУКТЫ
ОПРЕДЕЛЕНИЕ ХАРАКТЕРИСТИК СТАРЕНИЯ
ИНГИБИРОВАННЫХ МАСЕЛ И ЖИДКОСТЕЙ. МЕТОД TOST
ЧАСТЬ 4
ПРОМЫШЛЕННЫЕ ТРАНСМИССИОННЫЕ МАСЛА
Petroleum and petroleum products.
Determination of the ageing behaviour of inhibited oils
and fluids. TOST method. Part 4. Industrial gear oils
(ISO 4263-4:2006, Petroleum and related products -
Determination of the ageing behaviour of inhibited oils
and fluids - TOST test - Part 4: Procedure
for industrial gear oils, IDT)
ГОСТ ISO 4263-4-2013
Дата введения
1 января 2015 года
Цели, основные принципы и общие правила проведения работ по межгосударственной стандартизации установлены
ГОСТ 1.0 "Межгосударственная система стандартизации. Основные положения" и
ГОСТ 1.2 "Межгосударственная система стандартизации. Стандарты межгосударственные, правила и рекомендации по межгосударственной стандартизации. Правила разработки, принятия, обновления и отмены"
1 ПОДГОТОВЛЕН Федеральным государственным унитарным предприятием "Всероссийский научно-исследовательский центр стандартизации, информации и сертификации сырья, материалов и веществ" (ФГУП "ВНИЦСМВ") на основе собственного перевода на русский язык англоязычной версии стандарта, указанного в
пункте 5
2 ВНЕСЕН Федеральным агентством по техническому регулированию и метрологии
3 ПРИНЯТ Межгосударственным советом по стандартизации, метрологии и сертификации (протокол от 18 октября 2013 г. N 60-П)
За принятие проголосовали:
Краткое наименование страны по МК (ИСО 3166) 004-97 | Код страны по МК (ИСО 3166) 004-97 | Сокращенное наименование национального органа по стандартизации |
Азербайджан | AZ | Азстандарт |
Армения | AM | Минэкономики Республики Армения |
Беларусь | BY | Госстандарт Республики Беларусь |
Киргизия | KG | Кыргызстандарт |
Молдова | MD | Молдова-Стандарт |
Россия | RU | Росстандарт |
Таджикистан | TJ | Таджикстандарт |
Узбекистан | UZ | Узстандарт |
(Поправка)
4
Приказом Федерального агентства по техническому регулированию и метрологии от 22 ноября 2013 г. N 707-ст межгосударственный стандарт ГОСТ ISO 4263-4-2013 введен в действие в качестве национального стандарта Российской Федерации с 1 января 2015 г.
5 Настоящий стандарт идентичен международному стандарту ISO 4263-4:2006 "Нефть и родственные продукты. Определение поведения при старении ингибированных масел и жидкостей. Метод TOST. Часть 4. Процедура для промышленных трансмиссионных масел" ("Petroleum and related products - Determination of the ageing behaviour of inhibited oils and fluids - TOST test - Part 4: Procedure for industrial gear oils", IDT).
Международный стандарт разработан Техническим комитетом ISO/TC 28 "Нефтепродукты и смазочные материалы" Международной организации по стандартизации (ISO).
Наименование настоящего стандарта изменено относительно наименования указанного международного стандарта для приведения в соответствие с ГОСТ 1.5
(подраздел 3.6).
При применении настоящего стандарта рекомендуется использовать вместо ссылочных международных стандартов соответствующие им межгосударственные стандарты, сведения о которых приведены в дополнительном
приложении ДА
6 ВВЕДЕН ВПЕРВЫЕ
7 ИЗДАНИЕ (август 2019 г.) с Поправкой (ИУС 8-2015)
Информация о введении в действие (прекращении действия) настоящего стандарта и изменений к нему на территории указанных выше государств публикуется в указателях национальных стандартов, издаваемых в этих государствах, а также в сети Интернет на сайтах соответствующих национальных органов по стандартизации.
В случае пересмотра, изменения или отмены настоящего стандарта соответствующая информация будет опубликована на официальном интернет-сайте Межгосударственного совета по стандартизации, метрологии и сертификации в каталоге "Межгосударственные стандарты"
Предупреждение - Применение настоящего стандарта может быть связано с использованием опасных материалов, операций и оборудования. В настоящем стандарте не предусмотрено рассмотрение всех проблем безопасности, связанных с его применением. Пользователь настоящего стандарта несет ответственность за установление соответствующих мер по технике безопасности и охране здоровья, а также определяет возможности применения законодательных ограничений перед его применением.
Настоящий стандарт устанавливает метод определения характеристик старения трансмиссионных масел категорий CKC, CKD, CKS и CKT по стандарту
[5]. Старение ускоряется в присутствии воздуха и при повышенных температурах. Снижение качества масла оценивают по изменению кинематической вязкости при температуре 100 °C, содержанию нерастворимых веществ (число осаждения) и при необходимости увеличению кислотного числа, по содержанию осадка после фильтрации, изменению содержания присадок и определению окисления в инфракрасном излучении.
В настоящем стандарте использованы нормативные ссылки на следующие стандарты. Для датированных ссылок применяют только указанное издание ссылочного стандарта, для недатированных - последнее издание (включая все изменения).
ISO 2977:1997, Petroleum products and hydrocarbon solvents - Determination of aniline point and mixed aniline point (Нефтепродукты и углеводородные растворители. Определение анилиновой точки и анилиновой точки смеси)
ISO 3104:1994, Petroleum products - Transparent and opaque liquids - Determination of kinematic viscosity and calculation of dynamic viscosity (Нефтепродукты. Прозрачные и непрозрачные жидкости. Определение кинематической вязкости и расчет динамической вязкости)
ISO 3170:2004, Petroleum liquids - Manual sampling (Нефтепродукты жидкие. Ручной отбор проб)
ISO 3405:2000, Petroleum products - Determination of distillation characteristics at atmospheric pressure (Нефтепродукты. Определение фракционного состава при атмосферном давлении) <1>
--------------------------------
<1> Заменен на ISO 3405:2019.
ISO 3696:1987, Water for analytical laboratory use - Specification and test methods (Вода для лабораторного анализа. Спецификация и методы испытаний)
ISO 3734:1997, Petroleum products - Determination of water and sediment in residual fuel oils - Centrifuge method (Нефтепродукты. Определение воды и осадка в топливном мазуте. Метод с использованием центрифуги)
ISO 12185:1996, Crude petroleum and petroleum products - Determination of density - Oscillating U-tube method (Нефть сырая и нефтепродукты. Определение плотности. Метод с применением осциллирующей U-образной трубки)
В настоящем стандарте применены следующие термины с соответствующими определениями:
3.1 содержание нерастворимых веществ (число осаждения) [insoluble content (precipitation number)]: Объем осадка (мл), образовавшийся при смешении 10 мл смазочного масла с 90 мл специального бензина-растворителя и последующем центрифугировании.
3.2 осадок после фильтрации (sediment by filtration): Нерастворимое вещество (мг/100 мл), удержанное на мембранном фильтре размером пор 1,2 мкм после фильтрации под вакуумом.
Испытуемый образец взаимодействует с воздухом в отсутствие света при температуре, соответствующей типу испытуемого трансмиссионного масла: 95 °C - для типа CKC; 121 °C - для типа CKD; 150 °C - для типов CKS и CKT. После испытания в течение 312 ч определяют увеличение кинематической вязкости при температуре 100 °C, содержание нерастворимых веществ (число осаждения), увеличение кислотного числа (при необходимости), содержание осадка после фильтрации, содержания присадок в масле и окисление в инфракрасном излучении.
5.1 Вода класса 2 по ISO 3696, если нет других указаний. Питьевой водой считают водопроводную воду, не содержащую мелких частиц или растворимых минеральных веществ.
5.2 Гептан (C
7H
16) чистотой не менее 99,75%.
5.3 Ацетон (CH
3COCH
3) квалификации ч. д. а.
5.4 Сухой воздух, не содержащий масла, находящийся под постоянным давлением. Для стабилизации воздушного потока возможна подача воздуха из воздушных баллонов или из линии подачи сжатого воздуха через систему регулирования.
5.5 Чистящие растворы
5.5.1 Сильно окисляющий кислотный раствор
Прецизионность метода получена при использовании стандартного сильно окисляющего кислотного раствора, представляющего собой хромовую смесь (хромсерную кислоту) (см. предупреждение ниже). Также можно использовать растворы, не содержащие хром, такие как персульфат аммония в концентрированной серной кислоте (8 г/дм3). Для удаления отложения оксида железа используют 10%-ный раствор, состоящий из трех частей соляной кислоты (1 моль/дм3) и одной части концентрированной ортофосфорной кислоты (квалификации ч. д. а.).
Предупреждение - Хромсерная кислота опасна для здоровья. Она токсична и является канцерогеном, т.к. содержит соединения хрома (VI), высоко коррозионно-активна и потенциально опасна при контакте с органическими материалами. При использовании хромсерной кислоты в качестве чистящего раствора необходимо защищать глаза и использовать защитную одежду. Не допускается отбирать чистящий раствор в пипетку ртом. Нельзя после использования выливать чистящий раствор в канализацию, его из-за содержания концентрированной серной кислоты необходимо нейтрализовать и утилизировать по стандартным процедурам для токсичных лабораторных отходов (хром опасен для окружающей среды).
Чистящие сильно окисляющие кислотные растворы, не содержащие хром, также являются высоко коррозионно-активными и потенциально опасными при контакте с органическими материалами, но в них отсутствует хром, который создает особые проблемы, связанные с утилизацией отходов.
5.5.2 Поверхностно-активная чистящая жидкость
Поверхностно-активная жидкость с сильным очищающим действием является предпочтительной альтернативой чистящему сильно окисляющему кислотному раствору при использовании со стеклянной посудой.
5.5.3 Лабораторное моющее средство
Лабораторное моющее средство, растворимое в воде.
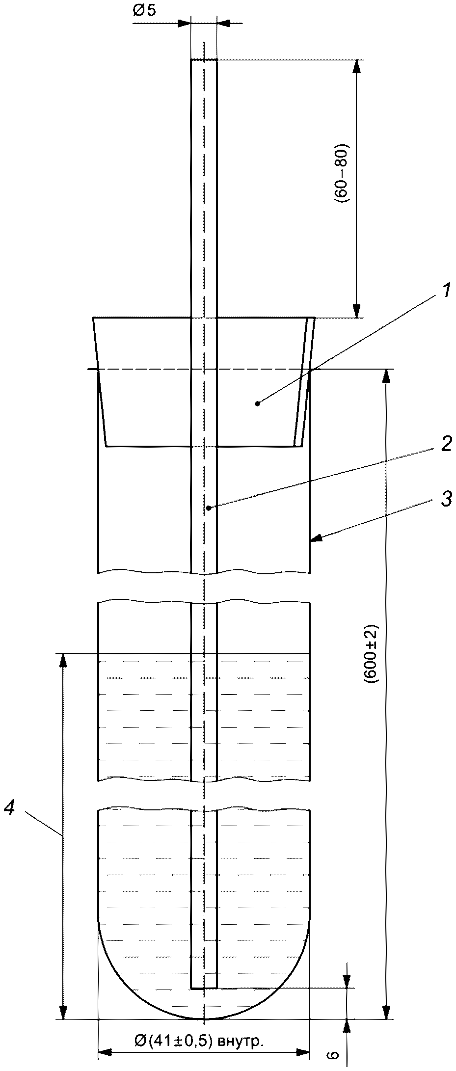
6.1 Окислительная ячейка, состоящая из большой пробирки из боросиликатного стекла высотой 600 мм, внутренним диаметром (41,0 +/- 0,5) мм с делением (300 +/- 1) см
3 при температуре 20 °C, трубки подачи воздуха и пробки с прорезями. Конструкция и размеры окислительной ячейки приведены на
рисунке 1.
Для каждого испытания используют новые пробки.
6.2 Нагревательная баня с термостатическим регулированием, обеспечивающая поддержание температуры образца масла в окислительной ячейке с точностью до +/- 0,2 °C. Размеры бани должны обеспечивать размещение необходимого количества окислительных ячеек
(6.1), погруженных в теплоноситель так, чтобы жидкость в бане была не менее чем на 50 мм выше уровня масла в окислительной ячейке.
Конструкция нагревательной бани должна обеспечивать защиту образцов от воздействия света при проведении испытания. Для равномерного распределения температуры по всему объему жидкостная баня должна быть оснащена подходящей системой перемешивания. Если используют жидкостную баню с крышкой, длина окислительной ячейки в пределах бани должна быть (390 +/- 10) мм.
1 - пробка с прорезями; 2 - стеклянная трубка подачи
воздуха; 3 - пробирка из боросиликатного стекла;
4 - образец объемом 300 мл
Рисунок 1 - Окислительная ячейка
6.3 Расходомеры, измеряющие расход воздуха 10 л/ч с точностью до +/- 0,5 л/ч. Расходомер необходим для каждой окислительной ячейки.
6.4 Приборы измерения температуры
6.4.1 Нагревательная баня
Температуру в жидкостных нагревательных банях измеряют стеклянным жидкостным термометром, соответствующим требованиям, приведенным в
приложении A, или эквивалентной системой измерения температуры с разрешением до +/- 0,2 °C и калиброванной с точностью не менее +/- 0,1 °C.
6.4.2 Окислительная ячейка
Температуру в окислительной ячейке измеряют стеклянным жидкостным термометром, соответствующим требованиям, приведенным в
приложении A, или эквивалентной системой для измерения температуры с разрешением до +/- 0,2 °C и калиброванной с точностью не менее +/- 0,1 °C.
6.5 Трубка подачи воздуха
Для подачи воздуха в окислительную ячейку используют гибкие поливинилхлоридные трубки внутренним диаметром приблизительно 6,4 мм, толщиной стенки 1,5 мм.
6.6 Осушитель воздуха
Перед расходомером воздух осушают, используя колонку, заполненную безводным сульфатом калия или аналогичным осушителем, в количестве, достаточном для завершения испытания.
Если нет других указаний, пробы отбирают по ISO 3170.
8 Подготовка аппаратуры - очистка стеклянной посуды
8.1 Очистка новой стеклянной посуды
Новые трубки для подачи кислорода и окислительные ячейки моют горячим раствором моющего средства
(5.5.3), затем ополаскивают водопроводной водой
(5.1). Чистят внутренние поверхности окислительных ячеек и внутренние и наружные поверхности трубок для подачи кислорода погружением на 24 ч в 10%-ный раствор поверхностно-активной чистящей жидкости
(5.5.2) или промывают сильно окисляющим кислотным раствором
(5.5.1). Тщательно ополаскивают все детали водопроводной водой, затем водой класса 2
(5.1) и сушат в сушильном шкафу или после окончательного промывания промывают ацетоном
(5.3) и сушат на воздухе при температуре окружающей среды.
8.2 Очистка использованной стеклянной посуды
Сразу после окончания испытания и проверки пробирки ополаскивают лабораторную стеклянную посуду гептаном
(5.2) для удаления следов масла. Промывают горячим раствором моющего средства
(5.5.3), используя щетку с длинной ручкой, затем тщательно ополаскивают водопроводной водой. После удаления всех осадков продолжают процедуру по
8.1. Очищенную стеклянную лабораторную посуду хранят в чистом сухом помещении.
9.1 Определяют вязкость свежего масла при температуре 100 °C по ISO 3104 и содержание нерастворимых веществ (число осаждения) (см.
приложение B).
Рекомендуется также определять содержание присадок (см.
приложение D) и кислотное число по стандартам
[3] или
[4]. Инфракрасный спектр может быть записан в диапазоне от 2000 см
-1 до 1650 см
-1 с использованием кюветы с калиброванной длиной оптического пути (см.
приложение E).
9.2 Устанавливают температуру нагревательной бани, обеспечивающую поддержание требуемой температуры испытуемого масла во всех окислительных ячейках с точностью до +/- 0,2 °C. Температуру выбирают в соответствии с типом испытуемой жидкости: 95 °C - для масел типа CKC, 121 °C - для масел типа CKD, 150 °C - для масел типов CKS и CKT.
9.3 С помощью гибких трубок
(6.5) через расходомер соединяют трубку подачи воздуха с его источником. Устанавливают поток воздуха (10,0 +/- 0,5) мл/ч. Через 30 мин проверяют температуру испытуемого масла и при необходимости регулируют температуру нагревательной бани. Контролируют скорость потока воздуха, при необходимости проводя регулировки и отмечая время их проведения. Контролируют температуру испытуемого масла каждый час в течение не менее 3 ч, при необходимости каждый раз проводят необходимые регулировки для поддержания постоянной температуры испытуемого масла в пределах +/- 0,2 °C, считываемой последовательно два раза. Ежедневно при проведении испытания контролируют и поддерживают постоянной температуру нагревательной бани. Скорость потока воздуха контролируют два раза в день и при необходимости регулируют.
9.4 Через (312 +/- 2) ч отсоединяют трубку подачи воздуха и вынимают окислительные ячейки из нагревательной бани. Тщательно перемешивают масло и отбирают объем пробы, достаточный для определения:
a) вязкости при температуре 100 °C по ISO 3104;
b) содержания нерастворимых веществ (число осаждения) (см.
приложение B).
Рекомендуется также определять содержание осадка после фильтрации (см.
приложение C), содержание присадок в фильтрате (см.
приложение D) и кислотное число по стандартам
[3] или
[4]. Также для определения окисления в инфракрасном излучении рекомендуют записывать ИК-спектр в диапазоне от 2000 см
-1 до 1650 см
-1, измеряя поглощение при 1710 см
-1 (см.
приложение E).
Ополаскивают наружную поверхность окислительной ячейки для удаления остатка жидкости бани, затем выливают масло из окислительной ячейки в лабораторный стакан и переворачивают окислительную ячейку верх дном над лабораторным стаканом на 72 ч, чтобы из нее полностью вытекло масло. Визуально оценивают окислительную ячейку на наличие осадка на поверхности стенок на границе раздела масло/воздух и на дне (см.
раздел 10).
Примечание - Промывание пробирки гептаном
(5.2) может упростить ее оценку.
10 Оформление результатов
Старение масел характеризуется:
a) увеличением кинематической вязкости при температуре 100 °C;
b) увеличением числа осаждения;
c) внешним видом пробирки после испытания, наличием отложений и их адгезией в следующей форме:
отложения: | - отсутствуют; |
| - незначительные; |
| - плотные; |
| - очень плотные; |
адгезия: | - слабая; |
| - сильная. |
Примечание - Старение также можно оценить по:
- изменению кислотного числа;
11.1 Общие положения
Прецизионность была установлена при температуре 95 °C и не определялась по стандарту
[1]. Для других температур прецизионность не определена.
11.2 Увеличение кинематической вязкости
11.2.1 Повторяемость r
Расхождение между двумя результатами испытаний, полученными одним и тем же оператором при использовании одного и того же оборудования при постоянных рабочих условиях на идентичном испытуемом материале при нормальном и правильном применении метода испытания в течение длительного времени, может превышать значения, приведенные на
рисунке 2a), только в одном случае из 20.
11.2.2 Воспроизводимость R
Расхождение между двумя единичными и независимыми результатами испытаний, полученными разными операторами в разных лабораториях на идентичном испытуемом материале при нормальном и правильном применении метода испытания в течение длительного времени, может превышать значения, приведенные на
рисунке 2a), только в одном случае из 20.
11.3 Увеличение числа осаждения
11.3.1 Повторяемость r
Расхождение между двумя результатами испытаний, полученными одним и тем же оператором при использовании одного и того же оборудования при постоянных рабочих условиях на идентичном испытуемом материале при нормальном и правильном применении метода испытания в течение длительного времени, может превышать значения, приведенные на
рисунке 2b), только в одном случае из 20.
11.3.2 Воспроизводимость R
Расхождение между двумя единичными и независимыми результатами испытания, полученными разными операторами в разных лабораториях на идентичном испытуемом материале при нормальном и правильном применении метода испытания в течение длительного времени, может превышать значения, приведенные на
рисунке 2b), только в одном случае из 20.
Протокол испытания должен содержать:
a) обозначение настоящего стандарта;
b) тип и полную идентификацию испытуемого продукта;
d) любое отклонение от методики настоящего стандарта;
e) дату проведения испытания.
X1 - вязкость, %; X2 - количество осадка, см3;
Y - максимальное приемлемое отклонение между двумя
результатами; r - повторяемость; R - воспроизводимость
Рисунок 2 - Прецизионность
(обязательное)
ТРЕБОВАНИЯ К СТЕКЛЯННОМУ ЖИДКОСТНОМУ ТЕРМОМЕТРУ
| | ИС МЕГАНОРМ: примечание. В официальном тексте документа, видимо, допущена опечатка: имеются в виду пп. 6.4.1 и 6.4.2, а не пп. 5.4.1 и 5.4.2. | |
Стеклянный жидкостный термометр (
5.4.1 и
5.4.2) и альтернативные устройства измерения температуры должны соответствовать требованиям, приведенным в таблице A.1.
Таблица A.1
Требования к термометру
Термометр | Испытание при температурах 95 °C и 121 °C | Испытание при температурах 121 °C и 150 °C |
Диапазон, °C | От 72 до 126 | От 98 до 152 |
Погружение, мм | 100 | 100 |
Отметки шкалы: | | |
малые деления, °C | 0,2 | 0,2 |
длинные штрихи у каждого, °C | 1 | 1 |
числа у каждого, °C | 2 | 2 |
максимальная ширина линии, мм | 0,15 | 0,15 |
Максимальная погрешность шкалы, °C | 0,2 | 0,3 |
Полная длина, мм | От 390 до 400 | От 390 до 400 |
Наружный диаметр столбика, мм | От 6,0 до 8,0 | От 6,0 до 8,0 |
Длина шарика, мм | От 15 до 20 | От 15 до 20 |
Наружный диаметр шарика, мм | Менее наружного диаметра столбика | Менее наружного диаметра столбика |
Положение шкалы: | | |
от дна шарика до штриха при, °C | 72 | 98 |
расстояние, мм | От 125 до 145 | От 125 до 145 |
длина шкалы, мм | От 190 до 235 | От 190 до 235 |
Примечание - Можно использовать термометры ASTM 40C/IP 80C и ASTM 41C/IP 81C для испытаний при температурах 95 °C/121 °C и 121 °C/150 °C соответственно. |
(обязательное)
ОПРЕДЕЛЕНИЕ СОДЕРЖАНИЯ НЕРАСТВОРИМЫХ ВЕЩЕСТВ
(ЧИСЛА ОСАЖДЕНИЯ)
B.1 Реактивы и материалы
B.1.1 Бензин-растворитель для определения содержания нерастворимых веществ в смазочных маслах, соответствующий требованиям
таблицы B.1.
Предупреждение - Легко воспламеняется, опасен при вдыхании.
Таблица B.1
Требования к бензину-растворителю
Наименование показателя | Значение | Метод испытания |
не менее | не более |
Плотность при 15 °C, кг/м3 | 0,692 | 0,702 | По ISO 12185 |
Анилиновая точка, °C | 58 | 60 | По ISO 2977 |
Начальная температура кипения, °C | 50 | - | По ISO 3405 |
Температура отгона 50%, °C | 70 | 80 | По ISO 3405 |
Конечная температура перегонки, °C | - | 130 | По ISO 3405 |
B.2 Аппаратура
B.2.1 Центрифужная пробирка по ISO 3734.
B.2.2 Центрифуга, вмещающая не менее двух наполненных центрифужных пробирок и обеспечивающая относительную центробежную силу
Frc от 600 до 700 на концах пробирок. Конструкция вращающегося барабана и амортизирующей прокладки должна позволять выдерживать максимальную центробежную силу, которую может обеспечить источник питания. Амортизирующие кольца и прокладки должны обеспечивать надежное фиксирование центрифужных пробирок. В целях безопасности центрифуга должна быть оснащена прочным металлическим экраном или кожухом.
Скорость вращения барабана n, об/мин, в зависимости от относительной центробежной силы вычисляют по формуле

, (B.1)
где d - диаметр окружности вращения пробирок, мм.
B.3 Проведение испытания
B.3.1 При комнатной температуре в две чистые сухие центрифужные пробирки наливают по 10 см
3 испытуемого масла. Каждую пробирку до отметки 100 см
3 наполняют бензином-растворителем
(B.1.1) и плотно закрывают пробкой (кроме резиновой). Переворачивают пробирку не менее 20 раз, позволяя жидкости каждый раз стекать с конусного кончика пробирки. Помещают пробирки на 5 мин в водяную баню при температуре от 32 °C до 35 °C. Для снижения давления на мгновение приоткрывают пробку пробирки, снова закрывают и затем переворачивают каждую пробирку не менее 20 раз. Результат проведения испытания по данной методике зависит от однородности смеси, которая должна полностью стекать с кончика пробирки при ее переворачивании.
B.3.2 Уравновешивают две центрифужные пробирки или две пробирки с соответствующими опорными кольцами и помещают их на противоположные стороны барабана центрифуги. Вращают пробирки в течение 10 мин с относительной центробежной силой
Frc от 600 до 700 на концах пробирок (см.
B.2.2). Повторяют эту процедуру до тех пор, пока объем осадка в каждой пробирке будет постоянным для трех последовательных показаний. Обычно для масел с низким содержанием нерастворимых веществ достаточно не более четырех периодов вращения.
B.4 Вычисление и протокол испытания
Определяют объем твердого осадка на дне каждой центрифужной пробирки с точностью не менее 0,1 см3. Если два значения отличаются менее чем на 0,1 см3, регистрируют среднеарифметическое значение двух результатов как "содержание нерастворимых веществ". Если два значения отличаются более чем на 0,1 см3, проводят еще два определения и регистрируют среднеарифметическое значение результатов четырех определений.
(справочное)
ОПРЕДЕЛЕНИЕ СОДЕРЖАНИЯ ОСАДКА ПОСЛЕ ФИЛЬТРАЦИИ
C.1 Реактивы и материалы
Реактивы и материалы - по стандарту
[2].
C.2 Оборудование
Оборудование - по стандарту
[2], также используют мембрану из эфиров целлюлозы со средним диаметром пор 1,2 мкм.
C.3 Проведение испытания
В прибор для фильтрации помещают (100 +/- 1) см
3 масла, отобранного из окислительной ячейки после завершенного испытания. Мембрану сушат и взвешивают (масса
m) в соответствии со стандартом
[2]. Фильтруют масло для получения достаточного количества состаренного масла для определения содержания элементов (фосфора, цинка и т.д.) по методике, приведенной в
приложении D. После фильтрования разбавляют состаренное масло гептаном
(5.2) и снова фильтруют. После окончания фильтрования осторожно промывают мембрану гептаном
(5.2), затем высушивают и взвешивают (масса
m'), следуя процедуре по стандарту
[2].
C.4 Вычисление и протокол испытания
Содержание осадка после фильтрации SF, мг/100 см3, вычисляют по формуле
SF = m' - m, (C.1)
где m' - масса мембраны после фильтрования, мг;
m - масса мембраны до фильтрования, мг.
(справочное)
ОПРЕДЕЛЕНИЕ ИЗМЕНЕНИЯ СОДЕРЖАНИЯ ПРИСАДОК
Изменение свойств смазочных материалов, подвергнутых старению по методу настоящего стандарта, не всегда обусловлено окислением. Известно, что противозадирные присадки не всегда термоустойчивы; они могут распадаться, вызывая образование отложений и осадков. Некоторые осадки остаются на стенках окислительной ячейки, другие - в виде суспензии в масле. Визуально можно оценить наличие осадка в пробирке. Содержание суспензии осадка в масле можно определить после фильтрации (см.
приложение C).
Поскольку осадок в основном состоит из продуктов разложения нестабильных присадок, изменение содержания присадок в свежем и отфильтрованном после окисления масле характеризует снижение содержания присадок в масле. Оно может привести к снижению противозадирных или противоизносных свойств масел, подвергаемых при эксплуатации высоким термическим нагрузкам.
Основным элементом в присадках для промышленных трансмиссионных масел, используемых при сверхвысоком давлении, является фосфор. Могут присутствовать другие элементы.
Содержание элементов можно определить по стандартам
[7] или
[6] (рентгенофлуоресцентный метод).
Изменение содержания элементов

, % масс., после фильтрации вычисляют по формуле

, (D.1)
где
E2 - содержание элемента в состаренном масле после определения стабильности к окислению (масло, собранное после фильтрации по процедуре, указанной в
приложении C);
E1 - содержание элемента в свежем масле.
В зависимости от используемой присадки E - фосфор, или цинк, или другой элемент.
(справочное)
ОПРЕДЕЛЕНИЕ ОКИСЛЕНИЯ В ИНФРАКРАСНОЙ ОБЛАСТИ
E.1 Область применения
Настоящая методика предусматривает количественное определение изменения поглощения ИК-спектра испытуемого масла за счет окисления.
Окисление масла приводит к образованию продуктов, насыщенных кислородом (альдегиды, кетоны и кислоты), пик поглощения которых в инфракрасном диапазоне находится приблизительно при 1710 см-1.
E.2 Сущность метода
Записывают спектры инфракрасного излучения в диапазоне от 2000 см-1 до 1650 см-1 свежего и окисленного масла.
Измеряют поглощение при 2000 см-1 и 1710 см-1 свежего и окисленного масел и вычисляют окисление по инфракрасному спектру (OIR).
E.3 Оборудование
E.3.1 ИК-спектрометр любого типа.
E.3.2 Кювета с длиной оптического пути от 0,02 до 0,2 мм.
E.4 Проведение испытаний
Испытуемое масло помещают в кювету с известной длиной оптического пути 0,02 - 0,20 мм. В соответствии с инструкциями изготовителя ИК-спектрометра записывают спектр инфракрасного излучения свежего и окисленного масла в диапазоне от 2000 см-1 до 1650 см-1.
Определяют поглощение (или высоту пика) при 2000 см-1 и 1710 см-1.
E.5 Вычисление и протокол испытания
Вычисляют окисление по инфракрасному спектру OIR по формуле

, (E.1)
где D - длина оптического пути, см;
T2000 - поглощение масла при 2000 см-1;
T1710 - поглощение масла при 1710 см-1;
( )1 - относится к свежему маслу;
( )2 - относится к маслу после окисления.
(справочное)
СВЕДЕНИЯ О СООТВЕТСТВИИ ССЫЛОЧНЫХ МЕЖДУНАРОДНЫХ СТАНДАРТОВ
МЕЖГОСУДАРСТВЕННЫМ СТАНДАРТАМ
Таблица ДА.1
Обозначение ссылочного международного стандарта | Степень соответствия | Обозначение и наименование соответствующего межгосударственного стандарта |
ISO 2977:1997 | - | |
ISO 3104:1994 | MOD | ГОСТ 33-2000 (ISO 3104-94) "Нефтепродукты. Прозрачные и непрозрачные жидкости. Определение кинематической вязкости и расчет динамической вязкости" <1> |
ISO 3170:2004 | - | |
ISO 3405:2000 | - | |
ISO 3696:1987 | - | |
ISO 3734:1997 | IDT | ГОСТ ISO 3734-2016 "Топлива жидкие остаточные. Определение содержания воды и осадка методом центрифугирования" |
ISO 12185:1996 | - | |
<*> Соответствующий межгосударственный стандарт отсутствует. До его принятия рекомендуется использовать перевод на русский язык данного международного стандарта. Примечание - В настоящей таблице использованы следующие условные обозначения степени соответствия стандартов: - IDT - идентичные стандарты; - MOD - модифицированные стандарты. |
--------------------------------
<1> Действует
ГОСТ 33-2016 "Нефть и нефтепродукты. Прозрачные и непрозрачные жидкости. Определение кинематической и динамической вязкости", неэквивалентный ISO 3104:1994.
<2> Действует
ГОСТ ISO 3405-2013 "Нефтепродукты. Определение фракционного состава при атмосферном давлении", идентичный ISO 3405:2011.
| | Petroleum products - Determination and application of precision data in relation to methods of test (Нефтепродукты. Определение и применение данных прецизионности методов испытаний) |
| ISO 4405 | Hydraulic fluid power - Fluid contamination - Determination of particulate contamination by the gravimetric method (Гидравлические приводы. Загрязнение жидкостей. Гравиметрический метод определения загрязнения частицами) |
| ISO 6618 | Petroleum products and lubricants - Determination of acid or base number - Colour-indicator titration method (Нефтепродукты и смазочные материалы. Определение кислотного или щелочного числа. Метод титрования с цветным индикатором) |
| ISO 6619 | Petroleum products and lubricants - Neutralization number - Potentiometric titration method (Нефтепродукты и смазочные материалы. Число нейтрализации. Метод потенциометрического титрования) |
| ISO 6743-6 | Lubricants, industrial oils and related products (class L) - Classification - Part 6: Family C (Gears) [Материалы смазочные, индустриальные масла и родственные продукты (класс L). Классификация. Часть 6. Семейство C (зубчатые передачи)] |
| ASTM D 4927 | Standard test method for elemental analysis of lubricant and additive components - Barium, calcium, phosphorus, sulfur, and zinc by wavelength-dispersive x-ray fluorescence spectroscopy (Стандартный метод испытаний для элементного анализа смазок и добавок. Определение бария, кальция, фосфора, серы и цинка методом рентгенофлуоресцентной спектроскопии с дисперсией по длине волны) |
| ASTM D 4951 | Standard test method for determination of additive elements in lubricating oils by inductively coupled plasma atomic emission spectrometry (Стандартный метод определения добавочных элементов в смазочных маслах методом индуктивно связанной плазменной атомно-эмиссионной спектрометрии) |
--------------------------------
<1> Заменен на ISO 4259-1:2017 и ISO 4259-2:2017.
УДК 665.76:006.354 | |
Ключевые слова: нефть, нефтепродукты, характеристики старения, ингибированные масла и жидкости, метод TOST, промышленные трансмиссионные масла |