Главная // Актуальные документы // ГОСТ (Государственный стандарт)СПРАВКА
Источник публикации
М.: Стандартинформ, 2015
Примечание к документу
Документ включен в
Перечень международных и региональных (межгосударственных) стандартов, а в случае их отсутствия - национальных (государственных) стандартов, в результате применения которых на добровольной основе обеспечивается соблюдение требований технического
регламента Таможенного союза "О безопасности низковольтного оборудования" (ТР ТС 004/2011) и в
Перечень международных и региональных (межгосударственных) стандартов, а в случае их отсутствия - национальных (государственных) стандартов, содержащих правила и методы исследований (испытаний) и измерений, в том числе правила отбора образцов, необходимые для применения и исполнения требований технического
регламента Таможенного союза "О безопасности низковольтного оборудования" (ТР ТС 004/2011) и осуществления оценки соответствия объектов технического регулирования (
Решение Коллегии Евразийской экономической комиссии от 11.05.2023 N 55).
Отдельные положения данного документа включены в
Перечень международных и региональных (межгосударственных) стандартов, а в случае их отсутствия - национальных (государственных) стандартов, в результате применения которых на добровольной основе обеспечивается соблюдение требований технического
регламента Таможенного союза "О безопасности машин и оборудования" (ТР ТС 010/2011), и в
Перечень международных и региональных (межгосударственных) стандартов, а в случае их отсутствия - национальных (государственных) стандартов, содержащих правила и методы исследований (испытаний) и измерений, в том числе правила отбора образцов, необходимые для применения и исполнения требований технического
регламента Таможенного союза "О безопасности машин и оборудования" (ТР ТС 010/2011) и осуществления оценки соответствия объектов технического регулирования (
Решение Коллегии Евразийской экономической комиссии от 09.03.2021 N 28).
Документ включен в
Перечень стандартов, в результате применения которых на добровольной основе обеспечивается соблюдение требований технического
регламента Таможенного союза "О безопасности низковольтного оборудования" (ТР ТС 004/2011), и в
Перечень стандартов, содержащих правила и методы исследований (испытаний) и измерений, в том числе правила отбора образцов, необходимые для применения и исполнения требований технического
регламента Таможенного союза "О безопасности низковольтного оборудования" (ТР ТС 004/2011) и осуществления оценки соответствия объектов технического регулирования (
Решение Комиссии Таможенного союза от 16.08.2011 N 768).
Текст данного документа приведен с учетом
поправки, опубликованной в "ИУС", N 7, 2019.
Документ
введен в действие с 01.01.2016.
Название документа
"ГОСТ IEC 60335-2-90-2013. Межгосударственный стандарт. Безопасность бытовых и аналогичных электрических приборов. Часть 2-90. Частные требования к микроволновым печам для предприятий общественного питания"
(введен в действие Приказом Росстандарта от 17.04.2014 N 378-ст)
"ГОСТ IEC 60335-2-90-2013. Межгосударственный стандарт. Безопасность бытовых и аналогичных электрических приборов. Часть 2-90. Частные требования к микроволновым печам для предприятий общественного питания"
(введен в действие Приказом Росстандарта от 17.04.2014 N 378-ст)
агентства по техническому
регулированию и метрологии
от 17 апреля 2014 г. N 378-ст
МЕЖГОСУДАРСТВЕННЫЙ СТАНДАРТ
БЕЗОПАСНОСТЬ БЫТОВЫХ И АНАЛОГИЧНЫХ ЭЛЕКТРИЧЕСКИХ ПРИБОРОВ
ЧАСТЬ 2-90
ЧАСТНЫЕ ТРЕБОВАНИЯ К МИКРОВОЛНОВЫМ ПЕЧАМ
ДЛЯ ПРЕДПРИЯТИЙ ОБЩЕСТВЕННОГО ПИТАНИЯ
Safety of household and similar electrical appliances.
Part 2-90. Particular requirements for commercial
microwave ovens for public catering enterprises
(IEC 60335-2-90:2006+A1:2010, IDT)
ГОСТ IEC 60335-2-90-2013
Дата введения
1 января 2016 года
Цели, основные принципы и порядок проведения работ по межгосударственной стандартизации установлены
ГОСТ 1.0-92 "Межгосударственная система стандартизации. Основные положения" и
ГОСТ 1.2-2009 "Межгосударственная система стандартизации. Стандарты межгосударственные, правила и рекомендации по межгосударственной стандартизации. Правила разработки, принятия, применения, обновления и отмены"
1 ПОДГОТОВЛЕН Федеральным государственным унитарным предприятием "Всероссийский научно-исследовательский институт стандартизации и сертификации в машиностроении" (ВНИИНМАШ)
2 ВНЕСЕН Федеральным агентством по техническому регулированию и метрологии (Росстандарт)
3 ПРИНЯТ Межгосударственным советом по стандартизации, метрологии и сертификации (протокол от 14 ноября 2013 г. N 44)
За принятие проголосовали:
Краткое наименование страны по МК (ИСО 3166) 004-97 | Код страны по МК (ИСО 3166) 004-97 | Сокращенное наименование национального органа по стандартизации |
Армения | AM | Минэкономики Республики Армения |
Казахстан | KZ | Госстандарт Республики Казахстан |
Киргизия | KG | Кыргызстандарт |
Молдова | MD | Молдова-Стандарт |
Россия | RU | Росстандарт |
Узбекистан | UZ | Узстандарт |
4
Приказом Федерального агентства по техническому регулированию и метрологии от 17 апреля 2014 г. N 378-ст межгосударственный стандарт ГОСТ IEC 60335-2-90-2013 введен в действие в качестве национального стандарта Российской Федерации с 1 января 2016 г.
5 Настоящий стандарт идентичен международному стандарту IEC 60335-2-90:2006+A1:2010 Household and similar electrical appliances - Safety - Part 2-90: Particular requirements for commercial microwave ovens (Бытовые и аналогичные электрические приборы. Безопасность. Часть 2-90. Частные требования к микроволновым печам для предприятий общественного питания).
Перевод с английского языка (en).
Сведения о соответствии межгосударственных стандартов ссылочным международным стандартам приведены в дополнительном
приложении ДА.
Степень соответствия - идентичная (IDT)
6 ВВЕДЕН ВПЕРВЫЕ
Информация об изменениях к настоящему стандарту публикуется в ежегодном информационном указателе "Национальные стандарты", а текст изменений и поправок - в ежемесячном информационном указателе "Национальные стандарты". В случае пересмотра (замены) или отмены настоящего стандарта соответствующее уведомление будет опубликовано в ежемесячном информационном указателе "Национальные стандарты". Соответствующая информация, уведомления и тексты размещаются также в информационной системе общего пользования - на официальном сайте Федерального агентства по техническому регулированию и метрологии в сети Интернет
Настоящий стандарт относится к группе стандартов, регламентирующих требования безопасности бытовых и аналогичных электрических приборов, состоящей из части 1
(ГОСТ МЭК 60335-1), содержащей общие требования безопасности приборов, а также частей, устанавливающих частные требования к конкретным видам приборов.
Настоящий стандарт содержит нормы, правила и методы испытаний, которые дополняют, изменяют или исключают соответствующие разделы и/или пункты
ГОСТ МЭК 60335-1.
Методы испытаний выделены курсивом.
Термины, применяемые в настоящем стандарте, выделены полужирным шрифтом.
Номера пунктов настоящего стандарта, которые дополняют разделы
ГОСТ МЭК 60335-1, начинаются с цифры 101.
Соответствующий
раздел части 1 заменен следующим.
Настоящий стандарт устанавливает:
- требования безопасности к микроволновым печам, оснащенным дверцей камеры, предназначенным для промышленного использования, с номинальным напряжением не выше 250 В у однофазных приборов, имеющих соединение между одной фазой и нейтралью, и не выше 480 В для остальных приборов;
- требования безопасности к комбинированным
микроволновым печам, оснащенным дверцей камеры, к которым применяется
приложение AA;
- требования безопасности к
микроволновым печам, не оснащенным дверцей камеры, со
средствами перемещения, предназначенным исключительно для промышленного использования для разогрева еды и напитков, к которым применяются
требования, изложенные в приложении BB.
Микроволновые печи, к которым применяются
требования приложения BB, оснащены
средствами перемещения еды и напитков внутри камеры
микроволновой печи. Требования к туннельным микроволновым печам и микроволновым печам, встроенным в торговые автоматы, также учтены в настоящем стандарте.
Микроволновые печи, предназначенные для использования на борту кораблей, также входят в область применения настоящего стандарта.
Примечание 101 - В
приложении BB микроволновая печь, не оснащенная дверцей камеры, определена как
микроволновая печь. Все положения настоящего стандарта применяют к таким приборам, если иное не указано в
приложении BB.
В настоящем стандарте также учитывается, что данными приборами могут пользоваться обычные люди, не являющиеся специалистами, например во время получения еды и напитков из области выдачи торгового автомата.
Примечания
102 Прибор может быть встроен в торговый автомат. В таком случае также могут применяться положения IEC 60335-2-75.
103 Приборы, потребляющие неэлектрическую энергию, также входят в область применения настоящего стандарта.
В настоящем стандарте не учитывается опасность, возникающая в случае:
- безнадзорного использования приборов детьми или недееспособными лицами;
- использования прибора детьми для игр.
В настоящем стандарте не учитываются случаи использования обычными людьми микроволновых печей без двери камеры, оснащенных средствами перемещения, кроме случаев нахождения вблизи входных и выходных отверстий.
Примечания
104 Причины возникновения условий облучения микроволновой энергией и меры, связанные с ограничением распространения микроволнового излучения внутри открытой конструкции, приведены в
приложении BB.
105 Следует учитывать, что:
- для приборов, предназначенных для использования в транспортных средствах, на борту кораблей или самолетов, могут быть необходимы дополнительные требования;
- для приборов, предназначенных для использования в странах с тропическим климатом, могут быть необходимы дополнительные требования;
- во многих странах местные органы здравоохранения, охраны труда и т.п. предъявляют дополнительные требования;
- во многих странах местные органы предъявляют дополнительные требования к
BB.22.119.1 приложения BB;
- ответственные за охрану труда и другие подобные органы.
106 Настоящий стандарт не распространяется на следующие приборы:
- бытовые микроволновые печи, включая комбинированные микроволновые печи (IEC 60335-2-25);
- промышленное оборудование микроволнового нагрева (IEC 60519-6);
- приборы для медицинских целей (IEC 60601);
- приборы, предназначенные для применения в местах с особыми условиями, такими как наличие коррозионной или взрывоопасной среды (пыль, пар или газ).
Применяют соответствующий
раздел части 1 со следующими дополнениями.
Дополнение:
IEC 60068-2-6 Environmental testing - Part 2-6: Tests - Test Fc: Vibration (sinusoidal) [Испытания на воздействие внешних факторов. Часть 2-6. Испытания. Испытание Fc. Вибрация (синусоидальная)]
IEC 60068-2-27 Environmental testing - Part 2-27: Tests - Test Ea and guidance: Shock (Испытания на воздействие внешних факторов. Часть 2-27. Испытания. Испытание Ea и руководство. Удар)
IEC 60068-2-52 Environmental testing - Part 2-52: Tests - Test Kb: Salt mist, cyclic (sodium chloride solution) [Испытания на воздействие внешних факторов. Часть 2-52. Испытания. Испытание Kb. Соляной туман, циклическое испытание (раствор хлорида натрия)]
Применяют соответствующий
раздел части 1 со следующими дополнениями.
Примечание 101 - Под номинальной частотой понимают частоту входного сигнала.
нормальный режим работы (normal operation): Эксплуатация прибора в следующих условиях:
Прибор работает с помещенным в центр полки цилиндрическим сосудом из боросиликатного стекла, заполненным питьевой водой в количестве (1000 +/- 50) г при начальной температуре (20 +/- 2) °C. Максимальная толщина стенок сосуда составляет 3 мм, а внешний диаметр - приблизительно 190 мм. Если номинальная выходная микроволновая мощность выше 2200 Вт, внутрь камеры помещают два сосуда и располагают их рядом друг с другом.
3.101 микроволновая печь (microwave oven): Прибор, предназначенный для нагрева пищевых продуктов и напитков в камере посредством электромагнитной энергии на одной или нескольких полосах частот в диапазоне от 300 МГц до 30 ГГц.
3.102 номинальная выходная микроволновая мощность (rated microwave power output): Выходная микроволновая мощность, заданная прибору производителем.
3.103 камера (cavity): Пространство, ограниченное внутренними стенками и дверцей, в которое помещают нагреваемые объекты.
3.104 полка (shelf): Горизонтальная поверхность в камере, на которой размещают нагреваемые объекты.
3.105 блокировка дверцы (door interlock): Устройство или система, предотвращающая работу магнетрона, при открытой дверце.
3.106 блокировка дверцы с самоконтролем (monitored door interlock): Система блокировки дверцы, оснащенная контролирующим устройством.
3.107 температурный зонд (temperature-sensing probe): Устройство, которое вводится в продукт для измерения его температуры и являющееся частью системы управления печи.
Дополнение:
Примечание - Дополнительные сведения указаны на рисунке 104.
3.108 обученный персонал (instructed person): Персонал, прошедший надлежащее обучение по мерам безопасности при использовании микроволновых печей, знания которого были проверены на практике.
3.109 специалист (skilled person): Человек, получивший надлежащее профессиональное образование, знания и опыт, позволяющие ему выявлять опасные ситуации и принимать меры безопасности при использовании микроволновых печей.
3.110 обычный человек (ordinary person): Человек, не получивший надлежащего обучения по мерам безопасности и не являющийся специалистом.
3.111 средство перемещения (transportation means): Средство перемещения еды и напитков внутри камеры микроволновой печи.
Примечание - Средством перемещения может быть транспортерная лента, роботизированная рука или наклонная плоскость.
3.112 нагреваемый объект (load): Еда и напитки, которые можно подогреть в микроволновой печи.
3.113 защитная оболочка микроволновой печи (microwave enclosure): Конструкция, предназначенная для ограничения области распространения микроволнового излучения.
Примечание 1 - Барьеры, установленные за пределами защитной оболочки, не являются частью защитной оболочки.
Примечание 2 - Конструкция защитной оболочки может состоять из камеры, четвертьволновых дросселей (выполняющих роль инверторов полного сопротивления), синфазных дросселей (для неравномерного распределения поля) и поглотителей СВЧ-излучения.
3.114 барьер микроволновой печи (microwave barrier): Прозрачный для микроволн физический барьер, ограничивающий доступ к защитной оболочке микроволновой печи, установленный снаружи защитной оболочки. Демонтаж данного барьера возможен только с помощью инструмента.
Примечание 1 - Барьер микроволновой печи может быть установлен между защитной оболочкой и наружным кожухом прибора.
Примечание 2 - Приспособления, такие как сетка из металлических цепей или подвесные металлические пластины на входных и выходных отверстиях прибора, предназначенные для сокращения утечки микроволнового излучения, не являются барьерами микроволновой печи.
Примечание 3 - Требования к конструкции приведены в
BB.22.119 приложения BB.
3.115 входные и выходные отверстия (entrance and exit ports): Отверстия в защитной оболочке микроволновой печи, через которые происходит перемещение еды и напитков внутри камеры.
3.116 область загрузки (loading area): Область внутри камеры, в которую помещается нагреваемый объект.
3.117 средство защитного отключения микроволновой печи с контролирующим устройством (means of monitored microwave interlock): Система защитного отключения микроволновой печи с контролирующим устройством.
3.118
защитная конструкция для ограничения доступа (protective blocking structure): Подвижная механическая конструкция, расположенная в области выгрузки и ограничивающая доступ к
защитной оболочке микроволновой печи.
3.119 область выгрузки (removing area): Область для извлечения еды и напитков.
3.120 смотровое отверстие (viewing opening): Отверстие в камере, через которое можно визуально наблюдать за процессом разогрева.
3.121 несъемные средства подсоединения (fixed means of connection): Все компоненты защитной оболочки микроволновой печи, которые постоянно открыты (за исключением входных и выходных отверстий и смотрового отверстия).
Примечание - Несъемные средства подсоединения допускается использовать для вентиляции воздуха и промывания водой.
3.122 съемные средства доступа (detachable means of access): Все компоненты защитной оболочки микроволновой печи, которые можно открыть или демонтировать, не прибегая к использованию инструмента, с целью получить доступ к внутренним компонентам для проведения работ по обслуживанию (за исключением входных и выходных отверстий и смотрового отверстия).
Примечание - Примерами съемных средств доступа являются туннели, открываемые посредством опускания крышки или ее смещения в горизонтальном положении (в случае, если используется выдвижная крышка), и защитные кожухи ламп внутри камеры.
3.123 система защитного отключения микроволновой печи (means of microwave interlock): Механические или электрические защитные устройства или системы, включающиеся в том случае, если определенные условия не были соблюдены (к примеру, защитное устройство, не позволяющее включить микроволновый генератор, если открыто одно из средств доступа).
3.124
крышка для обслуживания (maintenance cover): Элемент конструкции какой-либо части оборудования, который можно открыть или снять с помощью инструмента, чтобы получить доступ к внутренним компонентам для проведения работ по ремонту, техническому обслуживанию, замене расходных материалов и т.д. на тех участках, где имеется микроволновое излучение.
3.125
крышка для чистки (cleaning cover): Часть защитной оболочки микроволновой печи, которую можно открыть или снять с помощью инструмента с целью выполнить чистку на регулярной основе в процессе эксплуатации прибора.
3.126
эталонная поверхность (reference surface): Поверхность вблизи входных и выходных отверстий, определяемая в зависимости от показаний утечки микроволнового излучения по
BB.32 приложения BB.
Примечание 1 - Если утечка микроволнового излучения составляет менее 50 Вт/м2, эталонной поверхностью будет считаться поверхность геометрического отверстия защитной оболочки микроволновой печи без микроволнового барьера.
Примечание 2 - Если утечка микроволнового излучения превышает 50 Вт/м2, эталонной поверхностью будет считаться искусственная поверхность, расположенная в 50 мм от места, в котором датчиком измерительного прибора была зафиксирована утечка свыше 50 Вт/м2 по направлению внутрь прибора.
Примечание 3 - Более подробная информация приведена в
BB.32 приложения BB.
3.127 комбинированная микроволновая печь (combination microwave oven): Микроволновая печь, в которой нагрев обеспечивается в камере также посредством одновременной или последовательной работы резистивных нагревательных элементов.
Примечание - Резистивные нагревательные элементы используют для обеспечения инфракрасного излучения, конвекционного тепла или пара.
| | Применение на добровольной основе разд. 4 обеспечивает соблюдение требований технического регламента Таможенного союза "О безопасности машин и оборудования" (ТР ТС 010/2011) (Решение Коллегии Евразийской экономической комиссии от 09.03.2021 N 28). | |
Применяют соответствующий
раздел части 1.
| | Разд. 5 - 11 содержат правила и методы исследований (испытаний) и измерений, в том числе правила отбора образцов, необходимые для применения и исполнения требований технического регламента Таможенного союза "О безопасности машин и оборудования" (ТР ТС 010/2011) и осуществления оценки соответствия объектов технического регулирования (Решение Коллегии Евразийской экономической комиссии от 09.03.2021 N 28). | |
5 Общие условия испытаний
Применяют соответствующий
раздел части 1 со следующим дополнением и изменениями.
Примечание 101 - Для испытания по
19.104 может потребоваться дополнительный образец. Для испытания по
24.1.4 требуется шесть дополнительных образцов устройства блокировки.
Вместо проведения испытаний в последовательности, обусловленной разделами стандарта, применяют такую последовательность разделов и пунктов: 32, 22.113, 22.108, 22.116, 7 - 17, 20, 21 (кроме 21.101 - 21.105), 18, 19 (кроме 19.104), 22 (кроме 22.108, 22.113, 22.116), 23 - 31, 21.101 - 21.105 и 19.104.
5.101 Микроволновые печи испытывают как электрические приборы.
5.102
Температурные зонды класса III испытывают только по
22.112.
| | Применение на добровольной основе разд. 6 - 11 обеспечивает соблюдение требований технического регламента Таможенного союза "О безопасности машин и оборудования" (ТР ТС 010/2011) (Решение Коллегии Евразийской экономической комиссии от 09.03.2021 N 28). | |
Применяют соответствующий
раздел части 1 со следующим изменением.
Микроволновые печи должны быть класса I.
7 Маркировка и инструкции
Применяют соответствующий
раздел части 1 со следующими дополнениями.
Приборы должны иметь маркировку с указанием номинальной частотой в мегагерцах из полосы частот для промышленной, научной и медицинской аппаратуры (ISM), в которой они работают.
Если снятие какой-либо крышки приводит к утечке микроволнового излучения, превышающей значение, указанное в
разделе 32, эта крышка должна иметь следующую маркировку:
"ОСТОРОЖНО! МИКРОВОЛНОВОЕ ИЗЛУЧЕНИЕ! НЕ СНИМАЙТЕ ЭТУ КРЫШКУ!"
Если прибор оснащен штепсельной вилкой, защищенной плавким предохранителем, отличным от предохранителя типа D, в маркировке должен быть указан номинальный ток предохранителя. При наличии миниатюрной плавкой вставки на маркировке должно быть указано, что данная плавкая вставка должна иметь высокую разрывную способность.
Если приборы имеют открытые для доступа металлические поверхности, кроме рабочих поверхностей, нагрев которых превышает 90 К во время испытания по
разделу 11, они должны иметь маркировку IEC 60417-5041 (2002-10) или следующую маркировку:
"ОСТОРОЖНО! Горячая поверхность!"
Добавить следующие символы:
| [символ 5021 IEC 60417] | эквипотенциальность |
| [символ IEC 60417-5041 (2002-10)] | Осторожно! Горячая поверхность! |
Инструкция по эксплуатации прибора должна содержать следующую информацию:
- "ВНИМАНИЕ! При повреждении дверцы или дверных уплотнений печь не следует использовать до устранения неисправности квалифицированными специалистами";
- "ВНИМАНИЕ! Все работы по обслуживанию и ремонту прибора, связанные со снятием крышек, обеспечивающих защиту от воздействия микроволнового излучения, должны выполняться только квалифицированными специалистами";
- "ВНИМАНИЕ! Жидкости и другие продукты нельзя нагревать в закрытых емкостях во избежание взрыва";
- "ВНИМАНИЕ! Нагрев жидкостей посредством микроволнового излучения может вызвать задержанное бурное кипение, поэтому следует проявлять осторожность при обращении с емкостями";
- "ВНИМАНИЕ! Во избежание ожогов содержимое бутылочек и емкостей с детским питанием необходимо перемешивать и взбалтывать, перед употреблением нужно проверять температуру пищи";
- минимальная высота свободного пространства над верхней поверхностью печи;
- использовать только посуду, предназначенную для микроволновых печей;
- при нагреве пищи в пластиковой или бумажной посуде необходимо следить за тем, чтобы во время работы прибора не произошло возгорание;
- при появлении дыма следует выключить печь или отключить ее от сети и не открывать дверцу, чтобы погасить пламя;
- не следует готовить в микроволновых печах яйца в скорлупе и сваренные вкрутую яйца, так как они могут взорваться даже после прекращения воздействия микроволнового излучения;
- подробные инструкции по очистке дверных уплотнений, камер и прилегающих частей;
- необходимо регулярно чистить печь и удалять все остатки пищи;
- недостаточная чистота печи может привести к повреждению поверхности, что может сократить срок службы прибора и привести к возникновению опасной ситуации;
- использовать только температурный зонд, рекомендованный для данной печи (для приборов, в которых предусмотрено использование температурного зонда);
- запрещается чистка приборов струей воды (относится к приборам, установленным на полу, и приборам, класс защиты которых менее IPX5).
Примечание 101 - Если микроволновая печь встроена в торговый автомат, данные предупреждения и инструкции могут не применяться. В таком случае наличие вышеуказанных предупреждений не требуется.
Размер шрифта предупреждающей надписи, приведенной в
7.1, должен быть не менее 3 мм.
Размер шрифта предупреждающей надписи, приведенной в
7.101, должен быть не менее 5 мм.
Высота треугольника рядом с символом "IEC 60417-5041 (2002-10)" должна быть не менее 12 мм.
7.101 Необходимо поместить ярлык вместе с инструкциями по его креплению на видном месте рядом с прибором. Ярлык должен содержать следующую информацию:
- "ВНИМАНИЕ! Жидкости и другие продукты нельзя нагревать в закрытых емкостях во избежание взрыва";
- "ВНИМАНИЕ! Нагрев жидкостей посредством микроволнового излучения может вызвать задержанное бурное кипение, поэтому следует проявить осторожность при обращении с емкостями";
- "ВНИМАНИЕ! Во избежание ожогов содержимое бутылочек и емкостей с детским питанием необходимо перемешивать и взбалтывать, перед употреблением нужно проверять температуру пищи".
Соответствие данному требованию проверяют осмотром.
8 Защита от доступа к токоведущим частям
Применяют соответствующий
раздел части 1.
9 Пуск электромеханических приборов
Не применяют соответствующий
раздел части 1.
10 Потребляемая мощность и ток
Применяют соответствующий
раздел части 1.
Применяют соответствующий
раздел части 1 со следующими дополнениями.
Приборы, за исключением встраиваемых приборов, располагают как нагревательные приборы.
Над прибором на минимальной высоте, указанной в инструкциях, устанавливают навес. Ширина навеса - 300 мм от задней стенки испытательного угла, а длина - не менее чем на 150 мм больше ширины прибора.
Укрепляемые на полу приборы и приборы, не оснащенные колесами, роликами или аналогичными средствами, масса которых превышает 40 кг, устанавливают в соответствии с инструкциями производителя. Если инструкции не были предоставлены, данные приборы помещают на пол как можно ближе к стенкам испытательного угла.
Приборы работают в цикличном режиме, при этом каждый цикл состоит из периода нагрева, равного 4 мин, с последующим периодом простоя, равным 1 мин, до тех пор, пока режим работы не будет стабильным. Как только половина загруженной в камеру воды испаряется, добавляют кипящую воду.
Превышение температуры внешних поверхностей микроволновых печей измеряют только на поверхностях, не расположенных перед стенкой и полом испытательного угла.
Для решеток, служащих для отвода воздуха, и для поверхностей, находящихся на расстоянии до 25 мм от них, предельные значения температуры не устанавливают.
| | Разд. 13 - 32 содержат правила и методы исследований (испытаний) и измерений, в том числе правила отбора образцов, необходимые для применения и исполнения требований технического регламента Таможенного союза "О безопасности машин и оборудования" (ТР ТС 010/2011) и осуществления оценки соответствия объектов технического регулирования (Решение Коллегии Евразийской экономической комиссии от 09.03.2021 N 28). | |
| | Применение на добровольной основе разд. 13 - 32 обеспечивает соблюдение требований технического регламента Таможенного союза "О безопасности машин и оборудования" (ТР ТС 010/2011) (Решение Коллегии Евразийской экономической комиссии от 09.03.2021 N 28). | |
13 Ток утечки и электрическая прочность при рабочей температуре
Применяют соответствующий
раздел части 1.
14 Динамические перегрузки по напряжению
Применяют соответствующий
раздел части 1.
Применяют соответствующий
раздел части 1 со следующим дополнением.
0,5 л воды, содержащей приблизительно 1% NaCl, постепенно выливают на полку в течение 1 мин. Если полка имеет такую форму, которая удерживает жидкость, ее заполняют солевым раствором доверху, а затем доливают еще 0,5 л в течение 1 мин.
15.101 Температурные зонды должны быть сконструированы так, чтобы попавшая на зонд вода не нарушала изоляцию.
Соответствие данному требованию проверяют следующим испытанием.
Зонд полностью погружают в воду температурой (20 +/- 5) °C, содержащую приблизительно 1% NaCl. Воду доводят до кипения в течение приблизительно 15 мин. Затем зонд извлекают из кипящей воды и погружают в воду температурой (20 +/- 5) °C на 30 мин.
Эту операцию повторяют пять раз, после чего зонд вынимают из воды. Все следы влаги удаляют с поверхности.
После этого зонд должен выдержать испытание на ток утечки по 16.2.
Примечание - Съемные температурные зонды не подключают к прибору для проведения данного испытания. Несъемные температурные зонды испытывают в печи, при этом зонд погружают в воду как можно глубже.
16 Ток утечки и электрическая прочность
Применяют соответствующий
раздел части 1 со следующим дополнением.
Дополнение:
16.101 Обмотки силового трансформатора, питающего магнетрон, должны иметь достаточную изоляцию.
Соответствие данному требованию проверяют испытанием по 16.101.1 для импульсных источников питания, для других силовых трансформаторов - испытанием по 16.101.2.
16.101.1 Изоляцию между первичными и вторичными обмотками силовых трансформаторов с выключателем питания испытывают путем подачи в течение 1 мин синусоидального напряжения с частотой 50 - 60 Гц. Значение напряжения составляет 1,414 пикового значения рабочего напряжения вторичной обмотки плюс 750 В, но не менее 1250 В.
Во время испытания не должно быть пробоя между обмотками или между расположенными рядом витками одной и той же обмотки.
16.101.2
На выводы первичной обмотки силового трансформатора подают синусоидальное напряжение с частотой, превышающей номинальную частоту в первичной обмотке, так, чтобы рабочее напряжение во вторичной обмотке возросло вдвое.
Длительность испытаний должна составлять:
- 60 с для частот не более удвоенного значения номинальной частоты или
- 120 | | с, но не менее 15 с для более высоких частот. |
Примечание - Частоту испытательного напряжения устанавливают выше номинальной частоты, чтобы избежать чрезмерного увеличения тока намагничивания.
Первоначально подают не более одной трети испытательного напряжения, которое затем быстро повышают до полного значения. В конце испытания напряжение таким же образом понижают приблизительно до одной трети его полного значения, а затем отключают.
Во время испытаний не должно быть пробоя между обмотками или между расположенными рядом витками одной и той же обмотки.
17 Защита от перегрузки трансформаторов и соединенных с ними цепей
Применяют соответствующий
раздел части 1 со следующим дополнением.
Дополнение:
Испытания не проводят на силовом трансформаторе, питающем магнетрон и связанные с ним цепи, которые проверяют во время испытаний по разделу 19.
Применяют соответствующий
раздел части 1 со следующим дополнением.
Дополнение:
Конструкция дверных систем, включая петли, уплотнения и другие части, должна выдерживать износ, возможный при нормальной эксплуатации.
Соответствие данному требованию проверяют следующим испытанием.
Дверную систему подвергают 100000 циклам работы при подаче на прибор номинального напряжения с помещенным внутрь соответствующим нагреваемым объектом, поглощающим микроволновое излучение. Затем выполняют 100000 циклов работы без генерации микроволнового излучения.
Дверцу открывают и закрывают как при нормальной эксплуатации. Дверцу открывают из закрытого положения до положения, не доходящего приблизительно 10° до полного открытия. Частота открывания составляет 6 циклов в минуту. С согласия изготовителя частота открывания без генерации микроволнового излучения может быть увеличена до 12 циклов в минуту.
После испытания утечка микроволнового излучения не должна превышать предельного значения, указанного в разделе 32, а дверная система должна нормально функционировать.
Примечание 101 - На время проведения испытания панель управления можно отключить.
Примечание 102 - Комплектующие, повреждение которых не нарушает соответствия прибора требованиям настоящего стандарта, допускается заменить и продолжить испытания.
Примечание 103 - Бруски или дополнительная вода массой не более 1000 г при необходимости могут быть добавлены во избежание прерывания испытания из-за перегрева.
Применяют соответствующий
раздел части 1 со следующими изменением и дополнениями.
Вместо испытаний прибора по 19.2 - 19.10 соответствие данному требованию проверяют испытаниями по 19.101 - 19.104, при этом прибор должен работать при номинальном напряжении.
Цепь катод-анод магнетрона поочередно замыкают и размыкают. Если одна из этих неисправностей приводит к увеличению потребляемого тока при уменьшении напряжения, испытание проводят с подачей на прибор напряжения, равного 0,94 номинального напряжения. Однако если скорость изменения потребляемого тока по сравнению с напряжением выше, прибор должен работать при напряжении, равном 1,06 номинального напряжения.
Нить накала магнетрона не замыкают.
Температура обмоток не должна превышать значений, указанных в таблице 8. Приборами, работающими до достижения стабильного режима работы, считают только приборы с режимом задержки пуска и приборы с функцией поддержания тепла.
Во время испытаний утечка микроволнового излучения не должна превышать 100 Вт/м2. Утечка измеряется в соответствии с разделом 32, но с соответствующим нагреваемым объектом, указанным в каждом отдельном пункте. Прибор считают соответствующим требованиям раздела 32, если он сохраняет работоспособность после испытания.
19.101
Приборы работают с пустой камерой и устройствами управления, установленными в наиболее неблагоприятное положение.
Продолжительность работы равна максимальному периоду времени, предусмотренному таймером, или периоду, необходимому для достижения прибором стабильного режима работы, в зависимости от того, какой период короче.
19.102
Приборы должны работать в нормальном режиме работы, при этом таймер или другое устройство управления, работающее при нормальной эксплуатации, замыкают накоротко.
Примечание - Если прибор имеет несколько устройств управления, их замыкают накоротко поочередно.
19.103 Приборы работают в нормальном режиме работы, с искусственно созданной одной из возможных неисправностей, вероятность возникновения которой высока в нормальном режиме работы. Приборы работают при наиболее неблагоприятном положении устройств управления в течение максимального периода времени, предусмотренного таймером, или в течение 90 мин, в зависимости от того, какой период короче.
Примечание - Примеры условий возникновения неисправностей:
- блокирование отверстий для воздуха, находящихся в одной плоскости;
- заклинивание ротора двигателя, если крутящий момент заблокированного ротора меньше, чем полный крутящий момент нагрузки;
- заклинивание движущихся частей, подверженных заклиниванию при нормальной эксплуатации.
19.104
Устройства управления прибора настраивают на наиболее неблагоприятный режим, и в прибор помещают картофель на той части полки, где наиболее вероятно появление возгорания и распространения пламени на другие горючие материалы.
Для испытания используют клубни картофеля эллипсоидальной формы массой от 125 до 150 г. Длина малой главной оси эллипсоида должна быть не менее 40 мм. Длина большой главной оси эллипсоида должна быть не более 140 мм. Для получения указанной массы длину большой главной оси допускается симметрично уменьшать. В клубень вдоль его большой оси вставляют стальную проволоку диаметром (1,5 +/- 0,5) мм и длиной, приблизительно равной длине большой оси клубня. Число используемых для испытания клубней указано в таблице 101.
Таблица 101
Количество клубней картофеля
Номинальная выходная микроволновая мощность, Вт | Объем камеры, л | Количество клубней картофеля |
< 600 | От 14 до 28 включ. | 2 |
От 600 до 1000 включ. | " 28 " 42 " | 4 |
" 1000 " 2000 " | " 42 " 56 " | 6 |
" 2000 | " 56 | |
Примечание - Используется либо номинальная выходная микроволновая мощность, либо объем камеры, в зависимости от того, при использовании какого параметра возможно поместить большее количество клубней картофеля. |
<a> N равно 2 для каждого повышения мощности на 500 Вт или каждого повышения объема на 14 л. |
Если возгорание не произошло, один клубень картофеля убирают, после чего испытание повторяют. Если возгорание единственного клубня картофеля в камере не произошло, возгорание осуществляют искусственным образом.
Испытание прерывают через 15 мин после прекращения генерации микроволнового излучения или погашения появившегося в камере прибора пламени.
Во время испытания любое воспламенение, которое может возникнуть в камере, не должно выйти за пределы прибора.
Примечание 1 - Вовремя испытания положения
19.13 не применяют.
После испытания, если прибор все еще работоспособен, любую поврежденную съемную полку заменяют и проводят испытание по 19.13. В случае несоответствия прибора испытание повторяют на новом приборе.
Примечание 2 - Несоответствие требованиям может быть результатом суммарных воздействий предыдущих испытаний.
20 Устойчивость и механические опасности
Применяют соответствующий
раздел части 1 со следующим дополнением.
20.101 Дополнение:
Приборы, имеющие дверцы с горизонтальным креплением на нижних гранях, на которые может применяться нагрузка, должны иметь соответствующую устойчивость.
Соответствие данному требованию проверяют следующим испытанием.
Прибор с открытой дверцей устанавливают на горизонтальной поверхности, массу груза осторожно располагают в геометрическом центре дверцы.
Масса груза для приборов, установленных и используемых на полу, составляет:
- 23 кг для дверцы камеры либо массу, которую можно поместить внутрь печи в соответствии с инструкциями производителя, если она превышает 23 кг;
- кг для остальных дверец.
Масса груза для приборов, установленных и используемых на столе, составляет:
- 7 кг для стационарных приборов;
- 3,5 кг для остальных приборов.
Прибор не должен опрокидываться.
Примечание 1 - В качестве груза допускается использовать мешок с песком.
Примечание 2 - Если прибор оснащен несколькими дверцами, испытание проводят для каждой двери по отдельности.
21 Механическая прочность
Применяют соответствующий
раздел части 1 со следующим дополнением.
| | ИС МЕГАНОРМ: примечание. В официальном тексте документа, видимо, допущена опечатка: имеется в виду п. 21.105, а не п. 2.105. | |
Соответствие требованию также проверяется испытаниями по 21.101 - 2.105.
21.101
Дверцы на петлях устанавливают под углом приблизительно 30° к положению полностью открытой дверцы. Раздвижные дверцы открывают приблизительно на две трети. Затем усилие в 35 Н прикладывают к внутренней поверхности дверцы на расстоянии 25 мм от ее свободного края, если дверца на петлях, или к ручке, если дверца раздвижная.
Усилие прикладывают посредством пружинных весов с жесткостью пружины 1,05 Н/мм. Сначала с другой стороны дверцы или ручки прикладывают одновременно противодействующую силу. Затем противодействие снимают, и дверца полностью открывается.
Испытание проводят 25 раз.
На дверцах стационарных и встраиваемых приборов испытание повторяют аналогичным образом, за исключением того, что:
- дверца первоначально расположена в среднем положении между полностью открытым и закрытым;
- прикладываемое усилие в 1,5 раза больше усилия, требуемого для открывания дверцы, или составляет 65 Н, в зависимости от того, что больше. Однако, если усилие не может быть измерено или для открывания дверцы требуется дополнительная операция, прикладывают усилие 65 Н.
Испытание проводят 25 раз.
Затем дверцы располагают в среднем положении между полностью открытым и закрытым положениями. Для закрывания дверцы прикладывают усилие 90 Н к внешней поверхности дверцы на петлях на расстоянии 25 мм от ее свободного края или к ручке раздвижной дверцы вышеописанным способом.
Испытание проводят 50 раз.
После испытания прибор должен соответствовать требованиям раздела 32.
21.102
Дверцу с боковым креплением полностью открывают. К свободному краю дверцы сверху вниз прикладывают усилие 140 Н или максимально возможное усилие, вследствие которого прибор не наклонится, в зависимости от того, что меньше. Дверца закрывается. Далее при том же усилии дверцу снова полностью открывают.
Испытание проводят 10 раз.
Дверцу с нижним креплением открывают и к внутренней поверхности дверцы в наиболее неблагоприятном месте на расстоянии 25 мм от свободного края прикладывают усилие 140 Н или максимально возможное, вследствие которого прибор не наклонится, в зависимости от того, что меньше.
Время действия усилия составляет 15 мин.
После испытания прибор должен соответствовать требованиям раздела 32.
21.103 Для приборов с дверцей на петлях дверцу камеры открывают и на внутренней поверхности дверцы в дальнем от петли углу прикрепляют деревянный кубик с ребром 20 мм. Затем делают попытку закрыть дверцу усилием 90 Н, приложенным с внешней стороны к другому удаленному от петель углу дверцы в направлении перпендикулярно ее поверхности.
Время действия усилия составляет 5 с.
Затем кубик извлекают. Дверцу медленно закрывают до положения, при котором становится возможной генерация микроволнового излучения. С помощью дверцы и ее открывающего устройства подбирают положение, при котором наблюдается наибольшая утечка микроволнового излучения.
После испытания прибор должен соответствовать требованиям раздела 32.
Испытание повторяют, поместив деревянный кубик в другой удаленный от дверной петли угол.
Примечание - Испытание не проводят для раздвижных дверей.
21.104
Дверцу закрывают и по ее внешней поверхности наносят три удара, каждый из которых обладает энергией 3 Дж. Эти удары следует наносить в центральную часть дверцы; допускаются удары в одну и ту же точку.
Удар наносят стальным шариком диаметром 50 мм и массой приблизительно 0,5 кг. Шарик подвешивают на шнуре, прикрепленном в одной плоскости с дверцей. Шарик отклоняют как маятник, на расстояние, соответствующее силе удара по испытуемой поверхности, и отпускают.
Дверцу затем открывают и проводят аналогичное испытание, нанося три удара по сопряженной с дверцей поверхности печи.
После этого так же наносят три удара по внутренней поверхности полностью открытой дверцы. Удары наносят по центральной части дверцы; допускаются удары в одну и ту же точку. Однако если дверца имеет нижнее крепление и открывается до горизонтального положения, удары следует наносить шариком, свободно падающим с высоты, соответствующей заданной силе удара.
Дверцы с нижним креплением также испытывают, нанося три удара по уплотнению дверцы, как указано выше. Удары наносят в три разные точки уплотнения дверцы.
После испытания прибор должен соответствовать требованиям раздела 32.
21.105
Дверцу с нижним креплением открывают и кладут на нее шпонку из твердого дерева диаметром 10 мм и длиной 300 мм, располагая ее вдоль петель таким образом, чтобы один конец шпонки выходил за край дверцы. К середине ручки дверцы перпендикулярно ее поверхности прикладывают закрывающее усилие 140 Н в течение 5 с.
Затем шпонку располагают так, чтобы она выступала с другого края дверцы, и повторяют испытание. Далее шпонку располагают посредине линии крепления дверцы и снова повторяют испытание.
После испытаний измеряют утечку микроволнового излучения в условиях, указанных в разделе 32. Утечка не должна превышать 100 Вт/м2.
Применяют соответствующий
раздел части 1 со следующим дополнением.
22.101 Дополнение:
Вентиляция встраиваемых приборов должна располагаться на передней стенке, если не предусмотрена специальная вентиляция через воздуховод.
Соответствие данному требованию проверяют осмотром.
22.102 Вентиляционные отверстия печи должны быть сконструированы так, чтобы выходящие через них влага или жир не влияли на пути утечки и воздушные зазоры между токоведущими частями и другими частями прибора.
Соответствие данному требованию проверяют осмотром.
22.103 В приборах должно быть не менее двух
устройств блокировки дверцы, срабатывающих при открывании дверцы, при этом по крайней мере одна из них должна быть
блокировкой с самоконтролем.
Примечание - Оба устройства блокировки дверцы могут входить в состав системы блокировки дверцы с самоконтролем.
Соответствие данному требованию проверяют осмотром.
22.104 По крайней мере одно устройство блокировки дверцы должно иметь выключатель, отключающий генератор микроволнового излучения или его цепь питания.
Соответствие данному требованию проверяют осмотром.
Примечание - В качестве альтернативы допускается использовать аналогичный по надежности способ отключения.
22.105 По крайней мере одно
устройство блокировки дверцы должно быть скрытым и не должно срабатывать при ручном воздействии. Это
устройство блокировки дверцы должно срабатывать раньше, чем произойдет отключение любого из доступных
устройств блокировки дверцы.
Соответствие данному требованию проверяют следующим испытанием.
Дверцу оставляют в открытом или закрытом положении и предпринимают попытку воздействовать на скрытое устройство блокировки дверцы с помощью испытательного щупа B по IEC 61032 для всех отверстий.
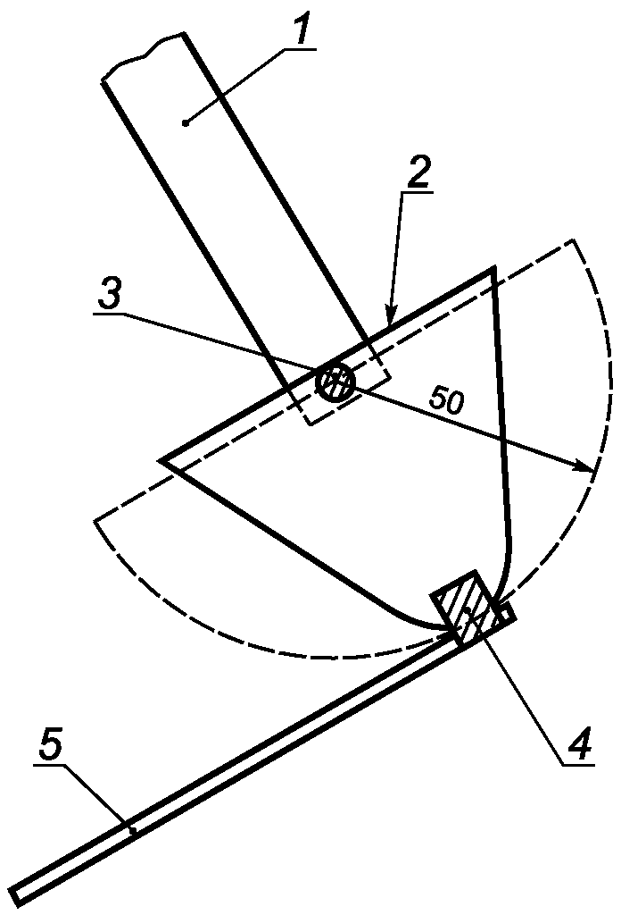
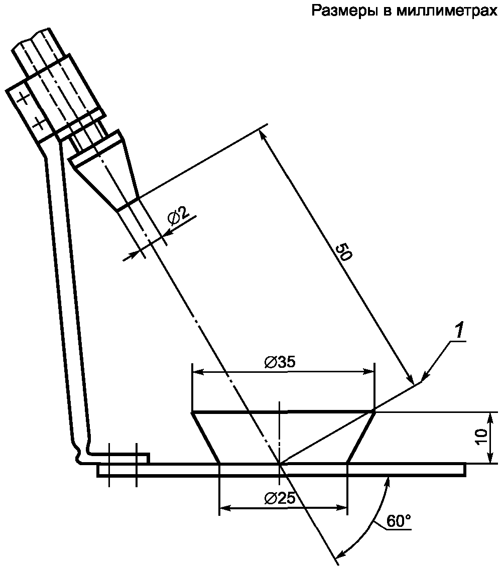
Испытание повторяют с прямым стержнем, показанным на рисунке 101, воздействуя им на все отверстия механизма блокировки дверцы.
Кроме того, магнитные устройства блокировки дверцы должны проходить испытание магнитом, прикладываемым к корпусу поверх выключателя устройства блокировки дверцы. Магнит должен иметь форму и магнитную ориентацию, сходные с магнитом, приводящим в действие устройство блокировки дверцы. Он должен быть способен действовать с усилием (50 +/- 5) Н при его прикладывании к образцу из мягкой стали размерами 80 x 50 x 8 мм. Кроме того, на расстоянии 10 мм от образца магнит должен иметь силу воздействия (5 +/- 0,5) Н.
Дверцу открывают, одновременно пытаясь ручным воздействием вывести из строя любое доступное устройство блокировки дверцы испытательным щупом B по IEC 61032.
Во время испытания не допускается срабатывание скрытого устройства блокировки дверцы.
22.106 Контролирующее
устройство блокировки дверцы с самоконтролем должно привести печь в неработоспособное состояние, если исполнительный механизм не способен самостоятельно отключать процесс генерации микроволнового излучения.
Соответствие данному требованию проверяют следующим испытанием.
Исполнительный механизм устройства блокировки дверцы с самоконтролем приводят в нерабочее состояние. На прибор подают номинальное напряжение от источника питания, имеющего ток короткого замыкания не менее 1,5 кА для приборов с номинальным напряжением выше 150 В и 1,0 кА для других приборов.
Примечание 1 - На приборы с номинальным напряжением менее 150 В и номинальным током более 20 А подают номинальное напряжение от источника питания, имеющего ток короткого замыкания не менее 5,0 кА.
Прибор работает при закрытой дверце, затем предпринимают попытку проникнуть в камеру обычным путем. При этом либо дверца не должна открыться, либо должен отключиться генератор микроволнового излучения. Контролирующее устройство не должно отключаться при отключении печи.
Примечание 2 - Если контролирующий механизм не срабатывает, его заменяют для проведения последующих испытаний.
Примечание 3 - Для проведения этого испытания может оказаться необходимым отключить другие устройства блокировки дверец.
Если срабатывает внутренний плавкий предохранитель в цепи питания генератора микроволнового излучения, его заменяют и испытание проводят еще два раза, при этом внутренний плавкий предохранитель должен каждый раз срабатывать.
Испытание проводят еще три раза, но с сопротивлением, равным (0,4 + 0,25j) Ом, включенным последовательно с источником питания. Внутренний плавкий предохранитель должен срабатывать каждый раз.
Примечание 4 - Для приборов с номинальным напряжением ниже 150 В и номинальным током более 16 А испытание с последовательно включенным сопротивлением не проводят.
Примечание 5 - Выключатели заменяют при каждом срабатывании внутреннего плавкого предохранителя, если так указано в инструкции по ремонту.
22.107 Неисправность любого электрического или механического компонента, влияющего на работу
устройства блокировки дверцы, не должна выводить из строя другие
устройства блокировки дверцы или контролирующие
устройства блокировки дверцы с самоконтролем, кроме тех случаев, когда прибор приходит в нерабочее состояние.
Соответствие данному требованию проверяют осмотром и, при необходимости, испытанием, при котором прибор работает как при нормальной эксплуатации, но с имитацией неисправности отдельного комплектующего изделия.
Примечание - Данное требование не применяют к комплектующим изделиям контролирующего устройства, которые прошли испытание по
22.106.
22.108
Устройства блокировки дверцы, отвечающие требованиям
22.103, должны срабатывать перед появлением чрезмерной утечки микроволнового излучения.
Соответствие данному требованию проверяют следующим испытанием.
Все устройства блокировки дверцы, кроме одного, приводят в нерабочее состояние. Прибор работает при номинальном напряжении с нагреваемым объектом, указанным в разделе 32. Дверцу открывают постепенно, с небольшим шагом, при этом в каждой точке измеряют значение утечки микроволнового излучения.
Прибор должен соответствовать требованиям раздела 32.
Испытания повторяют для каждого устройства блокировки дверцы по очереди.
Примечание 1 - Испытанию подвергают только
устройства блокировки дверцы, необходимые для соответствия требованию
22.103.
Примечание 2 - При проведении испытаний может оказаться необходимым привести контролирующее устройство блокировки дверцы с самоконтролем в нерабочее состояние.
22.109 При помещении между дверцей и соприкасающейся поверхностью тонкослойного материала не должно быть чрезмерной утечки микроволнового излучения.
Соответствие проверяют, закрывая дверцу с полоской бумаги шириной (60 +/- 5) мм и толщиной (0,15 +/- 0,05) мм, вставленной между дверцей и соприкасающейся поверхностью.
Прибор должен соответствовать требованиям раздела 32.
Испытание проводят 10 раз при различных положениях бумажной ленты.
22.110 Не должно быть чрезмерной утечки микроволнового излучения в результате скопления остатков пищи на дверном уплотнении.
Соответствие данному требованию проверяют следующим испытанием.
Элементы уплотнения дверцы покрывают слоем кулинарного жира или масла. Если уплотнение открытого дроссельного типа, масло вводят в паз дросселя.
После испытания прибор должен соответствовать требованиям раздела 32.
22.111 Не должно быть чрезмерной утечки микроволнового излучения в случае механического повреждения углов дверцы.
Соответствие данному требованию проверяют следующим испытанием.
Прибор работает при номинальном напряжении с нагреваемыми объектами, указанными в разделе 32. Дверцу и ее открывающие устройства приводят в такое положение, чтобы получить наибольший зазор, при котором возможна работа генератора микроволнового излучения. К каждому углу дверцы по очереди прикладывают оттягивающее усилие перпендикулярно поверхности дверцы. Усилие постепенно увеличивают до 40 Н.
Во время испытания измеряют утечку микроволнового излучения в условиях, указанных в разделе 32. Значение утечки не должно превышать 100 Вт/м2.
После испытания прибор должен соответствовать требованиям раздела 32.
22.112 Не должно возникнуть чрезмерной утечки микроволнового излучения и повреждения
температурного зонда в случае, если зонд или его шнур зажат дверцей прибора.
Соответствие данному требованию проверяют следующим испытанием.
Зонд подключают как для обычного использования, при этом его термочувствительная часть или шнур должны располагаться в самом неблагоприятном из возможных положений. Дверцу закрывают, защемляя при этом термочувствительную часть или шнур с силой 90 Н, действующей в течение 5 с в наиболее неблагоприятной точке. Далее воздействие силы прекращают и, если печь работоспособна, утечку микроволнового излучения измеряют в условиях, указанных в разделе 32. Значение утечки не должно превышать 100 Вт/м2.
После проведения испытания прибор должен соответствовать требованиям раздела 32, а температурный зонд - требованиям 8.1, 15.101 и раздела 29.
22.113 При снятии
съемных частей не должно возникнуть чрезмерной утечки микроволнового излучения.
Соответствие данному требованию проверяют следующим испытанием.
Съемные части, за исключением полок, снимают, кроме случая, когда при их снятии становится доступной горизонтальная поверхность диаметром более 85 мм.
После этого прибор должен выдержать испытание по разделу 32 при помещении нагреваемого объекта на горизонтальную поверхность как можно ближе к центру камеры.
Примечание - Во избежание замера стоячих неизлучаемых волн наконечник измерительного щупа не вставляют в отверстие, образовавшееся после удаления съемной части.
22.114 Приборы должны иметь такую конструкцию, которая предотвращает выпадение полок из креплений при нагрузке. Полки, предназначенные для частичного извлечения в процессе эксплуатации, не должны опрокидываться при их частичном извлечении из печи.
Соответствие данному требованию проверяют следующим испытанием.
На полку помещается сосуд, наполненный песком или дробью. Общая масса в килограммах должна составлять 30 кг/м2 всей площади полки. Полку с помещенным сосудом по центру поверхности полки вставляют в печь и устанавливают как можно ближе к одной из боковых стенок. В таком положении ее оставляют на 1 мин, после чего извлекают. Затем ее снова вставляют, устанавливают как можно ближе к другой боковой стенке и оставляют на 1 мин.
Во время данного испытания полка не должна упасть с креплений.
Если печь оснащена полками, предназначенными для частичного извлечения в процессе эксплуатации, данное испытание проводят на полке, выдвинутой из печи на 50% ее длины. На центр выдвинутой части полки прилагается дополнительная сила 10 Н по направлению вертикально вниз.
Во время испытания полка не должна опрокидываться.
Примечание - Допускается небольшой угол наклона.
22.115 Единичная неисправность, такая как нарушение
основной изоляции или ослабление соединений в системе изоляции, не должна допускать работу генератора микроволнового излучения с открытой дверцей прибора.
Соответствие данному требованию проверяют осмотром и, при необходимости, испытанием, при котором имитируют подобные неисправности. Провода, которые могут ослабить соединения, отсоединяют и исключают из дальнейшей работы, при этом они не должны соприкасаться с токоведущими частями или заземленными частями, если это может привести к отключению всех устройств блокировки дверцы.
Примечание 1 - Повреждение усиленной или двойной изоляции считают двумя неисправностями.
Примечание 2 - Провода, закрепленные двумя независимыми фиксаторами, считают неспособными к ослаблению.
22.116 Не должно быть доступа в
камеру через смотровой экран.
Соответствие данному требованию проверяют следующим испытанием.
Прямым стальным стержнем диаметром 1 мм с плоским концом воздействуют на смотровой экран с усилием 2 Н в направлении, перпендикулярном плоскости экрана. Стержень не должен проникнуть в камеру.
22.117 Устройства блокировки, срабатывающие при движении съемных частей, не должны срабатывать при случайном движении.
Соответствие данному требованию проверяют осмотром и ручным воздействием.
22.118 Приборы освещения, выключатели и нажимные кнопки должны быть окрашены только красным цветом, если они оповещают об угрозе, риске или подобной ситуации.
Соответствие данному требованию проверяют осмотром.
22.119 Если электрические цепи используют для обеспечения защиты от микроволновой утечки, то они должны быть сконструированы таким образом, чтобы условия неисправности прибора не повлияли на защиту от микроволновой утечки.
Применяют соответствующий
раздел части 1.
Применяют соответствующий
раздел части 1 со следующими дополнениями.
Примечание 101 - Для силовых трансформаторов, питающих магнетрон, IEC 60989 не применяют.
Число циклов работы термостатов увеличивают до 30000.
Устройства блокировки подвергают следующему испытанию, которое проводят на шести образцах.
Устройства блокировки соединяют с нагрузкой, имитирующей условия, возникающие в приборе, когда прибор работает при номинальном напряжении. Блокировки срабатывают с частотой приблизительно шесть циклов в минуту. Количество циклов составляет:
- для устройств блокировки дверцы - 50000;
- для устройств блокировок, срабатывающих только при выполнении работ по техническому обслуживанию пользователем - 5000.
После испытаний устройства блокировки не должны быть повреждены до такой степени, чтобы это сказалось на их дальнейшей работе.
24.101 Приборные соединители внешнего шнура, встроенные в приборы, должны быть однофазного типа, иметь заземляющий контакт и номинальное значение тока не более 16 А. Оба полюса такого соединителя должны быть защищены плавкими предохранителями или миниатюрными прерывателями цепи, расположенными за несъемной крышкой и имеющими номинальное значение тока не более:
- 20 А для приборов с номинальным напряжением до 130 В;
- 10 А для других приборов.
Если прибор предназначен для постоянного соединения с фиксированной проводкой или оборудован поляризованной штепсельной вилкой, нейтральный провод допускается не защищать.
Соответствие данному требованию проверяют осмотром.
Примечание - Доступ к исполнительному элементу миниатюрных прерывателей цепи может быть открыт.
25 Присоединение к источнику питания и внешние гибкие шнуры
Применяют соответствующий
раздел части 1 со следующими дополнениями и изменением.
Приборы не должны быть оснащены приборной вилкой.
Конструкция закрепленных приборов и приборов с массой более 40 кг, не оснащенных колесиками, роликами или аналогичными средствами, должна предусматривать возможность подсоединения шнура питания после установки прибора в соответствии с инструкциями по установке.
Зажимы для постоянного подсоединения кабелей к стационарной проводке могут также подходить для шнура питания типа X. В данном случае закрепление шнура на приборе должно соответствовать требованиям 25.16.
Вместо указанных типов шнуров питания применяется следующее.
Шнуры питания должны быть выполнены в виде гибкого кабеля с маслостойкой оболочкой не легче, чем обычный полихлоропрен (код 60245 IEC 57), или шнура с другой эквивалентной синтетической эластичной оболочкой.
Для температурных зондов общее число изгибов равно 5000. Зонды с круглым сечением проводов поворачивают на 90° после 2500 изгибов.
26 Зажимы для внешних проводов
Применяют соответствующий
раздел части 1.
Применяют соответствующий
раздел части 1 со следующими дополнениями.
Стационарные приборы должны быть снабжены зажимом для подсоединения внешнего эквипотенциального провода. Этот зажим должен иметь надежный электрический контакт со всеми требующими заземления доступными для прикосновения металлическими частями прибора, а также обеспечивать возможность подсоединения к нему проводника с номинальной площадью поперечного сечения до 10 мм2. Он должен быть расположен в месте, удобном для подсоединения к нему провода заземления после установки прибора.
Примечание 101 - Небольшие открытые закрепленные металлические части, например заводской знак и т.п., могут не иметь электрического контакта с зажимом.
Применяют соответствующий
раздел части 1.
29 Воздушные зазоры, пути утечки и непрерывная изоляция
Применяют соответствующий
раздел части 1.
30 Теплостойкость и огнестойкость
Применяют соответствующий
раздел части 1 со следующим дополнением.
Для приборов с режимом задержки пуска и приборов с режимом поддержания тепла применяют 30.2.3. Для других приборов применяют 30.2.2.
Применяют соответствующий
раздел части 1.
32 Радиация, токсичность и подобные опасности
Применяют соответствующий
раздел части 1 со следующим дополнением.
Дополнение:
Соответствие утечки микроволнового излучения указанным требованиям проверяют следующим испытанием.
Нагреваемый объект, представляющий собой (275 +/- 15) г питьевой воды температурой (20 +/- 2) °C в тонкостенном сосуде из боросиликатного стекла с внутренним диаметром приблизительно 85 мм, помещают на центральную часть полки. Прибор работает при номинальном напряжении и максимальном уровне выходной мощности микроволнового излучения.
Утечку микроволнового излучения определяют измерением плотности потока энергии микроволнового излучения с помощью измерительного прибора, стабильность показаний которого при поступлении ступенчатого входного сигнала достигает уровня 90% за 2 - 3 с. Антенну прибора перемещают над внешней поверхностью прибора, выявляя места наиболее интенсивной утечки микроволнового излучения, при этом особое внимание следует обратить на дверь и ее уплотнения.
Утечка микроволнового излучения не должна превышать 50 Вт/м2 в любой точке на расстоянии 50 мм или более от внешней поверхности прибора.
Примечание 101 - При возникновении сомнений в правильности проведения испытания и его результатах, связанных с высокой температурой воды, нагреваемый объект меняют и испытание повторяют для получения объективного результата.
Рисунок 101 - Стержень для испытания
скрытого устройства блокировки
Применяют приложения
части 1 со следующими дополнениями.
(обязательное)
КОМБИНИРОВАННЫЕ МИКРОВОЛНОВЫЕ ПЕЧИ
Для комбинированных микроволновых печей применяют следующие изменения к тексту настоящего стандарта.
Примечание - Если
комбинированная микроволновая печь имеет режим работы, независимый от генерации микроволнового излучения, такой режим работы печи испытывают только согласно требованиям соответствующего стандарта (см.
раздел 2 настоящего стандарта). Если
комбинированная микроволновая печь имеет режим работы без использования резистивных нагревательных элементов, она должна пройти испытания на соответствие применимым требованиям настоящего стандарта.
AA.3 Термины и определения
AA.3.1.9 Дополнение:
Прибор работает с устройствами управления, установленными на наиболее неблагоприятные значения, в соответствии с инструкциями для выбранного режима работы.
AA.5 Общие условия испытаний
Дополнение:
Примечание 101 - При испытании различных режимов работы проводят только те испытания, которые имеют наиболее неблагоприятные условия.
AA.5.101 Замена:
Комбинированные микроволновые печи испытывают как комбинированные приборы.
AA.11 Нагрев
AA.11.7.101:
Комбинированные микроволновые печи с резистивными нагревательными элементами, которые могут работать одновременно с генерацией микроволнового излучения, работают с включенными резистивными нагревательными элементами в соответствии с инструкциями производителя в условиях, описанных в разделе 11 соответствующего стандарта, но с нагреваемым объектом, указанным в 3.1.9, и выходной мощностью излучения, приблизительно равной 50%.
Если инструкции не были предоставлены, прибор работает до тех пор, пока режим работы не будет стабильным.
AA.18 Износостойкость
Дополнение:
Перед измерением утечки микроволнового излучения используют следующие дополнительные условия:
Резистивные нагревательные элементы работают в течение:
- 30 мин, если они используются для нагрева излучением;
- 60 мин, если они используются для конвекционного нагрева.
AA.19 Ненормальный режим работы
19.1 Дополнение:
Испытание по 19.102 проводят на приборе, работающем при 1,06 номинального напряжения.
AA.29 Зазоры, пути утечки и сплошная изоляция
Замена:
Применяется аналогичный
раздел части 1 со следующими изменениями.
AA.29.2 Замена второго абзаца:
Применяется степень загрязнения 3, кроме случаев, когда изоляция имеет защитный кожух или расположена таким образом, что в процессе обычной эксплуатации прибора вероятность ее подверженности загрязнению мала.
AA.29.3 Дополнение:
Если устройства блокировки дверцы обеспечивают отключение всех полюсов, то требования к толщине оболочки нагревательных элементов с видимым свечением не устанавливаются.
(обязательное)
К МИКРОВОЛНОВЫМ ПЕЧАМ С ТРАНСПОРТЕРНОЙ
ЛЕНТОЙ ДЛЯ КОММЕРЧЕСКОГО ИСПОЛЬЗОВАНИЯ,
НЕ ОСНАЩЕННЫХ ДВЕРЦЕЙ КАМЕРЫ
В настоящем приложении приведены изменения для соответствующих разделов и пунктов части 2-90, либо, если часть 2-90 не применяется, IEC 60335-1, в целях указания требований к микроволновым печам с транспортерной лентой для коммерческого использования, не оснащенных дверцей камеры. В настоящем приложении указано, что именно заменяет соответствующий текст части 2-90 или части 1, - раздел или пункт настоящего приложения, если это не ясно из контекста.
BB.3 Термины и определения
| | ИС МЕГАНОРМ: примечание. В официальном тексте документа, видимо, допущена опечатка: имеется в виду рисунок BB.3, а не рисунок B.3. | |
нормальный режим работы
Микроволновая печь с транспортерной лентой без дверцы камеры работает в соответствии с инструкциями производителя. Если инструкции не были предоставлены, прибор работает в следующих условиях.
a) Приборы туннельного типа работают в следующих условиях:
i) если высота входных и выходных отверстий регулируется, используют максимальную высоту;
ii) используют максимальную мощность генератора.
b) Нагреваемые объекты представляют собой N цилиндрических сосудов из боросиликатного стекла, заполненным питьевой водой в количестве (1000 +/- 50) г при начальной температуре (20 +/- 2) °C. Максимальная толщина стенок сосуда составляет 3 мм, а внешний диаметр - приблизительно 190 мм. Все сосуды помещают внутрь камеры и включают одновременно как можно больше микроволновых генераторов.
Число N, Вт, рассчитывают по формуле
N = P/1100,
где P - номинальная микроволновая выходная мощность, Вт.
Полученное число N округляют до ближайшего целого значения.
Если использование указанных сосудов невозможно, используют емкости из того же материала и с той же толщиной стенок, наполненных водой массой (275 +/- 15) г.
Подготавливают достаточное число сосудов, чтобы заполнить всю площадь средства перемещения внутри микроволновой печи.
Устанавливают самое низкое значение скорости движения транспортера, позволяющее избежать кипения.
По мере выхода нагретых сосудов из области выгрузки их извлекают и заменяют холодными сосудами через область загрузки.
c) Приборы, встроенные в торговые автоматы и предназначенные для нагрева одного определенного типа продуктов или напитков, работают с указанным производителем типом продуктов/напитков. Другие приборы, встроенные в торговые автоматы, работают в следующих условиях:
i) Используют герметичные полиэтиленовые пакеты с питьевой водой. Масса воды соответствует стандартной массе помещаемых внутрь микроволновой печи нагреваемых объектов, для работы с которыми предназначена печь.
Прибор работает на протяжении нескольких последовательных циклов. Длительность каждого цикла рассчитывают по формуле

,
где t - длительность каждого цикла, с;
m - масса воды, г;

- необходимое повышение температуры до 55 К;
P - номинальная выходная микроволновая мощность, Вт.
Начальная температура должна составлять (20 +/- 5) °C.
ii) Новые герметичные полиэтиленовые пакеты с питьевой водой загружают внутрь микроволновой печи с минимальным промежутком времени между циклами.
Примечание - При загрузке пакетов с питьевой водой необходимо соблюдать меры предосторожности.
BB.3.103 Замена:
камера: Пространство внутри микроволновой печи, в которой происходит нагрев еды и напитков микроволновым излучением.
Примечание - Волноводные тракты между микроволновым генератором и камерой учтены, поскольку они излучают микроволновую энергию высокой мощности.
BB.7 Маркировка и инструкции
BB.7.1 Дополнение к списку в части 1:
- давление воды или площадь давления в килопаскалях (кПа) для приборов, предназначенных для подсоединения к водопроводу, либо это предусмотрено в инструкции по эксплуатации.
Изменение пятого пункта в списке в части 1:
- указание модели или типа и серийного номера прибора. Если генератор(ы) располагается отдельно от камеры прибора, данную информацию необходимо также указать на генераторе (генераторах).
BB.7.12 Дополнение:
- ВНИМАНИЕ! Нагревание до критических температур запрещено. Перегрев может стать причиной загрязнения или пожара;
- сведения по обязательной чистке, проводимой в гигиенических целях (к примеру, чистка камеры, средств перемещения) и в целях обеспечения работоспособности компонентов (например, устройства блокировки дверцы микроволновой печи, датчика);
- информация, необходимая для отправки, расположения, монтажа и эксплуатации, включая сведения о массе, габаритных размерах и обязательных к соблюдению минимальных расстояниях.
Изменение девятого подпункта:
- при появлении дыма следуют инструкциям производителя, чтобы погасить пламя.
Дополнение:
BB.7.101.1 Необходимо поместить ярлык вместе с инструкциями по его креплению в видном месте рядом с выходным отверстием. Ярлык должен содержать следующую информацию, если применимо:
- "ВНИМАНИЕ! Нагрев жидкостей посредством микроволнового излучения может вызвать задержанное бурное кипение, поэтому следует проявлять осторожность при обращении с емкостями";
- "ВНИМАНИЕ! Еда и напитки, разогретые в микроволновой печи, могут быть очень горячими. Будьте осторожны".
Соответствие данному требованию проверяют осмотром.
BB.7.101.2 В инструкциях для оператора должна содержаться следующая информация:
- "ВНИМАНИЕ! Запрещается включать прибор, если детали и компоненты входных отверстий, выходных отверстий, средств доступа, смотровых отверстий, защитных барьеров, защитной оболочки микроволновой печи или любых других устройств, указанных производителем, повреждены. Необходимо обратиться к специалисту для ремонта прибора. До тех пор, пока ремонт не будет выполнен, прибор должен быть установлен в постоянное выключенное состояние (например, с помощью кнопочного выключателя, кодовой карты или подобных устройств). Более подробную информацию необходимо указать в инструкции по эксплуатации".
- "ВНИМАНИЕ! К управлению микроволновой печью допускается только обученный персонал. Обученный персонал должен на регулярной основе, не реже одного раза в год, проходить обучение у специалиста. Процесс обучения следует регистрировать".
BB.7.101.3 В руководстве по ремонту или обслуживанию должна содержаться следующая информация:
- "ВНИМАНИЕ! В соответствии с инструкциями производителя после каждого ремонта микроволновая печь должна отвечать требованиям раздела 32."
- "Внимание! Лица, находящиеся вблизи микроволновой печи, не должны подвергаться чрезмерному воздействию микроволнового излучения от микроволнового генератора. Все соединения, волноводные тракты, фланцы, уплотнения и т.д. защитной оболочки микроволновой печи и защитных барьеров должны обеспечивать защиту от чрезмерных утечек микроволновой энергии. Эксплуатация прибора без нагреваемых объектов/продуктов, поглощающих микроволновое излучение, запрещена. Следует регулярно проводить обслуживание прибора и содержать его в пригодном состоянии, чтобы обеспечить защиту от чрезмерных утечек микроволновой энергии.
Техническим обслуживанием микроволновой печи должны заниматься только специалисты.
Производитель должен предоставить подробные рекомендации по предотвращению возгорания внутри камеры, а также указания по устранению пламени в случае его возникновения.
BB.8 Защита от контакта с частями, находящимися под напряжением
Испытательный щуп B по IEC 61032 вставляют в отверстия, глубина которых не превышает 75 мм, на максимальную возможную глубину. Если глубина отверстий превышает 75 мм, щуп вставляют на любую глубину и на расстояние, равное пятикратному меньшему размеру таких отверстий, но не более 850 мм. Щуп вращают и устанавливают под углом во всех возможных положениях во время и после извлечения.
BB.9 Пуск электромеханических приборов
BB.9.1 Двигатели, приводящие в движение средства перемещения, должны запускаться при любом напряжении, которое может возникнуть в процессе эксплуатации.
Соответствие данному требованию проверяют с подачей на двигатель напряжения, равного 0,85 номинального напряжения. В начале испытания температура двигателя должна быть равна комнатной температуре.
Каждый раз при пуске двигателя симулируют условия начала нормального режима работы либо, если прибор автоматический, условия начала нормального цикла работы. Между последовательными пусками работа двигателя прекращается на некоторое время. Если двигатель прибора не оснащен центробежным пусковым размыкателем, испытание проводят с подачей напряжения, равного 1,06 номинального напряжения.
Во всех случаях двигатель должен запускаться и работать без нарушений безопасности, при этом защитные устройства от перегрузок не должны срабатывать.
Примечание - Перед началом испытания в приборы, оснащенные
транспортной лентой, должны быть загружены максимально допустимым тяжелым грузом, масса которого указана производителем. Если инструкции не были предоставлены, применяют положения
BB.3.1.9.
BB.11 Нагрев
BB.11.7 Изменение:
Микроволновая печь работает в соответствии с условиями
BB.3.1.9 до тех пор, пока режим работы не будет стабильным.
BB.13 Электрическая изоляция и ток утечки при рабочей температуре
BB.13.2 Изменение части 1:
Последнее предложение четвертого абзаца утратило силу.
Примечание - В большинстве случаев существует риск повреждения силового электронного преобразователя с питанием от нескольких фаз поврежден.
BB.15 Влагостойкость
BB.15.1.1 Дополнение:
Микроволновые печи с классом защиты IPX0, IPX1, IPX2, IPX3 и IPX4, предназначенные для работы на полу, на 5 мин подвергают следующему испытанию на проливание жидкости.
Используют аппарат, указанный на рисунке BB.1. Во время теста давление воды регулируют таким образом, чтобы брызги воды достигали высоты 150 мм над дном чаши. Если микроволновая печь в обычных условиях используется на полу, чашу устанавливают на пол. Чашу передвигают таким образом, чтобы вода попала на микроволновую печь со всех сторон. Следят за тем, чтобы на микроволновую печь не попадала прямая струя воды под сильным напором.
BB.15.2 Дополнение:
В течение 15 с воду в количестве 0,5 л, содержащую приблизительно 1% NaCl, постепенно выливают на те части прибора, попадание воды на которые считается наиболее неблагоприятным, за исключением защитной оболочки микроволновой печи.
В течение 15 с воду в количестве 0,5 л, содержащую приблизительно 1% NaCl, постепенно выливают внутрь защитной оболочки. Количество воды зависит от киловатт номинальной выходной микроволновой мощности - один киловатт мощности соответствует 0,5 л воды.
BB.15.102 В конструкции микроволновых печей, оснащенных краном для наполнения или чистки водой, должна быть предусмотрена защита от попадания воды на части, находящиеся под напряжением.
Соответствие данному требованию проверяют следующим испытанием.
Микроволновую печь подсоединяют к водопроводу с максимальным значением давления воды, указанным производителем. Кран полностью открывают на 1 мин. Подвижные части помещают в наиболее неблагоприятное положение. Поворотные изливы располагают таким образом, чтобы вода была направлена на те части, при попадании воды на которые результаты испытания будут наименее благоприятными. Сразу после данного испытания микроволновая печь должна выдержать испытание на электрическую прочность, описанный в 16.3.
BB.18 Износостойкость
Дополнение:
Средства доступа и крышки должны открываться и закрываться, как в нормальном режиме эксплуатации. Число циклов составляет 6 циклов в 1 мин либо максимальное число, указанное для конструкции.
Следующие средства доступа подвергают следующим циклам работы.
Средства доступа и крышки для чистки, которые могут быть открыты обученным персоналом, чтобы выполнить продувку воздухом, промывку кожухов ламп, чистку и другие работы, - 10000 циклов.
Крышки для обслуживания, которые могут быть открыты специалистами, - 300 циклов.
Защитные конструкции, предназначенные для обеспечения безопасности обычных людей - 200000 циклов.
После испытания утечка микроволнового излучения не должна превышать предельного значения, указанного в разделе 32, а система должна нормально функционировать.
Примечание - Для выполнения данного испытания может потребоваться приведение некоторых контролирующих и следящих устройств в нерабочее состояние.
BB.19 Ненормальный режим работы
BB.19.8 Дополнение:
Микроволновые печи, предназначенные для соединения звездой, должны работать с отсоединенным нулевым проводником. После испытания применяют положения
19.13.
BB.19.13 Изменение:
Утечка микроволнового излучения не должна превышать 50 Вт/м2.
BB.19.104 Дополнение:
Необходимо выбрать наиболее неблагоприятное условие, т.е. как остановка ленты транспортера. Вовремя испытания любое воспламенение, которое может возникнуть в камере, не должно выйти за пределы прибора.
Примечание - Используется либо номинальная выходная микроволновая мощность, либо объем камеры, в зависимости от того, при использовании какого параметра возможно поместить большее число клубней картофеля.
Дополнение:
BB.19.105 Приборы работают с теми же нагреваемыми объектами, что и в нормальном режиме работы, но объекты следует расположить на средстве перемещения только внутри камеры. Число нагреваемых объектов должно быть минимальным, при котором возможна работа, как минимум, одного микроволнового генератора на максимальной мощности. Продолжительность работы должна быть максимально высокой для выбранных параметров скорости движения ленты или близкой к ней.
BB.20 Устойчивость и механические опасности
BB.20.1 Дополнение:
Открываемые крышки для обслуживания на приборах, встроенных в торговые автоматы, и дополнительные устройства необходимо установить в наиболее неблагоприятное положение.
BB.20.2 Дополнение после первого абзаца части 1:
Данное положение также применяется к работающим комплектующим, таким как рукоятки или маховики ручного управления.
Дополнение:
Если вентиляторы микроволновой печи работают при открытом средстве доступа, вращающиеся и подвижные части двигателей и вентиляторов необходимо расположить или защитить таким образом, чтобы обеспечить защиту от травм при использовании или чистке микроволновой печи в соответствии с ее предназначением. Необходимо исключить возможность прикосновения с подвижными или вращающимися частями вентиляторов. Для выполнения данного требования необходимо обеспечить возможность установить микроволновую печь в постоянное выключенное состояние (например, с помощью кнопочного выключателя, кодовой карты или подобных устройств).
BB.20.101 Дополнение:
Средство перемещения должно выдерживать указанную производителем массу нагреваемых объектов.
Если данные сведения не были предоставлены производителем, соответствие данному требованию проверяют следующим испытанием.
Если прибор оснащен транспортерной лентой с областью загрузки и/или выгрузки, средство перемещения останавливают, после чего помещают на него груз массой 23 кг сначала на область загрузки, затем на область выгрузки. Прибор не должен наклоняться, а область загрузки и область выгрузки не должны иметь повреждений после испытания.
Если прибор встроен в торговый автомат, то же испытание проводят на области выгрузки, если это возможно. Используется груз массой 8 кг.
Примечание - В качестве груза допускается использовать мешок с песком. Размеры груза должны соответствовать размерам входного и выходного отверстий и рабочей области средства перемещения.
Дополнение:
BB.20.102
В соответствии с BB.20.2 защитные кожухи не должны быть съемными, кроме случаев, если:
- соответствующая блокировка отключает работу двигателей или вентиляторов, не оснащенных защитными кожухами;
- защитные кожухи являются неотъемлемой частью корпуса прибора.
Соответствие данному требованию проверяют осмотром.
BB.22 Конструкция
22.103 -
22.115 применяют только к дверцам камеры, которые открываются для доступа пользователя к помещенным внутрь камеры нагреваемым объектам. Такие дверцы не являются
средствами доступа.
Примечание - Такие типы дверцей используют, например, в торговых автоматах.
BB.22.116 Замена:
Данный пункт не применяют.
Для данных приборов применяют следующие дополнительные пункты.
BB.22.119 Защита от доступа к областям с микроволновым излучением
BB.22.119.1 Общие положения
Данный подпункт освещает вопросы, связанные с
входными и выходными отверстиями, средствами доступа и
смотровыми отверстиями. Приближаться к данным отверстиям, средствам доступа и смотровым экранам разрешается только
обученному персоналу. Тем не менее в определенных условиях обычные люди могут находиться вблизи
входных и выходных отверстий. Дополнительные требования, относящиеся к
обычным людям, указаны в
BB.22.119.4.
Примечание 1 - В некоторых странах обученному персоналу не разрешается иметь доступ к области загрузки. В таком случае, для обученного персонала допускается применять те же требования настоящего стандарта, что и для обычных людей.
Утечку микроволнового излучения и метод устранения утечки, указанный в
BB.32, следует использовать для определения эталонной поверхности. На основании этого, а также на основании типа входных и выходных отверстий, средств доступа и смотрового отверстия определяют технические характеристики
защитных барьеров прибора и отдельных защитных установок.
Примечание 2 - Требования к предупреждающим знакам также указаны в
BB.22.119.3.
BB.22.119.2 Технические характеристики отверстия защитной оболочки микроволновой печи и защитного барьера
Размеры смотровых отверстий и несъемных средств доступа, предназначенных для вентиляции, отвода жидкостей или схожих целей, не должны превышать 20 x 50 мм.
Микроволновый барьер должен выдержать испытания, указанные в 21.102 и 21.104. Более того, возможность вставления испытательного щупа B по IEC 61032 через отверстия в барьере, кроме открытого для доступа торцевого отверстия, должна быть исключена.
Соответствие данному требованию проверяют осмотром.
BB.22.119.3 Кроме того,
защитный барьер не должен быть изготовлен из металла или поглощающего микроволновое излучение материала. Он не должен выполнять роль волновода или поглотителя микроволнового излучения. Размер открытых для доступа отверстий не должен быть больше размера отверстий, для защиты которых используется барьер.
Демонтаж микроволнового барьера допускается осуществлять только с помощью инструмента.
Примечание - Защитный барьер должен выполнять только функцию механического барьера.
Соответствие данному требованию проверяют осмотром.
Требования по измерению габаритных размеров и показаний утечки микроволнового излучения для отверстий микроволновых барьеров приведены в таблице BB.101.
Таблица BB.101
Технические характеристики защитных барьеров
Размеры отверстия | Назначение | Требуемая длина барьера | Измерение утечки микроволнового излучения | Примечания |
Допускается  | Только входные и выходные отверстия | | Со стержнем длиной 100 мм и без него. Время интегрирования: 20 с | Требуемая длина барьера равна пятикратному значению меньшего размера отверстия, но не более 850 мм |
 для 20 x 50 мм | То же | 180 мм от эталонной поверхности | Со стержнем длиной 100 мм и без него. Время интегрирования: 20 с | - |
20 x 50 мм для  | Для любых целей | 80 мм от эталонной поверхности | Со стержнем длиной 100 мм и без него на входных и выходных отверстиях и смотровых отверстиях. Время интегрирования: 20 с | Стержень длиной 100 мм не вставляют в постоянно открытые средства доступа |
 для  | То же | Отсутствует | Только без стержня. Время интегрирования: 20 с | Для отверстий  в стенках камеры потребуется защита от утечек |
Менее  и узкие прорези в металлических поверхностях | " | Отсутствует | Только без стержня. Время интегрирования для измерения утечки соответствуют параметрам прибора (2 - 3 с) для узких прорезей | |
Длину барьера рассчитывают от эталонной поверхности. Измерения проводят в соответствии с положениями
BB.32. Барьер должен располагаться по всей длине вплоть до отверстия
защитной оболочки микроволновой печи.
Соответствие данному требованию проверяют осмотром и испытанием по разделу BB.32.
Примечание 1 - Испытание защитного барьера на реакцию на воздействие микроволнового излучения проводят нагреванием его части в лабораторной микроволновой печи. Длительность испытания при мощности излучения 800 - 1000 Вт составляет 30 с. Материал не должен нагреваться и, в частности, не должен иметь нагретых участков.
Примечание 2 - Также для визуально прозрачных защитных устройств, используемых внутри
смотровых отверстий или над ними, применяют испытание на механическую прочность по
пункту 21.102.
Примечание 3 - Если длина узких прорезей почти достигает половины длины волны, при 2450 МГц такие прорези в
камере могут излучать существенное количество микроволновой энергии. Соприкасающаяся часть корпуса может впоследствии быть подвержена локальному поглощению энергии высокой мощности, даже если на расстоянии 50 мм имеется лишь небольшая утечка. Тем не менее нагреваемый объем составит лишь несколько кубических миллиметров (мм
3), и температура не превысит безопасных значений благодаря теплопроводности. Более короткое время интегрирования не требуется. В режиме TE
10 утечка может не происходить через прорези шириной менее 3 мм, вдоль продольной центральной оси широкой стороны либо короткой стороны в плоскости поперечного сечения поперечной балки.
BB.22.119.4 Если прибор оснащен транспортерной лентой, во всех
областях загрузки и
областях выгрузки, которыми
обычные люди пользуются для помещения и извлечения
нагреваемых объектов, должен иметься барьер:
- если область загрузки или выгрузки расположена на высоте 800 мм над уровнем пола, высота барьера должна быть не менее 1200 мм;
- если область загрузки или выгрузки расположена на высоте 1000 мм над уровнем пола, высота барьера должна быть не менее 1400 мм;
- расстояние от любой части выходного или выходного отверстия до периферийной части барьера должно составлять, как минимум, 800 мм от эталонной поверхности, определенной в
разделе B.32.
Соответствие данному требованию проверяют осмотром.
Примечание 1 - Высота других столов должна быть пропорциональна указанным выше параметрам.
Примечание 2 - Разрешается установка дополнительных устройств барьерного типа, которые можно снять с помощью инструмента.
Примечание 3 - Требования к механической устойчивости барьерных конструкций находятся в процессе рассмотрения. Тем не менее возможность вставить испытательный щуп B по IEC 61032 через барьеры должна быть исключена.
BB.22.119.5 Торговые автоматы с выходным отверстием должны быть оснащены защитной конструкцией, блокирующей доступ, или средством перемещения.
Если прибор оснащен
защитной конструкцией, блокирующей доступ, при извлечении нагреваемых объектов поверхность конструкции должна находиться за пределами эталонной поверхности, описанной в
разделе 32.
Приборы, не оснащенные защитной конструкцией, блокирующей доступ, должны отвечать требованиям 8.1.1, но применительно к эталонной поверхности.
BB.22.119.6 Предупреждающий знак [IEC 60417-5140 (DB:2003-04)] указанного в IEC 60417 размера должен быть помещен в местах, где входные и выходные отверстия видны через барьер, либо рядом с отверстием в защитном барьере микроволновой печи, через которое нагреваемые объекты движутся внутри камеры.
Предупреждающий знак должен содержать следующую информацию.
МИКРОВОЛНОВОЕ ИЗЛУЧЕНИЕ
ЗАПРЕЩЕНО ПОМЕЩАТЬ ВНУТРЬ РУКИ ИЛИ ПОСТОРОННИЕ ПРЕДМЕТЫ
Такой же предупреждающий знак должен быть помещен на
смотровые отверстия, если их диаметр превышает

и если они не оснащены визуально прозрачными защитными устройствами.
BB.27 Средства для заземления
Дополнение:
BB.27.101 Любые соединительные кабели между отдельным источником (источниками) питания в отдельном кожухе и камерой в отдельном кожухе или конструкции должны иметь дополнительный провод заземления для цепей высокого напряжения. Изоляция провода должна соответствовать требованиям для изоляции проводов, используемых в цепях высокого напряжения.
BB.27.102 Заземление вторичной цепи (высокого напряжения) магнетрона, выполненное в виде отдельного провода, должно быть соединено с его волноводом таким образом, чтобы во время ремонта или обслуживания провод не был ослаблен.
BB.30 Теплостойкость и огнестойкость
BB.30.2 Дополнение:
Микроволновые печи с автоматическим питанием подвергаются испытанию по 30.2.3.
BB.32 Радиация, токсичность и подобные опасности
BB.32 Замена:
Соответствие требованиям по утечке микроволнового излучения проверяют следующими двумя сериями испытаний.
Используют нагреваемые объекты, предназначенные для помещения в камеру печи в нормальном режиме работы. На прибор подается номинальное напряжение, прибор работает на максимальной мощности микроволнового излучения.
Утечку микроволнового излучения определяют измерением плотности потока энергии микроволнового излучения с помощью измерительного прибора, стабильность показаний которого при поступлении ступенчатого входного сигнала достигает уровня 90% за 2 - 3 с. Чтобы упростить использование прибора, на испытательный щуп устанавливается непроникающий ограничитель, обеспечивающий требуемое минимальное расстояние 50 мм между датчиком и любой частью микроволновой печи.
Показания датчика утечки микроволнового излучения в любом месте на расстоянии не менее 50 мм от поверхности прибора или защитного барьера не должны превышать 50 Вт/м2. Принимают усредненное значение с наиболее неблагоприятным интервалом между измерениями, равным 20 с. Показания измерительного прибора не должны превышать 500 Вт/м2.
Примечание - Короткое время нагрева, импульсы большой мощности и продвижение нагреваемых объектов внутри камеры могут повлиять на измерения утечки микроволновой энергии. В зависимости от фактической временной постоянной измерительного прибора, измерения проводят каждые 2 - 3 с в течение некоторых циклов продвижения определенных нагреваемых объектов внутри камеры.
В первой серии испытаний кончик ограничителя располагается на большом расстоянии над внешней поверхностью прибора для выявления мест наиболее интенсивной утечки микроволнового излучения, при этом особое внимание следует обратить на отверстия и защитные барьеры. Область внутри геометрического отверстия, ведущего внутрь защитной оболочки микроволновой печи или защитного барьера, не считается открытой для доступа в процессе выполнения первой серии испытаний, когда все барьеры находятся на своих местах.
Затем выполняют вторую серию испытаний на отверстиях со снятыми защитными барьерами (более подробная информация указана в приложении CC) и всеми отключенными устройствами блокировки. Для данного испытания используют металлический стержень диаметром 2,5 мм и длиной 100 мм (испытательный щуп C по IE 61032) вместе с ограничителем датчика измерительного прибора, как показано на рисунке BB.2. Прибор работает в нормальном режиме.
Во время работы прибора свободный кончик стержня перемещают в любое положение рядом или вставляют на максимальную глубину 50 мм внутрь поверхности геометрических отверстий, указанных в таблице BB.101. Датчик нельзя располагать ближе 50 мм к любой части внешней поверхности прибора и поверхности геометрических отверстий защитной оболочки микроволновой печи.
Для небольших отверстий диаметром менее 75 мм используют два дополнительных ограничителя и положения стержня, как показано на рисунке BB.2, при этом кончик ограничителя и соответствующий ему кончик стержня располагают на отверстии; центр стержня устанавливают на кончике ограничителя датчика, а кончик стержня - на отверстии.
| | ИС МЕГАНОРМ: примечание. В официальном тексте документа, видимо, допущена опечатка: п. BB.22.101.2 отсутствует. | |
Если утечка составляет менее 50 Вт/м2, эталонная поверхность для BB.22.101.2 находится на поверхности геометрического отверстия защитной оболочки микроволновой печи без защитного барьера. Если утечка превышает 50 Вт/м2 в данных условиях, датчик (не кончик ограничителя) следует расположить на большем расстоянии от защитной оболочки, где данное значение измеряют и регистрируют. Положение эталонной поверхности вдали от поверхности прибора определяют на расстоянии 50 мм по направлению внутрь от данного положения датчика и по направлению к поверхности прибора.
Примечание 1 - Если защитный барьер установлен внутри какой-либо части наружной крышки прибора, его необходимо снять для второй серии испытаний.
Примечание 2 - Необходимая длина провода будет другой, если рабочая частота не равна 2450 МГц.
1 - чаша
Рисунок BB.1 - Устройство для проведения
испытаний на проливание жидкостей
1 - рукоятка щупа; 2 - ограничитель щупа;
3 - датчик; 4 - пленка; 5 - металлический стержень
Вместо сплошного стержня допускается использовать полую металлическую трубку со следующими размерами: I = (100 +/- 1) мм,

. В качестве материала должен быть использован немагнитный металл. Рекомендуется использовать алюминий или латунь.
Стержень допускается прикрепить к ограничителю щупа с помощью тонкой пленки, прозрачной для микроволнового излучения, чтобы датчик был расположен снаружи кончика стержня под углом приблизительно 90°. Выравнивание положения датчика по отношению к стержню допускается только в том случае, если свободного пространства вблизи отверстия для доступа недостаточно. Расстояние от стержня и любой части прибора, в том числе от поверхности отверстия для доступа, до датчика должно быть не менее 50 мм.
Стержень не должен соприкасаться с металлическими частями, поскольку он выполняет роль антенны. В противном случае возможны ошибочные показания измерений.
Рисунок BB.2 - Устройство для измерения утечки
микроволнового излучения из отверстий для доступа
1 - эталонная поверхность; 2 - нагреваемый объект;
3 - область выгрузки; 4 - выходное отверстие; 5 - защитный
барьер; 6 - защитная оболочка микроволновой печи;
7 - система защитного отключения микроволновой печи;
8 - съемное средство доступа; 9 - система контролируемого
защитного отключения микроволновой печи; 10 - защитная
оболочка микроволновой печи; 11 - входное отверстие;
12 - эталонная поверхность; 13 - защитная конструкция
блокирующая доступ; 14 - нагреваемый объект; 15 - крышка
для чистки; 16 - область загрузки; 17 - смотровое отверстие;
18 - средство перемещения; 19 - несъемные средства
подсоединения; 20 - крышка для обслуживания
Рисунок BB.3 - Иллюстрации комплектующих
(справочное)
ТРЕБОВАНИЯ К КРЫШКАМ, СРЕДСТВАМ ДОСТУПА И АНАЛОГИЧНЫМ ЧАСТЯМ
Средство доступа | Кем управляется | Использование инструмента | Цикл/срок службы | Устройства блокировки | Контролируемые средства блокировки | Предупреждающие знаки | Инструкции | Испытания на механическую прочность | Назначение |
Несъемное средство доступа | Обученный персонал | Нет | ... | Нет | Нет | Нет | Да | Испытание стальным шаром. Раздел 21 - со снятым барьером | Вентиляция, промывка кожухов ламп освещения <a> |
Средство доступа, которое можно открыть | То же | " | 10000 | Да. 2 устройства блокировки <b> | Да 1 | " | Нет | То же | Вентиляция, промывка кожухов ламп, чистка |
Крышка для чистки (см. 3.125) | То же | Да | 10000 | Да. 1 устройство блокировки <c> | Нет | Да | Да | Испытание стальным шаром. Раздел 21 - с открытой дверцей | Коррекция положения нагреваемого объекта, осмотр, чистка |
Крышка для обслуживания (см. 3.124) | Специалисты | " | 300 | Нет | Нет | | " | То же | Кожухи ламп освещения |
Торговые автоматы - защитные конструкции, блокирующие доступ (см. 3.118) | Обычные люди | Нет | 200000 | Нет | Нет | Нет | Нет | Испытание стальным шаром. Раздел 21 - с открытой и закрытой дверцей | Ограничение доступа пользователя к защитной оболочке <e> |
<a> Открытие туннелей посредством опускания крышки или ее смещения в горизонтальном положении. <b> Оно должно соответствовать требованиям раздела 19. <c> Устройства блокировки должны быть расположены в области без загрязнения. Крышки должны быть с самосовмещенным затвором. <d> Приборы должны быть отключены, только для обслуживания, позади микроволновой печи. <e> Если прибор оснащен дверцей камеры, данные требования не применяют. |
(справочное)
ОБОСНОВАНИЯ ДЛЯ ИСПЫТАНИЙ МИКРОВОЛНОВОГО БАРЬЕРА
И СВЯЗАННЫХ С ЭТИМ ИСПЫТАНИЙ НА УТЕЧКУ
DD.1 Стандартное измерение утечки микроволнового излучения
Сегодня в продаже имеются несколько серийных измерительных приборов. Приборы, показывающие приемлемые результаты, оснащены небольшим, достаточно изотропным (всенаправленным) датчиком на конце пластмассового стержня. Датчик реагирует только на наличие электрического поля. Он также оснащен не вызывающим колебаний ограничителем датчика, используемым для определения минимального расстояния 50 мм между датчиком и какой-либо частью прибора, как описано в настоящем стандарте. Испытание измерительных приборов включает в себя калибровку в поле дальней зоны (допустимая погрешность составляет +/- 20%) и одно-два испытания, необходимых для того, чтобы выявить, что датчик является "электрически малым" и не вызывает помех (стоячие волны) для предметов поблизости.
Единицы измерения на шкале приборов для измерения утечки микроволнового излучения не соответствуют единицам, в которых фактически измеряется утечка (В/м). Вместо этого используют Вт/м2 либо мВт/см2. Перевод единиц будет правильным только в случае свободного распространения плоской волны, когда волновое сопротивление составляет 377 Ом, а распространение волны однонаправленное. Поскольку стоячая волна представляет собой сумму двух волн, распространяющихся в разных направлениях, а щуп не реагирует на направление волн, сопротивление поля становится больше или меньше 377 Ом, что приводит к ошибочным показаниям прибора. Ошибочные показания также наблюдаются в сильно искривленном ближнем поле, если щуп находится в волноводе или подобном устройстве при одномодовом или многомодовом излучении (с различным сопротивлением).
Минимальное расстояние 50 мм между датчиком измерительного прибора и любой открытой для доступа частью прибора было определено более 35 лет назад, когда был создан первый стандарт по утечкам микроволнового излучения. Это обосновано тем, что тогда посчитали целесообразным использовать тот же тип измерительного прибора, который использовался для измерения излучения в поле дальней зоны.
Был сделан вывод, согласно которому прибор с датчиком электрического поля не способен должным образом определить плотность потока исходящей энергии, если:
a) щуп установлен в месте со значительной кривизной поля (по сравнению с волнами);
b) рядом сдатчиком имеются стоячие волны.
Было обнаружено, что наилучшим способом измерения излучения (т.е. в излучающей области, чтобы выявить место утечки) является измерение на расстоянии 50 мм при частоте 2450 МГц [полосы электромагнитного излучения для промышленной, научной и медицинской аппаратуры (ISM)]. Несмотря на то что в технической литературе по измерительным приборам того времени указывалось, что такое же расстояние 50 мм менее подходило для более низкой частоты ISM 915 МГц, это было сочтено недостаточным основанием для внесения изменений в технические спецификации.
Историческая причина, по которой максимально допустимое значение излучения составляет 50 Вт/м2 (= 5 мВт/см2), кроется в следующем: согласно действовавшему на тот момент стандарту, максимально допустимая плотность потока энергии в области свободного распространения для микроволновых печей, используемых в коммерческих и промышленных целях, составляла 100 Вт/м2. В этом ранее действовавшем стандарте также учитывалась возможность использования нескольких микроволновых печей, расположенных вблизи друг друга. Позже, когда в продажу поступили бытовые микроволновые печи, было установлено, что практически во всех случаях источников утечки микроволнового излучения через дверцу камеры было несколько, и с увеличением расстояния от данных источников утечки плотность потока энергии уменьшалась квадратично. Считалось, что нет причин, по которым пользователь будет находиться очень близко к закрытой двери работающей микроволновой печи. В получивших широкую огласку опубликованных результатах исследований указывалось, что фактическое воздействие излучения на любую часть человеческого тела было слишком малым, в частности по той причине, что период усреднения для оценки риска составлял от 5 до 10 мин. В результате для бытовых микроволновых печей также установили максимально допустимое значение излучения, равное 50 Вт/м2.
В начале 1970-х годов органы США, ответственные за обеспечение радиационной безопасности, выявили некоторые проблемы, связанные с качеством изготовления определенных моделей микроволновых печей, после чего было введено "заводское ограничение" 10 Вт/м2 для новых, не использовавшихся ранее печей, чтобы смягчить беспокойство населения. Данное ограничение было введено лишь несколькими другими странами.
В то же время был успешно разработан стандарт SC 61B для печей, и после выполнения всех испытаний ограничение 50 Вт/м2 стало использоваться во всем мире. Тем не менее во время работы с пустой камерой и после выполнения испытания на разрушение дверцы использовали значение 100 Вт/м2. Применение более высокого значения для работы в условиях пустой камеры было обосновано сообщениями производителей об определенных проблемах и тем, что во время эксплуатации микроволновой печи с пустой камерой требуется меньшее время работы прибора, а также случаями нетипичных неисправностей.
| | ИС МЕГАНОРМ: примечание. В официальном тексте документа, видимо, допущена опечатка: п. 31.101 отсутствует. | |
В 1980-х годах измерение утечки микроволнового излучения на крышках для замены ламп освещения проводилось в соответствии со стандартом IEC SC 61B. Бесспорно, сетка отверстий в стенке камеры рядом с лампой освещения может излучать микроволновую энергию. Размер крышки может быть таким, что расстояние в 50 мм к ближайшей части прибора может быть обеспечено, даже если датчик находится почти внутри внешнего корпуса, с которого была снята крышка. Поступила информация о случае, когда в аналогичных условиях измеренное значение утечки микроволнового излучения было высоким, но при этом был снят полностью весь корпус. Причина, по которой измеренное значение было высоким, кроется в том, что внутри корпуса появилась стоячая волна. Электрическое поле присутствовало, но реальной утечки не было, так как стоячая волна представляет собой сумму направленных внутрь и наружу волн, а такие волны не обязательно содержат поток полезной мощности. Кроме того, если бы в отверстие поместили палец, то стоячая волна должна была исчезнуть, после чего лишь реальная утечка представляла бы возможную угрозу. В стандарт SC 61B был добавлен пункт, согласно которому датчик измерительного прибора должен быть расположен к плоскости отверстия на расстоянии не менее 50 мм, т.е. область внутри крышки не должна считаться открытой для доступа с целью измерить утечку. В настоящем стандарте использован тот же принцип, с тем исключением, что ситуация с фактическим возникновением утечки подвергается реальной оценке с помощью расширенного испытания по 31.101.
DD.2 Опасность микроволнового излучения - базовое ограничение
Воздействие микроволнового излучения считается потенциально опасным, если нагрев определенных частей человеческого тела превысит допустимые показатели SAR (удельный коэффициент поглощения), выражаемые в ваттах на килограмм (Вт/кг). Минимальное значение SAR при воздействии излучения на все тело с незначительными рисками составляет 4 Вт/кг. Затем применяют коэффициент безопасности 10 для операторов микроволновых печей (обученный персонал) и дополнительный коэффициент безопасности 5 для населения (обычные люди), в результате чего базовое ограничение составляет 0,4 и 0,08 Вт/кг для этих двух категорий. Локальное, неопасное воздействие излучения на область головы и туловища составляет до 10 и 2 Вт/кг соответственно. Двойная доза облучения (20 и 4 Вт/кг) конечностей (включая ладони и пальцы) считается неопасной. Объемы интегрирования превышают 10 г массы тела, а интегрирование по времени составляет более 6 мин.
DD.3 Анализ риска микроволнового излучения - метод воздействия волн свободного пространства
Во всех практических ситуациях микроволнового облучения (за исключением излучения от устройств связи, таких как мобильные телефоны, для которых может применяться понятие максимальной мощности источника) в промышленных условиях и для защиты операторов микроволновых печей и населения используют два упрощенных способа обнаружения излучения: максимально допустимая плотность потока энергии в поле дальней зоны на большом расстоянии от источника излучения и стандарт излучения для приборов, таких как микроволновые печи.
Вопрос, который необходимо решить, заключается в следующем: совместимо ли с методом облучения волнами свободного пространства уменьшение значений SAR для частей тела вместе с объемом интегрирования.
Когда происходит нагрев частей человеческого тела с небольшим радиусом искривления, могут возникнуть рассеивание, резонанс, фокусировка или усиление излучения. При частоте 2450 МГц ограничение длины внутренних волн в тканях и глубины их проникновения приводит к тому, что основной интерес представляют только пальцы. В принципе, согнутые суставы и локти также могут создать эффект фокусировки, но пальцы гораздо более проблематичны с точки зрения обсуждаемых здесь эффектов. В настоящем приложении не принимаются во внимание ситуации, в которых другие выступающие части тела, такие как нос, уши или половой член, расположены очень близко к источнику утечки микроволнового излучения в бытовой нагревательной аппаратуре или приборах для промышленного использования.
Следующие результаты моделирования показывают степень совместимости базового ограничения и метода воздействия волн свободного пространства.
Применялось численное моделирование с использованием доступного на рынке программного обеспечения для электромагнитного оборудования. Палец диаметром 13 мм с типичными диэлектрическими показателями (однородный, e = 40 - 10j, где коэффициент потери 10 снижен с учетом костей и сухожилий) был подвержен воздействию излучения, равному 10 Вт/м2 в свободном пространстве. Наиболее сильное поглощение возникло при поляризации поперечной магнитной волны TM вдоль оси z (TMz) (при столкновении волн электрического поля параллельно оси пальца), впоследствии волны в пальце становились типа TMz1 с двумя противоположными осевыми зонами с максимальной интенсивностью нагрева. Максимальная интенсивность излучения стала равной 5 Вт/дм3, а средний показатель интенсивности на участке площадью 10 см3 с наиболее неблагоприятными показателями - около 1,8 Вт/дм3.
Если бы палец был подвержен воздействию плоской волны с плотностью потока энергии 50 Вт/м2, что считается допустимым при использовании микроволновых печей и других приборов, максимальное значение составило бы 25 Вт/дм3 и интегрированное значение на участке 10 см3 составило бы 9 Вт/дм3.
Были сделаны следующие выводы:
- Базовое ограничение для обычных людей было превышено. Однако с применением действующих в настоящее время стандартов обычные люди подвергаются воздействию микроволнового излучения только при использовании микроволновых печей с дверцей камеры, источник утечки которых настолько мал, что при высокой интенсивности дозы облучения хватит лишь на небольшой объем пальца. Кроме того, отсутствует необходимость в расположении руки рядом с закрытой дверцей работающей микроволновой печи. В экспериментальных исследованиях 1970-х годов присутствует значительное число отчетов, в которых указано, что средний уровень облучения на протяжении нескольких минут в 10 - 100 раз меньше 10 Вт/м2. Следовательно, фактически поглощаемая доза облучения не выходит за рамки допустимого значения SAR.
- Базовое ограничение для обученного персонала приблизительно равно фактическому значению SAR. Тем не менее в реальной ситуации, когда оператор, выполняющий извлечение нагреваемых объектов из выходного отверстия работающей в постоянном режиме микроволновой печи туннельного типа на протяжении длительного периода времени, опасность гораздо выше, чем при использовании микроволновой печи с дверцей камеры. Но, как правило, необязательно постоянно держать руку, с помощью которой оператор извлекает объекты, близко к отверстию. Дополнительным усугубляющим фактором является то, что отверстие печи туннельного типа больше дверцы камеры печи, поэтому область с большой плотностью потока микроволнового излучения может простираться на большее расстояние, чем при использовании печи с дверцей камеры. Следовательно, конструкция торцевых зон печи туннельного типа должна обеспечивать соответствие допустимому значению SAR для одного человеческого пальца, которые превышают значения при воздействии волн в поле дальней зоны с плотностью потока энергии 50 Вт/м2, что должно быть подтверждено измерениями. Данное значение не должно превышаться.
- Печь туннельного типа должна работать в таком режиме, чтобы не возникали утечки, превышающие среднее допустимое значение. Тем не менее, некоторые части микроволновой печи туннельного типа могут работать пустыми, а оператору при этом все равно необходимо извлекать объекты из области выгрузки. Следовательно, значение 100 Вт/м2 для работающей пустой печи с дверцей камеры не допускается применять к печам туннельного типа.
DD.4 Опасность микроволнового излучения из отверстий в камерах и торцевых отверстий туннеля
Фактическая поглощенная доза облучения частью человеческого тела сильно зависит от конфигурации поля, и сама конфигурация поля на части тела сильно изменяется в зависимости от части тела. Это означает, что даже известное значение фактической плотности потока излучения или интенсивности электрического поля нельзя использовать для оценки фактического коэффициента поглощения микроволновой энергии. Возникает необходимость в проработке более полного сценария с учетом всех деталей, прежде чем приступать к расчету поглощаемой дозы облучения. Следовательно, невозможно определить уровень угрозы на основании только интенсивности утечки, измеренной в качестве квазиплоской волны свободного пространства на расстоянии 50 мм или более от источника. Реальный уровень угрозы также зависит от:
- любой возможности доступа к области с микроволновым излучением;
- размера отверстия, который может повлиять на характеристики типа поля или допустить наличие нескольких типов микроволновых полей;
- любых предметов, в том числе нагреваемого объекта, либо части тела, находящейся внутри отверстия, которые также могут повлиять на характеристики типа поля.
Ситуация, в которой осуществляется доступ к печи, является, бесспорно, ключевой. Эту ситуацию необходимо стандартизировать, чтобы ввести достаточно простые и объективные процедуры и требования. Поскольку рука, ладонь и пальцы считаются единственными частями тела, которыми можно прикоснуться, и которые можно поместить в отверстия таких приборов, можно выделить два важных момента:
1) все геометрические факторы (к примеру, с помощью испытательного щупа B);
2) как было упомянуто выше, данные части тела менее чувствительны к излучению, чем, например, голова.
Важным является то, что "граница опасности" (в настоящем стандарте использован термин "эталонная поверхность") устанавливается вблизи поверхностей, которые могут быть открыты механическим способом, и что допустимое показание измерительного прибора составляет 50 Вт/м2 во время проведения испытаний. Это означает, что остается разработать испытания, благодаря которым можно будет с большой долей вероятности говорить о том, что фактическая плотность излучения [в ваттах на кубический метр (Вт/м3), либо единицах SAR, выраженных в ваттах на килограмм (Вт/кг)] в пальцах, ладони или руке, соприкасающихся с эталонной поверхностью, не превысит показателей утечки, вызванной "обычным" источником, таким как область дверцы камеры микроволновой печи, плотность излучения в которой составляет 50 Вт/м2 на расстоянии 50 мм от любой части прибора.
Следующей проблемой является конфигурация поля, т.е. ответ на вопрос "Как получить реальные результаты измерений, используя тот же тип измерительных приборов, который используется для микроволновых печей с дверцей камеры?". Очевидно, что существует необходимость в упрощении и стандартизации с применением набора из нескольких типичных сценариев. Приоритетным вопросом является проработка случаев, когда доступ к микроволновой печи приводит к более высокой дозе облучения, чем в обычных случаях работы с печью, оснащенной дверцей камеры. Такие "неблагоприятные" случаи указаны далее:
- конфигурация поля такова, что в одной из областей существует высокоинтенсивное излучение, интенсивность которого за короткий промежуток времени уменьшается по мере увеличения расстояния до источника излучения, в результате чего невозможно выполнить измерение, но, возможно, существует зона с довольно опасной плотностью излучения на расстоянии 50 мм или менее от датчика измерительного прибора. Конструкции, создающие безызлучательные ближние поля или сильно затухающие виды колебаний, обладают данным эффектом;
- конфигурация поля такова, что поток микроволновой энергии ограничен пространством диэлектрического объекта. Наиболее типичным примером является нагреваемый объект, выходящий из печи туннельного типа. В таком случае может возникнуть ограниченная в пространстве поверхностная волна, "перемещающая" довольно большое количество микроволновой энергии в сторону от отверстия. В результате может наблюдаться измеримая утечка на расстоянии 500 мм или более от отверстия, при этом вблизи отверстия (при выполнении измерений с помощью датчика на расстоянии 50 мм) утечка будет отсутствовать. При рассмотрении случаев с таким типом волны необходимо принимать во внимание, что рука оператора фактически соприкасается с нагреваемым объектом, и только после этого становится участником ситуации. Еще одной проблемой, связанной с данным типом волн, является тот факт, что любая зарегистрированная измерительным прибором утечка может быть ошибочной, поскольку в самом источнике она может отсутствовать.
Также нежелательными являются случаи, когда существует неопасная ситуация, но измерительный прибор при этом показывает высокие значения утечки. Таким случаем является утечка микроволнового излучения на крышках для замены ламп освещения, описанная выше.
В настоящем стандарте использован метод устранения утечки и применения неотражающих защитных барьеров. Один конец металлического стержня может выполнять функцию приемника волн, и при правильном расположении стержня вблизи компонентов микроволновой печи и нагреваемого объекта он также будет принимать ближние поля, затухающие виды колебаний и поверхностные волны. Также работает принцип "пространственного усреднения" находящейся снаружи микроволновой энергии, поскольку датчик измерительного прибора по-прежнему располагается не ближе 50 мм к любому объекту.
Кончик стержня может быть вставлен на 50 мм во входные и выходные отверстия. Такие измерения могут считаться ошибочными, но данный метод полезен в случае использования ненадежных конструкций с "занавесками", предназначенными для сокращения утечки, к которым оператор имеет доступ, а также в связи с необходимостью компенсировать недостатки упрощенного метода измерений в виду большого разнообразия объектов и геометрических размеров отверстий, а также ввиду возможного длительного присутствия оператора вблизи таких отверстий.
DD.5 Усреднение по времени
В действующих в настоящее время стандартах имеются лишь две спецификации для интегрирования по времени:
a) 6 мин для воздействия излучения на тело полностью (с возможным учетом пальцев) и
b) требования к рабочим циклам при наличии очень коротких импульсов, таких как импульсы радиолокационных передатчиков. Кроме того, в законодательстве некоторых стран по неионизирующему излучению указано предельное значение облучения. Для предельного значения 250 Вт/м2 и среднего 10 Вт/м2 максимальное время облучения составит 300/25 = 12 с однократного сильного облучения, которое допускается в течение 6-минутного интервала без облучения на протяжении оставшихся 5 мин 48 с.
6-минутный период интегрирования вполне совместим с типичными случаями облучения частей тела, если радиус кривизны превышает длину микроволны свободного пространства на частоте 2450 МГц. В таких случаях можно предположить, что затухающая плоская волна распространяется внутрь тканей на глубину 30 - 40 мм, и происходит уравновешивание температуры благодаря теплопроводности. Используя данные о теплопроводности и закон теплопроводности Фурье, получают временную константу (около 63% условий стационарности возникли), равную приблизительно 5 мин. Полезным примером для сравнения является варка яйца в воде при температуре 100 °C: требуется около 5 мин, чтобы температура центра яйца достигла приблизительно 65 °C.
Наиболее неблагоприятный профиль распространения температур при диаметре пальца

под воздействием плоских волн при частоте 2450 МГц является неравномерным, расстояние между горячими и холодными участками составляет около 5 мм. Взаимодействие волн СВЧ-диапазона является наиболее прочным при диаметре пальца примерно

. Соответствующее расстояние между горячими и холодными участками становится 7 мм или меньше.
Закон теплопроводности Фурье является уравнением распространения тепла. Если варка яйца диаметром

в воде при температуре 100 °C происходит на протяжении 5 мин с расстоянием между горячими и холодными участками, равным 20 мм, то выравнивание температур на расстоянии 7 мм произойдет через (7/20)
2 или 5·60 с, т.е. для периода интегрирования хватит около 35 с.
Однако существует еще один фактор, который следует принимать во внимание: скорость нагрева даже очень локализованного участка не должна быть слишком высокой, чтобы в течение периода интегрирования избежать болевых ощущений и получения травмы. Принимая во внимание, что нагревание участка кожи с нервными волокнами, отвечающими за восприятие тепла, произойдет, как минимум, благодаря теплопроводности, и что такое повышение температуры за короткое время не приведет к травме пальцев, значение роста температуры на локальном участке может быть установлено на 5 К. Обычный человек почувствует повышение температуры до 5 К (а иногда и до 3 К) и отреагирует на него в течение нескольких секунд.
При значении SAR, равном 20 Вт/кг (базовое ограничение для человеческих пальцев обученного персонала), скорость нагрева составит приблизительно 0,5 К/мин.
Теперь предположим, что только кончик пальца поглощает всю мощность. Иногда такой вариант может возникнуть, когда палец соприкасается с поврежденными уплотнения микроволновой печи, а также в случаях контакта с ближними полями. Объем той части кончика пальца, которая поглощает излучение, составляет 0,5 см
3 (объем полусферы

). Базовым ограничением допускается объем поглощающего излучение предмета, равный 10 см
3, т.е. скорость нагрева будет в 20 раз больше допустимой скорости и составит 10 К/мин. Это также означает, что человек почувствует нагрев пальца в течение 20 с. Поскольку выравнивание температур благодаря теплопроводности имеет ту же временную константу, что и указанная выше, получается, что подходящим временем интегрирования является период, приблизительно равный 30 с.
Наиболее неблагоприятная ситуация возникает, когда кончик пальца соприкасается с узкой прорезью в металлической поверхности, откуда происходит утечка. Локальное значение SAR в таком случае сильно зависит от сухости кожи. Например, кончик пальца

со слоем сухой кожи толщиной 1 мм прижимают к центру прорези шириной 2 мм и длиной 100 мм. При отсутствии пальца значение утечки на расстоянии 50 мм составит 50 Вт/м
2 (т.е. сила электрического поля составит 137 В/м). Локальное значение SAR станет равным 30 Вт/дм
3 на участке шириной 4 мм и глубиной 1,5 мм. Данное значение само по себе не превышает базового ограничения. Если палец влажный, а слой кожи тонкий, локальное значение SAR может увеличиться до 50 раз, но два небольших нагреваемых участка, соприкасающиеся с краями прорези, имеют ширину и глубину, равные приблизительно 1 мм. Следовательно, расстояние выравнивания температур составляет 2 мм, поэтому временная константа теплопроводности равна (2/20)
2·5·60 с = 3 с. Локальная скорость нагрева в теплоизолированном пространстве составит до 40 К/мин. Тем не менее благодаря теплопроводности постоянная температура не превысит 3 К, что также является приемлемым результатом. Следовательно, даже в самой неблагоприятной ситуации с высоким локальным значением SAR в камере микроволновой печи период интегрирования необязательно должен быть меньше 30 с.
DD.6 Выводы. Изменения стандартов для печей с дверцей камеры
Указанный в действующих стандартах период интегрирования, равный 6 мин, не подходит для целей стандарта SC 61B. Необходимо использовать более реалистичное значение, равное 30 с. В некоторых ситуациях допускается использовать устройства для нагрева токами СВЧ с открытым торцом. Такие устройства могут практически моментально нанести травму в случае прикосновения к ним любой частью тела в процессе эксплуатации, вследствие чего необходимо применять другие правила техники безопасности.
В действующем стандарте излучения для микроволновых печей указан период интегрирования для выполнения измерений, равный 2 с. Такая продолжительность используется, скорее, по историческим и практическим причинам, нежели из соображений безопасности. Типичная бытовая микроволновая печь может быть оснащена миксером на потолке камеры или поворотным столом, а при указанном в стандарте испытании с нагреваемым объектом в виде кругового цилиндрического предмета периодичность варьирования утечки будет сравнима с указанной продолжительностью периода интегрирования. Выполняемые по настоящему стандарту измерения являются простыми и быстрыми, и с их помощью получаемые данные будут верными.
Поскольку режим работы не оснащенных дверцами приборов, описанных в настоящем приложении, не всегда одинаковый и отсутствует необходимость вводить ограничения по конструкции, не улучшающие параметры безопасности приборов, период интегрирования для измерения утечек, применяемый к таким приборам, должен составлять 20 с. Такая продолжительность позволяет выполнять более быстрые измерения и упрощает процесс интегрирования. Необходимо выбирать наименее благоприятную продолжительность 20 с и поддерживать значение времени интегрирования прибора, равное 2 - 3 с.
По указанным здесь причинам допустимый уровень утечки не должен составлять 100 Вт/м2 при эксплуатации печи с пустой камерой и микроволновых печей, оснащенных дверцей. Следует применять стандартное значение 50 Вт/м2.
Кроме того, в целях упрощения процесса эксплуатации измерительного прибора и численного интегрирования в случаях сильно варьируемой утечки вводят максимальное измеренное (интегрированное, предельное) значение, равное 500 Вт/м2 и соответствующее времени интегрирования измерительного прибора, равному 2 - 3 с. Такое сильное варьирование утечки может возникнуть, например, в приборах с защитным устройством, состоящим из встроенного монитора утечки, соединенного с устройством отключения прибора.
(обязательное)
МИКРОВОЛНОВЫЕ ПЕЧИ, ПРЕДНАЗНАЧЕННЫЕ
ДЛЯ ИСПОЛЬЗОВАНИЯ НА БОРТУ СУДОВ
К микроволновым печам, предназначенным для использования на борту судов, в настоящем стандарте применяются следующие изменения.
3.EE.101 открытая палуба (open deck): Область, подвергаемая воздействию морской среды.
3.EE.102 комната отдыха (dayroom): Область, которая время от времени может подвергаться воздействию морской среды.
6.2 Дополнение:
Приборы, предназначенные для использования на открытой палубе, должны иметь степень защиты IPX6.
7 Маркировка и инструкции
Инструкции по эксплуатации должны также включать в себя информацию о следующем:
- использование на борту судов;
- место установки (защитный корпус на открытой палубе, комнаты отдыха);
- средства крепления.
22.EE.101 Приборы должны выдерживать импульсы, которым они могут подвергаться.
Соответствие данному требованию проверяют путем проведения испытаний полусинусоидальным импульсом, указанных в IEC 60068-2-27, при следующих условиях.
Прибор в нормальном положении эксплуатации крепят к машине для испытаний на удар посредством ремней вокруг корпуса.
Тип импульса полусинусоидальный, жесткость испытаний следующая:
- прикладывание импульса во всех трех осях;
- пиковое ускорение - 250 м/с2;
- длительность каждого импульса - 6 мс;
- число подаваемых импульсов в каждом направлении - 1000 +/- 10.
Прибор не должен иметь повреждений, которые могут нарушить его соответствие требованиям 8.1, 16.3, разделов 29 и 32, а также не должно произойти ослабления соединений прибора.
22.EE.102 Приборы должны выдерживать вибрации, которым они могут подвергаться.
Соответствие данному требованию проверяют путем проведения вибрационных испытаний, указанных в IEC 60068-2-6, при соблюдении следующих условий.
Прибор закреплен в нормальном положении эксплуатации на вибростоле с помощью ремней вокруг корпуса. Тип вибрации синусоидальный, жесткость испытаний следующая:
- направление вибрации: вертикальное и горизонтальное;
- амплитуда вибрации - 0,35 мм;
- диапазон частот - 10 - 150 Гц;
- продолжительность испытаний - 30 мин.
Прибор не должен иметь повреждений, которые могут нарушить его соответствие требованиям 8.1, 16.3, разделов 29 и 32, а также не должно произойти ослабления соединений прибора.
Замена:
Применяется аналогичный
раздел части 1 со следующими дополнениями.
Дополнение:
Соответствие требованию проверяют соляным туманом (испытание Kb) по IEC 60068-2-52:
- для открытой палубы применяют степень жесткости 1;
- для комнат отдыха применяют степень жесткости 2.
Перед испытанием покрытия царапают с помощью стержня из закаленной стали, конец которого имеет форму конуса с углом 40°. Наконечник стержня имеет радиус закругления (0,25 +/- 0,02) мм. Стержень нагружают таким образом, что сила, действующая вдоль его оси, составляет (10 +/- 0,5) Н. Царапины наносят, проводя стержнем вдоль поверхности покрытия со скоростью приблизительно 20 мм/с. Пять царапин наносят не менее чем в 5 мм друг от друга и, как минимум, в 5 мм от краев.
После испытания прибор не должен иметь ухудшений до такой степени, что соответствие настоящему стандарту, в частности требованиям разделов 8 и 27, будет нарушено. Покрытие не должно быть разрушено и не должно иметь отслоений от металлической поверхности.
(справочное)
СВЕДЕНИЯ О СООТВЕТСТВИИ МЕЖГОСУДАРСТВЕННЫХ
СТАНДАРТОВ ССЫЛОЧНЫМ МЕЖДУНАРОДНЫМ СТАНДАРТАМ
Таблица ДА.1
Обозначение и наименование ссылочного международного стандарта | Степень соответствия | Обозначение и наименование ссылочного межгосударственного стандарта |
IEC 60335-1:2001 Бытовые и аналогичные электрические приборы. Безопасность. Часть 1. Общие требования | IDT | ГОСТ МЭК 60335-1-2008 Бытовые и аналогичные электрические приборы. Безопасность. Часть 1. Общие требования |
IEC 60335-2-25 Бытовые и аналогичные электрические приборы. Безопасность. Часть 2-25. Дополнительные требования к микроволновым печам, включая комбинированные микроволновые печи | IDT | ГОСТ IEC 60335-2-25-2012 Безопасность бытовых и аналогичных электрических приборов. Часть 2-25. Частные требования к микроволновым печам, включая комбинированные микроволновые печи |
IEC 60335-2-36 Бытовые и аналогичные электрические приборы. Безопасность. Часть 2-36. Дополнительные требования к электрическим кухонным плитам, шкафам и конфоркам для предприятий общественного питания | - | |
IEC 60335-2-42 Бытовые и аналогичные электрические приборы. Безопасность. Часть 2-42. Дополнительные требования к электрическим шкафам с принудительной циркуляцией воздуха, пароварочным аппаратам и пароварочно-конвективным шкафам для предприятий общественного питания | - | |
IEC 60335-2-49 Бытовые и аналогичные электрические приборы. Безопасность. Часть 2-49. Дополнительные требования к электрическим жарочным шкафам для предприятий общественного питания | - | |
IEC 60335-2-75 Бытовые и аналогичные электрические приборы. Часть 2. Дополнительные требования к дозирующим устройствам и торговым автоматам | - | |
IEC 60519-6 Безопасность электронагревательных установок. Часть 6. Технические условия на безопасность промышленного микроволнового нагревательного оборудования | - | |
IEC 60989 Разделительные трансформаторы, автотрансформаторы, регулируемые трансформаторы и реакторы | - | |
IEC 61270-1 Конденсаторы для микроволновых печей. Часть 1. Общие положения | | |
<*> Соответствующий межгосударственный стандарт отсутствует. До его принятия рекомендуется использовать перевод на русский язык данного международного стандарта. Перевод данного международного стандарта находится в Федеральном информационном фонде технических регламентов и стандартов. Примечание - В настоящей таблице использовано следующее условное обозначение степени соответствия стандартов: - IDT - идентичные стандарты. |
Дополнение:
IEC 60335-2-25 | Household and similar electrical appliances - Safety - Part 2-25: Particular requirements for microwave ovens, including combination microwave ovens (Бытовые и аналогичные электрические приборы. Безопасность. Часть 2-25. Дополнительные требования к микроволновым печам, включая комбинированные микроволновые печи) |
IEC 60335-2-36 | Safety of household and similar electrical appliances - Part 2-36: Particular requirements for commercial electric cooking ranges, ovens, hobs and hob elements (Бытовые и аналогичные электрические приборы. Безопасность. Часть 2-36. Дополнительные требования к электрическим кухонным плитам, шкафам и конфоркам для предприятий общественного питания) |
IEC 60335-2-42 | Safety of household and similar electrical appliances - Part 2-42: Particular requirements for commercial electric forced convection ovens, steam cookers and steam-convection ovens (Бытовые и аналогичные электрические приборы. Безопасность. Часть 2-42. Дополнительные требования к электрическим шкафам с принудительной циркуляцией воздуха, пароварочным аппаратам и пароварочно-конвективным шкафам для предприятий общественного питания) |
IEC 60335-2-49 | Household and similar electrical appliances - Safety - Part 2-49: Particular requirements for commercial electric hot cupboards (Бытовые и аналогичные электрические приборы. Безопасность. Часть 2-49. Дополнительные требования к электрическим жарочным шкафам для предприятий общественного питания) |
IEC 60335-2-75 | Safety of household and similar electrical appliances - Part 2: Particular requirements for commercial dispensing appliances and vending machines (Бытовые и аналогичные электрические приборы. Часть 2. Дополнительные требования к дозирующим устройствам и торговым автоматам) |
IEC 60519-6 | Safety in electroheat installations - Part 6: Specifications for safety of industrial microwave heating equipment (Безопасность электронагревательных установок. Часть 6. Технические условия на безопасность промышленного микроволнового нагревательного оборудования) |
IEC 60601 | Medical electrical equipment (Изделия медицинские электрические) |
IEC 60989 | Separating transformers, autotransformers, variable transformers and reactors (Разделительные трансформаторы, автотрансформаторы, регулируемые трансформаторы и реакторы) |
IEC 61270-1 | Capacitors for microwave ovens - Part 1: General (Конденсаторы для микроволновых печей. Часть 1. Общие положения) |
УДК 641.5.06:688.382.3:006.354 | | | IDT |
Ключевые слова: безопасность, микроволновые печи, предприятия общественного питания, требования, методы испытаний |