Главная // Актуальные документы // ГОСТ (Государственный стандарт)
СПРАВКА
Источник публикации
М.: Стандартинформ, 2019
Примечание к документу
Документ включен в Перечень международных и региональных (межгосударственных) стандартов, а в случае их отсутствия - национальных (государственных) стандартов, в результате применения которых на добровольной основе обеспечивается соблюдение требований технического регламента Таможенного союза "О безопасности низковольтного оборудования" (ТР ТС 004/2011) и в Перечень международных и региональных (межгосударственных) стандартов, а в случае их отсутствия - национальных (государственных) стандартов, содержащих правила и методы исследований (испытаний) и измерений, в том числе правила отбора образцов, необходимые для применения и исполнения требований технического регламента Таможенного союза "О безопасности низковольтного оборудования" (ТР ТС 004/2011) и осуществления оценки соответствия объектов технического регулирования (Решение Коллегии Евразийской экономической комиссии от 11.05.2023 N 55).

Документ включен в Перечень международных и региональных (межгосударственных) стандартов, а в случае их отсутствия - национальных (государственных) стандартов, в результате применения которых на добровольной основе обеспечивается соблюдение требований технического регламента Таможенного союза "О безопасности машин и оборудования" (ТР ТС 010/2011) и в Перечень международных и региональных (межгосударственных) стандартов, а в случае их отсутствия - национальных (государственных) стандартов, содержащих правила и методы исследований (испытаний) и измерений, в том числе правила отбора образцов, необходимые для применения и исполнения требований технического регламента Таможенного союза "О безопасности машин и оборудования" (ТР ТС 010/2011) и осуществления оценки соответствия объектов технического регулирования (Решение Коллегии Евразийской экономической комиссии от 09.03.2021 N 28).

Документ включен в Перечень стандартов, в результате применения которых на добровольной основе обеспечивается соблюдение требований технического регламента Таможенного союза "О безопасности машин и оборудования" (ТР ТС 010/2011) и в Перечень стандартов, содержащих правила и методы исследований (испытаний) и измерений, в том числе правила отбора образцов, необходимые для применения и исполнения требований технического регламента Таможенного союза "О безопасности машин и оборудования" (ТР ТС 010/2011) и осуществления оценки (подтверждения) соответствия продукции (Решение комиссии Таможенного союза от 18.10.2011 N 823).

Документ включен в Перечень стандартов, в результате применения которых на добровольной основе обеспечивается соблюдение требований технического регламента Таможенного союза "О безопасности низковольтного оборудования" (ТР ТС 004/2011) и в Перечень стандартов, содержащих правила и методы исследований (испытаний) и измерений, в том числе правила отбора образцов, необходимые для применения и исполнения требований технического регламента Таможенного союза "О безопасности низковольтного оборудования" (ТР ТС 004/2011) и осуществления оценки соответствия объектов технического регулирования (Решение Комиссии Таможенного союза от 16.08.2011 N 768).

Документ введен в действие с 01.01.2015.

Взамен ГОСТ 27570.43-92 (МЭК 335-2-50-89).
Название документа
"ГОСТ IEC 60335-2-50-2013. Межгосударственный стандарт. Безопасность бытовых и аналогичных электрических приборов. Часть 2-50. Частные требования к электрическим мармитам для предприятий общественного питания"
(введен в действие Приказом Росстандарта от 11.06.2014 N 630-ст)

"ГОСТ IEC 60335-2-50-2013. Межгосударственный стандарт. Безопасность бытовых и аналогичных электрических приборов. Часть 2-50. Частные требования к электрическим мармитам для предприятий общественного питания"
(введен в действие Приказом Росстандарта от 11.06.2014 N 630-ст)


Содержание


Введен в действие
Приказом Федерального
агентства по техническому
регулированию и метрологии
от 11 июня 2014 г. N 630-ст
МЕЖГОСУДАРСТВЕННЫЙ СТАНДАРТ
БЕЗОПАСНОСТЬ БЫТОВЫХ И АНАЛОГИЧНЫХ ЭЛЕКТРИЧЕСКИХ ПРИБОРОВ
ЧАСТЬ 2-50
ЧАСТНЫЕ ТРЕБОВАНИЯ К ЭЛЕКТРИЧЕСКИМ МАРМИТАМ
ДЛЯ ПРЕДПРИЯТИЙ ОБЩЕСТВЕННОГО ПИТАНИЯ
Household and similar electrical appliances. Safety.
Part 2-50. Particular requirements for commercial
electric bains-marie
(IEC 60335-2-50:2008, IDT)
ГОСТ IEC 60335-2-50-2013
МКС 97.040.20
Дата введения
1 января 2015 года
Предисловие
Цели, основные принципы и общие правила проведения работ по межгосударственной стандартизации установлены ГОСТ 1.0 "Межгосударственная система стандартизации. Основные положения" и ГОСТ 1.2 "Межгосударственная система стандартизации. Стандарты межгосударственные, правила и рекомендации по межгосударственной стандартизации. Правила разработки, принятия, обновления и отмены"
Сведения о стандарте
1 ПОДГОТОВЛЕН Открытым акционерным обществом "Всероссийский научно-исследовательский институт сертификации" (ОАО "ВНИИС") на основе собственного перевода на русский язык англоязычной версии стандарта, указанного в пункте 5
2 ВНЕСЕН Федеральным агентством по техническому регулированию и метрологии
3 ПРИНЯТ Межгосударственным советом по стандартизации, метрологии и сертификации (протокол от 3 декабря 2013 г. N 62-П)
За принятие проголосовали:
Краткое наименование страны по МК (ИСО 3166) 004-97
Код страны по МК (ИСО 3166) 004-97
Сокращенное наименование национального органа по стандартизации
Армения
AM
Минэкономики Республики Армения
Беларусь
BY
Госстандарт Республики Беларусь
Россия
RU
Росстандарт
Узбекистан
UZ
Узстандарт
4 Приказом Федерального агентства по техническому регулированию и метрологии от 11 июня 2014 г. N 630-ст межгосударственный стандарт ГОСТ IEC 60335-2-50-2013 введен в действие в качестве национального стандарта Российской Федерации с 1 января 2015 г.
5 Настоящий стандарт идентичен международному стандарту IEC 60335-2-50 "Приборы электрические бытового и аналогичного назначения. Безопасность. Часть 2-50. Частные требования к электрическим водяным баням для пищеблоков" ("Household and similar electrical appliances - Safety - Part 2-50: Particular requirements for commercial electric bains-marie", IDT).
Международный стандарт разработан Подкомитетом 61E "Безопасность электрического оборудования общественного питания" Технического комитета по стандартизации IEC/TC 61 "Приборы электрические бытового и аналогичного назначения. Безопасность".
Настоящий стандарт относится к группе стандартов по безопасности в соответствии с Руководством IEC 104 "Разработка стандартов по безопасности и использование базовых и групповых публикаций МЭК по безопасности" (1997 г.).
Настоящий стандарт состоит из четвертого издания IEC 60335-2-50 (2002 г.) с внесенными изменениями и дополнениями (документы 61E/405/FDIS и 61E/417/RVD) и поправки 1 к нему (2007 г.) (документы 61E/558/FDIS и 61E/593/RVD).
Вертикальная линия на полях показывает, в каком месте в стандарте был внесен текст изменений 1
6 ВЗАМЕН ГОСТ 27570.43-92 (МЭК 335-2-50-89)
7 ПЕРЕИЗДАНИЕ. Сентябрь 2019 г.
Информация о введении в действие (прекращении действия) настоящего стандарта и изменений к нему на территории указанных выше государств публикуется в указателях национальных стандартов, издаваемых в этих государствах, а также в сети Интернет на сайтах соответствующих национальных органов по стандартизации.
В случае пересмотра, изменения или отмены настоящего стандарта соответствующая информация будет опубликована на официальном интернет-сайте Межгосударственного совета по стандартизации, метрологии и сертификации в каталоге "Межгосударственные стандарты"
1 Область применения
Данный раздел части 1 заменить на следующий:
Требования настоящего стандарта распространяются на безопасность электрических водяных бань, не предназначенных для использования в быту, с номинальным напряжением не более чем 250 В для однофазных приборов, соединенных между одной фазой и нейтралью, и 480 В для других приборов.
Примечание - Эти приборы используют, в частности, в ресторанах, столовых, больницах и коммерческих предприятиях, например хлебопекарнях, скотобойнях и т.д.
Требования настоящего стандарта также распространяются на электрическую часть приборов, в которых применяют другие формы энергии.
Примечания
1 В отношении приборов, предназначенных для использования в автомобилях или на морских и воздушных судах, может возникнуть необходимость в дополнительных требованиях.
2 Во многих странах дополнительные требования устанавливают национальные органы здравоохранения, национальные органы, ответственные за охрану труда, национальные органы водоснабжения и аналогичные органы.
3 В отношении приборов, подлежащих использованию под открытым небом, может возникнуть необходимость в дополнительных требованиях.
Примечание - Настоящий стандарт не распространяется на следующие устройства:
- приборы, предназначенные главным образом для использования в промышленных целях;
- приборы, предназначенные для использования в местах, где преобладают особые условия, например наличие коррозионной или взрывоопасной атмосферы (пыль, пар или газ);
- приборы непрерывного процесса для массового производства пищи.
2 Нормативные ссылки
Применяют соответствующий раздел части 1 <*>.
3 Определения
Применяют соответствующий раздел части 1 <*>, за следующим исключением:
3.1.4 Добавление:
Примечание - Подводимая номинальная мощность представляет собой сумму подводимых мощностей всех индивидуальных элементов в приборе, которые могут отмечаться в данный момент времени; при наличии нескольких таких сочетаний для определения подводимой номинальной мощности используют максимальную подводимую мощность.
--------------------------------
<*> Часть 1 IEC 60335.
3.1.9 Взамен:
нормальная работа (normal operation): Работа прибора при следующих условиях:
- водяные бани типа "открытый резервуар" и типа "влажное тепло" заполняют водой до индикаторного уровня и доливают во время испытания в соответствии с инструкциями изготовителя. При эксплуатации прибора любой его орган управления, предназначенный для функционирования, должен быть настроен на максимальное значение. При закипании воды этот орган устанавливают на наименьшее значение, которое позволяет поддерживать кипение воды. Крышки или контейнеры не устанавливают;
- водяные бани типа "сухое тепло" эксплуатируют, когда любой их орган управления установлен на максимальное значение. Пустые контейнеры для пищевых продуктов помещают в резервуар, но без крышек;
- приборы комбинированного типа эксплуатируют при наиболее неблагоприятных условиях;
- электродвигатели, являющиеся частью прибора, эксплуатируют в назначенном режиме, при наиболее строгих условиях, которые предполагаются при нормальном использовании, принимая во внимание инструкции изготовителя.
3.101 водяная баня для пищеблоков (bains-marie): Прибор с резервуаром, который должны использовать для хранения горячих пищевых продуктов в контейнерах перед подачей на стол. Эти контейнеры бесконтактно подогревают горячим воздухом, паром или водой в резервуаре.
3.102 водяная баня типа "открытый резервуар" (open-well-type bain-marie): Прибор, в котором пищевые продукты находятся в воде в нагретом резервуаре.
3.103 водяная баня типа "влажное тепло" (open-heat-type bain-marie): Прибор, в котором установленные контейнеры для пищевых продуктов нагревают паром, генерированным в самом приборе. Давление в резервуаре или парогенераторе не отличается заметно от атмосферного.
3.104 водяная баня типа "сухое тепло" (dry-heat-type bain-marie): Прибор, в котором установленные контейнеры для пищевых продуктов нагревают теплым воздухом, генерированным в самом приборе.
3.105 индикаторный уровень (indicated level): Отметка на приборе, указывающая максимальный уровень жидкости для корректного применения.
3.106 монтажная стена (installation wall): Специальная фиксированная конструкция, содержащая средство питания для приборов, смонтированных в сочетании с ней.
Применение на добровольной основе разд. 4 обеспечивает соблюдение требований технического регламента Таможенного союза "О безопасности машин и оборудования" (ТР ТС 010/2011) (Решение Коллегии Евразийской экономической комиссии от 09.03.2021 N 28, Решение комиссии Таможенного союза от 18.10.2011 N 823).
4 Общие требования
Применяют соответствующий раздел части 1 <*>.
5 Общие условия для проведения испытаний
Применяют соответствующий раздел части 1 <*>, за следующим исключением:
5.10 Добавление:
Приборы, предназначенные для установления в группе других приборов, и приборы, фиксируемые в монтажной стене, заключают в кожух, который обеспечивает защиту от электрического удара и вредного проникновения воды, эквивалентных подобному воздействию при монтаже, в соответствии с инструкциями изготовителя, прилагаемыми к прибору.
Примечание - Соответствующие ограждения или дополнительные приборы могут понадобиться для целей испытания.
--------------------------------
<*> Часть 1 IEC 60335.
5.101 Приборы тестируют как нагревательные приборы, даже если они включают в себя электродвигатель.
5.102 Приборы, собранные в сочетании с другими приборами или включающие другие приборы, тестируют в соответствии с требованиями настоящего стандарта. Другие приборы работают одновременно в соответствии с требованиями надлежащих стандартов.
Применение на добровольной основе разделов 6 - 7 обеспечивает соблюдение требований технического регламента Таможенного союза "О безопасности машин и оборудования" (ТР ТС 010/2011) (Решение Коллегии Евразийской экономической комиссии от 09.03.2021 N 28, Решение комиссии Таможенного союза от 18.10.2011 N 823).
6 Классификация
Применяют классификацию раздела 6 "Классификация" IEC 60335-1, за следующим исключением:
6.1 Взамен:
Изделия должны быть класса 1 в отношении защиты от поражения электрическим током. Соответствие подтверждают путем контроля и проведения определенных испытаний.
6.2 Добавление:
Приборы, используемые на столах, должны иметь маркировку не менее IPX3. Прочие приборы должны относиться по крайней мере к классу IPX4.
7 Маркировка и инструкции
Применяют соответствующий раздел части 1 <*>, за следующим исключением:
7.1 Добавления:
На приборах должна стоять маркировка давления воды или диапазон давлений в кПа (для приборов, предназначенных для подсоединения к источнику воды, если это не указано в инструкциях по эксплуатации).
--------------------------------
<*> Часть 1 IEC 60335.
7.6 Добавления:
[обозначение 5021 IEC 60417-1] - эквипотенциальность.
7.12 Добавления:
Если символ 5021 приведен на приборе, его значение должно быть пояснено.
Изменение:
Данная инструкция не рассчитана на применение лицами с заниженными физическими, сенсорными или умственными возможностями либо не имеющими соответствующего опыта или знаний, а также на детей.
7.12.1 Взамен:
К прибору должны прилагаться инструкции, детализирующие любые специальные меры предосторожности, необходимые при монтаже. В отношении приборов, предназначенных для установки в батарее из других приборов, или приборов, подлежащих фиксации в монтажной стене, должно быть представлено подробное описание того, каким образом можно гарантировать надлежащую защиту от поражения электрическим током и излишнего проникновения воды. Если органы управления более чем одного прибора сочетаются в отдельном корпусе, также должны быть предоставлены подробные инструкции по монтажу для пользователя. Инструкции по техническому обслуживанию пользователем, например в отношении чистки, также должны быть в наличии и содержать указание о том, что данный прибор не подлежит чистке с помощью водонапорной струи.
В отношении приборов, которые постоянно подсоединены к стационарной проводке и в отношении которых ток утечки может превышать 1 мА, в особенности если они отсоединены или не использовались в течение длительного периода времени либо во время первоначальной установки, инструкции должны содержать рекомендации, касающиеся определения номинальных характеристик защитных устройств, например реле утечки на землю, которые подлежат установке.
Соответствие проверяют посредством контроля.
7.12.4 Взамен:
В инструкциях для встроенных приборов, имеющих отдельную панель управления для нескольких приборов, должны указывать, что данную панель подсоединяют только к заданным приборам, что позволит избежать возможной угрозы здоровью людей.
7.15 Когда не удается разместить маркировку фиксированных приборов таким образом, чтобы она была видна после установки данного прибора, соответствующая информация также должна быть включена в инструкции по применению или на дополнительном обозначении, которое необходимо разместить вблизи прибора после его установки.
Примечание - Примером подобного прибора может служить встроенный прибор.
7.101 Зажимы эквипотенциального соединения должны маркировать символом 5021 IEC 60417-1.
Эта маркировка не должна размещаться на винтах, съемных шайбах или других деталях, которые могут быть удалены при подсоединении проводов.
Соответствие проверяют посредством контроля.
7.102 Приборы или съемные электрические части приборов, предназначенные для частичного погружения в воду с целью их чистки, должны иметь маркировку в виде линии, которая четко указывает максимальную глубину погружения, вместе с предупреждением следующего содержания:
"Не погружать за эту линию".
Если имеется шов или уплотнение, которые вызывают несоблюдение данным прибором или его частью условий обработки, приведенных в 15.102, линия, обозначающая максимальную глубину погружения, должна быть менее чем на 50 мм ниже любого подобного шва или уплотнения, когда прибор или его части находятся в положении, которое предназначено для чистки.
Соответствие проверяют посредством контроля и измерения.
7.103 Приборы, предназначенные для заполнения вручную или от подводимого рукой водопроводного крана, должны иметь маркировку индикаторного уровня.
Соответствие проверяют посредством контроля.
Применение на добровольной основе разделов 8 - 11 обеспечивает соблюдение требований технического регламента Таможенного союза "О безопасности машин и оборудования" (ТР ТС 010/2011) (Решение Коллегии Евразийской экономической комиссии от 09.03.2021 N 28, Решение комиссии Таможенного союза от 18.10.2011 N 823).
8 Защита от доступа к частям под напряжением
Применяют соответствующий раздел части 1 <*>.
9 Включение приборов, работающих от электродвигателя
Применяют соответствующий раздел части 1 <*>, за следующим исключением:
9.101 Вентиляторные электродвигатели, обеспечивающие эффект охлаждения, для обеспечения требований раздела 11 должны функционировать при всех условиях напряжения, которые отмечены в инструкциях по эксплуатации.
Соответствие проверяют путем троекратного запуска при напряжении, равном 0,85 величины номинального напряжения; в начале испытания электродвигатель должен находиться при комнатной температуре.
Электродвигатель запускают каждый раз при условиях, отмечаемых в начале нормальной работы или, для автоматических приборов, в начале нормального цикла эксплуатации; электродвигатель останавливают в промежутках между последовательными запусками. В отношении приборов, снабженных электродвигателями, которые не имеют центробежных пусковых выключателей, данное испытание повторяют при напряжении, равном 1,06 величины номинального напряжения.
Во всех случаях электродвигатель должен быть включен и функционировать таким образом, чтобы его безопасность не оказалась нарушенной, при этом устройства для предотвращения перегрузок не должны работать.
Примечание - Источник питания должен быть таким, чтобы во время испытания падение напряжения не превышало 1%.
10 Потребляемая мощность и ток
Применяют соответствующий раздел части 1 <*>, за следующим исключением:
10.1 Добавление:
Примечание - В отношении приборов, имеющих более одного нагревательного элемента, суммарную потребляемую мощность можно определить путем измерения подводимой мощности каждого нагревательного элемента отдельно (см. также 3.1.4).
11 Нагревание
Применяют соответствующий раздел части 1 <*>, за следующим исключением:
11.2 Добавление:
Приборы, предназначенные для размещения на полу, и приборы с массой более 40 кг и не снабженные роликами, колесиками или аналогичными средствами перемещения, устанавливают в соответствии с инструкциями изготовителя. Если подобные инструкции отсутствуют, то эти приборы рассматривают как приборы, обычно размещаемые на полу.
--------------------------------
<*> Часть 1 IEC 60335.
11.4 Взамен:
Приборы эксплуатируют при нормальном режиме эксплуатации таким образом, чтобы суммарная потребляемая мощность прибора составляла 1,15 от величины номинальной потребляемой мощности. Если невозможно включить все нагревательные элементы в одно и то же время, испытание проводят с каждой из комбинаций, если это допускает устройство включения, при этом наибольшая нагрузка, возможная при каждом переключении, присутствует в цепи.
Если прибор снабжен средством, которое ограничивает суммарную потребляемую мощность, испытание проводят с той комбинацией нагревательных элементов, которая может быть выбрана этим средством при наиболее неблагоприятном условии.
Если предельные значения увеличения температуры электродвигателей, трансформаторов или электрических цепей превышены, испытание повторяют с прибором, питаемым величиной 1,06 от номинального напряжения. В этом случае измерению подлежит только возрастание температуры электродвигателей, трансформаторов или электронных цепей.
Примечание - См. также 11.7.
11.7 Взамен:
Приборы эксплуатируют до тех пор, пока не будут достигнуты установившиеся условия.
Примечание - Продолжительность испытания может состоять из более чем одного цикла работы.
12 Пустоты
Применяют соответствующий раздел части 1 <*>.
Применение на добровольной основе разделов 13 - 15 обеспечивает соблюдение требований технического регламента Таможенного союза "О безопасности машин и оборудования" (ТР ТС 010/2011) (Решение Коллегии Евразийской экономической комиссии от 09.03.2021 N 28, Решение комиссии Таможенного союза от 18.10.2011 N 823).
13 Ток утечки и электрическая прочность диэлектрика при рабочей температуре
Применяют соответствующий раздел части 1 <*>, за следующим исключением:
13.2 Изменение:
Вместо допустимого тока утечки для стационарных приборов класса 1 применяют следующее:
- для приборов шнурового и штепсельного соединения - 1 мА/кВт номинальной потребляемой мощности прибора с максимальным значением 10 мА;
- для прочих приборов - 1 мА/кВт номинальной потребляемой мощности прибора без максимума.
14 Перенапряжения переходного режима
Применяют соответствующий раздел части 1 <*>.
15 Влагостойкость
Применяют соответствующий раздел части 1 <*>, за следующим исключением:
15.1 Добавление:
Приборы или съемные электрические части, предназначенные для частичного или полного погружения в воду с целью их чистки, также должны пройти испытания 15.102.
Примечание - Приборы, исключая стационарные или любые съемные электрические части, без линии, указывающей максимальную глубину погружения, или в отношении которых в инструкции отсутствует предупреждение относительно частичного или полного погружения, рассматриваются как предназначенные для полного погружения в воду для их очистки.
--------------------------------
<*> Часть 1 IEC 60335.
15.1.1 Добавление:
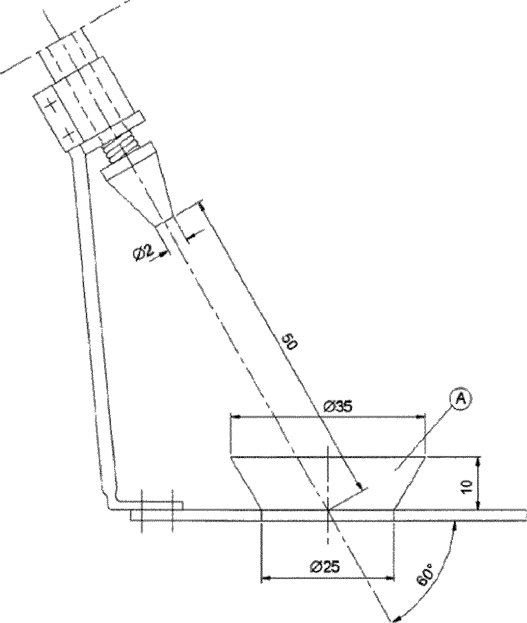
Приборы марок IPX0, IPCX1, IPX2, IPX3 и IPX4 в течение 5 мин дополнительно проходят следующее испытание на разбрызгивание.
Используют устройство, приведенное на рисунке 101. В ходе этого испытания давление воды регулируют таким образом, чтобы брызги поднимались на высоту, не превышающую 150 мм от дна чаши. Чашу помещают на пол для приборов, используемых на полу, в отношении других приборов - на горизонтальную опору на 50 мм ниже самой низкой кромки прибора. Чашу перемещают вокруг одного места таким образом, чтобы обрызгать данный прибор во всех направлениях. Следует соблюдать осторожность во избежание прямого попадания водной струи на прибор.
А - чаша
Рисунок 101 - Устройство для разбрызгивания
15.1.2 Изменение:
Приборы, обычно используемые на столах, помещают на опору, имеющую размеры, которые на (15 +/- 5) см превышают размеры ортогональной проекции данного прибора на опоре.
15.2 Взамен:
Приборы конструируют таким образом, чтобы переливание жидкости при нормальном использовании не влияло на их электрическую изоляцию.
Соответствие проверяют посредством контроля.
Приборы с арматурой типа X, исключая имеющие специально приготовленный шнур, оснащают наиболее легким допустимым типом гибкого кабеля или шнура с наименьшей площадью поперечного сечения, установленного в 26.6, другие приборы тестируют в состоянии поставки.
Съемные части демонтируют.
Водяные резервуары и парогенераторы приборов, заполняемые вручную, полностью заполняют водой, содержащей приблизительно 1% NaCl, и дополнительное количество, равное 15% емкости контейнера, но не более 10 л, медленно вливают в течение 1 мин.
Контейнеры для пищевых продуктов водяных бань типа "сухое тепло" заполняют водой и помещают в прибор. Затем добавляют 1 л воды в каждый контейнер.
Приборы, предназначенные для заполнения от подводимого рукой водопроводного крана или автоматически, подсоединяют к источнику воды, имеющему максимальное давление в линии нагнетания, указанное изготовителем. Средство контролирования поступающей воды следует держать полностью открытым и наполнение продолжать в течение 1 мин после первого признака перелива или до тех пор, пока не сработает дополнительная система защиты и не остановит поступление воды.
Затем прибор испытывают на электрическую прочность согласно 16.3; осмотр должен показать отсутствие следов воды на изоляции, что могло бы привести к уменьшению зазоров и расстояний утечки ниже значений, установленных в разделе 29.
15.3 Добавление:
Примечание - Если невозможно поместить весь прибор в увлажнительную камеру, его части, содержащие электрические компоненты, испытывают отдельно, принимая во внимание условия, которые отмечаются в самом приборе.
15.101 Приборы, которые снабжены водопроводным краном для наполнения или чистки, должны быть сконструированы таким образом, чтобы вода из-под крана не могла вступить в контакт с деталями, находящимися под напряжением.
Соответствие проверяют посредством контроля.
Кран полностью открывают на 1 мин с прибором, подсоединенным к источнику воды, имеющему максимальное давление воды, установленное изготовителем. Наклоняемые или подвижные части, включая крышки, наклоняют или располагают в наиболее неблагоприятном положении. Поворотные выходные отверстия водопроводных кранов располагают таким образом, чтобы направить поток на те детали, которые приведут к наиболее неблагоприятному результату.
После такой обработки прибор должен в обязательном порядке пройти испытание на электрическую прочность, указанное в 16.3.
15.102 Приборы или съемные электрические части, предназначенные для частичного или полного погружения в воду с целью очищения, должны иметь адекватную защиту от последствий погружения.
Соответствие проверяют посредством следующих испытаний.
Образец эксплуатируют в нормальном режиме, при этом питающее напряжение должно быть таким, чтобы потребляемая мощность прибора в 1,15 раза превышала номинальную потребляемую мощность до тех пор, пока не будут достигнуты указанные результаты.
Затем образец отключают от источника питания и, если это целесообразно, немедленно опорожняют и полностью погружают в воду, температура которой между 10 °C и 25 °C, если образец не маркирован линией, указывающей максимальную глубину погружения. При наличии такой линии образец погружают на индикаторную глубину.
Через 1 ч образец вынимают из воды и высушивают, стараясь, чтобы вся влага была удалена с изоляции вблизи штифтов входных отверстий прибора. Ток утечки затем измеряют на собранном приборе согласно описанию в 16.2.
Ток утечки не должен превышать значения, установленного в 16.2.
После обработки, описанной выше, и измерения тока утечки образец должен выдержать испытание на электрическую прочность, приведенное в 16.3; напряжение испытания снижают до 1000 В.
Далее образец эксплуатируют в порядке, указанном выше, в течение 10 дней (240 ч). За этот период образцу дают остыть приблизительно до комнатной температуры не менее пяти раз в регулярные интервалы времени.
После этого периода отключают источник питания и образец немедленно опорожняют и еще раз погружают в воду на 1 ч согласно описанию выше. После этого высушивают и измеряют ток утечки в соответствии с описанием в 16.2.
Ток утечки не должен превышать значения, установленного в 16.2.
Далее образец подвергают испытанию на электрическую прочность, как указано выше, осмотр должен показать, что вода не попала на прибор в заметном количестве.
Примечание - При осмотре прибора на предмет присутствия воды особое внимание следует уделить частям прибора, в которых расположены электрические компоненты.
Применение на добровольной основе разделов 16 - 19 обеспечивает соблюдение требований технического регламента Таможенного союза "О безопасности машин и оборудования" (ТР ТС 010/2011) (Решение Коллегии Евразийской экономической комиссии от 09.03.2021 N 28, Решение комиссии Таможенного союза от 18.10.2011 N 823).
16 Ток утечки и электрическая прочность
Применяют соответствующий раздел части 1 <*>, за следующим исключением:
16.2 Изменение:
Вместо допустимого тока утечки для стационарных приборов класса 1 применимо следующее:
- для приборов шнурового и штепсельного соединения - 1 мА/кВт номинальной потребляемой мощности прибора с максимальным значением 10 мА;
- для прочих приборов - 1 мА/кВт номинальной потребляемой мощности прибора без максимума.
--------------------------------
<*> Часть 1 IEC 60335.
17 Защита трансформаторов и соответствующих сетей от перегрузки
Применяют соответствующий раздел части 1 <*>.
18 Стойкость
Применяют соответствующий раздел части 1 <*>.
19 Анормальная работа
Применяют соответствующий раздел части 1 <*>, за следующим исключением:
19.1 Добавление:
Устройство управления или переключения, которое предназначено для различных настроек, соответствующих различным функциям одной и той же части данного прибора, и на которое распространяются различные стандарты, кроме того, устанавливают на наиболее неблагоприятную настройку, независимо от инструкций по эксплуатации.
19.2 Добавление:
Прибор тестируют без воды; те приборы, которые предназначены для автоматического наполнения, испытывают при отключенном источнике водоснабжения.
19.4 Добавление:
Примечание - Главные контакты контактера, предназначенного для включения и выключения нагревательного элемента (элементов) при нормальном использовании, блокируют в положении "Вкл.". Вместе с тем если два контактера функционируют независимо один от другого или если один контактер обслуживает две независимые группы главных контактов, эти контакты блокируют в положении "Вкл." поочередно.
Применение на добровольной основе разделов 20 - 22 обеспечивает соблюдение требований технического регламента Таможенного союза "О безопасности машин и оборудования" (ТР ТС 010/2011) (Решение Коллегии Евразийской экономической комиссии от 09.03.2021 N 28, Решение комиссии Таможенного союза от 18.10.2011 N 823).
20 Стабильность и механические опасности
Применяют соответствующий раздел части 1 <*>, за следующим исключением:
20.1 Добавление:
Кожухи, крышки и вспомогательные детали располагают в наиболее неблагоприятных для них положениях.
Примечание - Любую утечку жидкости игнорируют.
21 Механическая прочность
Применяют соответствующий раздел части 1 <*>.
22 Конструкция
Применяют соответствующий раздел части 1 <*>, за следующим исключением:
22.15 Добавление:
Приборы, предназначенные для транспортировки продовольственных или других грузов, должны быть снабжены соответствующим средством защиты питающего шнура от повреждения при транспортировке.
--------------------------------
<*> Часть 1 IEC 60335.
22.101 В отношении трехфазных приборов термические плавкие предохранители, защищающие цепи с нагревательными элементами и используемые в электродвигателях, непредвиденный запуск которых может быть опасным, должны быть несамовозвратного и свободно расцепляемого типа и должны обеспечивать идеальное отсоединение от зависимых питающих цепей.
В отношении однофазных приборов и однофазных нагревательных элементов и/или электродвигателей, соединенных между одной фазой и нейтралью или между фазой и фазой, термические плавкие предохранители, защищающие цепи с нагревательными элементами и используемые в электродвигателях, непредвиденный запуск которых опасен, должны быть несамовозвратного и свободно расцепляемого типа и обеспечивать по крайней мере однополюсное отсоединение.
Если к несамовозвратным термическим плавким предохранителям доступ можно осуществить только после удаления деталей с помощью инструмента, тип предохранителей со свободным расцеплением не требуется.
Примечание - Термические плавкие предохранители типа свободного расцепления обладают автоматическим действием, с приводным элементом сброса, который сконструирован таким образом, что автоматическое действие осуществляется независимо от манипуляции или положения переключающего механизма.
Термические плавкие предохранители баллонного и капиллярного типа, которые применяют во время испытаний согласно разделу 19, должны иметь такую конструкцию, чтобы разрыв капиллярной трубки не нарушил соответствие требованиям 19.13.
Соответствие проверяют посредством контроля испытания, проводимого вручную, и разрывания капиллярной трубки.
Примечание - Следует соблюдать осторожность, когда необходимо убедиться в том, что разрыв не приведет к закупорке капиллярной трубки.
22.102 Лампы, переключатели или кнопки должны быть только красного цвета для индикации опасности, тревоги или подобных ситуаций.
22.103 Приборы, оснащенные колесами или подобными устройствами, должны иметь эффективное средство блокировки при нахождении в стационарном состоянии.
Соответствие проверяют посредством проверки и с помощью следующего испытания.
Прибор полностью загружают в соответствии с инструкциями изготовителя. В случае отсутствия инструкций контейнеры, поставленные с прибором, полностью заполняют водой. При отсутствии контейнеров, необходимых для проведения испытания, используют соответствующие контейнеры.
Прибор, полностью загруженный в соответствии с инструкциями изготовителя, помещают на жесткую плоскость, покрытую бумагой из окиси алюминия (размер зерна 80), с наклоном под углом 10° к горизонтали, с применением блокирующего механизма. Прибор не должны перемещать более чем на 100 мм.
22.104 Дренажные краны и другие опорожняющие устройства для горячих жидкостей должны быть сконструированы таким образом, чтобы их невозможно было открыть непреднамеренно.
Соответствие проверяют посредством проверки и с помощью следующего испытания.
Примечание - Данное требование соблюдается, когда клапан срабатывает таким образом, что, будучи разомкнут, он автоматически возвращается в положение закрытия, или же быть колесного типа, или устанавливается в выемке.
22.105 Средство, обеспечивающее дренаж жидкости из резервуаров или парогенераторов водяной бани для пищеблоков, должно функционировать таким образом, чтобы не нарушить электрическую изоляцию.
Соответствие проверяют посредством контроля или испытания, проводимого вручную.
22.106 Уровень, до которого заполняемые вручную приборы должны быть заполнены, должен быть виден при наполнении.
Соответствие проверяют посредством контроля.
22.107 Портативные приборы не должны иметь отверстия на нижней стороне, через которые могут проникать малогабаритные предметы и контактировать с деталями, находящимися под напряжением.
Соответствие проверяют посредством контроля и путем измерения расстояния между несущей поверхностью и деталями, находящимися под напряжением, проходящими через отверстия. Это расстояние должно составлять не менее 6 мм. Однако если прибор оснащен ножками, данное расстояние увеличивают до 10 мм, если прибор предназначен для размещения на столе или на полу - до 20 мм.
Применение на добровольной основе разделов 23 - 25 обеспечивает соблюдение требований технического регламента Таможенного союза "О безопасности машин и оборудования" (ТР ТС 010/2011) (Решение Коллегии Евразийской экономической комиссии от 09.03.2021 N 28, Решение комиссии Таможенного союза от 18.10.2011 N 823).
23 Внутренняя проводка
Применяют соответствующий раздел части 1 <*>, за следующим исключением:
23.3 Добавление:
Когда капиллярная трубка термостата подлежит перегибанию, применимо нижеследующее:
- если капиллярную трубку устанавливают как часть внутренней проводки, применяют часть 1;
- если капиллярную трубку располагают отдельно, она подлежит перегибам 1000 раз при скорости, не превышающей 30 перегибов в 1 мин.
Примечание - Если в любом из вышеуказанных случаев невозможно переместить вращающиеся детали данного прибора при заданной скорости вследствие, например, массы детали, эта скорость перегибов может быть уменьшена.
--------------------------------
<*> Часть 1 IEC 60335.
После проведения испытания на капиллярной трубке не должны присутствовать признаки повреждения, исходя из назначения настоящего стандарта, и разрушения, ухудшающие ее дальнейшее применение.
Однако если разрыв капиллярной трубки делает прибор непригодным для эксплуатации (обеспечивая его безопасность), отдельные капиллярные трубки не испытывают, а те, которые установлены как часть внутренней проводки, не осматривают на предмет их соответствия требованиям.
Соответствие в данном случае проверяют путем разрыва капиллярной трубки.
Примечание - Следует соблюдать осторожность при необходимости убедиться в том, что разрыв не приведет к закупорке капиллярной трубки.
24 Компоненты
Применяют соответствующий раздел части 1 <*>, за следующим исключением:
24.1 Соединители, установленные на приборах, не должны включать термостат.
Соответствие проверяют посредством контроля.
25 Питающее соединение и внешние гибкие шнуры
Применяют соответствующий раздел части 1 <*>, за следующим исключением:
25.1 Изменение:
Приборы не должны иметь вход для прибора.
25.3 Добавление:
Фиксированные приборы и приборы массой более 40 кг и не снабженные роликами, шарнирами или подобными средствами должны быть сконструированы таким образом, чтобы питающий шнур мог быть подсоединен после того, как данный прибор будет установлен в соответствии с инструкциями по монтажу.
Зажимы для постоянного подсоединения кабелей к стационарной проводке могут быть также пригодны для присоединения питающего шнура типа X. В этом случае на приборе должно быть установлено жесткое крепление шнура, соответствующее 25.16.
Если прибор снабжен рядом зажимов, позволяющих осуществлять соединение с гибким шнуром, они должны быть пригодны для крепления шнура типа X.
В обоих случаях в инструкциях приводят детальное описание силового питающего шнура.
Соединение с питающими проводами встроенных приборов можно проводить перед установкой прибора.
Соответствие проверяют посредством контроля.
25.7 Изменение:
Вместо типов заданных питающих шнуров может быть применимо следующее:
Питающие шнуры должны представлять собой гибкий кабель в оболочке, маслостойкий весом, не легче, чем обычный шнур с оболочкой из полихлоропренового или другого эквивалентного синтетического, покрытого эластомерной оболочкой материала (кодовое обозначение 60245 IEC 57).
Применение на добровольной основе разделов 26 - 32 обеспечивает соблюдение требований технического регламента Таможенного союза "О безопасности машин и оборудования" (ТР ТС 010/2011) (Решение Коллегии Евразийской экономической комиссии от 09.03.2021 N 28, Решение комиссии Таможенного союза от 18.10.2011 N 823).
26 Зажимы для токоведущих оболочек трубчатого провода
Применяют соответствующий раздел части 1 <*>.
27 Условие для заземления
Применяют соответствующий раздел части 1 <*>, за следующим исключением:
27.2 Добавление:
Стационарные приборы должны быть снабжены зажимом для соединения с внешним эквипотенциальным проводником. Это оконечное устройство должно быть в эффективном электрическом контакте со всеми фиксированными открытыми металлическими частями прибора и допускать соединение проводника, имеющего номинальную площадь поперечного сечения не более 10 мм2, а также располагаться на участке, удобном для соединения термокомпрессионного проволочного вывода после установки прибора.
Примечание - Малогабаритные открытые фиксированные металлические части, например паспортные таблички и аналогичные детали, не должны вступать в электрический контакт с зажимом.
--------------------------------
<*> Часть 1 IEC 60335.
28 Винты и соединения
Применяют соответствующий раздел части 1 <*>.
29 Зазоры, расстояния утечки и сплошная изоляция
Применяют соответствующий раздел части 1 <*>, за следующим исключением:
29.2 Добавление:
Микросреда представляет собой степень загрязнения 3, и изоляция должна иметь сравнительный индекс трекингостойкости (CTI) не менее 250, если изоляция не заключена в оболочку или расположена таким образом, что маловероятна ее способность к загрязнению при нормальной эксплуатации прибора.
30 Термостойкость и огнестойкость
Применяют соответствующий раздел части 1 <*>, за следующим исключением:
30.2.1 Изменение:
Испытание раскаленной проволоки проводят при температуре 650 °C.
30.2.2 Не применяют.
31 Стойкость к коррозии
Применяют соответствующий раздел части 1 <*>.
32 Радиация, токсичность и аналогичные опасности
Применяют соответствующий раздел части 1 <*>.
--------------------------------
<*> Часть 1 IEC 60335.
ПРИЛОЖЕНИЯ
Применяют приложения части 1, за следующим исключением:
Приложение N
(обязательное)
ИСПЫТАНИЕ НА ТРЕКИНГОСТОЙКОСТЬ
6.3 Добавление:
Добавить 250 В к перечню установленных напряжений.
БИБЛИОГРАФИЯ
Применяют библиографию части 1 настоящего стандарта.
УДК 621.314.222.62.027.7:006.354
МКС 97.040.20
Ключевые слова: водяные бани, электродвигатели, монтажная стена, безопасность, методы испытаний