Главная // Актуальные документы // ГОСТ (Государственный стандарт)СПРАВКА
Источник публикации
М.: Стандартинформ, 2014
Примечание к документу
Документ
введен в действие с 01.01.2015.
Название документа
"ГОСТ EN 15559-2013. Межгосударственный стандарт. Удобрения. Определение нитратного и аммонийного азота методом Арнда"
(введен в действие Приказом Росстандарта от 22.11.2013 N 1819-ст)
"ГОСТ EN 15559-2013. Межгосударственный стандарт. Удобрения. Определение нитратного и аммонийного азота методом Арнда"
(введен в действие Приказом Росстандарта от 22.11.2013 N 1819-ст)
по техническому регулированию
и метрологии
от 22 ноября 2013 г. N 1819-ст
МЕЖГОСУДАРСТВЕННЫЙ СТАНДАРТ
УДОБРЕНИЯ
ОПРЕДЕЛЕНИЕ НИТРАТНОГО И АММОНИЙНОГО АЗОТА МЕТОДОМ АРНДА
Fertilizers. Determination of nitric
and ammoniacal nitrogen according to Arnd
(EN 15559:2009, IDT)
ГОСТ EN 15559-2013
Дата введения
1 января 2015 года
Цели, основные принципы и основной порядок проведения работ по межгосударственной стандартизации установлены
ГОСТ 1.0-92 "Межгосударственная система стандартизации. Основные положения" и
ГОСТ 1.2-97 "Межгосударственная система стандартизации. Стандарты межгосударственные, правила и рекомендации по межгосударственной стандартизации. Порядок разработки, принятия, применения, обновления и отмены"
1 ПОДГОТОВЛЕН Межгосударственным техническим комитетом по стандартизации МТК 84 "Неорганические продукты азотной группы на базе аммиака и азотной кислоты" (ОАО "ГИАП")
2 ВНЕСЕН Техническим секретариатом Межгосударственного совета по стандартизации, метрологии и сертификации
3 ПРИНЯТ Межгосударственным советом по стандартизации, метрологии и сертификации (протокол N 44-2013 от 14 ноября 2013 г.)
За принятие стандарта проголосовали:
Краткое наименование страны по МК (ИСО 3166) 004-97 | Код страны по МК (ИСО 3166) 004-97 | Сокращенное наименование национального органа по стандартизации |
Азербайджан | AZ | Азстандарт |
Казахстан | KZ | Госстандарт Республики Казахстан |
Киргизия | KG | Кыргызстандарт |
Молдова | MD | Молдова-Стандарт |
Россия | RU | Росстандарт |
Таджикистан | TJ | Таджикстандарт |
Украина | UA | Госпотребстандарт Украины |
4 Настоящий стандарт идентичен европейскому региональному стандарту EN 15559:2009 "Fertilizers. Determination of nitric and ammoniacal nitrogen according to Arnd" (Удобрения. Определение нитратного и аммонийного азота методом Арнда).
Европейский стандарт разработан Европейским техническим комитетом CEN/TC 260 "Удобрения и известковые материалы".
Перевод с английского языка (en).
Официальные экземпляры европейского стандарта, на основе которого подготовлен настоящий стандарт, и международных стандартов, на которые даны ссылки, имеются в ФГУП "Стандартинформ".
Сведения о соответствии межгосударственных стандартов ссылочным европейским региональным стандартам приведены в дополнительном
приложении ДА.
Степень соответствия - идентичная (IDT).
5
Приказом Федерального агентства по техническому регулированию и метрологии от 22 ноября 2013 г. N 1819-ст межгосударственный стандарт ГОСТ EN 15559-2013 введен в действие в качестве национального стандарта Российской Федерации с 1 января 2015 г.
6 ВВЕДЕН ВПЕРВЫЕ
Информация об изменений к настоящему стандарту публикуется в ежегодном информационном указателе "Национальные стандарты", а текст изменений и правок в ежемесячном информационном указателе "Национальные стандарты". В случае пересмотра (замены) или отмены настоящего стандарта соответствующее уведомление будет опубликовано в ежемесячном информационном указателе "Национальные стандарты". Соответствующая информация, уведомления и тексты размещаются в информационной системе общего пользования - на информационном сайте Федерального агентства по техническому регулированию и метрологии в сети Интернет.
Настоящий стандарт устанавливает метод определения нитратного и аммонийного азота с восстановлением по Арнду (модифицированный для каждого из вариантов a, b и c).
Метод применим ко всем азотным удобрениям, включая сложные удобрения, в которых азот находится исключительно в нитратной форме или аммонийной и нитратной формах.
Следующие ссылочные документы являются обязательными при применении настоящего стандарта. Для датированных ссылок применяют только указанную редакцию, для недатированных ссылок применяют последнюю редакцию ссылочного документа (включая любые поправки).
EN 1482-2 Fertilizers and liming materials. Sampling and sample preparation. Part 2. Sample preparation (Удобрения и известковые материалы. Отбор проб и подготовка проб. Часть 2. Подготовка проб)
EN 12944-1:1999 Fertilizers and liming materials and soil improvers. Vocabulary. Part 1. General terms (Удобрения и известковые материалы и почвоулучшители. Словарь. Часть 1. Общие термины)
EN 12944-2:1999 Fertilizers and liming materials and soil improvers. Vocabulary. Part 2. Terms relating to fertilizers (Удобрения и известковые материалы и почвоулучшители. Словарь. Часть 2. Термины, относящиеся к удобрениям)
EN ISO 3696:1995 Water for analytical laboratory use. Specification and test methods (ISO 3696:1987) (Вода для лабораторного анализа. Технические условия и методы испытаний)
Примечание - При пользовании настоящим стандартом целесообразно проверить действие ссылочных стандартов в информационной системе общего пользования - на официальном сайте Федерального агентства по техническому регулированию и метрологии в сети Интернет или по ежегодному информационному указателю "Национальные стандарты", который опубликован по состоянию на 1 января текущего года, и по выпускам ежемесячного информационного указателя "Национальный стандарты" за текущий год. Если ссылочный стандарт заменен (изменен), то при пользовании настоящим стандартом следует руководствоваться заменяющим (измененным) стандартом. Если ссылочный стандарт отменен без замены, то положение, в котором дана ссылка на него, применяют в части, не затрагивающей эту ссылку.
В настоящем стандарте применяют термины по EN 12944-1:1999 и EN 12944-2:1999.
Восстановление нитратов и нитритов до аммиака в нейтральном водном растворе при помощи металлического сплава, состоящего из 60% Cu и 40% Mg (сплав Арнда) в присутствии хлорида магния.
Перегонка аммиака и определение выхода в известный объем титрованного раствора серной кислоты. Титрование избытка кислоты титрованным раствором гидроксида натрия или калия.
5.1 Общие требования
Используют только реактивы признанной аналитической степени чистоты (с квалификацией не ниже "ч.д.а.") и дистиллированную или деминерализированную воду, свободную от диоксида углерода и всех азотистых соединений (сорт 3 в соответствии с EN ISO 3696:1995)
5.2 Кислота соляная разбавленная
Смешивают одинаковые объемы раствора концентрированной соляной кислоты

и воды.
5.3 Кислота серная (для варианта a), раствор концентрацией c = 0,05 моль/л.
5.4 Раствор гидроксида натрия или калия (для варианта a), не содержащий карбонаты, концентрацией c = 0,1 моль/л.
5.5 Кислота серная (для варианта b, см.
примечания в 8.2), раствор концентрацией
c = 0,1 моль/л.
5.6 Раствор гидроксида натрия или калия (для варианта b, см.
примечания в 8.2), не содержащий карбонаты, концентрацией
c = 0,2 моль/л.
5.7 Кислота серная (для варианта c, см.
ПРИМЕЧАНИЯ в 8.2), раствор концентрацией
c = 0,25 моль/л.
5.8 Раствор гидроксида натрия или калия (для варианта c, см.
ПРИМЕЧАНИЯ в 8.2), не содержащий карбонаты, концентрацией
c = 0,5 моль/л.
5.9 Раствор гидроксида натрия приблизительно c = 2 моль/л.
5.10 Сплав Арнда порошкообразный такой, чтобы смог пройти через сито с размером отверстий менее 1 мм
2.
5.11 Раствор хлорида магния

.
Растворяют 200 г хлорида магния (MgCl2 6H2O) в приблизительно 600 - 700 мл воды в плоскодонной колбе вместимостью 1 л. Для предотвращения пенообразования добавляют 15 г сульфата магния (MgSO4 7H2O).
После растворения добавляют 2 г оксида магния и несколько гранул пемзы, препятствующих кипению, и выпаривают до 200 мл кипячением, таким образом, исключают следы аммиака из реагентов. Охлаждают, доводят объем до 1 л и фильтруют.
5.12 Растворы индикаторов
5.12.1 Смешанный индикатор
Раствор A: Растворяют 1 г метилового красного в 37 мл раствора гидроксида натрия, c = 0,1 моль/л, и доводят до 1 л водой.
Раствор B: Растворяют 1 г метиленового синего в воде и доводят до 1 л.
Смешивают один объем раствора A и два объема раствора B.
Данный индикатор становится фиолетовым в растворе кислоты, серым в нейтральном растворе и зеленым в щелочном растворе. Используют 0,5 мл (10 капель) этого раствора индикатора.
5.12.2 Раствор индикатора метилового красного
Растворяют 0,1 г метилового красного в 50 мл 95% этанола. Доводят до 100 мл водой и фильтруют, если необходимо. Этот индикатор может быть использован (четыре-пять капель) вместо установленного в
5.12.1.
5.12.3 Раствор индикатора конго красного
Растворяют 3 г конго красного в 1 л теплой воды и, если необходимо, фильтруют после охлаждения. Этот индикатор может быть использован вместо установленных в
5.12.1 или
5.12.2 в нейтрализации экстрактов кислоты до перегонки, используя 0,5 мл на 100 мл жидкости, чтобы нейтрализовать.
5.13 Гранулы, препятствующие бурлению, например, пемзы, промытые соляной кислоте и прокаленные.
5.14 Нитрат натрия, ч.д.а.
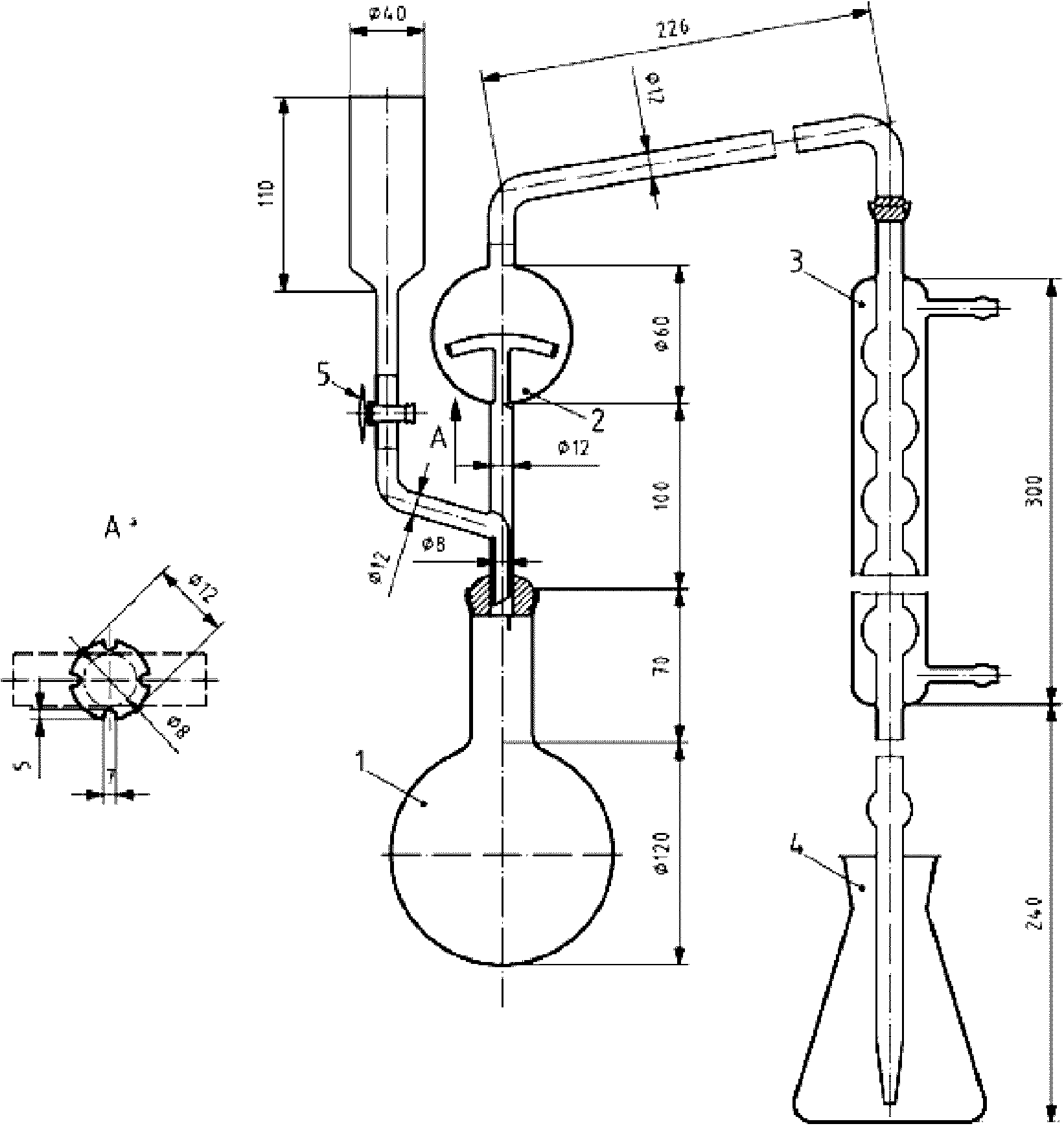
6.1 Перегонный аппарат
Состоящий из круглодонной колбы подходящей вместимости, соединенной с холодильником посредством насадки, предохраняющей от переброса перегоняемой жидкости. Оборудование сделано из боросиликатного стекла.
Примечание - Различные типы оборудования с изображением основных особенностей конструкции, рекомендованные для этого испытания, представлены на
рисунках 1 -
4.
При условии статистической эквивалентности результатов могут быть использованы автоматические перегонные аппараты.
Рисунок 1 - Перегонный аппарат 1
1 - круглодонная колба с длинным горлом вместимостью 1000 мл; 2 - дистилляционная трубка с насадкой, предохраняющей от переброса перегоняемой жидкости, соединенная с холодильником при помощи шарового соединения (N 18) (шаровое соединение для соединения конденсатора может быть заменено подходящим резиновым соединением); 3 - воронка с вентилем из политетрафторэтилена (PTFE) (6) для добавления гидроксида натрия (вентиль также может быть заменен резиновым соединением с зажимом); 4 - холодильник с шестью шарами с шаровым соединением (N 18) на входе, подсоединенный на выходе к стеклянной удлинительной трубке при помощи небольшого резинового соединения (когда соединение дистилляционной трубки осуществляется при помощи резиновой трубки, сферическое соединение может быть заменено подходящей резиновой втулкой); 5 - колба для сбора дистиллята вместимостью 500 мл; 6 - вентиль из политетрафторэтилена (PTFE); 7a - щель
Рисунок 2 - Перегонный аппарат 2
1 - круглодонная колба с коротким горлом вместимостью 1000 мл с шаровым соединением (No 35); 2 - дистилляционная трубка с насадкой, предохраняющей от переброса перегоняемой жидкости, с шаровым соединением (N 35) на входе и шаровым соединением (N 18) на выходе, соединенная сбоку с воронкой с вентилем из политетрафторэтилена (PTFE) (6) для добавления гидроксида натрия; 3 - холодильник с шестью шарами с шаровым соединением (N 18) на входе, подсоединенный на выходе к стеклянной удлинительной трубке при помощи небольшого резинового соединения; 4 - колба для сбора дистиллята вместимостью 500 мл; 5 - вентиль из политетрафторэтилена (PTFE); Aa - увеличенное описание
Рисунок 3 - Перегонный аппарат 3
1 - круглодонная колба с длинным горлом вместимостью от 750 до 1000 мл с расширенным концом; 2 - дистилляционная трубка с насадкой, предохраняющей от переброса перегоняемой жидкости с шаровым соединением (No 18) на выходе; 3 - коленчатая трубка с шаровым соединением (N 18) на входе и капельным конусом (соединение дистилляционной трубки может быть осуществлено при помощи резиновой трубки вместо шарового соединения); 4 - холодильник с шестью шарами, подсоединенный на выходе к стеклянной удлинительной трубке при помощи небольшого резинового соединения; 5 - колба для сбора дистиллята вместимостью 500 мл
Рисунок 4 - Перегонный аппарат 4
1 - круглодонная колба с длинным горлом вместимостью 1000 мл с расширенным концом; 2 - дистилляционная трубка с насадкой, предохраняющей от переброса перегоняемой жидкости, с шаровым соединением (N 18), на выходе подсоединенная сбоку к воронке с вентилем из политетрафторэтилена (PTFE) (5) для добавления гидроксида натрия (подходящая резиновая втулка может быть использована вместо шарового соединения); 3 - Холодильник с шестью шарами с шаровым соединением на входе, подсоединенный посредством резинового соединения на выходе к стеклянной удлинительной трубке (когда соединение дистилляционной трубки осуществляется при помощи резиновой трубки, сферическое соединение может быть заменено подходящей резиновой втулкой); 4 - Колба для сбора дистиллята вместимостью 500 мл; 5 - вентиль из политетрафторэтилена (PTFE)
6.2 Пипетки, вместимостью 10, 20, 25, 50, 100 и 200 мл.
6.3 Мерная колба, вместимостью 500 мл.
6.4 Ротационный шейкер, от 35 до 40 оборотов в минуту
7 Отбор и подготовка проб
Отбор проб не является частью метода, установленного в этом техническом документе. Рекомендуемый метод отбора проб приведен в EN 1482-1.
Подготовка проб должна проводиться в соответствии с EN 1482-2.
8.1 Приготовление раствора
8.1.1 Общие требования
Проводят испытание на растворимость образца в воде при комнатной температуре и в пропорции 2% (массовая концентрация). Взвешивают с точностью до 0,001 г в соответствии с указаниями, приведенными в таблице 1, 5, 7 или 10 г подготовленной пробы и помещают в мерную колбу вместимостью 500 мл. В соответствии с результатами испытания на растворимость выполняют следующие действия.
8.1.2 Продукты, полностью растворимые в воде
Добавляют в колбу количество воды, необходимое для растворения образца, трясут и, когда полностью растворится, доводят объем и тщательно перемешивают.
8.1.3 Продукты, полностью не растворимые в воде
Добавляют в колбу 50 мл воды и затем 20 мл соляной кислоты
(5.2) Встряхивают и оставляют, не трогая до тех пор, пока не прекратится выделение диоксида углерода. Добавляют 400 мл воды и трясут в течение получаса в ротационном шейкере
(6.4). Доводят объем водой, перемешивают и фильтруют через сухой фильтр в сухую емкость.
8.2 Анализ раствора
В соответствии с выбранным вариантом помещают в приемную колбу точно измеренное количество титрованной серной кислоты, как указано в
таблице 1,
таблице 2 или
таблице 3. Добавляют соответствующее количество выбранного раствора индикатора (
5.12.1 или
5.12.2) и, наконец, достаточное количество воды, чтобы объем стал не менее 50 мл. Конец удлиненной трубки холодильника должен быть ниже поверхности раствора.
Таблица 1
Взвешивание, разбавление и вычисление, вариант a
Декларируемое содержание, N, % | Количество, которое должно быть взвешено, г | Разбавление, мл | Раствор образца, который должен быть отогнан, мл | Вычисление результатов, %, |
От 0 до 5 | 10 | 500 | 50 | (50 - A)·0,14 |
От 5 до 10 | 10 | 500 | 25 | (50 - A)·0,28 |
От 10 до 15 | 7 | 500 | 25 | (50 - A)·0,40 |
От 15 до 20 | 5 | 500 | 25 | (50 - A)·0,56 |
От 20 до 40 | 7 | 500 | 10 | (50 - A)·1,00 |
Приблизительное максимальное количество азота, которое должно быть отогнано: 50 мг. Серная кислота 0,05 моль/л, которая должна быть помещена в приемную колбу: 50 мл. Обратное титрование с NaOH или KOH 0,1 моль/л |
N - массовая доля азота, %; 50 - объем титрованного раствора серной кислоты, который должен быть помещен в приемной колбе, мл; A - объем раствора гидроксида натрия или калия, используемого для обратного титрования, мл; F - коэффициент, включающий взвешенное количество, разбавление, аликвотную часть раствора образца, которая будет отогнана, и объемный эквивалент. |
Таблица 2
Взвешивание, разбавление и вычисление, вариант b
Декларируемое содержание, N, % | Количество, которое должно быть взвешено, г | Разбавление, мл | Раствор образца, который должен быть отогнан, мл | Вычисление результатов, %, |
От 0 до 5 | 10 | 500 | 100 | (50 - A)·0,14 |
От 5 до 10 | 10 | 500 | 50 | (50 - A)·0,28 |
От 10 до 15 | 7 | 500 | 50 | (50 - A)·0,40 |
От 15 до 20 | 5 | 500 | 50 | (50 - A)·0,56 |
От 20 до 40 | 7 | 500 | 20 | (50 - A)·1,00 |
Приблизительное максимальное количество азота, которое должно быть отогнано: 100 мг. Серная кислота 0,1 моль/л, которая должна быть помещена в приемную колбу: 50 мл. Обратное титрование с NaOH или KOH 0,2 моль/л |
N - массовая доля азота, %; 50 - объем титрованного раствора серной кислоты, который должен быть помещен в приемной колбе, мл; A - объем раствора гидроксида натрия или калия, используемого для обратного титрования, мл; F - коэффициент, включающий взвешенное количество, разбавление, аликвотную часть раствора образца, которая будет отогнана, и объемный эквивалент. |
Таблица 3
Взвешивание, разбавление и вычисление, вариант c
Декларируемое содержание, N, % | Количество, которое должно быть взвешено, г | Разбавление, мл | Раствор образца, который должен быть отогнан, мл | Вычисление результатов, %, |
От 0 до 5 | 10 | 500 | 200 | (35 - A)·0,175 |
От 5 до 10 | 10 | 500 | 100 | (35 - A)·0,350 |
От 10 до 15 | 7 | 500 | 100 | (35 - A)·0,500 |
От 15 до 20 | 5 | 500 | 100 | (35 - A)·0,700 |
От 20 до 40 | 5 | 500 | 50 | (35 - A)·1,400 |
Приблизительное максимальное количество азота, которое должно быть отогнано: 200 мг. Серная кислота 0,25 моль/л, которая должна быть помещена в приемную колбу: 35 мл. Обратное титрование с NaOH или KOH 0,5 моль/л |
N - массовая доля азота, %; 35 - объем титрованного раствора серной кислоты, который должен быть помещен в приемной колбе, мл; A - объем раствора гидроксида натрия или калия, используемого для обратного титрования, мл; F - коэффициент, включающий взвешенное количество, разбавление, аликвотную часть раствора образца, которая будет отогнана, и объемный эквивалент, выраженный в процентах аммонийного азота в удобрении. |
Используя точные пипетки, отбирают адекватную аликвоту раствора в соответствии с
таблицами 1,
2 или
3. Помещают ее в перегонную колбу.
Добавляют достаточное количество воды, чтобы объем раствора стал около 350 мл (смотри
примечание 1), 10 г сплава Арнда
(5.10), 50 мл раствора хлорида магния
(5.11) и несколько кусочков пемзы
(5.13). Быстро подсоединяют колбу к перегонному аппарату. Нагревают на медленном огне в течение 30 минут. Затем увеличивают нагрев, чтобы отогнать аммиак. Продолжают перегонку в течение одного часа. После истечения этого времени остаток в колбе должен иметь густую консистенцию. Когда перегонка завершена, опускают приемную колбу так, чтобы конец удлинительной трубки холодильника был выше поверхности жидкости. Испытывают последующий дистиллят при помощи подходящего реагента, чтобы убедиться, что весь аммиак полностью подвергся перегонке. Промывают удлинение холодильника литром воды и титруют избыток кислоты титрованным раствором гидроксида натрия или калия, для принятого варианта (смотри
примечание 2).
1 Когда раствор образца - это кислота (добавляют 20 мл HCl (1 + 1), чтобы растворить образец), отобранная для анализа аликвотная часть нейтрализуется следующим образом: в перегонную колбу, содержащую аликвотную часть, добавляют около 250 мл воды, добавляют необходимое количество одного из индикаторов (
5.12.1,
5.12.2,
5.12.3) и тщательно перемешивают. Смесь нейтрализуют 2 моль/л раствором гидроксида натрия и снова подкисляют каплей соляной кислоты (1 + 1)
(5.2). Затем обрабатывают, как указано в 8.2.
2 Титрованные растворы различной силы (концентрации) могут быть использованы для обратного титрования при условии, что используемые объемы для титрования, на сколько это возможно, не превышают 45 мл.
8.3 Холостое испытание
Проводят холостое испытание (без образца) при тех же условиях и ссылаются на это испытание при вычислении конечного результата.
8.4 Контрольное испытание
До анализа проверяют, чтобы оборудование работало правильно, применяют правильную методику, используя свежеприготовленный раствор нитрата натрия, содержащий от 0,050 до 0,150 г нитратов азота в зависимости от выбранного варианта.
9 Вычисление и выражение результатов
Результат анализа выражают в процентах массовой доли нитратного азота или совмещенного нитратного и аммонийного азота, содержащегося в удобрении, полученный при анализе. Вычисление должно быть выполнено в соответствии с
таблицами 1,
2 или
3.
Отчет об испытании должен содержать следующую информацию;
a) всю информацию, необходимую для полной идентификации образца;
b) используемый метод испытания со ссылкой на настоящий стандарт;
c) полученные результаты анализа, выраженные в виде массовой доли нитратного или аммонийного азота в удобрении, %;
d) дату отбора проб и методику отбора проб (если известно);
e) дату, окончания анализа;
f) все подробности операций, не указанных в настоящем стандарте, или рассматриваемые как необязательные, вместе с подробностями о любых происшествия, встречающихся при проведении испытания, которые могут повлиять на результат(ы) анализа.
(справочное)
СВЕДЕНИЯ О СООТВЕТСТВИИ МЕЖГОСУДАРСТВЕННЫХ СТАНДАРТОВ
ССЫЛОЧНЫМ РЕГИОНАЛЬНЫМ ЕВРОПЕЙСКИМ СТАНДАРТАМ.
Таблица ДА.1
Обозначение и наименование регионального стандарта | Степень соответствия | Обозначение и наименование межгосударственного стандарта |
EN 1482-2 Удобрения и известковые материалы. Отбор проб и подготовка проб. Часть 2. Подготовка проб | - | |
EN 12944-1:1999 Удобрения и известковые материалы и почвоулучшители. Словарь. Часть 1. Общие термины | - | |
EN 12944-2:1999 Удобрения и известковые материалы и почвоулучшители. Словарь. Часть 2. Термины, относящиеся к удобрениям | - | |
EN ISO 3696:1995 Вода для лабораторного анализа. Технические условия и методы испытаний | - | |
<*> Соответствующий национальный стандарт отсутствует. До его утверждения рекомендуется использовать перевод на русский язык данного регионального стандарта. Перевод данного регионального стандарта находится в Федеральном информационном фонде технических регламентов и стандартов. |
EN 1482-1 | Fertilizers and liming materials. Sampling and sample preparation - Part 1: Sampling (Удобрения и известковые материалы. Отбор и подготовка проб. Часть 1. Отбор проб) |
Regulation (EC) No 2003/2003 | Regulation (EC) No 2003/2003 of the European Parliament and of the Council of 13 October 2003 relating to fertilisers, Official Journal L 304, 21/11/2003, P. 1 - 194, Annex IV, method 2.2.2 (Регламент (EC) N 2003/2003 (Европейского парламента и совета от 13 октября 2003 г, относящийся к удобрениям, официальный журнал L 304, 21/11/2003, с. 1 - 194, приложение IV, метод 2.2.2) |
УДК 631.82:546.17.06:006.354 | | |
Ключевые слова: химический анализ, азот, аммиачный азот, методы восстановления, методика, перегонка |