Главная // Актуальные документы // ГОСТ (Государственный стандарт)
СПРАВКА
Источник публикации
М.: Стандартинформ, 2014
Примечание к документу
Документ введен в действие с 01.01.2015.
Название документа
"ГОСТ EN 15558-2013. Межгосударственный стандарт. Удобрения. Определение нитратного и аммонийного азота методом Ульша"
(введен в действие Приказом Росстандарта от 05.12.2013 N 2188-ст)

"ГОСТ EN 15558-2013. Межгосударственный стандарт. Удобрения. Определение нитратного и аммонийного азота методом Ульша"
(введен в действие Приказом Росстандарта от 05.12.2013 N 2188-ст)


Содержание


Введен в действие
Приказом Федерального
агентства по техническому
регулированию и метрологии
от 5 декабря 2013 г. N 2188-ст
МЕЖГОСУДАРСТВЕННЫЙ СТАНДАРТ
УДОБРЕНИЯ
ОПРЕДЕЛЕНИЕ НИТРАТНОГО И АММОНИЙНОГО АЗОТА
МЕТОДОМ УЛЬША
Fertilizers. Determination of nitric and ammoniacal
nitrogen according to Ulsch selon
(EN 15558:2009, IDT)
ГОСТ EN 15558-2013
МКС 65.080
Дата введения
1 января 2015 года
Предисловие
Цели, основные принципы и порядок проведения работ по межгосударственной стандартизации установлены ГОСТ 1.0-92 "Межгосударственная система стандартизации. Основные положения" и ГОСТ 1.2-2009 "Межгосударственная система стандартизации. Стандарты межгосударственные, правила и рекомендации по межгосударственной стандартизации. Правила разработки, принятия, применения, обновления и отмены"
Сведения о стандарте
1 ПОДГОТОВЛЕН Техническим комитетом по стандартизации ТК 84 "Неорганические продукты азотной группы на базе аммиака и азотной кислоты" (ОАО "ГИАП") на основе собственного аутентичного перевода на русский язык стандарта, указанного в пункте 4
2 ВНЕСЕН Техническим комитетом по стандартизации ТК 84 "Неорганические продукты азотной группы на базе аммиака и азотной кислоты"
3 ПРИНЯТ Межгосударственным советом по стандартизации, метрологии и сертификации по переписке (протокол от 03 декабря 2013 г. N 62-П)
За принятие проголосовали:
Краткое наименование страны по МК (ИСО 3166) 004-97
Код страны по МК (ИСО 3166) 004-97
Сокращенное наименование национального органа по стандартизации
Армения
AM
Минэкономики Республики Армения
Киргизия
KG
Кыргызстандарт
Молдова
MD
Молдова-Стандарт
Россия
RU
Росстандарт
Таджикистан
TJ
Таджикстандарт
4 Настоящий стандарт идентичен европейскому региональному стандарту EN 15558:2009 Fertilizers - Determination of nitric and ammoniacal nitrogen according to Ulsch (Удобрения. Определение нитратного и аммонийного азота методом Ульша).
Европейский стандарт разработан Европейским комитетом по стандартизации CEN/TC 260 "Удобрения и известковые материалы".
Перевод с английского языка (en).
Официальные экземпляры европейского регионального стандарта, на основе которого подготовлен настоящий межгосударственный стандарт, и европейского регионального стандарта, на который дана ссылка, имеются в Федеральном информационном фонде технических регламентов и стандартов.
Сведения о соответствии межгосударственных стандартов ссылочным европейским региональным стандартам приведены в дополнительном приложении ДА.
Степень соответствия - идентичная (IDT)
5 Приказом Федерального агентства по техническому регулированию и метрологии от 5 декабря 2013 г. N 2188-ст межгосударственный стандарт ГОСТ EN 15558-2013 введен в действие в качестве национального стандарта Российской Федерации с 1 января 2015 г.
6 ВВЕДЕН ВПЕРВЫЕ
Информация об изменениях к настоящему стандарту публикуется в ежегодном информационном указателе "Национальные стандарты", а текст изменений и поправок - в ежемесячном информационном указателе "Национальные стандарты". В случае пересмотра (замены) или отмены настоящего стандарта соответствующее уведомление будет опубликовано в ежемесячном информационном указателе "Национальные стандарты". Соответствующая информация, уведомление и тексты размещаются также в информационной системе общего пользования - на официальном сайте Федерального агентства по техническому регулированию и метрологии в сети Интернет
1 Область применения
Настоящий стандарт устанавливает метод определения нитратного и аммонийного азота с восстановлением методом Ульша.
Метод применим ко всем азотным удобрениям, включая сложные удобрения, в которых азот находится только в нитратной форме или в аммонийной и нитратной форме.
2 Нормативные ссылки
Для применения настоящего стандарта необходимы следующие ссылочные документы. Для датированных ссылок применяют только указанное издание ссылочного документа, для недатированных ссылок применяют последнее издание ссылочного документа (включая все его изменения).
EN 1482-2 Fertilizers and liming materials - Sampling and sample preparation - Part 2: Sample preparation (Удобрения и известковые материалы. Отбор и подготовка проб. Часть 2. Подготовка проб)
EN 12944-1:1999 Fertilizers and liming materials and soil improvers - Vocabulary - Part 1: General terms (Удобрения и известковые материалы и почвоулучшители. Словарь. Часть 1. Основные термины)
EN 12944-2:1999 Fertilizers and liming materials and soil improvers - Vocabulary - Part 2: Terms relating to fertilizers (Удобрения и известковые материалы и почвоулучшители. Словарь. Часть 2. Термины, относящиеся к удобрениям)
EN ISO 3696:1995 Water for analytical laboratory use - Specification and test methods (ISO 3696:1987) [Вода для лабораторного анализа. Технические условия и методы испытаний (ISO 3696:1987)]
3 Термины и определения
В настоящем стандарте применены термины по EN 12944-1 и EN 12944-2.
4 Основные принципы
Восстанавливают нитраты и нитриты металлическим железом до аммиака в кислой среде и вытесняют аммиак, образовавшийся при добавлении избытка гидроксида натрия.
Проводят дистилляцию, определяют выход аммиака в известный объем титрованного раствора серной кислоты и титруют избыток серной кислоты титрованным раствором гидроксида натрия или калия.
5 Реактивы
5.1 Основные положения
Используют только реактивы признанной аналитической степени чистоты (квалификацией не ниже ч.д.а.) и дистиллированную или деминерализованную воду, не содержащую диоксид углерода и азотистых соединений (степень чистоты - 3 в соответствии с EN ISO 3696).
5.2 Кислота соляная разбавленная: смешивают один объем концентрированного раствора соляной кислоты, p(HCl) = 1,18 г/мл, с одним объемом воды.
5.3 Кислота серная, раствор концентрацией c = 0,05 моль/л.
5.4 Раствор гидроксида натрия или калия, не содержащий карбонатов, концентрацией c = 0,1 моль/л.
5.5 Раствор серной кислоты, концентрацией примерно 30% (массовая концентрация), не содержащий аммиак.
5.6 Порошок железа, восстановленного в водороде.
Установленное количество железа должно восстанавливать не менее чем 0,05 г нитратного азота.
5.7 Раствор гидроксида натрия, массовой концентрацией примерно 30%, не содержащий аммиак, p(NaOH) = 1,33 г/мл.
5.8 Растворы индикаторов
5.8.1 Смешанные индикаторы
Раствор A: растворяют 1 г метилового красного в 37 мл раствора гидроксида натрия концентрацией c = 0,1 моль/л и доводят до 1 л водой.
Раствор B: растворяют 1 г метиленового синего в воде и доводят до 1 л водой.
Смешивают один объем раствора A с двумя объемами раствора B.
Данный индикатор: фиолетовый - в кислом растворе, серый - в нейтральном растворе и зеленый - в щелочном растворе. Используют 0,5 мл (10 капель) этого раствора индикатора.
5.8.2 Раствор метилового красного индикатора
Растворяют 0,1 г метилового красного в 50 мл 95%-ного этанола. Доливают до 100 мл водой и отфильтровывают, при необходимости. Данный индикатор (4 - 5 капель) может быть использован вместо предыдущего.
5.9 Гранулы, препятствующие кипению (например, пемза), промытые в соляной кислоте и прокаленные.
5.10 Нитрат натрия, ч.д.а.
6 Аппаратура
6.1 Перегонные аппараты
Перегонные аппараты состоят из круглодонной колбы соответствующей вместимости, соединенной с холодильником при помощи насадки, предохраняющей от переброса перегоняемой жидкости. Оборудование изготовлено из боросиликатного стекла.
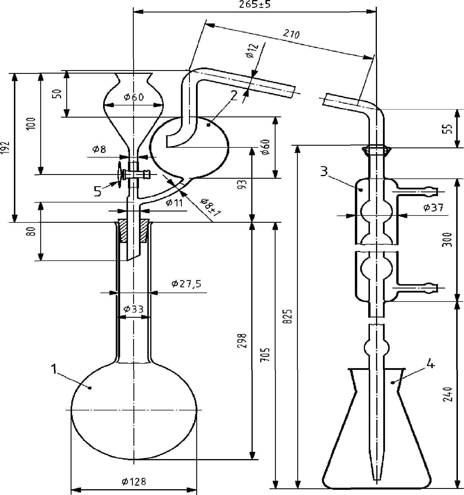
Примечание - Конструкции различных типов перегонных аппаратов, рекомендованные для данного испытания, представлены на рисунках 1 - 4.
1 - круглодонная колба с длинным горлышком вместимостью
1000 мл; 2 - дистилляционная трубка с насадкой,
предохраняющей от переброса перегоняемой жидкости,
соединенная с холодильником при помощи шарового соединения
(N 18) (шаровое соединение для соединения с холодильником
может быть заменено соответствующим резиновым соединением);
3 - воронка с вентилем из политетрафторэтилена (PTFE) 6 для
добавления гидроксида натрия (вентиль также может быть
заменен резиновым соединением с зажимом); 4 - холодильник
(6 шаров) с шаровым соединением (N 18) на входе
и присоединенная с помощью небольшого резинового соединения
на выходе стеклянная удлинительная трубка (если
присоединение дистилляционной трубки осуществляют при помощи
резиновой трубки, шаровое соединение может быть заменено
подходящей резиновой пробкой); 5 - колба вместимостью
500 мл для сбора дистиллята; 6 - вентиль
из политетрафторэтилена (PTFE); 7a - щель
Рисунок 1 - Перегонный аппарат 1
1 - круглодонная колба с коротким горлышком вместимостью
1000 мл с шаровым соединением (N 35); 2 - дистилляционная
трубка с насадкой, предохраняющей от переброса перегоняемой
жидкости, с шаровым соединением (N 35) на входе и шаровым
соединением (N 18) на выходе, соединенная сбоку с воронкой
с вентилем из политетрафторэтилена (PTFE) 5 для добавления
гидроксида натрия; 3 - холодильник (6 шаров) с шаровым
соединением (N 18) на входе, соединенный на выходе
с удлиненной стеклянной трубкой при помощи небольшого
резинового соединения; 4 - колба вместимостью 500 мл для
сбора дистиллята; 5 - вентиль из политетрафторэтилена (PTFE)
Рисунок 2 - Перегонный аппарат 2
1 - круглодонная колба с длинным горлышком вместимостью
750 мл или 1000 мл с расширением к горлышку;
2 - дистилляционная трубка с насадкой, предохраняющей
от переброса перегоняемой жидкости, и шаровым соединением
(N 18) на выходе; 3 - изогнутая трубка с шаровым
соединением (N 18) на входе и воронка для стекания капель
(присоединение к дистилляционной трубке может быть
осуществлено при помощи резиновой трубки вместо шарового
соединения); 4 - холодильник (6 шаров), соединенный
на выходе со стеклянной трубкой с расширением к горлышку
с помощью небольшого резинового соединения;
5 - колба вместимостью 500 мл для сбора дистиллята
Рисунок 3 - Перегонный аппарат 3
1 - круглодонная колба с длинным горлышком вместимостью
1000 мл с расширением к концу; 2 - дистилляционная трубка
с насадкой, предохраняющей от переброса перегоняемой
жидкости, и шаровым соединением (N 18) на выходе,
соединенная сбоку с воронкой с вентилем
из политетрафторэтилена (PTFE) 5 для добавления гидроксида
натрия (может быть использована подходящая резиновая втулка
вместо шарового соединения; вентиль может быть заменен
резиновым соединением с соответствующим зажимом);
3 - холодильник (6 шаров) с шаровым соединением (N 18)
на входе, соединенный на выходе с удлиненной стеклянной
трубкой при помощи небольшого резинового соединения (если
присоединение дистилляционной трубки осуществляют с помощью
резиновой трубки, шаровое соединение может быть заменено
подходящей резиновой пробкой); 4 - колба вместимостью
500 мл для сбора дистиллята; 5 - вентиль
из политетрафторэтилена PTFE
Рисунок 4 - Перегонный аппарат 4
Можно также использовать автоматические перегонные аппараты при условии, что результаты статистически эквивалентны.
6.2 Пипетки вместимостью 10, 20, 25, 50, 100 и 200 мл.
6.3 Мерная колба, вместимостью 500 мл.
6.4 Ротационный шейкер со скоростью вращения 35 - 40 об/мин.
7 Отбор и подготовка проб
Отбор проб не является частью метода, указанного в настоящем стандарте. Рекомендованный метод отбора проб приведен в стандарте [1].
Подготовку проб осуществляют в соответствии с EN 1482-2.
8 Проведение испытания
8.1 Подготовка раствора
8.1.1 Основные положения
Проводят испытание на растворимость образца в воде при комнатной температуре в пропорции 2% (массовая доля). В соответствии с таблицей 1 взвешивают с точностью до 0,001 г 5, 7 или 10 г приготовленного образца и помещают его в мерную колбу вместимостью 500 мл. В соответствии с результатом испытания растворимости образца выполняют следующие действия.
8.1.2 Продукты, полностью растворимые в воде
Добавляют в колбу необходимое для растворения образца количество воды, встряхивают, после полного растворения образца доводят объем до метки водой и тщательно перемешивают.
8.1.3 Продукты, полностью не растворимые в воде
Добавляют в колбу 50 мл воды и, затем, 20 мл соляной кислоты (5.2), встряхивают и оставляют, не трогая, пока не прекратится выделение углекислого газа. Добавляют 400 мл воды и встряхивают в течение получаса в ротационном шейкере (6.4). Доводят водой объем до метки, перемешивают и отфильтровывают через сухой фильтр в сухой сосуд.
8.2 Методика
Помещают в приемную колбу 50 мл стандартной серной кислоты и добавляют соответствующее количество раствора индикатора 5.8.1 или 5.8.2. Конец удлинительной трубки холодильника должен быть ниже поверхности стандартной кислоты в приемной колбе.
При помощи точной пипетки переносят в соответствии с данными, указанными в таблице 1, аликвотную часть прозрачного раствора в перегонную колбу аппарата. Добавляют 350 мл воды, 20 мл 30%-ного раствора серной кислоты. Промывают горлышко колбы несколькими миллилитрами воды и помещают в горлышко колбы маленькую воронку с длинной трубкой. Нагревают в кипящей водяной бане в течение часа, затем промывают трубку воронки несколькими миллилитрами воды.
Таблица 1
Взвешивание, разбавление и расчет
Заявленное содержание азота N, %
Количество образца, которое необходимо взвесить, г
Разбавление, мл
Раствор образца, который будет перегнан, мл
Выражение результата <a> N = (50 - A)F
От 0 до 5
10
500
50
(50 - A) 0,14
" 5 " 10
10
500
25
(50 - A) 0,28
" 10 " 15
7
500
25
(50 - A) 0,40
" 15 " 20
5
500
25
(50 - A) 0,56
" 20 " 40
7
500
10
(50 - A) 1,00
Ориентировочное предельное количество азота, которое будет перегнано: 50 мг.
Серная кислота c = 0,05 моль/л, которая должна быть размещена в приемной колбе: 50 мл.
Обратное титрование NaOH или KOH, c = 0,1 моль/л.
<a> N = (50 - A)F,
где N - массовая доля азота, %;
50 - объем титрованного раствора серной кислоты, помещенного в приемную колбу, мл;
A - объем раствора гидроксида натрия или калия, используемого для обратного титрования, мл;
F - коэффициент, включающий взвешенное количество, разбавление, аликвотную часть раствора образца, который будет перегнан, и объемный эквивалент.
Осторожно, чтобы избежать потерь аммиака, добавляют в содержимое перегонной колбы 50 мл концентрированного раствора гидроксида натрия (5.7) или 60 мл концентрированного раствора гидроксида натрия (5.7) в тех случаях, когда для растворения образца было использовано 20 мл соляной кислоты (5.2). Собирают перегонный аппарат. Когда начнется кипение, скорость перегонки - около 100 мл за 10 - 15 мин; общий объем дистиллята должен быть около 250 мл. Холодильник следует регулировать таким образом, чтобы обеспечивался непрерывный поток конденсата.
Перегонка должна быть завершена за 30 - 40 минут. Если выделение аммиака прекратилось, опускают приемную колбу так, чтобы удлинительная трубка находилась над поверхностью жидкости.
Проводят последующую перегонку с помощью соответствующего реагента, чтобы гарантировать полную дистилляцию всего аммиака. Промывают удлинительную трубку холодильника небольшим количеством воды и оттитровывают избыток кислоты титрованным раствором гидроксида натрия или калия, установленным для принятого варианта (см. примечание).
Примечание - Титрованные растворы различной концентрации могут быть использованы для обратного титрования при условии, что объемы, используемые для титрования, по возможности, не превышают 45 мл.
8.3 Холостое испытание
Проводят холостое испытание (не включая образец) при тех же условиях, и используют показатели при расчете окончательных результатов.
8.4 Контрольное испытание
Перед проведением испытания проверяют, чтобы оборудование работало правильно и применение метода было корректным, с использованием аликвотной части свежеприготовленного раствора нитрата натрия (5.10), содержащего от 0,045 до 0,050 г азота.
9 Обработка результатов
Результат испытания выражают как процентное содержание нитратного азота или комбинированного аммонийного и нитратного азота, содержащегося в удобрении, полученном для анализа.
Расчет осуществляют в соответствии с таблицей 1.
10 Протокол испытания
Протокол испытания должен содержать:
a) всю информацию, необходимую для полной идентификации образца;
b) используемый метод испытания со ссылкой на настоящий стандарт;
c) полученные результаты испытания, выраженные в виде массовой доли аммонийного азота в удобрении, в процентах;
d) дату отбора и подготовки проб (если известна);
e) дату завершения испытания;
f) все детали операций, не указанные в настоящем стандарте или рассматриваемые как дополнительные, а также сведения о любых случаях, которые имели место во время выполнения метода и которые могли повлиять на результат(ы) испытаний.
БИБЛИОГРАФИЯ
[1] EN 1482-1 Fertilizers and liming materials - Sampling and sample preparation - Part 1: Sampling (Удобрения и известковые материалы. Отбор и подготовка проб. Часть 1. Отбор проб)
[2] Регламент (ЕС) N 2003/2003 Regulation (EC) No 2003/2003 of the European Parliament and of the Council of 13 October 2003 relating to fertilizers, Official Journal L 304, 21/11/2003, P. 0001-0194, Annex IV, method 2.2.1. (Регламент (ЕС) Европейского Парламента и совета от 13 октября 2003 г., относящийся к удобрениям, официальный журнал L 304, 21/11/2003, стр. 1 - 194, приложение IV, метод 2.2.1)
Приложение ДА
(справочное)
СВЕДЕНИЯ О СООТВЕТСТВИИ МЕЖГОСУДАРСТВЕННЫХ СТАНДАРТОВ
ССЫЛОЧНЫМ ЕВРОПЕЙСКИМ РЕГИОНАЛЬНЫМ СТАНДАРТАМ
Таблица ДА.1
Обозначение и наименование ссылочного стандарта
Обозначение и наименование международного стандарта (международного документа) другого года издания
Степень соответствия
Обозначение и наименование межгосударственного стандарта
EN 1482-2:2007 Удобрения и известковые материалы. Отбор проб и подготовка проб. Часть 2. Подготовка проб
-
IDT
ГОСТ EN 1482-2-2013 Удобрения и известковые материалы. Отбор и подготовка проб. Часть 2. Подготовка проб
EN 12944-1:1999 Удобрения и известковые материалы. Словарь. Часть 1. Общие термины
-
-
EN 12944-2:1999 Удобрения и известковые материалы. Словарь. Часть 2. Термины, относящиеся к удобрениям
-
-
EN ISO 3696:1995 Вода для лабораторного анализа. Технические требования и методы испытаний (ИСО 3696:1987)
ISO 3696:1987 Вода для лабораторного анализа. Технические требования и методы испытаний
-
ИС МЕГАНОРМ: примечание.
В официальном тексте документа, видимо, допущена опечатка: имеется в виду пояснение к сноске <*>.
Соответствующий межгосударственный стандарт отсутствует. До его утверждения рекомендуется использовать перевод на русский язык данного стандарта. Перевод данного международного стандарта находится в Федеральном информационном фонде технических регламентов и стандартов. На территории Российской Федерации действует ГОСТ Р 52501-2005 (ИСО 3696:1987) Вода для лабораторного анализа. Технические условия
Примечание - В настоящей таблице использовано следующее условное обозначение степени соответствия стандартов:
IDT - идентичные стандарты.
УДК 631.82:546.17.06:006.354
МКС 65.080
IDT
Ключевые слова: удобрения, химический анализ, определение содержания, аммонийный азот, нитратный азот, метод восстановления, дистилляция, методика