Главная // Актуальные документы // ГОСТ (Государственный стандарт)СПРАВКА
Источник публикации
М.: Стандартинформ, 2019
Примечание к документу
Текст данного документа приведен с учетом
поправки, опубликованной в "ИУС", N 6, 2022.
Документ
введен в действие с 01.07.2015.
Название документа
"ГОСТ 8.639-2014. Межгосударственный стандарт. Государственная система обеспечения единства измерений. Электроды для определения окислительно-восстановительного потенциала. Методика поверки"
(введен в действие Приказом Росстандарта от 10.07.2014 N 787-ст)
"ГОСТ 8.639-2014. Межгосударственный стандарт. Государственная система обеспечения единства измерений. Электроды для определения окислительно-восстановительного потенциала. Методика поверки"
(введен в действие Приказом Росстандарта от 10.07.2014 N 787-ст)
по техническому регулированию
и метрологии
от 10 июля 2014 г. N 787-ст
МЕЖГОСУДАРСТВЕННЫЙ СТАНДАРТ
ГОСУДАРСТВЕННАЯ СИСТЕМА ОБЕСПЕЧЕНИЯ ЕДИНСТВА ИЗМЕРЕНИЙ
ЭЛЕКТРОДЫ ДЛЯ ОПРЕДЕЛЕНИЯ
ОКИСЛИТЕЛЬНО-ВОССТАНОВИТЕЛЬНОГО ПОТЕНЦИАЛА
МЕТОДИКА ПОВЕРКИ
State system for ensuring the uniformity of measurements.
Measuring electrodes for determination
of oxidation-reduction potential. Verification procedure
ГОСТ 8.639-2014
Дата введения
1 июля 2015 года
Цели, основные принципы и общие правила проведения работ по межгосударственной стандартизации установлены
ГОСТ 1.0 "Межгосударственная система стандартизации. Основные положения" и
ГОСТ 1.2 "Межгосударственная система стандартизации. Стандарты межгосударственные, правила и рекомендации по межгосударственной стандартизации. Правила разработки, принятия, обновления и отмены"
1 РАЗРАБОТАН Федеральным государственным унитарным предприятием "Всероссийский научно-исследовательский институт физико-технических и радиотехнических измерений" (ФГУП "ВНИИФТРИ")
2 ВНЕСЕН Федеральным агентством по техническому регулированию и метрологии
3 ПРИНЯТ Межгосударственным советом по стандартизации, метрологии и сертификации по переписке (протокол от 30 мая 2014 г. N 67-П)
За принятие проголосовали:
Краткое наименование страны по МК (ИСО 3166) 004-97 | Код страны по МК (ИСО 3166) 004-97 | Сокращенное наименование национального органа по стандартизации |
Армения | AM | Минэкономики Республики Армения |
Беларусь | BY | Госстандарт Республики Беларусь |
Киргизия | KG | Кыргызстандарт |
Молдова | MD | Молдова-Стандарт |
Россия | RU | Росстандарт |
Таджикистан | TJ | Таджикстандарт |
Туркмения | TM | Главгосслужба "Туркменстандартлары" |
Узбекистан | UZ | Узстандарт |
Украина | UA | Минэкономразвития Украины |
4
Приказом Федерального агентства по техническому регулированию и метрологии от 10 июля 2014 г. N 787-ст межгосударственный стандарт ГОСТ 8.639-2014 введен в действие в качестве национального стандарта Российской Федерации с 1 июля 2015 г.
5 ВВЕДЕН ВПЕРВЫЕ
6 ПЕРЕИЗДАНИЕ. Апрель 2019 г.
Информация о введении в действие (прекращении действия) настоящего стандарта и изменений к нему на территории указанных выше государств публикуется в указателях национальных стандартов, издаваемых в этих государствах, а также в сети Интернет на сайтах соответствующих национальных органов по стандартизации.
В случае пересмотра, изменения или отмены настоящего стандарта соответствующая информация будет опубликована на официальном интернет-сайте Межгосударственного совета по стандартизации, метрологии и сертификации в каталоге "Межгосударственные стандарты"
Настоящий стандарт распространяется на электроды, предназначенные для измерений окислительно-восстановительного потенциала (далее - ОВП) в водных средах (далее - электроды), и устанавливает методы их первичной и периодической поверок.
Стандарт соответствует межгосударственным
рекомендациям [1], а также учитывает рекомендации стандарта
[2].
В настоящем стандарте использованы нормативные ссылки на следующие стандарты:
ГОСТ 12.2.007.0 Система стандартов безопасности труда. Изделия электротехнические. Общие требования безопасности
ГОСТ 1770 Посуда мерная лабораторная стеклянная. Цилиндры, мензурки, колбы, пробирки. Общие технические условия
ГОСТ 4234 Реактивы. Калий хлористый. Технические условия
ГОСТ 6709 Вода дистиллированная. Технические условия
Примечание - При пользовании настоящим стандартом целесообразно проверить действие ссылочных стандартов и классификаторов на официальном интернет-сайте Межгосударственного совета по стандартизации, метрологии и сертификации (www.easc.by) или по указателям национальных стандартов, издаваемым в государствах, указанных в
предисловии, или на официальных сайтах соответствующих национальных органов по стандартизации. Если на документ дана недатированная ссылка, то следует использовать документ, действующий на текущий момент, с учетом всех внесенных в него изменений. Если заменен ссылочный документ, на который дана датированная ссылка, то следует использовать указанную версию этого документа. Если после принятия настоящего стандарта в ссылочный документ, на который дана датированная ссылка, внесено изменение, затрагивающее положение, на которое дана ссылка, то это положение применяется без учета данного изменения. Если документ отменен без замены, то положение, в котором дана ссылка на него, применяется в части, не затрагивающей эту ссылку.
В настоящем стандарте применены следующие термины с соответствующими определениями:
3.1 окислительно-восстановительная реакция: Реакция, протекающая с изменением степени окисления атомов, входящих в состав реагирующих веществ.
3.2 электрод: Элемент схемы, служащий для гальванической связи раствора с остальной частью электрической схемы.
3.3 измерительный электрод: Электрод, служащий чувствительным элементом для измерения потенциала в рабочей жидкости в процессе прохождения реакции.
3.4 электродный потенциал: Разность электрических потенциалов между электродом и находящимся с ним в контакте электролитом.
3.5 окислительно-восстановительный потенциал: Разность электрических потенциалов, устанавливающаяся между инертным (платиновым или золотым) электродом и окислительно-восстановительной средой, т.е. раствором, содержащим соединение в окисленной и восстановленной формах.
4.1 При проведении поверки должны быть выполнены операции, указанные в
таблице 1.
Таблица 1
Наименование операции | Номер пункта стандарта | Проведение операции при поверке |
первичной | периодической |
Внешний осмотр | | + | + |
Опробование | | + | + |
Определение метрологических характеристик | | + | + |
Определение абсолютной погрешности измерений окислительно-восстановительного потенциала | | + | + |
4.2 При отрицательных результатах любой из операций поверку прекращают.
5.1 При проведении поверки должны быть применены средства поверки, указанные в
таблице 2.
Таблица 2
Номер пункта стандарта | Наименование и тип основного и вспомогательного средства поверки, метрологические и основные технические характеристики |
| Мультиметр цифровой 2002 (диапазон измерений +/- 2,1 В, пределы допускаемой погрешности измерений +/- (2·10-5) В) |
| Электрод сравнения хлорсеребряный насыщенный образцовый 2-го разряда ЭСО-01 (потенциал электрода от 199,5 до 204,5 мВ; нестабильность потенциала +/- 0,5 мВ) |
| Термометр ртутный стеклянный лабораторный ТЛ-4 (диапазон измерений - от 0 °C до 55 °C, цена деления - 0,1 °C) |
| Стандарт-титры СТ-ОВП-01 (СТ-ОВП-01-1: воспроизводимое значение Eh = (298 +/- 3) мВ; СТ-ОВП-01-2: воспроизводимое значение Eh = (605 +/- 3) мВ) |
| Криотермостат жидкостный FT-216-25 (диапазон поддержания температуры от 0 °C до 100 °C, погрешность поддержания температуры +/- 0,2 °C) |
| Посуда мерная лабораторная стеклянная по ГОСТ 1770 |
| |
| |
5.2 Допускается применять другие средства поверки, обеспечивающие определение метрологических характеристик электродов с требуемой точностью.
5.3 Средства поверки должны быть поверены и иметь свидетельства о поверке в соответствии с требованиями нормативных документов государств, принявших настоящий стандарт <1> (далее - с нормативными документами).
--------------------------------
<1> В Российской Федерации действует "
Порядок проведения поверки средств измерений, требования к знаку поверки и содержанию свидетельства о поверке", утвержденный Приказом Минпромторга России от 2 июля 2015 г. N 1815.
6 Требования безопасности
6.1 При проведении поверки должны быть соблюдены требования, установленные
ГОСТ 12.2.007.0.
7 Условия поверки и подготовка к ней
7.1 При проведении поверки должны быть соблюдены следующие условия:
- температура окружающего воздуха (20 +/- 5) °C;
- относительная влажность воздуха не более 80%;
- атмосферное давление от 86 до 106,7 кПа;
- напряжение питающей сети от 207 до 240 В;
- частота (50 +/- 1) Гц.
7.2 Электрод на поверку представляют с паспортом, в упаковке и в чистом виде.
7.3 Электрод подготавливают к поверке в соответствии с инструкцией по эксплуатации.
7.4 Для поверки электрода применяют контрольные растворы, приготовленные из стандарт-титров СТ-ОВП-01 в соответствии с
приложением А.
7.5 Для заполнения сосуда электролитического ключа приготавливают насыщенный раствор хлорида калия в соответствии с
приложением Б.
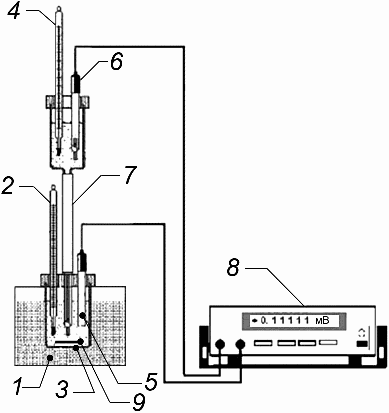
7.6 Собирают установку для измерения ОВП электрода по схеме, приведенной на
рисунке В.1 приложения В.
При проведении внешнего осмотра устанавливают соответствие электрода следующим требованиям:
- на электроде должна быть нанесена четкая маркировка;
- электрод не должен иметь трещин на корпусе и других повреждений.
При опробовании определяют электрическое сопротивление между рабочей поверхностью электрода и электрическим разъемом с помощью цифрового мультиметра (далее - мультиметр) в режиме измерений сопротивления.
Включают мультиметр и один вывод подключают к электрическому соединителю электрода, а другой - к рабочей поверхности электрода. Электрическое сопротивление между рабочей поверхностью электрода и электрическим соединителем не должно превышать 1 кОм. В противном случае электрод бракуют и к дальнейшей поверке не допускают.
8.3 Определение метрологических характеристик
8.3.1 Определение абсолютной погрешности измерений окислительно-восстановительного потенциала
8.3.1.1 Готовят контрольный раствор из стандарт-титра СТ-ОВП-01-1 в соответствии с
приложением А.
Приготовленный контрольный раствор наливают в сосуд
3 (см.
рисунок В.1 приложения В). Помещают сосуд
3 в термостат
1 с установленным значением температуры (25 +/- 0,2) °C.
Сосуд с электродом сравнения
6 заполняют насыщенным раствором хлорида калия, приготовленным в соответствии с
приложением Б.
В сосуд 3 опускают поверяемый электрод 5, электролитический ключ 7 и термометр 4. В сосуд электролитического ключа 7 опускают электрод сравнения 6.
Включают магнитную мешалку 9 и устанавливают требуемую скорость перемешивания.
Поверяемый электрод 5 выдерживают в сосуде 3 не менее 5 мин при температуре (25 +/- 0,2) °C.
Включают мультиметр 8 и измеряют напряжение U между поверяемым электродом 5 и электродом сравнения 6.
Значение ОВП контрольного раствора Eh, мВ, рассчитывают по формуле
где U - напряжение между поверяемым электродом и электродом сравнения, мВ;
Eср - значение потенциала электрода сравнения, приведенное в паспорте на него, мВ.
Абсолютную погрешность измерений ОВП

, мВ, рассчитывают по формуле

, (2)
где
Ehкон - значение
Eh приготовленного контрольного раствора из стандарт-титра СТ-ОВП-01-1 при 25 °C, мВ (см.
таблицу А.1 приложения А).
Результаты поверки считают положительными, если

.
В противном случае поверяемый электрод 5 и электролитический ключ 7 тщательно промывают дистиллированной водой и повторяют операции по 8.3.1.1. При повторном отрицательном результате электрод бракуют.
8.3.1.2 Готовят контрольный раствор из стандарт-титра СТ-ОВП-01-2 в соответствии с
приложением А.
Приготовленный контрольный раствор наливают в сосуд
3 (см.
рисунок В.1 приложения В). Помещают сосуд
3 в термостат
1 с установленным значением температуры (25 +/- 0,2) °C.
Сосуд с электродом сравнения
6 заполняют насыщенным раствором хлорида калия, приготовленным в соответствии с
приложением Б.
В сосуд 3 опускают поверяемый электрод 5, электролитический ключ 7 и термометр 2. В сосуд электролитического ключа 7 опускают электрод сравнения 5.
Включают магнитную мешалку 9 и устанавливают требуемую скорость перемешивания.
Поверяемый электрод 5 выдерживают в сосуде 3 не менее 5 мин при температуре (25 +/- 0,2) °C.
Включают мультиметр 8 и измеряют напряжение U между поверяемым электродом 5 и электродом сравнения 6.
Рассчитывают значение ОВП контрольного раствора
Eh по
формуле (1).
Абсолютную погрешность измерений ОВП

рассчитывают по
формуле (2).
Результаты измерений положительные, если

.
В противном случае поверяемый электрод 5 и электролитический ключ 7 тщательно промывают дистиллированной водой и повторяют операции по 8.3.1.2. При повторном отрицательном результате электрод бракуют.
8.3.1.3 Результаты поверки считают положительными, если абсолютная погрешность измерений ОВП не превышает +/- 3 мВ.
9 Оформление результатов поверки
9.1 Результаты поверки вносят в протокол произвольной формы.
9.2 При положительных результатах поверки выдают свидетельство о поверке в соответствии с требованиями нормативных документов <1>. Допускается нанесение наклейки на свидетельство о поверке или оттиска поверительного клейма на электрод.
9.3 При отрицательных результатах поверки выдают извещение о непригодности с указанием причины в соответствии с требованиями нормативных документов <1>.
--------------------------------
<1> В Российской Федерации действует "
Порядок проведения поверки средств измерений, требования к знаку поверки и содержанию свидетельства о поверке", утвержденный Приказом Минпромторга России от 2 июля 2015 г. N 1815.
(обязательное)
МЕТОДИКА ПРИГОТОВЛЕНИЯ КОНТРОЛЬНЫХ РАСТВОРОВ
ДЛЯ ВОСПРОИЗВЕДЕНИЯ ОКИСЛИТЕЛЬНО-ВОССТАНОВИТЕЛЬНОГО
ПОТЕНЦИАЛА ИЗ СТАНДАРТ-ТИТРОВ СТ-ОВП-01
А.1 Характеристики стандарт-титров
Стандарт-титры СТ-ОВП-01 выпускают двух типов: СТ-ОВП-01-1 и СТ-ОВП-01-2. Их характеристики приведены в
таблице А.1.
Таблица А.1
Характеристики стандарт-титров СТ-ОВП-01
Тип стандарт-титра | Химический состав стандарт-титра | Масса веществ, входящих в состав стандарт-титра, для приготовления 1 дм3 контрольного раствора, г | Значение Eh приготовленного контрольного раствора при 25 °C, мВ |
СТ-ОВП-01-1 | Дигидрофосфат калия (KH2PO4); | 3,388 | (298 +/- 3) |
моногидрофосфат натрия (Na2HPO4) (флакон N 1); | 3,533 |
хингидрон (C12H10O4) (флакон N 2) | 4,0 |
СТ-ОВП-01-2 | Тетраоксалат калия 2-водный [KH3(C2O4)2·2H2O] (флакон N 1); | 12,610 | (605 +/- 3) |
хингидрон (C12H10O4) (флакон N 2) | 4,0 |
Примечание - Содержимое флакона N 1 стандарт-титра СТ-ОВП-01-1 представляет собой стандарт-титр для приготовления 1 дм3 контрольного раствора pH с pH = (6,86 +/- 0,01) при температуре 25 °C. Содержимое флакона N 1 стандарт-титра СТ-ОВП-01-2 представляет собой стандарт-титр для приготовления 1 дм3 контрольного раствора pH с pH = (1,65 +/- 0,01) при температуре 25 °C. |
А.2 Приготовление контрольного раствора для воспроизведения окислительно-восстановительного потенциала
А.2.1 Контрольный раствор для воспроизведения ОВП - рабочий эталон 2-го разряда - готовят растворяя содержимое стандарт-титра в дистиллированной воде по
ГОСТ 6709 (далее - вода) с удельной электрической проводимостью не более 5·10
-4 См·м
-1. При приготовлении раствора используют мерную колбу 2-го класса по
ГОСТ 1770 (далее - колба).
Примечание - Для приготовления раствора со значением pH > 6 (т.е. из стандарт-титра СТ-ОВП-01-1) используют воду, не содержащую диоксида углерода. Для этого необходимо воду прокипятить (1 дм3 воды кипятят не менее 1 ч) и охладить до температуры от 25 °C до 30 °C. При подготовке стеклянной посуды не допускается использовать синтетические моющие средства.
А.2.2 Предварительно готовят буферный раствор pH.
Для этого содержимое флакона N 1 количественно переносят в колбу следующим образом:
- извлекают флакон из упаковки;
- в мерную колбу вместимостью 1 дм3 вставляют воронку;
- вскрывают флакон, высыпают содержимое полностью в колбу, наливают воду, взбалтывают, промывные воды сливают в колбу.
Заполняют колбу водой примерно на две трети объема, взбалтывают до полного растворения содержимого.
Заполняют колбу водой, не доводя объем воды до метки примерно на 5 - 10 см3. В течение 15 - 20 мин термостатируют колбу в жидкостном термостате при температуре (25 +/- 0,2) °C.
Доводят водой объем раствора в колбе до метки, закрывают пробкой и тщательно перемешивают содержимое.
Срок хранения приготовленного буферного раствора pH - 2 мес.
А.2.3 Контрольный раствор ОВП готовят насыщением предварительно приготовленного контрольного раствора pH хингидроном из флакона N 2.
Для этого предварительно приготовленный контрольный раствор pH переносят в колбу вместимостью 2 дм3 (для облегчения встряхивания при перемешивании), вскрывают флакон N 2 с хингидроном, высыпают его в колбу с приготовленным раствором и проводят насыщение раствора в течение 2 ч при непрерывном перемешивании. После этого раствор фильтруют.
Примечание - Для более экономного расходования стандарт-титра СТ-ОВП-1 допускается приготовление уменьшенного количества контрольного раствора ОВП. Для этого отмеряют мерным стаканом или мерным цилиндром 0,5 дм3 предварительно приготовленного контрольного раствора pH и переносят его в колбу вместимостью 1 дм3. Из флакона N 2 отбирают, предварительно взвесив, 2 г хингидрона и всыпают его в налитый раствор. Проводят насыщение раствора в течение 2 ч при непрерывном перемешивании. После этого раствор фильтруют и используют не более 5 ч.
А.3 Хранение контрольных растворов
Контрольные растворы должны быть использованы в течение 5 ч после приготовления и хранению не подлежат.
(обязательное)
МЕТОДИКА ПРИГОТОВЛЕНИЯ НАСЫЩЕННОГО РАСТВОРА ХЛОРИДА КАЛИЯ
Б.1 Навеску хлорида калия по
ГОСТ 4234 массой (156,5 +/- 0,5) г переносят в мерную колбу вместимостью 500 см
3.
Б.2 Наливают в колбу дистиллированную воду по
ГОСТ 6709 до метки.
Б.3 Термостатируют колбу при температуре (25 +/- 2) °C не менее 4 ч, периодически перемешивая водную суспензию хлорида калия.
Б.4 Полученный насыщенный раствор хлорида калия используют для заполнения электролитического ключа.
Б.5 Срок хранения раствора - не более 6 мес.
(обязательное)
СХЕМА УСТАНОВКИ ДЛЯ ИЗМЕРЕНИЙ
ОКИСЛИТЕЛЬНО-ВОССТАНОВИТЕЛЬНОГО ПОТЕНЦИАЛА ПОВЕРЯЕМОГО
ЭЛЕКТРОДА
1 - термостат; 2 - термометр; 3 - сосуд; 4 - термометр;
5 - поверяемый электрод; 6 - электрод сравнения;
7 - электролитический ключ с насыщенным раствором хлорида
калия; 8 - мультиметр; 9 - магнитная мешалка
Рисунок В.1 - Схема установки для определения потенциала
электрода в контрольном растворе
| Рекомендации по межгосударственной стандартизации | Государственная система обеспечения единства измерений. Документы на методики поверки средств измерений. Основные положения |
| Стандарт американского общества по испытанию материалов ASTM D 1498-07 | Standard test method for oxidation-reduction potential of water (Стандартный метод определения окислительно-восстановительного потенциала воды) |
УДК 550.257.1.085:006.354 | |
Ключевые слова: электрод, поверка, окислительно-восстановительная реакция, окислительно-восстановительный потенциал |