Главная // Актуальные документы // ГОСТ (Государственный стандарт)СПРАВКА
Источник публикации
М.: Стандартинформ, 2014
Примечание к документу
Текст данного документа приведен с учетом
поправки, опубликованной в "ИУС", N 10, 2015.
Документ
введен в действие с 01.01.2015.
Название документа
"ГОСТ 32561-2013 (ISO 10329:2009). Межгосударственный стандарт. Уголь каменный. Метод определения пластических свойств на пластометре Гизелера с постоянным вращающим моментом"
(введен в действие Приказом Росстандарта от 22.11.2013 N 1979-ст)
"ГОСТ 32561-2013 (ISO 10329:2009). Межгосударственный стандарт. Уголь каменный. Метод определения пластических свойств на пластометре Гизелера с постоянным вращающим моментом"
(введен в действие Приказом Росстандарта от 22.11.2013 N 1979-ст)
по техническому регулированию
и метрологии
от 22 ноября 2013 г. N 1979-ст
МЕЖГОСУДАРСТВЕННЫЙ СТАНДАРТ
УГОЛЬ КАМЕННЫЙ
МЕТОД ОПРЕДЕЛЕНИЯ ПЛАСТИЧЕСКИХ СВОЙСТВ
НА ПЛАСТОМЕТРЕ ГИЗЕЛЕРА С ПОСТОЯННЫМ ВРАЩАЮЩИМ МОМЕНТОМ
(ISO 10329:2009, MOD)
ГОСТ 32561-2013
(ISO 10329:2009)
Дата введения
1 января 2015 года
Цели, основные принципы и порядок проведения работ по межгосударственной стандартизации установлены
ГОСТ 1.0-92 "Межгосударственная система стандартизации. Основные положения" и
ГОСТ 1.2-2009 "Межгосударственная система стандартизации. Стандарты межгосударственные, правила и рекомендации по межгосударственной стандартизации. Правила разработки, принятия, применения, обновления и отмены"
1. ПОДГОТОВЛЕН Федеральным государственным унитарным предприятием "Всероссийский научно-исследовательский центр стандартизации, информации и сертификации сырья, материалов и веществ" (ФГУП "ВНИЦ СМВ") совместно с Федеральным государственным унитарным предприятием "Восточный научно-исследовательский углехимический институт" (ФГУП "ВУХИН") на основе собственного перевода международного стандарта ISO 10329:2009 на русский язык.
2. ВНЕСЕН Федеральным агентством по техническому регулированию и метрологии.
3. ПРИНЯТ Межгосударственным советом по стандартизации, метрологии и сертификации (протокол от 14 ноября 2013 г. N 44-2013)
За принятие стандарта проголосовали
Краткое наименование страны по МК (ИСО 3166) 004-97 | Код страны по МК (ИСО 3166) 004-97 | Сокращенное наименование национального органа по стандартизации |
Армения | AM | Минэкономики Республики Армения |
Беларусь | BY | Госстандарт Республики Беларусь |
Россия | RU | Росстандарт |
Узбекистан | UZ | Узстандарт |
4. Настоящий стандарт модифицирован по отношению к международному стандарту ISO 10329:2009 Hard coal. Determination of plastic properties. Gieseler plastometer method (Уголь. Определение пластических свойств. Метод пластометра Гизелера с постоянным вращающим моментом) путем внесения технических отклонений, идентифицированных и разъясненных во
введении.
Международный стандарт разработан Техническим комитетом ISO/TS 27 "Твердое минеральное топливо", Подкомитетом SC 5 "Методы анализа"
Перевод с английского языка (en).
Сведения о соответствии ссылочных международных стандартов межгосударственным стандартам приведены в дополнительном
приложении D.
Степень соответствия - модифицированная (MOD).
5.
Приказом Федерального агентства по техническому регулированию и метрологии от 22 ноября 2013 г. N 1979-ст межгосударственный стандарт ГОСТ 32561-2013 (ISO 10329:2009) введен в действие в качестве национального стандарта Российской Федерации с 1 января 2015 г.
6. ВВЕДЕН ВПЕРВЫЕ
Информация об изменениях к настоящему стандарту публикуется в ежегодном информационном указателе "Национальные стандарты", а текст изменений и поправок - в ежемесячном информационном указателе "Национальные стандарты". В случае пересмотра (замены) или отмены настоящего стандарта соответствующее уведомление будет опубликовано в ежемесячном информационном указателе "Национальные стандарты". Соответствующая информация, уведомление и тексты размещаются также в информационной системе общего пользования - на официальном сайте Федерального агентства по техническому регулированию и метрологии в сети Интернет
Международный стандарт ISO 10329:2009 разработан техническим комитетом ISO/NS 27, "Твердое минеральное топливо", Подкомитетом SC 5 "Методы анализа".
Настоящий межгосударственный стандарт является модифицированным по отношению к международному стандарту ISO 10329:2009 при следующих условиях, которые идентифицированы и разъяснены ниже, а именно:
- Наименование настоящего стандарта изменено относительно наименования межгосударственного стандарта в связи с:
- особенностями построения межгосударственной системы стандартизации;
| | ИС МЕГАНОРМ: примечание. В официальном тексте документа, видимо, допущена опечатка: стандарт имеет номер ГОСТ 25543-88, а не ГОСТ 25543-98. | |
- заменой термина "уголь" на "каменный уголь". В странах СНГ действует межгосударственный стандарт
ГОСТ 25543-98 "Уголь бурый, каменный и антрациты. Классификация по генетическим и технологическим параметрам", в соответствии с которым угли делят на бурые и каменные в зависимости от степени их метаморфизма, а за рубежом - на угли (подразумевая каменные) и лигниты. Учитывая, что настоящий метод предназначен только для каменных углей, в стандарт внесено уточнение;
- учитывая, что сборник стандартов на отбор и подготовку проб углей и кокса ISO 13909-1 - 13909-8 и ISO 18283 находятся на стадии подготовки - до их введения допущено применение межгосударственного стандарта -
ГОСТ 10742 "Угли бурые, каменные, антрацит, сланцы горючие и брикеты каменноугольные. Отбор и подготовка проб для лабораторных испытаний";
- в
раздел "аппаратура", п. 5.2 для повышения точности измерений скорости вращения барабана с делениями и снижения трудоемкости их проведения допускается использование других технических средств, отвечающих требованиям стандарта по диапазону измерения и погрешности;
-
раздел "обработка результатов" пункт 10.3 - в отчет об испытаниях допускается по согласованию сторон не включать показатель "конечной температуры текучести", т.к. выявлена трудность его определения с достаточной точностью на углях, используемых в России.
Настоящий стандарт устанавливает метод оценки способности каменного угля переходить в пластическое состояние при нагревании в заданных условиях. Метод предназначен для определения значений показателей пластичности углей и их смесей, используемых для коксования и для других целей, где способность углей переходить в пластическое состояние имеет практическое значение.
Примечание - Настоящий метод испытания имеет эмпирический характер и требует надлежащей калибровки оборудования, чтобы обеспечить правильную оценку текучести угля наиболее полно характеризующую относительное пластическое состояние.
Для применения настоящего стандарта необходимы следующие ссылочные документы. Для датированных ссылок применяют только указанное ниже издание ссылочного документа, а для недатированных ссылок применяют последнее издание ссылочного нормативного документа (включая все его издания).
ISO 18283 Hard coal and coke - Manual sampling (Уголь каменный и кокс. Ручной отбор проб)
ISO 13909-1 Hard coal and coke - Mechanical sampling - Part 1: General introduction (Каменный уголь и кокс. Механический отбор проб. Часть 1. Общие требования)
ISO 13909-2 Hard coal and coke - Mechanical sampling - Part 2: Coal - Preparation from moving streams (Каменный уголь и кокс. Механический отбор проб. Часть 2. Уголь. Отбор проб из движущихся потоков)
ISO 13909-3 Hard coal and coke - Mechanical sampling - Part 3: Coal - Preparation from moving streams (Каменный уголь и кокс. Механический отбор проб. Часть 3. Уголь. Отбор проб из неподвижных партий)
ГОСТ 10742-71 Угли бурые, каменные, антрацит, горючие сланцы и угольные брикеты. Методы отбора и подготовки проб для лабораторных испытаний
Примечание - При пользовании настоящим стандартом целесообразно проверить действие ссылочных стандартов в информационной системе общего пользования - на официальном сайте Федерального агентства по техническому регулированию и метрологии в сети Интернет или по ежегодному информационному указателю "Национальные стандарты", который опубликован по состоянию на 1 января текущего года, и по выпускам ежемесячного информационного указателя "Национальные стандарты" за текущий год. Если ссылочный стандарт заменен (изменен), то при пользовании настоящим стандартом следует руководствоваться заменяющим (измененным) стандартом. Если ссылочный стандарт отменен без замены, то положение, в котором дана ссылка на него, применяется в части, не затрагивающей эту ссылку.
В настоящем стандарте применяют следующие термины с соответствующими определениями:
3.1 количество круговых делений в минуту (dial division per minute): Скорость вращения мешалки, используемой в этом методе.
Примечание - Один полный оборот мешалки (360°) разделен на 100 делений. Показатель текучести характеризуется скоростью вращения мешалки, выраженной количеством круговых делений (проходящих мимо неподвижного объекта) в минуту (кд/мин).
3.2 начальная температура размягчения (initial softening temperature): Температура, при которой скорость вращения мешалки, медленно нарастая, достигает значения 1 кд/мин и затем не снижается достаточно длительное время.
3.3 максимальная температура текучести (maximum fluidity temperature):
Температура, при которой скорость вращения мешалки достигает максимального значения.
3.4 диапазон пластичности (plastic range): Разность между начальной температурой размягчения и температурой затвердевания.
3.5 конечная температура текучести (final fluidity temperature): Температура, при которой скорость вращения мешалки превосходит значение 1 кд/мин.
3.6 температура затвердевания (solidification temperature): Температура, при которой мешалка останавливается.
3.7 максимальная текучесть (maximum fluidity): Максимальная скорость вращения мешалки в единицах кд/мин.
3.8 заклинивание (jamming): Вспучивание угля в кожухе реторты во время испытания, которое может привести к занижению результата определения текучести против ожидаемого и может быть обнаружено только после осмотра разобранной реторты по окончании испытания.
3.9 неисправность (breaking): Вращение мешалки с большой скоростью или рывками, которое происходит вследствие расплавления пробы угля и налипания расплава на вал мешалки и лопасти. Это делает невозможным определение истинного значения текучести.
Измерение пластических свойств угля осуществляется путем непрерывного измерения и регистрации скорости вращения мешалки, запрессованной вместе с угольной загрузкой в тигель. Тигель помещен в ванну, нагреваемую с постоянной скоростью подъема температуры и непрерывной ее регистрацией. Вращение мешалки осуществляется двигателем с постоянным заданным вращающим моментом.
5.1 Реторта пластометра Гизелера, состоит из следующих частей (см.
рисунок 1).
Размеры в миллиметрах
1 - тигель; 2 - крышка тиглей; 3 - направляющая втулка;
4 - трубка отвода газа; 5 - цилиндрический кожух;
6 - металлическая мешалка; a - диаметр муфты (подгоняется
по месту); b - угол при вершине 70 °C; c - 16 мм зазор
между нижней лопастью и дном тигля
Рисунок 1 - Реторта в сборе
5.1.1 Тигель реторты цилиндрический с внутренним диаметром (21,4 +/- 0,1) мм и глубиной (35,0 +/- 0,3) мм. В верхней части тигля нарезана наружная резьба для соединения с крышкой.
Тигель должен иметь в центре дна коническое углубление с углом при вершине 70° и диаметром по поверхности дна (2,38 +/- 0,2) мм, которое служит опорой мешалки.
5.1.2 Крышка тигля реторты имеет внутреннюю резьбу для соединения крышки тигля с ретортой и внешнюю резьбу для соединения с кожухом реторты.
Внутренний диаметр отверстия в крышке, через которую проходит мешалка, должен быть (9,5 +/- 0,1) мм.
5.1.3 Направляющая втулка запрессована в кожух около верхнего края мешалки и имеет зазор по отношению к валу мешалки от 0,05 до 0,10 мм
5.1.4 Отверстие в кожухе на середине его длины служит для удаления летучих веществ. При желании в него может быть установлена трубка.
5.1.5 Цилиндрический кожух длиной (121,0 +/- 2,5) мм с внутренним диаметром (9,5 +/- 0,1) мм. Верхний конец кожуха должен иметь внутренний диаметр 12,7 мм и глубину, достаточную для установки направляющей втулки, через которую проходит мешалка, когда реторта собрана.
5.1.6 Стальная мешалка снабженная прямым валом диаметром (3,95 +/- 0,05) мм и оснащенная четырьмя лопастями.
Нижний конец мешалки должен быть заострен на конус под углом 60°. Лопасти на мешалке должны быть диаметром (1,60 +/- 0,05) мм, длиной (6,4 +/- 0,05) мм и размещены перпендикулярно к валу под углом 90°. Ось каждой следующей лопасти должна быть повернута по отношению к оси предыдущей лопасти на угол 90° и удалена от нее на расстояние (3,2 +/- 0,05) мм. Две средние лопасти мешалки и две крайние должны быть установлены под углом 180° друг к другу. Нижняя лопасть устанавливается с зазором в (1,60 +/- 0,05) мм между ней и дном тигля в неподвижном положении мешалки. Верхний конец мешалки должен быть срезан на нижнем конце оси привода для подгонки к прорези.
Лопасти мешалки должны быть чистыми, не иметь видимых повреждений и проверяться перед каждым испытанием. Размеры лопастей на мешалке должны отвечать, требованиям настоящего стандарта, (см.
рисунок 2) и регулярно проверяться. Например, после каждых 50 определений. Если будет выявлено, что какой-либо размер вне установленных пределов, лопасти заменяют или мешалку бракуют.
Рисунок 2 - Лопасти металлической мешалки
Головка пластометра, показанная схематично на
рисунке 3, состоит из двигателя с постоянным числом оборотов (приблизительно от 300 до 500 об/мин), соединенного непосредственно с электромагнитной муфтой или гистерезисным тормозом, способным к регулированию вращающего момента в разумных пределах относительно среднего значения 101,6 г см (9,66 Ньютона м). На ведомом валу тормоза сцепления расположен барабан с делениями. Один полный оборот барабана градуируют на 100 делений составляющих 360°. Каждый полный оборот барабана или 100 делений хода должны быть зарегистрированы на счетчике, приводимом в действие электронным индикатором или другим подходящим методом.
1 - мотор; 2 - муфта сцепления или тормоз;
3 - барабан с делениями или электронный сенсор;
4 - вал; 5 - реторта в сборе
Рисунок 3 - Схематическое изображение головки пластометра
Как альтернатива, применяют электронный прибор, способный к измерению скоростей вращения между значениями от 0,01 до 300 об/мин, который может быть присоединен к ведомому валу тормоза или муфте. Используя электронный прибор, скорость вращения может быть преобразована непосредственно в величины кд/мин, и отображаться или регистрироваться на электронном приборе для считывания или на принтере.
Примечание:
1 Необходима осторожность при эксплуатации и смазке всех подшипников, особенно после того, как прибор использовался для испытаний угля с большим выходом летучих веществ. Использование подшипников в закрытом исполнении нежелательно из-за увеличенного трения и износа по сравнению с подшипниками с открытой обоймой. При использовании открытых подшипников необходима их регулярная чистка и замена.
2 Допускается применение любых электронных или электромеханических устройств при условии, что они обеспечивают:
- скорость вращения мешалки в пределах

оборотов в минуту;
- заданный момент вращения мешалки (101,6 +/- 5) гсм при любом числе оборотов в пределах от 0,01 до 300 об/мин;
- возможность измерения и регистрации скорости вращения мешалки в пределах от 0,01 до 300 об/мин в единицах радиан в минуту или (путем пересчета) в эквивалентных им единицах кд/мин с погрешностью не более +/- 0,5 кд/мин;
- соответствие показаний устройства калибровке по
разделу 6 настоящего стандарта.
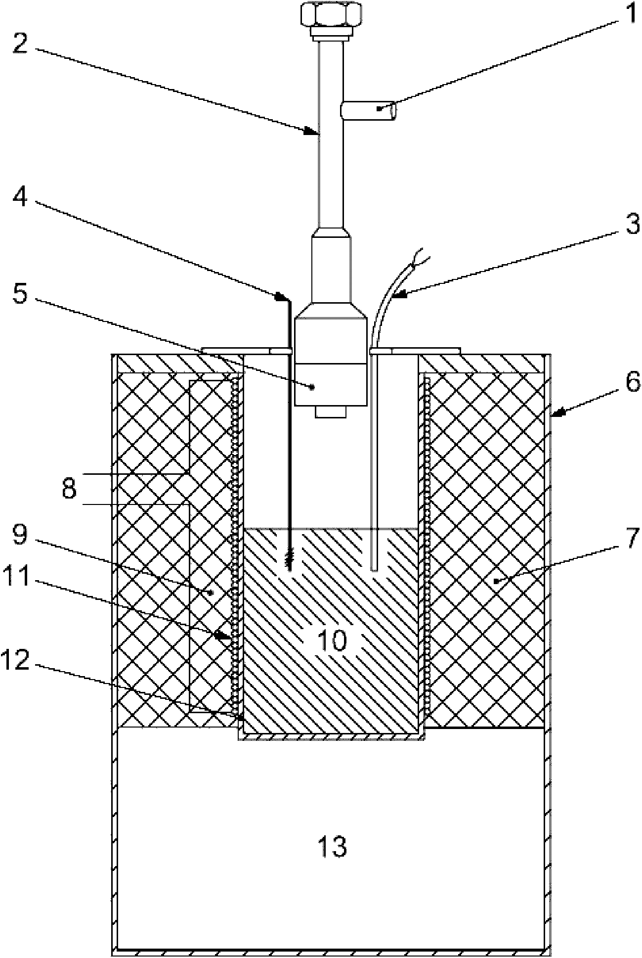
5.3 Печь с электрическим обогревом
Печь с электрическим нагревателем и терморегулятором (см.
рисунок 4) обеспечивающая скорость нагрева (3,0 +/- 0,1) °C/мин во всем диапазоне, но не более, чем (3 +/- 1) °C в течение любой данной минуты. Допускается контроль температуры в интервале 300 °C - 550 °C по любому 5-минутному интервалу. Повышение температуры за этот интервал должно составлять не более (15 +/- 1) °C.
1 - трубка для выхода газа; 2 - цилиндрический кожух;
3 - чехол термопары; 4 - мешалка ванны; 5 - тигель реторты;
6 - кожух печи; 7 - теплоизоляция; 8 - выход на контроль
нагрева; 9 - обмотка нагревателя; 10 - ванна припоем;
11 - слой изолятора (слюда); 12 - корпус ванны
из низкоуглеродистой стали; 13 - блок из огнеупора
Рисунок 4 - Схема печи и реторты
Печь должна иметь ванну с расплавленным припоем состоящим приблизительно из 50% свинца и 50% олова. Температура в ванне измеряется термопарой в защитном чехле наружным диаметром приблизительно 6 мм, помещенном в ванну так, чтобы чехол касался наружной стенки тигля, а горячий спай термопары находился на высоте центра угольной загрузки тигля. Для перемешивания припоя следует использовать отдельную мешалку.
5.4 Загрузочное устройство
Загрузочное устройство должно обеспечивать равномерную загрузку угля в тигель. Уголь должен быть уплотнен грузом массой 10 кг. Устройство должно быть сконструировано таким образом, чтобы после загрузки тигель можно было легко удалить из устройства не потревожив его содержимое. Устройство показанное на
рисунке 5, имеет статический груз 9 кг и груз падения 1 кг, который падает двенадцать раз с высоты 115 мм.
Примечание - Статический вес в 9 кг - это общий вес всех неподвижных частей устройства, опирающихся на угольную загрузку.
1 - падающий груз (1 кг); 2 - статический груз (9 кг);
3 - шток скольжения; 4 - обойма; 5 - уплотняющая головка
(подогнана к диаметру тигля с зазором 0,5 мм);
6 - тигель с загрузкой и мешалкой
Рисунок 5 - Типовое загрузочное устройство
Вращающий момент должен быть проверен методом шкива с нитью, (См.
рисунок 6). В этом методе шкив, расположенный горизонтально, закреплен на специальном шпинделе, соединенном с источником вращающего момента (двигателем пластометра, тормозом или указателем вращающего момента). Шкив имеет диаметр по канавке 50,8 мм (радиус 25,4 мм). Нить, охватывающая этот шкив переходит на шкив, расположенный вертикально и свисает с него. К концу нити приложен груз 40 г. При включенном двигателе пластометра показание момента вращения должно быть равно (101,6 +/- 5) г см [(40 +/- 2) г дюйм)]. Все приборы должны проверяться данным способом с определенной периодичностью с проведением лабораторных тестов на стабильность или правильность вращающего момента.
Альтернативно, вращающий момент может быть проверен подходящим датчиком или преобразователем, если их использование было подтверждено методом шкива и нити.
Примечание - Метод шкива/нити - единственный способ надежной оценки вращающего момента.
Размеры в миллиметрах
1 - ведущий шкив; 2 - отверстие в центре для подгонки
положения шкива на оси; 3 - точка прикрепления нити к шкиву;
4 - направление вращения; 5 - стопорный винт;
6 - передаточный шкив (алюминий); 7 - поддерживающий вал
передаточного шкива; 8 - ось с прорезью; 9 - закрытый
шарикоподшипник; 10 нить шкива, выдерживающая нагрузку 3 кг;
11 - прикрепленный груз (40 +/- 0,1) г. Все углы между нитью
и осевыми линиями равны 90°.
Рисунок 6 - Шкивное приспособление для калибровки
момента вращения
Отбирают репрезентативную большую пробу угля в соответствии с ISO 18283, ISO 13909-1, ISO 13909-2 и ISO 13909-3.
Допускается отбор проб по ГОСТ 10742.
Приблизительно 4 кг угля измельчают так, чтобы он прошел через сито 4,75 мм. Это составит лабораторную пробу, которая должна быть репрезентативной для проверяемой партии. Раскладывают лабораторную пробу на лотке, и сушат до равновесного состояния с атмосферой лаборатории. Сушка не должна быть длительной, чтобы пластические свойства угля не изменилась за счет его окисления. Температура сушки не должна превышать 40 °C. После естественной сушки до равновесного состояния, пробу делят на порции приблизительно по 500 г, от одной из которых отбирают одну четверть и измельчают последовательными шагами дробление - просеивание так, чтобы получить продукт крупностью менее 425 мкм. При этом выход класса крупности менее 212 мкм в измельченном образце не должно превышать 50% от его массы.
Полученную пробу тщательно перемешивают, предпочтительно механическим способом, и отбирают малыми порциями из разных мест не менее 5 г угля. Определение пластических свойств проводят в двух навесках не позднее, чем через 8 ч после подготовки пробы, прошедшей через сито 425 мкм. Следует избегать задержек с выполнением испытания, поскольку пластические свойства угля могут существенно измениться за счет его окисления. Чтобы предотвратить окисление подготовленных образцов используют охлаждение или инертные газы.
8.1 Устанавливают величину момента вращения равной (101,6 +/- 5,0) г см.
8.2 Помещают тигель с мешалкой в загрузочное устройство (См.
рисунок 5). При этом статический груз и падающая гиря должны быть сняты. Засыпают 5 г подготовленного угля в тигель. Вращая мешалку пальцами устанавливают ее в тигель с навеской. Затем устанавливают уплотняющую головку и обойму вместе с основанием. Продолжают осторожно вращать мешалку, чтобы пустоты под лопастями заполнились углем. Устанавливают статический груз на место, убедившись, что его вес полностью передается на угольную загрузку. Уплотняют загрузку падением гири 1 кг на статический груз с высоты 115 мм 12 раз.
Примечание - Для углей, плохо поддающихся трамбованию, допускается добавление 1 - 3 капель толуола или смазочного масла на вал мешалки вблизи поверхности угля. Добавку следует вносить до установки груза. В очень сухой уголь можно добавить несколько капель воды и тщательно перемешать до загрузки в тигель.
8.3 Вынимают тигель из загрузочного устройства и навинчивают крышку тигля. Следует соблюдать особую осторожность, чтобы не нарушить положение мешалки в угле. Ввинчивают тигель и мешалку в кожух реторты. Вал мешалки должен центрироваться в направляющей втулке. Соединяют собранную реторту с головкой пластометра. Следует убедиться, что верхний конец мешалки вошел в шлиц вала привода. Чтобы предотвратить заклинивание, нужно убедиться, что между верхом мешалки и верхом паза привода есть зазор не менее 1 мм. Соединяют накидной гайкой реторту с головкой пластометра.
8.4 Опускают собранную реторту в печь так, чтобы дно тигля погрузилось в ванну с жидким припоем, нагретым до 300 °C на глубину 75 мм. Помещают термопару в ванну с припоем в соответствии с
5.3. Нагреватель должен иметь такую мощность, чтобы температура в ванне, снизившаяся после погружения реторты, восстановилась до исходного уровня не менее, чем за (10 +/- 2) мин. После восстановления исходной температуры продолжают нагревать ванну со скоростью (3 +/- 0,1) °C в минуту на общих основаниях. Отмечают температуру, при которой измерительное устройство покажет скорость вращения 1 кд/мин,. Продолжают регистрировать температуру и скорость вращения с интервалом в 1 мин, пока вращение не прекратится.
9.1 Следует очищать мешалку и реторту от углеродистых остатков после каждого испытания.
9.2 Если после испытания внутренний диаметр трубки для выхода газа уменьшился, то его увеличивают.
9.3 Шарикоподшипники после каждых ста испытаний следует чистить и слегка смазывать маслом или заменять.
9.4 Необходимо проверять кожух термопары после каждых ста испытаний, чтобы убедиться, что он не подвержен действию коррозии.
10.1 Наблюдения, касающиеся скорости вращения мешалки, должны быть пересчитаны в единицы кд/мин.
Текучесть каменных углей изменяется в широких пределах и поэтому, удобно нанести значения кд/мин по оси ординат в логарифмической шкале, а значения температуры по оси абсцисс в не логарифмической шкале.
10.2 Все испытания повторяют дважды и приводят среднеарифметические значения.
10.3 Отчет должен включать следующие данные:
a) Характерные температуры, округленные до 1 °C:
- исходная температура размягчения;
- максимальная температура текучести;
- температура затвердевания <*>;
- область пластичности.
b) Максимальную текучесть (кд/мин) (среднеарифметическое значение) округляют в зависимости от ее величины и представляют с точностью:
1) до 1 кд/мин - между 0 кд/мин и 100 кд/мин;
2) до 10 кд/мин - между 100 кд/мин и 1 000 кд/мин;
3) до 100 кд/мин - между 1 000 кд/мин и 10 000 кд/мин;
4) до 1000 кд/мин - для значений более чем 10 000 кд/мин;
c) максимальную текучесть, желательно представлять, в виде десятичного логарифма с двумя десятичными знаками, всякий раз, когда максимальная текучесть больше, чем 1,0 кд/мин.
d) ссылку на настоящий стандарт.
e) даты, отбора угля и выполнения испытания.
f) сообщение о том, что, максимальная текучесть не могла быть определена с указанием причин.
11.1 Повторяемость
При проведении дубликатных испытаний, выполненных в разное время в одной и той же лаборатории, тем же оператором с применением того же оборудования, на представительных частях, взятых от одной и той же пробы после последней стадии процесса измельчения, для всех характерных температурных точек расхождения не должны превышать 7 °C. Аналогично, логарифмы максимальных значений текучести, кд/мин, дубликатных испытаний должны соответствовать значениям повторяемости, приведенными в
таблице 1.
Если расхождения между двумя определениями превышают значения повторяемости, указанные в
таблице 1, должна быть проведена повторная серия дубликатных определений. Если разность между вторым набором дубликатных определений превышает значения повторяемости, приведенные
таблице 1, то принимается среднеарифметическое значение всех четырех определений.
Таблица 1
Допускаемые расхождения между повторными определениями
Определяемые характеристики | Повторяемость (в одной лаборатории) log10 кд/мин | Воспроизводимость (в разных лабораториях) log10 кд/мин |
Максимальная текучесть кд/мин: |
менее 20; | 0,3 | 0,7 |
от 20 до 10 000 включ | 0,1 | 0,3 |
более 10 000 | 0,2 | 0,4 |
Температурные точки, °C | 7 | 20 |
Если есть подозрение, что испытание неверное (подозревается заклинивание), что могло произойти в течение первого или второго набора дубликатных определений, то должен быть выполнен третий набор дубликатных определений и проведен анализ с целью выявления причин брака.
11.2 Воспроизводимость
Из-за свойственной методу неточности (разбросу) изготовления испытательного оборудования, значения, указанные в
таблице 1 для воспроизводимости, условны, и установить узкие пределы очень трудно.
| | ИС МЕГАНОРМ: примечание. Нумерация приложения дана в соответствии с официальным текстом документа. | |
(Справочное)
СВЕДЕНИЯ О СООТВЕТСТВИИ ССЫЛОЧНЫХ МЕЖГОСУДАРСТВЕННЫХ
СТАНДАРТОВ С МЕЖДУНАРОДНЫМИ СТАНДАРТАМИ, ИСПОЛЬЗОВАННЫМ
В КАЧЕСТВЕ ССЫЛОЧНЫХ В МЕЖДУНАРОДНОМ СТАНДАРТЕ
ИСО 10329:2009
Обозначение ссылочного межгосударственного стандарта | Степень соответствия | Обозначение и наименование ссылочного международного стандарта |
| | Соответствующий аналогичный международный стандарт отсутствует |
- | | ISO 18283 <*>, Уголь каменный и кокс. Ручной отбор проб |
- | | ISO 13909-1 <*> Уголь каменный и кокс. Механический отбор проб. Часть 1. Общие положения |
- | | ISO 13909-2, Уголь каменный и кокс - Механический отбор проб - часть 2: Уголь - Отбор проб из движущегося потока. |
- | | ISO 13909-3, Уголь каменный и кокс - Механический отбор проб - Часть 3: Уголь - отбор проб от неподвижных партий. |
Примечание - До введение стандартов ISO в межгосударственные стандарты рекомендуется использовать их переводы на русский язык. Переводы данных межгосударственных стандартов находятся в Федеральном информационном фонде технических регламентов и стандартов, имеющимися в библиотеке "Стандартинформа". -------------------------------- |
УДК 662.6:543.812:006.354 | |
Ключевые слова: Уголь каменный, метод определения, пластические свойства угля, пластометр |