Главная // Актуальные документы // ГОСТ (Государственный стандарт)СПРАВКА
Источник публикации
М.: Стандартинформ, 2014
Примечание к документу
Текст данного документа приведен с учетом поправок, опубликованных в "ИУС",
N 10, 2015;
N 6, 2023.
Документ
введен в действие с 01.01.2015.
Название документа
"ГОСТ 32558-2013 (ISO 23499:2008). Межгосударственный стандарт. Уголь. Определение насыпной плотности"
(введен в действие Приказом Росстандарта от 26.12.2013 N 2337-ст)
"ГОСТ 32558-2013 (ISO 23499:2008). Межгосударственный стандарт. Уголь. Определение насыпной плотности"
(введен в действие Приказом Росстандарта от 26.12.2013 N 2337-ст)
агентства по техническому
регулированию и метрологии
от 26 декабря 2013 г. N 2337-ст
МЕЖГОСУДАРСТВЕННЫЙ СТАНДАРТ
УГОЛЬ
ОПРЕДЕЛЕНИЕ НАСЫПНОЙ ПЛОТНОСТИ
Coal. Determination of bulk density
(ISO 23499:2008, MOD)
ГОСТ 32558-2013
(ISO 23499:2008)
Дата введения
1 января 2015 года
Цели, основные принципы и порядок проведения работ по межгосударственной стандартизации установлены
ГОСТ 1.0-92 "Межгосударственная система стандартизации. Основные положения" и
ГОСТ 1.2-2009 "Межгосударственная система стандартизации. Стандарты межгосударственные, правила и рекомендации по межгосударственной стандартизации. Порядок разработки, принятия, применения, обновления и отмены".
1. Разработан Федеральным государственным унитарным предприятием "Всероссийский научно-исследовательский центр стандартизации, информации и сертификации сырья, материалов и веществ" (ФГУП "ВНИЦСМВ") на основе собственного аутентичного перевода на русский язык международного стандарта, указанного в
пункте 5.
2. Внесен Федеральным агентством по техническому регулированию и метрологии (ТК 179).
3. Принят Межгосударственным советом по стандартизации, метрологии и сертификации (Протокол от 3 декабря 2013 г. N 62-П).
За принятие стандарта проголосовали:
Краткое наименование страны по МК (ИСО 3166) 004-97 | Код страны по МК (ИСО 3166) 004-97 | Сокращенное наименование национального органа по стандартизации |
Армения | AM | Минэкономики Республики Армения |
Беларусь | BY | Госстандарт Республики Беларусь |
Казахстан | KZ | Госстандарт Республики Казахстан |
Россия | RU | Росстандарт |
Узбекистан | UZ | Узстандарт |
4.
Приказом Федерального агентства по техническому регулированию и метрологии от 26 декабря 2013 г. N 2337-ст межгосударственный стандарт ГОСТ 32558-2013 (ISO 23499:2008) введен в действие в качестве национального стандарта Российской Федерации с 1 января 2015 г.
5. Настоящий стандарт является модифицированным по отношению к международному стандарту ISO 23499:2008. Coal - Determination of bulk density (Уголь. Определение насыпной плотности). При этом дополнительные положения, включенные в текст стандарта для учета потребностей экономики и/или особенностей межгосударственной стандартизации, выделены курсивом.
Международный стандарт ISO 23499:2008 разработан Техническим комитетом ISO/TC 27 "Твердые минеральные топлива", подкомитетом 1 "Подготовка угля: Терминология и представление".
Перевод с английского языка (en).
Официальные экземпляры международных стандартов, на основе которых подготовлен настоящий межгосударственный стандарт и на которые даны ссылки, имеются в Федеральном агентстве по техническому регулированию и метрологии Российской Федерации.
Степень соответствия - модифицированная (MOD).
Ссылки на международные стандарты заменены в
разделе "Нормативные ссылки" и в тексте стандарта ссылками на соответствующие межгосударственные стандарты.
Сведения о соответствии межгосударственных стандартов ссылочным международным стандартам приведены в дополнительном
Приложении ДА.
6. Введен впервые.
Информация об изменениях к настоящему стандарту публикуется в ежегодном информационном указателе "Национальные стандарты", а текст изменений и поправок - в ежемесячном информационном указателе "Национальные стандарты". В случае пересмотра (замены) или отмены настоящего стандарта соответствующее уведомление будет опубликовано в ежемесячном информационном указателе "Национальные стандарты". Соответствующая информация, уведомление и тексты размещаются также в информационной системе общего пользования - на официальном сайте Федерального агентства по техническому регулированию и метрологии в сети Интернет.
Уголь, как сыпучая масса, характеризуется насыпной плотностью. Эту величину определяют путем взвешивания единицы объема свободно насыпанного угля (без уплотнения).
Насыпная плотность угля - величина относительная. Это выражается в том, что результат определения зависит от условий проведения испытания, от конструкции и размеров аппаратуры, способа загрузки угля и т.д.
При одинаковых условиях проведения испытания величина насыпной плотности угля зависит от влажности, гранулометрического состава пробы, действительной и кажущейся плотности.
В зависимости от этих факторов насыпная плотность угля изменяется в относительно широких пределах.
Стандартный метод определения насыпной плотности может быть разработан только для узкого круга объектов испытания. В соответствии с этим настоящий стандарт распространяется на измельченные угли или смеси углей (шихту), подготовленные для загрузки в коксовые печи, и устанавливает метод определения насыпной плотности в стандартной аппаратуре. Регламентированы конструкция и размеры конуса (бункера), приемного сосуда (мерной емкости) и высота сбрасывания (или скорость падения) угля из конуса в сосуд.
По требованию настоящего стандарта одновременно с определением насыпной плотности угля проводят ситовой анализ и определение общей влаги.
Определение насыпной плотности угольной загрузки необходимо для расчета работы коксовых печей. Известно, что насыпная плотность угольной загрузки влияет на физико-химические свойства кокса и на производительность коксовых печей.
Настоящий стандарт распространяется на измельченные каменные угли с размерами кусков менее 37 мм и устанавливает метод определения насыпной плотности углей или смеси углей (шихты), подготовленных для загрузки в коксовые печи. Определение насыпной плотности проводят путем засыпки материала в мерную емкость (контейнер) без уплотняющих усилий с использованием конуса (бункера).
Настоящий стандарт неприменим для определения насыпной плотности мелко измельченного или пылевидного энергетического угля и для определения насыпной плотности углей, хранящихся в штабелях.
В настоящем стандарте использованы нормативные ссылки на следующие межгосударственные стандарты:
ГОСТ ISO 589-2012 <*> Уголь каменный. Определение общей влаги
--------------------------------
<*> На территории РФ действует
ГОСТ Р 52911-2013 Топливо твердое минеральное. Определение общей влаги.
| | ИС МЕГАНОРМ: примечание. В официальном тексте документа, видимо, допущена опечатка: стандарт имеет номер ГОСТ ISO 13909-4-2018, а не ГОСТ ISO 13909-4-2012. | |
ГОСТ ISO 13909-4-2012 Уголь каменный и кокс. Механический отбор проб. Часть 4. Уголь. Подготовка проб для испытаний
ГОСТ 2093-82 Топливо твердое. Ситовый метод определения гранулометрического состава
ГОСТ 10742-71 Угли бурые, каменные, антрацит, горючие сланцы и угольные брикеты. Методы отбора и подготовки проб для лабораторных испытаний
| | ИС МЕГАНОРМ: примечание. ГОСТ 17070-87 утратил силу с 1 апреля 2016 года в связи с введением в действие ГОСТ 17070-2014 (Приказ Росстандарта от 20.05.2015 N 396-ст). | |
ГОСТ 17070-87 Угли. Термины и определения
ГОСТ 27313-95 (ISO 1170:1977) Топливо твердое минеральное. Обозначение показателей качества и формулы пересчета результатов анализа для различных состояний топлива.
Примечание. При пользовании настоящим стандартом целесообразно проверить действие ссылочных стандартов в информационной системе общего пользования - на официальном сайте Федерального агентства по техническому регулированию и метрологии в сети Интернет или по ежегодному информационному указателю "Национальные стандарты", который опубликован по состоянию на 1 января текущего года, и по выпускам ежемесячного информационного указателя "Национальные стандарты" за текущий год. Если ссылочный стандарт заменен (изменен), то при пользовании настоящим стандартом следует руководствоваться заменяющим (измененным) стандартом. Если ссылочный стандарт отменен без замены, то положение, в котором дана ссылка на него, применяется в части, не затрагивающей эту ссылку.
В настоящем стандарте используют термины и определения по ГОСТ 17070.
Обозначения показателей качества и индексы к ним - по
ГОСТ 27313.
Сущность метода заключается в том, что пробу измельченного угля или шихты загружают в конус (бункер), расположенный на определенной высоте над приемным сосудом, объем и массу которого предварительно определяют. После быстрого открытия затвора конуса уголь поступает в приемный сосуд (мерную емкость). Поверхность угля в сосуде разравнивают планкой и сосуд с углем взвешивают.
Насыпную плотность рассчитывают как отношение массы свеженасыпанного угля к его объему.
5.1. Мерная емкость (приемный сосуд), представляет собой контейнер в виде куба с ручками объемом (0,02837 +/- 0,00008) м3 (1 кубический фут), с внутренними размерами, равными 305 мм (1 фут). Емкость имеет жесткую конструкцию и гладкую внутреннюю поверхность. Точный объем емкости (м3) определяют, используя воду с известной плотностью.
Мерную емкость изготавливают из металла такой толщины, чтобы обеспечить достаточную прочность стенок и дна в условиях опыта. Минимальная рекомендуемая толщина стенок равна 3 мм.
Примечание. Внутренние размеры куба могут быть округлены с допустимым отклонением до 300 мм. Объем контейнера в этом случае составит приблизительно 0,027 м3. Важно знать точный объем мерной емкости, т.к. эта величина является определяющей при расчете насыпной плотности угля.
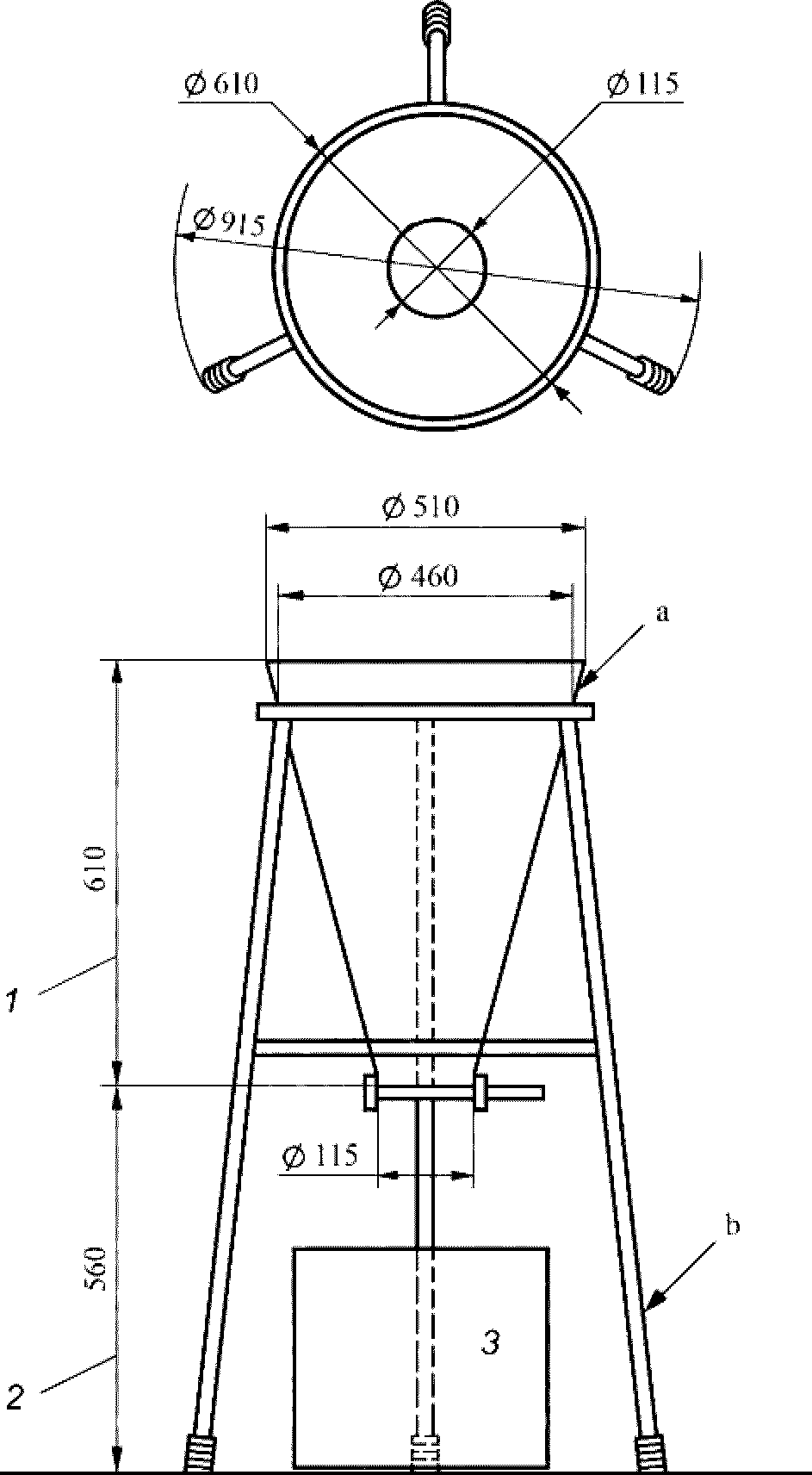
5.2. Конус, предназначен для наполнения углем мерной емкости (см.
рисунок 1). Размеры конуса: высота 610 мм, внутренний диаметр верхней части 510 мм, диаметр круглого отверстия на дне конуса 115 мм. Подвижный клапан конуса состоит из задвижки, которая представляет собой передвижную пластину, и опоры, приваренной к основанию конуса таким образом, чтобы клапан мог легко открываться и закрываться при движении задвижки по направляющим опоры. Конус помещают в каркас типа треноги, верхняя часть которого представляет собой кольцо с внутренним диаметром 460 мм. Конус вставляют в каркас таким образом, чтобы расстояние от верхней части задвижки до дна мерной емкости составляло 560 мм (см. рисунок 1).
Размеры в миллиметрах
а) аппарат в сборе
б) железная задвижка, установленная в основании бункера
в) регулируемая часть опоры бункера
1 - высота конуса; 2 - высота от железной задвижки
до дна мерной емкости; 3 - мерная емкость; 4 - гайка
регулировочная; 5 - гайка фиксирующая; 6 - болт М16;
a - сталь 1,6 мм; b - трубка с наружным диаметром 18 мм
Рисунок 1. Аппарат для определения насыпной плотности
угля с помощью конуса
5.3. Выравнивающая планка, представляет собой узкую стальную полосу с приблизительными размерами 760 x 40 x 5 мм.
5.4. Устройство для взвешивания, представляет собой платформу для взвешивания до 100 кг груза с пределом допускаемой погрешности 0,05 кг.
Во время приготовления пробы для определения насыпной плотности накапливаемые порции пробы должны храниться в герметично закрытом контейнере для предотвращения потери влаги. Минимальная масса пробы для определения насыпной плотности составляет 150 кг. Этого количества достаточно для проведения четырех испытаний и определения общей влаги.
6.2. Пробу угля для определения насыпной плотности тщательно перемешивают и делят, без измельчения, на четыре порции по 34 кг каждая в соответствии с
ГОСТ ISO 13909-4 или
ГОСТ 10742. Эту операцию проводят по возможности быстро для предотвращения потерь влаги и насыпную плотность угля определяют немедленно. Если испытание нельзя провести сразу, пробы хранят в герметичных водонепроницаемых контейнерах с плотно закрытыми крышками, причем пробы до испытания должны минимально соприкасаться с воздухом.
Примечание. Если проба состоит из угольной мелочи и в ходе испытания содержание общей влаги изменяется, расхождение между результатами определения насыпной плотности может быть значительным. Результат определения общей влаги должен быть представительным для пробы, приготовленной для определения насыпной плотности угля (раздел 6).
7.1. Конус, вставленный в каркас-треногу, помещают на горизонтальную поверхность (на металлическую пластину или на пол). Подготовленную пробу
(раздел 6) размещают на ровной поверхности и осторожно разравнивают лопатой или совком так, чтобы толщина слоя угля была около 100 мм. Следует избегать надавливания на уголь тыльной стороной лопаты или совка. Затем последовательно набирают полные лопаты или совки угля из равномерно распределенных точек на поверхности угля и осторожно ссыпают в конус, подходя к нему с разных сторон. Это предотвратит сегрегацию и уплотнение угля во время заполнения конуса. Загружают в конус около 34 кг угля.
7.2. Центр предварительно взвешенной мерной емкости
(5.1) располагают под клапаном конуса. Затем полностью открывают задвижку клапана, весь уголь высыпается в емкость и пересыпается через край. Если увлажненный уголь не высыпается свободно из бункера, осторожно проталкивают сверху вниз сквозь уголь выравнивающую планку
(5.3).
7.3. После заполнения мерной емкости
(5.1) осторожно удаляют излишки угля с одновременным выравниванием его поверхности движением выравнивающей планки
(5.3) в горизонтальной плоскости с ее опорой на края мерной емкости. При этом следят за тем, чтобы все углы мерной емкости были заполнены углем. Следует избегать сотрясения или передвижения наполненной емкости до тех пор, пока не будет удален весь лишний уголь. Мерную емкость помещают на платформу для взвешивания
(5.4) и взвешивают с пределом допускаемой погрешности 0,05 кг. Разность массы наполненной и пустой емкости представляет собой массу неуплотненного угля.
7.4. Проводят определение содержания общей влаги по ГОСТ ISO 589 и гранулометрического состава по
ГОСТ 2093. Результат определения влаги включают в протокол испытаний. Туда же включают результаты ситового анализа для правильной интерпретации величины насыпной плотности.
Пересчет результатов испытания на различные состояния топлива производят по
ГОСТ 27313.
Насыпную плотность угля

, выраженную в кг/м3, в расчете на сухое состояние угля, рассчитывают по формуле:

(1)
где

- масса чистой сухой мерной емкости, кг;

- масса наполненной мерной емкости, кг;
V - объем чистой сухой мерной емкости, м3;

- общая влага угля, %.
Насыпную плотность угля

, выраженную в кг/м3, в расчете на рабочее состояние угля, рассчитывают по формуле:

(2)
Каждый результат определения насыпной плотности, выраженный в кг/м3, рассчитывают с точностью до десятых долей.
Результат определения насыпной плотности, внесенный в протокол испытаний, представляет собой среднеарифметическое значение результатов двух параллельных определений, рассчитанное с точностью до целого числа.
Прецизионность метода характеризуется повторяемостью r и воспроизводимостью R полученных результатов.
9.1. Повторяемость
Результаты двух параллельных определений, проведенных в одной лаборатории одним и тем же исполнителем, с использованием одной и той же аппаратуры на представительных образцах, взятых из одной и той же пробы для испытания, не должны отличаться друг от друга более чем на 10,0 кг/м3.
Если результаты отличаются друг от друга более чем на 10,0 кг/м3, проводят два дополнительных определения. Если вторая пара результатов имеет удовлетворительную повторяемость, то первую пару результатов отбрасывают и конечный результат рассчитывают исходя из второй пары определений.
Если расхождение результатов обеих пар определений превышает 10,0 кг/м3, то для получения конечного результата рассчитывают среднее значение результатов четырех определений, при этом разница между минимальным и максимальным результатами должна быть менее 13,0 кг/м3. В противном случае все результаты аннулируют, выясняют и устраняют причину получения некорректных результатов и проводят два новых определения.
9.2. Воспроизводимость
Невозможно определить величину воспроизводимости результатов определения насыпной плотности угля в разных лабораториях, поскольку при перевозке проб возможно измельчение угля. Изменение гранулометрического состава пробы приведет к изменению результатов определения насыпной плотности угля.
Протокол испытаний должен содержать следующую информацию:
а) ссылку на настоящий стандарт;
б) идентификацию пробы;
в) результаты испытания, рассчитанные на сухое и рабочее состояния пробы;
г) содержание общей влаги и гранулометрический состав пробы.
(справочное)
О СООТВЕТСТВИИ МЕЖГОСУДАРСТВЕННЫХ СТАНДАРТОВ
ССЫЛОЧНЫМ МЕЖДУНАРОДНЫМ СТАНДАРТАМ
Таблица ДА.1
Обозначение и наименование международного стандарта | Степень соответствия | Обозначение и наименование межгосударственного стандарта |
ISO 589:2008. Уголь каменный. Определение общей влаги | IDT | ГОСТ ISO 589-2012. Уголь каменный. Определение общей влаги |
| | ИС МЕГАНОРМ: примечание. ГОСТ 17070-87 утратил силу с 1 апреля 2016 года в связи с введением в действие ГОСТ 17070-2014 (Приказ Росстандарта от 20.05.2015 N 396-ст). | |
|
ISO 1213-1:1993. Твердое минеральное топливо. Словарь. Часть 1: Термины, относящиеся к обогащению угля ISO 1213-2:1992. Твердое минеральное топливо. Словарь. Часть 2: Термины, относящиеся к отбору, испытанию и анализу проб | NEQ | ГОСТ 17070-87. Угли. Термины и определения |
ISO 1953:1994. Уголь каменный. Ситовой анализ | NEQ | ГОСТ 2093-82. Топливо твердое. Ситовой метод определения гранулометрического состава |
| | ИС МЕГАНОРМ: примечание. В официальном тексте документа, видимо, допущена опечатка: стандарт имеет номер ГОСТ ISO 13909-4-2018, а не ГОСТ ISO 13909-4-2012. | |
|
ISO 13909-4:2001. Каменный уголь и кокс. Механический отбор проб. Часть 4. Уголь. Подготовка проб для испытаний | IDT | ГОСТ ISO 13909-4-2012. Каменный уголь и кокс. Механический отбор проб. Часть 4. Уголь. Подготовка проб для испытаний |
NEQ | ГОСТ 10742-71. Угли бурые, каменные, антрацит, горючие сланцы и угольные брикеты. Методы отбора и подготовки проб для лабораторных испытаний |
Примечание. В настоящей таблице использованы следующие условные обозначения степени соответствия стандартов: - IDT - идентичные стандарты; - NEQ - неэквивалентные стандарты. |