Главная // Актуальные документы // ГОСТ (Государственный стандарт)СПРАВКА
Источник публикации
М.: Стандартинформ, 2014
Примечание к документу
Документ
введен в действие с 1 января 2015 года.
Название документа
"ГОСТ 32491-2013. Межгосударственный стандарт. Материалы геосинтетические. Метод испытания на растяжение с применением широкой ленты"
(введен в действие Приказом Росстандарта от 17.12.2013 N 2312-ст)
"ГОСТ 32491-2013. Межгосударственный стандарт. Материалы геосинтетические. Метод испытания на растяжение с применением широкой ленты"
(введен в действие Приказом Росстандарта от 17.12.2013 N 2312-ст)
агентства по техническому
регулированию и метрологии
от 17 декабря 2013 г. N 2312-ст
МЕЖГОСУДАРСТВЕННЫЙ СТАНДАРТ
МАТЕРИАЛЫ ГЕОСИНТЕТИЧЕСКИЕ
МЕТОД ИСПЫТАНИЯ НА РАСТЯЖЕНИЕ С ПРИМЕНЕНИЕМ ШИРОКОЙ ЛЕНТЫ
Geosynthetics. Tensile test with wide strip
(ISO 10319:2008, MOD)
ГОСТ 32491-2013
Дата введения
1 января 2015 года
Цели, основные принципы и основной порядок проведения работ по межгосударственной стандартизации установлены
ГОСТ 1.0-92 "Межгосударственная система стандартизации. Основные положения" и
ГОСТ 1.2-2009 "Межгосударственная система стандартизации. Стандарты межгосударственные, правила и рекомендации по межгосударственной стандартизации. Порядок разработки, принятия, применения, обновления и отмены".
1. Разработан Объединением юридических лиц "Союз производителей композитов".
2. Внесен Техническим комитетом по стандартизации ТК 465 "Строительство".
3. Принят Межгосударственным советом по стандартизации, метрологии и сертификации (МГС) (Протокол от 14 ноября 2013 г. N 44-2013).
За принятие проголосовали:
Краткое наименование страны по МК (ИСО 3166) 004-97 | Код страны по МК (ИСО 3166) 004-97 | Сокращенное наименование национального органа по стандартизации (по управлению строительством) |
Армения | AM | Минэкономики Республики Армения |
Киргизия | KG | Кыргызстандарт |
Россия | RU | Росстандарт |
Таджикистан | TJ | Таджикстандарт |
4.
Приказом Федерального агентства по техническому регулированию и метрологии от 17 декабря 2013 г. N 2312-ст межгосударственный стандарт ГОСТ 32491-2013 введен в действие в качестве национального стандарта Российской Федерации с 1 января 2015 г.
5. Настоящий стандарт модифицирован по отношению к международному стандарту ISO 10319:2008. Geosynthetics - Wide-width tensile test (Геосинтетика. Испытания на растяжение с применением широкой ленты) путем исключения нормативных ссылок на ISO 10318:2005, ISO 10321 и ISO 554.
Оформление графического материала приведено в соответствие с
ГОСТ 1.5.
Дополнительные фразы внесены в текст стандарта и выделены полужирным курсивом.
Измененные фразы выделены в тексте курсивом. Фразы изменены в целях соблюдения норм русского языка и принятой терминологии.
Перевод с английского языка (en).
Официальный экземпляр международного стандарта, на основе которого разработан настоящий межгосударственный стандарт, имеется в ФГУП "СТАНДАРТИНФОРМ".
Ссылки на международные стандарты, которые не приняты в качестве межгосударственных стандартов, заменены в
разделе "Нормативные ссылки" и тексте стандарта ссылками на соответствующие межгосударственные стандарты.
Сравнение структуры международного стандарта со структурой настоящего стандарта приведено в
Приложении ДБ.
Степень соответствия - модифицированная (MOD).
6. Введен впервые.
Информация об изменениях к настоящему стандарту публикуется в ежегодном информационном указателе "Национальные стандарты", а текст изменений и поправок - в ежемесячном информационном указателе "Национальные стандарты". В случае пересмотра (замены) или отмены настоящего стандарта соответствующее уведомление будет опубликовано в ежемесячном информационном указателе "Национальные стандарты". Соответствующая информация, уведомление и тексты размещаются также в информационной системе общего пользования - на официальном сайте Федерального агентства по техническому регулированию и метрологии в сети Интернет.
Настоящий межгосударственный стандарт устанавливает метод испытания на растяжение с применением широкой ленты для определения механических свойств геосинтетических материалов. Настоящий метод испытания распространяется на геосинтетические материалы, включая тканый и нетканый геотекстиль, геокомпозиты, нитепрошивной геотекстиль и иглопробивные полотна. Настоящий метод испытания также распространяется на георешетки и аналогичные геотекстильные материалы с открытой структурой, однако размеры образцов могут корректироваться. Настоящий метод испытания не распространяется на полимерные или битумные геосинтетические барьеры, но распространяется на геосинтетические глиняные барьеры (бентонитовые маты).
Метод испытания на растяжение предусматривает измерение удлинения под нагрузкой и включает в себя расчеты секущей жесткости, максимальной нагрузки на единицу ширины и деформации при максимальной нагрузке. Указываются также отдельные точки на кривой удлинения в зависимости от нагрузки.
Настоящий межгосударственный стандарт включает в себя проведение испытаний механических свойств материалов при растяжении как выдержанных при стандартных условиях, так и влажных образцов.
В настоящем стандарте использованы нормативные ссылки на следующие стандарты:
ГОСТ 28840-90 Машины для испытания материалов на растяжение, сжатие и изгиб. Общие технические требования
| | ИС МЕГАНОРМ: примечание. В официальном тексте документа, видимо, допущена опечатка: имеется в виду ГОСТ 32490-2013 "Материалы геосинтетические. Метод оценки механического повреждения гранулированным материалом под повторяемой нагрузкой", а не ГОСТ 00001-2012. | |
ГОСТ 00001-2012 Материалы геосинтетические. Метод оценки механического повреждения гранулированным материалом под повторяемой нагрузкой.
Примечание. При пользовании настоящим стандартом целесообразно проверить действие ссылочных стандартов в информационной системе общего пользования - на официальном сайте Федерального агентства по техническому регулированию и метрологии в сети Интернет или по ежегодному информационному указателю "Национальные стандарты", который опубликован по состоянию на 1 января текущего года, и по выпускам ежемесячного информационного указателя "Национальные стандарты" за текущий год. Если ссылочный стандарт заменен (изменен), то при пользовании настоящим стандартом следует руководствоваться заменяющим (измененным) стандартом. Если ссылочный стандарт отменен без замены, то положение, в котором дана ссылка на него, применяется в части, не затрагивающей эту ссылку.
В настоящем стандарте применены термины и определения, приведенные в
[1], а также следующие термины с соответствующими определениями:
3.1. Номинальная расчетная длина: начальная длина между двумя контрольными метками, нанесенными на образец, параллельно действию приложенной нагрузки.
Примечание. Рекомендуемая номинальная расчетная длина должна быть равна 60 мм (по 30 мм с каждой стороны симметрично центра образца).
3.2. Удлинение при предварительной нагрузке, мм: измеренное удлинение номинальной расчетной длины образца при приложении 1% максимальной нагрузки.
Примечание. Удлинение при предварительной нагрузке указано на рисунке 1 как SA.
T - нагрузка на единицу ширины;

- деформация;
AZ - секущая; SA - удлинение при предварительной нагрузке
Рисунок 1. Типичная кривая зависимости деформации
от нагрузки на единицу ширины
3.3. Истинная расчетная длина: номинальная расчетная длина плюс удлинение при предварительной нагрузке.
3.4. Максимальная нагрузка

, кН: максимальная нагрузка, полученная при испытании на растяжение.
3.5. Деформация

, %: удлинение номинальной расчетной длины образца во время испытания.
3.6. Деформация при максимальной нагрузке

, %: удлинение образца при максимальной нагрузке.
3.7. Секущая жесткость j, кН/м: отношение нагрузки на единицу ширины к соответствующему значению относительной деформации.
3.8. Прочность при растяжении

, кН/м: максимальная нагрузка на единицу ширины, полученная во время испытания, при которой образец растягивается до разрыва.
3.9. Скорость деформации, %/мин: увеличение номинальной расчетной длины в процентах при максимальной нагрузке относительно времени проведения нагружения, т.е. времени от предварительной нагрузки до максимальной.
Образец для испытания
закрепляется по всей ширине в зажимах или зажимных губках (см. рисунки 2 -
6) испытательной разрывной машины, работающей с постоянной скоростью. В ходе испытания к образцу
для испытания прилагают продольное усилие до его разрыва. Нагрузку на образец
для испытания при растяжении определяют с помощью измерительных шкал
испытательной разрывной машины, циферблатных индикаторов, диаграмм регистрирующих приборов или подсоединенного компьютера. Постоянную скорость испытания выбирают таким образом, чтобы обеспечить скорость деформации (20 +/- 5) %/мин в пределах расчетной длины образца
для испытания.
1 - направление прилагаемого усилия; 2 - зубчатый клин;
3 - геосинтетический материал; 4 - клин из эпоксидной
смолы или мягкого металла
Рисунок 2. Клиновый зажим
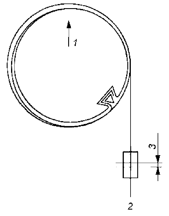
1 - сжимающее усилие, регулируемое до 400 кН;
2 - максимальная ширина образца для испытания: 0,5 м
Рисунок 3. Блочный зажим
1 - направление прилагаемого усилия; 2 - геосинтетический
материал; 3 - точка измерения деформации
Рисунок 4. Захват с натяжным барабаном
Рисунок 5. Конструкция зажима, используемого
для испытания георешеток
Рисунок 6. Альтернативная конструкция зажима,
используемого для испытания георешеток
Основное отличие данного метода от других методов измерения прочности геосинтетических материалов при растяжении заключается в ширине образца для испытания. В данном методе ширина превышает длину образца для испытания, так как некоторые геосинтетические материалы проявляют тенденцию к сжатию (сужению) под нагрузкой в области расчетной длины. Большая ширина снижает эффект сужения таких геосинтетических материалов и обеспечивает более близкую взаимозависимость с предполагаемым поведением геосинтетических материалов в реальных условиях эксплуатации, а также способствует созданию эталона для сравнивания геосинтетических материалов.
Для испытания используют образцы шириной 200 мм и длиной 100 мм (более подробное описание
подготовки образцов георешетки приведено в
6.3.3). При определении удлинения при деформации проводят измерение удлинения с помощью экстензометра,
используя две контрольные точки,
нанесенные на образец
для испытания.
Данные контрольные точки находятся на оси симметрии образца
для испытания параллельно прилагаемой нагрузке
на расстоянии 60 мм
друг от друга (30 мм с каждой стороны симметрично от центра образца). Это расстояние можно принять для георешеток, для того чтобы включить, по крайней мере, один ряд узлов (см.
6.3.3).
5.1. Испытательная разрывная машина
Испытательная разрывная машина по ГОСТ 28840, обеспечивающая постоянную скорость растяжения, с относительной погрешностью показаний разрывной нагрузки не более +/- 1% измеряемой величины, абсолютной погрешностью показаний удлинения не более +/- 1%.
Испытательная разрывная машина должна
быть оснащена двумя зажимами для закрепления образца
для испытания и механизмом для растяжения образца
для испытания с соответствующей скоростью.
Для большинства геосинтетических материалов используют зажимы, однако для материалов, которые подвергаются повышенному разрушению или проскальзыванию в захватах, используют захваты с натяжным барабаном.
Необходимо, чтобы рабочие поверхности выбранных
зажимов ограничивали проскальзывание образцов
для испытания, особенно при испытании прочных геосинтетических материалов. На
рисунках 2 -
6 приведены примеры рабочих поверхностей
зажимов, которые зарекомендовали себя с удовлетворительной стороны.
Экстензометр обеспечивает измерение расстояния между двумя контрольными точками на образце без его повреждения или проскальзывания. При этом необходимо обратить внимание на то, чтобы выполнялось измерение истинного перемещения контрольных точек.
Пример - Механические, оптические, инфракрасные или другие типы; все с электрическим выходом.
Экстензометр должен обеспечивать точность показаний до +/- 2% измеряемых величин. Если наблюдаются отклонения или выброс на кривой "напряжение-деформация", вызванные работой экстензометра, полученный результат не принимается, а для испытания используется другой образец для испытания.
5.3. Дистиллированная вода по
ГОСТ 6709 для замачивания образцов.
5.4. Неионогенный смачивающий реагент, только для влажных образцов.
6. Подготовка к проведению испытания
6.1. Число образцов для испытания
Вырезают не менее пяти образцов в продольном и поперечном направлениях.
6.2. Подготовка образцов для испытания
| | ИС МЕГАНОРМ: примечание. В официальном тексте документа, видимо, допущена опечатка: имеется в виду ГОСТ 32490-2013 "Материалы геосинтетические. Метод оценки механического повреждения гранулированным материалом под повторяемой нагрузкой", а не ГОСТ 00001. | |
Отбор образцов для испытания проводят в соответствии с ГОСТ 00001
(приложение А).
6.3.1. Для испытания готовят образцы для испытания номинальной ширины (200 +/- 1) мм (исключая бахрому, если необходимо, см. 6.3.2) и достаточной длины, чтобы расстояние между зажимами составило 100 мм; при этом длина при измерении должна находиться параллельно направлению приложения растягивающего усилия. В случае необходимости для контроля проскальзывания проводят две линии по всей ширине рабочих поверхностей вдоль зажимов перпендикулярно длине образца на расстоянии 100 мм друг от друга (кроме захватов с барабанным приводом, см.
рисунок 4).
6.3.2. Для тканых геосинтетических материалов вырезают образцы
для испытания шириной примерно 220 мм и делают бахрому, для чего удаляют равное число нитей с каждой стороны для получения образца номинальной ширины, равной (200 +/- 1) мм.
Примечание. Это способствует сохранению целостности образца во время испытания. Если образцу не грозит нарушение целостности, образец можно сразу вырезать на нужную ширину.
6.3.3. Для георешеток ширина каждого образца
для испытания составляет не менее 200 мм, а длина должна быть достаточной, не менее 100 мм. При этом вырезают все ребра на расстоянии не менее 10 мм от каждого узла. Там, где расстояние между узлами составляет менее 10 мм, образцы
для испытания должны быть на два ребра шире, чем требуется для испытания; после закрепления в зажимах наружное ребро с каждой стороны образца
для испытания отрезают. Результаты испытания (значения прочности) приводятся на единицу ширины в зависимости от числа неповрежденных ребер. Образец для испытания должен содержать, по крайней мере, один ряд узлов или поперечных элементов, исключая узлы поперечных элементов, зафиксированных в зажимах (см. рисунок 7), а для материалов с шагом менее 75 мм образец должен содержать не менее четырех полных растягиваемых элементов (ребер) в направлении ширины. Материалы с шагом более 75 мм, но менее 120 мм должны содержать не менее двух полных растягиваемых элементов в направлении ширины. Для материалов с шагом более 120 мм испытанию допускается подвергать одиночные ребра.

1 - ширина w; 2 - ребро; 3 - узел;
4 - расчетная длина; 5 - длина L
Рисунок 7. Стандартная георешетка
Примечание
1. A и B - контрольные точки, нанесенные при использовании экстензометра.
2. На линиях C и D показаны узлы и ребра, посредством которых образец удерживается в зажимах.
3. Ширина w >= 200 мм.
4. Расчетная длина составляет не менее 60 мм и включает в себя, по крайней мере, один ряд поперечных элементов. При необходимости в расчетную длину включают несколько рядов или поперечных элементов до превышения 60 мм. Расчетную длину всегда измеряют от середины ребра до середины ребра. Все ребра вырезают на расстоянии, по крайней мере, 10 мм от узла. Там, где расстояние между узлами составляет менее 10 мм, образцы для испытания должны быть на два ребра шире, чем требуется для испытания; после закрепления в зажимах наружное ребро с каждой стороны образца для испытания удаляют. Результаты испытания (значения прочности) приводят на единицу ширины в зависимости от числа неповрежденных ребер.
Если испытание проводят в качестве контрольной проверки на разрыв соединений/швов
[2], ширина образцов
для испытания должна быть одинаковой для обоих испытаний.
Контрольные точки для экстензометра наносят на центральный ряд растягиваемых элементов, которые будут подвергаться испытанию и расстояние между которыми должно составлять не менее 60 мм. Контрольные точки наносят в центральной точке ребра и должны разделяться, по крайней мере, одним узлом или поперечным элементом. Если необходимо, две контрольные точки могут разделяться несколькими рядами узлов или поперечных элементов, с тем чтобы минимальное расстояние между ними составило 60 мм. В данном случае должна сохраниться необходимость маркировки контрольных точек в середине ребра, а расчетная длина должна равняться целому числу шагов решетки. Номинальную расчетную длину следует измерять с точностью до +/- 3 мм.
6.3.4. Для нитепрошивного геотекстиля, геокомпозитов или других материалов подготовка образца
для испытания посредством вырезания с помощью ножа или ножниц может привести к нарушению структуры материала. В таких случаях
допускается использовать термическую резку, что должно быть отражено в протоколе испытания (см.
раздел 9).
6.3.5. Если требуется провести испытание на определение максимальной нагрузки для образцов
для испытания во влажном и сухом состояниях, вырезают каждый образец
для испытания длиной в 2 раза больше требуемой. После этого номеруют каждый образец
для испытания и разрезают его поперек на две половины: одну половину используют для определения максимальной нагрузки в сухом состоянии, а другую - для определения максимальной нагрузки во влажном состоянии. Каждая часть должна маркироваться номером образца
для испытания. Таким образом получают пары образцов для испытания, содержащие одинаковое число нитей.
Для геосинтетических материалов, имеющих повышенную усадку при увлажнении, прочность на растяжение определяют по максимальной нагрузке во влажных условиях; при этом начальную ширину измеряют с точностью до +/- 1 мм после выдерживания в обычных условиях, но до увлажнения (см. 6.4).
6.4. Условия проведения испытаний
Испытания образцов
для испытания проводят при температуре воздуха (20 +/-2) °C и относительной влажности воздуха (65 +/- 5)%,
[3].
Образцы для испытания выдерживают при заданных условиях до тех пор, пока изменения по массе между показаниями последовательных измерений, выполненных с интервалом не менее 2 ч, не превысят 0,25% массы образцов для испытания.
Кондиционирование образцов для испытания и/или их испытание при заданных условиях допускается не проводить, если доказано, что результаты, полученные для одного и того же типа материала (включая структуру и тип полимера), не зависят от изменений температуры и влажности в допустимых пределах. Данная информация должна быть указана в протоколе испытания.
6.4.2. Проведение испытаний во влажных условиях
Образцы
для испытания, отобранные для испытания во влажных условиях, погружают в воду с температурой (20 +/- 2) °C. Время погружения должно составлять не менее 24 ч и должно быть достаточным для тщательного увлажнения образцов, о чем свидетельствует отсутствие существенных изменений в максимальной нагрузке или деформации после более длительного периода погружения. Для обеспечения тщательного увлажнения, возможно, потребуется добавление в воду не более 0,05% неионогенного смачивающего реагента
(5.4).
6.5. Настройка испытательной
разрывной машины
Перед началом испытания устанавливают расстояние между зажимами (100 +/- 3) мм, кроме испытаний геосинтетических материалов в захватах с натяжным барабаном и при испытании георешеток. Выбирают диапазон усилий испытательной разрывной машины так, чтобы разрыв можно было измерить с точностью до 0,01 кН.
В испытательной разрывной машине устанавливают постоянную скорость перемещения ползуна, чтобы обеспечить постоянную скорость деформации (20 +/- 5) %/мин.
Если испытывают влажные образцы, то испытание проводят в течение 3 мин после их извлечения из воды.
Если используют захваты с натяжными роликами, между центрами роликов устанавливают минимальное расстояние, а при испытании георешеток - репрезентативную длину.
Если используют захваты с натяжным барабаном, между центрами барабанов в начале каждого испытания поддерживают минимальное расстояние или репрезентативную длину для георешеток. Использование захватов с натяжным барабаном и расстояние между центрами барабанов должно быть отражено в протоколе испытания.
6.6. Установка образца для испытания в зажимы
Образец для испытания устанавливают по центру зажимов. При испытании в продольном и поперечном направлениях длина образца
для испытания должна быть параллельна направлению приложения силы. Для этого две линии, которые были раньше проведены на расстоянии 100 мм друг от друга через всю ширину образца (см.
6.3.1), должны находиться как можно ближе к внутренним краям зажимов.
6.7. Установка экстензометра
Контрольные точки наносят на образец для испытания на расстоянии 60 мм друг от друга (30 мм с каждой стороны симметрично от центра образца) и устанавливают экстензометр. Если используют контактный экстензометр, необходимо убедиться в отсутствии повреждений образца, а также исключить проскальзывание, ориентируясь по контрольным точкам во время проведения испытания.
7.1. Измерение прочности при растяжении
Включают испытательную разрывную машину, и, используя предварительное нагружение значением 1% максимальной нагрузки, определяют начальную точку для измерения прочности, и продолжают нагружение до разрыва образца. После этого испытательную разрывную машину останавливают и в протоколе испытания регистрируют максимальную нагрузку с точностью до 0,01 кН/м и деформацию с точностью до первого десятичного знака. Затем испытательную разрывную машину устанавливают в исходное положение.
Решение об исключении результатов испытания следует принимать в ходе осмотра образцов
для испытания во время испытаний, а также на основании специфических изменений геосинтетического материала с учетом положений
5.2. При отсутствии других критериев отбраковки результатов в случае разрыва образца
для испытания в зажимах и в пределах 5 мм от зажимов результат
не учитывают, если его значение составляет меньше 50% среднего значения аналогично разорванных образцов. Никакие другие результаты не должны отбрасываться, за исключением результатов, которые являются дефектными.
Если разрыв происходит в результате повреждения образца для испытания зажимами, полученные результаты подлежат исключению. Однако, если разрыв происходит из-за наличия слабых мест в образце для испытания, полученный результат считается действительным. В некоторых случаях такой разрыв может вызываться концентрацией напряжения на участке рядом с зажимами, так как они препятствуют сужению образца для испытания по ширине по мере приложения нагрузки. Разрыв образца для испытания у края зажимов в этом случае считается неизбежным и должен приниматься как особенность метода испытаний.
Для испытания специфических материалов (например, стекловолокна, углеродного волокна) требуются особые методы, направленные на минимизацию повреждений, которые могут возникнуть от зажимов. Если образец для испытания проскальзывает в зажимах или более четверти образца для испытания разрывается в пределах 5 мм от края зажимов, тогда:
a) зажимы можно обшить,
b) образец можно обложить чем-либо на участке рабочей поверхности зажимов или
c) рабочую поверхность зажимов можно модифицировать.
Если применяют одну из указанных выше мер, способ модификации должен быть указан в протоколе испытания.
7.2. Измерение деформации
Деформация - это истинная расчетная длина (номинальная расчетная длина плюс увеличение расчетной длины при предварительной нагрузке) образца для испытания во время испытания, выраженная в процентах истинной расчетной длины.
Увеличение истинной расчетной длины образца для испытания при любой заданной нагрузке измеряют с помощью экстензометра.
8.1. Прочность на растяжение
Прочность при растяжении

, кН/м, рассчитывают непосредственно по данным испытательной разрывной машины
по формуле

(1)
где

- зарегистрированная максимальная сила, кН;
c - величина, выведенная из формулы (2) или (3), соответственно.
Для нетканого, тканого и нитепрошивного геотекстиля, а также геосинтетических глиняных барьеров (бентонитовых матов)

(2)
где B - это номинальная ширина образца, м.
Для георешеток или аналогичных геосинтетических материалов с открытой структурой

(3)
где

- среднее число растягиваемых элементов на ширине 1 м испытуемого образца
для испытания;

- число растягиваемых элементов в пределах испытуемого образца
для испытания.
Примечание. Для геокомпозитов используют формулу (2) или (3) в зависимости от основного несущего элемента композита.
8.2. Деформация (удлинение) при максимальной нагрузке
Деформация (удлинение) в процентах при максимальной нагрузке должна регистрироваться и указываться в протоколе испытания с точностью до 0,1%.
Деформация (удлинение) при максимальной нагрузке - это зарегистрированное увеличение длины образца для испытания (в миллиметрах) от уровня предварительного натяжения до максимальной нагрузки, умноженной на 100, и деленное на истинную расчетную длину (в миллиметрах). Истинная расчетная длина - это номинальная расчетная длина плюс удлинение от начала испытания до уровня предварительного натяжения.
Для расчета секущей жесткости j, кН/м, при заданном значении деформации определяют нагрузку для данного значения деформации (точка Z на
рисунке 1) и подставляют в формулу

(4)
где F - определенная нагрузка деформации

, кН;

- указанная деформация, %.
Протокол испытаний должен содержать следующие сведения:
a) ссылку на настоящий стандарт;
b) все необходимые данные для полной идентификации образца для испытания, прошедшего испытание;
c) среднюю прочность на растяжение в продольном и поперечном направлениях, а также, если требуется, отдельные значения, определенные в
разделе 8;
d) если необходимо, среднюю деформацию при максимальной нагрузке в продольном и поперечном направлениях, а также, если требуется, отдельные значения, определенные в
разделе 8;
e) среднюю секущую жесткость, соответствующую значениям деформации (удлинению) 2%, 5% и 10%, а также отдельным значениям при необходимости;
f) стандартное отклонение или коэффициент вариации любого из определенных свойств;
g) условие испытания образца для испытания;
h) число образцов для испытания, испытанных в каждом направлении;
i) тип зажимов, включая размеры зажимных губок и тип используемой рабочей поверхности, а также начальное значение развода зажимов;
j) тип используемого экстензометра;
k) типичную кривую зависимости деформации от нагрузки с критическими точками при необходимости;
l) подробное описание всех отклонений от заданных условий;
m) скорость деформации, выраженную в процентах в минуту, округленную до целого значения;
n) условия испытаний. Если испытания проводились в условиях, отличных от стандартных, необходимо указать данные о влиянии температуры и влажности на результаты испытаний.
(справочное)
СВЕДЕНИЯ О СООТВЕТСТВИИ ССЫЛОЧНЫХ МЕЖДУНАРОДНЫХ СТАНДАРТОВ
МЕЖГОСУДАРСТВЕННЫМ СТАНДАРТАМ, ИСПОЛЬЗОВАННЫМ В НАСТОЯЩЕМ
СТАНДАРТЕ В КАЧЕСТВЕ НОРМАТИВНЫХ ССЫЛОК
Полный перечень изменений нормативных ссылок приведен в таблице ДА.1.
Таблица ДА.1
Структурный элемент (раздел, подраздел, пункт, подпункт, таблица, приложение) | Модификация |
| | ИС МЕГАНОРМ: примечание. В официальном тексте документа, видимо, допущена опечатка: имеется в виду ГОСТ 32490-2013 "Материалы геосинтетические. Метод оценки механического повреждения гранулированным материалом под повторяемой нагрузкой", а не ГОСТ 00001-2012. | |
|
| Ссылка на ISO 3696 "Вода для лабораторного анализа. Технические требования и методы испытаний" заменена ссылкой на ГОСТ 6709-72 "Вода дистиллированная. Технические условия". Ссылка на ISO 7500-1 "Материалы металлические. Верификация машин для статических испытаний в условиях одноосного нагружения. Часть 1. Машины для испытания на растяжение/сжатие. Верификация и калибровка силоизмерительных систем" заменена ссылкой на ГОСТ 28840-90 "Машины для испытания материалов на растяжение, сжатие и изгиб. Общие технические требования". Ссылка на ISO 9862 "Геосинтетические материалы. Отбор объединенных партий и подготовка единичных образцов для испытаний" заменена ссылкой на ГОСТ 00001-2012 "Материалы геосинтетические. Метод оценки механического повреждения гранулированным материалом под повторяемой нагрузкой" |
(справочное)
СРАВНЕНИЕ СТРУКТУРЫ МЕЖДУНАРОДНОГО СТАНДАРТА
СО СТРУКТУРОЙ МЕЖГОСУДАРСТВЕННОГО СТАНДАРТА
Таблица ДБ.1
Структура международного стандарта ISO 10319:2008 | Структура межгосударственного стандарта |
Раздел | Пункт | Подпункт | Раздел | Пункт | Подпункт |
6 | 6.1 | - | | | - |
6.2 | - | | - |
6.3 | 6.3.1 | | |
6.3.2 | |
6.3.3 | |
6.3.4 | |
6.3.5 | |
7 | 7.1 | - | | |
7.2 | - | |
8 | 8.1 | - | | - |
8.2 | - | | - |
8.3 | - | | - |
8.4 | - | | | - |
8.5 | - | | - |
9 | 9.1 | - | | | - |
9.2 | - | | - |
9.3 | - | | - |
10 | - | - | | - | - |
Приложение | - | Приложение | |
- | |
- | Библиография |
Примечание. Сравнение структур стандартов приведено, начиная с раздела 6, так как предыдущие разделы стандартов и их иные структурные элементы (за исключением предисловия) идентичны. |
| Международный стандарт ИСО 10318:2005 (ISO 10318:2005) | Геосинтетические материалы. Термины и определения (Geosynthetics - Terms and definitions) |
| Международный стандарт ИСО 10321:2008 (ISO 10321:2008) | Геосинтетика. Испытание на разрыв соединений/швов методом с применением широкой полоски (Geosynthetics - Tensile test for joints/seams by wide-width strip method) |
| Международный стандарт ИСО 554:1976 (ISO 554:1976) | Атмосферы стандартные для кондиционирования и (или) испытаний. Технические требования (Standard atmospheres for conditioning and/or testing; Specifications). |