Главная // Актуальные документы // ГОСТ (Государственный стандарт)СПРАВКА
Источник публикации
М.: Стандартинформ, 2014
Примечание к документу
Отдельные положения данного документа включены в Перечень международных и региональных (межгосударственных) стандартов (
п. п. 165,
1016), а в случае их отсутствия - национальных (государственных) стандартов, в результате применения которых на добровольной основе обеспечивается соблюдение требований технического
регламента Таможенного союза "О безопасности машин и оборудования" (ТР ТС 010/2011) (
Решение Коллегии Евразийской экономической комиссии от 09.03.2021 N 28).
Текст данного документа приведен с учетом
поправки, опубликованной в "ИУС", N 7, 2019.
Документ
введен в действие с 1 января 2015 года.
Название документа
"ГОСТ 32431-2013 (ISO 16154:2005). Межгосударственный стандарт. Машины для сельского и лесного хозяйства. Монтаж устройств освещения и световой сигнализации для проезда по дорогам общего пользования"
(введен в действие Приказом Росстандарта от 17.03.2014 N 150-ст)
"ГОСТ 32431-2013 (ISO 16154:2005). Межгосударственный стандарт. Машины для сельского и лесного хозяйства. Монтаж устройств освещения и световой сигнализации для проезда по дорогам общего пользования"
(введен в действие Приказом Росстандарта от 17.03.2014 N 150-ст)
по техническому регулированию
и метрологии
от 17 марта 2014 г. N 150-ст
МЕЖГОСУДАРСТВЕННЫЙ СТАНДАРТ
МАШИНЫ ДЛЯ СЕЛЬСКОГО И ЛЕСНОГО ХОЗЯЙСТВА
МОНТАЖ УСТРОЙСТВ ОСВЕЩЕНИЯ И СВЕТОВОЙ
СИГНАЛИЗАЦИИ ДЛЯ ПРОЕЗДА ПО ДОРОГАМ ОБЩЕГО
ПОЛЬЗОВАНИЯ
Machinery for agriculture and forestry - Installation
of lighting and light signalling devices
for travel on public roadways
(ISO 16154:2005, MOD)
ГОСТ 32431-2013
(ISO 16154:2005)
Дата введения
1 января 2015 года
Цели, основные принципы и порядок проведения работ по межгосударственной стандартизации установлены
ГОСТ 1.0-92 "Межгосударственная система стандартизации. Основные положения" и
ГОСТ 1.2-2009 "Межгосударственная система стандартизации. Стандарты межгосударственные, правила и рекомендации по межгосударственной стандартизации. Правила разработки, принятия, применения, обновления и отмены".
1. Разработан Российской ассоциацией производителей сельхозтехники (Ассоциация "Росагромаш") и Федеральным государственным унитарным предприятием "Всероссийский научно-исследовательский институт стандартизации и сертификации в машиностроении" (ВНИИНМАШ).
2. Внесен ТК 284 "Тракторы и машины сельскохозяйственные".
3. Принят Межгосударственным советом по стандартизации, метрологии и сертификации (протокол от 05 ноября 2013 N 61-П).
За принятие стандарта проголосовали:
Краткое наименование страны по МК (ИСО 3166) 004-97 | Код страны по МК (ИСО 3166) 004-97 | Сокращенное наименование национального органа по стандартизации |
Беларусь | BY | Госстандарт Республики Беларусь |
Казахстан | KZ | Госстандарт Республики Казахстан |
Киргизия | KG | Кыргызстандарт |
Молдова | MD | Молдова-Стандарт |
Россия | RU | Росстандарт |
Таджикистан | TJ | Таджикстандарт |
Узбекистан | UZ | Узстандарт |
4. Настоящий стандарт модифицирован по отношению к международному стандарту ISO 16154:2005 Tractors and machinery for agriculture and forestry - Installation of lighting, light signalling and marking devices for travel on public roadways (Тракторы и машины для сельского и лесного хозяйства. Монтаж освещения, световых сигнальных и маркировочных устройств для проезда по дорогам общего пользования) путем исключения из области применения стандарта тракторов для сельского и лесного хозяйства, таблицы E.2, приложения F, которые нецелесообразно применять в связи с применением межгосударственных стандартов, устанавливающих требования к световым приборам.
Наименование настоящего стандарта изменено относительно наименования международного стандарта в связи с изменением области применения.
Степень соответствия - модифицированная (MOD).
5.
Приказом Федерального агентства по техническому регулированию и метрологии от 17 марта 2014 г. N 150-ст Межгосударственный стандарт ГОСТ 32431-2013 (ISO 16154:2005) введен в действие в качестве национального стандарта Российской Федерации с 01 января 2015 г.
6. Введен впервые.
Информация об изменениях к настоящему стандарту публикуется в указателе "Национальные стандарты" (по состоянию на 1 января текущего года), а текст изменений и поправок - в ежемесячном информационном указателе "Национальные стандарты". В случае пересмотра (замены) или отмены настоящего стандарта соответствующее уведомление будет опубликовано в ежемесячном информационном указателе "Национальные стандарты". Соответствующая информация, уведомления и тексты размещаются также в информационной системе общего пользования - на официальном сайте Федерального агентства по техническому регулированию и метрологии в сети Интернет.
Настоящий стандарт устанавливает требования к характеристикам и установке осветительных, световых сигнальных и маркировочных устройств машин и прицепов для сельского и лесного хозяйства (далее - машин) при их перемещении по дорогам общего пользования.
Настоящий стандарт не распространяется на специализированные лесохозяйственные машины по ISO 6814, а также на такие автотранспортные средства, как автомобили, автобусы, грузовые автомобили и прицепы к ним.
В настоящем стандарте применены следующие термины с соответствующими определениями:
2.1. углы геометрической видимости (angles of geometric visibility): Углы, определяющие зону минимального пространственного угла, в пределах которого должна быть видна кажущаяся поверхность светового прибора (см.
рисунок Г.1). Зона пространственного угла определяется сегментами сферы, центр которой совпадает с центром отсчета светового прибора, а экватор параллелен поверхности земли. Эти сегменты определяются относительно оси отсчета. Горизонтальные углы

соответствуют долготе, а вертикальные углы

- широте. Для распространения света от любой части видимой поверхности светового прибора, наблюдаемого из бесконечности, не должно быть никаких препятствий внутри углов геометрической видимости. Если измерения проводятся ближе к световому прибору, то для достижения той же точности необходимо выполнить параллельный перенос в направлении наблюдения.
Внутри углов геометрической видимости не принимаются во внимание те препятствия, которые уже присутствовали, когда световой прибор проходил контрольную юстировку.
Если после установки светового прибора любая часть его кажущейся поверхности оказывается скрытой какой-либо частью машины, то должны быть предъявлены доказательства того, что та часть светового прибора, которая не скрыта препятствиями, по-прежнему соответствует фотометрическим показателям, предписанным для утверждения прибора в качестве оптического узла. Тем не менее если вертикальный угол геометрического обзора ниже горизонтали может быть уменьшен до 5° (световой прибор установлен на высоте менее 750 мм над землей), то фотометрическое поле измерений установленного оптического узла может быть уменьшено до 5° ниже горизонтали.
2.2. ось отсчета (axis of reference): Характеристическая ось светового прибора, определяемая изготовителем светового прибора для использования в качестве направления отсчета

для фотометрических измерений и для установки светового прибора на транспортное средство.
2.3. центр отсчета (centre of reference): Точка пересечения оси отсчета с наружной светоиспускающей поверхностью, определяемая изготовителем светового прибора.
2.4. контрольный сигнал включения (closed-circuit tell-tale): Световой (или эквивалентный) индикатор, указывающий, что устройство включено, но не являющийся индикатором правильности его работы.
2.5. фара ближнего света (ближний свет) (dipped/lower beam headlamp (dipped-beam light)): Фара, используемая для освещения дороги или грунта перед самоходной машиной, не вызывая ослепления или неудобств для водителей встречного транспорта и других участников дорожного движения.
2.6. дополнительные габаритные огни (end-outline marker lamp): Световой прибор, используемый для обозначения общей ширины самоходной машины, прицепа или прицепной машины, дополняющий передние и задние габаритные огни и привлекающий внимание к габаритам машины.
2.7. боковые габариты (extreme outer edges): Плоскости по обе стороны машины, параллельные средней продольной плоскости машины и касающиеся ее бокового края, кроме проекций:
a) шин вблизи точки контакта с грунтом и соединений датчиков измерения давления в шинах;
b) зеркал заднего вида;
c) указателей поворота, габаритных огней и стоп-сигналов.
2.8. передний указатель поворота (front direction indicator lamp): Световой прибор, используемый для демонстрации другим участникам дорожного движения намерения водителя изменить направление движения вправо или влево.
2.9. передняя противотуманная фара (front fog lamp): Фара, используемая для улучшения освещенности дороги или грунта перед самоходной машиной в условиях тумана или других условиях, отрицательно влияющих на видимость.
2.10. разъем переднего навесного устройства (front implement connector): Устройство, используемое для передачи электропитания и (или) сигналов от самоходной машины на переднюю навесную машину.
2.11. передние габаритные огни (front position lamp): Световые приборы, используемые для указания наличия и ширины самоходной машины, прицепа или прицепной машины, если смотреть спереди.
2.12. переднее световозвращающее устройство (front retro-reflector): Устройство, используемое для улучшения обнаружения широкой самоходной машины, прицепа или прицепного устройства, если смотреть спереди.
2.13. земля (ground): Горизонтальный участок поверхности, на котором располагается транспортное средство.
2.14. аварийный сигнал (hazard warning signal): Одновременная работа всех указателей поворота машины для сигнализации опасности, которую машина представляет для других участников дорожного движения.
2.15. освещающая поверхность светового прибора (illuminating surface of a lighting device): Ортогональная проекция полной выходной проекции отражателя или, в случае передних фар с эллипсоидальным отражателем, "линзы проекции" на поперечную плоскость. Если у светового прибора нет отражателя, то следует применять определение освещающей поверхности светосигнального устройства (см.
2.16). Если светоиспускающая поверхность светового прибора покрывает только часть полной выходной проекции отражателя, то учитывают проекцию только этой части.
В случае фар ближнего света освещающая поверхность ограничена явным следом среза линз фар. Если расположение отражателя и светоиспускающей поверхности регулируют относительно друг друга, то необходимо использовать среднее положение регулировки.
2.16. освещающая поверхность светосигнального устройства, за исключением световозвращающих устройств (illuminating surface of a light-signalling device other than a retro-reflector): Ортогональная проекция пробора в плоскости, перпендикулярной его оси отсчета и контактирующей с внешней светоиспускающей поверхностью. Эта проекция ограничена краями настроечных стендов, расположенных в указанной плоскости, каждый из которых обеспечивает сохранение только 98% полной интенсивности света в направлении оси отсчета.
При определении нижней, верхней и боковых границ освещающей поверхности для проверки расстояния до краев машины и высоты над уровнем грунта необходимо использовать только настроечные стенды прямоугольной формы.
Для других применений освещающей поверхности, например, для определения расстояния между двумя световыми приборами или качества их работы, необходимо использовать форму контура освещающей поверхности. Настроечные стенды рекомендуется располагать параллельно, но разрешается использовать и другие положения.
В случае светосигнального устройства, освещающая поверхность которого включает в себя полностью или частично освещающую поверхность устройства, выполняющего другую функцию, или неосвещенную поверхность, освещающую поверхность можно считать светоиспускающей поверхностью.
2.17. освещающая поверхность световозвращающего устройства (illuminating surface of a retro-reflector): Ортогональная проекция световозвращающего устройства в плоскости, перпендикулярной его оси отсчета и ограниченной плоскостями, прилегающими к самым удаленным частям оптической системы световозвращающих устройств и параллельными этой оси. Для определения нижнего, верхнего и боковых краев устройства следует рассматривать только горизонтальную и вертикальную плоскости.
2.18. фара дальнего света (main/upper beam headlamp (driving light)): Фара, предназначенная для освещения дороги или грунта на значительном расстоянии перед самоходной машиной.
2.19. срединная продольная плоскость (median longitudinal plane): Вертикальная плоскость, проходящая через продольную осевую линию машины.
2.20. контрольный сигнал работы (operational tell-tale): Световое или звуковое устройство (или эквивалентное устройство), показывающее, правильно ли работает включенное устройство.
2.21. габаритная ширина (overall width): Расстояние между двумя вертикальными плоскостями, определенными в
2.7.
2.22. задний указатель поворота (rear direction indicator lamp): Световой прибор, используемый для демонстрации другим участникам дорожного движения намерения водителя изменить направление движения вправо или влево.
2.23. задняя флюоресцентная маркировка (rear fluorescent marking): Устройство, используемое для улучшения видимости в дневное время широкой самоходной машины, прицепа или прицепной машины, если смотреть сзади.
2.24. задняя противотуманная фара (rear fog lamp): Фара, используемая для того, чтобы сделать самоходную машину, прицеп или прицепную машину лучше видимой сзади в условиях тумана или в других условиях, ухудшающих видимость.
2.25. разъем заднего навесного устройства (rear implement connector): Устройство, используемое для передачи электропитания и (или) сигналов от самоходной машины на заднюю навесную машину, сельскохозяйственный прицеп или прицепную машину.
2.26. задние габаритные огни (rear position lamp): Световые приборы, используемые для указания наличия и ширины самоходной машины, прицепа или прицепной машины, если смотреть сзади.
2.27. фонарь освещения заднего номерного знака (rear registration-plate lamp): Фонарь, используемый для освещения места, предназначенного для установки заднего номерного знака.
2.28. заднее световозвращающее устройство (rear retro-reflector): Устройство, используемое для улучшения обнаружения широкой самоходной машины, прицепа или прицепной машины, если смотреть сзади.
2.29. фонарь заднего хода (reversing lamp): Световой прибор, включающийся, когда водитель перевел органы управления на движение назад, и предназначенный для освещения пространства позади машины.
2.30. самоходная машина (self-propelled machine): Машина с независимым приводом, снабженная колесами или гусеницами и имеющая не менее двух осей, которая главным образом предназначена для применения в сельском или лесном хозяйстве и по своей конструкции и постоянно установленным устройствам пригодна и предназначена для выполнения работы.
Примечание. Дополнительно могут присутствовать транспортные приспособления, пригодные и предназначенные для перевозки инструмента и вспомогательных устройств, требующихся для выполнения работы, а также материалов, являющихся результатом работы или необходимых для нее, в качестве промежуточного хранилища.
2.31. боковое световозвращающее сигнальное устройство (side retro-reflector): Устройство, используемое для улучшения обнаружения самоходной машины, прицепа или прицепной машины, если смотреть сбоку.
2.32. сигнальная панель (signalling panel): Устройство, используемое для указания другим участникам дорожного движения на присутствие широкой самоходной машины, прицепа или прицепной машины, если смотреть спереди или сзади.
2.33. знак тихоходной машины (знак SMV) (slow moving vehicle identification emblem (SMV emblem)): Знак, используемый для указания на присутствие медленно движущейся самоходной машины, прицепа или прицепной машины, если смотреть сзади.
2.34. специальное сигнальное устройство (проблесковый маячок) (special warning lamp (beacon)): Световой прибор, используемый для привлечения внимания других участников дорожного движения к присутствию широкой самоходной машины.
2.35. стоп-сигнал (stop lamp): Световое сигнальное устройство, используемое для демонстрации участникам дорожного движения, находящимся позади самоходной машины, прицепа или прицепной машины, и указывающее, что водитель привел в действие рабочий тормоз или другое основное устройство, замедляющее ход машины.
2.36. прицепная машина (trailed machine): Машина для использования в сельском или лесном хозяйстве, снабженная колесами или гусеницами, которая по своей конструкции и своим постоянно установленным устройствам предназначена для выполнения работы.
Примечания:
1. Дополнительно могут присутствовать транспортные приспособления, пригодные и предназначенные для перевозки инструмента и вспомогательных устройств, требующихся для выполнения работы, а также материалов, являющихся результатом работы или необходимых для нее, в качестве промежуточного хранилища.
2. Если транспортные средства не предназначены для переработки (например, перемешивания) веществ и материалов при движении по дороге или если соотношение массы брутто к пустой массе больше 3, то прицепная машина классифицируется как прицеп.
2.37. прицеп (trailer): Прицепная машина для использования в сельском или лесном хозяйстве, снабженная колесами или гусеницами, предназначенная в основном для перевозки грузов и сконструированная для буксировки трактором или самоходной машиной.
2.38. поперечная плоскость (transverse plane): Вертикальная плоскость, перпендикулярная срединной продольной плоскости машины.
2.39. рабочее освещение (work lamp (working light)): Световой прибор, используемый для освещения рабочих зон спереди, сзади или сбоку.
3.1. Горизонтальные и вертикальные углы
В настоящем стандарте горизонтальные углы обозначаются как

, что соответствует наружному углу, и как

, что соответствует внутреннему, а вертикальные углы обозначаются как

, что соответствует направлению вверх, и как

, что соответствует направлению вниз (см.
Приложение А).
3.2. Монтаж приборов и оборудования
Световые, сигнальные и маркировочные устройства, а также светоотражающие сигнальные устройства должны быть установлены таким образом, чтобы при нормальных условиях эксплуатации и независимо от вибрации, которой они могут быть подвержены, они сохраняли свои технические характеристики и соответствовали требованиям
Приложения А. Необходимо исключить возможность случайного нарушения регулировки световых приборов.
Световые и сигнальные устройства прицепных машин могут быть съемными, при условии, что их можно надежно закрепить на машине.
3.3. Контроль направления и высоты
Высоту и направление световых приборов следует проверять на порожней машине, стоящей на плоской горизонтальной поверхности.
3.4. Парные световые приборы
При отсутствии особых требований парные световые приборы должны:
a) крепиться на машине симметрично относительно срединной продольной плоскости и на одинаковой высоте над землей, за исключением машин асимметричной формы;
b) удовлетворять одним и тем же колориметрическим характеристикам;
c) иметь одинаковые фотометрические характеристики.
3.5. Максимальная и минимальная высоты
Максимальная высота над землей должна измеряться от самой высокой точки, а минимальная высота над землей - от самой нижней точки освещаемой поверхности.
Позиция по ширине определяется от края освещаемой поверхности, который находится дальше всего от срединной продольной плоскости машины, если имеется в виду общая ширина, и от внутреннего края освещаемой поверхности, если имеется в виду расстояние между световыми приборами.
3.7. Опасность неправильного восприятия световых сигналов
3.7.1. Спереди не должно быть видно никаких световых сигналов красного цвета, так как это может быть неправильно воспринято; сзади не должно быть видно световых сигналов белого цвета, так как это также может быть неправильно воспринято, кроме света фонаря заднего хода, фонаря освещения заднего номерного знака или рабочих фонарей. Соответствие этим требованиям следует проверять согласно
Приложению В. Во время регулировки световых приборов машина должна располагаться на горизонтальной плоскости и в случае конструктивного исполнения рулевого управления в виде шарнирносочлененной рамы в положении прямо.
3.7.2. Не должно быть прямой видимости красного света, если наблюдатель перемещается в пределах зоны 1 в поперечной плоскости, расположенной в 25 м перед машиной (см.
рисунок В.1).
3.7.3. Не должно быть прямой видимости белого света, если наблюдатель перемещается в пределах зоны 2 в поперечной плоскости, расположенной в 25 м позади машины (см.
рисунок В.2).
3.8. Узел световых приборов
Световые приборы могут группироваться, объединяться или взаимно встраиваться друг в друга при условии, что выполнены все требования в отношении цвета, положения, ориентации, геометрического обзора, электрических соединений, а также другие требования, если таковые имеются, по каждому световому прибору.
3.9. Электрические соединения
3.9.1. Передние и задние (боковые) габаритные огни, фонарь освещения заднего номерного знака
Электрические соединения должны выполняться таким образом, чтобы передние и задние (боковые) габаритные огни, а также фонарь освещения заднего номерного знака, если он имеется, включались и выключались одновременно.
3.9.2. Фары дальнего и ближнего света, передние и задние противотуманные фары
Электрические соединения выполняются таким образом, чтобы фары дальнего и ближнего света, а также передние и задние противотуманные фары, если они имеются, не могли быть включены до тех пор, пока не будут включены световые приборы, указанные в
3.9.1. Указанное требование, однако, не применяется к фарам ближнего или дальнего света, когда световые предупреждения подаются посредством прерывистого включения ближнего или дальнего света через короткие интервалы или посредством попеременного включения через короткие интервалы фар ближнего или дальнего света.
3.10. Открывающиеся световые приборы
3.10.1. Установка открывающихся световых приборов запрещается, за исключением следующих случаев (только в выключенном состоянии):
- фара дальнего света;
- фара ближнего света;
- передняя противотуманная фара.
3.10.2. Когда все три указанных типа световых приборов открывающиеся, то рекомендуется установка передних светоотражающих устройств.
3.10.3. Когда открывающиеся световые приборы включены, они всегда должны занимать правильное рабочее положение, независимо от возможного отказа механизма, используемого для их открывания.
3.11. Световые приборы переменного расположения
Положение указателей поворота, передних и задних (боковых) габаритных огней и стоп-сигналов может изменяться при условии, что:
a) эти световые приборы остаются видимыми, даже когда меняется их положение;
b) указанные световые приборы могут фиксироваться в том положении, которое диктуется условиями дорожного движения; их фиксация должна быть автоматической.
3.12. Общее число световых приборов
Общее число световых, маркировочных, сигнальных и световозвращающих приборов, установленных на машине, должно соответствовать указанному в
Приложении Д.
(обязательное)
ОСВЕТИТЕЛЬНЫХ, МАРКИРОВОЧНЫХ, СИГНАЛЬНЫХ
И СВЕТООТРАЖАЮЩИХ УСТРОЙСТВ
А.0. Содержание
Осветительные устройства
А.1. Фара ближнего света (ближний свет)
А.2. Фара дальнего света (дальний свет)
А.3. Рабочее освещение
А.4. Фонарь заднего хода
Маркировочные/предупредительные огни
А.5. Передние габаритные огни
А.6. Задние габаритные огни
А.7. Дополнительные габаритные огни
А.8. Стоп-сигнал
А.9. Передний указатель поворота
А.10. Задний указатель поворота
А.11. Аварийный сигнал
А.12. Специальное сигнальное устройство (проблесковый маячок)
Огни специального назначения
А.13. Фонарь освещения заднего номерного знака
А.14. Передняя противотуманная фара
А.15. Задняя противотуманная фара
Светоотражающие и маркировочные устройства
А.16. Заднее световозвращающее сигнальное устройство
А.17. Задняя флуоресцентная маркировка
А.18. Переднее световозвращающее сигнальное устройство
А.19. Боковое световозвращающее сигнальное устройство
А.20. Знак тихоходной машины (знак SMV)
А.21. Сигнальная панель
Разъемы
А.22. Разъем заднего навесного устройства
А.23. Разъем переднего навесного устройства
А.1. Фара ближнего света (ближний свет)
А.1.1. Цвет: белый.
А.1.2. Число: четное число (если машина снабжена более чем одной парой фар, одновременно должно включаться не более одной пары).
А.1.3. Расстояния, мм:
-

(максимальная высота над землей): менее 4000;
-

(минимальная высота над землей): более 500;
- D (расстояние между фарами): разнесены как можно шире;
- E (расстояние от наружного края машины): нет требований.
А.1.4. Минимальные углы геометрического обзора:
-

(вверх): 15°;
-

(вниз): 10° (5°, если необходим передний балласт-противовес);
-

(наружу): 45°;
-

(внутрь): 5°.
А.1.5. Направление: вперед.
А.1.6. Электрические соединения: орган управления, отвечающий за переключение света с ближнего на дальний, должен выключать все фары дальнего света одновременно.
А.1.7. Сигнальный индикатор: может устанавливаться дополнительно.
А.2. Фара дальнего света (дальний свет)
А.2.1. Цвет: белый.
А.2.2. Число: две или четыре.
А.2.3. Расстояния, мм:
-

(максимальная высота над землей): менее 4000;
-

(минимальная высота над землей): более 500;
- D (расстояние между фарами): нет требований;
- E (расстояние от наружного края машины): внешние края освещающих поверхностей ни в коем случае не должны быть ближе к крайнему наружному краю машины, чем внешние края освещающих поверхностей фар ближнего света.
А.2.4. Минимальные углы геометрического обзора:
-

(вверх): 5°;
-

(вниз): 5°;
-

(наружу): 5°;
-

(внутрь): 5°.
А.2.5. Направление: вперед.
А.2.6. Электрические соединения: фары дальнего света могут включаться либо все одновременно, либо по парам. При переключении с ближнего света на дальний должна включаться по крайней мере одна пара фар. Орган управления, отвечающий за переключение света с дальнего на ближний, должен выключать все фары дальнего света одновременно. Ближний свет может оставаться включенным одновременно с дальним светом.
А.2.7. Сигнальный индикатор обязателен. Когда включаются фары дальнего света, в поле зрения водителя должна включаться индикаторная лампа голубого цвета.
А.3. Рабочее освещение
А.3.1. Цвет: нет требований.
А.3.2. Количество: нет требований.
А.3.3. Расстояния, мм:
-

(максимальная высота над землей): нет требований;
-

(минимальная высота над землей): нет требований;
- D (расстояние между световыми приборами): нет требований;
- E (расстояние от наружного края машины): нет требований.
А.3.4 Минимальные углы геометрического обзора:
-

(вверх): нет требований;
-

(вниз): нет требований;
-

(наружу): нет требований;
-

(внутрь): нет требований.
А.3.5. Направление: любое направление или по кругу, если необходимо.
А.3.6. Электрические соединения: рабочее освещение должно работать независимо от других световых приборов. Если рабочее освещение включено во время движения по дороге, то свет должен быть направлен вниз, чтобы не ослеплять и не мешать водителям других транспортных средств.
А.3.7. Сигнальный индикатор: может устанавливаться дополнительно.
А.4. Фонарь заднего хода
А.4.1. Цвет: белый.
А.4.2. Число: один или два.
А.4.3. Расстояния, мм:
-

(максимальная высота над землей): предпочтительно менее 2300; допускается 2600, если того требует конструкция кузова;
-

(минимальная высота над землей): более 250;
- D (расстояние между фонарями): нет требований;
- E (расстояние от наружного края машины): нет требований.
А.4.4. Минимальные углы геометрического обзора:
-

(вверх): 15°;
-

(вниз): 5°;
-

(наружу): 45°;
-

(внутрь): 45° (допускается 30°, если фонарей заднего хода два).
А.4.5. Направление: назад.
А.4.6. Электрические соединения: фонарь заднего хода должен гореть только в том случае, если включен задний ход, а устройство пуска или блокировки двигателя находится в положении, разрешающем работу двигателя.
А.4.7. Сигнальный индикатор: может устанавливаться дополнительно.
А.5. Передние габаритные огни
А.5.1. Цвет: белый или желтый.
А.5.2. Число: два или четыре.
А.5.3. Расстояния, мм:
-

(максимальная высота над землей): предпочтительно менее 2300; допускается 2600, если того требует конструкция кузова;
-

(минимальная высота над землей): более 300;
- D (расстояние между огнями): как можно дальше друг от друга;
- E (расстояние от наружного края машины): как можно ближе к краю.
А.5.4. Минимальные углы геометрического обзора:
-

(вверх): 15°;
-

(вниз): 15° (5°, если высота менее 750; 10°, если того требует конструкция кузова или передних колес);
-

(наружу): 80°;
-

(внутрь): 10° (5°, если того требует конструкция кузова).
А.5.5. Направление: вперед.
А.5.6. Электрические соединения: должны включаться вместе с задними габаритными огнями и фонарем освещения заднего номерного знака.
А.5.7. Сигнальный индикатор обязателен. Может быть выполнен в виде индикатора на приборной панели или лампы, находящейся в поле зрения водителя.
А.6. Задние габаритные огни
А.6.1. Цвет: красный.
А.6.2. Число: два (может быть один, если ширина машины менее 1200 мм).
А.6.3. Расстояния, мм:
-

(максимальная высота над землей): предпочтительно менее 2300; допускается 2600, если того требует конструкция кузова;
-

(минимальная высота над землей): более 300;
- D (расстояние между огнями): как можно дальше друг от друга, но не более 3000 мм (если один, то как можно ближе к средней продольной плоскости);
- E (расстояние от наружного края машины): как можно ближе к краю (если один, то как можно ближе к средней продольной плоскости).
А.6.4. Минимальные углы геометрического обзора:
-

(вверх): 15°;
-

(вниз): 15° (5°, если высота над землей менее 750);
-

(наружу): 80°;
-

(внутрь): 45°.
А.6.5. Направление: назад.
А.6.6. Электрические соединения: должны включаться вместе с передними габаритными огнями и фонарем освещения заднего номерного знака.
А.6.7. Сигнальный индикатор обязателен. Может быть выполнен в виде индикатора на приборной панели или лампы, находящейся в поле зрения водителя.
А.7. Дополнительные габаритные огни
А.7.1. Цвет: спереди - белый или желтый, сзади - красный.
А.7.2. Число: два передних, два задних.
А.7.3. Расстояния, мм:
- H (высота над землей): на максимальной высоте, которая удовлетворяет требованиям относительно положения по ширине и симметричности расположения;
- D (расстояние между огнями): как можно дальше друг от друга;
- E (расстояние от наружного края машины): как можно ближе к краю.
А.7.4. Минимальные углы геометрического обзора:
-

(вверх): 5°;
-

(вниз): 20°;
-

(наружу): 80°;
-

(внутрь): 0°.
А.7.5. Направление: вперед и назад.
А.7.6. Электрические соединения: должны включаться вместе с габаритными огнями и фонарем освещения заднего номерного знака.
А.7.7. Сигнальный индикатор может устанавливаться дополнительно (если установлен, то должен быть таким же, как для габаритных огней).
А.8. Стоп-сигнал
А.8.1. Цвет: красный.
А.8.2. Число: два (может быть один, если ширина машины менее 1200 мм).
А.8.3. Расстояния, мм:
-

(максимальная высота над землей): предпочтительно менее 2300; допускается 2600, если того требует конструкция кузова;
-

(минимальная высота над землей): более 300;
- D (расстояние между огнями): как можно дальше друг от друга, но не более 3000 мм (если один, то как можно ближе к средней продольной плоскости);
- E (расстояние от наружного края машины): как можно ближе к краю (если один, то как можно ближе к средней продольной плоскости).
А.8.4. Минимальные углы геометрического обзора:
-

(вверх): 15°;
-

(вниз): 15° (5°, если высота над землей менее 750);
-

(наружу): 45°;
-

(внутрь): 45°.
А.8.5. Направление: назад.
А.8.6. Электрические соединения: должны включаться при использовании рабочей тормозной системы.
А.8.7. Сигнальный индикатор может устанавливаться дополнительно. Если установлен, то должен быть немигающего типа и загораться в случае неисправности стоп-сигнала.
А.9. Передний указатель поворота
А.9.1. Цвет: оранжевый.
А.9.2. Число: четное.
-

(максимальная высота над землей): предпочтительно менее 2300; допускается 2600, если того требует конструкция кузова;
-

(минимальная высота над землей): более 300;
- D (расстояние между огнями): как можно дальше друг от друга;
- E (расстояние от наружного края машины): как можно ближе к краю.
А.9.4. Минимальные углы геометрического обзора:
-

(вверх): 15°;
-

(вниз): 15° (5°, если высота над землей менее 750; 10°, если того требует конструкция кузова или передних колес);
-

(наружу): 80°;
-

(внутрь): 10° (5°, если того требует конструкция кузова).
А.9.5. Направление: вперед.
А.9.6. Электрические соединения: указатели поворота должны включаться независимо от других световых приборов. Все указатели поворота с одной стороны машины или комбинации транспортных средств должны включаться и выключаться одним выключателем и мигать в одной фазе, с частотой миганий 90 +/- 35 раз в минуту.
А.9.7. Сигнальный индикатор обязателен отдельно для левых и правых указателей поворота. Должен быть оптического типа (мигать зеленым), может быть один для передних и задних указателей поворота.
А.10. Задний указатель поворота
А.10.1. Цвет: оранжевый.
А.10.2. Число: четное.
-

(максимальная высота над землей): предпочтительно менее 2300; допускается 2600, если того требует конструкция кузова;
-

(минимальная высота над землей): более 300;
- D (расстояние между огнями): как можно дальше друг от друга;
- E (расстояние от наружного края машины): как можно ближе к краю.
А.10.4. Минимальные углы геометрического обзора:
-

(вверх): 15°;
-

(вниз): 15° (5°, если высота над землей менее 750);
-

(наружу): 80°;
-

(внутрь): 45°.
А.10.5. Направление: назад.
А.10.6. Электрические соединения: указатели поворота должны включаться независимо от других световых приборов. Все указатели поворота с одной стороны машины или комбинации транспортных средств должны включаться и выключаться одним выключателем и мигать в одной фазе, с частотой миганий 90 +/- 35 раз в минуту.
А.10.7. Сигнальный индикатор обязателен отдельно для левых и правых указателей поворота. Должен быть оптического типа (мигать зеленым), может быть один для передних и задних указателей поворота.
А.11. Аварийный сигнал
А.11.1. Цвет: оранжевый.
А.11.2. Число: четное число обращенных вперед и четное число обращенных назад.
А.11.4. Минимальные углы геометрического обзора: см.
А.9.4 и
А.10.4.
А.11.5. Направление: вперед и назад.
А.11.6. Электрические соединения: сигнал предупреждения об опасности (аварийный сигнал) должен включаться отдельным органом управления. Все указатели поворота должны работать одновременно. Аварийный сигнал должен функционировать даже тогда, когда устройство включения запуска и/или блокировки двигателя находится в таком положении, в котором невозможно запустить двигатель.
А.11.7. Сигнальный индикатор: обязателен отдельно для левых и правых указателей поворота. Должен быть оптического типа (мигать зеленым) и может быть совмещен с индикатором (индикаторами) для указателей поворота.
А.12. Специальное сигнальное устройство (проблесковый маячок)
А.12.1. Цвет: оранжевый или желтый.
А.12.2. Число: необходимое для выполнения требований к минимальным углам геометрического обзора.
А.12.3. Расстояния, мм: необходимые для выполнения требований к минимальным углам геометрического обзора.
А.12.4. Минимальные углы геометрического обзора:
-

(вверх): 8°;
-

(вниз): проблесковый маячок (маячки) должен (должны) освещать поверхность в радиусе 50 м от машины, за исключением мест, перекрытых конструкцией машины;
-

(наружу): 360°.
А.12.5. Направление: по кругу.
А.12.6. Электрические соединения: должен включаться независимо от других световых приборов.
А.12.7. Сигнальный индикатор: может устанавливаться дополнительно.
А.13. Фонарь освещения заднего номерного знака
А.13.1. Цвет: белый.
А.13.2. Число: необходимое для освещения места установки номерного знака.
А.13.3. Расстояния, мм: расстояния, необходимые для освещения места установки номерного знака.
А.13.4. Минимальные углы геометрического обзора: фонари освещения номерного знака не должны ограничивать видимость номерного знака.
А.13.5. Направление: источник света не должен быть прямо виден водителю машины, едущей сзади.
А.13.6. Электрические соединения: должен включаться одновременно с задними габаритными огнями.
А.13.7. Сигнальный индикатор: может устанавливаться дополнительно. Если установлен, то индикация должна быть такой же, как для передних и задних габаритных огней.
А.14. Передняя противотуманная фара
А.14.1. Цвет: белый.
А.14.2. Число: две.
А.14.3. Расстояния, мм:
-

(максимальная высота над землей): ни одна из точек освещаемой поверхности не должна быть выше самой высокой точки освещаемой поверхности фар ближнего света;
-

(минимальная высота над землей): более 250;
- D (расстояние между огнями): нет требований;
- E (расстояние от наружного края машины): нет требований.
А.14.4. Минимальные углы геометрического обзора:
-

(вверх): 5°;
-

(вниз): 5°;
-

(наружу): 45°;
-

(внутрь): 5°.
А.14.5. Направление: вперед таким образом, чтобы не стать причиной ослепления или не создать другие неудобства для водителей встречных транспортных средств и других участников дорожного движения. Направление света не должно меняться при изменении направления движения. Излучаемый свет ни при каких обстоятельствах не должен создавать неудобства для водителя, не отражаясь ни прямо, ни косвенно через зеркала заднего вида и (или) от других отражающих поверхностей машины.
А.14.6. Электрические соединения: противотуманные фары не должны включаться, пока не включены габаритные огни, и должны включаться и выключаться независимо от фар ближнего и дальнего света.
А.14.7. Сигнальный индикатор: может устанавливаться дополнительно.
А.15. Задняя противотуманная фара
А.15.1. Цвет: красный.
А.15.2. Число: одна или две.
А.15.3. Расстояния, мм:
-

(максимальная высота над землей): предпочтительно менее 2300; допускается 2600, если того требует конструкция кузова;
-

(минимальная высота над землей): более 300;
- D (расстояние между огнями): если задняя противотуманная фара одна, то она должна быть расположена с левой стороны от срединной продольной плоскости машины. Расстояние между задней противотуманной фарой и стоп-сигналом должно быть более 100 мм;
- E (расстояние от наружного края машины): как можно ближе к краю.
А.15.4. Минимальные углы геометрического обзора:
-

(вверх): 5°;
-

(вниз): 5°;
-

(наружу): 25°;
-

(внутрь): 25°.
А.15.5. Направление: назад.
А.15.6. Электрические соединения: задняя противотуманная фара может гореть только тогда, когда горят фары дальнего или ближнего света или передние противотуманные фары.
А.15.7. Сигнальный индикатор: обязателен независимый немигающий световой индикатор.
А.16. Заднее световозвращающее сигнальное устройство
А.16.1. Цвет: красный.
А.16.2. Число: два или более, при выполнении требований по расстоянию между ними, положению и (или) видимости.
А.16.3. Расстояния, мм:
-

(максимальная высота над землей): не более 1200;
-

(минимальная высота над землей): более 400;
- D (расстояние между огнями): менее 2000 (знак SMV, если он установлен, может считаться задним световозвращающим сигнальным устройством, удовлетворяющим данному требованию);
- E (расстояние от наружного края машины): как можно ближе к краям (менее 400 для машин шириной более 3 м).
А.16.4. Минимальные углы геометрического обзора:
-

(вверх): 15°;
-

(вниз): 15°;
-

(наружу): 30°;
-

(внутрь): 30°.
А.16.5. Направление: назад.
А.17. Задняя флуоресцентная маркировка
А.17.1. Цвет: красно-оранжевый.
А.17.2. Число: две или более, при выполнении требований по расстоянию между ними, положению и (или) видимости.
А.17.3. Расстояния, мм:
-

(максимальная высота над землей): менее 2100;
-

(минимальная высота над землей): более 400;
- D (расстояние между огнями): менее 2000; знак SMV, если установлен, может считаться задним светоотражающим устройством для обеспечения выполнения этого требования;
- E (расстояние от наружного края машины): менее 635.
А.17.4. Минимальные углы геометрического обзора:
-

(вверх): 15°;
-

(вниз): 15°;
-

(наружу): 30°;
-

(внутрь): 30°.
А.17.5. Направление: назад.
А.18. Переднее световозвращающее сигнальное устройство
А.18.1. Цвет: желтый или белый.
А.18.2. Число: два или более.
А.18.3. Расстояния, мм:
-

(максимальная высота над землей): предпочтительно менее 2100; допускается 2600, если того требует конструкция кузова;
-

(минимальная высота над землей): более 400;
- D (расстояние между огнями): нет требований;
- E (расстояние от наружного края машины): менее 400.
А.18.4. Минимальные углы геометрического обзора:
-

(вверх): 15°;
-

(вниз): 15°;
-

(наружу): 30°;
-

(внутрь): 30°.
А.18.5. Направление: вперед.
А.19. Боковое световозвращающее сигнальное устройство
А.19.1. Цвет: желтый или белый.
А.19.2. Число: сколько необходимо при соблюдении требований расположения и видимости.
А.19.3. Расстояния, мм:
-

(максимальная высота над землей): предпочтительно менее 2100; допускается 2600, если того требует конструкция кузова;
-

(минимальная высота над землей): более 400;
- D (расстояние между огнями): менее 3000;
-

(расстояние от переда машины): менее 3000;
-

(расстояние от зада машины): менее 1000, как можно меньше в зависимости от конструкции кузова.
А.19.4. Минимальные углы геометрического обзора:
-

(вверх): 15°;
-

(вниз): 15°;
-

(наружу): 45°;
-

(внутрь): 45°.
А.19.5. Направление: в сторону, максимально перпендикулярно боковой стенке кузова.
А.20. Знак тихоходной машины (знак SMV)
А.20.1. Цвет: красно-оранжевый светоотражающий или красный светоотражающий.
А.20.2. Число: один.
А.20.3. Расстояния, мм:
-

(максимальная высота над землей): предпочтительно менее 3000;
-

(минимальная высота над землей): более 600;
А.20.4. Минимальные углы геометрического обзора:
-

(вверх): 5°;
-

(вниз): 5°;
-

(наружу): 25° с обеих сторон.
А.20.5. Направление: перпендикулярно направлению движения, в пределах +/-20° от вертикали и как можно ближе к осевой линии машины.
А.21. Сигнальная панель
А.21.1. Цвет: белый и красный.
А.21.2. Число: две спереди и две сзади.
А.21.3. Расстояния, мм:
-

(максимальная высота над землей): предпочтительно менее 2300; допускается 2600, если того требует конструкция кузова;
-

(минимальная высота над землей): нет требований;
- D (расстояние между огнями): нет требований;
- E (расстояние от наружного края машины): менее 250.
А.21.4. Минимальные углы геометрического обзора:
-

(вверх): 5°;
-

(вниз): 5°;
-

(наружу): 25°;
-

(внутрь): 25°.
А.21.5. Направление: вперед и назад.
А.22. Разъем заднего навесного устройства
А.22.1. Число: один или два.
А.22.2. Расстояния, мм:
- H3 (максимальная высота над точкой сцепки): менее 1200;
- H4 (минимальная высота над точкой сцепки): более 200;
- H5 (максимальное расстояние перед точкой сцепки): менее 1200;
- H6 (минимальное расстояние перед точкой сцепки): более 200;
- H7 (максимальное поперечное расстояние от точки сцепки): менее 300.
А.22.3. Направление: назад.
А.23. Разъем переднего навесного устройства
А.23.1. Число: один или два.
А.23.2. Расстояния, мм:
- H3 (максимальная высота над точкой сцепки): менее 1200;
- H4 (минимальная высота над точкой сцепки): более 200;
- H5 (максимальное расстояние перед точкой сцепки): менее 1200;
- H6 (минимальное расстояние перед точкой сцепки): более 200;
- H7 (максимальное поперечное расстояние от точки сцепки): менее 300.
А.23.3. Направление: вперед.
(обязательное)
КОЛОРИМЕТРИЧЕСКИЕ ХАРАКТЕРИСТИКИ
ОСВЕТИТЕЛЬНЫХ И СИГНАЛЬНЫХ УСТРОЙСТВ
Трихроматические координаты должны соответствовать таблице Б.1. На
рисунке Б.1 приведены колориметрические зоны, соответствующие указанным границам.
Таблица Б.1
Трихроматические координаты
Красный | Граница в направлении цвета: | желтого | y <= 0,335 |
| z <= 0,008 |
Белый | Граница в направлении цвета: | голубого | x >= 0,310 |
желтого | x <= 0,500 |
зеленого | y <= 0,150 + 0,640x |
зеленого | y <= 0,440 |
пурпурного | y >= 0,050 + 0,750x |
красного | y >= 0,382 |
Оранжевый | Граница в направлении цвета: | | y <= 0,429 |
| y >= 0,398 |
| z = 0,007 |
Желтый селективный | Граница в направлении цвета: | | y >= 0,138 + 0,580x |
| y <= 1,29x - 0,100 |
| y >= -x + 0,966 |
спектральное значение <а> | y >= -x + 0,992 |
Расширенный желтый селективный | Граница в направлении цвета: | красного | y >= 0,138 + 0,580x |
зеленого | y <= 1,29x - 0,100 |
белого | y >= -x + 0,940 |
y >= 0,440 |
спектральное значение | y >= -x + 0,992 |
<а> Колориметрические характеристики осветительных и сигнальных устройств транспортных средств определены Международной комиссией по освещению (CIE), которая в данном случае считает целесообразным использовать границы, отличающиеся от границ, рекомендованных Техническим комитетом CIE/TC 13.3 "Цвета световых сигналов". Напряжение питания ламп на транспортных средствах может изменяться в существенных пределах, и следует учесть все возможные изменения цвета при чрезмерно высоком или чрезмерно низком напряжении. |

a - белый;
b - оранжевый;
c - расширенный желтый селективный;
d - желтый селективный;
e - красный.
Рисунок Б.1. Колориметрические зоны, соответствующие
указанным границам
(обязательное)
ВИДИМОСТЬ СВЕТА КРАСНЫХ СВЕТОВЫХ ПРИБОРОВ СПЕРЕДИ
И СВЕТА БЕЛЫХ СВЕТОВЫХ ПРИБОРОВ СЗАДИ
1 - зона 1; 2 - непрозрачная поверхность или деталь;
3 - прозрачная линза (не являющаяся частью светоизлучающей
поверхности); 4 - граница светоизлучающей поверхности;
5 - светоизлучающая поверхность; 6 - нить накала лампы
Рисунок В.1. Видимость света красных световых приборов
Рисунок В.2. Видимость света белых световых приборов
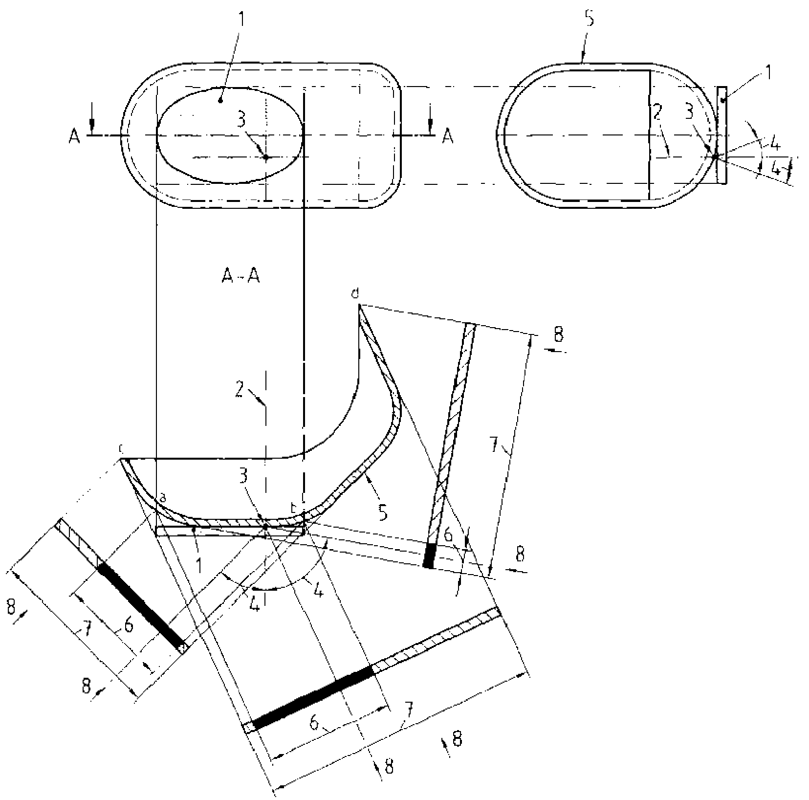
(справочное)
ПОВЕРХНОСТИ СВЕТОВЫХ ПРИБОРОВ, ОСЬ И ЦЕНТР ОТСЧЕТА,
УГЛЫ ГЕОМЕТРИЧЕСКОЙ ВИДИМОСТИ
1 - освещающая поверхность; 2 - ось отсчета;
3 - центр отсчета; 4 - угол геометрической видимости;
5 - светоизлучающая поверхность; 6 - кажущаяся поверхность,
основанная на освещающей поверхности; 7 - кажущаяся
поверхность, основанная на светоизлучающей
поверхности; 8 - направление видимости
(обязательное)
К НАЛИЧИЮ ОСВЕТИТЕЛЬНЫХ И МАРКИРОВОЧНЫХ УСТРОЙСТВ
Д.1. Требования к наличию осветительных и маркировочных устройств приведены в таблице Д.1.
Устройство | Самоходная машина | Прицеп; прицепная или навесная машина |
R - требуется; 0 - опция; NP - не допускается; NR - нет требований |
Фара ближнего света | R | NP |
Фара дальнего света | 0 | NP |
Рабочее освещение | 0 | 0 |
Фонарь заднего хода | 0 | 0 |
Передние габаритные огни | | |
Задние габаритные огни | | |
Дополнительные габаритные огни | | |
Стоп-сигнал | | |
Передний указатель поворота | R | 0 |
Задний указатель поворота | | R |
Аварийный сигнал | | R |
Специальное сигнальное устройство | | |
Фонарь освещения заднего номерного знака | R | R |
Передняя противотуманная фара | 0 | 0 |
Задняя противотуманная фара | 0 | 0 |
Заднее световозвращающее сигнальное устройство | | |
Заднее светоотражающее маркировочное устройство | NR | NR |
Переднее световозвращающее сигнальное устройство | NR | |
Боковое световозвращающее сигнальное устройство | | |
Знак тихоходной машины | R | R |
Сигнальная панель | | |
Разъем навесного устройства | | |
1. Световые приборы, обращенные вперед, должны быть белого цвета.
2. Расстояние от наружного края машины должно быть не более 400 мм.
3. Требуется, если расстояние между наружным краем буксируемой машины и внешним краем габаритного фонаря буксирующего средства превышает 400 мм.
4. Требуется один, если ширина менее 1,20 м; требуется два, если ширина больше 1,20 м.
5. Не разрешено, если ширина менее 2,10 м; установка допускается, если ширина больше 2,10 м.
6. Самоходные машины, предназначенные для буксировки прицепов, должны иметь сигнальный индикатор (индикаторы) работы указателей поворота на прицепе.
7. Сигнальное устройство для аварийного сигнала должно быть красного цвета.
8. В соответствии с действующими
Правилами дорожного движения.
9. Цвет должен быть желтый.
10. Требуется, если длина машины превышает 6000 мм.
11. Может быть установлен в центре колеса (центрах колес).
12. Требуется на транспортных средствах шириной более 2,55 м.
13. Требуется только в том случае, если самоходная машина предназначена для буксировки прицепа или прицепной машины.
14. Не менее 500 мм друг от друга. Это расстояние может быть сокращено до 400 мм, если общая ширина составляет менее 1400 мм.
(справочное)
ПЕРЕЧЕНЬ ТЕХНИЧЕСКИХ ОТКЛОНЕНИЙ
Таблица Е.1
Структурный элемент (раздел, подраздел, пункт, подпункт, таблица, приложение) | Модификация |
Название стандарта | Заменить "Тракторы и машины для сельского и лесного хозяйства. Монтаж освещения, световых сигнальных и маркировочных устройств для проезда по дорогам общего пользования" на "Машины для сельского и лесного хозяйства. Монтаж устройств освещения и световой сигнализации для проезда по дорогам общего пользования" |
Раздел 1 "Область применения" | Исключить из области применения тракторы для сельского и лесного хозяйства |
Раздел 2 "Нормативные ссылки" | Исключить ссылку на ISO 303. Исключить раздел "Нормативные ссылки" |
Раздел 3 "Термины и определения", заголовок раздела | Исключить ссылку на ISO 303 |
Раздел 3 "Термины и определения", п. 3.36 | Исключить |
Раздел 3 "Термины и определения", п. 3.40 | Исключить |
Приложение A, подраздел A.16, пункт A.16.3 | Заменить "предпочтительно менее 2300; допускается 2600, если того требует конструкция кузова" на "не более 1200" в соответствии с требованием примечания i таблицы E.1 |
Приложение E, таблица E.1 | Исключить столбец "Для тракторов" |
Приложение E, таблица E.1, примечание i | Исключить, так как учтено в п. A.16.3 |
Приложение E, таблица E.2 | Исключить таблицу |
Приложение F | Исключить приложение |
(справочное)
СРАВНЕНИЕ СТРУКТУРЫ МЕЖДУНАРОДНОГО СТАНДАРТА
СО СТРУКТУРОЙ МЕЖГОСУДАРСТВЕННОГО СТАНДАРТА
Таблица Ж.1
Структура международного стандарта | Структура межгосударственного стандарта |
Раздел | Пункт | Подпункт | Раздел | Пункт | Подпункт |
Раздел 2 | - | - | - | - | - |
Раздел 3 | 3.1 | - | | | - |
3.2 | - | | - |
3.3 | - | | - |
3.4 | - | | - |
3.5 | - | | - |
3.6 | - | | - |
3.7 | - | | - |
3.8 | - | | - |
3.9 | - | | - |
3.10 | - | | - |
3.11 | - | | - |
3.12 | - | | - |
3.13 | - | | - |
3.14 | - | | - |
3.15 | - | | - |
3.16 | - | | - |
3.17 | - | | - |
3.18 | - | | - |
3.19 | - | | - |
3.20 | - | | - |
3.21 | - | | - |
3.22 | - | | - |
3.23 | - | | - |
3.24 | - | | - |
3.25 | - | | - |
3.26 | - | | - |
3.27 | - | | - |
3.28 | - | | - |
3.29 | - | | - |
3.30 | - | | - |
3.31 | - | | - |
3.32 | - | | - |
3.33 | - | | - |
3.34 | - | | - |
3.35 | - | | - |
3.36 | - | - | - |
3.37 | - | | - |
3.38 | - | | - |
3.39 | - | | - |
3.40 | - | - | - |
3.41 | - | | - |
Раздел 4 | 4.1 | - | | | - |
4.2 | 4.2.1 | | |
4.2.2 | |
4.3 | - | | - |
4.4 | - | | - |
4.5 | - | | - |
4.6 | - | | - |
4.7 | 4.7.1 | | |
4.7.2 | |
4.7.3 | |
4.8 | - | | - |
4.9 | 4.9.1 | | |
4.9.2 | |
4.10 | 4.10.1 | | |
4.10.2 | |
4.10.3 | |
4.11 | - | | - |
4.12 | - | | - |
Приложение A | | | | | |
Приложение B | | | | | |
Приложение C | | | | | |
Приложение D | | | | | |
Приложение E | | | | | |
Таблица E.1 | | | |
Таблица E.2 | | - | |
Приложение F | | | - | | |
Примечание: Сравнение структур стандартов приведено с раздела 2, так как предыдущие разделы стандартов и их структурные элементы (за исключением предисловия) идентичны. |