Главная // Актуальные документы // ГОСТ (Государственный стандарт)СПРАВКА
Источник публикации
М.: Стандартинформ, 2019
Примечание к документу
Документ
введен в действие с 01.01.2015.
Название документа
"ГОСТ 32324-2013. Межгосударственный стандарт. Масла смазочные. Определение характеристик деэмульсации"
(введен в действие Приказом Росстандарта от 22.11.2013 N 682-ст)
"ГОСТ 32324-2013. Межгосударственный стандарт. Масла смазочные. Определение характеристик деэмульсации"
(введен в действие Приказом Росстандарта от 22.11.2013 N 682-ст)
по техническому регулированию
и метрологии
от 22 ноября 2013 г. N 682-ст
МЕЖГОСУДАРСТВЕННЫЙ СТАНДАРТ
МАСЛА СМАЗОЧНЫЕ
ОПРЕДЕЛЕНИЕ ХАРАКТЕРИСТИК ДЕЭМУЛЬСАЦИИ
Lubricating oils. Determination
of demulsibility characteristics
ГОСТ 32324-2013
Дата введения
1 января 2015 года
Цели, основные принципы и общие правила проведения работ по межгосударственной стандартизации установлены
ГОСТ 1.0 "Межгосударственная система стандартизации. Основные положения" и
ГОСТ 1.2 "Межгосударственная система стандартизации. Стандарты межгосударственные, правила и рекомендации по межгосударственной стандартизации. Правила разработки, принятия, обновления и отмены"
1 ПОДГОТОВЛЕН Открытым акционерным обществом "Всероссийский научно-исследовательский институт по переработке нефти" (ОАО "ВНИИ НП") на основе собственного перевода на русский язык англоязычной версии стандарта, указанного в
пункте 5
2 ВНЕСЕН Федеральным агентством по техническому регулированию и метрологии
3 ПРИНЯТ Межгосударственным советом по стандартизации, метрологии и сертификации (протокол от 27 сентября 2013 г. N 59-П)
За принятие проголосовали:
Краткое наименование страны по МК (ИСО 3166) 004-97 | Код страны по МК (ИСО 3166) 004-97 | Сокращенное наименование национального органа по стандартизации |
Армения | AM | Минэкономики Республики Армения |
Беларусь | BY | Госстандарт Республики Беларусь |
Киргизия | KG | Кыргызстандарт |
Молдова | MD | Молдова-Стандарт |
Россия | RU | Росстандарт |
Таджикистан | TJ | Таджикстандарт |
Узбекистан | UZ | Узстандарт |
4
Приказом Федерального агентства по техническому регулированию и метрологии от 22 ноября 2013 г. N 682-ст межгосударственный стандарт ГОСТ 32324-2013 введен в действие в качестве национального стандарта Российской Федерации с 1 января 2015 г.
5 Настоящий стандарт идентичен стандарту ASTM D 2711-11 "Стандартный метод определения характеристик деэмульсации смазочных масел" ("Standard test method for demulsibility characteristics of lubricating oils", IDT).
Стандарт разработан Комитетом ASTM D02 "Нефтепродукты и смазочные материалы" и находится под контролем Подкомитета D02.L0.02 "Смазочные материалы механизмов".
Наименование настоящего стандарта изменено относительно наименования указанного стандарта для приведения в соответствие с ГОСТ 1.5
(подраздел 3.6).
При применении настоящего стандарта рекомендуется использовать вместо ссылочных стандартов соответствующие им межгосударственные стандарты, сведения о которых приведены в дополнительном
приложении ДА
6 ВВЕДЕН ВПЕРВЫЕ
7 ПЕРЕИЗДАНИЕ. Август 2019 г.
Информация о введении в действие (прекращении действия) настоящего стандарта и изменений к нему на территории указанных выше государств публикуется в указателях национальных стандартов, издаваемых в этих государствах, а также в сети Интернет на сайтах соответствующих национальных органов по стандартизации.
В случае пересмотра, изменения или отмены настоящего стандарта соответствующая информация будет опубликована на официальном интернет-сайте Межгосударственного совета по стандартизации, метрологии и сертификации в каталоге "Межгосударственные стандарты"
1.1 Настоящий стандарт устанавливает метод определения характеристик деэмульсации - способности масла и воды отделяться друг от друга и распространяется на смазочные масла со средней или высокой вязкостью.
1.2 Значения в единицах системы СИ являются стандартными. Значения в скобках приведены для информации.
1.3 В настоящем стандарте не предусмотрено рассмотрение всех вопросов обеспечения безопасности, связанных с его применением. Пользователь настоящего стандарта несет ответственность за установление соответствующих правил по технике безопасности и охране здоровья, а также определяет целесообразность применения законодательных ограничений перед его использованием.
В настоящем стандарта использованы нормативные ссылки на следующие стандарты. Для датированных ссылок применяют только указанное издание ссылочного стандарта, для недатированных - последнее издание (включая все изменения) <1>.
--------------------------------
<1> Ссылки на стандарты ASTM можно уточнить на сайте ASTM: www.astm.org или в службе поддержки клиентов ASTM: service@astm.org, а также в информационном томе ежегодного сборника стандартов ASTM (Website standard's Document Summary).
ASTM D 1193, Specification for reagent water (Спецификация на реактив воду)
ASTM D 1796, Standard test method for water and sediment in fuel oil by the centrifuge method (laboratory procedure) [Стандартный метод определения воды и осадка в нефтяном топливе методом центрифугирования (лабораторная процедура)]
3.1 Масла без присадок, работающие при сверхвысоком давлении (EP) (метод A)
Перемешивают в специальной градуированной делительной воронке 405 см3 образца масла и 45 см3 дистиллированной воды в течение 5 мин при температуре 82 °C. После перемешивания выдерживают 5 ч, затем измеряют и регистрируют процентное содержание воды в масле и объемы воды и эмульсии, отделяющиеся от масла.
3.2 Масла с присадками, работающие при сверхвысоком давлении (EP) (метод B)
Перемешивают в специальной градуированной делительной воронке 360 см3 образца масла и 90 см3 дистиллированной воды в течение 5 мин при температуре 82 °C. После перемешивания выдерживают в течение 5 ч, затем измеряют и регистрируют процентное содержание воды в масле и объемы воды и эмульсии, отделяющиеся от масла.
4 Назначение и применение
4.1 Настоящий метод испытания позволяет определить характеристики деэмульсации смазочных масел, склонных к загрязнению водой, при перекачке и циркуляции которых может наблюдаться турбулентность, способствующая образованию эмульсии вода-в-масле.
5.1 Мешалка, состоящая из деталей, указанных на
рисунках 1 -
3.
Примечание 1 - для предотвращения образования опасных электрических разрядов следует использовать двигатель с пневматическим приводом.
1 - вал и корпус мешалки в сборе; 2 - кулачковая муфта 1/4"
типа FA5 BOSTON (6 мм) или аналогичная; 3 - алюминиевый
корпус электродвигателя; 4 - адаптер вала мешалки; 5 - диск
тахометра; 6 - крепление электродвигателя; 7 - бесщеточный
электродвигатель постоянного тока мощностью 51 Вт,
работающий от постоянного тока напряжением 24 В, или
аналогичный (безыскровый электродвигатель);
8 - электродвигатель в сборе; 9 - верхний подшипник;
10 - опора мешалки; 11 - вал пропеллера; 12 - центральный
подшипник; 13 - опора центрального подшипника;
14 - пропеллер; 15 - направляющая вала пропеллера;
16 - опора нижнего подшипника; 17 - нижний подшипник;
18 - корпус вала пропеллера
1 - хромированный корпус вала пропеллера; 2 - медная или
латунная трубка типа K диаметром (40 +/- 2) мм; 3 - четыре
высверленных отверстия диаметром 5 мм; 4 - четыре углубления
диаметром 13 мм, глубиной 25 мм, расположенные на одинаковом
расстоянии друг от друга; 5 - развертка внутренней
поверхности трубки 1; 6 - хромированная опора нижнего
подшипника из меди или стали; 7 - высверленное отверстие
диаметром (7 +/- 3) мм; 8 - хромированная опора центрального
подшипника из меди или стали; 9 - четыре отверстия резьбой
8-32 или 6-32; 10 - высверленное отверстие диаметром
(7 +/- 3) мм; 11 - корпус электродвигателя из анодированного
алюминия; 12 - четыре отверстия диаметром 4 мм; 13 - диск
тахометра из хромированной стали; 14 - насечка;
15 - резьбовое отверстие для установочного винта;
16 - пропеллер из нержавеющей стали; 17 - наклон 25°
от горизонтали; 18 - вал пропеллера из нержавеющей или
хромированной стали; 19 - направляющая вала пропеллера
из нержавеющей стали; 20 - углубление диаметром 7,6 мм,
высотой 2,4 мм; 21 - сквозное отверстие диаметром 6,4 мм
Рисунок 2 - Детальная конструкция мешалки, часть 1
1 - опора мешалки из алюминия марки 6061-T6; 2, 8 - четыре
отверстия резьбой 10-32 UNF-2B [наружным диаметром 4,826 мм
(0,190 дюйма) и шагом 32 витка на 1 дюйм] глубиной 10,414 мм
(0,410 дюйма); 3, 7 - четыре отверстия резьбой 6-32 UNC-2B
[наружным диаметром 3,5052 мм (0,1380 дюйма) и шагом 32
витка на 1 дюйм] глубиной 7,874 мм (0,310 дюйма);
4 - адаптер вала мешалки из нержавеющей стали; 5 - крепление
электродвигателя из алюминия марки 6061-T6; 6 - четыре
сквозных отверстия диаметром 5,1 мм с центрами,
расположенными на окружности диаметром 50,8 мм
Рисунок 3 - Детальная конструкция мешалки, часть 2
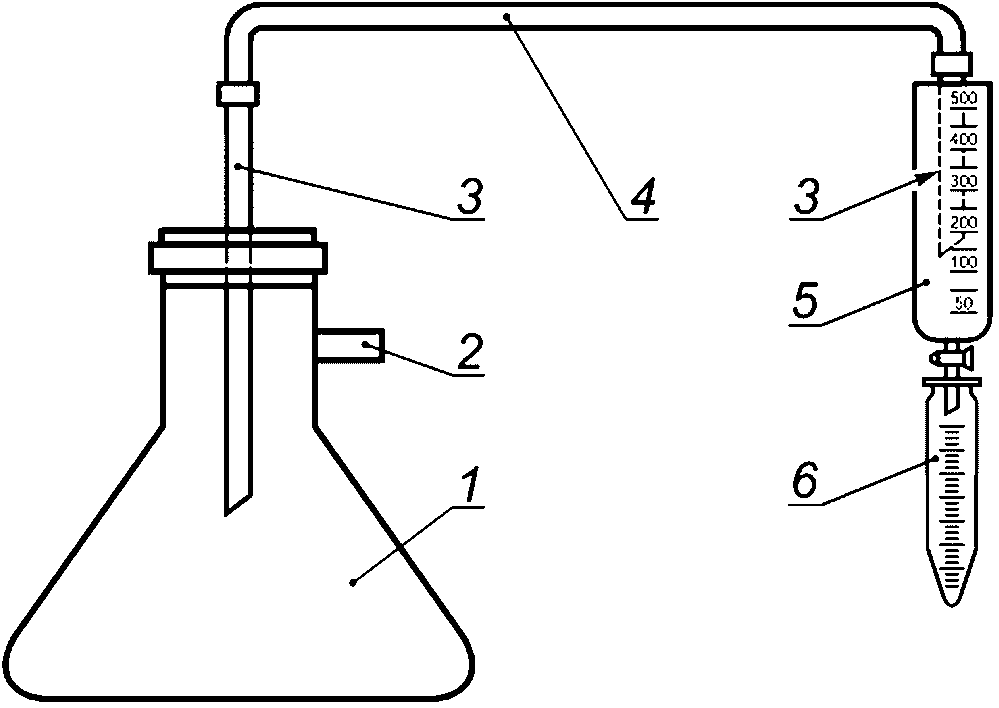
5.2 Специальная градуированная делительная воронка (см.
рисунок 4).
1 - внутренний диаметр - приблизительно 50 мм, наружный
диаметр - приблизительно 54 мм; 2 - воронка наружным
диаметром 54 мм, изготовленная из трубки из жаропрочного
боросиликатного стекла, имеющая стандартную толщину стенки;
3 - радиус - приблизительно 27 мм; 4 - минимальный размер
Примечание - Запорный кран должен быть размещен как можно ближе к корпусу воронки.
Рисунок 4 - Градуированная делительная воронка
5.3 Нагревательная баня размерами, позволяющими погружать в жидкость бани не менее двух испытательных делительных воронок до метки 500 см3. В нагревательной бане следует поддерживать температуру (82 +/- 1) °C и надежно фиксировать делительные воронки при перемешивании масла и воды так, чтобы вертикальная ось мешалки соответствовала центральной линии делительной воронки.
Примечание 2 - Не рекомендуется использовать силиконовое масло в качестве среды бани, поскольку любое загрязнение смеси масло/вода может привести к неудовлетворительным результатам.
5.4 Центрифуга, требования к которой приведены в ASTM D 1796.
5.5 Центрифужные пробирки длиной от 195 до 203 мм (см. ASTM D 1796, рисунок 1).
6.1 Растворитель для очистки
Применяют любой растворитель, обеспечивающий очистку и эффективное удаление любого масла или жидкости с мешалки и мерного цилиндра. Установлено, что для настоящего стандарта пригоден 1,1,1-трихлорэтан.
Предупреждение - 1,1,1-Трихлорэтан опасен при вдыхании или проглатывании. Раздражает глаза. Высокая концентрация может вызвать обморок или привести к летальному исходу.
Примечание 3 - Если нельзя применять 1,1,1-трихлорэтан, в качестве альтернативных растворителей лаборатории используют гептан или уайт-спириты. Влияние альтернативного растворителя на прецизионность настоящего метода не установлено.
6.2 Вода класса реактив типа II, соответствующая ASTM D 1193.
7.1 Очищают градуированную делительную воронку, удаляя растворителем для очистки пленку масла, промывают ацетоном, затем водопроводной водой и водой класса реактив.
Предупреждение - Ацетон - легковоспламеняющийся, его пары могут возгораться. Рекомендуется использовать безыскровый двигатель.
7.2 Очищают мешалку, используя растворитель для очистки (см.
6.1). Перед проведением испытания мешалку сушат на воздухе.
8.1 Нагревают жидкость в бане до температуры (82 +/- 1) °C и поддерживают эту температуру в течение испытания.
8.2 Наливают в делительную воронку (405 +/- 5) см
3 испытуемого масла комнатной температуры. Помещают делительную воронку с маслом в баню с постоянной температурой и доводят температуру в бане до 82 °C. Добавляют к маслу (45,0 +/- 0,5) см
3 дистиллированной воды, отмеренной при комнатной температуре. Погружают мешалку в масло и аккуратно устанавливают следующим образом: опускают мешалку до касания с дном воронки, затем поднимают ее приблизительно на 25 мм. Следят за тем, чтобы вертикальная ось мешалки располагалась по центральной вертикальной оси воронки. Включают на 5 мин (с учетом времени запуска) мотор мешалки и плавно за 25 - 30 с доводят до скорости перемешивания (4500 +/- 500) об/мин, затем вынимают мешалку из смеси масло-вода, но не полностью из делительной воронки. Дают смеси стечь с мешалки в течение 5 мин, затем полностью вынимают мешалку из делительной воронки и очищают.
Примечание 4 - Не допускается использовать силиконовую смазку для запорных кранов. В качестве смазки для запорных кранов используют испытуемое масло или другие не содержащие силикон материалы или используют запорные краны из политетрафторэтилена (PTFE).
Примечание 5 - Более быстрый режим запуска мешалки, в отличие от рекомендуемого, может привести к неудовлетворительным результатам.
8.3 Через 5 ч после перемешивания из центра воронки пипеткой вместимостью 50 см
3 отбирают 50 см
3 образца приблизительно с уровня на 50 мм ниже поверхности смеси масло-вода. Помещают содержимое пипетки в центрифужную пробирку и определяют содержание воды по ASTM D 1796. Регистрируют объем воды в центрифужной пробирке.
8.4 Сразу же вынимают делительную воронку из бани и сливают любую свободную воду, отделившуюся от смеси масло-вода, в мерный цилиндр вместимостью 50 см
3. Выдерживают воду до комнатной температуры, измеряют и регистрируют ее объем.
8.5 После удаления свободной воды из делительной воронки объем оставшейся жидкости уменьшают до 100 см3 осторожным сифонированием жидкости сверху (конец сифона всегда должен находиться не более чем на 20 мм ниже поверхности жидкости) до градуировочной метки 100 см3 на делительной воронке. Оставшиеся 100 см3 жидкости (масло, воду и эмульсию) сливают в центрифужную пробирку.
8.6 Центрифугируют пробирку и ее содержимое в течение 10 - 15 мин с относительной центробежной силой, равной 700, и регистрируют объем отделенных воды и эмульсии.
8.7 Выполняют не менее двух определений на каждом образце масла, повторяя операции по
8.1 -
8.6. Если расхождения двух полученных результатов выходят за пределы повторяемости метода A, результаты не учитывают и проводят испытания на новом образце.
9.1 Нагревают жидкость бани до температуры (82 +/- 1) °C и поддерживают эту температуру в течение испытания.
9.2 Помещают в делительную воронку (360 +/- 5) см
3 испытуемого масла комнатной температуры. Устанавливают делительную воронку с маслом в баню с постоянной температурой и доводят ее температуру до 82 °C. Добавляют к маслу (90,0 +/- 0,5) см
3 дистиллированной воды, отмеренной при комнатной температуре. Погружают мешалку в масло и аккуратно устанавливают ее следующим образом: опускают мешалку до касания дна воронки, затем поднимают ее приблизительно на 25 мм. Следят за тем, чтобы вертикальная ось мешалки располагалась по центральной вертикальной оси воронки. Включают на 5 мин (с учетом времени запуска) мотор мешалки и плавно за 25 - 30 с доводят до скорости перемешивания (2500 +/- 250) об/мин (см.
примечание 7). Затем не полностью вынимают мешалку из делительной воронки из смеси масло-вода. Дают смеси стечь с мешалки в течение 5 мин, затем полностью вынимают из делительной воронки и очищают.
Примечание 6 - Более быстрый режим запуска мешалки, в отличие от рекомендуемого, может привести к неудовлетворительным результатам.
9.3 Через 5 ч после перемешивания пипеткой вместимостью 50 см
3 отбирают 50 см
3 образца с уровня на 50 мм ниже поверхности смеси масло-вода приблизительно из центра воронки. Помещают содержимое пипетки в центрифужную пробирку и определяют содержание воды в образце по ASTM D 1796. Регистрируют результаты как процентное содержание воды в масле.
9.4 Сразу же вынимают делительную воронку из бани и сливают свободную воду, отделившуюся от смеси масло-вода, в мерный цилиндр вместимостью 100 см
3. Выдерживают воду до комнатной температуры, измеряют и регистрируют ее объем.
9.5 После удаления свободной воды из делительной воронки объем оставшейся жидкости уменьшают до 100 см3 осторожным сифонированием жидкости сверху (конец сифона всегда должен находиться не более чем на 20 мм ниже поверхности жидкости) до градуировочной метки 100 см3 на делительной воронке. Оставшиеся 100 см3 жидкости (масло, воду и эмульсию) сливают непосредственно в центрифужную пробирку.
9.6 Центрифугируют пробирку и ее содержимое в течение 10 - 15 мин с относительной центробежной силой, равной 700, и регистрируют отделенные объемы воды и эмульсии.
9.7 Выполняют не менее двух определений на каждом образце масла, повторяя процедуру по
9.1 -
9.3. Если расхождение двух полученных результатов выходит за пределы повторяемости метода B, результаты не учитывают и проводят испытания на новом образце.
Примечание 7 - При испытании высоковязких или образующих эмульсию масел частота оборотов электродвигателя мешалки может понижаться. Частоту оборотов электродвигателя мешалки проверяют часто в течение 5-минутного перемешивания и при необходимости регулируют. Рекомендуется использовать пропорционально-интегрально-дифференциальный (ПИД) контроллер электродвигателя.
10 Оформление результатов
10.2 Вычисляют содержание воды в масле, %, по формуле (см.
8.3 или
9.3)

. (1)
10.2.1 Если содержание воды в масле не более 0,1%, записывают: < 0,1% или следовое количество.
10.3 Регистрируют содержание воды в масле (%) (см.
примечание 8), общее содержание свободной воды (см
3) и содержание отделенной центрифугированием эмульсии (см
3) для каждого определения и среднеарифметическое значение каждого измерения для всех испытаний. Общее содержание свободной воды - это содержание свободной воды (см
3), собранной в градуированный цилиндр вместимостью 50 см
3 (см.
8.4 или
9.4) и содержание свободной воды, отделенной центрифугированием (см.
8.6 или
9.6). Эти параметры необходимы при определении характеристик деэмульсации смазочного масла.
Примечание 8 - Содержание воды в масле не более 0,1% записывают: < 0,1% или следовое количество.
11 Прецизионность метода A
11.1 При определении прецизионности метода A не использовали набор лабораторий и образцов, требуемый отчетом ASTM D 02-1007. Для оценки приемлемости результатов (с 95%-ным уровнем доверительной вероятности) использовали следующие критерии: показатели прецизионности основаны на результатах, полученных в семи лабораториях с использованием трех типов масел, и применяют для масел с классами вязкости в диапазоне от ISO 220 до ISO 460 (1000 SUS - 2000 SUS при 100 °F).
11.1.1 Повторяемость r
Расхождение между последовательными результатами, полученными одним и тем же оператором на одной и той же аппаратуре при постоянно действующих условиях на идентичном исследуемом материале при нормальном и правильном выполнении метода испытания в течение длительного времени, может превышать следующие значения только в одном случае из двадцати:
общее содержание свободной воды, см3 ...................................... | 4,0; |
содержание эмульсии, см3 ............................................................. | 0,2. |
11.1.2 Воспроизводимость R
Расхождение между двумя единичными и независимыми результатами, полученными разными операторами в разных лабораториях на идентичном материале при нормальном и правильном выполнении метода испытания в течение длительного времени, может превышать следующие значения только в одном случае из двадцати:
общее содержание свободной воды, см3 ...................................... | 8,0; |
содержание эмульсии, см3 ............................................................. | 0,3. |
12 Прецизионность метода B
12.1 При определении прецизионности метода B были использованы результаты межлабораторных испытаний, выполненных в 13 лабораториях, с использованием шести типов смазочных масел для работы при сверхвысоких давлениях, смешанных в лаборатории. Информацию о маслах, результаты их испытаний и анализ данных программы межлабораторных испытаний приведены в отчете ASTM D 02-1449. В зависимости от значений, полученных соответствующим методом, по уровню деэмульсации испытуемые масла были разделены на три группы (A, B и C), для каждой группы была установлена прецизионность (см.
таблицу 1).
Таблица 1
Прецизионность метода B для смазочных масел, работающих
при сверхвысоком давлении
Группа деэмульсации | Значения для классификации | Повторяемость r | Воспроизводимость R |
Содержание воды в масле, % | Общее содержание свободной воды, см3 | Содержание эмульсии, см3 | Содержание воды в масле, % | Общее содержание свободной воды, см3 | Содержание эмульсии, см3 | Содержание воды в масле, % | Общее содержание свободной воды, м3 | Содержание эмульсии, см3 |
A | Не более 1,4 | Не менее 79 | Не более 0,2 | 0,4 | 3,6 | | 0,8 | 5,1 | |
B | Не более 6,0 | Не менее 60 | Не более 4,0 | 4,0 | 11 | 1,6 | 4,2 | 23 | 3,5 |
C | Не менее 6,0 | Не более 60 | Не менее 4,0 | 5,6 | 18 | Приблизительно 23 | 22 | 57 | Приблизительно 96 |
< A> Рассчитано по результатам исследований. |
12.1.1 Повторяемость r
Расхождение между двумя единичными и независимыми результатами, полученными разными операторами в разных лабораториях на идентичном материале при нормальном и правильном выполнении метода испытания в течение длительного времени, может превышать значения, указанные в
таблице 1, только в одном случае из двадцати.
12.1.2 Воспроизводимость R
Расхождение между двумя единичными и независимыми результатами, полученными разными операторами, работающими в разных лабораториях на одном и том же испытуемом материале в течение длительного времени, может превышать значения, указанные в
таблице 1, только в одном случае из двадцати.
13.1 Смещение по настоящему стандарту не может быть определено, т.к. значения общего содержания свободной воды и эмульсии можно определить только в терминах настоящих методов испытаний.
(справочное)
АППАРАТУРА
X1.1 Пробоотборник и центрирующее приспособление (см.
рисунок X1.1) являются вспомогательными устройствами для отбора образцов объемом 50 см
3 из делительной воронки при определении содержания воды в масле (см.
8.3 настоящего стандарта).
1 - прикреплено тангенциально к окружности отверстия
диаметром 16 мм; 2 - диаметр 25 мм, калибр 16
Рисунок X1.1 - Пробоотборник и центрирующее приспособление
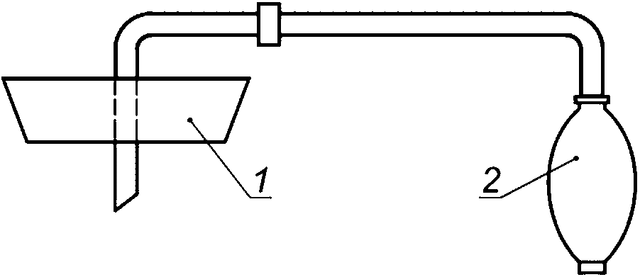
X1.2 На
рисунке X1.2 приведен экспресс-метод уменьшения объема жидкости, остающейся в делительной воронке, до 100 см
3 сифонированием жидкости сверху [конец сифона всегда должен находиться не более чем на 20 мм (3/4 дюйма) ниже поверхности жидкости] до метки 100 см
3 на делительной воронке.
1 - фильтровальная колба вместимостью 1000 см3;
2 - к всасывающему насосу; 3 - стеклянная трубка;
4 - резиновая трубка; 5 - делительная воронка вместимостью
500 см3; 6 - длинная центрифужная пробирка
Рисунок X1.2 - Устройство для уменьшения объема
в делительной воронке
X1.2.1 Время, необходимое для перемещения 100 см
3 жидкости из делительной воронки в центрифужную пробирку, можно сократить, особенно для высоковязких масел или эмульсии типа "майонез", создавая слабое давление (см.
рисунок X1.3) на открытом конце делительной воронки.
1 - резиновая пробка N 11; 2 - резиновая груша
Рисунок X1.3 - Устройство для создания давления
X1.3 На
рисунке X1.4a представлен подходящий контейнер для растворителя, используемого для очистки мешалки после перемешивания масла и воды (см.
8.2 настоящего стандарта), на
рисунке X1.4b - подходящий метод осушки мешалки после промывки растворителем.
1 - металлический цилиндр внутренним диаметром 102 мм;
2 - спаянное соединение; 3 - квадрат со стороной 89,7 мм,
калибр 16; 4 - квадрат со стороной 178 мм, калибр 16;
5 - вентилятор для нагнетания горячего воздуха;
6 - деревянное основание размерами 19 x 178 x 305 мм
Рисунок X1.4 - Дополнительное оборудование
(справочное)
СВЕДЕНИЯ О СООТВЕТСТВИИ ССЫЛОЧНЫХ СТАНДАРТОВ
МЕЖГОСУДАРСТВЕННЫМ СТАНДАРТАМ
Таблица ДА.1
Обозначение ссылочного стандарта | Степень соответствия | Обозначение и наименование соответствующего межгосударственного стандарта |
ASTM D 1193 | - | |
ASTM D 1796 | - | |
<*> Соответствующий межгосударственный стандарт отсутствует. До его принятия рекомендуется использовать перевод на русский язык данного международного стандарта. |
УДК 662.753:006.354 | |
Ключевые слова: смазочные масла, средняя и высокая вязкость, деэмульсация |