Главная // Актуальные документы // ГОСТ (Государственный стандарт)СПРАВКА
Источник публикации
М.: Стандартинформ, 2015
Примечание к документу
Документ
введен в действие с 1 января 2016 года.
Название документа
"ГОСТ ISO 8178-10-2014. Межгосударственный стандарт. Двигатели внутреннего сгорания поршневые. Измерение выброса продуктов сгорания. Часть 10. Испытательные циклы и методы измерений дымности отработавших газов в условиях эксплуатации на переходных режимах"
(введен в действие Приказом Росстандарта от 09.07.2015 N 892-ст)
"ГОСТ ISO 8178-10-2014. Межгосударственный стандарт. Двигатели внутреннего сгорания поршневые. Измерение выброса продуктов сгорания. Часть 10. Испытательные циклы и методы измерений дымности отработавших газов в условиях эксплуатации на переходных режимах"
(введен в действие Приказом Росстандарта от 09.07.2015 N 892-ст)
Приказом Федерального агентства
по техническому регулированию
и метрологии
от 9 июля 2015 г. N 892-ст
МЕЖГОСУДАРСТВЕННЫЙ СТАНДАРТ
ДВИГАТЕЛИ ВНУТРЕННЕГО СГОРАНИЯ ПОРШНЕВЫЕ
ИЗМЕРЕНИЕ ВЫБРОСА ПРОДУКТОВ СГОРАНИЯ
ЧАСТЬ 10
ИСПЫТАТЕЛЬНЫЕ ЦИКЛЫ И МЕТОДЫ ИЗМЕРЕНИЙ ДЫМНОСТИ ОТРАБОТАВШИХ
ГАЗОВ В УСЛОВИЯХ ЭКСПЛУАТАЦИИ НА ПЕРЕХОДНЫХ РЕЖИМАХ
Reciprocating internal combustion engines. Exhaust emission
measurement. Part 10. Test cycles and test procedures
for field measurement of exhaust gas smoke emissions
from compression ignition engines operating
under transient conditions
(ISO 8178-10:2002, IDT)
ГОСТ ISO 8178-10-2014
Дата введения
1 января 2016 года
Цели, основные принципы и основной порядок проведения работ по межгосударственной стандартизации установлены
ГОСТ 1.0-92 "Межгосударственная система стандартизации. Основные положения" и
ГОСТ 1.2-2009 "Межгосударственная система стандартизации. Стандарты межгосударственные, правила и рекомендации по межгосударственной стандартизации. Правила разработки, принятия, применения, обновления и отмены"
1 ПОДГОТОВЛЕН Обществом с ограниченной ответственностью "Центральный научно-исследовательский дизельный институт" (ООО "ЦНИДИ") на основе собственного перевода на русский язык англоязычной версии стандарта, указанного в
пункте 5
2 ВНЕСЕН Техническим комитетом ТК 235 "Двигатели внутреннего сгорания поршневые"
3 ПРИНЯТ Межгосударственным советом по стандартизации, метрологии и сертификации (протокол от 5 декабря 2014 г. N 46)
За принятие проголосовали:
Краткое наименование страны по МК (ИСО 3166) 004-97 | Код страны по МК (ИСО 3166) 004-97 | Сокращенное наименование национального органа по стандартизации |
Армения | AM | Минэкономики Республики Армения |
Беларусь | BY | Госстандарт Республики Беларусь |
Казахстан | KZ | Госстандарт Республики Казахстан |
Киргизия | KG | Кыргызстандарт |
Молдова | MD | Молдова-Стандарт |
Россия | RU | Росстандарт |
Узбекистан | UZ | Узгосстандарт |
4 Приказом Федерального агентства по техническому регулированию и метрологии от 9 июля 2015 г. N 892-ст межгосударственный стандарт ГОСТ ISO 8178-10-2014 введен в действие в качестве национального стандарта Российской Федерации с 1 января 2016 г.
5 Настоящий стандарт идентичен международному стандарту ISO 8178-10:2002 "Двигатели внутреннего сгорания поршневые. Измерение выброса продуктов сгорания. Часть 10. Испытательные циклы и методы измерений дымности отработавших газов в условиях эксплуатации на переходных режимах" ("Reciprocating internal combustion engines - Exhaust emission measurement - Part 10: Test cycles and test procedures for field measurement of exhaust gas smoke emissions from compression ignition engines operating under transient conditions", IDT)
Международный стандарт разработан техническим комитетом ISO/TC 70 "Двигатели внутреннего сгорания поршневые", подкомитетом SC 8 "Измерение выбросов вредных веществ с отработавшими газами" Международной организации по стандартизации (ISO).
Официальные экземпляры международного стандарта, на основе которого подготовлен настоящий межгосударственный стандарт, и международных стандартов, на которые даны ссылки, имеются в Федеральном информационном центре технических регламентов и стандартов.
В
разделе "Нормативные ссылки" и тексте стандарта ссылки на международные стандарты актуализированы.
Сведения о соответствии межгосударственных стандартов ссылочным международным стандартам приведены в дополнительном
приложении ДА
6 ВВЕДЕН ВПЕРВЫЕ
Информация об изменениях к настоящему стандарту публикуется в ежегодном информационном указателе "Национальные стандарты", а текст изменений и поправок - в ежемесячном информационном указателе "Национальные стандарты". В случае пересмотра (замены) или отмены настоящего стандарта соответствующее уведомление будет опубликовано в ежемесячном информационном указателе "Национальные стандарты". Соответствующая информация, уведомление и тексты размещаются также в информационной системе общего пользования - на официальном сайте Федерального агентства по техническому регулированию и метрологии в сети Интернет
Настоящий стандарт распространяется на поршневые двигатели внутреннего сгорания с самовоспламенением от сжатия и устанавливает испытательные циклы и методы измерений, применяемые для оценки дымности двигателей в условиях эксплуатации.
Измерения на переходных режимах производят с помощью оптических дымомеров - приборов, основанных на оценке степени ослабления светового потока. Требования к измерению дымности с помощью приборов, основанных на оценке степени ослабления светового потока, изложены в ISO 11614.
Настоящий стандарт может быть использован для оценки дымности двигателя с учетом его конкретного применения только при условии использования испытательного цикла, соответствующего данному применению. В
приложениях A,
B и
C приведены испытательные циклы, которые могут быть использованы только для тех применений, которые перечислены в соответствующих приложениях. Там, где это возможно, испытательные циклы для измерений дымности, описанные в указанных приложениях, соответствуют категориям двигателей и машин, используемым в ISO 8178-4.
В настоящем стандарте использованы нормативные ссылки на следующие стандарты:
ISO 8178-4:2007, Reciprocating internal combustion engines - Exhaust emission measurement - Part 4: Steady-state test cycles for different engine applications (Двигатели внутреннего сгорания поршневые. Измерение выбросов отработавших газов. Часть 4. Испытательные циклы для различных режимов работы двигателей)
ISO 8178-5:2008, Reciprocating internal combustion engines - Exhaust emission measurement - Part 5: Test fuels (Двигатели внутреннего сгорания поршневые. Измерение выброса продуктов сгорания. Часть 5. Топливо для испытаний)
ISO 8178-6:2000, Reciprocating internal combustion engines - Exhaust emission measurement - Part 6: Report on measuring results and test report (Двигатели внутреннего сгорания поршневые. Измерение выброса продуктов сгорания. Часть 6. Отчет о результатах измерения и испытания)
ISO 8178-7:1996, Reciprocating internal combustion engines - Exhaust emission measurement - Part 7: Engine family determination (Двигатели внутреннего сгорания поршневые. Измерение выброса продуктов сгорания. Часть 7. Определение семейства двигателей)
ISO 8178-8:1996, Reciprocating internal combustion engines - Exhaust emission measurement - Part 8: Engine group determination (Двигатели внутреннего сгорания поршневые. Измерение выброса продуктов сгорания. Часть 8. Определение группы двигателей)
ISO 8178-9:2012, Reciprocating internal combustion engines - Exhaust emission measurement - Part 9: Test cycles and test procedures for test bed measurement of exhaust gas smoke emissions from compression ignition engines operating under transient conditions (Двигатели внутреннего сгорания поршневые. Измерение выброса продуктов сгорания. Часть 9. Циклы и методики испытаний для стендовых измерений дымовыделения отработавших газов от двигателей внутреннего сгорания в неустановившемся режиме)
ISO 11614:1999, Reciprocating internal combustion compression-ignition engines. Apparatus for measurement of the opacity and for determination of the light absorption coefficient of exhaust gas (Двигатели внутреннего сгорания поршневые с воспламенением от сжатия. Прибор для измерения дымности и определения коэффициента поглощения светового потока в отработавших газах)
В настоящем стандарте применены следующие термины с соответствующими определениями:
3.1 дымность отработавших газов (exhaust gas smoke): Это видимая глазом взвесь содержащихся в отработавших газах твердых и/или жидких частиц, образовавшихся в результате неполного сгорания или пиролиза топлива и масла.
Примечание - Могут наблюдаться следующие разновидности дымности отработавших газов: "черный дым" (сажа), состоящий главным образом из частиц углерода, "синий дым", обычно состоящий из мелкодисперсных капель, образующихся в результате неполного сгорания топлива или смазочного масла, "белый дым", обычно образующийся из-за конденсации воды и/или жидкого топлива, "желтый дым", свидетельствующий о присутствии NO2.
3.2
коэффициент пропускания светового потока 
(transmittance): Часть светового потока от источника света, прошедшая через задымленную среду и воспринятая приемником света. Выражается в процентах.
3.3 коэффициент ослабления светового потока N (opacity): Часть светового потока от источника света, не достигшая приемника света из-за поглощения, отражения и рассеяния отработавшими газами, проходящими через измерительную камеру дымомера. Выражается в процентах.

.
3.4 фотометрическая база (optical path length).
3.4.1 эффективная фотометрическая база LA (effective optical path length): Длина пути между источником и светоприемником, который проходит луч света в измерительной камере дымомера, заполняемой потоком отработавших газов, с поправкой на неоднородность потока, возникающую из-за перепадов плотности и краевых эффектов. Выражается в метрах.
Примечания
1 В
9.2 описаны способы определения и установки измерительной аппаратуры в системе выпуска в условиях эксплуатации.
2 Участки, проходимые лучом света по пути от источника к светоприемнику, где задымление отсутствует, при определении длины эффективной фотометрической базы не учитывают.
3.4.2 стандартная эффективная фотометрическая база LAS (standard effective optical path length): Параметр, обеспечивающий возможность корректного сравнения значений коэффициента ослабления светового потока.
Примечание - Значения
LAS определены в
10.1.4.
3.5 показатель поглощения светового потока k (light absorption coefficient): Основной параметр, используемый для количественной оценки дымности отработавших газов.
Примечание - Общепринятой единицей измерения показателя поглощения светового потока является метр в минус первой степени, м-1. Показатель поглощения зависит от числа дымовых частиц в заданном объеме газа, распределения дымовых частиц по размерам, а также от поглощения и рассеивания частиц. При отсутствии синего, белого или желтого дыма и золы распределение дымовых частиц по размерам, а также поглощение и рассеивание частиц отработавших газов всех двигателей практически одинаковы, поэтому показатель поглощения в этом случае определяется главным образом плотностью дымовых частиц.
3.6
закон Бэра-Ламберта (Beer-Lambert law): Математическое уравнение, описывающее физические соотношения между показателем поглощения
k, коэффициентом ослабления
N или коэффициентом пропускания

и эффективной фотометрической базой
LA

(1)
или

. (2)
Примечание - Поскольку прямое измерение показателя поглощения
k невозможно, то этот показатель рассчитывают с помощью закона Бэра-Ламберта, при этом должны быть известны значения коэффициента ослабления
N или коэффициента пропускания

, а также эффективной фотометрической базы
LA.
3.7 оптический дымомер (opacimeter): Прибор, используемый для определения дымности отработавших газов оптическим методом, основанным на измерении степени ослабления светового потока.
3.7.1 полнопоточный оптический дымомер (full-flow opacimeter): Прибор, через измерительную камеру которого проходит весь поток отработавших газов.
3.7.1.1 полнопоточный выходной оптический дымомер (full-flow end-of-line opacimeter): Прибор, используемый для измерения коэффициента ослабления во всем сечении потока отработавших газов на выходе из выпускной трубы.
Примечание - В таком дымомере источник и приемник света находятся по разные стороны потока отработавших газов в непосредственной близости от выхода из выпускной трубы. При использовании такого дымомера эффективная фотометрическая база зависит от конструкции выпускной трубы.
3.7.1.2 полнопоточный проходной оптический дымомер (full-flow in-line opacimeter): Прибор, используемый для измерения параметров дымности всего потока отработавших газов внутри выпускной трубы.
Примечание - В таком оптическом дымомере источник и приемник света находятся по разные стороны потока отработавших газов в непосредственной близости от наружной стенки выпускной трубы. При использовании оптического дымомера данного типа эффективная фотометрическая база определена конструкцией прибора.
3.7.2 частичнопоточный оптический дымомер (partial-flow opacimeter): Прибор, через измерительную камеру которого проходит не весь поток отработавших газов, а только его часть.
Примечание - При использовании такого дымомера эффективная фотометрическая база зависит от его конструкции.
3.7.3
время отклика оптического дымомера (opacimeter response time).
3.7.3.1 физическое время отклика оптического дымомера tp (opacimeter physical response time): Разность времени между моментами достижения соответственно 10% и 90% полного диапазона значений нефильтрованного сигнала k, измеренного при условии, что изменение показателя поглощения исследуемого газа происходит менее чем за 0,01 с.
Примечание - Физическое время отклика частичнопоточного дымомера определяют с учетом пробоотборника и передаточной трубки. Дополнительная информация о физическом времени отклика приведена в 8.2.1 и 11.7.2 ISO 11614.
3.7.3.2 электрическое время отклика оптического дымомера te (opacimeter electrical response time): Разность времени между моментами достижения соответственно 10% и 90% полного диапазона значений выходного сигнала пишущего или показывающего прибора, измеренного при условии, что полное перекрытие или отключение источника света происходит менее чем за 0,01 с.
Примечание - Дополнительная информация об электрическом времени отклика приведена в 8.2.3 ISO 11614.
4 Обозначения параметров и единицы измерения
Обозначения параметров и единицы их измерения приведены в
таблице 1.
Таблица 1
Обозначение параметров и единицы их измерения
Обозначение | Параметр | Единица измерения |
D | Постоянная функции Бесселя | Относительная единица |
E | Постоянная функции Бесселя | Относительная единица |
fa | Атмосферный фактор | Относительная единица |
fc | Критическая частота фильтра Бесселя | с-1 |
k | Показатель поглощения светового потока | м-1 |
kcorr | Показатель поглощения светового потока с поправкой на атмосферные условия | м-1 |
kobs | Измеренный показатель поглощения светового потока | м-1 |
K | Постоянная Бесселя | Относительная единица |
KS | Коэффициент поправки на атмосферные условия при определении дымности | Относительная единица |
LA | Эффективная фотометрическая база | м |
LAS | Стандартная эффективная фотометрическая база | м |
N | Коэффициент ослабления светового потока | % |
NA | Коэффициент ослабления светового потока, измеренный дымомером с нестандартной эффективной фотометрической базой | % |
NAS | Коэффициент ослабления светового потока, измеренный дымомером со стандартной эффективной фотометрической базой | % |
pme | Среднее эффективное давление | кПа |
pS | Атмосферное давление воздуха для сухого состояния | кПа |
P | Мощность двигателя | кВт |
Si | Мгновенное значение дымности | м-1 или % |
| Интервал времени между последовательными замерами дымности (= 1/частота замеров) | с |
tAver | Общее время отклика | с |
te | Электрическое время отклика оптического дымомера | с |
tF | Время отклика фильтра функции Бесселя | с |
tp | Физическое время отклика оптического дымомера | с |
Ta | Температура воздуха на впуске двигателя | К |
X | Требуемое общее время отклика | с |
Yi | Усредненное значение дымности по Бесселю | м-1 или % |
| Плотность атмосферного воздуха для сухого состояния | кг/м3 |
| Коэффициент (оптического) пропускания светового потока | % |
| Постоянная Бесселя | Относительная единица |
5 Условия проведения испытаний
5.1.1 Параметры атмосферных условий при испытаниях
Следует измерять абсолютную температуру воздуха на впуске двигателя
Ta и атмосферное давление воздуха для сухого состояния
ps, а значение атмосферного фактора
fa должны вычислять по
формулам (3) -
(5).
Для двигателей без наддува или с механическим наддувом и перепуском

. (3)
Примечание - Эта формула также применима в том случае, когда перепуск действует на протяжении лишь части испытательного цикла. Если перепуск на протяжении испытательного цикла не используют вообще, то должны использовать
формулы (4) или
(5) в зависимости от типа воздухоохладителя (при его наличии).
Для двигателей с турбонаддувом без промежуточного воздухоохладителя или с воздухоохладителем воздушного типа

. (4)
Для двигателей с турбонаддувом и с воздухоохладителем водяного типа

. (5)
5.1.2 Критерии достоверности испытаний
Для того чтобы испытания были признаны достоверными, необходимо, чтобы параметр fa удовлетворял следующему условию:
0,93 <= fa <= 1,07. (6)
Значения дымности, полученные в данном диапазоне
fa, должны быть откорректированы в соответствии с указаниями
10.3. Результаты испытаний, полученные вне указанного диапазона, не могут сравнивать с результатами, полученными при испытаниях по ISO 8178-9.
Дополнительные критерии достоверности приведены в
7.3.4 (нулевой дрейф оптического дымомера) и в
приложениях A -
C (критерии достоверности испытательного цикла).
Вспомогательные устройства, необходимые только для работы приводимого оборудования, должны быть отключены. В случае невозможности их отключения они должны работать в режиме, в котором потребляемая ими мощность является минимально возможной при проведении данных испытаний. Примерами подобных устройств являются:
- воздушный компрессор для тормозной системы;
- насос гидроусилителя руля;
- компрессор кондиционера;
- насосы различных гидроусилителей;
- вспомогательное электрооборудование (светильники, вентиляторы и т.п.).
5.3 Впускная система двигателя
Впускная система двигателя должна быть проверена на герметичность, на наличие незатянутых или отсутствующих хомутов, фитингов и т.п. При этом следует также обратить внимание на общее состояние воздушного тракта, в том числе воздухоочистителя (который, возможно, требует чистки).
5.4 Выпускная система двигателя
Выпускная система двигателя должна быть проверена на герметичность, на наличие незатянутых или отсутствующих хомутов, фитингов и т.п. При этом следует также обратить внимание на общее состояние газового тракта.
5.5 Двигатели с охлаждением наддувочного воздуха
Впускная система двигателя должна быть проверена на герметичность, на наличие незатянутых или отсутствующих хомутов, фитингов и т.п. При этом следует также обратить внимание на общее состояние воздушного тракта.
Характеристики топлива оказывают влияние на содержание вредных выбросов двигателя. Испытания на дымность по ISO 8178-9 - это, как правило, сертификационные или типовые испытания, проводимые с использованием вида топлива, оговоренного в соответствующем нормативном документе. При испытаниях в условиях эксплуатации эталонное топливо обычно не используют. Поэтому характеристики топлива, используемого при испытаниях, следует определять, регистрировать и прилагать к протоколу испытаний.
Когда используют виды топлива, которые в ISO 8178-5 определены как эталонные, необходимо указать обозначение используемого эталонного топлива и его состав по результатам анализа. Для всех остальных видов топлива должны регистрировать их характеристики, указанные в соответствующих формах ISO 8178-5.
Выбор топлива зависит от цели испытаний. Если заинтересованные стороны не договорились об ином, выбор топлива для испытаний следует производить в соответствии с
таблицей 2.
Таблица 2
Выбор топлива для испытаний
Цель испытаний | Заинтересованная сторона | Выбор топлива |
Приемочные испытания (сертификация) | Орган по сертификации Изготовитель или поставщик | Эталонное топливо (если оно определено) Промышленное топливо (если эталонное топливо не определено) |
Приемо-сдаточные испытания | Изготовитель или поставщик Заказчик или инспектор | Промышленное топливо, определенное изготовителем <a> |
Исследование/доводка | Это могут быть: - изготовитель, - исследовательская организация, - поставщик топлив и масел и т.п. | В зависимости от целей испытаний |
<a> Заказчики и инспекторы должны иметь в виду, что значения вредных выбросов, полученные при использовании промышленных топлив, не обязательно будут укладываться в допустимые пределы, предполагающие использование эталонного топлива. Характеристики топлива, используемого при проведении приемо-сдаточных испытаний, должны отвечать требованиям изготовителя двигателя, указанным в его технической документации. В случае отсутствия нужного эталонного топлива допускается использование другого топлива, по своим свойствам достаточно близкого к эталонному. Характеристики топлива должны быть согласованы заинтересованными сторонами. |
7 Измерительное оборудование и точность измерений
При испытаниях двигателей на дымность в условиях эксплуатации должны использовать оборудование, указанное в
7.3.
7.2.1 Общие положения
Аппаратура для измерения частоты вращения двигателя, давления и температуры в настоящем стандарте подробно не рассмотрена, приведены лишь требования к точности, указанной в
7.4.
7.2.2 Частота вращения двигателя
Измерение частоты вращения двигателя нужно для того, чтобы убедиться в том, что испытания проводят правильно. Измерение частоты вращения двигателя необходимо, в частности, для того, чтобы убедиться в правильной работе регулятора частоты вращения - во избежание аварии двигателя. Неправильное определение минимальной или максимальной частоты вращения холостого хода может привести к тому, что результаты определения дымности будут отличаться от результатов, полученных при испытаниях по ISO 8178-9.
7.2.3 Температура окружающего воздуха
Температура окружающего воздуха (по сухому термометру) необходима для внесения поправки на окружающие условия в значение дымности, а также для проверки соответствия двигателя стандарту, по которому он был сертифицирован согласно требованиям ISO 8178-9.
7.2.4 Давление сухого атмосферного воздуха
Давление окружающего воздуха необходимо для внесения поправки на окружающие условия в значение дымности, а также для проверки соответствия двигателя стандарту, по которому он был сертифицирован согласно требованиям ISO 8178-9. Давление сухого атмосферного воздуха обычно определяют путем вычитания рассчитанного давления паров воды из измеренного давления окружающего воздуха (барометрического давления). Давление паров обычно рассчитывают по результатам измерения точки росы или значений температуры по влажному и сухому термометрам.
7.3.1 Общие положения
Определение дымности на переходных режимах следует производить с помощью дымомеров оптического типа. Для этого могут быть использованы дымомеры одного из следующих трех типов: проходные, выходные полнопоточные и выходные частичнопоточные. Требования к дымомерам указанных трех видов приведены в
разделе 11, а также в разделах 6 и 7 ISO 11614. Поправка по температуре на переходных режимах официально не утверждена, поэтому такая поправка в отношении измерения дымности в настоящий стандарт не вошла.
7.3.2 Общие требования к оптическим дымомерам
При измерении дымности используют систему измерения и обработки данных, состоящую из трех основных компонентов. Эти компоненты могут быть выполнены в виде отдельных узлов либо объединены в единый узел. Такими компонентами являются:
- полнопоточный или частичнопоточный дымомер, удовлетворяющий требованиям настоящего раздела. Подробные требования к дымомерам приведены в
разделе 11 и в ISO 11614;
- устройство обработки данных, способное выполнять функции, перечисленные в
10.2 и
10.3, а также в соответствующих
приложениях A -
C;
- принтер и/или электронное средство хранения информации, способное записывать и воспроизводить параметры дымности, перечисленные в соответствующих
приложениях A -
C.
7.3.3 Нелинейность
Нелинейность определена как разность между величиной, измеренной с помощью оптического дымомера, и ее эталонным значением, полученным при калибровке. Нелинейность не должна превышать +/- 2% величины коэффициента ослабления светового потока.
Дрейф нуля в течение 1 ч либо всего времени испытаний (сравнение с меньшим из указанных двух периодов) не должен превышать +/- 0,5% коэффициента ослабления светового потока или 2% от полной шкалы прибора (сравнение с меньшей из указанных двух величин).
7.3.5 Шкала и диапазон измерения оптического дымомера
Шкала дымомера, градуированная в единицах коэффициента ослабления и/или показателя поглощения, должна охватывать диапазон измерения, достаточный для определения дымности с необходимой точностью. Цена деления не должна превышать 0,1% от полного диапазона шкалы.
Фотометрическая база прибора должна быть достаточной для измерения дымности таким образом, чтобы влияние погрешностей калибровки, измерений и расчетов было сведено к минимуму.
7.3.6 Время отклика прибора
Физическое время отклика оптического дымомера не должно превышать 0,2 с, его электрическое время отклика - 0,05 с.
7.3.7 Требования к пробоотбору для частичнопоточных оптических дымомеров
Условия пробоотбора должны удовлетворять требованиям 11.3 ISO 8178-9.
7.3.8 Источник света
Источник света должен удовлетворять требованиям 11.2 и 11.3 ISO 8178-9.
7.3.9 Нейтрально-серые светофильтры
Коэффициент ослабления нейтрально-серых светофильтров, используемых для калибровки и проверки дымомеров, должен быть известен с точностью до +/- 1%. Номинальную величину коэффициента ослабления такого светофильтра должны проверять не реже одного раза в год с помощью эталона, состоящего на учете в соответствии с национальным или международным стандартами.
Примечание - Нейтрально-серые светофильтры являются прецизионными устройствами, требующими крайне аккуратного обращения при их использовании. Обращаться с ними следует с большой осторожностью, не допуская появления царапин на светофильтре или его загрязнения.
Калибровку всех измерительных приборов должны проводить в соответствии с международными стандартами (или национальными стандартами, в случае отсутствия соответствующих международных стандартов), при этом точность измерительных приборов должна удовлетворять требованиям, приведенным в
таблице 3.
Таблица 3
Предельно допустимые отклонения приборов для измерения
параметров двигателя
Параметр | Предельно допустимое отклонение | Периодичность калибровки, мес |
Частота вращения двигателя | +/- 5% от показания прибора | 3 |
Температура окружающего воздуха | +/- 2 °C | 3 |
Барометрическое давление | +/- 0,5% | 3 |
Относительная влажность окружающего воздуха | +/- 3% | 3 |
Примечание - ISO 8178-1 устанавливает требования к измерению температуры воздуха на впуске, тогда как настоящий стандарт использует температуру окружающего воздуха. В некоторых установках расхождение между этими двумя параметрами может быть существенным, и его необходимо учитывать.
8 Калибровка оптического дымомера
Калибровку оптического дымомера должны проводить с периодичностью, достаточной для обеспечения точности согласно требованиям настоящего стандарта. При этом должен быть использован порядок калибровки, описанный в
8.2.
8.2.1 Время прогрева
Время прогрева и стабилизации прибора должно соответствовать рекомендациям изготовителя. Если дымомер снабжен системой очистки воздуха для предотвращения накопления сажи на оптических поверхностях прибора, эта система должна быть включена и настроена в соответствии с рекомендациями изготовителя.
8.2.2 Проверка нелинейности
При работе дымомера в режиме измерения коэффициента ослабления светового потока и при отсутствии препятствий на пути луча света прибор настраивают таким образом, чтобы указатель в этом режиме находился на отметке (0,0 +/- 0,5)%.
При работе оптического дымомера в режиме измерения коэффициента ослабления светового потока и при условии, что никакие лучи света на приемник не попадают, прибор настраивают таким образом, чтобы указатель в этом режиме находился на отметке (100,0 +/- 0,5)%.
Нелинейность дымомера в режиме измерения коэффициента ослабления должны периодически контролировать в соответствии с рекомендациями изготовителя. Для этого в дымомер вставляют светофильтр нейтрально-серого цвета с коэффициентом ослабления от 30% до 60%, удовлетворяющий требованиям
7.3.9, после чего регистрируют показания прибора. Они не должны отличаться от номинального коэффициента ослабления светофильтра нейтрально-серого цвета более чем на +/- 2%. Если нелинейность превышает указанную величину, прибор перед дальнейшим использованием должен быть отрегулирован.
9 Порядок проведения испытаний
9.1 Установка измерительного оборудования
Оптический дымомер и пробоотборники, если их используют, должны быть установлены после глушителя или внешнего устройства газоочистки (при его наличии), в соответствии с инструкциями изготовителя прибора. Конструкция некоторых систем выпуска делает возможным проникновение воздуха в выпускную трубу и его смешивание с потоком отработавших газов. Измерение дымности должны производить до того, как это смешивание произошло, если результаты этого измерения необходимо сравнивать с результатами измерения по ISO 8178-9. Кроме того, с учетом конкретного применения должны соблюдать требования 10 ISO 11614. В случае использования полнопоточного выходного дымомера величина
LA будет зависеть от конструкции системы выпуска транспортного средства и от способа установки датчика в выпускной трубе. В
9.2 приведены способы определения
LA для различных типов выпускных труб, применяемых на практике. В некоторых машинах доступность системы выпуска ограничена, поэтому выполнить установку измерительной аппаратуры в точном соответствии с настоящим стандартом не всегда возможно. В таких случаях полученные результаты измерений не всегда сравнимы с результатами соответствующих измерений по ISO 8178-9.
Не следует проводить измерения при сильном ветре. Сильным считается ветер, способный повлиять на размеры, форму или местонахождение потока отработавших газов в зоне пробоотбора или в зоне измерения. Для устранения или ослабления влияния ветра можно поместить машину в укрытие, где она была бы защищена от ветра, либо использовать такие измерительные приборы, которые в силу своей конструкции предотвращают влияние ветра на параметры дымности в зоне измерения или пробоотбора.
В зоне пробоотбора или в зоне измерения потока отработавших газов не должно быть видимых осадков (т.е. дождя, тумана или снега). На измеряемый поток отработавших газов или на светоприемник не должен попадать прямой солнечный свет. Существуют измерительные приборы, конструкция которых способна предотвращать указанные нежелательные эффекты.
9.2 Определение эффективной фотометрической базы LA
9.2.1 Общие положения
Участки, проходимые световым потоком от источника к светоприемнику, где задымление отсутствует, при вычислении эффективной фотометрической базы не учитывают. Если луч от источника света дымомера расположен достаточно близко (ближе 0,07 м к выходу из выпускной трубы), то размер потока отработавших газов, проходящего через дымомер, почти не отличается от размера выпускной трубы на ее выходе, измеренного по направлению луча. Практически этот размер определяют путем непосредственного измерения выходного сечения выпускной трубы для того, чтобы обеспечить измерение дымности с погрешностью (по коэффициенту ослабления) в пределах +/- 2%, необходимо определить LA с погрешностью не более +/- 6,0%. (Максимальная погрешность (по коэффициенту ослабления) наблюдается при величине коэффициента ослабления порядка 60%, при других - больших или меньших - значениях коэффициента ослабления допускается более высокая погрешность LA.) При минимально допустимой (0,038 м) величине стандартной эффективной фотометрической базы погрешность +/- 6% составляет +/- 0,002 м.
Обычно бывает достаточно трудно, особенно при испытаниях нескольких работающих двигателей на месте установки, непосредственно замерить выходные диаметры их выпускных труб. Поэтому, при отсутствии возражений со стороны изготовителя двигателя, можно рассмотреть вариант наращивания их общей выпускной трубы дополнительной секцией, длина которой составляет от трех до тридцати ее диаметров. Соединение выпускной трубы с дополнительной секцией должно быть газоплотным, во избежание разбавления отработавших газов воздухом.
Для большинства типичных конструкций выпускной трубы величина LA с достаточной точностью может быть определена по наружным размерам выпускного тракта, замерить которые не составляет труда. Подобные случаи описаны в следующей части данного раздела, а также рассмотрены принципы и процедуры, которыми следует руководствоваться при определении LA.
9.2.2 Внутренние и внешние размеры выпускной трубы
Выпускная труба машины в большинстве случаев представляет собой металлическую трубу, размеры которой определяют путем расчета. Номинальные размеры трубы определяются ее наружным диаметром OD, тогда как величина LA зависит от ее внутреннего диаметра. Разность между наружным и внутренним диаметрами трубы равна удвоенной толщине ее стенок, которая, как правило, относительно мала.
Использование наружного диаметра трубы в качестве измеренной эффективной фотометрической базы дает возможность получить откорректированное значение дымности, которое чуть меньшее его истинного значения (разница составляет менее 1% коэффициента поглощения). Столь незначительную погрешность в большинстве случаев считают приемлемой. Однако в тех случаях, когда требуется максимальная точность или когда выпускная труба имеет толстые стенки, их толщину должны учитывать.
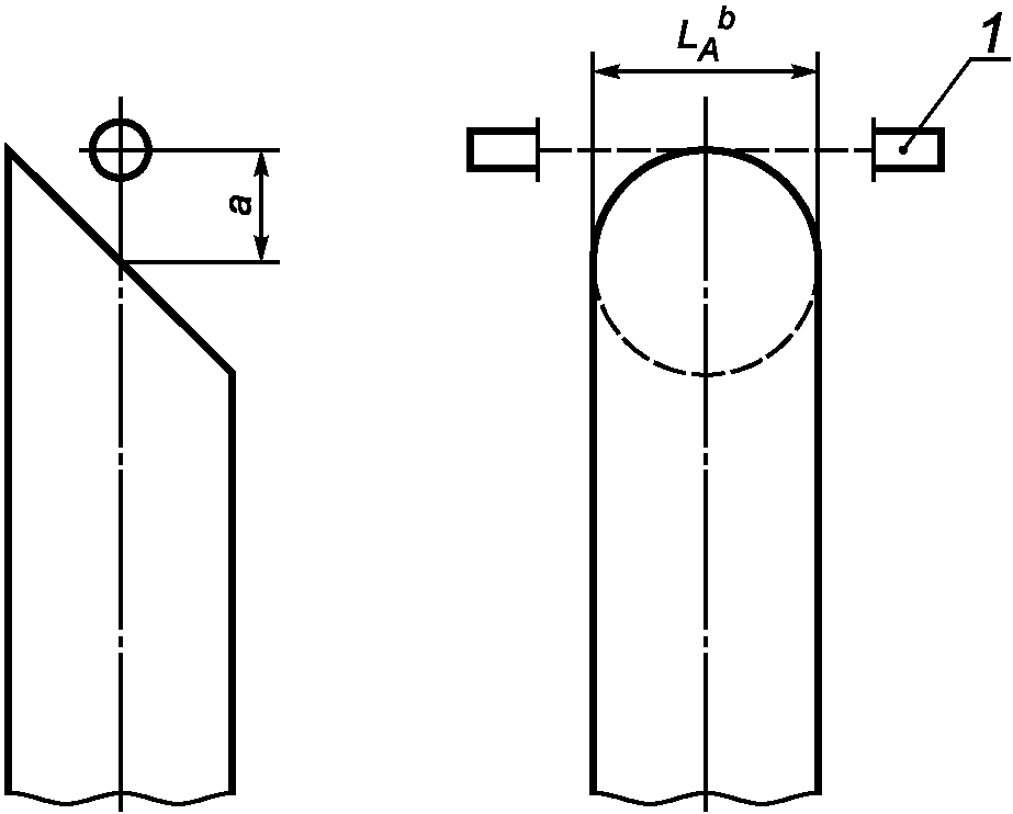
9.2.2.2 Прямые выпускные трубы кольцевого сечения без скоса
Простейшая конструкция выпускной трубы подобного типа показана на
рисунке 1.
1 - полнопоточный дымомер; 2 - выпускная труба кольцевого
сечения
--------------------------------
<a> Поток отработавших газов.
<b> LA - внутренний диаметр выпускной трубы (LA может быть приравнено к наружному диаметру выпускной трубы при толщине стенок менее 1,5 мм).
<c> Указанное расстояние должно быть не более 5 см.
Рисунок 1 - Прямая цилиндрическая выпускная труба кольцевого
сечения без скоса
В этом случае направление луча от источника света дымомера должно быть перпендикулярно оси потока отработавших газов, при этом луч должен пересекать его на расстоянии не более 0,05 м от выходного сечения трубы. При соблюдении указанных условий значение
LA равно внутреннему диаметру трубы ID, и в большинстве случаев может быть с достаточной точностью аппроксимировано ее наружным диаметром OD
(9.2.2.1).
9.2.2.3 Прямые выпускные трубы кольцевого сечения со скосом
Выходное сечение выпускной трубы со скосом не перпендикулярно ее оси. В этом случае существует лишь единственный правильный вариант ориентации дымомера, а именно: ось светового луча должна пересекать ось дымного шлейфа под прямым углом, и при этом быть параллельной малой оси выходного сечения выпускной трубы, имеющего форму эллипса. Точка пересечения должна быть расположена на расстоянии не более 0,05 м от выходного сечения выпускной трубы
(рисунок 2). При соблюдении этих условий значение
LA равно внутреннему диаметру трубы ID, и в большинстве случаев может быть с достаточной точностью аппроксимировано ее наружным диаметром OD
(9.2.2.1).
a) Рекомендуемая ориентация дымомера
b) Нерекомендуемая ориентация дымомера
1 - полнопоточный дымомер
--------------------------------
<a> Указанное расстояние должно быть не более 5 см.
<b> LA - внутренний диаметр выпускной трубы (LA может быть приравнено к наружному диаметру выпускной трубы при толщине стенок менее 1,5 мм).
<c> Луч света оказывается не перпендикулярен потоку отработавших газов.
<d> Размер A обычно оказывается более 50 мм.
Рисунок 2 - Прямая цилиндрическая выпускная труба кольцевого
сечения со скосом
9.2.2.4 Изогнутые выпускные трубы
Если ось выпускной трубы вблизи ее выходного сечения имеет изгиб, такая выпускная труба называется изогнутой, а форма ее выходного сечения отличается от кольцевой. Во избежание получения заниженных значений дымности для выпускных труб подобного типа дымомер должен быть расположен таким образом, чтобы ось светового луча пересекала ось потока отработавших газов (не обязательно совпадающую с осью трубы) под прямым углом и при этом была параллельна малой оси эллиптического выходного сечения выпускной трубы. Точка пересечения должна быть расположена на расстоянии не более 0,05 м от выходного сечения выпускной трубы
(рисунок 3). При соблюдении этих условий значение
LA равно внутреннему диаметру трубы ID и в большинстве случаев может быть с достаточной точностью аппроксимировано ее наружным диаметром OD
(9.2.2.1). Ориентация дымомера, при которой луч света не параллелен малой оси эллиптического выходного сечения выпускной трубы, не исключается полностью, но в этом случае величина
LA должна быть определена путем прямого измерения.

1 - полнопоточный дымомер
--------------------------------
<a> Указанное расстояние должно быть не более 5 см.
<b> LA - малая ось эллиптического выходного сечения, равная внутреннему диаметру выпускной трубы (LA может быть приравнено к наружному диаметру выпускной трубы при толщине стенок менее 1,5 мм).
<c> Размер LA является большей осью эллиптического выходного сечения; в этом случае размер LA не может быть приравнен к внутреннему диаметру выпускной трубы и должен определяться прямым измерением.
Рисунок 3 - Изогнутая выпускная труба круглого сечения
9.2.2.5 Выпускная труба некруглого сечения
Если выпускная труба имеет некруглое сечение, то дымомер должен быть установлен таким образом, чтобы луч от источника был направлен перпендикулярно оси потока отработавших газов и пересекал эту ось на расстоянии не более 0,05 м от выходного сечения трубы. В этом случае величину
LA определяют прямым измерением. Если выпускная труба имеет овальное или эллиптическое сечение, то, для облегчения измерения
LA, рекомендуется устанавливать дымомер таким образом, чтобы луч света был ориентирован либо по большой, либо по малой оси сечения трубы
(рисунок 4).
a) Рекомендуемая ориентация дымомера
b) Нерекомендуемая ориентация дымомера
1 - полнопоточный дымомер
--------------------------------
<a> Указанное расстояние должно быть не более 5 см.
<b> LA - малая ось определяется прямым измерением.
<c> LA - большая ось определяется прямым измерением.
<d> Случай, когда размер LA трудно измерить.
Рисунок 4 - Выпускная труба некруглого сечения
9.2.2.6 Дождевой колпак
Наличие действующего дождевого колпака исключает возможность использования полнопоточного выходного дымомера. В этом случае перед проведением измерений такой колпак должен быть либо снят, либо зафиксирован в полностью открытом положении. Если дождевой колпак не снимается, дымомер должен быть ориентирован таким образом, чтобы колпак не препятствовал выходу потока отработавших газов и чтобы он не мог блокировать луч света дымомера даже частично
(рисунок 5).
1 - полнопоточный дымомер; 2 - дождевой колпак закреплен
в полностью открытом положении, дымомер ориентирован
таким образом, чтобы открытый колпак не оказался
на пути светового луча
--------------------------------
<a> Указанное расстояние должно быть не более 5 см.
Рисунок 5 - Дождевой колпак
9.2.2.7 Выпуск, направленный вниз
Некоторые машины оборудованы горизонтальными выпускными системами, прикрепленными к нижней поверхности шасси. Такие системы обычно содержат изогнутую выпускную трубу, направляющую поток отработавших газов в сторону земли.
При этом испытатели должны быть чрезвычайно внимательными, особенно в случае использования полнопоточного выходного дымомера. Иногда часть потока отработавших газов, отражаясь от земли, может возвращаться на вход дымомера, что служит причиной ошибки (в большую сторону) при определении дымности. Этот эффект может усиливаться при попадании пыли в отраженный поток газов.
В большинстве случаев с этим ничего нельзя поделать, однако, если выход выпускной трубы направлен в сторону земли, испытателям рекомендуется следить за тем, чтобы не возникал отраженный поток газов. Если окажется, что рециркуляция влияет на показания дымомера, результаты испытания следует считать недостаточно надежными (завышенными), поэтому пользоваться ими нужно с осторожностью.
9.3 Проверка оптического дымомера
Перед проведением проверки по нулевому и максимальному значениям измеряемой величины необходимо выполнить прогрев и стабилизацию дымомера в соответствии с инструкциями изготовителя прибора. Если дымомер снабжен системой очистки воздуха для предотвращения накопления сажи на оптических поверхностях прибора, данная система должна быть включена и настроена в соответствии с рекомендациями изготовителя.
Проверку по нулевому и максимальному значениям должны производить в режиме измерения коэффициента ослабления. После этого можно вычислить показатель ослабления с достаточной точностью, зная величины измеренного коэффициента ослабления и LA (предоставляет изготовитель), далее прибор снова переводят в режим измерения показателя поглощения k для проведения испытаний.
Прибор следует отрегулировать таким образом, чтобы при отсутствии препятствий на пути луча света его показание находились на отметке (0,0 +/- 0,5)% коэффициента ослабления. Далее прибор следует отрегулировать таким образом, чтобы при полном блокировании света от источника его указатель находился на отметке (100,0 +/- 0,5)% коэффициента ослабления.
Двигатель должен проходить испытательный цикл в соответствии с инструкциями, приведенными в
приложениях A -
C, и с учетом положений, содержащихся в
приложении D.
Перед проведением испытаний должно быть выполнено следующее:
a) Если машина оборудована ручной трансмиссией, рычаг переключения передач должен быть выставлен в нейтральное положение, а сцепление должно быть отпущено. Если машина оборудована автоматической трансмиссией, рычаг управления трансмиссией должен быть выставлен в положение парковки либо, в случае отсутствия такового, в нейтральное положение.
b) Во время испытаний машина должна быть закреплена для предотвращения самопроизвольного движения.
c) Кондиционер машины должен быть выключен.
d) При наличии моторного тормоза-замедлителя, на время испытаний он должен быть отключен.
e) Все вспомогательные устройства машины или двигателя (например, фары и т.п.), способные повлиять на нормальные характеристики разгона двигателя, перед испытаниями должны быть отключены.
f) Все принадлежности и дополнительные приспособления машины должны быть приведены в безопасное положение и, при необходимости, зафиксированы.
Примечание - Испытательные циклы для двигателей внедорожных машин, работающих с постоянной частотой вращения, приведены в ISO 8178-9.
10 Оценка полученных данных и расчеты
10.1 Оценка полученных данных
10.1.1 Общие требования к измерениям дымности
Частота измерений дымности должна составлять не менее 20 Гц. При необходимости, в измеренные значения дымности должны быть внесены поправки на различие в величинах фотометрической базы и единицах дымности (
10.1.2 -
10.1.4), а также на окружающие условия (см.
10.3). Затем параметры дымности обрабатывают с помощью алгоритма Бесселя, как это описано в
10.2 и в соответствующем приложении.
Длина линии пробоотбора не должна влиять на кривую дымности
(10.3). Однако, даже если длина линии пробоотбора и не влияет на форму записываемой кривой, она может влиять на интервал времени между моментами образования и измерения дымности. При анализе записей должны учитывать все запаздывания, связанные с прохождением отработавших газов через выпускную систему.
Затем рассчитывают значения дымности согласно соответствующему приложению.
10.1.2 Закон Бэра-Ламберта
Соотношения между коэффициентом пропускания, показателем поглощения и эффективной фотометрической базой определены законом Бэра-Ламберта по формуле

. (7)
Для определения коэффициента пропускания и коэффициента ослабления используют соотношение между этими параметрами, выраженное формулой

. (8)

, (9)

. (10)
10.1.3 Обработка результатов испытаний
Обработку результатов непосредственных измерений в параметры дымности, регистрируемые в протоколе испытаний, производят в два этапа. Поскольку величиной, непосредственно измеряемой любым дымомером, является коэффициент пропускания, на первом этапе производят преобразование коэффициента пропускания

в коэффициент ослабления при фактическом значении эффективной фотометрической базы
NA с помощью
формулы (8). В большинстве дымомеров это преобразование производится автоматически.
На втором этапе происходит преобразование NA в единицы, которые будут включены в отчет. Это преобразование выполняется следующим образом.
Если результаты измерений должны приводить в отчете в виде коэффициента ослабления, то с помощью
формулы (9) коэффициент ослабления при фактическом значении эффективной фотометрической базы
NA пересчитывают в коэффициент ослабления при стандартном значении эффективной фотометрической базы
NAS.
Если результаты измерений должны регистрироваться в отчете в виде показателя поглощения, используют
формулу (10).
Примечание - В случае совпадения стандартного и фактического значений эффективной фотометрической базы (т.е. когда NAS равно NA) необходимость в выполнении второго этапа преобразования отпадает.
10.1.4 Величины, используемые в расчете эффективной фотометрической базы
Для расчета по
формуле (10) используют фактическое (измеренное) значение эффективной фотометрической базы
LA. Для расчета по
формуле (9) применяют значения
LA и стандартной эффективной фотометрической базы
LAS.
В полнопоточных выходных дымомерах величина
LA зависит от конструкции выпускной трубы в
9.2.
В частичнопоточных (пробоотборных) и полнопоточных проходных дымомерах величина LA однозначно определена параметрами измерительной камеры и конструкцией системы воздушной продувки. В случае применения таких дымомеров для определения LA следует пользоваться данными, сообщаемыми их изготовителями.
Может оказаться необходимым определить
LA с погрешностью не более 0,002 м с тем, чтобы погрешность определения коэффициента ослабления с учетом поправок не превысила +/- 2% (см.
9.2).
Показания дымомера (в виде коэффициента ослабления) зависят от эффективной фотометрической базы прибора. Поскольку предельно допустимые значения коэффициента ослабления могут задавать в относительных величинах (процентах), они должны быть отнесены к стандартной эффективной фотометрической базе (т.е. к диаметру трубы), для которой эти предельно допустимые значения задают. Для того чтобы можно было корректно сравнивать результаты измерений дымности, в отчетах они должны быть приведены в виде коэффициента ослабления, определяемого при стандартных значениях эффективной фотометрической базы
LAS, приведенных в
таблице 4. Однако измерения коэффициента ослабления могут производить и при нестандартных значениях эффективной фотометрической базы. Для того чтобы пользоваться данными, приведенными в
таблице 4, измерять мощность двигателя не обязательно. Мощность обычно можно узнать либо из данных на заводском шильде, либо из руководства по эксплуатации и обслуживанию двигателя, либо из информации, используемой при сертификационных или типовых испытаниях двигателей. Если мощность двигателя определить не удается, то оценить его соответствие требованиям по дымности, задаваемым в виде предельно допустимого коэффициента ослабления, невозможно.
Таблица 4
Стандартные значения эффективной фотометрической базы
Мощность двигателя P, кВт | Стандартная эффективная фотометрическая база LAS, м |
P < 37 | 0,038 |
37 <= P < 75 | 0,05 |
75 <= P < 130 | 0,075 |
130 <= P < 225 | 0,1 |
225 <= P < 450 | 0,125 |
P >= 450 | 0,15 |
10.2.1 Общие положения
Алгоритм Бесселя используют для расчета усредненных величин дымности по результатам измерений ее мгновенных значений. Этот алгоритм может быть корректно использован для расчетов дымности, выраженный в виде показателя поглощения света. Однако если величина дымности составляет менее 40%, данный алгоритм может быть применен также и к параметру дымности в виде коэффициента ослабления с пренебрежимо малой погрешностью. Функционально алгоритм Бесселя эмулирует фильтр нижних частот второго порядка. Его использование предполагает вычисление коэффициентов методом итерации (последовательных приближений). Эти коэффициенты зависят от времени отклика системы дымомера и от частоты измерений. Поэтому, если время отклика системы дымомера и/или частота измерений по той или иной причине изменились, расчеты, приводимые в
10.2.2, следует повторить.
10.2.2 Расчет времени отклика фильтра и постоянных Бесселя
Требуемое время отклика фильтра функции Бесселя
tF зависит от физического и электрического времени отклика системы оптического дымомера (согласно определению, приведенному в
3.7.3), а также требуемого общего времени отклика
X, и может быть найдено согласно
формуле (11)

, (11)
где tp - физическое время отклика, с;
te - электрическое время отклика, с.
Формула (11) может быть использована для приведения двух различных дымомеров к одному и тому же времени отклика при условии, что величины
tp и
te намного меньше
X (см.
7.3.6) и что они также намного меньше длительности переходного режима при испытаниях.
Оценочные расчеты критической частоты фильтра Бесселя
fc производят для случая подачи на вход единичного (от 0 до 1) ступенчатого возмущения длительностью менее 0,01 с (см.
приложение A). Время отклика при этом определяют как временной интервал между моментами, когда выходная величина фильтра Бесселя достигает 10% (
t10), и когда она достигает 90% (
t90). Для этого необходимо последовательно (итеративно) повторять вычисления
fc, до тех пор, пока не станет справедливым соотношение
t90 -
t10 ~=
tF. Первое приближение для
fc рассчитывают по
формуле (12)

. (12)

, (13)

, (14)
где D = 0,618034;

;

.
Используя значения E и K, а также мгновенные значения дымности Si, усреднение по Бесселю рассчитывают по формуле
Yi =
Yi-1 +
E(
Si + 2·
Si-1 +
Si-2 - 4·
Yi-2) +
+ K(Yi-1 - Yi-2), (15)
где Si-2 = Si-1 = 0;
Si = 1;
Yi-2 = yi-1 = 0.
Значения координат времени t10 и t90 следует интерполировать. Временной интервал между t90 и t10 представляет собой время отклика tF для данного значения fc. Если это время отклика существенно отличается от требуемого, то следует продолжать итерацию до тех пор, пока фактическое время отклика не совпадет с требуемым с точностью до 1%, т.е. не будет удовлетворять условию
[(t90 - t10) - tF) = 0,01·tF. (16)
Примечание - Поскольку алгоритм фильтрации по Бесселю для усреднения результатов измерений дымности применяют впервые, в приложении D ISO 8178-9 объяснено действие данного алгоритма, приведены примеры составления такого алгоритма и расчета окончательного значения дымности с его помощью. Значения постоянных алгоритма Бесселя зависят исключительно от конструкции дымомера и от частоты измерений системы. Изготовителям дымомеров рекомендуется указывать окончательные величины постоянных фильтра Бесселя для различных значений частоты замеров, чтобы лица, ответственные за испытания, могли их использовать при составлении алгоритма Бесселя и в расчетах значений дымности.
10.2.3 Расчет среднего значения функции Бесселя для дымности
После расчета постоянных Бесселя
E и
K, выполненного в соответствии с
10.2.2, усредненное значение дымности рассчитывают с помощью алгоритма Бесселя по
формуле (15).
Алгоритм Бесселя по своей природе является рекурсивным. Это означает, что для начала итерации необходимо иметь некоторые начальные входные значения - Si-1 и Si-2, а также начальные выходные значения - Yi-1 и Yi-2. Можно принять их равными 0.
В результате находят усредненные значения дымности по Бесселю, используемые затем для вычисления нужных значений дымности согласно соответствующему приложению.
10.3 Поправка на атмосферные условия
10.3.1 Общие положения
В полученные значения дымности должны быть внесены поправки на атмосферные условия, если результаты испытаний на месте эксплуатации должны сравнить с предельными значениями, установленными нормативными документами. Если величина
fa находится в диапазоне от 0,93 до 1,07, значения дымности должны быть откорректированы по
формуле (19). На данный момент формулы поправки на атмосферные условия не подтверждены для значений
fa, выходящих за пределы диапазона 0,93 - 1,07. Результаты измерений дымности для значений
fa, выходящих за пределы указанного диапазона, могут быть откорректированы по
формуле (19), но такие результаты не должны сравнивать с соответствующими результатами по ISO 8178-9.
Примечание - Формулы расчета поправок на плотность воздуха, приводимые в настоящем разделе, отражают наиболее типичные соотношения чувствительности для испытуемого образца двигателя и/или транспортного средства. Одни двигатели более чувствительны, другие менее чувствительны к изменениям плотности воздуха, чем это следует из расчетов по формулам коррекции. Поэтому, применяя формулы коррекции к тем или иным двигателям и/или транспортным средствам, чувствительность которых к изменениям плотности воздуха неизвестна, следует учитывать, что эти формулы в данном случае будут иметь приближенный характер. Рекомендуется, чтобы надзорные органы, применяющие данную методику в сертификационных целях, при оценке результатов оставляли определенный допуск, учитывающий тот факт, что чувствительность к изменениям плотности воздуха тех или иных транспортных средств, проходящих испытания, в общем случае точно не известна и может отличаться от использованной при настройке номинальных параметров.
10.3.2 Нормальные условия
Поправочный коэффициент, указанный в
10.3.3, учитывает плотность воздуха на впуске. Плотность сухого воздуха составляет 1,1575 кг/м
3 при нормальной температуре 298 К и нормальном давлении 99 кПа
(5.1.1).
10.3.3 Поправка на окружающие условия при определении дымности
Поправку относят к значениям дымности, выраженным в виде показателя поглощения света или
k. Поправку должны применять не к текущим мгновенным значениям дымности, а к ее пиковым значениям, усредненным по Бесселю. Значения коэффициента ослабления должны быть пересчитаны в
k по
формуле (10), а затем, после введения поправки, могут быть вновь пересчитаны в единицы коэффициента ослабления. При этом используют
формулу (17)

, (17)
где

. (18)
С помощью
формулы (17) значения дымности в
приложениях A и
B должны быть скорректированы, т.е. по
формуле (19) значения показателя поглощения должны быть пересчитаны с "наблюдаемого" (observed) в "откорректированное" (corrected) по формуле
В отчет об испытаниях должны быть включены данные, указанные в ISO 8178-6.
Подробное описание рекомендуемых оптических систем приведено в 11.2 и 11.3 ISO 8178-9. Поскольку различные конфигурации оборудования могут приводить к равноценным результатам, реальная конфигурация не обязательно должна в точности соответствовать указанным на рисунках. Состав оборудования может быть дополнен и другими компонентами, такими как измерительные приборы, клапаны, электромагниты, насосы и переключатели, используемые для получения дополнительной информации и для координации взаимодействия вспомогательных систем. В то же время некоторые другие компоненты, не влияющие на точность работы систем, могут быть исключены, если это будет целесообразно с технической точки зрения.
Принцип измерения заключен в пропускании светового луча через участок определенной длины, заполненный отработавшими газами, дымность которых нужно определить, при этом показателем дымности среды является доля светового потока, достигающая светоприемника. Метод измерения зависит от конструкции прибора, который может быть установлен в выпускной трубе (полнопоточный проходной оптический дымомер), на выходе из выпускной трубы (полнопоточный выходной оптический дымомер), либо отдельно, чтобы через него пропускалась только часть отработавших газов двигателя (частичнопоточный оптический дымомер). Для определения коэффициента ослабления света по сигналу дымомера необходимо знать величину фотометрической базы, которую сообщает изготовитель прибора.
(обязательное)
ИСПЫТАТЕЛЬНЫЙ ЦИКЛ ДЛЯ ДВИГАТЕЛЕЙ ВНЕДОРОЖНОЙ ТЕХНИКИ
С ПЕРЕМЕННОЙ ЧАСТОТОЙ ВРАЩЕНИЯ
A.1 Общие положения
Цикл испытаний на дымность, описанный в настоящем приложении, состоит из разгона от минимальной частоты вращения холостого хода до максимальной частоты вращения холостого хода. Данный цикл применим к двигателям с переменной частотой вращения, на которые распространен цикл C1 по ISO 8178-4. Цикл испытаний на дымность на переходном режиме представляет собой испытание, которое может быть достаточно просто выполнено в условиях эксплуатации на двигателе, установленном в штатной машине.
Испытательный цикл C1 ISO 8178-4 относится к "внедорожным транспортным средствам и внедорожным промышленным машинам с дизельными двигателями". К типичным установкам, где применяют двигатели, на которые распространен испытательный цикл C1, относятся, в частности:
- промышленные бурильные установки, компрессоры и т.п.;
- дорожно-строительные машины, в том числе автопогрузчики, бульдозеры, гусеничные тракторы, гусеничные погрузчики;
- колесные погрузчики, внедорожные грузовики, гидравлические экскаваторы и т.п.;
- сельскохозяйственное оборудование, почвенные фрезы;
- лесозаготовительное оборудование;
- самоходные сельскохозяйственные машины (включая тракторы);
- погрузо-разгрузочное оборудование;
- вилочные погрузчики;
- дорожные машины (грейдеры, катки, асфальтоукладочные машины);
- снегоуборочная техника;
- аэродромная техника;
- передвижные вышки;
- автокраны.
Испытания на дымность на переходном режиме, описанные в настоящем приложении, в некоторых случаях технически не могут быть выполнены на тех или иных двигателях или машинах. Системы управления некоторых двигателей и/или машин могут быть настроены таким образом, что разгон от минимальной частоты вращения холостого хода до его максимальной частоты вращения становится невозможным. Кроме того, корректному измерению дымности выпуска одно- и двухцилиндровых двигателей может препятствовать сильная пульсация давления выпуска, если для ее сглаживания не использовать демпфирующий объем (глушителя). Для отдельных применений могут руководствоваться особыми методами испытаний, если они согласованы между заинтересованными сторонами.
A.2 Термины и определения
A.2.1 испытание в режиме разгона на холостом ходу (acceleration test): Испытание, состоящее в том, что двигатель разгоняется от минимальной частоты вращения холостого хода до максимальной частоты вращения холостого хода, будучи нагружен только инерционными силами масс механизмов двигателя и маховика.
A.2.1.1 время разгона на холостом ходу; FAT (free acceleration time): Время, с, в течение которого двигатель разгоняется на холостом ходу от частоты вращения, превышающей на 5% минимальную частоту вращения холостого хода, до частоты вращения, составляющей 95% номинальной.
Примечание - При проведении испытаний в условиях эксплуатации допускается определять FAT упрощенно - как время, необходимое для разгона двигателя от минимальной частоты вращения холостого хода до его максимальной частоты вращения. Приблизительную величину FAT можно определять в ходе испытаний на дымность в условиях эксплуатации. Наличие вращающихся масс с аномально высокой инерцией или больших паразитных нагрузок на двигатель может привести к тому, что величина FAT при испытаниях в эксплуатационных условиях превысит величину 9 FAT, полученную при испытаниях по ISO 8178-9, приложение A. В таких случаях замеренные значения дымности не следует сравнивать с нормативными, поскольку эксплуатационные испытания проводят в условиях, которые выходят за пределы, установленные для сертификационных или типовых испытаний.
A.2.1.2
пиковое значение дымности; PSV
S (Peak Smoke Value): Наибольшее из (усредненных по Бесселю за 1 с) значений дымности в режиме разгона на холостом ходу по
A.3.5.1, перечисление e), полученных при испытаниях в условиях эксплуатации (на что указывает индекс
s = service, т.е. эксплуатация).
Примечание - В отчет включена величина PSV
S, равная среднему арифметическому значению по результатам трех отдельных тестов по
A.3.5.1, перечисление e).
A.3 Испытательный цикл
A.3.1 Общие положения
Испытание, состоящее в том, что двигатель разгоняется от минимальной частоты вращения холостого хода до максимальной частоты вращения холостого хода. Подобного рода испытаний должно быть проведено в целях снижения разброса результатов.
A.3.2 Проверка двигателя перед испытаниями
Перед проверкой двигатель должен быть остановлен, стояночный тормоз машины должен быть включен, а все вспомогательные системы и устройства должны находиться в безопасном положении согласно
9.4. Двигатель необходимо осмотреть и убедиться в том, что все его компоненты находятся на месте и надежно закреплены, обращая при этом особое внимание на системы впуска и выпуска в соответствии с
5.3 -
5.5. Необходимо проверить систему топливоподачи на отсутствие следов постороннего вмешательства. Неудовлетворительное состояние систем впуска, выпуска или топливоподачи, а также наличие в них следов постороннего вмешательства могут стать причиной того, что двигатель не сможет пройти испытания на дымность. В ходе проверки должны быть установлены и зарегистрированы номинальная мощность двигателя, его заводской номер и тип.
A.3.3 Проверка значений частоты вращения холостого хода
Перед началом испытаний на дымность должно быть определено и зарегистрировано значение минимальной частоты вращения холостого хода.
Во избежание выхода двигателя из строя рекомендуется также проверить значение максимальной частоты вращения холостого хода. При определении частоты вращения двигателя орган управления частотой вращения должен медленно перемещаться в направлении увеличения частоты вращения. Если частота вращения двигателя превысила максимальную частоту вращения холостого хода, рекомендованную изготовителем, орган управления частотой вращения должен быть немедленно возвращен в положение минимальной частоты вращения холостого хода, а измерение дымности должно быть приостановлено.
A.3.4 Подготовка двигателя к испытаниям
Перед измерениями двигатель следует прогреть, для чего он должен проработать под нагрузкой не менее 15 мин. Убедиться в том, что двигатель достиг рабочего состояния, можно также по показаниям датчиков температуры охлаждающей жидкости и масла.
Примечание - Подготовка двигателя решает еще одну задачу - удаление отложений в выпускном тракте, которые могут оставаться после предыдущих испытаний, чтобы эти отложения не повлияли на результат.
A.3.5 Испытания "Разгон на холостом ходу". Порядок проведения
A.3.5.1 Общие положения
Перед испытаниями двигатель должен быть остановлен, стояночный тормоз машины должен быть включен, а все вспомогательные системы и устройства должны находиться в безопасном положении. Все вспомогательные потребители мощности должны быть отключены. Те вспомогательные потребители мощности, которые отключить невозможно, должны быть отрегулированы таким образом, чтобы потребляемая ими мощность была минимальной. Если двигатель оборудован ручной трансмиссией, рычаг переключения передач должен быть выставлен в нейтральное положение, а если автоматической, то рычаг управления должен быть выставлен в положение "Парковка". Приборы для измерения дымности должны быть установлены и откалиброваны в соответствии с положениями
7.3 и
8.
Испытания в режиме разгона - это испытание, в ходе которого двигатель разгоняется от минимальной частоты вращения холостого хода до максимальной частоты вращения холостого хода.
Эти испытания выполняют в следующем порядке:
a) Для стабилизации рабочих параметров двигатель должен проработать на минимальной частоте вращения холостого хода в течение (15 +/- 5) с.
b) Затем орган настройки частоты вращения резко переводят в максимальное положение, в котором он должен оставаться до тех пор, пока не будет достигнута максимальная частота вращения холостого хода.
c) После этого орган настройки частоты вращения возвращается в исходное положение и должен оставаться в этом положении до тех пор, пока не будет восстановлена минимальная частота вращения холостого хода.
d) Указанная последовательность должна быть повторена еще дважды в виде пробных этапов, для того чтобы очистить выпускную систему.
e) После трех пробных этапов указанная последовательность должна быть повторена еще несколько раз - до тех пор, пока результаты трех последовательных этапов не будут свидетельствовать о выполнении критериев достоверности испытаний, описанных в
A.3.5.2. Порядок проведения испытания показан на
рисунке A.1.

- орган управления топливоподачей в положении закрытия;

- орган управления топливоподачей в положении полного открытия
(a) - максимальная частота вращения холостого хода;
(b) - номинальная частота вращения; (c) - холостой ход;
d - пробные этапы; e - этапы испытаний
Здесь (a), (b) и (c) обозначают соответствующие абзацы A.3.5.1.
Рисунок A.1 - Испытание "Разгон на холостом ходу"
A.3.5.2 Критерии достоверности испытаний "Разгон на холостом ходу"
Результаты данного испытания признают достоверными только после выполнения указанного ниже условия.
Арифметическая разность между наибольшим и наименьшим максимальными значениями дымности, по показателю поглощения усредненных по Бесселю за
X = 1,0 с, полученными в результате трех последовательных этапов, не должна превышать 5,0%. Дополнительные критерии достоверности приведены в
5.1.2 и
7.3.4.
A.3.5.3 Определение времени разгона на холостом ходу (FAT)
Время разгона на холостом ходу для каждого этапа испытания "Разгон на холостом ходу" по
A.3.5.1, перечисление e) - это время изменения частоты вращения двигателя от минимальной частоты вращения холостого хода до максимальной частоты вращения холостого хода. Определение FAT необходимо для сравнения со значениями времени разгона на холостом ходу, полученными при сертификационных или приемочных испытаниях по ISO 8178-9. Если время разгона на холостом ходу при испытаниях в условиях эксплуатации более чем в девять раз превышает аналогичный показатель, полученный при испытаниях по ISO 8178-9, то двигатель не обязательно будет укладываться в заданный норматив.
A.4 Анализ результатов
A.4.1 Общие положения
В данном пункте изложена методика анализа результатов испытаний на дымность. Выходной сигнал многих дымомеров, обычно используемых в данном испытании, представляет собой усредненное за время
X = 0,5 с значение функции Бесселя (по дымности), вычисленное по алгоритму, описанному в
10.2. В этих случаях требуется дополнительная обработка сигнала для его приведения к стандартному периоду времени "
X = 1,0 с", а значение выражения

, входящего в
формулу (11), 10.2.2, равно 0,5
2. При анализе результатов определения дымности, еще не обработанных по алгоритму Бесселя для
X = 0,5 с, следует использовать выражение

, характеризующее систему дымомера.
Кроме того, включаемые в отчет значения дымности должны быть скорректированы с учетом внешних условий согласно
10.3.
A.4.2 Пиковые значения дымности PSVs
Значения PSV
s должны быть рассчитаны для каждого этапа по
A.3.5.1, перечисление e). Они являются максимальными значениями усредненной по Бесселю дымности при
X = 1,0 с, наблюдаемой за время разгона двигателя. Необходимо следить за тем, чтобы анализируемые результаты по дымности соответствовали периоду времени, в течение которого происходил разгон
(10.1.1). Методика проведения данного испытания описана в
A.3.5.1, перечисление b). Методика расчета усредненных по Бесселю значений дымности приведена в
10.2. Для определения пиковых значений дымности величина
X в
формуле (11) равна 1,0 с. PSV
S является усредненным значением, определяемым по трем этапам.
A.5 Результаты, включаемые в отчет
В отчете об испытаниях должны быть указаны: номинальная мощность двигателя, тип двигателя, семейство двигателей (указанное на шильде с информацией о выбросах), заводской номер двигателя, FAT и PSVS.
A.6 Статистическая оценка результатов
Результаты данного вида испытаний предназначены для использования надзорными органами. Если результаты (среднее значение PSV) приближаются к нормативно установленному ограничению (LL = legislated limit value), то, прежде чем делать юридически значимые выводы, рекомендуется провести дополнительные испытания. При этом рекомендуется воспользоваться следующей процедурой статистической оценки:
a) если в каждом из этапов значение выбросов оказывается меньше предельно допустимого (PSV < LL) - результат приемлем; конец процедуры;
b) если в каждом из этапов значение выбросов оказывается значительно больше предельно допустимого (PSV > 1,5 LL) - результат неприемлем; конец процедуры;
c) если ни одно из вышеперечисленных условий - см.
a) и
b) - не выполнено, рекомендуется провести дополнительные испытания. При этом испытания
A.3.3 -
A.3.5 должны быть повторены еще как минимум два раза, что даст шесть дополнительных значений PSV. Тогда решение о приемлемости результата должно будет принято по среднему как минимум из девяти значений PSV.
(обязательное)
ИСПЫТАТЕЛЬНЫЙ ЦИКЛ ДЛЯ ГЛАВНЫХ СУДОВЫХ ДВИГАТЕЛЕЙ
B.1 Общие положения
По сравнению с автомобильными двигателями и двигателями внедорожной техники, для главных судовых двигателей характерно более ограниченное поле рабочих режимов, т.е. возможных сочетаний частоты вращения и крутящего момента. Причина этого заключается отчасти в отсутствии коробки передач в судовых силовых установках, отчасти в физических особенностях взаимодействия воды и гребного винта.
На практике встречаются два основных вида характеристики нагрузки двигателя в функции от его частоты вращения. На судне с винтом фиксированного шага или с водометом главный двигатель работает по винтовой характеристике, описываемой формулой (крутящий момент) = f(n3). На судне с винтом регулируемого шага главный двигатель обычно работает при постоянной частоте вращения. Упомянутые режимы соответствуют испытательным циклам E1, E2, E3 и E5 по ISO 8178-4. Тогда в обоих случаях (работа при постоянной частоте вращения и по винтовой характеристике) увеличение дымности по мере роста нагрузки зависит, в основном, от темпа роста нагрузки. Темп роста нагрузки часто ограничен разного рода системами автоматического ограничения нагрузки.
Примером является ограничение темпа роста мощности. В главных судовых двигателях повышение нагрузки растет медленнее, чем в автомобильных двигателях и двигателях внедорожной техники. Отчасти это происходит из-за физических особенностей взаимодействия воды и гребного винта. Во всех подобных случаях двигатель оборудован системой регулирования и/или комплексной системой автоматизации, в зависимости от типа судна. Такой "типичный случай" является также наиболее тяжелым случаем и, следовательно, в наибольшей степени подходит в качестве базового режима для измерений дымности. Двигатели с различными системами регулирования и автоматизации могут объединяться в семейства или группы, при этом "наихудшие" из них (в смысле выбросов) отбираются для испытаний в качестве представителей всего семейства или группы.
В судовых условиях главное - это безопасность. Поэтому, хотя двигатели, как правило, управляются автоматическими системами, в аварийных случаях допускаются исключения, когда механик ради предотвращения аварии должен брать управление на себя. При этом из-за ускоренного разгона двигателя дымность может превышать установленные нормы. Подобные случаи в настоящем приложении не рассматривают.
B.2 Область применения
Цикл испытаний на дымность, описанный в данном приложении, применим к двигателям, на которые распространены циклы E1, E2, E3 и E5 по ISO 8178-4. Критерием применимости испытательного цикла, описанного в настоящем приложении, является время разгона двигателя под нагрузкой. Это время должно быть равно (20 +/-
5) с или времени, указанному изготовителем, с учетом специфики системы управления и контроля работы двигателя. Главные судовые двигатели, которые могут быть использованы также в качестве двигателей внедорожной техники, можно, кроме того, испытывать по методике, изложенной в
приложении A.
Типичными примерами установок, к которым применим данный испытательный цикл, являются:
- E1 - дизельные двигатели для судов длиной менее 24 м (является производным от испытательного цикла B);
- E2 - главные судовые двигатели тяжелого типа, работающие при постоянной частоте вращения, независимо от длины судна;
- E3 - главные судовые двигатели тяжелого типа, работающие по винтовой характеристике, независимо от длины судна;
- E5 - дизельные двигатели для судов длиной менее 24 м, работающие по винтовой характеристике.
Применимость настоящего приложения на данный момент подтверждена для двигателей с номинальной мощностью до 1500 кВт включительно.
B.3 Термины и определения
B.3.1 испытание под нагрузкой (test under transient load).
B.3.1.1 для двигателей, работающих при переменной частоте вращения (for variable-speed engines): Испытание, состоящее из разгона двигателя под нагрузкой и работы под нагрузкой при частоте вращения, равной 80% от номинальной.
B.3.1.2 для двигателей, работающих при постоянной частоте вращения (for constant-speed engines): Испытание, которое включает работу на номинальной частоте вращения двигателя, состоящее из увеличения нагрузки и работы под нагрузкой, равной 50% от номинальной (полной) мощности.
B.3.2 время разгона под нагрузкой (Load-increase time).
B.3.2.1 для двигателей, работающих при переменной частоте вращения (for variable-speed engines): Время, которое требуется для разгона двигателя от минимальной частоты вращения до частоты вращения, равной 80% от номинальной, причем на протяжении этого разгона нагрузка двигателя поддерживается такой, при которой крутящий момент соответствует характеристике нагружения на переходном режиме.
B.3.2.2 для двигателей, работающих при постоянной частоте вращения (for constant-speed engines): Время, которое требуется для нагружения двигателя на номинальной частоте вращения от нуля до величины, равной 50% от номинальной (полной) мощности.
B.3.3 характеристика нагружения на переходном режиме (transient-load curve).
B.3.3.1 для двигателей, работающих при переменной частоте вращения (for variable-speed engines): Винтовая характеристика, определяемая формулой (крутящий момент) = f(nr3), конечной точкой которой является режим номинальной (полной) мощности при номинальной частоте вращения.
B.3.3.2 для двигателей, работающих при постоянной частоте вращения (for constant-speed engines): Нагрузочная характеристика при постоянной частоте вращения конечной точкой которой является режим номинальной (полной) мощности.
B.3.4 пиковое значение дымности; PSV; (Peak Smoke Value): Среднее из трех наибольших значений дымности, усредненных по Бесселю за 1,0 с, измеренных при набросах нагрузки.
B.4 Испытательный цикл
B.4.1 Общие положения
При проведении измерений дымности во время набросов нагрузки (подробно описанных в
B.4.2 и
B.4.3), нагрузка на двигатель должна быть увеличена с максимально возможной скоростью как при работе по винтовой характеристике, так и при работе с постоянной частотой вращения. Темп роста нагрузки, а, следовательно, и время роста нагрузки заданы системами управления и/или регулирования двигателя.
Данный цикл применим как для стендовых испытаний, так и для испытаний двигателя, установленного на судне.
При стендовых испытаниях время увеличения нагрузки может изменяться в диапазоне, характерном для реальных условий эксплуатации семейства или группы двигателей, определенных в соответствии с ISO 8178-7 и ISO 8178-8.
B.4.2 Подготовка двигателя
Перед испытаниями, с целью стабилизации рабочих параметров, двигатель должен быть прогрет при номинальной (полной) мощности в соответствии с рекомендациями изготовителя.
Примечание - Предварительный прогрев необходим также для того, чтобы предотвратить влияние предыдущего испытательного режима на результаты данного испытания, поэтому он рассматривается как режим обеспечения исходных условий.
B.4.3 Проведение испытания при увеличении нагрузки
B.4.3.1 Общие положения
Испытания при увеличении нагрузки должны проводиться сразу же после окончания подготовки, описанной в
B.4.2.
B.4.3.2 Двигатели, работающие при переменной частоте вращения
Испытания состоят из разгона двигателя от минимальной частоты вращения до частоты вращения, равной 80% от номинальной, под нагрузкой, определяемой винтовой характеристикой "[крутящий момент] = f(n3)".
Порядок проведения данного испытания показан на
рисунке B.1.
| - "орган управления" в положении нулевой нагрузки; |
| - b1) "орган управления" в положении частичной топливоподачи; - b2) "орган управления" в положении максимальной топливоподачи; |
| - поддерживаемая частота вращения; |
| - "орган управления" возвращен в положение нулевой нагрузки |
Рисунок B.1 - Испытания под нагрузкой. Двигатели, работающие
при переменной частоте вращения
B.4.3.3 Двигатели, работающие при постоянной частоте вращения
Испытания состоят из наброса нагрузки на двигатель при номинальной частоте вращения от минимально возможной, устойчиво поддерживаемой до 50% от номинальной (полной) мощности. Порядок проведения данного испытания показан на
рисунке B.2.
| - "орган управления" в положении минимально допустимой нагрузки; |
| - b1) "орган управления" в положении частичной топливоподачи; - b2) "орган управления" в положении максимальной топливоподачи; |
| - поддерживаемая скорость; |
| - "орган управления" возвращен в положение минимально допустимой нагрузки |
Рисунок B.2 - Испытание при набросе нагрузки. Двигатели,
работающие при постоянной частоте вращения
Для того чтобы обеспечить лучшую повторяемость результатов, испытания при набросе нагрузки должны начинать с подготовительного этапа. Затем проводят три этапа испытания с набросом нагрузки. Испытание "Разгон под нагрузкой" выполняют согласно
B.4.3.4 и
B.4.3.5.
B.4.3.4 Испытания под нагрузкой для двигателей, работающих при переменной частоте вращения. Порядок проведения
B.4.3.4.1 Подготовительный этап:
a) двигатель работает на минимально возможной частоте вращения, при которой двигатель еще работает устойчиво, при положении органа управления частотой вращения/нагрузкой, соответствующем минимальной частоте вращения под нагрузкой, в течение (40 +/- 5) с;
b) затем орган управления переводят:
1) в направлении увеличения топливоподачи таким образом, чтобы частота вращения достигла значения, равного 80% от номинального, в течение (20 +/- 5) с;
2) или быстро - в положение полной подачи, и затем удерживают в этом положении. Двигатель должен разогнаться под нагрузкой до частоты вращения, равной 80% от номинальной в течение времени, допускаемого его системами управления и/или регулирования;
c) частоту вращения, равную 80% от номинальной, при нагрузке, определяемой винтовой характеристикой, должны поддерживать в течение (60 +/- 5) с;
d) затем нагрузку сбрасывают путем возврата органа управления частотой вращения/нагрузкой в положение, соответствующее минимальной частотой вращения под нагрузкой.
B.4.3.4.2 Этапы измерений
Шаги по
a) -
d) следует повторять до тех пор, пока не будут получены три последовательных согласующихся между собой результата.
B.4.3.5 Испытания при набросе нагрузки для двигателей, работающих при постоянной частоте вращения. Порядок проведения
B.4.3.5.1 Подготовительный этап:
a) двигатель работает на номинальной частоте вращения при минимально возможной устойчиво поддерживаемой нагрузкой в течение (40 +/-
5) с;
b) при работе на номинальной частоте вращения орган управления частотой вращения/нагрузкой переводят:
1) в направлении увеличения топливоподачи таким образом, чтобы величина нагрузки достигла значения, равного 50% от номинальной (полной) мощности, в течение (20 +/- 5) с,
2) или быстро - в положение, соответствующее 50% полной подачи, и затем удерживают в этом положении. Нагрузка двигателя должна увеличиваться при постоянной частоте вращения двигателя до значения, равного 50% от номинальной (полной) мощности, в течение периода времени, допускаемого системами управления и/или регулирования двигателя;
c) мощность, равную 50% от номинальной (полной), должна поддерживаться при номинальной частоте вращения в течение (60 +/- 5) с;
d) затем нагрузка должна быть сброшена путем возврата органа управления нагрузкой в положение, соответствующее минимальной возможной устойчиво поддерживаемой нагрузке при номинальной частоте вращения.
B.4.3.5.2 Этапы измерений
Шаги по
a) -
d) следует повторять до тех пор, пока не будут получены три последовательных, согласующихся между собой результата.
B.4.3.6 Критерии достоверности испытаний. Испытания при увеличении нагрузки
Результаты данного испытания - разгон под нагрузкой - могут быть признаны достоверными только после выполнения указанного ниже условия.
Арифметическая разность между наибольшим и наименьшим максимальными значениями дымности, по показателю поглощения усредненных по Бесселю за 1,0 с, полученными в результате трех последовательных этапов, не должна превышать 5,0%.
Дополнительные критерии достоверности приведены в
5.1.2 и
7.3.4.
B.5 Анализ результатов
B.5.1 Общие положения
Настоящий пункт устанавливает правила анализа результатов испытаний при набросе нагрузки. Выходной сигнал многих дымомеров, обычно используемых в данном испытании, представляет собой усредненное за время отклика
X = 0,5 с значение функции Бесселя (по дымности), вычисленное по алгоритму, описанному в
10.2. Для таких дымомеров требуется дальнейшая обработка сигнала, для того чтобы получить результаты, эквивалентные расчету по уравнению, в котором
X = 1,0 с, а значение выражения

в
формуле (11) 10.2.2 равно 0,5
2. При анализе результатов определения дымности, еще не обработанных по алгоритму Бесселя для
X = 0,5 с, следует использовать выражение

, характеризующее систему дымомера.
B.5.2 Пиковое значение дымности PSV
Наибольшее значение дымности, усредненной по Бесселю за время отклика 1,0 с, определяют по результатам трех этапов измерений, проведенных в соответствии с
B.4.3. Необходимо следить за тем, чтобы анализируемые значения дымности относились к периоду времени, в течение которого происходило увеличение нагрузки (см.
10.1.1). PSV - это среднее из трех наибольших значений дымности, усредненных по Бесселю за 1,0 с, замеренных при увеличении нагрузки.
Методика расчета усредненных по Бесселю значений дымности приведена в
10.2. Для определения пиковых значений дымности величину
X в
формуле (11) следует принимать равной 1,0 с.
B.6 Результаты, включаемые в отчет
В отчете об испытаниях должны указывать следующие величины: PSV
1, PSV
2, PSV
3, а также PSV
a, которая представляет собой результат усреднения трех предыдущих, а также продолжительность всех трех измерений (при увеличениях нагрузки). Промежутки времени от a) до d) на
рисунках B.1 и
B.2 относятся к соответствующим абзацам
B.4.3.4.1 и
B.4.3.5.1 соответственно.
(обязательное)
ИСПЫТАТЕЛЬНЫЙ ЦИКЛ ДЛЯ ДВИГАТЕЛЕЙ, РАБОТАЮЩИХ
С ПЕРЕМЕННОЙ ЧАСТОТОЙ ВРАЩЕНИЯ, ТИПА F (ТЕПЛОВОЗНЫХ)
C.1 Общие положения
Для тепловозных двигателей испытание в режиме разгона на холостом ходу, когда двигатель нагружен только силами инерции, не подходит, поскольку, во избежание пробуксовки колес локомотива, темп увеличения мощности в них ниже, чем в двигателях внедорожных транспортных средств C1. При разгоне тепловозного двигателя нарастание топливоподачи происходит не мгновенно, а в определенном темпе, являющемся функцией времени. Двигатели с различными настройками систем управления и/или регулирования могут объединяться в семейства или группы, причем для испытаний в качестве представителя семейства или группы берется двигатель, являющийся наихудшим в смысле показателей дымности.
Двигатели должны, как правило, проходить испытания на стенде, оснащенном всеми необходимыми нагрузочными устройствами и средствами измерения. В некоторых случаях силовая установка может работать на нагрузочное устройство (например, реостат) без снятия ее с тепловоза.
C.2 Область применения
Применимость настоящего приложения на данный момент подтверждена для двигателей с номинальной мощностью до 1500 кВт включительно.
C.3 Термины и определения
C.3.1 испытание с набросом нагрузки (test under transient load): Испытание, состоящее из режима разгона двигателя под нагрузкой и установившегося режима работы при полной нагрузке и номинальной частоте вращения.
C.3.2 время разгона под нагрузкой (acceleration time under load): Время разгона двигателя от частоты вращения холостого хода до номинальной; нагрузку двигателя во время разгона поддерживают на таком уровне, чтобы его мощность изменялась по заданному закону.
Примечание - Время разгона под нагрузкой задается системой управления и/или регулирования двигателя.
C.3.3 характеристика разгона под нагрузкой (acceleration load curve): Характеристика переходного режима под нагрузкой, представляющая собой закон нагружения двигателя нагружающим устройством в зависимости от частоты вращения, приближенно описываемая квадратичной функцией [крутящий момент] = f(n2), которая, в свою очередь, воспроизводит фактическую характеристику нагрузки данного двигателя в эксплуатации.
Примечание - Если при испытаниях двигатель работает на электрический генератор, в качестве нагрузочной характеристики должна быть использована функция [крутящий момент] = f(n2).
C.3.4 пиковое значение дымности; PSV (Peak Smoke Value): Среднее из трех наибольших значений дымности, усредненных по Бесселю за 1,0 с, замеренных при набросах нагрузки.
C.4 Испытательный цикл
C.4.1 Общие положения
Двигатель следует испытывать со штатными системами управления и/или регулирования.
C.4.2 Подготовка двигателя
Перед испытаниями двигатель с целью стабилизации рабочих параметров должен быть прогрет при номинальной мощности в соответствии с рекомендациями изготовителя.
Примечание - Предварительный прогрев необходим также для того, чтобы предотвратить влияние предыдущего испытательного режима на результаты данного испытания, поэтому его рассматривают как режим обеспечения исходных условий.
C.4.3 Испытание с набросом нагрузки
C.4.3.1 Общие положения
Испытания с набросом нагрузки нагрузкой должны проводить сразу же после окончания подготовки, описанной в
C.4.2. Испытание с набросом нагрузки - это испытание, в ходе которого двигатель разгоняется от минимальной частоты вращения холостого хода под нагрузкой. Разгон двигателя происходит по характеристике, конечной точкой которой является режим номинальной (полной) мощности при номинальной частоте вращения.
C.4.3.2 Время разгона под нагрузкой
В ходе данного испытания время разгона задается с помощью системы управления и/или регулирования двигателя, исходя из типичных условий эксплуатации. При набросе нагрузки двигатель дымит тем больше, чем меньше время его разгона, поэтому для облегчения приемки двигателей с другим временем разгона, в качестве базового двигателя в составе семейства или группы рекомендуется выбирать тот, у которого это время является наименьшим.
C.4.3.3 Испытание с набросом нагрузки. Порядок проведения
C.4.3.3.1 Общие положения
Испытания с набросом нагрузки должны начинать с подготовительного этапа, для того чтобы обеспечить лучшую повторяемость результатов. Затем проводят три этапа испытаний с набросом нагрузки. После разгона под нагрузкой следует дать двигателю поработать при полной нагрузке до тех пор, пока его частота вращения не стабилизируется. Последовательность проведения данного испытания показана на
рисунке C.1.

- "орган управления" в положении холостого хода;

- "орган управления" в положении максимальной топливоподачи;

- "орган управления" возвращен в положение холостого хода
Рисунок C.1 - Испытание "Разгон под нагрузкой"
Промежутки времени от a) до e) относятся к соответствующим этапам испытаний, перечисленным в
C.4.3.3.2.
C.4.3.3.2 Подготовительный этап:
a) двигатель работает при минимально возможной устойчивой внешней нагрузке, при минимально возможном положении органа управления частотой вращения в течение (40 +/- 5) с;
b) из этого положения органа управления частотой вращения быстро переводится в положение, соответствующее номинальной частоте вращения/нагрузке, чтобы двигатель начал разгоняться под нагрузкой до тех пор, пока не будет достигнута частота вращения, равная 95% от номинальной, за время, допускаемое системой управления и/или регулирования;
c) в течение 20 с после достижения частоты вращения, равной 95% от номинальной, к двигателю должна быть приложена полная нагрузка для стабилизации его рабочих параметров на режиме номинальной частоты вращения и нагрузки.
Примечание - В период стабилизации возможно перерегулирование;
d) номинальную частоту вращения при номинальной (полной) нагрузке следует поддерживать в течение как минимум (60 +/- 5) с;
e) затем нагрузку сбрасывают путем возврата органа управления частотой вращения/нагрузкой в положение холостого хода.
C.4.3.3.3 Этапы измерений
Шаги по
a) -
e) должны повторять до тех пор, пока не будут получены три последовательных, согласующихся между собой результата.
C.4.3.4 Критерии достоверности испытаний. Испытания с набросом нагрузки
Результаты данного испытания - с набросом нагрузки - признают достоверными только после выполнения указанного ниже условия.
Арифметическая разность между наибольшим и наименьшим максимальными значениями дымности по показателю поглощения, усредненных по Бесселю за 1,0 с, полученными в результате трех последовательных этапов, не должна превышать 5,0%. Дополнительные критерии достоверности приведены в
5.1.2 и
7.3.4.
C.5 Анализ результатов
C.5.1 Общие положения
Настоящий пункт устанавливает правила анализа результатов испытаний с набросом нагрузки. Выходной сигнал многих дымомеров, обычно используемых в данном испытании, представляет собой усредненное за время отклика
X = 0,5 с значение функции Бесселя (по дымности), вычисленное по алгоритму, описанному в
10.2. Для таких дымомеров требуется дальнейшая обработка сигнала, для того чтобы получить результаты, эквивалентные расчету по уравнению, в котором
X = 1,0 с, а значение выражения

в
формуле (11) 10.2.2 равно 0,5
2. При анализе результатов определения дымности, еще не обработанных по алгоритму Бесселя при
X = 0,5 с, следует использовать выражение

, характеризующее систему дымомера.
C.5.2 Пиковое значение дымности PSV
Наибольшее значение дымности, усредненной по Бесселю при
X = 1,0 с, определяют по результатам трех измерений, проведенных в соответствии с
C.4.3.3.2, перечисление b).
Необходимо следить за тем, чтобы анализируемые результаты по дымности соответствовали периоду времени, в течение которого происходил разгон (см.
10.1.1). PSV - это среднее из трех наибольших значений дымности, усредненных по Бесселю при
X = 1,0 с, измеренных с набросом нагрузки.
Методика расчета усредненных по Бесселю значений дымности приведена в
10.2. Для PSV
S дымности величина
X в
формуле (11) равна 1,0 с.
C.6 Результаты, включаемые в отчет
В отчете об испытаниях должны указывать следующие величины: PSV1, PSV2 и PSV3, а также PSVa, которая представляет собой среднее значение из трех предыдущих, а также продолжительность всех трех измерений (при набросах нагрузки).
(справочное)
ЗАМЕЧАНИЯ ПО ПОВОДУ ИСПЫТАТЕЛЬНЫХ ЦИКЛОВ
Методы измерения, описанные в ISO 8178-9, предназначены для использования при стендовых испытаниях двигателей, включая сертификационные и приемочные испытания, проводимые на соответствие законодательно установленным нормативным показателям. Имеется в виду, что испытания по ISO 8178-9 будет проходить "базовый двигатель" семейства двигателей, при этом результаты испытаний будут сравниваться с законодательно установленными нормативными показателями. Наиболее очевидным применением настоящего стандарта является проверка самых "грязных" двигателей, т.е. тех двигателей, которые в эксплуатации демонстрируют значительное превышение предельного уровня выбросов, законодательно установленных для новых двигателей.
Однако, как известно, законодатели обычно предпочитают более информативный метод оценки дымности в эксплуатации - такой, который позволил бы установить, является ли данный конкретный двигатель аномально "грязным", если сравнивать показатели его выбросов с результатами, полученными при сертификационных/приемочных испытаниях. В принципе, такую оценку можно было бы провести, сравнив дымность в эксплуатации с учетом времени разгона, характерного для эксплуатации, с дымностью при сертификационных/приемочных испытаниях (фактической или полученной путем интерполяции), измеренной при том же значении времени разгона, что и в эксплуатации. Например, если при сертификационных/приемочных испытаниях значение FAT было равно 1,0 с, то можно замерить значения дымности, полученные при указанном FAT, а также при времени разгона, равном 3, 6 и 9 FAT, иначе говоря, при времени разгона 1, 3, 6 и 9 с. Если, например, реальное время разгона в эксплуатации равно 4 с, то для данной точки (4 с) можно рассчитать значение дымности с помощью линейной интерполяции между значениями дымности на отрезке от 3 до 6 FAT, полученными при сертификационных/приемочных испытаниях. Однако для подобного использования значений дымности, полученных при сертификационных/типовых испытаниях, необходимо оценить возможные причины разброса значений дымности.
При этом нужно будет принять во внимание два вида разброса, а именно: разброс между разными типоразмерами одного семейства и разброс между разными двигателями одного типоразмера. Семейство двигателей включает, как правило, несколько типоразмеров, несколько отличающихся между собой по характеру дымления. Не следует ожидать, что результаты эксплуатационных испытаний для одного типоразмера будут в точности соответствовать результатам аналогичных испытаний для другого типоразмера. Кроме того, в силу производственных допусков возможен разброс показателей дымности между отдельными экземплярами двигателей даже в пределах одного типоразмера. Для того чтобы использовать результаты испытаний по ISO 8178-9 при проведении контрольных испытаний на месте эксплуатации, необходимо иметь статистически значимую выборку результатов испытаний по ISO 8178-9. Для того чтобы решить, считать ли находящийся в эксплуатации двигатель "хорошим" или "плохим", необходимо определить разброс результатов как между типоразмерами одного семейства, так и между отдельными экземплярами двигателей в пределах одного типоразмера.
Отсутствие такого определения может поставить под сомнение надежность программы контрольных испытаний на месте эксплуатации. Подобная программа должна быть составлена таким образом, чтобы исключить возможность отбраковки двигателя, у которого уровень дымности хотя и выше, чем у двигателя, проходившего сертификационные испытания, но находится в пределах нормальных производственных допусков.
И, наконец, нужно учитывать нестабильность измерений. Следует иметь в виду, что измерения, проводимые в условиях эксплуатации в соответствии с положениями настоящего стандарта, как правило, менее точны, чем измерения, проводимые на стенде согласно положениям ISO 8178-9. Поэтому предельно допустимые значения, установленные для сертификационных/приемочных испытаний, для полевых испытаний могут оказаться чрезмерно жесткими. Для того чтобы установить приемлемое расхождение между заградительными параметрами для обоих видов испытаний, если в этом есть необходимость, понадобятся данные дополнительных испытаний.
Можно ожидать определенных трудностей при испытаниях двигателей с небольшим (один, два, а иногда и три) числом цилиндров. Для таких двигателей характерны значительные пульсации расхода и давления отработавших газов, что ведет к снижению точности замеров и увеличению разброса результатов.
Все ограничения, приведенные в
приложениях A -
C, должны быть приняты во внимание. Для двигателей, выходящих по каким-либо характеристикам за пределы указанных ограничений, возможно, потребуется применение других испытательных циклов или методик. В настоящее время ведется работа по проверке точности измерений для двигателей, выходящих за пределы мощностного диапазона. Результаты этой работы будут отражены в следующих редакциях настоящего стандарта.
Испытательные циклы для определения дымности, описанные в
приложениях A -
C, должны быть применимы к испытаниям в условиях эксплуатации (т.е. проводимых на двигателе, который установлен на штатной машине). Описанные в указанных приложениях циклы должны быть тесно увязаны с соответствующими циклами, описанными в приложениях к ISO 8178-9.
Испытательный цикл, описанный в
приложении A, типичен для двигателей, используемых в установках, к которым применим цикл C.1 по ISO 8178-4. Область применения
приложения A на данный момент подтверждена для двигателей номинальной мощностью до 1500 кВт включительно. Область применения настоящего стандарта в дальнейшем может быть расширена путем введения новых соответствующих приложений. Ее распространение на другие диапазоны мощности (например, за счет включения таких объектов, как электростанции), а также на другие виды установок (например, двигатели, работающие при постоянной частоте вращения, крупные судовые или тепловозные двигатели) требует дальнейших серьезных исследований. Кроме того, необходимо определить возможности ограничения темпа разгона (в зависимости от размерности двигателя) и дополнения испытательных циклов другими режимами двигателя (например, пусковым). В некоторых случаях двигатели оборудованы системами регулирования частоты вращения и/или нагрузки, не позволяющими реализовать циклы, описанные в
приложениях A -
C. Нужно также иметь в виду, что одной из задач таких систем может быть именно ограничение дымления. Иногда в подобных случаях могут понадобиться специальные методы испытаний.
Следует учесть, что на некоторых машинах корректные измерения дымности невозможны. Особенно это касается тех машин, где время разгона двигателя превышает 9·FAT двигателя, испытанного в соответствии с ISO 8178-9.
Существует целый ряд ситуаций, способных помешать находящемуся в эксплуатации двигателю пройти испытания на дымность. Например, двигатель по каким-то параметрам может не соответствовать машине, проходное сечение системы впуска может оказаться для него недостаточным, имеющиеся системы выпуска или охлаждения могут не соответствовать требованиям изготовителя двигателя. К аналогичному результату может привести некачественное или несвоевременное техническое обслуживание. Кроме того, повышенное дымление может быть связано с качеством топлива, доступного на месте установки двигателя.
(справочное)
СВЕДЕНИЯ О СООТВЕТСТВИИ ССЫЛОЧНЫХ МЕЖДУНАРОДНЫХ СТАНДАРТОВ
МЕЖГОСУДАРСТВЕННЫМ СТАНДАРТАМ
Таблица ДА.1
Обозначение ссылочного международного стандарта | Степень соответствия | Обозначение и наименование соответствующего межгосударственного стандарта |
| | ИС МЕГАНОРМ: примечание. ГОСТ 30574-98 утратил силу с 1 января 2015 года в связи с введением в действие ГОСТ ISO 8178-4-2013 (Приказ Росстандарта от 23.04.2014 N 398-ст). | |
|
ISO 8178-4:2007 | IDT | ГОСТ ISO 8178-4-2013 "Двигатели внутреннего сгорания поршневые. Измерение выброса продуктов сгорания. Часть 4. Испытательные циклы для двигателей различного применения на установившихся режимах" |
NEQ | ГОСТ 30574-98 "Двигатели внутреннего сгорания поршневые. Выбросы вредных веществ и дымность отработавших газов. Циклы испытаний" |
ISO 8178-5:2008 | - | <*> |
ISO 8178-6:2000 | - | <*> |
ISO 8178-7:1996 | IDT | ГОСТ ISO 8178-7-2002 "Двигатели внутреннего сгорания поршневые. Выбросы вредных веществ с отработавшими газами. Часть 7. Определение семейства двигателей" |
ISO 8178-8:1996 | IDT | ГОСТ ISO 8178-8-2002 "Двигатели внутреннего сгорания поршневые. Выбросы вредных веществ с отработавшими газами. Часть 8. Определение группы двигателей" |
ISO 11614:1999 | NEQ | ГОСТ 24028-2013 "Двигатели внутреннего сгорания поршневые. Дымность отработавших газов. Нормы и методы определения" |
<*> Соответствующий межгосударственный стандарт отсутствует. До его принятия рекомендуется использовать перевод на русский язык соответствующего международного стандарта. Примечание - В настоящей таблице использованы следующие условные обозначения степени соответствия стандартов: - IDT - идентичные стандарты; - NEQ - неэквивалентные стандарты. |
[1] | ISO 3046-1 | Reciprocating internal combustion engines - Performance - Part 1: Declarations of power, fuel and lubricating oil consumptions, and test methods - Additional requirements for engines for general use (Поршневые двигатели внутреннего сгорания. Характеристики. Часть 1. Объявленные значения мощности, расходов топлива и масла, методы испытаний. Дополнительные требования к двигателям общего назначения) |
[2] | ISO 3046-3 | Reciprocating internal combustion engines - Performance - Part 3: Test measurements (Поршневые двигатели внутреннего сгорания. Характеристики. Часть 3. Методы измерений) |
[3] | ISO 8178-1 | Reciprocating internal combustion engines - Exhaust emission measurement - Part 1: Test-bed measurement of gaseous and particulate exhaust emissions (Двигатели внутреннего сгорания поршневые. Измерение выброса продуктов сгорания. Часть 1. Измерение выбросов газов и частиц на испытательных стендах) |
[4] | ISO 8528-5 | Reciprocating internal combustion engine driven alternating current generating sets - Part 5: Generating sets (Агрегаты генераторные переменного тока с приводом от поршневых двигателей внутреннего сгорания. Часть 5. Генераторные установки) |
[5] | SAE J1667 | Snap-Acceleration Smoke Test Procedure for Heavy-Duty Diesel Powered Vehicles (Испытания на дымность дизельных двигателей тяжелых грузовиков при быстром разгоне) |
[6] | ECE Regulation N 24 | Uniform provisions concerning the approval of compression-ignition (C.I.) engines with regard to the emission of visible pollutants (Единые правила оценки двигателей с воспламенением от сжатия (C.I.) по уровню выбросов видимых загрязнителей атмосферы) |
[7] | Council Directive 72/306/EEC | On the approximation of the laws of the Member States relating to the measures to be taken against the emission of pollutants from diesel engines for use in vehicles (Директива Совета ЕЭС 72/306/EEC по сближению законодательства стран-участниц в отношении мер, которые должны быть приняты против выбросов газообразных загрязняющих веществ дизельными двигателями, предназначенными для транспортных средств) |
[8] | Council Directive 77/537/EEC | On the approximation of the laws of the Member States relating to the measures to be taken against the emission of pollutants from diesel engines for use in wheeled agricultural or forestry tractors (Директива Совета ЕЭС 77/537/EEC по сближению законодательства стран-участниц в отношении мер, которые должны быть приняты против выбросов газообразных загрязняющих веществ дизельными двигателями, предназначенными для сельскохозяйственных и лесохозяйственных тракторов) |