Главная // Актуальные документы // ГОСТ (Государственный стандарт)
СПРАВКА
Источник публикации
М.: Стандартинформ, 2015
Примечание к документу
Документ введен в действие с 1 июля 2016 года.
Название документа
"ГОСТ ISO 11464-2015. Межгосударственный стандарт. Качество почвы. Предварительная подготовка проб для физико-химического анализа"
(введен в действие Приказом Росстандарта от 05.06.2015 N 559-ст)

"ГОСТ ISO 11464-2015. Межгосударственный стандарт. Качество почвы. Предварительная подготовка проб для физико-химического анализа"
(введен в действие Приказом Росстандарта от 05.06.2015 N 559-ст)


Содержание


Введен в действие
Приказом Федерального
агентства по техническому
регулированию и метрологии
от 5 июня 2015 г. N 559-ст
МЕЖГОСУДАРСТВЕННЫЙ СТАНДАРТ
КАЧЕСТВО ПОЧВЫ
ПРЕДВАРИТЕЛЬНАЯ ПОДГОТОВКА ПРОБ
ДЛЯ ФИЗИКО-ХИМИЧЕСКОГО АНАЛИЗА
Soil quality. Pretreatment of samples
for physico-chemical analysis
(ISO 11464:2006, IDT)
ГОСТ ISO 11464-2015
МКС 13.080.05
Дата введения
1 июля 2016 года
Предисловие
Цели, основные принципы и основной порядок проведения работ по межгосударственной стандартизации установлены ГОСТ 1.0-92 "Межгосударственная система стандартизации. Основные положения" и ГОСТ 1.2-2009 "Межгосударственная система стандартизации. Стандарты межгосударственные, правила и рекомендации по межгосударственной стандартизации. Правила разработки, принятия, применения, обновления и отмены"
Сведения о стандарте
1 ПОДГОТОВЛЕН Открытым акционерным обществом "Всероссийский научно-исследовательский институт сертификации" (ОАО "ВНИИС") и Федеральным государственным бюджетным научным учреждением "Всероссийский научно-исследовательский институт агрохимии имени Д.Н. Прянишникова" Федерального агентства научных организаций (ФГБНУ "ВНИИ агрохимии") на основе собственного перевода на русский язык англоязычной версии стандарта, указанного в пункте 5
2 ВНЕСЕН Федеральным агентством по техническому регулированию и метрологии (Росстандарт)
3 ПРИНЯТ Межгосударственным советом по стандартизации, метрологии и сертификации (протокол от 29 мая 2015 г. N 77-П)
За принятие проголосовали:
Краткое наименование страны по МК (ИСО 3166) 004-97
Код страны по МК (ИСО 3166) 004-97
Сокращенное наименование национального органа по стандартизации
Армения
AM
Минэкономики Республики Армения
Беларусь
BY
Госстандарт Республики Беларусь
Казахстан
KZ
Госстандарт Республики Казахстан
Киргизия
KG
Кыргызстандарт
Молдова
MD
Молдова-Стандарт
Россия
RU
Росстандарт
Таджикистан
TJ
Таджикстандарт
Украина
UA
Минэкономразвития Украины
4 Приказом Федерального агентства по техническому регулированию и метрологии от 5 июня 2015 г. N 559-ст межгосударственный стандарт ГОСТ ISO 11464-2015 введен в действие в качестве национального стандарта Российской Федерации с 1 июля 2016 г.
5 Настоящий стандарт идентичен международному стандарту ISO 11464:2006 "Качество почвы. Предварительная подготовка образцов для физико-химического анализа" ("Soil quality - Pretreatment of samples for physico-chemical analysis", IDT).
При применении настоящего стандарта рекомендуется использовать вместо ссылочных международных стандартов соответствующие им межгосударственные стандарты, сведения о которых приведены в дополнительном приложении ДА.
Международный стандарт разработан подкомитетом SC 3 "Химические методы и характеристики почв" технического комитета по стандартизации ISO/TC 190 "Качество почв" Международной организации по стандартизации (ISO)
6 ВВЕДЕН ВПЕРВЫЕ
7 Некоторые элементы настоящего стандарта могут являться объектом патентных прав
Информация об изменениях к настоящему стандарту публикуется в ежегодном информационном указателе "Национальные стандарты", а текст изменений и поправок - в ежемесячном информационном указателе "Национальные стандарты". В случае пересмотра (замены) или отмены настоящего стандарта соответствующее уведомление будет опубликовано в ежемесячном информационном указателе "Национальные стандарты". Соответствующая информация, уведомление и тексты размещаются также в информационной системе общего пользования - на официальном сайте Федерального агентства по техническому регулированию и метрологии в сети Интернет
1. Область применения
Настоящий стандарт устанавливает требования к предварительной подготовке проб почвы, предназначенных для физико-химических анализов стабильных и нелетучих показателей, и описывает следующие пять типов предварительной подготовки проб: сушка, дробление, просеивание, деление и размол.
Процедуры предварительной подготовки, предусмотренные в настоящем стандарте, не применимы, если они повлияют на результаты последующих определений. Настоящий стандарт также не применим к пробам, предназначенным для измерения летучих соединений. В дальнейшем стандарты на аналитические методы будут разрабатываться, если возникнет необходимость применения других процедур.
2. Нормативные ссылки
В настоящем стандарте применяют следующие ссылочные стандарты. Для датированных ссылок применяют только указанное издание. Для недатированных ссылок применяют последнее издание приведенного стандарта (включая все изменения).
ISO 565, Test sieves; metal wire cloth, perforated metal plate and electroformed sheet; nominal sizes of openings (Сита контрольные. Проволочная ткань, перфорированные пластины и листы, изготовленные гальваническим методом. Номинальные размеры отверстий)
ISO 10381-8, Soil quality - Sampling - Part 8: Guidance on sampling of stockpiles (Качество почвы. Отбор образцов. Часть 8. Руководство по отбору образцов из отвалов)
ISO 16720, Soil quality - Pretreatment of samples by freeze-drying for subsequent analysis (Качество почвы. Предварительная обработка образцов методом сублимационной сушки для последующего анализа)
3. Принцип
Пробы почвы высушивают на воздухе или в сушильном шкафу при температуре, не превышающей 40 °C, или сублимационной сушкой (5.3). При необходимости пробу почвы дробят, когда она еще сырая и рыхлая, и затем еще раз после сушки (5.4). Почву просеивают и фракцию частиц размером менее 2 мм делят на части механически или вручную для получения представительных аналитических проб (5.5). Если необходимы малые аналитические пробы (менее 2 г), то фракцию менее 2 мм дополнительно размалывают (5.6). Необходимые процедуры представлены в виде блок-схемы на рисунке 1.
Рисунок 1 - Схема предварительной подготовки проб
Температура сушки 40 °C в сушильном шкафу предпочтительнее, чем комнатная температура при воздушной сушке, так как повышенная скорость высыхания уменьшает изменения, вызываемые микробиологической активностью.
Следует отметить, что любой вид предварительной подготовки будет оказывать влияние на некоторые свойства почвы.
В основном используют сито с диаметром отверстий размером 2 мм. Однако перед началом предварительной подготовки следует проверить необходимость применения сита других размеров для последующих методов анализа.
Примечание - Хранение проб почвы, включая пробы, высушенные на воздухе, охлажденные или хранящиеся без доступа света в течение длительного времени, может повлиять на ряд показателей почвы, особенно на растворимость неорганической и органической фракций [1].
Особые меры предосторожности должны быть предприняты для проб загрязненных почв. Важно избежать контакта с кожей, высушивание таких проб должно осуществляться в особо оговоренных условиях (вакуумирование, вентиляция и т.д.).
Пробы могут представлять опасность из-за присутствия в них химических загрязнителей, грибковых спор или патогенных организмов, таких как лептоспиры, поэтому должны быть предприняты соответствующие меры предосторожности.
В настоящем стандарте предполагается, что в наличии имеется по крайней мере 500 г свежей почвы.
Сохранение архивной пробы (см. рисунок 1) необязательно и, в случае необходимости, должно быть четко изложено в программе испытания.
4. Оборудование
Используемое оборудование не должно вносить или удалять какие-либо из определяемых веществ (например, тяжелые металлы). Если использование определенного оборудования и/или материалов не допускается при предварительной подготовке проб для конкретного физико-химического анализа, то это должно быть указано в соответствующих стандартах на методы анализа (см. примечание).
4.1 Шкаф сушильный с регулируемой температурой, принудительной вентиляцией и способностью поддерживать температуру не выше 40 °C.
4.2 Установка сублимационная, необязательна.
4.3 Дробилка(и), мельница(ы), ступка и пестик, деревянный или другой молоток с мягкой головкой (см. примечание).
4.4 Сито плоское, в соответствии с ISO 565, с диаметром отверстий размером 2 мм.
4.5 Смеситель(и) механический(е).
4.6 Встряхиватель сита механический, необязателен (см. примечание).
4.7 Установка для квартования или делитель пробы (см. примечание).
4.8 Сито, в соответствии с ISO 565, с диаметром отверстий размером 250 мкм или размером, установленным в соответствующем методе испытаний.
4.9 Весы аналитические с точностью измерения до 0,1 г.
4.10 Весы с точностью измерения до 1 г.
Примечание - Конкретные виды используемого оборудования не устанавливают, хотя схемы некоторых подходящих видов оборудования представлены на рисунках A.1 - A.4 приложения A. Многие аналогичные стандарты содержат детальные технические требования к оборудованию и могут быть использованы при условии, что они соответствуют основным требованиям к рабочим характеристикам, установленным в настоящем стандарте.
5. Методика
5.1. Общие положения
Методики сушки, фракционирования и измельчения описаны в 5.3 и 5.4. На некоторых этапах методики следует принять решение о необходимости объединения или раздельной обработки гранулометрических фракций: это будет зависеть от типа почвы и целей испытания.
Проба должна повторно гомогенизироваться после любого процесса разделения, просеивания, дробления или измельчения (поскольку они могут вызвать сегрегацию частиц различного размера).
Примечание - Следует предпринимать специальные меры предосторожности при работе с пробами потенциально опасной почвы. Необходимо избегать любого контакта с кожей и выполнять особо оговоренные условия относительно сушки (вакуумирование, вентиляция и др.).
Следует соблюдать осторожность, чтобы предотвратить загрязнение пробы из воздуха или пыли (например, из воздуха лаборатории или от близко расположенных хранящихся или обрабатываемых проб).
Рекомендуется проводить предварительную подготовку почвенного материала в специальной комнате, использующейся только для этой цели и удаленной от мест проведения аналитических измерений.
Примечание - Если проба имеет порошкообразную консистенцию, то часть ее может быть потеряна, что в свою очередь может изменить физико-химические свойства пробы.
5.2. Описание пробы
Анализируют пробу непосредственно после получения и составляют ее описание, включающее информацию об инородных включениях, остатках растений и других видимых или существенных характеристиках.
5.3. Сушка
5.3.1. Общие положения
Сушат всю пробу на воздухе или в вентилируемом сушильном шкафу, из которого удаляют влажный воздух, или в сублимационной сушилке. В зависимости от выбранного метода сушки соответствующая методика приведена в 5.3.2, 5.3.3 или 5.3.4. Пробу высушивают до тех пор, пока потеря массы будет не более 5 вес. % за 24 ч. После того как процесс сушки завершен, определяют и записывают общую массу высушенной пробы.
Для ускорения процесса высыхания в ходе процесса уменьшают размер больших частиц (более 15 мм). Если пробы высушивают на воздухе, их дробят вручную с использованием деревянного молотка или ступки и пестика, соблюдая осторожность, чтобы избежать загрязнения. Если пробы высушивают в сушильном шкафу, их временно извлекают из сушильного шкафа и обрабатывают таким же образом. Данная процедура также упрощает отделение частиц размером более 2 мм.
Преимущество сублимационной сушки заключается в том, что проба, которую нужно высушить, редко сушат кусками, обычно она распадается на части.
Время сушки зависит от типа материала, толщины слоя, содержания внутренней влаги в материале и в воздухе, а также от скорости воздушного потока (вентиляции). Время сушки в сушильном шкафу для песчаных почв не превышает 24 ч, а для глинистых почв - 48 ч. Для почв, содержащих большое количество свежих органических веществ (например, корней растений и т.д.), может потребоваться от 72 до 96 ч.
5.3.2. Сушка на воздухе
Распределяют всю почву слоем не толще 5 см на поддоне, не абсорбирующем влагу из почвы и не вызывающем ее загрязнения.
Важно, чтобы было исключено попадание прямого солнечного света, и температура не превышала 40 °C.
Примечание - Прямой солнечный свет может вызвать существенные перепады температуры внутри пробы, особенно между частично или полностью высушенным верхним слоем и нижними слоями.
5.3.3. Сушка в сушильном шкафу
Распределяют всю почву слоем не толще 5 см на поддоне, изготовленном из материала, не абсорбирующего влагу из почвы и не вызывающего ее загрязнения. Ставят поддон в сушильный шкаф (4.1) и сушат при температуре не выше 40 °C.
5.3.4. Сублимационная сушка
Сублимационную сушку следует осуществлять в соответствии с ISO 16720.
5.4. Дробление и удаление крупных включений
5.4.1. Удаление камней и прочего
Перед дроблением, которое необходимо провести, если пробы почвы высушены большими агрегатами, из высушенной пробы удаляют инородные включения, такие как камни, осколки стекла и мусор. Данный процесс может быть упрощен за счет использования сита с диаметром отверстий размером 2 мм (4.4) и ручной разборки. Следует предпринять соответствующие меры предосторожности для минимизации количества мелкозернистого материала, налипшего на удаляемые инородные включения. Определяют и записывают массу всех включений, удаленных на данном этапе.
Если анализируемый материал представляет собой загрязненную почву или отходы, то аналитик может раздробить всю пробу, включая, например, куски шлака, так, чтобы она прошла через сито с диаметром отверстий размером 2 мм.
5.4.2. Дробление
Если для упрощения отделения инородных включений используют сито с диаметром отверстий размером 2 мм, то большие высушенные частицы почвы, оставшиеся на сите, должны быть раздроблены (используя подходящее оборудование) до частиц размером не более 2 мм. Используемое оборудование должно быть настроено таким образом, чтобы большие частицы дробились до минимальных размеров для обеспечения прохождения раздробленных частиц через сито с диаметром отверстий размером 2 мм.
Если сито с диаметром отверстий размером 2 мм не использовалось для облегчения отделения инородных включений, то далее высушенная проба должна быть просеяна через него. Большие высушенные частицы почвы, оставшиеся на сите с диаметром отверстий размером 2 мм, должны быть раздроблены (используя подходящее оборудование) до частиц размером не более 2 мм. Используемое оборудование должно быть настроено таким образом, чтобы большие частицы полностью дробились до минимальных размеров.
Всю пробу, пропущенную через сито с диаметром отверстий размером 2 мм, взвешивают и хорошо перемешивают.
Если фракция частиц с размером не менее 2 мм небольшая, то перед дроблением в ней целесообразно отделить частицы размером менее 2 мм.
В отдельных случаях вся проба может подвергаться дроблению.
После дробления все фракции могут быть объединены с использованием механического смесителя (4.5).
5.5. Деление пробы
5.5.1. Общие положения
Деление пробы необходимо, если проба не может храниться (лабораторная и архивная проба) или использоваться полностью (аналитическая проба) из-за ее размера. Для приготовления лабораторной пробы высушенную, раздробленную и просеянную пробу (менее 2 мм) делят на представительные части от 200 до 300 г в соответствии с 5.5.2 или 5.5.3. Для приготовления аналитической пробы делят лабораторную пробу на представительные части до получения проб требуемого размера. По возможности избегают образования пыли.
Для проб большой массы используют методы деления проб в соответствии с ISO 10381-8 для уменьшения первоначального размера пробы.
Между отдельными этапами деления пробы может быть необходимо измельчение материала для обеспечения его гомогенности (5.6), так как масса разделенных частей пробы уменьшается. Методики, описанные в 5.5.2 и 5.5.3, могут быть использованы для деления пробы на части с размером частиц менее 2 мм и массой не менее 2 г.
Если необходимо проведение анализов в нескольких повторностях, то в плане всего анализа должно быть четко определено, какой этап деления пробы должен проводиться в повторностях. Самым представительным этапом предположительно является начальный этап.
Метод деления пробы (см. 5.5.2, 5.5.3 или 5.5.4) выбирают в соответствии с природой пробы, требованиями к последующим определениям и имеющимся оборудованием.
5.5.2. Ручное деление пробы (квартование)
Тщательно перемешивают пробу почвы с использованием подходящего механического смесителя (4.5) и распределяют ее тонким слоем на поддоне, который не будет влиять на состав пробы. Делят почву на четыре равные части (квадранты). Объединяют две части из четырех по диагонали, отбрасывая две другие. Повторяют данную процедуру до получения требуемого количества почвы.
5.5.3. Использование делителя проб
Пример делителя проб многощелевого типа (набор стандартных сит) приведен на рисунке A.2 приложения A. Он делит пробу на две равные части.
Размеры оборудования должны выбираться таким образом, чтобы соответствовать количеству и размеру частиц материала (см. рисунок A.2 и таблицу A.1 приложения A).
5.5.4. Механическое деление
Для деления проб допускается применять различное подходящее оборудование, изготовленное по соответствующим стандартам. Его используют для деления проб в соответствии со стандартом или руководством по эксплуатации.
Пример оборудования для механического деления проб приведен на рисунке A.3 приложения A. Его используют в соответствии со следующей методикой.
Насыпают пробу почвы в воронку делителя (рисунок A.3) и прикрепляют бутылки для пробы. Запускают делитель. После разделения пробы высыпают содержимое бутылок в другие контейнеры для проб. Повторяют данную процедуру, при необходимости, с содержимым одного из контейнеров до получения необходимого количества почвы. Материал должен повторно гомогенизироваться после каждого этапа деления. Содержимое нескольких контейнеров может быть тщательно смешано и использовано для последующих стадий процедуры деления.
5.6. Размол
Если для анализа берут пробу массой менее 2 г, то предпочтительно, чтобы почва была измельчена до размера частиц менее 250 мкм до отбора аналитической пробы.
Размалывают представительную пробу (5.5) высушенной, раздробленной и просеянной почвы. Размол должен продолжаться до полного пропускания пробы через сито с диаметром размером отверстий размером 250 мкм или размером, указанным в методике испытаний (4.8).
Если необходимо выполнение нескольких анализов, то достаточное количество материала должно быть размолото до минимального требуемого размера частиц, чтобы обеспечить выполнение всех анализов с использованием одной аналитической пробы.
Для определения некоторых показателей необходимо проведение химической экстракции. В этом случае проба не размалывается, потому что размол увеличивает площадь поверхности пробы и соответственно химическую активность материала.
При необходимости, фракцию частиц размером более 2 мм допускается размолоть и перемешать с фракцией частиц размером менее 2 мм перед проведением химического анализа.
6. Отчет об испытаниях
Отчет об испытаниях должен включать следующую информацию:
a) ссылку на настоящий стандарт;
b) описание использованных процессов, методик и оборудования, включая температуру сушки;
c) полную идентификацию и описание пробы, включая наличие (и при необходимости относительные массы) камней, осколков стекла, детрита и т.д., запах (если имеет место) и цвет;
d) любые детали, не обязательные или не указанные в настоящем стандарте, а также другие факторы, которые могут повлиять на результаты.
Приложение A
(справочное)
ПРИМЕРЫ ОБОРУДОВАНИЯ
A.1 Примеры оборудования, указанного в разделе 4 настоящего стандарта, приведены на рисунках A.1 - A.4.
Рисунок A.1 - Пример механической дробилки для почвы
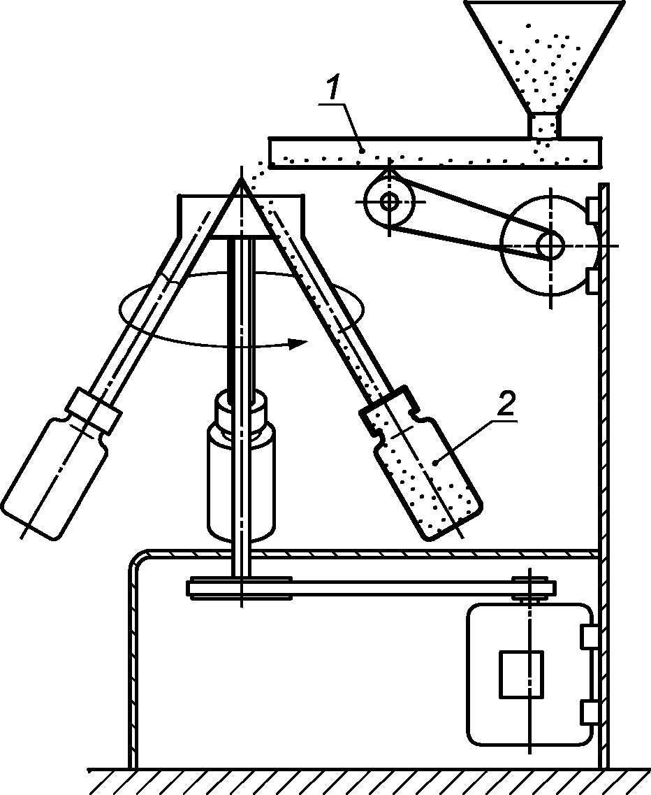
Рисунок A.2 - Пример механического делителя пробы
1 - вибрирующая трубка; 2 - бутылка для пробы
Рисунок A.3 - Пример механического делителя проб
Рисунок A.4 - Пример механической мельницы
В таблице A.1 приведены размеры механического делителя пробы.
Конструкцию механического делителя пробы, приведенного на рисунке A.2, считают приемлемой; альтернативные конструкции, обеспечивающие выполнение обязательных требований, допускается использовать.
Для измельчения возможно применение и других типов размольного оборудования, таких как молотковая мельница, шаровая мельница и валковая мельница.
Таблица A.1
Размеры механического делителя пробы
Максимальный размер частиц пробы, мм
Количество щелей
Внутренние размеры <a>, мм
Внутренние размеры отделений (требуется два) <a>, мм
A
B
C
D
E
F
40
8
50
150
70
230
150
400
20
10
30
130
40
150
100
300
10
12
15
80
30
120
90
200
5
12
7
20
15
50
50
90
2
12
5
20
15
50
50
90
<a> Все размеры, за исключением обозначения A, приблизительны.
Приложение ДА
(справочное)
СВЕДЕНИЯ О СООТВЕТСТВИИ ССЫЛОЧНЫХ МЕЖДУНАРОДНЫХ
СТАНДАРТОВ ССЫЛОЧНЫМ МЕЖГОСУДАРСТВЕННЫМ СТАНДАРТАМ
Таблица ДА.1
Обозначение ссылочного международного стандарта
Степень соответствия
Обозначение и наименование соответствующего межгосударственного стандарта
ISO 565
-
ISO 10381-8
-
ISO 16720
-
<*>
<*> Соответствующий межгосударственный стандарт отсутствует. До его принятия рекомендуется использовать перевод на русский язык международного стандарта. Официальный перевод данного международного стандарта находится в Федеральном информационном фонде технических регламентов и стандартов.
БИБЛИОГРАФИЯ
[1]
BARTLETT, R.J. Oxidation-reduction status of aerobic soils (Chapter 5). In: Chemistry of the soil environment. American Society of Agronomy. Soil Science Society of America. ASA Special Publication No. 40, Madison, Wisconsin, 1981, pp. 77 - 103