Главная // Актуальные документы // ГОСТ (Государственный стандарт)
СПРАВКА
Источник публикации
М.: Стандартинформ, 2015
Примечание к документу
Текст данного документа приведен с учетом поправки, опубликованной в "ИУС", N 7, 2019.

Документ введен в действие с 1 декабря 2015 года.
Название документа
"ГОСТ EN 1497-2014. Межгосударственный стандарт. Система стандартов безопасности труда. Средства индивидуальной защиты от падения с высоты. Привязи спасательные. Общие технические требования. Методы испытаний"
(введен в действие Приказом Росстандарта от 26.11.2014 N 1820-ст)

"ГОСТ EN 1497-2014. Межгосударственный стандарт. Система стандартов безопасности труда. Средства индивидуальной защиты от падения с высоты. Привязи спасательные. Общие технические требования. Методы испытаний"
(введен в действие Приказом Росстандарта от 26.11.2014 N 1820-ст)


Содержание


Введен в действие
Приказом Федерального
агентства по техническому
регулированию и метрологии
от 26 ноября 2014 г. N 1820-ст
МЕЖГОСУДАРСТВЕННЫЙ СТАНДАРТ
СИСТЕМА СТАНДАРТОВ БЕЗОПАСНОСТИ ТРУДА
СРЕДСТВА ИНДИВИДУАЛЬНОЙ ЗАЩИТЫ ОТ ПАДЕНИЯ С ВЫСОТЫ.
ПРИВЯЗИ СПАСАТЕЛЬНЫЕ
ОБЩИЕ ТЕХНИЧЕСКИЕ ТРЕБОВАНИЯ. МЕТОДЫ ИСПЫТАНИЙ
Occupational safety standards system. Personal protective
equipment against falls from a height. Rescue harness.
General technical requirements. Test methods
(EN 1497:2006, IDT)
ГОСТ EN 1497-2014
МКС 13.340.99
Дата введения
1 декабря 2015 года
Предисловие
Цели, основные принципы и основной порядок проведения работ по межгосударственной стандартизации установлены ГОСТ 1.0-92 "Межгосударственная система стандартизации. Основные положения" и ГОСТ 1.2-2009 "Межгосударственная система стандартизации. Стандарты межгосударственные, правила и рекомендации по межгосударственной стандартизации. Правила разработки, принятия, применения, обновления и отмены".
Сведения о стандарте
1. Подготовлен Открытым акционерным обществом "Всероссийский научно-исследовательский институт сертификации (ОАО "ВНИИС").
2. Внесен Федеральным агентством по техническому регулированию и метрологии Российской Федерации.
3. Принят Межгосударственным советом по стандартизации, метрологии и сертификации (Протокол от 14 ноября 2014 г. N 72-П).
За принятие проголосовали:
Краткое наименование страны по МК (ИСО 3166) 004-97
Код страны по МК (ИСО 3166) 004-97
Сокращенное наименование национального органа по стандартизации
Армения
AM
Минэкономики Республики Армения
Казахстан
KZ
Госстандарт Республики Казахстан
Киргизия
KG
Кыргызстандарт
Россия
RU
Росстандарт
Украина
UA
Минэкономразвития Украины
4. Приказом Федерального агентства по техническому регулированию и метрологии от 26 ноября 2014 г. N 1820-ст межгосударственный стандарт ГОСТ EN 1497-2014 введен 1 декабря 2015 г.
5. Настоящий стандарт идентичен европейскому региональному стандарту EN 1497:2006 "Personal fall protection equipment - Rescue harness" (Средства индивидуальной защиты от падения с высоты. Привязи спасательные).
При применении настоящего стандарта рекомендуется использовать вместо ссылочных европейских региональных стандартов соответствующие им межгосударственные стандарты, сведения о которых приведены в дополнительном Приложении ДА.
Стандарт подготовлен на основе применения ГОСТ Р ЕН 1497-2012.
Степень соответствия - идентичная (IDT).
6. Введен впервые.
Информация об изменениях к настоящему стандарту публикуется в ежегодном информационном указателе "Национальные стандарты", а текст изменений и поправок - в ежемесячном информационном указателе "Национальные стандарты". В случае пересмотра (замены) или отмены настоящего стандарта соответствующее уведомление будет опубликовано в ежемесячном информационном указателе "Национальные стандарты". Соответствующая информация, уведомление и тексты размещаются также в информационной системе общего пользования - на официальном сайте Федерального агентства по техническому регулированию и метрологии в сети Интернет.
1. Область применения
Настоящий стандарт устанавливает общие технические требования для спасательных привязей, методы испытаний, маркировку и информацию, поставляемую изготовителем. Спасательные привязи используют в качестве компонентов в спасательных системах, которые являются системами индивидуальной защиты от падения с высоты.
Спасательные привязи предназначены для применения в качестве устройств, удерживающих тело человека в системах остановки падения с высоты.
2. Нормативные ссылки
В настоящем стандарте использованы нормативные ссылки на следующие стандарты:
EN 362, Personal protective equipment against falls from a height - Connectors (Средства индивидуальной защиты от падения с высоты. Соединители)
EN 363, Personal protective equipment against falls from a height - Fall arrest systems (Средства индивидуальной защиты от падения с высоты. Системы остановки падения с высоты)
EN 364:1992, Personal protective equipment against falls from a height - Test methods (Средства индивидуальной защиты от падения с высоты. Методы испытаний)
ИС МЕГАНОРМ: примечание.
Текст дан в соответствии с официальным текстом документа.
EN 365, Personal protective equipment against falls from a height - General requirements for instructions for use, maintenance, periodic examination, repair, marking and packaging (Средства индивидуальной защиты от падения с высоты. Общие требования для инструкций по использованию, сохранению в рабочем состоянии, периодическому
EN 892, Mountaineering equipment - Dynamic mountaineering ropes - Safety requirements and test methods (Снаряжение для альпинистов. Динамические альпинистские канаты. Требования техники безопасности и методы испытаний)
ISO 9227, Corrosion tests in artificial atmospheres - Salt spray tests (Испытания на коррозию в искусственных атмосферах. Испытания в солевом тумане).
3. Термины и определения
В настоящем стандарте применены следующие термины с соответствующими определениями:
3.1. Спасательная привязь (rescue harness): опора тела в целях спасания жизни, включающая лямки, фитинги, пряжки или другие элементы, подходящим образом расположенные и смонтированные, чтобы поддерживать тело человека в удобном положении для его спасания.
Примечания
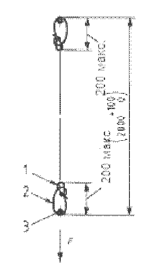
1. См. рисунок 1.
1 - основные наплечные лямки; 2 - основные набедренные
лямки; 3 - основные лямки; 4 - место подсоединения
(включающее два элемента крепления);
5 - мягкий протектор
Рисунок 1. Пример спасательной привязи
2. Спасательные привязи предназначены для ношения в процессе нормальной трудовой деятельности.
3.2. Основные лямки (для спасательных привязей) [primary straps (for rescue harnesses)]: лямки, предназначенные изготовителем для того, чтобы поддерживать или оказывать давление на тело человека во время спасания его жизни.
Примечание. Другие лямки называются вспомогательными.
3.3. Место подсоединения (attachment point): специальная точка, в которой имеются один или более элементов крепления для присоединения других компонентов.
3.4. Спасательная система (rescue system): индивидуальное устройство для предохранения от падения с высоты, с помощью которого человек может спасать свою жизнь или жизнь других людей таким образом, что падение предотвращается.
3.5. Система индивидуальной защиты от падения (personal fall protection system): сборка компонентов для предохранения от падения с высоты во время работы, которая обязательно включает в себя устройство, удерживающее тело, подсоединенное к надежной анкерной точке.
Примечание. За исключением устройств для профессиональной и частной спортивной деятельности.
3.6. Максимальная номинальная нагрузка (для спасательной привязи) [maximum rated load (for rescue harness)]: максимальная допустимая масса пользователя, включающая массу инструментов и оборудования, указанная изготовителем для спасательной привязи.
Примечание. Максимальную номинальную нагрузку выражают в килограммах.
4. Требования
4.1. Эргономика
4.1.1. При испытании и осмотре в соответствии с 5.1 устанавливают, что конструкцией спасательной привязи предусмотрено, чтобы в условиях планируемого применения:
- привязь обеспечивала приемлемую степень комфорта;
- жизнь спасаемого человека не подвергалась опасности, а техника безопасности не ухудшалась из-за смещения лямок.
4.1.2. Ширина основных лямок должна быть не менее 40 мм.
4.2. Материалы и конструкция
4.2.1. Общие положения
Элементы привязи не должны иметь острых краев или задиров, которые могли бы нанести повреждение пользователю.
Материалы, которые могут соприкасаться с кожей пользователя, не должны вызывать раздражение при нормальном использовании спасательной привязи.
4.2.2. Тканая лента и пряжа
Нити, используемые для пряжи, должны быть сделаны из комплексных нитей или множества синтетических волокон, пригодных для использования по назначению. Удельная прочность на разрыв синтетического волокна должна быть не менее 0,6 Н/текс.
Нитки, применяемые для сшивания, должны быть физически совместимы с лентой, а их качество должно быть сравнимо с качеством определенной ленты. Однако, лента и нитки должны быть контрастными по оттенку для облегчения визуального осмотра.
4.2.3. Конструкция
4.2.3.1. Общие положения
Спасательная привязь должна быть снабжена средствами регулирования, для того чтобы ее можно было правильно подогнать к параметрам определенного пользователя.
Спасательная привязь может быть встроена в одежду, при этом должна быть сохранена возможность визуального осмотра каждого элемента или компонента спасательной привязи.
4.2.3.2. Подсоединение
Спасательная привязь должна иметь, по меньшей мере, одну точку подсоединения, которая должна быть расположена выше центра тяжести пользователя.
Примечание. Точки подсоединения могут быть расположены на передней и/или задней стороне спасательной привязи.
Ушко каждого соединительного элемента должно быть изготовлено с таким расчетом, чтобы сквозь него мог проходить пруток диаметром 25 мм.
4.2.3.3. Соединительные элементы
Соединительные элементы - согласно EN 362.
4.3. Динамическая прочность
При испытаниях по 5.2 с манекеном корпуса человека массой, эквивалентной максимальной номинальной нагрузке, но не менее 100 кг, манекен корпуса должен быть удержан без разрушения или разрыва основных лямок или элемента крепления спасательной привязи. Ни один из элементов спасательной привязи не должен быть отсоединенным.
Если спасательная привязь имеет более одного элемента крепления, то испытание проводят с каждым элементом крепления.
4.4. Статическая прочность
При испытаниях по 5.3 с приложением испытательной силы, эквивалентной 10-кратной максимальной номинальной нагрузке, но не менее 15 кН, в течение 3 мин ни основная лямка, ни соединительный элемент спасательной привязи не должны разрушаться или разрываться. Ни один из элементов спасательной привязи не должен быть отсоединенным.
Если спасательная привязь имеет более одного элемента крепления, то испытание проводят с каждым элементом крепления.
4.5. Сопротивление коррозии
Металлические части спасательной привязи должны быть испытаны в соответствии с 5.4. После испытания они не должны иметь никаких признаков коррозии, которые могли нарушить их функционирование (допускается белый налет или потускнение металла, если они не ухудшают функционирование металлических частей).
Примечание. Соответствие этому требованию не означает возможность для использования привязи в морской среде.
4.6. Маркировка и информация
Маркировка спасательной привязи - согласно разделу 6.
Информация, прилагаемая со спасательной привязью, должна соответствовать требованиям раздела 7.
5. Методы испытаний
5.1. Исследование конструкции
Подтверждают путем ссылки на подходящую документацию, например на документ о соответствии или протокол испытания на аллергические вещества, а также визуальным и/или тактильным исследованием спасательной привязи, что она удовлетворяет требованиям 4.2.
Проверяют ширину каждой основной лямки путем измерения стальной линейкой.
Проверяют отверстие ушка каждого элемента для присоединения, пропуская через него пруток диаметром 25+10 мм.
Проводят испытание с подвешиванием двух человек разного роста и разной массы в пределах диапазона по высоте 160 - 190 см и по массе 65 - 95 кг, которые одеты в легкую одежду подходящего размера для испытуемой спасательной привязи. Различие размерных параметров людей, участвующих в испытании, должно быть не менее 15 см (по росту) и 20 кг (по массе).
Следуя информации изготовителя, подгоняют спасательную привязь под размеры людей, участвующих в испытании. Подвешивают их не более чем на 4 мин с просветом над землей путем прикрепления подходящего стропа или каната в точке подсоединения к спасательной привязи. Необходимо, чтобы люди совершали какие-либо движения в подвешенном состоянии.
Проверяют визуально и путем опроса людей, участвующих в испытании, является ли их самочувствие на приемлемом уровне комфортности в течение не менее 3,5 мин подвешивания. Проверяют также соответствие требованиям 4.1.1.
5.2. Проверка прочности при динамической нагрузке
5.2.1. Испытательное оборудование
Испытательное оборудование - согласно EN 364 (подразделы 4.2, 4.4 и 4.6).
5.2.2. Испытательная стропа
Испытательная стропа должна быть новым (еще не использованным) альпинистским канатом с номинальным диаметром 11 мм, соответствующим требованиям ЕН 892 для одинарного каната и выдерживающим ударную нагрузку (9 +/- 1,5) кН при первом испытании на ударную нагрузку по настоящему стандарту.
Заделывают концы веревки петлями с помощью узлов булинь (см. рисунок 3) и обеспечивают длину петли и узла не более 200 мм.
Регулируют длину таким образом, чтобы при нагрузке 100+1 кг длина испытуемой стропы, включая длину петли заделки обоих концов, составляла 2000+100 мм (см. рисунок 2).
F - масса 100+1 кг или эквивалентная сила; 1 - узел
булинь; 2 - петля заделки конца; 3 - точка/ушко
для подсоединения
Рисунок 2. Испытательная стропа для проверки прочности
при динамической нагрузке
Рисунок 3. Узел булинь
5.2.3. Методика проверки
Подгоняют спасательную привязь под размеры манекена корпуса в соответствии с указаниями изготовителя. Подсоединяют одну петлю испытуемой стропы к спасательной привязи, а другую петлю - к испытательному оборудованию.
Подвешивают манекен корпуса посредством спасательной привязи, затем поднимают манекен на высоту 1000+50 мм с удалением от осевой линии оборудования не более 300 мм (см. рисунок 4). Удерживают его с помощью устройства быстрого расцепления.
1 - спасательная привязь; 2 - манекен корпуса;
3 - испытательная стропа; 4 - устройство быстрого
расцепления; 5 - место подсоединения;
6 - испытательное оборудование
Рисунок 4. Проверка прочности динамической нагрузкой
С помощью устройства быстрого расцепления отпускают манекен корпуса без начальной скорости.
Проверяют, удерживается ли манекен корпуса и нет ли отсоединения или разрывов любых элементов спасательной привязи.
В течение 15 мин проводят второй сброс с использованием той же самой стропы.
Разрешена новая подгонка спасательной привязи на манекене корпуса.
Проверяют, удерживается ли манекен корпуса и нет ли отсоединения или разрывов любых элементов спасательной привязи. Проверяют основные лямки и элементы подсоединения на признаки разрушения или разрыва.
Повторяют испытание для каждого элемента крепления. При этом каждый раз разрешается повторная подгонка спасательной привязи на манекене корпуса или ее замена.
5.3. Проверка прочности при статической нагрузке
5.3.1. Испытательное оборудование
Испытательное оборудование для проверки статической прочности - согласно стандарту EN 364 (подразделы 4.1 - 4.2).
5.3.2. Методика проверки
Подгоняют спасательную привязь под размеры манекена корпуса в соответствии с указаниями изготовителя.
Устанавливают манекен корпуса и спасательную привязь в испытательное оборудование и прикладывают силу, эквивалентную 10-кратной максимальной номинальной нагрузке с допуском +0,2 кН, но не менее 15+0,2 кН, между точкой подсоединения спасательной привязи и нижним кольцом манекена корпуса в течение не менее 3+0,25 мин (см. рисунок 5).
1 - спасательная привязь; 2 - манекен корпуса человека;
3 - место подсоединения; 4 - нижнее кольцо
манекена корпуса
Рисунок 5. Проверка прочности статической нагрузкой
При необходимости, любой материал спасательной привязи, который, возможно, мешает приложению силы к нижнему кольцу манекена корпуса, за исключением основных лямок, разрешено срезать на участке нижнего кольца.
Проверяют, нет ли отсоединения или разрывов любых элементов спасательной привязи. Проверяют основные лямки и элементы присоединения на следы разрушения или разрыва.
Повторяют испытание для каждого элемента крепления. При этом каждый раз разрешена повторная подгонка спасательной привязи на манекене корпуса или ее замена.
5.4. Испытание на сопротивление коррозии
5.4.1. Испытательное оборудование
Аппаратура для проведения испытания спасательной привязи на сопротивление коррозии должна быть способной обеспечивать методику испытания в нейтральном соляном тумане по EN ISO 9227.
5.4.2. Методика проведения испытания
5.4.2.1. Подвергают любые металлические части спасательной привязи воздействию нейтрального соляного тумана по EN ISO 9227 в течение 24+0,5 ч и последующей сушке в течение 60+5 мин с одним повтором этого цикла.
5.4.2.2. Исследуют образцы металлических частей и проверяют их на наличие признаков коррозии.
Примечание. Если спасательную привязь подвергают испытанию на коррозию в полной комплектации, то спасательную привязь разбирают, чтобы получить доступ к осмотру некоторых металлических частей.
6. Маркировка <*>
--------------------------------
<*> Для государств членов Таможенного Союза маркировать изделия рекомендуют в соответствии с требованиями (разделы 4.10 - 4.12) ТР ТС 019/2011 "О безопасности СИЗ".
Маркировка на спасательной привязи - согласно EN 365. Кроме того, маркировка должна включать в себя максимальную номинальную нагрузку для спасательной привязи.
7. Информация, предоставляемая изготовителем
Информация изготовителя должна соответствовать требованиям EN 365 и дополнительно включать в себя, по меньшей мере:
a) рекомендацию о том, что пользователю (спасателю или спасаемому) следует прочитать и понять информацию изготовителя, прежде чем использовать спасательную привязь;
b) максимальную номинальную нагрузку для спасательной привязи;
c) предупреждение об опасностях нанесения травмы во время приостановления;
d) рекомендацию о том, что спасательная привязь предназначена для ношения в течение нормальной трудовой деятельности и что пользователю следует проверить подвешивание в привязи в безопасном месте в первый раз перед использованием спасательной привязи, чтобы убедиться в правильности размера, достаточной подгонке и приемлемом уровне комфортности для применения по назначению;
e) обозначение настоящего стандарта;
f) предупреждение, что спасательную привязь не следует применять в качестве страховочной привязи в страховочной системе ограничения падения.
Приложение ДА
(справочное)
СВЕДЕНИЯ О СООТВЕТСТВИИ ССЫЛОЧНЫХ МЕЖДУНАРОДНЫХ
И ЕВРОПЕЙСКИХ РЕГИОНАЛЬНЫХ СТАНДАРТОВ
МЕЖГОСУДАРСТВЕННЫМ СТАНДАРТАМ
ИС МЕГАНОРМ: примечание.
Заголовок второй графы дан в соответствии с официальным текстом документа.
Обозначение ссылочного европейского регионального и международного стандарта
Обозначение и наименование соответствующего национального стандарта
Обозначение и наименование соответствующего межгосударственного стандарта
EN 362
IDT
ГОСТ EN 362-2011 "Система стандартов безопасности труда. Средства индивидуальной защиты от падения с высоты. Соединительные элементы. Общие технические требования. Методы испытаний"
EN 363
IDT
ГОСТ EN 363-2011 "Система стандартов безопасности труда. Средства индивидуальной защиты от падения с высоты. Страховочные системы. Общие технические требования"
EN 364
-
EN 365
-
<*>
EN 892
-
<*>
ISO 9227
-
<*>
<*> Соответствующий межгосударственный стандарт отсутствует. До его утверждения рекомендуется использовать перевод на русский язык данного европейского регионального или международного стандарта. Перевод данного европейского регионального или международного стандарта находится в Федеральном информационном фонде технических регламентов и стандартов.
Примечание. В настоящей таблице использовано следующее условное обозначение степени соответствия стандартов:
- IDT - идентичные стандарты.