Главная // Актуальные документы // ГОСТ (Государственный стандарт)СПРАВКА
Источник публикации
М.: Стандартинформ, 2016
Примечание к документу
Документ
введен в действие с 1 апреля 2017 года.
Название документа
"ГОСТ 33619-2015. Межгосударственный стандарт. Угли бурые, каменные и антрацит. Стандартный метод определения прочности на сбрасывание"
(введен в действие Приказом Росстандарта от 29.02.2016 N 92-ст)
"ГОСТ 33619-2015. Межгосударственный стандарт. Угли бурые, каменные и антрацит. Стандартный метод определения прочности на сбрасывание"
(введен в действие Приказом Росстандарта от 29.02.2016 N 92-ст)
агентства по техническому
регулированию и метрологии
от 29 февраля 2016 г. N 92-ст
МЕЖГОСУДАРСТВЕННЫЙ СТАНДАРТ
УГЛИ БУРЫЕ, КАМЕННЫЕ И АНТРАЦИТ
СТАНДАРТНЫЙ МЕТОД ОПРЕДЕЛЕНИЯ ПРОЧНОСТИ НА СБРАСЫВАНИЕ
Brown coals, hard coals and anthracite. Standard method
for determination of drop shatter test
ГОСТ 33619-2015
Дата введения
1 апреля 2017 года
Цели, основные принципы и основной порядок проведения работ по межгосударственной стандартизации установлены
ГОСТ 1.0-92 "Межгосударственная система стандартизации. Основные положения" и
ГОСТ 1.2-2009 "Межгосударственная система стандартизации. Стандарты межгосударственные, правила и рекомендации по межгосударственной стандартизации. Правила разработки, принятия, применения, обновления и отмены"
1 ПОДГОТОВЛЕН Техническим комитетом по стандартизации Российской Федерации ТК 179 "Твердое минеральное топливо" на основе собственного аутентичного перевода на русский язык документа, указанного в
пункте 5
2 ВНЕСЕН Федеральным агентством по техническому регулированию и метрологии (Росстандарт)
3 ПРИНЯТ Межгосударственным советом по стандартизации, метрологии и сертификации (протокол от 27 октября 2015 г. N 81-П)
За принятие проголосовали:
Краткое наименование страны по МК (ИСО 3166) 004-97 | Код страны по МК (ИСО 3166) 004-97 | Сокращенное наименование национального органа по стандартизации |
Беларусь | BY | Госстандарт Республики Беларусь |
Киргизия | KG | Кыргызстандарт |
Россия | RU | Росстандарт |
Таджикистан | TJ | Таджикстандарт |
4
Приказом Федерального агентства по техническому регулированию и метрологии от 29 февраля 2016 г. N 92-ст межгосударственный стандарт ГОСТ 33619-2015 введен в действие в качестве национального стандарта Российской Федерации с 1 апреля 2017 г.
5 Настоящий стандарт модифицирован по отношению к документу ASTM D 440-07 Standard test method of drop shatter test for coal (Стандартный метод определения прочности угля на сбрасывание) путем изменения отдельных фраз, слов, ссылок, которые выделены в тексте курсивом
Перевод с английского (en).
Степень соответствия - модифицированная (MOD)
Информация об изменениях к настоящему стандарту публикуется в ежегодном информационном указателе "Национальные стандарты", а текст изменений и поправок - в ежемесячном информационном указателе "Национальные стандарты". В случае пересмотра (замены) или отмены настоящего стандарта соответствующее уведомление будет опубликовано в ежемесячном информационном указателе "Национальные стандарты". Соответствующая информация, уведомление и тексты размещаются также в информационной системе общего пользования - на официальном сайте Федерального агентства по техническому регулированию и метрологии в сети Интернет
Настоящий стандарт распространяется на угли бурые и лигниты, угли каменные, антрациты (далее - угли) и устанавливает метод определения прочности угля на сбрасывание. Метод включает определение относительного стабильного размера и хрупкости угля, сортированного по крупности.
Метод позволяет определить устойчивость угля к разрушению при его добыче и транспортировании. Метод предназначен для определения сходства прочностных свойств углей и не определяет пределы их величин.
Метод распространяется на отдельные фракции и смеси углей.
Значения, указанные в единицах системы СИ, являются стандартными. Значения в других единицах измерения, указанные в скобках, даны только для информации.
В настоящем стандарте не предусмотрено рассмотрение всех вопросов обеспечения безопасности, связанных с его применением. Пользователь настоящего стандарта несет ответственность за установление соответствующих правил по технике безопасности и охране здоровья, а также определяет целесообразность применения законодательных ограничений перед его использованием.
В настоящем стандарте использованы нормативные ссылки на следующие стандарты:
ГОСТ 2093-82 Топливо твердое. Ситовый метод определения гранулометрического состава
ГОСТ 10742-71 Угли бурые, каменные, антрацит, горючие сланцы и угольные брикеты. Методы отбора и подготовки проб для лабораторных испытаний
ГОСТ 28946-91 Кокс каменноугольный. Метод определения прочности на сбрасывание
ГОСТ OIML R 76-1-2011 Государственная система обеспечения единства измерений. Весы неавтоматического действия. Часть 1. Метрологические и технические требования. Испытания
Примечание - При пользовании настоящим стандартом целесообразно проверить действие ссылочных стандартов в информационной системе общего пользования - на официальном сайте Федерального агентства по техническому регулированию и метрологии в сети Интернет или по ежегодному информационному указателю "Национальные стандарты", который опубликован по состоянию на 1 января текущего года, и по выпускам ежемесячного информационного указателя "Национальные стандарты" за текущий год. Если ссылочный стандарт заменен (изменен), то при пользовании настоящим стандартом следует руководствоваться заменяющим (измененным) стандартом. Если ссылочный стандарт отменен без замены, то положение, в котором дана ссылка на него, применяется в части, не затрагивающей эту ссылку.
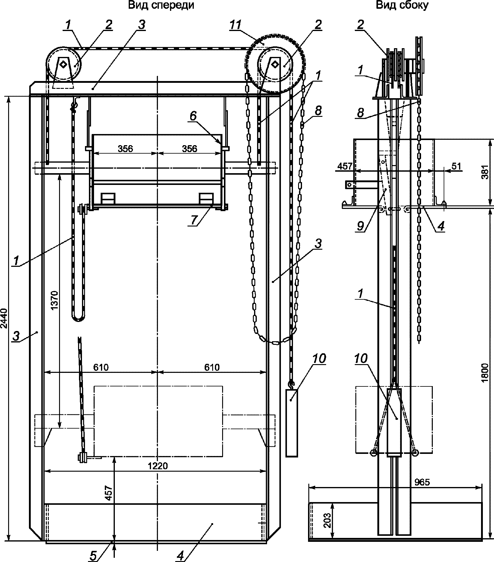
3.1 Аппарат для определения прочности угля на сбрасывание (см.
рисунок 1) состоит из следующих частей:
3.1.1 Ящик
| | ИС МЕГАНОРМ: примечание. В официальном тексте документа, видимо, допущена опечатка: пункт 4.1.2 отсутствует. | |
Ящик длиной 711 мм (28 in), шириной 457 мм (18 in) и высотой 381 мм (15 in) жестко крепят над плитой (п. 4.1.2) таким образом, чтобы расстояние между днищем ящика и поверхностью плиты составляло 1,83 м (6 ft).
Днище ящика состоит из двух дверных створок, расположенных по длинной стороне, и свободно распахивается, не препятствуя падению угля.
Для предотвращения разрушения угля во время его переноса в ящик, ящик конструируют таким образом, чтобы он опускался до удобного уровня. Наиболее приемлемым является использование для этого шкива с противовесом.
1 - проволочный трос, 3 мм; 2 - шкив, диаметр 152 мм;
3 - угольники (2 шт.), 76 x 76 x 6 мм; 4 - плита, 6 мм;
5 - плита, 13 мм; 6 - плита, 3 мм; 7 - перекладина,
50 x 13 мм; 8 - роликовая цепь; 9 - защелка, 13 мм;
10 - противовес; 11 - звездочка, с шагом 13 мм
Рисунок 1 - Аппарат для определения прочности на сбрасывание
3.1.2 Плита
Плита представляет собой чугунный или стальной лист толщиной 12,7 мм (1/2 in), длиной 1219 мм (48 in) и шириной 965 мм (38 in). Плиту по периметру оборудуют бортами высотой 200 мм (8 in), препятствующими потере угля во время испытания.
Допускается использование аппарата для определения прочности на сбрасывание, описанного в ГОСТ 28946.
Могут быть использованы сита с круглыми отверстиями следующих размеров: 200, 150, 100, 75, 50, 37,5, 25, 19, 12,5, 6,3 и 3,15 мм.
Рамки (борта) сит изготавливают из дерева или металла, квадратной, прямоугольной или круглой форм.
Могут быть использованы сита с размерами по ГОСТ 28946 и ГОСТ 2093.
Рекомендуется использовать набор сит, включающий все сита в серии с квадратными стенками длиной 610 мм (2 ft) [т.е. площадь сита составляет 0,37 м2 (4 ft2)]. Сетки с площадью 0,56 - 0,84 м2 (6 - 9 ft2) также могут быть использованы.
Сита должны соответствовать требованиям
[1], [2], [3].
3.3
Устройство взвешивающее чувствительностью не менее 100 г - по ГОСТ OIML R 76-1.
4.1 Отбор объединенной пробы
Пробу отбирают в соответствии с
ГОСТ 10742. Если испытанию подвергают свежедобытый рядовой уголь, то пробу отбирают до грохочения и погрузки в вагонетки, в других случаях уголь отбирают на любом этапе его транспортирования от месторождения до места конечного использования. Для правильной интерпретации результатов испытания следует отметить время, прошедшее от добычи угля, а также условия его транспортирования и хранения.
4.2 Подготовка лабораторной пробы
4.2.1 Используя сита по
3.2, проводят предварительный рассев представительной порции или всей объединенной пробы. Полученные при рассеве фракции не смешивают.
Рассев объединенной пробы проводят до получения не менее 90 кг (200 lb) фракции, выбранной для испытания. Если для испытания выбран дополнительный размер фракции, превышающий стандартный (50 - 75 мм), можно использовать фракцию размером 100 - 150 мм (4 - 6 in).
При возникновении сложностей с получением необходимого количества пробы при предварительном рассеве возможно получение дополнительного количества из крупных кусков в аппарате для определения прочности угля на сбрасывание. Эта процедура особенно пригодна для свежедобытого угля.
4.2.2 Тщательно перемешивают общий объем выбранной фракции, полученной по
4.2.1. Затем повторно рассеивают, используя сита, соответствующие верхнему и нижнему размеру фракции. Пробу помещают на сите так, чтобы все частицы контактировали с поверхностью сита. Проба должна полностью пройти через верхнее сито и остаться на нижнем. Проверяют вручную каждый кусок угля, не пройдет ли он в каком-либо положении через отверстие сита без применения силы.
4.2.3 При испытании угольной мелочи или смеси кусков различной крупности пробу готовят методом квартования или компоновки, т.е. составляют пробу из частиц различных размеров в том же весовом соотношении, в каком они присутствуют в партии угля.
Для угольной мелочи, в которой наиболее крупные частицы проходят (не остаются) на сите 19 мм (3/4 in), применяют метод квартования; для угольной мелочи большего размера и для смеси частиц двух и более размеров рекомендуется метод компоновки.
Гранулометрический состав пробы до испытания определяют на том же наборе сит, который будет использован для испытания.
5.1 Пробу массой 23 кг (50 lb), подготовленную по
разделу 4, помещают в ящик аппарата для определения прочности угля на сбрасывание, поднимают ящик на высоту 1,8 м (6 ft) и сбрасывают на плиту. Осторожно собирают весь уголь с плиты в ящик и повторяют операцию. После повторного сбрасывания проводят определение гранулометрического состава, используя сита по
3.2.
При рассеве следует обратить внимание на предотвращение дальнейшего разрушения угля. Рассев проводят небольшими порциями для достижения контакта угля с поверхностью сита. На больших ситах до 25 мм (1 in) включительно частицы угля, оставшиеся на сите, должны быть проверены вручную, не пройдут ли они в каком-либо положении через отверстие сита без применения силы. При использовании сит менее 19 мм (3/4 in) уголь вступает в непосредственный контакт с поверхностью сита, проверка индивидуальных частиц не требуется.
5.2 Взвешивают уголь, оставшийся на каждом сите и в поддоне либо отдельно, кумулятивно на весах с чувствительностью не менее 100 г (1/4 lb). При использовании кумулятивного метода взвешивание начинают с самой крупной фракции, к которой последовательно добавляют более мелкие. Общую массу записывают после каждого добавления. Взвешивание проводят в емкости известной массы.
5.2.1 Если потеря массы в ходе испытания превышает 1%, испытание повторяют. В том случае, если потеря массы менее 1%, эту массу рассматривают как массу материала, прошедшего через сито 12,5 мм (1/2 in) или другое наименьшее сито, используемое при испытании, и добавляют ее к массе материала этого размера.
5.2.2 Проводят не менее двух испытаний со сходимостью не менее 2%. Рекомендуется проводить три и более испытаний, в таком случае предел сходимости составляет 3%.
6.1 Определяют массу пробы, %, до и после испытания. Расчет производят с точностью до 0,1%.
6.2 Умножают массу пробы, %, на соответствующий ей средний размер сита (т. 1). Полученное значение до испытания обозначают как S, после испытания - s.
6.3 Стабильный размер рассчитывают как отношение s к S, умноженное на 100% (т. 1). Хрупкость определяют как разность 100% и значения стабильного размера, так что сумма этих значений составляет 100%.
6.3.1 Расчет ведут с точностью до 0,5%.
7.1 Отчет включает гранулометрический состав, рассчитанный с точностью до 0,1%, и стабильный размер, рассчитанный с точностью до 0,5%.
7.2 Пример способа представления результатов приведен в
таблице 1, пример обработки результатов - в
таблице 2. Форма, представленная в
таблице 1, является основной и подходит как для результатов испытания отдельной фракции, так и смеси частиц различной крупности.
| | ИС МЕГАНОРМ: примечание. Текст дан в соответствии с официальным текстом документа. | |
В
таблице 2 показан пример представления и обработки результатов испытания для фракции 100 - 150 мм (4 - 6 in) и может быть использована для любых других отдельных фракций.
Для испытания фракции 50 - 75 мм (2 - 3 in) и более рекомендуется использовать нижнее сито размером 12,5 мм (1/2 in).
Для испытания фракции меньшего размера, угольной мелочи и смеси частиц различной крупности, содержащих угольную мелочь, рекомендуется использовать два дополнительных сита 6,3 и 3,35 мм (1/4 и 1/8 in).
Таблица 1
Основная форма представления результатов испытания
Сита с круглыми отверстиями, мм (in) | Масса M, % | | M x N |
Надрешетный продукт | Подрешетный продукт | До | После | До | После |
200 (8) | | | | | | |
150 (6) | 200 (8) | | | 175 (7,000) | | |
100 (4) | 150 (6) | | | 125 (5,000) | | |
75 (3) | 100 (4) | | | 87,5 (3,500) | | |
50 (2) | 75 (3) | | | 62,5 (2,500) | | |
37,5 (1 1/2) | 50 (2) | | | 43,75 (1,750) | | |
| | ИС МЕГАНОРМ: примечание. Значение в графе "Надрешетный продукт" дано в соответствии с официальным текстом документа. | |
|
25,0 (1) 0, 375 | 37,5 (1 1/2) | | | 31,25 (1,250) | | |
19,0 (3/4) | 25,0 (1) | | | 21,875 (0,875) | | |
12,5 (1/2) | 19,0 (3/4) | | | 15,55 (0,625) | | |
6,3 (1/4) | 12,5 (1/2) | | | 9,375 (0,375) | | |
3,15 (1/8) | 6,3 (1/4) | | | 4,725 (0,185) | | |
| 3,15 (1/8) | | | 1,575 (0,060) | | |
Итого подрешетный 9,5 (3/8) | | | 4,625 (0,185) | | |
Итого подрешетный 6,3 (1/4) | | | 3,125 (0,125) | | |
Средний размер угля до и после испытания, мм (in) | Итого S | Итого s |
| |
Стабильный размер, % = (100·s)/S = Хрупкость, % = 100 - стабильный размер = |
<1> N - параметр заданной ситовой фракции, соответствующий среднему размеру отверстия сит. |
Таблица 2
Форма представления результатов испытания
Сита с круглыми отверстиями, мм (in) | Масса M, кг (lb) | Масса M, % | | Фактор нормализации | M x N |
Надрешетный продукт | Подрешетный продукт |
До испытания |
100 (4) | 150 (6) | 22,7 (50) | 100,0 | 125 (5,000) | 1 | 100,00 = S |
После испытания |
100 (4) | 150 (6) | 11,0 (24 1/4) | 48,5 | 125 (5,000) | 1 | 48,5 |
75 (3) | 100 (4) | 3,2 (7 1/2) | 15,0 | 87,5 (3,500) | 0,7 | 10,5 |
50 (2) | 75 (3) | 2,9 (6 1/2) | 13,0 | 62,5 (2,500) | 0,5 | 6,5 |
37,5 (1 1/2) | 50 (2) | 1,4 (3) | 6,0 | 43,75 (1,750) | 0,35 | 2,1 |
25,0 (1) 0,375 | 37,5 (1 1/2) | 1,1 (2 1/2) | 5,0 | 31,25 (1,250) | 0,25 | 1,25 |
19,0 (3/4) | 25,0 (1) | 0,7 (1 1/2) | 3,0 | 21,875 (0,875) | 0,175 | 0,525 |
12,5 (1/2) | 19,0 (3/4) | 0,7 (1 1/2) | 3,0 | 15,55 (0,625) | 0,125 | 0,375 |
| 12,5 (1/2) | 1,5 (3 1/4) | 6,5 | 6,25 (0,250) | 0,05 | 0,325 |
Итого s | 70,075 |
Стабильный размер = (100·s)/S = (100·s)/100 = s = 70%. Хрупкость = 100 - стабильный размер = 100 - 70 = 30%. |
<1> N - параметр заданной ситовой фракции, соответствующий среднему размеру отверстия сит. |
| ISO 3310-1:2000 | Test sieves - Technical requirements and testing - Part 1: Test sieves of metal wire cloth |
| ASTM E 11-15 | Standard Specification for Woven Wire Test Sieve Cloth and Test Sieves |
| | Сита лабораторные из металлической проволочной сетки. Технические условия |