Главная // Актуальные документы // ГОСТ (Государственный стандарт)СПРАВКА
Источник публикации
М.: Стандартинформ, 2016
Примечание к документу
Документ
введен в действие с 1 июля 2017 года.
Название документа
"ГОСТ 33593-2015. Межгосударственный стандарт. Жидкости охлаждающие. Определение содержания воды методом Карла Фишера"
(введен в действие Приказом Росстандарта от 18.03.2016 N 184-ст)
"ГОСТ 33593-2015. Межгосударственный стандарт. Жидкости охлаждающие. Определение содержания воды методом Карла Фишера"
(введен в действие Приказом Росстандарта от 18.03.2016 N 184-ст)
по техническому регулированию
и метрологии
от 18 марта 2016 г. N 184-ст
МЕЖГОСУДАРСТВЕННЫЙ СТАНДАРТ
ЖИДКОСТИ ОХЛАЖДАЮЩИЕ
ОПРЕДЕЛЕНИЕ СОДЕРЖАНИЯ ВОДЫ МЕТОДОМ КАРЛА ФИШЕРА
Cooling liquids. Determination of water content
by the Karl Fischer method
ГОСТ 33593-2015
Дата введения
1 июля 2017 года
Цели, основные принципы и основной порядок проведения работ по межгосударственной стандартизации установлены в
ГОСТ 1.0-2015 "Межгосударственная система стандартизации. Основные положения" и
ГОСТ 1.2-2015 "Межгосударственная система стандартизации. Стандарты межгосударственные, правила и рекомендации по межгосударственной стандартизации. Правила разработки, принятия, обновления и отмены"
1 ПОДГОТОВЛЕН Федеральным государственным унитарным предприятием "Всероссийский научно-исследовательский институт стандартизации материалов и технологий" (ФГУП "ВНИИ СМТ"), Техническим комитетом по стандартизации ТК 160 "Продукция нефтехимического комплекса" на основе собственного аутентичного перевода на русский язык стандарта, указанного в
пункте 5
2 ВНЕСЕН Федеральным агентством по техническому регулированию и метрологии (Росстандарт)
3 ПРИНЯТ Межгосударственным советом по стандартизации, метрологии и сертификации (протокол от 27 октября 2015 г. N 81-П)
За принятие проголосовали:
Краткое наименование страны по МК (ИСО 3166) 004-97 | Код страны по МК (ИСО 3166) 004-97 | Сокращенное наименование национального органа по стандартизации |
Армения | AM | Минэкономики Республики Армения |
Беларусь | BY | Госстандарт Республики Беларусь |
Казахстан | KZ | Госстандарт Республики Казахстан |
Киргизия | KG | Кыргызстандарт |
Молдова | MD | Молдова-Стандарт |
Россия | RU | Росстандарт |
Таджикистан | TJ | Таджикстандарт |
4
Приказом Федерального агентства по техническому регулированию и метрологии от 18 марта 2016 г. N 184-ст межгосударственный стандарт ГОСТ 33593-2015 введен в действие в качестве национального стандарта Российской Федерации с 1 июля 2017 г.
5 Настоящий стандарт идентичен стандарту ASTM D 1123-09 Standard test methods for water in engine coolant concentrate by the Karl Fischer reagent method (Стандартный метод определения воды в концентратах охлаждающих жидкостей с помощью реактива Карла Фишера).
Стандарт разработан подкомитетом D15.04 по химическим свойствам комитета D15 "Охлаждающие жидкости" Американского общества по испытаниям и материалам (ASTM).
Перевод с английского языка (en).
Наименование настоящего стандарта изменено относительно наименования указанного стандарта для приведения в соответствие с ГОСТ 1.5-2001
(подраздел 3.6).
Официальные экземпляры стандарта ASTM, на основе которого подготовлен настоящий межгосударственный стандарт, и стандартов ASTM, на которые даны ссылки, имеются в Федеральном информационном фонде технических регламентов и стандартов.
Сведения о соответствии межгосударственных стандартов ссылочным стандартам ASTM приведены в дополнительном
приложении ДА.
Степень соответствия - идентичная (IDT)
6 ВВЕДЕН ВПЕРВЫЕ
Информация об изменениях к настоящему стандарту публикуется в ежегодном информационном указателе "Национальные стандарты", а текст изменений и поправок - в ежемесячном информационном указателе "Национальные стандарты". В случае пересмотра (замены) или отмены настоящего стандарта соответствующее уведомление будет опубликовано в ежемесячном информационном указателе "Национальные стандарты". Соответствующая информация, уведомление и тексты размещаются также в информационной системе общего пользования - на официальном сайте Федерального агентства по техническому регулированию и метрологии в сети Интернет (www.gost.ru)
1.1 Настоящий стандарт устанавливает методы определения содержания воды в новых и неиспользованных концентратах охлаждающих жидкостей на основе гликоля - метод ручного титрования
(метод A) и метод автоматического кулонометрического титрования
(метод B).
1.2 Многие карбонильные соединения медленно реагируют с реактивом Карла Фишера, вызывая изменение конечной точки и приводя к высоким результатам испытаний. Использование модифицированного реактива Карла Фишера снижает такие нежелательные и мешающие реакции.
1.3 Значения в единицах системы СИ считают стандартными. Другие единицы измерения не включены в настоящий стандарт.
1.4 В настоящем стандарте не предусмотрено рассмотрение всех вопросов обеспечения безопасности, связанных с его применением. Пользователь настоящего стандарта несет ответственность за установление соответствующих правил по технике безопасности и охране здоровья, а также определяет целесообразность применения законодательных ограничений перед его использованием.
Для применения настоящего стандарта необходимы следующие ссылочные документы. Для недатированных ссылок применяют последнее издание ссылочного документа (включая все его изменения) <1>.
--------------------------------
<1> Ссылки на стандарты ASTM можно уточнить на сайте ASTM website, www.astm.org или в службе поддержки клиентов ASTM service@astm.org, а также в информационном томе ежегодного сборника стандартов ASTM (Website standard's Document Summary).
ASTM D 156 Standard test method for Saybolt color of petroleum products (Saybolt chromometer method) [Стандартный метод определения цвета нефтепродуктов по Сейболту (колориметр Сейболта)]
ASTM D 1176 Standard practice for sampling and preparing aqueous solutions of engine coolants or antirusts for testing purposes (Стандартная практика отбора проб и приготовления водных растворов охлаждающих жидкостей или противокоррозионных присадок для проведения испытаний)
ASTM D 1193 Standard specification for reagent water (Стандартная спецификация на воду для аналитических целей)
ASTM E 203 Standard test method for water using volumetric Karl Fischer titration (Стандартный метод определения воды с помощью волюметрического титрования по методу Карла Фишера)
3.1 В настоящем стандарте применены следующие термины с соответствующими определениями:
3.1.1 конечная точка по цвету (color end point): Резкое и легко воспроизводимое изменение цвета от желтого до оранжево-красного в процессе титрования. Конечную точку устанавливают по сохранению оранжево-красного цвета в течение не менее 30 с.
3.1.1.1 Пояснение - Наблюдают цвет в проходящем дневном свете или в проходящем свете лампы искусственного дневного света, например соответствующей ASTM D 156.
3.1.2 конечная точка по прибору (instrument end point): Для целей настоящего стандарта момент в процессе титрования, когда два небольших платиновых электрода, к которым была приложена разность потенциала от 20 до 50 мВ, деполяризуются при добавлении 0,05 мл реактива Карла Фишера (6 мг воды/мл), что приводит к изменению протекающего тока на значение от 10 до 20 мкА, сохраняющееся не менее 30 с.
3.1.2.1 Пояснение - Эту конечную точку иногда неправильно называют "резкой конечной точкой", которая является обратной рассмотренной выше.
4.1 Методы испытаний основаны на восстановлении йода диоксидом серы в присутствии воды. Реакция может быть количественно использована только в присутствии пиридина и спирта:

. (1)
4.2 Для определения содержания воды добавляют реактив Карла Фишера к раствору образца в безводном метаноле высокой чистоты, пока не прореагирует вся присутствующая вода. Об этом свидетельствует сохранение конечной точки оранжево-красного цвета или показание гальванометра или аналогичного прибора измерения силы тока, которое регистрирует деполяризацию пары электродов из благородных металлов. Реактив Карла Фишера стандартизуют титрованием воды.
Примечание 1 - Считается, что эти методы дают всю информацию, необходимую для определения содержания воды в композициях охлаждающих жидкостей. Дополнительная информация по определению содержания воды - по ASTM E 203.
5 Назначение и применение
5.1 Общая вода в концентрате охлаждающей жидкости, определенная титрованием методом Карла Фишера, состоит из:
1) воды, присутствующей в исходной гликолевой основе;
2) добавленной воды (например, растворы ингибиторов);
3) гидратной воды ингибиторов (например, Na2B4O7·5H2O);
4) воды, образовавшейся в результате химической реакции между боратом и этиленгликолем, проходящей с образованием конденсата этилбората и воды;
5) количественного взаимодействия при реакции реактива с ингибиторами, такими как тетраборат или гидроксид натрия.
Метод A. Ручное титрование
6.1 Сосуд для титрования
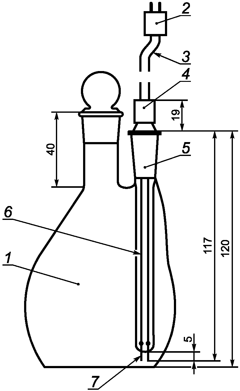
Для титрования до конечной точки по цвету используют некалиброванную мерную колбу вместимостью 100 или 250 мл. Для титрования до конечной точки по прибору используют мерную колбу вместимостью 250 мл, оснащенную сменными электродами (см. рисунок 1) <2>. Такая колба особенно подходит для титрования интенсивно окрашенного концентрата охлаждающей жидкости, например красителем.
--------------------------------
<2> Пригодны колбы, изготовленные Rankin Glass Blowing Co., 3920 Franklin Canyon Rd., Martinez, CA, USA.
1 - мерная колба из стекла пирекс вместимостью 250 мл;
2 - разъем; 3 - провода электродов; 4 - бакелитовая крышка;
5 - конус 12/30; 6 - изолированные провода; 7 - платиновые
электроды, расположенные на расстоянии от 3 до 4 мм
друг от друга
Рисунок 1 - Колба для титрования в сборе
Для стационарно собранных аппаратов используют сосуд вместимостью, приблизительно эквивалентной высокому стакану вместимостью 300 мл с плотно закрывающейся крышкой для защиты пробы и реактива от атмосферной влаги, мешалку и приспособление для добавления пробы и реактивов и удаления отработанной реакционной смеси. Желательно иметь средства для охлаждения сосуда для титрования до температуры таяния льда.
6.2 Электроды
Платиновые электроды с поверхностью, равноценной двум проволокам N 26 длиной 4,76 мм. Проволоки, расположенные на расстоянии от 3 до 8 мм друг от друга, опускают в сосуд таким образом, чтобы их покрывала жидкость.
6.3 Индикатор деполяризации
Индикатор деполяризации внутренним сопротивлением не более 5000 Ом, состоящий из средства приложения и индикации напряжения от 20 до 50 мВ между электродами, регистрирующий силу протекающего тока от 10 до 20 мкА с помощью гальванометра или цепи электронного индикатора настройки радио <3>.
--------------------------------
<3> Для измерения конечной точки по прибору применяют прибор "Aquatrator" производства Precision Scientific Co. или "Fisher Titrimeter" производства Fisher Scientific Co.
6.4 Бюретка для реактива Карла Фишера в сборе
Бюретка для реактива Карла Фишера в сборе состоит из бюретки вместимостью 25 или 50 мл, соединенной с источником реактива с помощью стеклянных (не резиновых) разъемов. Можно использовать автоматические распределительные бюретки <4> разных типов. Так как качество реактива при контакте с влажным воздухом ухудшается, все отверстия должны быть защищены от атмосферной влаги осушительными трубками с безводным сульфатом кальция <5>. Смазывают все краны и соединения смазочным материалом <6>, практически не реагирующим с реактивом.
--------------------------------
<4> Специально для этой цели были разработаны типы бюреток, обеспечивающие минимальный контакт реактива со смазкой крана, аналогичные бюреткам с каталожным номером J-821 производства Scientific Glass Apparatus Co., Bloomfield, NJ, USA или каталожным номером 750 производства Eck and Krebs, New York, NY, USA.
<5> Пригоден индикаторный дриерит.
<6> Используют смазочный материал Apiezon N. (James G. Biddle and Co., Philadelphia, PA, USA); High Vacuum Silicone Grease (Dow Corning Co., Midland, MI); Sisco 300 (Swedish Iron and Steel Co., New York, NY, USA) и другие материалы.
6.5 Бутылки для взвешивания
Используют бутылки типа Lunge или Grethen или эквивалентные.
6.6 Некоторые поставщики лабораторного оборудования предлагают аппарат для титрования по Карлу Фишеру. Подходящей является модель, указанная в сноске 7, или эквивалентная <7>.
--------------------------------
<7> Титратор методом по Карлу Фишеру типа E-452 производства Metrohm, Herisau, Switzerland, доступен в Brinkmann Instruments, Inc., Cantaigue Road, Westbury, NY 11590, USA.
7.1 Чистота реактивов
Применяют реактивы квалификации ч.д.а. Если нет других указаний, реактивы должны соответствовать требованиям спецификаций комитета по аналитическим реактивам Американского химического общества <8>. Можно использовать реактивы другой квалификации при условии, что они имеют достаточную степень чистоты и их использование не снизит точность метода.
--------------------------------
<8> Химические реактивы спецификации Американского химического общества, Вашингтон, округ Колумбия. Предложения по испытаниям реактивов, не включенные в перечень Американского химического общества, см. в ежегодных стандартах для лабораторных реактивов, BDH Ltd., Poole, Dorset, U.K., и в Фармакопее США и Национальном формуляре, U.S. Pharmacopeial Convention, Inc. (USPC), Rockville, MD, USA.
7.2 Если нет других указаний, используют воду типа IV по ASTM D 1193.
7.3 Реактив Карла Фишера, эквивалентный 5 мг воды/мл реактива <9>.
--------------------------------
<9> Реактивы, такие как не содержащий пиридина реактив Hydranal, доступны в Fisher Scientific, Pittsburgh, PA 15219, USA.
7.4 Метанол безводный высокой чистоты (Предупреждение - См.
8.1).
8.1 Метанол - яд, легковоспламеняющийся, при проглатывании может быть смертельным или вызывать слепоту, опасен при вдыхании.
9.1 Получают представительную пробу содержимого оригинальной упаковки по ASTM D 1176; при наличии двух фаз не отделяют нерастворимую в воде фазу.
10 Стандартизация реактивов
10.1 Стандартизуют реактив Карла Фишера не менее одного раза каждый день перед использованием по методу конечной точки по цвету или конечной точки по прибору (см.
раздел 3) с помощью процедуры, используемой для титрования образца (см.
раздел 11).
10.1.1 Добавляют 25 мл безводного метанола высокой чистоты в каждую колбу вместимостью 250 мл и быстро перемешивают. Титруют реактив Карла Фишера по
11.2. С помощью шприца точного объема добавляют к раствору от 0,15 до 0,18 г воды (с точностью до +/- 0,1 мг). Снова титруют раствор и регистрируют использованный объем титранта. Повторяют стандартизацию еще два раза.
10.1.2 Вычисляют коэффициент эквивалентности реактива F, мг воды/мл реактива Карла Фишера, по формуле

, (2)
где A - масса использованной при стандартизации воды, мг;
B - объем потребовавшегося реактива Карла Фишера, мл.
11.1 Помещают от 30 до 50 мл безводного метанола высокой чистоты в колбу вместимостью 250 мл, следя при использовании аппарата для определения конечной точки по прибору, чтобы электроды были покрыты метанолом. Если определяют конечную точку по цвету, вторую колбу готовят аналогично.
11.2 Регулируют мешалку (при наличии) для перемешивания без брызг. Титруют метанол реактивом Карла Фишера до конечной точки по прибору
(3.1.2) или конечной точки по цвету
(3.1.1). Если определяют конечную точку по цвету, одну колбу титруют для последующего сравнения со второй. Отставляют первую колбу и используют в качестве эталона сравнения при титровании образца в другой колбе.
11.3 Для титрования полученной смеси добавляют образец в соответствии с таблицей 1. Осторожно переносят образец, следя за тем, чтобы не поглощалась влага из воздуха, особенно в условиях высокой влажности. Снова титруют смесь реактивом Карла Фишера, используя такой же метод определения конечной точки. Регистрируют количество реактива, использованного для титрования воды в образце.
Таблица 1
Рекомендуемая масса образца
Содержание воды, % масс. | Масса образца, г | Метод отбора проб |
От 2,5 до 10,0 включ. | 0,3 | Вводят образцы с помощью бутылок или одноразовых точных шприцев. Массу образца определяют по разности. |
От 0,5 до 2,5 включ. | 3 |
До 0,5 включ. | 20 |
Примечание 2 - При титровании в условиях влажного климата горлышко мерной колбы закрывают тонкой пластинкой парафина. Оставляют небольшое отверстие для введения кончика бюретки. При титровании в условиях с менее влажным климатом достаточно глубоко опустить кончик бюретки в длинное горлышко колбы для титрования.
Примечание 3 - При титровании в мерной колбе для титрования избегают смачивания пробки и верхнего конца колбы реактивом или растворителем образца. Каждый раз при прерывании титрования касаются кончиком бюретки горлышка колбы для удаления капель, которые, если их не удалить, будут поглощать влагу из атмосферы. При удалении колбы из-под кончика бюретки промокают кончик чистой сухой тканью движением вниз.
12.1 Вычисляют общее содержание воды (свободной плюс кажущейся) в образце, % масс, по формуле

, (3)
где V - объем реактива Карла Фишера, использованный на титрование образца, мл;
F - коэффициент эквивалентности для реактива Карла Фишера, мг воды/мл реактива;
M - масса образца, г.
13 Прецизионность и смещение
13.1 Прецизионность
Для оценки приемлемости результатов (с 95%-ной доверительной вероятностью) используют следующие данные.
13.1.1 Повторяемость
Результаты повторных испытаний, полученные одним и тем же оператором, следует рассматривать как сомнительные, если расхождение между ними превышает следующее значение:
Повторяемость = 0,5 мл титранта.
13.1.2 Воспроизводимость
Результаты испытаний, представленные одной лабораторией, следует рассматривать как сомнительные, если они отличаются от результатов, представленных другой лабораторией, более чем на следующие значения
Содержание воды, % | Воспроизводимость, % от среднего значения |
От 0,1 до 1,0 включ. | 15 |
От 1,0 до 10,0 включ. | 5 |
13.2 Смещение
Так как отсутствуют принятые стандартные образцы, пригодные для определения смещения данного метода испытаний, смещение не было определено.
Метод B. Кулонометрическое титрование
14.1 Кулонометрический титратор <10>, <11>
--------------------------------
<10> Эта процедура запатентована Photovolt Corp., патент США 3,726,778 и включена в стандарт согласно параграфу 11.2 Руководства ASTM по техническим комитетам.
Метод A является незапатентованным альтернативным методом.
<11> Подробный чертеж можно получить в штаб-квартире ASTM по запросу приложения N 12-415330-00.
Автоматический прибор, соответствующий требованиям 14.2 и
18.1, с титровальной камерой и зажимом, платиновыми индикаторными электродами, генератором и магнитной мешалкой.
14.2 Прибор, используемый для определения воды в жидкостях, разработан и калиброван на известное значение силы тока в миллиамперах, вызывающее образование достаточного количества йода для нейтрализации известного количества воды в микрограммах в минуту.
14.3 Для определения содержания воды в охлаждающей жидкости по настоящему методу требуется титрант, состоящий из двух частей, в котором вода полностью связывается йодом, образованным генератором при включенном приборе. При добавлении пробы содержание воды считывается в микрограммах.
14.4 Стеклянный шприц вместимостью 50 мл для удаления избытка раствора из титровальной камеры.
14.5 Шприц вместимостью 25 мкл с иглой для подкожных инъекций длиной 11,5 см для введения пробы в титровальную камеру.
14.6 Шприц вместимостью 1 мкл с иглой для подкожных инъекций длиной 11,5 см для стандартизации прибора.
14.7 Фторуглеродная уплотнительная консистентная смазка <12> для защиты титровальной камеры от попадания атмосферной влаги.
--------------------------------
<12> Уплотнительную смазку можно заказать в Halocarbon Products, 8 Burlews Court, Hackensack, NJ 07601, USA.
14.8 Мембраны для уплотнения отверстия для ввода пробы, позволяющие введение проб иглой с минимальным загрязнением влагой. При необходимости заменяют крышку с мембраной для предотвращения пропускания воздуха, на которое указывает дрейф показаний прибора.
--------------------------------
<13> Реактивы доступны у изготовителя прибора и компаний по лабораторному обеспечению.
15.1 Раствор для генератора (Предупреждение - см.
16.1), обеспечивающий образование йода в реакционной смеси.
15.2 Титрант, поставляемый в двух частях - A и B. Смешивают эти части перед добавлением в титровальную камеру.
15.3 Нейтрализующий раствор. Метанол (Предупреждение - см.
16.2) безводный высокой чистоты, содержащий приблизительно 20 мг H
2O/мл.
16.1 Раствор для генератора. Меры предосторожности и опасности приведены в паспорте безопасности продукции изготовителя.
16.2 Метанол - яд, легковоспламеняющийся, при проглатывании может быть смертельным или вызывать слепоту, опасен при вдыхании.
17.1 Очищают, тщательно сушат и собирают титровальную камеру, применяя уплотнительную консистентную смазку. Присоединяют титровальную камеру к титратору.
17.2 Добавляют часть титранта B к части титранта A, закрывают, тщательно встряхивают и охлаждают до температуры окружающей среды.
17.3 Снимают мембрану с отверстия для ввода пробы, заливают через сухую воронку в титровальную камеру смесь титрантов A и B, подготовленную по
17.2, и сразу закрывают крышкой с мембраной.
17.4 Добавляют примерно 6 мл раствора для генератора в картридж генератора. Поверхность раствора для генератора должна быть ниже уровня поверхности титранта для предотвращения его загрязнения обратным потоком.
17.5 Присоединяют к шприцу вместимостью 20 мл иглу длиной 11,5 см. Отбирают примерно 15 мл нейтрализующего раствора. Вставляют иглу через мембрану отверстия для ввода пробы и опускают ее до тех пор, пока кончик иглы не окажется ниже поверхности титранта.
17.6 Медленно вводят нейтрализующий раствор в титрант до изменения цвета от коричневого до красного. Это указывает на близость конечной точки. Продолжают очень медленно добавлять нейтрализующий раствор. Общий требуемый объем варьируется от 5 до 15 мл в зависимости от количества остаточной влаги в системе.
17.7 Пробы в жидком состоянии испытывают при температуре окружающей среды.
18 Проверка системы прямым титрованием воды
18.1 Для определения правильности работы титратора заполняют шприц вместимостью 1 мкл дистиллированной водой до отметки 1 мкл и взвешивают. Вставляют иглу через мембрану отверстия для ввода пробы и опускают ее до тех пор, пока кончик иглы не окажется ниже поверхности титранта. Нажимают клавишу START и сразу вводят воду в титрант. Вынимают шприц и взвешивают. Титрование считают завершенным, если результат отображается с символом "мкг". Масса введенной воды (мкг) должна быть приблизительно равна показанию прибора.
19.1 Масса пробы зависит от ожидаемого диапазона содержания воды.
Ожидаемое содержание воды | Диапазон массы пробы |
1000 ppm (0,1%) | От 0,1 до 3,0 г включ. |
1% | " 10 " 300 мг " |
10% | " 1 " 30 мг " |
100% | " 0,1 " 3,0 мг " |
20.1 Отбирают испытуемую пробу с помощью соответствующего сухого шприца с иглой
(19.1) и переносят содержимое в контейнер для отходов. Отбирают пробу в шприц до уровня выше калибровочной метки. Вынимают иглу из контейнера для проб и выпускают из шприца избыток пробы точно до калибровочной метки. Промокают кончик иглы чистой салфеткой.
Примечание 4 - Для большинства случаев достаточно объемного добавления пробы. Однако точность повышается при взвешивании шприца до и после отбора пробы.
20.2 Если прибор не используют, его следует оставлять в дежурном режиме. Если прибор выключен, титрант должен стабилизироваться или следует заменить раствор.
21.1 Вычисляют содержание воды в образце, ppm, по формуле

(4)
(Прибор может выполнять это вычисление автоматически. См. инструкцию по эксплуатации).
22 Прецизионность и смещение
22.1 Прецизионность
22.1.1 Повторяемость
Результаты повторных испытаний, полученные одним и тем же оператором, не должны отличаться более чем на 3 ppm в 95% случаев.
22.1.2 Воспроизводимость
Результаты испытаний, представленные одной лабораторией, не должны отличаться от результатов, представленных другой лабораторией, более чем на 10 ppm в 95% случаев.
22.2 Смещение
Так как отсутствуют принятые стандартные образцы, пригодные для определения смещения данного метода испытаний, смещение не было определено.
(обязательное)
МЕШАЮЩИЕ ФАКТОРЫ
A1.1 При титровании некоторые ингибиторы взаимодействуют с реактивом Карла Фишера по реакции конденсации или окисления, в результате получают завышенное значение содержания воды <14>. Информация о конкретных мешающих факторах полезна для вычисления истинного содержания свободной воды в образце. Без полных сводных данных аналитику невозможно определить истинное содержание свободной воды. В большинстве случаев определяют суммарное содержание воды (свободной воды плюс кажущейся воды), которое используют для квалификации или контроля качества продукции.
--------------------------------
<14> Jordan, C.B., "Use of Karl Fischer reagent for the determination of water in condensates of sodium tetraborate and diols", Analytical Chemistry, Vol 36, February 1964, p. 424 (Использование реактива Карла Фишера для определения воды в продуктах конденсации тетрабората натрия и диолов).
A1.2 Многие концентраты охлаждающих жидкостей на основе этиленгликоля содержат тетраборат натрия. При титровании некоторые реактивы Карла Фишера реагируют непосредственно с тетраборатом натрия или с водой, образовавшейся в результате реакции конденсации бората с этиленгликолем. Молекула этилбората не вступает в реакцию, но при ее образовании выделяется одна молекула воды, которая реагирует с реактивом Карла Фишера. Борат, не связанный химически с гликолем, реагирует непосредственно с реактивом Карла Фишера с той же стехиометрией, как указано выше. Таким образом, при титровании 1 моль тетрабората натрия проявляется как 7 молей воды по любому методу. При титровании методом Карла Фишера 1 г декагидрата тетрабората натрия проявляется как 0,33 г воды, 1 г пентагидрата тетрабората натрия - как 0,43 г воды и 1 г безводного тетрабората натрия - как 0,63 г воды.
A1.3 Гидроксиды одновалентных металлов, например гидроксид натрия, реагируют с реактивом Карла Фишера с образованием 1 моль кажущейся воды на 1 моль гидроксида.
A1.4 Другие ингибиторы, такие как нитриты, реагируют в стехиометрическом соотношении с компонентами реактива Карла Фишера. Например, 1 моль нитрита натрия показывает 0,5 моль кажущейся воды. В этом случае реакция протекает медленно и при быстром титровании мешающий фактор можно не учитывать.
(справочное)
СВЕДЕНИЯ О СООТВЕТСТВИИ МЕЖГОСУДАРСТВЕННЫХ СТАНДАРТОВ
ССЫЛОЧНЫМ СТАНДАРТАМ ASTM
Таблица ДА.1
Обозначение и наименование ссылочного стандарта ASTM | Степень соответствия | Обозначение и наименование межгосударственного стандарта |
ASTM D 156-12 Стандартный метод определения цвета нефтепродуктов по Сейболту (колориметр Сейболта) | - | |
ASTM D 1176-08 Стандартная практика отбора проб и приготовления водных растворов охлаждающих жидкостей или противокоррозионных присадок для проведения испытаний | - | |
ASTM D 1193-11 Стандартная спецификация на воду для аналитических целей | - | |
ASTM E 203-08 Стандартный метод определения содержания воды с помощью волюметрического титрования по методу Карла Фишера | - | |
<*> Соответствующий межгосударственный стандарт отсутствует. До его утверждения рекомендуется использовать перевод на русский язык данного стандарта ASTM. |